JP2010045399A - パワー半導体装置 - Google Patents

パワー半導体装置 Download PDF

Info

Publication number
JP2010045399A
JP2010045399A JP2009261859A JP2009261859A JP2010045399A JP 2010045399 A JP2010045399 A JP 2010045399A JP 2009261859 A JP2009261859 A JP 2009261859A JP 2009261859 A JP2009261859 A JP 2009261859A JP 2010045399 A JP2010045399 A JP 2010045399A
Authority
JP
Japan
Prior art keywords
heat
main wiring
cooler
heat radiating
semiconductor chip
Prior art date
Legal status (The legal status is an assumption and is not a legal conclusion. Google has not performed a legal analysis and makes no representation as to the accuracy of the status listed.)
Granted
Application number
JP2009261859A
Other languages
English (en)
Other versions
JP5182274B2 (ja
Inventor
Takeshi Oi
健史 大井
Current Assignee (The listed assignees may be inaccurate. Google has not performed a legal analysis and makes no representation or warranty as to the accuracy of the list.)
Mitsubishi Electric Corp
Original Assignee
Mitsubishi Electric Corp
Priority date (The priority date is an assumption and is not a legal conclusion. Google has not performed a legal analysis and makes no representation as to the accuracy of the date listed.)
Filing date
Publication date
Application filed by Mitsubishi Electric Corp filed Critical Mitsubishi Electric Corp
Priority to JP2009261859A priority Critical patent/JP5182274B2/ja
Publication of JP2010045399A publication Critical patent/JP2010045399A/ja
Application granted granted Critical
Publication of JP5182274B2 publication Critical patent/JP5182274B2/ja
Anticipated expiration legal-status Critical
Expired - Lifetime legal-status Critical Current

Links

Images

Classifications

    • H10W72/5524
    • H10W72/884

Landscapes

  • Cooling Or The Like Of Semiconductors Or Solid State Devices (AREA)

Abstract

【課題】本発明は、半導体チップを高温動作させても、主配線電極の温度上昇を抑制することができ、外部回路機器への熱的な影響を低減できるパワー半導体装置を提供するものである。
【解決手段】放熱板8を、半導体チップ1が接合される放熱部8aと、主配線電極3,4が接合される放熱部8bとに分離して構成する。放熱部8aと放熱部8bは、耐熱樹脂9を介して互いの側面が対向するように接合する。半導体チップ1から発生する熱が、放熱部8aから放熱部8bに伝達するのを防止できるので、主配線電極3,4の温度上昇を抑えることができる。また、主配線電極3,4の一部に備えられた放熱部8dに対応した主配線電極用冷却器11cを備える。主配線電極に伝達した熱を主配線電極用冷却器を介して放熱することができる。
【選択図】図1

Description

本発明は、電力変換器等のパワー半導体装置に関するものである。
電力変換器等のパワー半導体装置は、一般に、半導体チップと主配線電極とが同一の放熱板上に配置された構造を備えている。そして半導体チップと主配線電極とは、アルミワイヤ等の主配線によって接続されている(非特許文献1参照)。また、主配線電極の一端は、ケース外部に引出されてコンデンサや負荷等の外部回路機器と接続されている。
三菱電機技報Vol.77,No.9,p563〜p.566(図4)
以上説明した構造を備えているので、半導体チップから発せられる熱は、放熱板及びアルミワイヤを介して主配線電極へ伝達する。そして、主配線電極を介してコンデンサ等の外部回路機器へも伝達し、外部回路機器に熱的な影響を与える。
ここで、シリコンを材料とする半導体チップの最大温度は、通常150℃程度である。そのため、半導体チップから発せられた熱が主配線電極から外部回路機器に伝達しても、外部回路機器に与える熱的な影響は大きな問題ではなかった。
しかし、SiC(炭化シリコン)のようなワイドバンドギャップ半導体を材料とする半導体チップは、半導体チップの温度が200℃を超える高温でも動作が可能である。このような高温動作の利点を生かして、安価で簡素な冷却器を用いた場合には、主配線電極の温度が高温となり、外部回路機器に熱的な悪影響を与える可能性があった。
本発明は、以上の問題点に鑑みてなされたものであり、半導体チップを高温動作させても、主配線電極の温度上昇を抑制することができ、外部回路機器への熱的な影響を低減できるパワー半導体装置を提供するものである。
請求項1に記載の発明に係るパワー半導体装置においては、放熱板と、前記放熱板の表主面上に絶縁部材を介して接合された半導体チップと、前記放熱板の表主面上に接合された主配線電極と、を備えるパワー半導体装置であって、前記放熱板は、前記半導体チップが接合された第1放熱部と、前記主配線電極が接合された第2放熱部と、前記主配線電極の一部に備えられた第3放熱部と、前記第3放熱部に対応した主配線電極用冷却器と、を備え、前記第1放熱部と前記第2放熱部とが所定間隔離れて配置されていることを特徴とする。
請求項5に記載の発明に係るパワー半導体装置においては、放熱板と、前記放熱板の表主面上に絶縁部材を介して接合された半導体チップと、前記放熱板の表主面上に接合された主配線電極と、前記放熱板の裏主面に接合された冷却器と、を備えるパワー半導体装置であって、前記主配線電極は放熱部をその一部に備え、前記放熱部に対応した主配線電極用冷却器、をさらに備えることを特徴とする。
請求項1に記載のパワー半導体装置は、半導体チップが接合されている第1放熱部と、主配線電極が接合されている第2放熱部とが所定間隔離れて配置されているので、半導体チップから発生した熱が第1放熱部から第2放熱部へ伝達するのを抑えることができる。その結果、主配線電極の温度上昇を抑制することができる。また、主配線電極の一部に備えられた第3放熱部に対応した主配線電極用冷却器を備えているので、主配線電極に伝達した熱を主配線電極用冷却器を介して放熱することができる。
請求項6に記載のパワー半導体装置は、主配線電極に伝達した熱を主配線電極用冷却器を介して放熱できるように構成されているので、主配線電極の温度上昇を抑制することができる。そして、主配線電極に接続される外部回路機器への熱的な悪影響を防止できる。
実施の形態1に係るパワー半導体装置の中核部分を示す断面図である。 実施の形態1に係るパワー半導体装置の中核部分を示す上面図である。 実施の形態1に係るパワー半導体装置の熱伝達経路を示す図である。 実施の形態1に係るパワー半導体装置の変形例を示す断面図である。 実施の形態2に係るパワー半導体装置の中核部分を示す断面図である。 実施の形態3に係るパワー半導体装置の中核部分を示す断面図である。 実施の形態3に係るパワー半導体装置の中核部分を示す上面図である。 実施の形態3に係るパワー半導体装置の変形例を示す断面図である。
実施の形態1.
図1,2を参照して、本実施の形態1に係るパワー半導体装置の構成について説明する。図1は、本発明の実施の形態1に係るパワー半導体装置の中核部分を示す断面図である。図2は、主配線電極3,4の位置関係を示すための上面図である。ここで図1は、図2のA−A線断面図に対応している。
絶縁部材6の表主面上に電極パターン2を介して半導体チップ1が接合されている。絶縁部材6は、セラミックスや樹脂を材料としている。半導体チップ1の上面及び下面には、図示しない上部電極及び下部電極がそれぞれ設けられている。そして、半導体チップ1の下部電極と電極パターン2とは、電気的に接合されている。ここで、この接合はどのような方法であってもよい。例えば、高温半田材等の接合材を用いる方法、あるいは、圧接力による物理的な方法等を用いることができる。
絶縁部材6の裏主面は、放熱部8a(第1放熱部)の表主面上に半田等の接合部14を介して接合されている。そして放熱部8aは、耐熱樹脂(耐熱部材)9を介して放熱部(第2放熱部)8bと接合されて放熱板8を構成している。ここで、放熱部8a,8bは、放熱部8aの側面が放熱部8bの側面と対向するように接合されている。放熱部8bの表主面上には、絶縁材17を介して主配線電極3が接合されている。そして、主配線電極3上には絶縁材18を介して主配線電極4が接合されている。
以上説明したように、放熱板8は、半導体チップ1が接合された放熱部8aと、主配線電極3,4が接合された放熱部8bを備えている。そして、放熱部8aと放熱部8bは、耐熱樹脂9を挟んで所定間隔離れて配置されている。また、放熱部8a,8bは、熱伝導性の高いCu(銅)等を材料としている。
電極パターン2と主配線電極3とが、主配線5によって接続されている。そして、半導体チップ1の図示しない上部電極と、主配線電極4とが主配線13によって接続されている。主配線5,13は例えばアルミワイヤである。ここで、半導体チップ1が、例えばIGBT(Insulated Gate Bipolar Transisor)やMOS(Metal Oxide Semiconductor)FET等のスイッチング素子の場合は、ゲート配線がさらに存在するが、図1においては省略している。
主配線電極3,4は、コンデンサ又は負荷等の外部回路機器(図示せず)と接続される。そのため、主配線電極3,4の一部は、半導体チップ1を囲うように形成されたケース12の外部に引出されている(図1,2参照)。放熱板8には、ケース12が接合されている。また、ケース12内はシリコンゲル等で充填されている。放熱板8の裏主面には、熱伝導グリース等の熱伝導材10を介して冷却器11が接合されている。
以上のように構成されているので、本実施の形態1に係るパワー半導体装置の熱伝達経路は概略図3のように表される。以下図3を参照して、熱伝達経路の構成について説明する。
半導体チップ1は、熱抵抗Rjc1及び熱抵抗Rjbの一端に接続されている。熱抵抗Rjc1の他端は放熱部8aに接続されている。そして放熱部8aは熱抵抗Rcf1の一端に接続されている。熱抵抗Rcf1の他端は冷却器11に接続されている。
熱抵抗Rjbの他端は主配線電極3に接続されている。また、主配線電極3には、熱抵抗Rbc2の一端が接続されている。そして熱抵抗Rbc2の他端は放熱部8bに接続されている。放熱部8bに熱抵抗Rcf2の一端が接続されている。熱抵抗Rcf2の他端は冷却器11に接続されている。冷却器11には、熱抵抗Rfaの一端が接続されている。そして熱抵抗Rfaの他端はAir(空気)に接続されている。
ここで、熱抵抗Rjc1,Rcf1は、半導体チップ1−放熱部8a間の熱抵抗,放熱部8a−冷却器11間の熱抵抗をそれぞれ示している。そして熱抵抗Rjc1及びRcf1は、半導体チップ1の冷却性能に直接影響する。そのため、Rjc1及びRcf1が小さな値になるように、半導体チップ1が配置されている領域の構造、材料等は設計される。
また、熱抵抗Rjb,Rbc2,Rcf2,Rfaは、半導体チップ1−主配線電極3間の熱抵抗,主配線電極3−放熱部8b間の熱抵抗、放熱部8b−冷却器11間の熱抵抗、冷却器11−空気間の熱抵抗をそれぞれ示している。
本実施の形態では、放熱部8aと放熱部8bとは、耐熱樹脂9により熱的に分離しているので、放熱部8aから放熱部8bへの熱の移動は無いものとしている。そのため、図3においては、放熱部8aと放熱部8bを接続する熱伝達の経路は無い。
そして、主配線電極4及び主配線13は、簡単化のため図3では省略している。また、半導体チップ1、主配線電極3、放熱部8a,8b、及び冷却器11において、それぞれの内部の熱抵抗は無視している。さらに主配線電極3の一部は外部回路機器と接続されている。そのため、主配線電極3を介した外部回路機器への熱流も存在がするが、その熱流も無視している。なお、冷却器11は空冷の冷却器の場合を示している。
本実施の形態に係るパワー半導体装置は、以上説明した熱伝達経路を有しているので、半導体チップ1で発生した熱は、主に熱抵抗Rjc1を介して放熱部8aに到達する。そして、熱抵抗Rcf1を介して冷却器11に到達する。さらに、冷却器11と空気間の熱抵抗Rfaを経て空気中に放出される。
ここで、放熱部8aから放熱部8bへの熱の伝達が無いため、半導体チップ1から発生した熱が放熱部8aから放熱部8bへ伝達し、さらに放熱部8bから主配線電極3に伝達することも無い。その結果、主配線電極3の温度上昇を抑えることができる。
図3に示された熱伝達経路に基いて、主配線電極3の温度Tbを求めると、概略的に、 Tb=Tf+((Rbc2+Rcf2)/(Rjb+Rbc2+Rcf2))・(Tj-Tf)・・・(1)
と表される。
ここで、Tfは冷却器11の温度、またTjは半導体チップ1の温度を示している。式(1)は、半導体チップ1の冷却構造に関連する熱抵抗Rjc1、Rcf1に依存しない。そのため、主配線電極3の温度は、半導体チップ1の冷却構造とは無関係に決定される。主配線電極3が形成された領域の構造及び材料等を適当に選ぶことにより、主配線電極3の温度上昇を、式(1)で表される程度に抑制することができる。なお、主配線電極4の温度は、主配線電極3上に接合されているので、主配線電極3の温度と同程度になる。
以上説明したように、本実施の形態では、放熱板8が放熱部8a及び放熱部8bを備えている。そして放熱部8aと放熱部8bは熱的に分離している。そのため、半導体チップ1から発生した熱が放熱部8aから放熱部8bへ伝達するのを抑えることができるので、主配線電極3,4の温度上昇を抑制することができる。具体的には、式(1)によって与えられる温度程度に抑制できる。また、主配線電極3,4の温度Tbを決める熱抵抗Rbc2、Rcf2、Rjbは、半導体チップ1の冷却性能に影響しないため、材料、構造等の設計自由度を広くとることができる。
なお、放熱部8a及び放熱部8bは耐熱樹脂9を介して接合される構成としたが、熱的に分離されていればよく、必ずしも耐熱樹脂9を必要としない。放熱部8aと放熱部8bが所定間隔離れて配置されている構成でもよい。しかし、耐熱樹脂9を介して放熱部8a,8bを接合することで、放熱板8の強度を高めることができる。
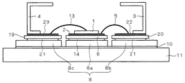
本実施の形態では、放熱板8を2つの放熱部から構成したが、主配線電極3,4の配置によっては、さらに複数の放熱部から構成するようにしてもよい。例えば図4に示す変形例では、主配線電極3,4が異なる放熱部上にそれぞれ配置された場合の構成を示している。以下この変形例の構成について説明する。放熱板8は、放熱部8a,8b,8cを有している。冷却器11上に放熱部8aが配置されている。そして放熱部8aを挟むように、放熱部8aから所定間隔離れて放熱部8b,8cが冷却器11上にそれぞれ配置されている。放熱部8a,8b,8cの裏主面には、熱電導グリース10を介して冷却器11が接続されている。
そして放熱部8a上に絶縁部材6が半田等の接合部14を介して接合されている。絶縁部材6上に電極パターン2が接合されている。そして、電極パターン2上に半導体チップ1が接合されている。半導体チップ1の上面及び下面には、図示しない上部電極及び下部電極がそれぞれ設けられている。そして、半導体チップ1の下部電極と電極パターン2とは、電気的に接合されている。
放熱部8b上に絶縁部材20が接合材21を介して接合されている。そして絶縁部材20の表主面には電極パターン22が接合されている。そして電極パターン22上に主配線電極3が接合されている。
放熱部8c上に絶縁部材19が半田等の接合材21を介して接合されている。そして絶縁部材19の表主面には電極パターン23が接合されている。そして電極パターン23上には、主配線電極4が接合されている。そして半導体チップ1の図示しない上部電極と電極パターン23が主配線13によって接続されている。また電極パターン2と電極パターン22が主配線5によって接続されている。ここで、半導体チップ1が、スイッチング素子の場合は、ゲート配線がさらに存在するが、図4においては省略している。
そして図示しないケースが半導体チップ1、及び主配線電極3,4を囲うように形成されている。また、主配線電極3,4の一部は外部回路機器(図示せず)と接続するためにケース外部に引出されている。
このような構成であっても、放熱部8aと放熱部8b,8cが分離して配置されているので、半導体チップ1から発生した熱が放熱部8aから放熱部8b,8cに伝達するのを低減することができる。その結果、主配線電極3,4の温度上昇を抑えることができる。放熱部8aと放熱部8b,8c間は耐熱樹脂などの耐熱部材を介して接合するようにしてもよい。このようにすることで、放熱板8の強度を高めることができる。
また、放熱板8の構造は、本実施の形態に示した構造に限定されるものではなく、半導体チップ1が配置された領域と、主配線電極3,4が配置された領域とが熱的に分離されるような構成であればよい。例えば、放熱板8に、半導体チップ1が接合される放熱部よりも大きな面積の開口部を設ける。そして、開口部以外の部分に主配線電極3,4を配置する。半導体チップ1が接合された放熱部を、開口部に接触しないように開口部内に配置してもよい。このような構造でも、半導体チップ1で発生した熱が主配線電極3,4に到達するのを低減することができる。図4に示したように主配線電極3,4が配置された場合でも放熱板8を3分割する必要が無くなるので、組み立てを容易にすることができる。
実施の形態2.
図5は、本実施の形態に係るパワー半導体装置の中核部分を示す断面図である。本実施の形態においては、冷却器11が、放熱部8aの裏主面に接続された冷却器(第1冷却部)11aと放熱部8bの裏主面に接続された冷却器(第2冷却部)11bとに分離した構造となっている。その他の構成は実施の形態1と同様であり、同一の構成には同一の符号を付し、重複する説明は省略する。
実施の形態1では、同一の冷却器11上にパワー半導体装置チップが配置されているため、主配線電極の温度Tbは、冷却器11の温度Tfよりも高くなる。本実施の形態では、冷却器11bが冷却器11aから熱的に分離されているため、冷却器11aを介したパワー半導体チップ1からの熱伝達を抑制することができる。その結果、主配線電極3,4の温度をさらに低く抑えることができる。
また、SiCを材料とする半導体チップ1は高温動作が可能である。そのため、このような半導体チップ1を備えるパワー半導体装置は、性能を犠牲にして簡易で安価な冷却器11を使用することができる。このような冷却器11を用いた場合、冷却器11の温度は必然的に高くなる。本発明はこのような場合でも、主配線電極3,4の温度を低く抑えることが可能であり、主配線電極3,4に接続される外部回路機器への耐熱性等の熱的な影響を軽減できる。
実施の形態3.
図6,7を参照して、本実施の形態3に係るパワー半導体装置の構成について説明する。図6は、実施の形態3に係るパワー半導体装置の中核部分を示す断面図である。図7は、図6の上面図を示している。また図6は、図7のB−B線断面図に対応している。実施の形態1と同一の構成には同一の符号を付し、重複する説明は省略する。
本実施の形態においては、主配線電極3,4が放熱部8d(第3放熱部)を備えている。ここで、図6,7の例では、主配線電極3,4が放熱部8dと一体に形成された例を示している。そして、ケース12内部の放熱板8に対向する位置に、放熱部8dが接合されている。そして、冷却器11c(主配線電極用冷却器)がケース12の外側上面に放熱部8cに対向するように接合されている。すなわち、図6,7に示された例では、放熱部8dと冷却器11cとは、ケース材によって絶縁されて接合されている。ここで、ケース材に代えて、より高熱伝導性を有する絶縁材を設けてもよい。また、放熱部8dと冷却器11cの絶縁が必要でない場合は、絶縁材を用いる必要はない。
本実施の形態は、以上のような構造を備えているので、半導体チップ1から発生した熱が外部回路機器に到達する前に、放熱部8dから冷却器11cを経て外部に放熱されるので、外部回路機器への熱による悪影響を防止することができる。
また、本実施の形態では、ケース12を介して冷却器11cを設けたが、主配線電極3,4に直接接合するようにしてもよい。そしてさらに、冷却器11cを側面に設けてもよい。図8に、主電極配線3,4が放熱板8上の別々の位置に配置された場合の変形例を示す。放熱板8上に半田等の接合部14を介して絶縁部材6が接合されている。そして、絶縁部材6上に電極パターン2が接合されている。電極パターン2上に半導体チップ1及び、半導体チップ1から所定間隔離れて主配線電極3が配置されている。このように、半導体チップ1の図示しない下部電極と主配線電極3は電極パターン2を介して接続されている。
絶縁部材6から所定間隔離れて、絶縁部材19が接合材21を介して放熱板8上に接合されている。そして絶縁部材19上には電極パターン20が接合されている。そして電極パターン20上に主配線電極4が接合されている。そして電極パターン20と半導体チップ1の図示しない上部電極が主配線13によって接続されている。ここで、半導体チップ1がスイッチング素子の場合は、ゲート配線がさらに存在するが、図8においては省略している。
そして、主配線電極3,4には冷却器11cが接合されている。そして冷却器11cは図示しないケース外部に突出している。このように形成した場合であっても、冷却器11cを介して、主配線電極3,4から熱を放熱することができる。そのため外部回路機器に与える熱的な悪影響を軽減することができる。
また、本実施の形態に実施の形態1,2に示した構成を組み合わせた構成にすることもできる。すなわち図6において、放熱部8を、図1に示すように半導体チップ1を接合した放熱部8aと、主配線電極3,4を配置した放熱部8bから構成し、放熱部8a及び放熱部8bを熱的に分離した構成してもよい(図1参照)。さらに、図5に示すように冷却器11を冷却器11aと冷却器11bに分割して構成し、放熱部8aと放熱部8bにそれぞれ接続するように構成してもよい。このように構成することで、さらに外部回路機器に与える熱的な悪影響を低減できる。
1 半導体チップ、3,4 主配線電極、6,19,20 絶縁部材、8a,8b,8c,8d 放熱部、11a,11b,11c 冷却器。

Claims (7)

  1. 放熱板と、
    前記放熱板の表主面上に絶縁部材を介して接合された半導体チップと、
    前記放熱板の表主面上に接合された主配線電極と、
    を備えるパワー半導体装置であって、
    前記放熱板は、
    前記半導体チップが接合された第1放熱部と、
    前記主配線電極が接合された第2放熱部と、
    前記主配線電極の一部に備えられた第3放熱部と、
    前記第3放熱部に対応した主配線電極用冷却器と、
    を備え、
    前記第1放熱部と前記第2放熱部とが所定間隔離れて配置されていることを特徴とするパワー半導体装置。
  2. 前記第1放熱部と前記第2放熱部とが、耐熱部材を介して接合されていることを特徴とする請求項1に記載のパワー半導体装置。
  3. 前記放熱板の裏主面に接合された冷却器、
    をさらに備えることを特徴とする請求項1または請求項2に記載のパワー半導体装置。
  4. 前記冷却器は、
    前記第1放熱部の裏主面に接合された第1冷却器と、
    前記第2放熱部の裏主面に接合された第2冷却器と、
    を備えることを特徴とする請求項3に記載のパワー半導体装置。
  5. 放熱板と、
    前記放熱板の表主面上に絶縁部材を介して接合された半導体チップと、
    前記放熱板の表主面上に接合された主配線電極と、
    前記放熱板の裏主面に接合された冷却器と、
    を備えるパワー半導体装置であって、
    前記主配線電極は放熱部をその一部に備え、
    前記放熱部に対応した主配線電極用冷却器、
    をさらに備えることを特徴とするパワー半導体装置。
  6. 前記半導体チップを囲うように形成されたケースを備え、
    前記主配線電極用冷却器は、前記ケース外部に突出して配置されていることを特徴とする請求項1から請求項5の何れか1項に記載のパワー半導体装置。
  7. 前記半導体チップは、ワイドバンドギャップ半導体を材料とすることを特徴とする請求項1から請求項6の何れか1項に記載のパワー半導体装置。
JP2009261859A 2009-11-17 2009-11-17 パワー半導体装置 Expired - Lifetime JP5182274B2 (ja)

Priority Applications (1)

Application Number Priority Date Filing Date Title
JP2009261859A JP5182274B2 (ja) 2009-11-17 2009-11-17 パワー半導体装置

Applications Claiming Priority (1)

Application Number Priority Date Filing Date Title
JP2009261859A JP5182274B2 (ja) 2009-11-17 2009-11-17 パワー半導体装置

Related Parent Applications (1)

Application Number Title Priority Date Filing Date
JP2004086035A Division JP4794822B2 (ja) 2004-03-24 2004-03-24 パワー半導体装置

Publications (2)

Publication Number Publication Date
JP2010045399A true JP2010045399A (ja) 2010-02-25
JP5182274B2 JP5182274B2 (ja) 2013-04-17

Family

ID=42016462

Family Applications (1)

Application Number Title Priority Date Filing Date
JP2009261859A Expired - Lifetime JP5182274B2 (ja) 2009-11-17 2009-11-17 パワー半導体装置

Country Status (1)

Country Link
JP (1) JP5182274B2 (ja)

Cited By (8)

* Cited by examiner, † Cited by third party
Publication number Priority date Publication date Assignee Title
JP2011243916A (ja) * 2010-05-21 2011-12-01 Toshiba Corp 半導体装置、半導体ユニット及び電力用半導体装置
CN102738134A (zh) * 2011-04-13 2012-10-17 三菱电机株式会社 半导体装置
WO2012144070A1 (ja) * 2011-04-22 2012-10-26 三菱電機株式会社 半導体装置
CN104160502A (zh) * 2012-03-09 2014-11-19 三菱电机株式会社 半导体模块
JP2016162986A (ja) * 2015-03-05 2016-09-05 日立オートモティブシステムズ株式会社 パワー半導体モジュール及び電力変換装置
JP2017191820A (ja) * 2016-04-11 2017-10-19 株式会社デンソー 半導体モジュール
DE102017211606A1 (de) 2016-07-15 2018-01-18 Mitsubishi Electric Corporation Halbleitervorrichtung
WO2019063533A1 (de) * 2017-09-29 2019-04-04 Fraunhofer-Gesellschaft zur Förderung der angewandten Forschung e.V. Bauelement und verfahren zu dessen herstellung

Citations (3)

* Cited by examiner, † Cited by third party
Publication number Priority date Publication date Assignee Title
JPH02104641U (ja) * 1989-02-06 1990-08-20
JP2000156439A (ja) * 1998-11-20 2000-06-06 Mitsubishi Electric Corp パワー半導体モジュール
JP2000349210A (ja) * 1999-06-09 2000-12-15 Nippon Inter Electronics Corp 複合半導体装置

Patent Citations (3)

* Cited by examiner, † Cited by third party
Publication number Priority date Publication date Assignee Title
JPH02104641U (ja) * 1989-02-06 1990-08-20
JP2000156439A (ja) * 1998-11-20 2000-06-06 Mitsubishi Electric Corp パワー半導体モジュール
JP2000349210A (ja) * 1999-06-09 2000-12-15 Nippon Inter Electronics Corp 複合半導体装置

Cited By (13)

* Cited by examiner, † Cited by third party
Publication number Priority date Publication date Assignee Title
JP2011243916A (ja) * 2010-05-21 2011-12-01 Toshiba Corp 半導体装置、半導体ユニット及び電力用半導体装置
US9041052B2 (en) 2010-05-21 2015-05-26 Kabushiki Kaisha Toshiba Semiconductor device, semiconductor unit, and power semiconductor device
CN102738134A (zh) * 2011-04-13 2012-10-17 三菱电机株式会社 半导体装置
JP2012222297A (ja) * 2011-04-13 2012-11-12 Mitsubishi Electric Corp 半導体装置
WO2012144070A1 (ja) * 2011-04-22 2012-10-26 三菱電機株式会社 半導体装置
CN104160502A (zh) * 2012-03-09 2014-11-19 三菱电机株式会社 半导体模块
JP2016162986A (ja) * 2015-03-05 2016-09-05 日立オートモティブシステムズ株式会社 パワー半導体モジュール及び電力変換装置
WO2016140147A1 (ja) * 2015-03-05 2016-09-09 日立オートモティブシステムズ株式会社 パワー半導体モジュール及び電力変換装置
US10027246B2 (en) 2015-03-05 2018-07-17 Hitachi Automotive Systems, Ltd. Power semiconductor module and electric power conversion device
JP2017191820A (ja) * 2016-04-11 2017-10-19 株式会社デンソー 半導体モジュール
DE102017211606A1 (de) 2016-07-15 2018-01-18 Mitsubishi Electric Corporation Halbleitervorrichtung
US10121719B2 (en) 2016-07-15 2018-11-06 Mitsubishi Electric Corporation Semiconductor device
WO2019063533A1 (de) * 2017-09-29 2019-04-04 Fraunhofer-Gesellschaft zur Förderung der angewandten Forschung e.V. Bauelement und verfahren zu dessen herstellung

Also Published As

Publication number Publication date
JP5182274B2 (ja) 2013-04-17

Similar Documents

Publication Publication Date Title
JP5182274B2 (ja) パワー半導体装置
JP6065979B2 (ja) 半導体装置
JP5672305B2 (ja) 半導体装置
CN101496169A (zh) 电力转换装置
JP2019067949A (ja) 半導体装置
JP6988345B2 (ja) 半導体装置
JP2015135895A (ja) 半導体モジュール
JP6655992B2 (ja) パワーモジュール
WO2015005181A1 (ja) 電力変換部品
JP2014183078A (ja) 半導体装置
WO2019064874A1 (ja) 電力変換装置
JP6003624B2 (ja) 半導体モジュール
JP2015126168A (ja) パワーモジュール
JP7070661B2 (ja) 半導体装置
WO2022215357A1 (ja) 半導体装置
JP7163583B2 (ja) 半導体装置
JP4794822B2 (ja) パワー半導体装置
JP2009117701A (ja) パワーモジュール
JP6763246B2 (ja) 半導体装置
JP2014041876A (ja) 電力用半導体装置
JP2019212809A (ja) 半導体装置
JP7088094B2 (ja) 半導体装置
JP6314726B2 (ja) 半導体モジュール
JP5925328B2 (ja) パワー半導体モジュール
JP2023094286A (ja) 半導体モジュール

Legal Events

Date Code Title Description
A977 Report on retrieval

Free format text: JAPANESE INTERMEDIATE CODE: A971007

Effective date: 20120921

A131 Notification of reasons for refusal

Free format text: JAPANESE INTERMEDIATE CODE: A131

Effective date: 20121002

A521 Request for written amendment filed

Free format text: JAPANESE INTERMEDIATE CODE: A523

Effective date: 20121129

TRDD Decision of grant or rejection written
A01 Written decision to grant a patent or to grant a registration (utility model)

Free format text: JAPANESE INTERMEDIATE CODE: A01

Effective date: 20121218

A61 First payment of annual fees (during grant procedure)

Free format text: JAPANESE INTERMEDIATE CODE: A61

Effective date: 20121231

R151 Written notification of patent or utility model registration

Ref document number: 5182274

Country of ref document: JP

Free format text: JAPANESE INTERMEDIATE CODE: R151

FPAY Renewal fee payment (event date is renewal date of database)

Free format text: PAYMENT UNTIL: 20160125

Year of fee payment: 3

R250 Receipt of annual fees

Free format text: JAPANESE INTERMEDIATE CODE: R250

R250 Receipt of annual fees

Free format text: JAPANESE INTERMEDIATE CODE: R250

R250 Receipt of annual fees

Free format text: JAPANESE INTERMEDIATE CODE: R250

R250 Receipt of annual fees

Free format text: JAPANESE INTERMEDIATE CODE: R250

R250 Receipt of annual fees

Free format text: JAPANESE INTERMEDIATE CODE: R250

R250 Receipt of annual fees

Free format text: JAPANESE INTERMEDIATE CODE: R250

R250 Receipt of annual fees

Free format text: JAPANESE INTERMEDIATE CODE: R250

R250 Receipt of annual fees

Free format text: JAPANESE INTERMEDIATE CODE: R250

R250 Receipt of annual fees

Free format text: JAPANESE INTERMEDIATE CODE: R250

EXPY Cancellation because of completion of term