JP2010044400A - 走査器システム - Google Patents

走査器システム Download PDF

Info

Publication number
JP2010044400A
JP2010044400A JP2009215853A JP2009215853A JP2010044400A JP 2010044400 A JP2010044400 A JP 2010044400A JP 2009215853 A JP2009215853 A JP 2009215853A JP 2009215853 A JP2009215853 A JP 2009215853A JP 2010044400 A JP2010044400 A JP 2010044400A
Authority
JP
Japan
Prior art keywords
scanning
data
hole
scan
circuit board
Prior art date
Legal status (The legal status is an assumption and is not a legal conclusion. Google has not performed a legal analysis and makes no representation as to the accuracy of the status listed.)
Granted
Application number
JP2009215853A
Other languages
English (en)
Other versions
JP4801762B2 (ja
Inventor
Wolfgang Retschke
ヴォルフガング・レッチュケ
Wolfgang Senf
ヴォルフガング・ゼンフ
Steffen Ruecker
シュテフェン・リュッカー
Uwe Klowsky
ウヴェ・コロヴスキー
Udo Battig
ウド・バティッヒ
Ulrich Baumann
ウルリッヒ・バウマン
Current Assignee (The listed assignees may be inaccurate. Google has not performed a legal analysis and makes no representation or warranty as to the accuracy of the list.)
Laser Imaging Systems GmbH and Co KG
Original Assignee
Laser Imaging Systems GmbH and Co KG
Priority date (The priority date is an assumption and is not a legal conclusion. Google has not performed a legal analysis and makes no representation as to the accuracy of the date listed.)
Filing date
Publication date
Application filed by Laser Imaging Systems GmbH and Co KG filed Critical Laser Imaging Systems GmbH and Co KG
Publication of JP2010044400A publication Critical patent/JP2010044400A/ja
Application granted granted Critical
Publication of JP4801762B2 publication Critical patent/JP4801762B2/ja
Anticipated expiration legal-status Critical
Expired - Fee Related legal-status Critical Current

Links

Images

Classifications

    • HELECTRICITY
    • H04ELECTRIC COMMUNICATION TECHNIQUE
    • H04NPICTORIAL COMMUNICATION, e.g. TELEVISION
    • H04N1/00Scanning, transmission or reproduction of documents or the like, e.g. facsimile transmission; Details thereof
    • H04N1/04Scanning arrangements, i.e. arrangements for the displacement of active reading or reproducing elements relative to the original or reproducing medium, or vice versa
    • H04N1/19Scanning arrangements, i.e. arrangements for the displacement of active reading or reproducing elements relative to the original or reproducing medium, or vice versa using multi-element arrays
    • H04N1/191Scanning arrangements, i.e. arrangements for the displacement of active reading or reproducing elements relative to the original or reproducing medium, or vice versa using multi-element arrays the array comprising a one-dimensional array, or a combination of one-dimensional arrays, or a substantially one-dimensional array, e.g. an array of staggered elements
    • H04N1/192Simultaneously or substantially simultaneously scanning picture elements on one main scanning line
    • GPHYSICS
    • G03PHOTOGRAPHY; CINEMATOGRAPHY; ANALOGOUS TECHNIQUES USING WAVES OTHER THAN OPTICAL WAVES; ELECTROGRAPHY; HOLOGRAPHY
    • G03FPHOTOMECHANICAL PRODUCTION OF TEXTURED OR PATTERNED SURFACES, e.g. FOR PRINTING, FOR PROCESSING OF SEMICONDUCTOR DEVICES; MATERIALS THEREFOR; ORIGINALS THEREFOR; APPARATUS SPECIALLY ADAPTED THEREFOR
    • G03F7/00Photomechanical, e.g. photolithographic, production of textured or patterned surfaces, e.g. printing surfaces; Materials therefor, e.g. comprising photoresists; Apparatus specially adapted therefor
    • G03F7/20Exposure; Apparatus therefor
    • G03F7/2022Multi-step exposure, e.g. hybrid; backside exposure; blanket exposure, e.g. for image reversal; edge exposure, e.g. for edge bead removal; corrective exposure
    • G03F7/203Multi-step exposure, e.g. hybrid; backside exposure; blanket exposure, e.g. for image reversal; edge exposure, e.g. for edge bead removal; corrective exposure comprising an imagewise exposure to electromagnetic radiation or corpuscular radiation
    • GPHYSICS
    • G03PHOTOGRAPHY; CINEMATOGRAPHY; ANALOGOUS TECHNIQUES USING WAVES OTHER THAN OPTICAL WAVES; ELECTROGRAPHY; HOLOGRAPHY
    • G03FPHOTOMECHANICAL PRODUCTION OF TEXTURED OR PATTERNED SURFACES, e.g. FOR PRINTING, FOR PROCESSING OF SEMICONDUCTOR DEVICES; MATERIALS THEREFOR; ORIGINALS THEREFOR; APPARATUS SPECIALLY ADAPTED THEREFOR
    • G03F7/00Photomechanical, e.g. photolithographic, production of textured or patterned surfaces, e.g. printing surfaces; Materials therefor, e.g. comprising photoresists; Apparatus specially adapted therefor
    • G03F7/20Exposure; Apparatus therefor
    • G03F7/2051Exposure without an original mask, e.g. using a programmed deflection of a point source, by scanning, by drawing with a light beam, using an addressed light or corpuscular source
    • G03F7/2053Exposure without an original mask, e.g. using a programmed deflection of a point source, by scanning, by drawing with a light beam, using an addressed light or corpuscular source using a laser
    • GPHYSICS
    • G03PHOTOGRAPHY; CINEMATOGRAPHY; ANALOGOUS TECHNIQUES USING WAVES OTHER THAN OPTICAL WAVES; ELECTROGRAPHY; HOLOGRAPHY
    • G03FPHOTOMECHANICAL PRODUCTION OF TEXTURED OR PATTERNED SURFACES, e.g. FOR PRINTING, FOR PROCESSING OF SEMICONDUCTOR DEVICES; MATERIALS THEREFOR; ORIGINALS THEREFOR; APPARATUS SPECIALLY ADAPTED THEREFOR
    • G03F9/00Registration or positioning of originals, masks, frames, photographic sheets or textured or patterned surfaces, e.g. automatically
    • HELECTRICITY
    • H04ELECTRIC COMMUNICATION TECHNIQUE
    • H04NPICTORIAL COMMUNICATION, e.g. TELEVISION
    • H04N1/00Scanning, transmission or reproduction of documents or the like, e.g. facsimile transmission; Details thereof
    • H04N1/04Scanning arrangements, i.e. arrangements for the displacement of active reading or reproducing elements relative to the original or reproducing medium, or vice versa
    • H04N1/10Scanning arrangements, i.e. arrangements for the displacement of active reading or reproducing elements relative to the original or reproducing medium, or vice versa using flat picture-bearing surfaces
    • H04N1/1008Scanning arrangements, i.e. arrangements for the displacement of active reading or reproducing elements relative to the original or reproducing medium, or vice versa using flat picture-bearing surfaces with sub-scanning by translatory movement of the picture-bearing surface
    • HELECTRICITY
    • H04ELECTRIC COMMUNICATION TECHNIQUE
    • H04NPICTORIAL COMMUNICATION, e.g. TELEVISION
    • H04N1/00Scanning, transmission or reproduction of documents or the like, e.g. facsimile transmission; Details thereof
    • H04N1/04Scanning arrangements, i.e. arrangements for the displacement of active reading or reproducing elements relative to the original or reproducing medium, or vice versa
    • H04N1/113Scanning arrangements, i.e. arrangements for the displacement of active reading or reproducing elements relative to the original or reproducing medium, or vice versa using oscillating or rotating mirrors
    • H04N1/1135Scanning arrangements, i.e. arrangements for the displacement of active reading or reproducing elements relative to the original or reproducing medium, or vice versa using oscillating or rotating mirrors for the main-scan only
    • HELECTRICITY
    • H04ELECTRIC COMMUNICATION TECHNIQUE
    • H04NPICTORIAL COMMUNICATION, e.g. TELEVISION
    • H04N2201/00Indexing scheme relating to scanning, transmission or reproduction of documents or the like, and to details thereof
    • H04N2201/04Scanning arrangements
    • H04N2201/047Detection, control or error compensation of scanning velocity or position
    • H04N2201/04701Detection of scanning velocity or position
    • H04N2201/0471Detection of scanning velocity or position using dedicated detectors
    • HELECTRICITY
    • H04ELECTRIC COMMUNICATION TECHNIQUE
    • H04NPICTORIAL COMMUNICATION, e.g. TELEVISION
    • H04N2201/00Indexing scheme relating to scanning, transmission or reproduction of documents or the like, and to details thereof
    • H04N2201/04Scanning arrangements
    • H04N2201/047Detection, control or error compensation of scanning velocity or position
    • H04N2201/04701Detection of scanning velocity or position
    • H04N2201/04715Detection of scanning velocity or position by detecting marks or the like, e.g. slits
    • H04N2201/04717Detection of scanning velocity or position by detecting marks or the like, e.g. slits on the scanned sheet, e.g. a reference sheet
    • H04N2201/04718Detection of scanning velocity or position by detecting marks or the like, e.g. slits on the scanned sheet, e.g. a reference sheet outside the image area
    • HELECTRICITY
    • H04ELECTRIC COMMUNICATION TECHNIQUE
    • H04NPICTORIAL COMMUNICATION, e.g. TELEVISION
    • H04N2201/00Indexing scheme relating to scanning, transmission or reproduction of documents or the like, and to details thereof
    • H04N2201/04Scanning arrangements
    • H04N2201/047Detection, control or error compensation of scanning velocity or position
    • H04N2201/04701Detection of scanning velocity or position
    • H04N2201/04732Detecting at infrequent intervals, e.g. once or twice per line for main-scan control
    • HELECTRICITY
    • H04ELECTRIC COMMUNICATION TECHNIQUE
    • H04NPICTORIAL COMMUNICATION, e.g. TELEVISION
    • H04N2201/00Indexing scheme relating to scanning, transmission or reproduction of documents or the like, and to details thereof
    • H04N2201/04Scanning arrangements
    • H04N2201/047Detection, control or error compensation of scanning velocity or position
    • H04N2201/04701Detection of scanning velocity or position
    • H04N2201/04737Detection of scanning velocity or position by detecting the scanned medium directly, e.g. a leading edge
    • HELECTRICITY
    • H05ELECTRIC TECHNIQUES NOT OTHERWISE PROVIDED FOR
    • H05KPRINTED CIRCUITS; CASINGS OR CONSTRUCTIONAL DETAILS OF ELECTRIC APPARATUS; MANUFACTURE OF ASSEMBLAGES OF ELECTRICAL COMPONENTS
    • H05K3/00Apparatus or processes for manufacturing printed circuits
    • H05K3/0073Masks not provided for in groups H05K3/02 - H05K3/46, e.g. for photomechanical production of patterned surfaces
    • H05K3/0082Masks not provided for in groups H05K3/02 - H05K3/46, e.g. for photomechanical production of patterned surfaces characterised by the exposure method of radiation-sensitive masks

Landscapes

  • Physics & Mathematics (AREA)
  • General Physics & Mathematics (AREA)
  • Electromagnetism (AREA)
  • Signal Processing (AREA)
  • Optics & Photonics (AREA)
  • Multimedia (AREA)
  • Engineering & Computer Science (AREA)
  • Exposure And Positioning Against Photoresist Photosensitive Materials (AREA)
  • Mechanical Optical Scanning Systems (AREA)
  • Facsimile Scanning Arrangements (AREA)
  • Manufacturing Of Printed Circuit Boards (AREA)
  • Exposure Of Semiconductors, Excluding Electron Or Ion Beam Exposure (AREA)
  • Laser Beam Printer (AREA)
  • Exposure Or Original Feeding In Electrophotography (AREA)

Abstract

【課題】走査器における走査ビームに対する走査対象表面の位置を判定する方法を提供する。
【解決手段】少なくとも2個の穴150を有する表面を供給するステップと、前記穴の近傍においてビームで表面を走査するステップと、前記ビームが前記穴を通る位置にあれば、そのビームを検出するステップと、ビームが穴の縁部に臨む位置において、走査器基準フレームにおけるビーム位置を判定するステップと、穴の縁部の位置の判定結果に基づいて走査器基準フレームにおける穴の位置を判定するステップを有する。
【選択図】図14

Description

本発明は、走査レーザビームで表面を走査する、例えば表面に書き込みを行う方法に関する。特に、印刷回路板へのパターンの直接書込み(direct writing)のためのシステムが開示されている。
大抵の印刷回路板は、先ず、固形銅クラッドを有する印刷回路板基板を光レジスト材で被覆することにより作製される。これを選択的露光、現像すると、光レジストの一部が除去されて、残りの光レジストが、照明の明部と暗部とに対応したパターンを形成する。現像済み光レジストパターンを形成した後に銅クラッドに対してエッチングを施して、光レジストで被覆されていない銅クラッドの部分を除去する。
主として、光レジストを選択的に露光する二つの方法の内、一つの方法が利用されている。その方法では、所要パターン(またはその反転パターン)が形成されている、フィルムの如くのマスターが使われている。光レジストの被覆層をこのフィルムを介して強力な照明に露光させる。その後露光した回路板を前述したように現像してエッチングにかける。オブジェクトの大きさが小さい高精密なパターンの場合では、この方法には幾つかの無視できない問題点がある。第一に、フィルムが伸びるか、変形することがある。フィルムが伸びると、複層ないし両面回路板の種々の層に形成されているパターンの寸法や位置が著しく変わってしまう。第二に、フィルムが摩耗したり引き裂かれると、フィルムを取り替えざるを得ない。第三に、レイアウトが変わると、一組の新しいフィルム、時には幾つかの組の新しいフィルムが必要になる。最後に、回路板の処理時に発生する寸法変動を補償するのは困難である。
もう一つの方法、これは本発明の対象ではあるが、その方法では、光レジスト被覆層へのパターンの書込みにその被覆層を走査する走査レーザビームを利用している。この方法は「直接書込み法」として知られている。原理的には、この直接書込み法は従来技術に付随する欠点の大部分を解消している。しかし、実用上では従来の直接書込み法にはそれなりの問題点を抱えている。特に、従来の直接書込みシステムはフィルム露光法に比べて一般に低速であり、沢山の資本支出を要しているなどの問題がある。原理的には直接書込みの精度と解像度とは高いが、光レジストを露光させるのに高エネルギー照射を高速で行う能力とかの実用上の配慮を行うと、スループットのみならず、従来の直接書込み法で作製される回路板の実際の正確性と精度も限られてくる。
従来より、直接書込みシステムの走査速度を高めるために複数のビームを利用して印刷回路板を走査することが知られている。一般に、このような複ビーム走査法は、印刷回路板産業界でのレティクルの作製や、電気写真光学印刷機の如くの幾つかの分野で利用されている。しかし、そのような用途ではパワー要件が小さく、走査されるオブジェクトの大きさが一般に比較的小さい。
米国特許第5,635,976号には、レティクル作製において改良された形象形成システム(system for improved feature definition)が開示されている。このシステムでは、オブジェクトの画素解像度の少なくとも四倍程もある解像度でビームアドレスを利用してレティクルを走査している。単一レーザ走査ラインないし複数走査ラインも開示されている。
米国特許第5,495,279号には、非常に大きい装置のためのパターン露光システムが開示されている。この装置では、楕円レーザビームを利用している。このビームは、それぞれ独立してアドレスすることのできる少なくとも100本の平行なセグメントに分割して、100本の画素ラインが書き込まれるようになっている。
直接書込みシステムの別の要件として、システムが書込み表面上のビームの位置をいつでも知っていなければならない。この判断を行う一方法として、試験ビームを書込みビームの照準に合わせている。試験ビームは印刷回路板の表面に書込みビームが入射する前では当該書込みビームとは別々になっている。スケールが試験ビームの一部を選択的に反射させる。すると反射したビームが検出され、この検出信号がデータクロックの基として使われる。しかしながら、照準合わせを容易にし、また、特に照準合わせの済ませたビームが分離できるためには、それぞれのビームの波長は異なっていなければならない。ところが、波長の異なったビームは光学系により別々に影響を受けて、完全にトラッキングしない。その上、該当する光路の一部が両方のビームによりトラバースされるのみで、斯かる走査器で一般に用いられているf-θレンズは両方のビームで完全にトラバースされることはない。このようなシステムの一例として、ドイツ国イェナ所在のレーザ・イメージング・システム社製のLIS DirectPrint 40がある。
直接書込みシステムは、一般に種々の厚みの印刷回路板に対応している。光の光学合焦の仕方はよく知られているところではあるが、直接書込みシステムでは光学系が複雑になることから使われていない。従って、従来のシステムでは、高さが可変となっているテーブルを利用している。高さの異なった回路板の場合、テーブルの高さは、回路板の表面が所定の焦点面で合焦となるように調節される。しかし、回路板が特に大きい場合、テーブルに対する回路板の角度等の他の機械的調節器を作製しなければならない場合、斯かるテーブルは機械的に複雑になる。
ラスター式レーザ走査システムでは、ビーム走査にポリゴンが使われていることから正確性に欠けるのが通常である。揺らぎが発生すると、クロス走査方向においてレーザビームの書込みにランダムエラーが発生する。また、走査器光学系が不完全だと、その他の、一般にシステム上のエラーが惹起される。
一般に、回路板上の光レジスト(そして、後でエッチングされるパターン)の光学露光を正確に位置決めすることは重要である。既に積層した回路板上に形成されている外層のための複合回路板の片面単層や、回路板内または回路板ないし層の反対側にある形象(feature)を接続するために穴が穿孔されている両面回路板にはこのことは重要なことではないが、パターンを正確に配置することは絶対に必要である。これは、走査データを所定の形象と照合する、例えば内層の場合では回路板の両側にある形象と照合することにより達せられる。一般に用いられている形象の一例としては穿孔が挙げられる。一般に、未書込み回路板には一つかそれ以上の穿孔があって、この穿孔が走査器側のピンと係合するようになっている。両面内層の場合では、走査は回路板の両側の穴を照合して行っている。
しかしながら、このようなシステムでも充分なものではない。ピン調芯方式での正確度は、所要印刷回路機素解像度に比べれば比較的限られている。ピンに対する穴の許容度を小さくすれば、穴が損傷し、かくて調芯が正確に行えない。
本発明の幾つかの好ましい実施の形態の一面は、独立してアドレスし得る複数の光セグメントからなるビームを用いて、例えば印刷回路板の光レジストで被覆された表面の如きの表面を走査する走査方法に関係している。
この面を有する本発明の幾つかの好ましい実施の形態では、矩形ビームを有するビーム(以後、「矩形ビーム」と称する)が表面を走査するようになっている。このビームは、独立してアドレスし得る所定数の光セグメントに分割されるが、各光セグメントは表面に書き込まれるべき形象の最小寸法よりも数倍小さい。各光セグメントはサブビームないし走査ラインを表している。従って、多数本の非常細いサブビーム(アドレスし得る光セグメントで識別される)が、平行走査ラインと共に表面を走査する。しかし、従来のシステムとは異なって、エリアが矩形ビームの順次オーバラップ走査(successive overlapping scans)で走査されるようになっている。
本発明の一部の好ましい実施の形態においては、走査ラインの間隔は、表面に書き込むべきパターン形象の最小寸法よりもほぼ小さい。従って、このような実施の形態にあっては、各最小形象寸法が、平行で別々にアドレスし得る複数の走査ラインで書き込まれるのである。印刷回路板上の各サブビーム光路は、矩形ビームの順次操作時に複数回、露光されるのである。
好ましくは、矩形ビームのパワーはその長辺方向では均一ではない。それどころか、システムのパワー利用効率を増加するために、ビームのプロファイルはその方向に沿ってガウス形状を有しているが、そのガウス分布の低パワーのテール部のみが使われない。また、本発明の好ましい実施の形態では、各サブビームは回折制限になっているので、走査ラインにより露出した幅は、走査ラインの中心間距離よりもほぼ大きい。本発明の一部の実施の形態では、サブビームの幅は、データを書き込むべき表面において、別々にアドレスし得るサブビーム間の距離の二、三倍ほど大きい。
本発明の一部の好ましい実施の形態の一面においては、光レジストの感度(速度)が変わるたびにそれに適した最適走査速度を利用している。一般に、一台の走査器が感度の異なる多種の光レジストに対して使われることが多い。原理的には、光レジストの感度とは逆関数で走査速度を変えることでその光レジストとの感度にあった走査速度を得ることができる。しかし、大抵の走査器では、比較的限られた感度範囲で良好に動作する大型ポリゴンスキャナを利用している。従って、従来では走査速度を変えるばかりではなくて、高速度の光レジストを走査する場合ではレーザパワーを減少する必要があった。そのために、光レジストの感度を利用することでもたらされる利点の大部分が失われているのである。
本発明の好ましい実施の形態では、従来の装置におけるのと同様に走査速度を変えているばかりではなくて、光レジストのパワー要求量に応じて隣り合った光帯(swath)の重なり量も変えている。従って、低速光レジストの場合、(印刷回路板の移動速度を減少することにより)重なり量を増加させている。他方、高速度光レジストの場合、走査速度を幾らか増加しているばかりではなくて、重なり量を減らしている。このようにすることで比較的広範囲のパワー範囲にわたって、レーザパワーを高い、好ましくは一定の最適レベルに保つことができる。これにより、広範囲の光レジストの速度にわたって走査速度とパワーとを最適にすることができる。
本発明の一部の実施の形態の一面は走査動作時でのビームの位置を良好に判定することに関わっている。
本発明の一実施の形態では、試験ビームの波長は、書込みビームの少なくとも一本のスペクトル線の波長と同一である。また、この試験ビームは、好ましくは書込みビームを生成するレーザ源の出力側近傍にビーム分割器を設けることにより、そのレーザ源から得られるようにするのが望ましい。本発明の好ましい実施の形態では、二本のビームが、全進行距離の大部分にわたって互いに平行、または、ほとんど平行な光路を進行する。特に、試験ビームは、好ましくはf-θレンズを含む全ての光学素子(少なくともポリゴンからはじまる光学系の部分)を通るようになっている。しかし、本発明の好ましい実施の形態では、二本のビームは平行にはなっていない。それどころか、二本のビームは走査方向と直交する平面にある。これらのビームは互いに照準を会わされていることもなく、また、平行でもないが、両方とも同一光学系を通り、ほとんど同じように偏向される。従って、試験ビームの位置についてそれを測定すると、書込みビームの位置も正確に反映されることになる。
本発明の好ましい実施の形態では、測定用スケールを、書込みビームからオフセット(クロス走査方向に)してf-θレンズの後に設けている。書込みビームに対して角度をなして進行する試験ビームはこのスケールで反射されるが、書込みビームはこのスケールを通らずに光レジストに入射する。このスケールは、反射ビームを変調するマーカからなる。この変調を検出してデータクロックの基として利用している。
本発明の一部の実施の形態の他の面は光学系に関わっている。その一つに、印刷回路板の厚みが異なっても、その回路板上の光レジストにビームを光学的に合焦する能力に関わっている。本発明の背景技術のところで説明したように、システムが複雑になると、このような合焦ができるためには相当の手入れが必要になる。
本発明の一部の好ましい実施の形態のある一面では、回路板に対するデータのアラインメントは、従来と同様に貫通穴を参照して行っている。しかし、貫通穴を走査器と機械的に整合させている従来のシステムとは異なって、本発明の好ましい実施の形態では貫通穴を光学的に走査データと整合させている。
本発明の好ましい実施の形態では、走査器のテーブル上での穴、ひいては回路板の穴の位置を正確に判定するのに、印刷回路板への書き込みに利用する、走査及びクロス走査位置決め機構を含むシステムを利用している。本発明の好ましい実施の形態では、回路板を回転させてデータに対する当該回路板の回転方向へのズレを矯正することにより、データを回路板の位置に合わせている。別の方法としては、或いはそれに加わって、走査ラインデータを選択的に遅延させて、残留走査位置のズレを矯正している。好ましくは、クロス走査でのズレは、クロス走査方向にデータを遅らせるか、または、進めることにより矯正するのが望ましい。概して、これら全ての矯正法が取られているのである。
本発明の別の好ましい実施の形態では、データが測定位置と合うように当該データを回転して変換(translate)させることにより、データそれ自体を測定座標系に変換している。しかし、これらの変換作用をオンラインで行うのは困難であるから、前述した位置に対するデータのハイブリッドアラインメントが望ましいのである。
本発明の一部の好ましい実施の形態のある一面では、回路板における穴間の距離を所定距離と比較することにより、走査すべき画像の大きさを調節している。
本発明の一部の実施の形態では、スケール操作を一方向で行っている。他では、一方向での距離測定に基づいて両方向で行っている。また他では、両方向での距離測定に基づいて両方向で行っている。
本発明の一部の好ましい実施の形態のある一面では、回路板は真空吸引チャックを利用して確固に保持している。この吸引チャックは、印刷回路板を載置するテーブルの一部を構成している。このチャックは、その基本構造があらゆる回路板に適するようになっているとの意味で、汎用性のあるものが望ましい。好ましくは、チャックの汎用部分を特定の回路板に対応させるために穿孔金属シートを設けている。
本発明のその他のことについては、添付の請求の範囲及び以後に行う説明から明らかになるであろう。
従って、本発明の好ましい実施の形態に従って、
独立してアドレスし得る複数のサブビームからなる走査ビームを生成するステップと、
それぞれが書き込むべき情報を反映するように変調された前記サブビームが横並び状でクロス走査方向に沿って表面を走査するように、前記走査ビームで複数回にわたり前記表面を走査するステップと、
少なくとも二回の走査の間に表面の書込みエリアに書き込まれるように前記ビームを重ねるステップとからなる、表面へパターンを書き込むための走査方法が提供されている。好ましくは、前記書込みエリアは少なくとも三回書き込まれるのが望ましい。別の方法としては、前記書込みエリアは少なくとも六回書き込まれるのが望ましい。また別の方法としては、前記書込みエリアは少なくとも八回書き込まれるのが望ましい。更に別の方法としては、前記書込みエリアは少なくとも十二回書き込まれるのが望ましい。なお別の方法としては、前記書込みエリアは少なくとも二十回書き込まれるのが望ましい。
本発明の好ましい実施の形態では、ビームは、矩形ビームの、前記サブビームからなるそれぞれのセグメントを別々に変調することにより形成されているのが望ましい。好ましくは、この別々の変調は、
長辺方向に利用しうる広がりを有する矩形ビームを生成するステップと、
前記長片方向に沿って、合計広がりが前記利用しうる広がりよりも大きい複数の変調セグメントを生成するステップとからなる。
別の方法としては、サブビームを発生させ、その場合に、方法にはこれらのサブビームを組み合わせて前記ビームを形成するステップを含ませている。
本発明の好ましい実施の形態では、別々にアドレスし得るサブビームの内の少なくとも二本の未変調エネルギーは互いに異なっている。好ましくは、未変調エネルギーは、概してガウス分布を有している。別の方法として、またはそれに加わって、ビームの変調を二値オン・オフ変調法で行っている。
本発明の好ましい実施の形態では、最小形象寸法を有するパターンの書き込みを行っており、サブビーム間の間隔はこの形象寸法よりもほぼ小さい。好ましくは、この最小形象寸法は、サブビームの広がりの少なくとも四倍ほどの大きさである。別の方法としては、或いはそれに加わって、この最小形象寸法は約51ミクロンと等しいか、それ以下である。また別の方法としては、或いはそれに加わって、最小形象寸法は約39ミクロンと等しいか、それ以下である。
本発明の好ましい実施の形態では、サブビームは前記表面において所定距離だけ隔離されており、前記表面において隣接するサブビームの方向に沿って、前記隔離間隔よりも大きい広がりを有している。好ましくはこの隔離間隔は約15ミクロン未満である。別の方法としては、この隔離間隔は約10ミクロン未満である。また別の方法としては、この隔離間隔は約6.35ミクロンである。
本発明の好ましい実施の形態でのこの隔離間隔は約6.35ミクロン未満である。
本発明の好ましい実施の形態では、広がりは前記隔離間隔の少なくとも二倍である。好ましくは、この広がりは前記隔離間隔の少なくとも三倍である。別の方法としては、或いはそれに加わって、この広がりは約6.35ミクロン以上である。また別の方法としては、或いはそれに加わって、この広がりは約12.7ミクロンと等しいか、またはそれ以上である。更に別の方法としては、或いはそれに加わって、この広がりは約19ミクロンと等しいか、またはそれ以上である。尚また別の方法としては、或いはそれに加わって、この広がりは約25.4ミクロンと等しいか、またはそれ以上である。
本発明の好ましい実施の形態により、可変所望レベルのエネルギーを表面に選択的に供給する一方で、走査システムのスループットを最適化する方法にして、
サブビームの変調作用に従って露光済みエリアと未露光エリアとを画成するために、前述のクレームの何れかにより表面を走査するステップと、
前記ビームを所定の最適パワーに設定するステップと、
(1)走査速度比が定まる最大速度と最小速度との間のビーム走査速度と、(2)走査方向と直交する方向への表面とビームの相対移動速度と、(3)露光済み表面エリアを最適パワーのビームで所望エネルギーに晒すのに適したビーム重なり量とを含むパラメータの組合せを判定するステップと、
前記パラメータの組合せを利用して前記表面を露光するステップとからなる最適化方法を提供している。
また、本発明の好ましい実施の形態により、可変所望レベルのエネルギーを表面に選択的に供給する一方で、走査システムのスループットを最適化する方法にして、
所定最適化パワーでビームを生成するステップと、
前記ビームを変調するステップと、
走査速度比が定まる最大速度と最小速度との間の第1速度にて第1方向に沿って表面をビームで走査するステップと、
第2速度にて前記第1方向とは直交する第2方向に沿って前記表面と前記走査ビームとを相対移動させるステップと、
前記走査速度比よりもほぼ大きい比だけ回路板の露光済みエリアに供給しているエネルギーを選択的に変化させるステップとからなる方法を提供している。
本発明の好ましい実施の形態では、供給するエネルギーは、走査速度比の少なくとも1.5倍程度だけ変えている。別の方法としては、或いはそれに加わって、供給エネルギーは、走査速度比の少なくとも5倍程度だけ変えている。また別の方法としては、或いはそれに加わって、供給エネルギーは走査速度比の少なくとも10倍程度だけ変えている。
本発明の好ましい実施の形態では、走査速度比は1.5未満である。別の方法としては、或いはそれに加わって、走査速度比は2未満である。
本発明の好ましい実施の形態により、走査器における走査ビームに対する表面の位置を判定する方法にして、
少なくとも二つの穴を有する表面を用意するステップと、
少なくとも前記穴の近傍においてビームで前記表面を走査するステップと、
前記ビームが前記穴を通る位置にあればそのビームを検出するステップと、
少なくともビームが穴の縁部に臨む位置に置いて、走査器基準フレームにおけるビームの位置を判定するステップと、
穴の縁部の位置の判定結果に基づいて走査器基準フレームにおける穴の位置を判定するステップとからなる方法をも提供している。好ましくは穴の縁部の位置は穴の全周にわたって判定されるのが望ましい。別の方法として、またはそれに加わって、前記方法には、
二つの穴の間の距離を判定するステップと、
判定した距離を設計距離と比較するステップと、
前記比較の結果から走査器で表面に書き込むべきデータの倍率(scaling factor)を判定するステップとを含んでいてもよい。
好ましくは、前記方法は
少なくとも二つの前記穴とは同一線上にはない少なくとも一つの追加穴を表面の設けるステップと、
前記少なくとも一つの追加穴の位置を判定するステップと、
前記少なくとも一つの追加穴と前記少なくとの二つの穴の内の一方の穴との間のもう一つの距離を判定するステップと
前記もう一つの距離をもう一つの設計距離を比較するステップと、
前記もう一つの距離と前記もう一つの設計距離との比較の結果から走査器で表面に書き込むべきデータの倍率を判定するステップとを含んでいてもよい。好ましくは、穴の位置を判定するのは、穴の縁部の点の位置を判定して、縁部の位置について判定した位置に基づいて穴の中心の位置を算出することによって行っている。
本発明の好ましい実施の形態では、前記方法には穴の位置を設計位置と比較することも含まれている。好ましくは、前記方法には、表面の位置と前記比較に基づいて表面に書き込むべきデータの位置決めとの何れか一方、または両方を矯正することも含まれている。好ましくは、この矯正は表面を回転させることよりなる。別の方法としては、またはそれに加わって、データを回転して矯正を行っている。また別の方法では、或いはそれに加わって、表面またはデータの相対位置を変換することにより矯正を行っている。更に別の方法としては、或いはそれに加わって、前記比較に基づいて表面に書き込むべきデータの大きさを矯正することも方法に含まれている。
本発明の好ましい実施の形態にあっては、検出は複数の穴に対して同一検出器を利用する検出からなり、検出器は光ガイドを介して穴を通るエネルギーを受けるようになっている。
本発明の好ましい実施の形態では、検出は異なった穴ごとに異なった検出器を利用する検出からなる。
本発明の好ましい実施の形態では、表面は、少なくとも一つの穴の位置で判定している。好ましくは、この少なくとも二つの穴は、少なくとも三つの非対称配置の穴からなり、表面の側部はこれらの穴の相対位置から判定される。
また、本発明の好ましい実施の形態により、走査式書込みシステムにおいてデータを書き込む方法にして、
表面に書き込むべきデータを用意するステップと、
表面上の少なくとも二つの形象の位置を測定するステップと、
二つの形象の距離を設計距離と比較するステップと、
比較に基づいてデータをスケーリングするステップと、
表面にスケールしたデータを書き込むステップとからなる方法も提供されている。好ましくは、測定は、同一線上にない少なくとも三つの形象の位置を測定することよりなり、また、スケーリングは、異なった倍率で二方向へスケーリングすることよりなる。別の方法としては、またはそれに加わって、形象としては貫通穴である。
本発明の好ましい実施の形態では、表面とは、光レジスト材が被覆されている金属化印刷回路板基板の表面である。
本発明の好ましい実施の形態では、印刷回路板のための走査式直接書込み露光システムに厚みの異なった印刷回路板が利用できるようにする方法にして、
光レジスト材が被覆されている、所定厚みの金属化印刷回路板基板を用意するステップと、
走査ビームの焦点綿を買えることにより光レジスト材に走査ビームを合焦させるステップとからなる方法を提供している。好ましくは、ビームは走査方向に走査するようになっていて、この走査方向に第1広がりを、また、クロス走査方向にそれとは異なった第2広がりを有し、かつ、前記表面でこれらの両方向においてそうさビームを合焦させるようにしている。好ましくは、走査は、走査素子に予備走査したビームを与えことであり、合焦は、予備走査ビームの走査方向とクロス走査方向に共通の焦点を判定し、この共通焦点を変えて被覆層に対する走査ビームの合焦を行っている。好ましくは共通焦点を変えることは、レンズの位置を変えることよりなる。また好ましくは、位置を変えることは、一つのレンズの位置を変えることよりなる。
本発明の好ましい実施の形態では、予備走査したビームを用意することは、クロス走査方向に配置した複数のビームセグメントを別々に変調することであり、変調された予備走査ビームは、走査方向とクロス走査方向との両方でその光路の一部においてのみほぼ合焦している。好ましくは、その部分はほぼ点からなる。
本発明の好ましい実施の形態では、
第1ビームと、
その光学入力端に光ビームを受光し、供給された変調信号に基づいてその出力端に変調光ビームを出力する変調器と、
第2ビームと、
前記第1及び第2ビームを受光して、表面に対して第1ビームを走査させ、また、第1ビームの光路とほぼ平行な光路に沿って第2ビームを走査させる走査器と、
第2ビームの位置に応じて前記変調信号を出力する制御器とからなる表面をビームで走査する装置において、
第1及び第2ビームがほぼ同一波長を有していることを特徴とする走査装置を提供している。好ましくは、第1ビームは第2ビームの波長とは異なった波長におけるエネルギーからなる。別の方法としては、またはそれに加わって、この装置には、第2ビームが入射するマーク付きスケールを備えており、第2ビームはこのスケールで反射されて変調反射ビームを形成する。好ましくは、第2ビームはその表面に対して角度をなして入射するようになっており、そのために変調反射ビームは第2ビームとは異なった軸に沿って反射される。
また、本発明の好ましい実施の形態では、
第1ビームと、
その光学入力端に光ビームを受光し、供給された変調信号に基づいてその出力端に変調光ビームを出力する変調器と、
第2ビームと、
前記第1及び第2ビームを受光して、表面に対して第1ビームを走査させ、また、第1ビームの光路とほぼ平行な光路に沿って第2ビームを走査させる走査器と、
第2ビームの位置に応じて前記変調信号を出力する制御器と、
変調反射ビームを形成すべく第2ビームを反射する、当該第2ビームの入射するマーク付きスケールとからなる表面をビームで走査する装置において、
前記第2ビームがその表面に対して角度をなして入射するようになっており、そのために変調反射ビームは第2ビームとは異なった軸に沿って反射されることを特徴とする走査装置を提供している。
本発明の好ましい実施の形態においては、走査器は
第1軸に沿ってビームを受光すると共に、ビーム軸を周期的に回転して回転ビームを形成する走査装置と、
周期的回転をビームの周期的直線走査に変換する光学系とで構成されており、
而して、前記第1及び第2ビームの両方は前記走査装置と光学系とを利用して走査されるようになっている。好ましくは、前記ビームのパワーは、ビーム軸が回転するにつれて変化するようになっており、他方、光学系は、パワー変動を補償するように直線走査の線形速度を変化させる疑似f-θレンズ系を備えているのが望ましい。
また、本発明の好ましい実施の形態では、
第1ビームと、
その光学入力端に光ビームを受光し、供給された変調信号に基づいてその出力端に変調光ビームを出力する変調器と、
第2ビームと、
前記第1及び第2ビームを受光して、表面に対して第1ビームを走査させ、また、第1ビームの光路とほぼ平行な光路に沿って第2ビームを走査させる走査器と、
第2ビームの位置に応じて前記変調信号を出力する制御器とからなり、
前記走査器が、
第1軸に沿ってビームを受光すると共に、ビーム軸を周期的に回転して回転ビームを形成する走査装置と、
周期的回転をビームの周期的直線走査に変換する光学系とで構成されてなる表面をビームで走査する装置において、
前記第1及び第2ビームの両方は前記走査装置と光学系とを利用して走査されるようになっていることを特徴とする走査装置を提供している。好ましくは、光学系は、線形ビーム位置と角度の非線形トラッキングをなす疑似f-θレンズ系を備えているのが望ましい。また好ましくは、第2ビームはその表面に対して角度をなしてスケールに入射するようになっていて、そのために変調反射ビームが第2ビームとは異なった軸に沿って反射されるようになっている。
更に本発明の好ましい実施の形態では、
第1ビームと、
その光学入力端に光ビームを受光し、供給された変調信号に基づいてその出力端に変調光ビームを出力する変調器と、
第2ビームと、
前記第1及び第2ビームを受光して、表面に対して第1ビームを走査させ、また、第1ビームの光路とほぼ平行な光路に沿って第2ビームを走査させる走査器と、
第2ビームの位置に応じて前記変調信号を出力する制御器と、
変調反射ビームを形成すべく第2ビームを反射する、当該第2ビームの入射するマーク付きスケールとからなる表面をビームで走査する装置において、
第2ビームはその表面に対して角度をなしてスケールに入射するようになっていて、そのために変調反射ビームが第2ビームとは異なった軸に沿って反射されるようになっていることを特徴とする走査装置が提供されている。
本発明の好ましい実施の形態にあっては、制御器は、反射ビームの変調に基づいて変調を行うようになっている。別の方法としては、或いはそれに加わって、走査装置には、前記変調反射ビームを受光して、変調信号を出力する検出器を備えており、前記制御器は前記変調信号のタイミングに基づいて前記変調を行うようになっている。好ましくは、この制御器は、変調信号を受信して、この変調信号の周波数と調節自在に関係するクロック周波数を有するタイミングクロックを出力するクロック発生器を備えている。このクロック発生器としては、
中間クロックと、同一周波数ではあるが、位相が反転した逆中間クロックとを出力する第1発生器と、
中間クロックと逆中間クロックとがそれぞれ入力される二つの入力を有すると共に、該二つの入力のどれかにおけるクロックが選択的に切り換えられて出力されるタイミングクロック出力とを有する切換回路とからなり、前記出力におけるタイミングクロックの平均周波数が、前記選択的切換により制御されるように構成されているのが望ましい。好ましくは、前記切換回路は、クロック矯正情報に応答して前記入力を前記出力に切り換えるようにしている。
本発明の好ましい実施の形態においては、前記走査装置は、変調情報を記憶していて、前記安定クロックのタイミングに基づいて第1ビームを偏重するために前記変調器に当該情報を供給するデータ記憶器を備えている。
更に、本発明の好ましい実施の形態では、
変調ビームと、
変調ビームを受光して、それを表面を横切って走査させるものであって、
第1軸に沿ってビームを受光すると共に、このビーム軸を周期的に回転して回転ビームを形成する走査装置と、
前記周期的回転をビームの周期的直線走査に変換する光学系とからなる走査器とからなる表面をビームで走査する装置において、
前記光学系が、角度の変化に伴うビームのパワーの変動を補償すべく線形ビーム位置と角度の非線形トラッキングをなす疑似f-θレンズ系を備えていることを特徴とする走査装置を提供している。好ましくは、この装置は、
その光学入力端に光ビームを受光し、供給された変調信号に基づいてその出力端に変調光ビームを出力する変調器と、
走査器が変調ビームと第2ビームとを受光して、変調ビームの光路とほぼ平行な光路に沿って第2ビームを走査させるのであれば、その第2ビームと、
第2ビームの位置に応じて前記変調信号を出力する制御器とで構成されているのが望ましい。好ましくは、その装置には、変調反射ビームを形成すべく第2ビームを反射する、当該第2ビームが入射するマーク付きスケールを備えているのが望ましい。また好ましくは、第2ビームはその表面に対して角度をなしてスケールに入射するようになっており、そのために変調反射ビームが第2ビームの軸とは異なった軸に沿って反射されるようになっている。それとは別に、或いはそれに加わって、スケール状のマークは、変調ビームと第2ビームのそれぞれの位置の間のシステム上の差を矯正するために非均一になっている。
更にまた本発明の好ましい実施の形態では、寸法の異なる平坦板を保持する装置であって、
平坦表面を有し、表面上に互いに連通する複数のチャンネルを有するベース部と、
前記チャンネルと連通する少なくとも一つのポートと、
前記少なくとも一つのポートと連通する真空源と、
前記チャンネルを全て覆うと共に、穴のない平坦表面のエリアに複数の貫通穴が形成されている中間板とからなる保持装置が提供されている。好ましくは、ベース部の少なくとも一部分は、截頭角錐のアレーからなり、この角錐の平坦頂部は平坦面とチャンネルを構成する角錐間のエリアからなる。別の方法としては、或いはそれに加わって、前記穴の密度は前記板を前記平坦表面にぴったりとひっつけるのに充分となっている。
更に、本発明の好ましい実施の形態では、表面上にパターンを書き込む走査装置であって、
データにより変調されたビームと、
その回転に伴って移動する複数の反射鏡面を有する回転ポリゴンと、
少なくともクロス走査方向にビームを反射鏡面に合焦させ、ポリゴンが回転するに伴って走査方向にビームが回転走査される第1光学系と、
ビームを受光して、ポリゴンの揺らぎがクロス走査のズレとして表面に伝わらないように前記ビームをを表面で合焦させる第2光学系とからなる走査装置が提供されている。好ましくは前記ビームは走査方向にはポリゴン上で非合焦にされているのが望ましい。別の方法としては、或いはそれに加わって、前記ビームは表面上で走査方向とクロス走査方向の両方にわたって合焦されるようになっている。また別の方法としては、或いはそれに加わって、第2光学系は、ビームの回転掃引(angular sweep)を表面上での直線掃引に変換するようになっている。更に別の方法としては、或いはそれに加わって、この第2光学系は、走査方向でのその位置の関数としてクロス走査方向にシステム上のズレをもたらすようになっていると共に、クロス方向のズレを補償するためにビーム変調用データを変えるデータ源。
また、本発明の好ましい実施の形態では、一連の掃引(pass)で表面にパターンを書き込む走査装置にして、
少なくとも一つのデータ信号で変調した少なくとも一つのビームと、
その回転に伴って移動する複数の反射鏡面を有する回転ポリゴンと、
前記少なくとも一つのビームを受光して前記表面に合焦することにより、前記少なくとも一つのビームでパターンが表面上に書き込まれるようにすると共に、走査方向でのその位置の関数としてクロス走査方向にシステム上のズレをもたらすようになっている光学系と、
クロス方向のズレを補償するためにビーム変調用データを変えるデータ源とからなる走査装置が提供されている。
本発明の好ましい実施の形態では、走査装置には、少なくとも一つのビームを受光してそれを変調することにより変調ビームを生成する複チャンネル光学変調器が備わっている。好ましくは、走査装置には、別々に変調されている変調器のチャンネルの数よりも多いライン数のデータを記憶するデータ記憶器を備えているのが望ましく、その際の前記データは変調器に送られてクロス方向のズレに応じてラインからのビームを変調するようにするのが望ましい。また好ましくは、データ記憶器には、走査位置に対するクロス方向のズレに依存性をも記憶しているのが望ましい。別の方法としては、またはそれに加わって、少なくとも一つのビームとしては、複数のビームであるのが望ましい。
本発明の好ましい実施の形態では、放射線感受性表面にパターンを書き込む装置でにして、
所定の強度を有する少なくとも一つのレーザビームと、
その少なくとも一つのビームを入力端において受光して、その出力端から少なくとも一つの変調ビームを出力する変調器と、
重なり範囲内において可変重なりを有する連続して部分的に重なり合った複数の光帯において走査速度範囲内の走査速度にて少なくとも一つの変調ビームで表面を走査する走査器とからなり、
前記重なりと前記走査速度とが、重なり範囲で考えられるパワーレベルの広がりか、または速度範囲よりも大きいパワーレベル8の広がりが表面に伝わるように、それぞれ独立して調節自在となっている装置を提供している。
更に本発明の好ましい実施の形態では、
ビームが変調器に入力すると共に、前記ビームを、そのビームの波長とその入力面へのビームの入射角との関数である第1角度にて屈折するようになっている入力面と、
ビームが変調器から出力すると共に、前記ビームを、そのビームの波長とその出力面へのビームの入射角との関数である第1角度にて屈折するようになっている出力面と、
音響があるときに、ビームの波長の関数である第3角度でビームを回折する音響光学ブラッグ回折域とからなり、
前記入力面と前記出力面との間の少なくとも角度が、互いに異なった所定波長を有し、同一角度にて入力面に入射する二つの入力ビームが同一角度にて出力面から出射することよりなる音響光学変調器をも提供している。
更に本発明の好ましい実施の形態では、表面にパターンを書き込む走査装置にして、
データにより変調され、互いの異なった二本のスペクトル線においてエネルギーを有するビームと、
少なくとも一つにビームで表面上にパターンが書き込まれるように、また、両方のスペクトル線でのエネルギーが同一位置において表面上で合焦されるように、ビームを受光してそれを表面上に合焦させる光学系とからなる走査装置をも提供している。
本発明の好ましい実施の形態による印刷回路板直接書込み型走査装置の概略斜視図。 図1の走査装置の概略上面図。 分かりやすくするために走査装置の構成部品を支持部材なしで、また、実物通りとはしないで示した図1と図2の走査装置の概略図。 本発明の好ましい実施の形態による走査スキームを示す図。 本発明の好ましい実施の形態による別の走査スキームを示す図。 本発明の好ましい実施の形態によるまた別の走査スキームを示す図。 本発明の好ましい実施の形態による更に別の走査スキームを示す図。 本発明の好ましい実施の形態による、直接レーザ走査装置のスループットを最適化する方法を示す種々の重なり値に対する走査重なりをポリゴン速度と関連付ける定型的な曲線図。 本発明の好ましい実施の形態による走査装置のアラインメント補償を示す図。 本発明の好ましい実施の形態による走査装置のアラインメント補償を示す図。 本発明の好ましい実施の形態による走査装置のアラインメント補償を示す図。 本発明の好ましい実施の形態による音響光学変調器までの主ビーム光学系の機能図。 本発明の好ましい実施の形態による音響光学変調器までの主ビーム光学系の機能図。 本発明の好ましい実施の形態による音響光学変調器と印刷回路板との間の主ビーム光学系の機能図。 本発明の好ましい実施の形態による音響光学変調器と印刷回路板との間の主ビーム光学系の機能図。 本発明の好ましい実施の形態による走査装置のデータ制御システムの簡略ブロック図。 本発明の好ましい実施の形態による図9のシステムの一部を示す全体ブロック図。 本発明の好ましい実施の形態による、図10Aのハードウェア論理を実現した図。 本発明の好ましい実施の形態により走査制御信号に基づいてデータラインが音響光学変調器に送られる図10Bの回路の一部の動作を示す図。 本発明の好ましい実施の形態によるデータクロックを生成するのに有用な装置のブロック図。 図12に示した装置の理解に有用なクロックパルスを示す図。 本発明の好ましい実施の形態による走査装置における印刷回路板の位置を正確に判定する方法を示す概略図。 本発明の好ましい実施の形態による、印刷回路板を保持する真空吸引チャックと印刷回路板を保持する特殊アダプタの汎用部からなる走査システムを示す図。 図15の真空吸引チャックの常設部の詳細を示す図。 あるクロス走査方向エラーを判定するのに利用する走査装置の部分の側面図。 あるクロス走査方向エラーを判定するのに利用する走査装置の部分の上面図。 従来の音響光学変調器を示す図。 本発明の好ましい実施の形態に従って構築した音響光学変調器を示す図。
以後、添付図面を参照しながら本発明の好ましい実施の形態についてなした詳細な説明から、本発明が一層明らかになるであろう。
システムの概要
本発明の好ましい実施の形態による典型的な直接書込み式印刷回路板走査装置10を図1から図3に示す。走査装置10はレーザ源12を備えており、レーザ源12の出力波長は、光レジスト被覆層を露光するのに適したものとなっている。本発明の好ましい実施の形態では、351.1及び363.8ナノメータ波長で稼働し、4.4ワットの最大パワーを出すアルゴンイオン型紫外線レーザが適しているのが判明している。斯かるレーザは一般に入手可能であり、米国カリフォルニア州所在のコーヒレント社製Innova Sabre型レーザや、米国カリフォルニア州所在のSpectra Physics社製Beam Lock 2085型レーザがそれに適している。レーザ源12から出射したビーム14は、第1ビーム分割器(部分反射型ミラー)20により主ビーム16と試験ビーム18との二本のビームに分割される。後述するように、主ビーム16(破線で示す)は(最終的には)印刷回路板上の光レジストを走査して露光するようになっている。他方、試験ビーム18(点線で示す)は、主ビーム16の走査位置を判定すると共に、後述のように他の試験やアラインメント機能に利用される。好ましくは、分割器20や後述のミラーや他の分割器等は前面ミラーと前面分割器であるのが望ましい。また好ましくは、ミラーと分割器とは誘電体前面ミラーであるのが望ましい。
試験に必要なパワーは書込みに必要なパワーよりも非常に小さいから、ビーム分割器20としては、反射するパワーが透過するパワーよりも大きいのが望ましい。好ましくはビーム14のパワーの99%程度が主ビーム16として反射されるのが望ましい。後述の説明では、ビームの伝播軸に対して直交する二つの方向を「走査方向」と「クロス走査方向」とにそれぞれ称する。これらの方向は書込みビームの走査方向と、ビーム軸及び走査方向と直交する方向とにそれぞれ対応する。尚、これらの用語が含蓄するところは以後の説明から明らかになるであろう。
説明を容易にするために、主ビーム16の光路について先ず説明する。主ビーム16は一連の光学素子22、24、25、26を順次通るが、これらの光学素子は、ビームが第1ミラー30で反射した後に当該ビームを変調器28内の変調面に合焦させる働きをする。図1から図3に示した典型的な実施の形態では、これらの素子類は、第1クロス走査用シリンドリカルレンズ22、第2クロス走査用シリンドリカルレンズ24、第1球面レンズ25、第1走査用シリンドリカルレンズ26である。また、ビーム16は第1分割器20から反射された後ではほぼ円形断面であるが、変調器28に入射するときではクロス走査方向に長く、走査方向に短い矩形断面になっている。このビームが変調器28を通るに伴って、クロス走査方向のビームのセグメントは変調器28により別々に変調される。斯かるビームは、横並びで進行する別々に変調された複数本のビームからなるものと見ることができる。しかしながら、視覚的にわかりやすくするために、主ビーム16は一本のビーム光路を進行するものとして示してある。クロス走査方向は変調器28の出力端においては垂直方向(図3において符号29で示す)にある。
主ビームは好ましい典型的な実施の形態では別々に変調した複数のサブビームからなるものとして説明したが、本発明の幾つかの面においては、このビーム16は、複数のビーム分割器や複数のレーザ発光器、或いはその他の適当な手段で形成される複数の離散ビームからなるものであってもよいことは容易に理解されよう。
尚、この典型的な実施の形態では第1ミラー30は主ビームを90°反射するようにはなっていない。むしろ、主ビーム16はこのミラー30で鋭角反射されるようになっていて、変調器28に対しては、この変調器からの出射角とは別の角度で入射するようになっている。変調器28は好ましくは当業界でよく知られている音響光学変調器であるのが望ましく、編者をアキス・ピー・ゴウツオリスとデニス・アル・パパとして1994年にマーセル・デッカー社より出版されている「Design and Fabrication of Acousto-optic Devices(音響光学装置の設計と製造)」の第94ページにおいて説明されている。変調後では、ビームは、走査に使えるためにも好ましくは歪像レンズ系を介して光学的に処理する必要がある。図1から図3に示した典型的な実施の形態では、ビームは先ず第2球面レンズ32を通り、次に第3クロス走査用シリンドリカルレンズ34、第3球面レンズ36、そして第4クロス走査用シリンドリカルレンズ38を順に通る。その後ビーム16は第2、第3、第4ミラー40、42、44で順に反射される。ミラー44で反射したビーム16は、回転ポリゴン46の反射鏡面に入射する。ビームはこの回転ポリゴンに入射する前に複合レンズ48を通るようにするのが望ましい。後述のように、レンズ36のZ位置は、厚みの異なるPC板にビームを合焦できるためにも、(例えば図示しないモータ駆動式マウントを移動させることにより)調節できるようになっている。系のその他のレンズは単に融解シリカレンズであってもよいが、レンズ48だけは、走査方向とクロス走査方向における二つのレーザ波長(351.1ナノメータと363.8ナノメータ)の焦点が回路板上でほとんど一致するようにするように軸上色誤差(chromatic on-axis error)を補正しうる複合レンズであるのが望ましい。
図1において、レンズ38を通ったビーム16は、反射器50、52(視覚的に簡素にするために図3では示していない)により折り返される。このように反射する目的は、ビームの光路長を増加させてビームのサイズを大きくすることで、光学表面上での光学パワー密度を減少させることにある。
尚、典型的な実施の形態では、クロス走査方向の焦点合わせは走査方向のそれよりも大きい。本発明の好ましい実施の形態では、ビーム16はクロス走査方向にあっては、ポリゴンの振れにより生ずる誤差を減少するが、走査方向には焦点を結ばない(平行化される)反射鏡面に合焦されるようになっているので、パワー損失が惹起されないようにこの反射鏡面の一部しか照射しない。
試験ビーム18の光路についていえば、試験ビーム18は第1ビーム分割器20を透過した後、第5ミラー54により主ビーム16の光路とほぼ平行する光とへと反射される。後述の理由によりビーム18はビーム回転器55でその光軸を中心として90℃回転させられるようになっているのが望ましい。回転以外に、一連のミラーからなる回転器はビーム16の光軸を変えないようになっているのが望ましい。
ビーム18の一部56は第2分割器58により分割されて、後述の動作を行うレーザ調整装置60に入射する。本発明の好ましい実施の形態では、分割器58は50対50分割器であるが、他の分割比の分割器であっても利用できる。ビーム18は第6ミラー62の側を通過して第7ミラー64に入射し、その後第7ミラー64に反射されて、好ましくはビーム16とほぼ平行に進行して変調器28を離れる。尚、ビーム16、18は、それぞれの光路のその部分においては比較的広く離れている。ビーム18は、二つのシリンドリカルレンズ65、66によりクロス走査方向の焦点合わせされる。一対のミラー68、70は、ビーム18もレンズ42、44によりレンズ48を介してポリゴン46へと反射されるように当該ビーム18をそれぞれ反射するようになっている。しかしながら、ビーム16、18はミラー42に入射するときは最早平行にはなっていない。ミラー70は好ましくは、ビーム16、18が互いに角度をなしながら進行するように角度を持たせて傾斜配置されているのが望ましい。この傾斜角度としては、両ビームがポリゴンの反射鏡面でぼぼ一致するように選ばれているのが好ましい。この反射鏡面で反射された両ビームはその後また枝分かれする。
尚、ビーム16、18はミラー42を過ぎるときには垂直(クロス走査)面にあるのが望ましい。こうすることにより、両ビームがポリゴンの反射鏡面で反射した後にほぼ同一走査位置を確実に走査するようになる。従って、ビーム18はポリゴン46に入射する前はビーム16の例えば上方にあり、ポリゴン46から反射した後ではビーム16の下方に臨ませている。
一つの反射鏡面を全て照射することのない主ビーム16とは異なって、試験ビーム18は好ましくはクロス走査方向では反射鏡面で合焦し、走査方向では二つ以上の反射鏡面を照射するほどになっている。ポリゴンが回転していると、主ビーム16は後述するように反射鏡面に経跡される。同時に、反射鏡面はビーム18を全ビームから一部分だけ切り出す。試験ビームはガウス分布となっているので、この切り出された部分の全パワーは走査角度と共に変化する。
走査光学系72は、両ビームがポリゴン46により当該光学系72を掃引するに伴って両ビームを合焦させるようになっている。一般にこの光学系72は、両ビームを走査方向とクロス走査方向とにおいてほぼ合焦させる球面光学系である。両ビームは走査ミラー74によりレンズ76の方へと反射される。ビーム16はシリンドリカル(クロス走査)レンズ82を通った後に、光レジストが被覆されている印刷回路板78に入射する。光学系72はレンズ76と共に、ポリゴンによりビームに与えられた角変化を印刷回路板を横切る直線移動に変換する疑似f-θ光学系を構成している。
ビーム16から枝分かれしたビーム18は、シリンドリカルレンズ82を通ることなくスケール80に入射する。尚、ビーム16、18の走査位置はほぼ同一であるから、試験ビーム18の走査位置を測定するだけでビーム16の位置が分かることになる。
スケール80は、ビーム18の方向に対して直交する方向から僅かの角度(走査方向軸を中心として)傾いているのが望ましい。このようにすることで、ビーム18がスケールへ入射すると共にほとんど同一方向にスケールから反射されることから、僅かだけの角度を入射ビームと反射ビームとの間に持たせるようにしている。配置関係を明確にするために、この説明と添付図面では必要に応じてこの反射ビームをビーム18’としている。
ビーム18’はレンズ76、ミラー74、光学系72、ポリゴン46、レンズ48、ミラー44、42、70、68、そしてレンズ66、65を順次介してミラー64へと進行する。ビームがミラー62に至るまで、ビーム18、18’は別々になっており、従ってミラー62はビーム18’をさえぎって、それを検出器84へとレンズ85を介して反射するようになっている。検出器84は、スケール80におけるマークによりビームに対して与えた変調を検出するようになっている。これらの検出された信号には走査ビーム16の位置に関する情報が含まれているのではあるが、これらの検出された信号は、後述のように変調器28によるビーム16の変調作用を制御するのに使われるのが望ましい。
分割器52により試験ビーム18から枝分かれしたビーム56について説明すれば、このビーム56は、好ましくは第1球面レンズ(図示せず)を透過した後にビーム分割器86に入射するのが望ましい。このビームの一部は、好ましくは第2球面レンズ(図示せず)を透過した後に第1四象限検出器(quadrapole detector)88に送られる。第1及び第2球面レンズは検出器88へのレーザビームのウェストを投影しているので、検出器88からの信号で走査方向とクロス走査方向へのビームのズレが表される。
ビーム56の第1部分はビーム分割器52から一対のレンズ(図示せず)を介して第2四象限検出器90に送られる。この一対のレンズはf-θレンズとして作用するように構成されているので、検出器90からの信号で、走査方向とクロス走査方向での回転ズレが分かるようになっている。信号は回路91で受信された後にシステム制御器に供給されるようにするのが好ましい。
システムを最初に調整すると、検出器のズレ信号が全てゼロとなるように当該検出器を位置決めして調整しておく。レーザを取り替えた場合では、システム全体を再調整する必要はない。レーザをそのマウントに載置して、検出器88、90からの出力が無ズレ信号となるように当該検出器88、90の高さと回転位置を調節するだけで充分である。斯かる無ズレ信号は、システムを最初に調整したときでのレーザと同一ビーム光路を正確に通るビームが出力されるように適切に調整しただけで出力される。レーザをこのように調整すればシステム全体が調整されたことになる。
システムは、安定性を保つためにも合成花崗岩製ベース92に装着するのが好ましい。大部分の構成部品はレール94に搭載するのが望ましく、斯かる搭載方法については、受理官庁をヨーロッパ特許庁として本願と同日に出願をなし、発明の名称を「Optical Alignment and Mounting System(光学調整と支持システム)」とする同時係属中の国際出願に開示されている。この搭載方法では、光学系全てを再調整することなく、また、取替えた部品の再調整もそれを行う必要なく、部品を容易に交換できるようにしている。
ビーム変調作用
前述したように、主ビーム16は変調器28により区分的に変調される。概して、本発明では、非常に高度の正確性を期して非常に小さいエレメントを書き込むことを意図している。一般に、約50ミクロン(2ミル)よりも小さい広がりを有する形象(線の如く)が書き込まれるようにしている。
この目的のために、ビームは変調器28において、印刷回路板に変調したビームが投射されると、中心間距離が書き込むべき形象の最小寸法の1/8となるスポットが形成されるように変調される。しかし、中心間距離が約6.35ミクロン(0.25ミル)としているものに、個々にアドレスした走査ラインのスポットの大きさは、回折及びその他の光学的影響のために一般に乏しく、約19ミクロン(0.75ミル)程度である。尚、ビームは6.35ミクロン(回路板上)ごとの走査ライン解像度でアドレスし得る。この寸法選択により、エッジが鋭く、ライン幅が正確に制御された2ミルの形象寸法のパターンを高度に忠実に得ることができる。実地では、本発明の好ましい実施の形態として、アドレスし得る変調ビームセグメントに対応する回路板上の走査ライン位置は、何回も走査されるのが望ましい。
図4Aから図4Dまでは、本発明の好ましい実施の形態による四種の走査スキームをそれぞれ示している。それぞれの図において、クロス走査は左から右へと行われる。走査方向については一本のラインだけを示している。上方のラインは走査ライン番号(印刷回路板上での)を示し、走査ラインデータが書き込まれている。露光すべき走査ラインには陰線が施してあり、また、データ書込みを行うべきでない走査ラインは陰線なしで示してある。図示の例では、走査ライン7〜10、19〜26、31〜34は露光すべきところであり、その他の走査ラインはそうでないものとして示してある。
下方のラインは連続走査を示し、番号は変調ビームセグメント(各走査ごとの対応する変調器のチャンネル番号)を表している。ビームは24個の変調器(走査ライン)チャンネルにわたっている。それぞれの場合、チャンネルは、それに書き込まれた上方のラインにおけるインデックスに対応するデータを有している。視覚的にわかりやすくするために、PC板に露光すべきビームを伝送するチャンネルには陰線を施してあり、そうでないチャンネルは白抜きのままにしてある。
図4Aは、各走査ラインが2回書き込まれることから二倍重なり(2x overlap)と称する典型的な第1スキームを示している。この図4Aには、走査の光帯が三つ示されている。このスキームにあっては、走査ラインの光帯の幅が走査ライン24本分あれば、二倍重なりの場合、光帯は各走査ごとに12本の走査ライン分前進することになる。第1走査の場合(一部だけ示す)、変調器17〜20が書込みのためにビームを通すことになる。その次のラインに示されている同一走査位置での第2走査の場合、変調器5〜8、17〜24が書込みのためにビームを通すことになる。また、更に次のラインに示されている同一走査位置での第3走査の場合、変調器5〜12、17〜20が書込みのためにビームを通すことになる。次のラインに示されている同一走査位置での第4走査の場合、変調器5〜8が走査のためにビームを通すことになる。上記した典型的な実施の形態では、光帯が重なったとき、ビームのラインはインターレースされない。
図4Bから図4Dまではそれぞれ三倍重なり(光帯は各走査ごとに8本の走査ライン分前進する)、四倍重なり(光帯は各走査ごとに6本の走査ライン分前進する)、六倍重なり(光帯は各走査ごとに4本の走査ライン分前進する)を示している。尚、十二倍重なりや二十四倍重なりも考えられるところである。
尚、クロス走査方向に沿って一本のデータラインだけを示している。これは光帯の一つの走査位置に対するデータを表している。光帯が前進するに伴い、このデータは、特定の走査位置で走査されている画素の要件に従って変調作用が行われるように変わる。
本発明の好ましい実施の形態では、走査重なりとポリゴン速度との組合せを利用して、考えられる最大書込み速度にて光レジストを最適露光できるようにしていると共に、ビームがもたらすエネルギーの利用効率を最大化している。本発明のこの好ましい実施の形態では、走査重なりとポリゴン速度とを(光レジストの異なった感度に合わせて)変えることにより、光レジストに対して所望の露光エネルギーを与えている。好ましくは、レーザパワーを一定に、好ましくは最適(最大または最大値に近い)パワーレベルに設定するのが望ましい。図5は、曲線のパラメータとしての種々の走査重なりごとのポリゴン速度と露光エネルギーとに関する曲線を示している。これらの曲線は、24インチの走査長に基づくものである。光レジストが高感度のものであれば、図5に示すように、レーザパワーを所望の最適レベルに維持する一方で、ポリゴン速度と光帯の重なりとを調節することによりスループットを最適化することができる。
尚、二倍、三倍、四倍重なりスキームを利用するだけで、3:2だけのポリゴン速度比に対して三倍の変化量のエネルギーが得られる。パワーは一定の最適(最大または最大値に近い)パワーレベルに保たれているから、それぞれの露光は走査装置が出し得る最大速度において行われる。また、六倍、八倍、十二倍、二十四倍重なりを利用することにより、レーザのパワー(そして露光時間)を最適化する一方で、露光エネルギーの変化範囲を広げることができる。
本発明の別の実施の形態では、変調器でのレーザビームのクロス走査のオフセットを自動的に補償するようにしている。図6Aから図6Cまでは、斯かる自動補償作用を行う方法を示している。特に、変調器を照射しているビームの幅は24個の物理的(走査ライン)画素に相当しているが、中心24画素位置の両側に幾つかの余分の変調の物理的チャンネルが変調器により出されている。図6Aから図6Cにあっては、チャンネルは図4Aから図4Dで示したのと同様に陰線で示されていて、下方のラインに対する変調器設定を表している。
図6Aから図6Cにおいては、変調器の両側に四つの余分のチャンネルー1、―2、+1、+2を有する1〜24番のチャンネルが示されている。各チャンネルは、変調器でのビームにパワーがあるとすれば走査されるライン、即ち、X軸走査ライン位置に従って変調作用を行う。
図6Aにおいて、太線で示したビームは正しく配置されている。従って、図示の如くの二倍重なりの場合、結果は図4Aに示したのと同一である。図6Bにあっては、ビームは走査ライン二本分、左側にずれて変調器に誤配置されている。図6Aにおいて第1光帯における変調位置23、24と第2光帯における変調位置11、12により書き込まれた走査位置25、26は、第2光帯における位置11、12と第3光帯における-1、-2により書き込まれている。各光帯は誤配置されることもあるが、各走査ラインは適切な回数だけ適切なデータで走査される。図6Cは、右の方へ2本の走査ライン分だけビームが誤配置されているところを示している。この場合でも、走査パワーとデータとはそのままになっている。従って、実際の光帯の幅に必要とするよりも多い変調チャンネルを設定することにより、変調器におけるビームのクロス走査方向への位置決め(及びその長期安定性)があまり重要でないものとなる。
尚、本発明の好ましい実施の形態では、主ビーム16のエネルギー分布は走査方向にしても、また、クロス走査方向にしても均一にはなっていない。これらの方向にあっては、ガウス形状ないし近似ガウス形状になっている。クロス走査方向においてビームがガウス形状を呈するようにすれば、ビームの極端テール部(ピークパワーの1/e2以下)が使われない(或いは、少なくとも考慮に入れられない)ことから、システムの総合効率が増加する。各画素が一本の走査ラインで書き込まれるとすれば、画素が異なるたびに異なった露光が行われることになる。しかしながら、PC板における各走査ラインはクロス走査用ビームの光帯の異なった部分を利用して少なくとも二回(二回以上が通常)書き込まれるから、光レジストに与えられるパワーの総量はビームのガウス断面形状の大部分を利用しても、程良く一定である。また、変調走査ラインのそれぞれは、先ほど説明したように回折限度よりも約三倍小さいから、書き込まれた走査ラインに対してパワーをより均質化することができる。
主ビームの光学系
本発明の好ましい実施の形態により、改良された光学系も提供されているところである。この光学系は、機能に応じて2つの部分、即ち、変調器照射システムと変調器から印刷回路板への撮像システムとに分けられる。また、予備走査光学系と走査光学系との2つにも分けられる。予備走査光学系はレーザとポリゴンとの間に介在する全てのレンズからなる。走査光学系は、ポリゴンと回路板面との間に介在する全てのレンズからなる。このように光学系を分けることは、これらの2つの部分の要件が非常に異なっていることから望ましいことである。予備走査光学系の素子類の大きさは、ビームが小さいことから小さくなっている。しかし、パワー密度が高く、そのために問題が発生しやすい。
走査光学系の場合、ビームの大きさやパワー密度についての要件は逆となっているのが通常である。
変調器照射システムは、当業界で最新型レーザ光学系でよく知られているレーザウェイスト変換(laser waist transformation)の光学要件に従ってレーザレーザヘッドからのビームを変調器に変換するものである。その結果、変調器チャンネルが、好ましくは走査方向とクロス走査方向とに異なった広がりを有するガウスエネルギー分布で照明されることになる。好ましくはビームはこの光学系で平衡化されているので、レーザのウェイストは変調器またはその近傍にある。
本発明による好ましい実施の形態では、改良されたレーザ照射システムはが提供されている。図7Aと図7Bとは、変調器28に至るまでの主ビーム光学系の一部を示している。これらの素子類は図1から図3においても示したところではあるが、図7Aと図7Bでは所要に応じてこれらの素子類に対して施す調節の有様を示している。図7Aは、システムを上方から見た図であり、この図にあっては走査方向は上から下への方向に該当する。他方、図7Bは側方から見た図であり、クロス走査方向が上から下への方向に該当する。
図7Aと図7Bとに示した光学系の部分は、走査方向とクロス走査方向において異なっていると共に組み合わされている光学パワーを有する四個のレンズ(22、24、25、26)からなる。本発明の好ましい実施の形態では、レンズ22、24はクロス走査方向に光学パワーを有する同じシリンドリカルレンズであり、レンズ25は球面レンズ、レンズ26は走査方向に光学パワーを有するシリンドリカルレンズである。
レンズ25、26は走査方向のダイナミックビーム伸張器として有効なものである。レンズ26を光軸に沿って移動させると、走査方向から見た変調器でのビームの大きさが増減する。これにより、レーザ源の寿命中での、例えばウェイスト径、ウェイスト位置、ビームモード純度(M2)の如くの個々の違いや変化を補償することができる。それにより、大きな走査方向のビーム径を要する変調器の高回折効率(変調器によるビームの伝送)の要件と、小さい走査方向のビーム径を要する「スコフォニ効果」の適用の要件との兼ね合いを取ることができる。このスコフォニ効果は、スポットフライ式(flying spot)走査器の走査方向における生成エッジのボケを減らすか、除去するのに使われる。このことは後でも説明するし、また、前掲の「Design and Fabrication of Acousto-optic Devices(音響光学装置の設計と製造)」の第190〜192ページ、及び米国特許第4,205,348号において説明されているところである。
レンズ22、24、25はクロス走査方向のための結合型ビーム伸張器バリオ・ビームステアリングシステム(combined beam expander vario and beam steering system)として作用する。レンズ22を光軸に沿って移動させると、変調器でのビームの大きさを変えることができるが、非平行化されてしまう。レンズ24を反対方向に移動させると、ビームは再び平行化される。
レンズ22、24を軸から逸れてクロス走査方向に移動させると、ビームは、変調器での光軸の局部的な配置と角度について操向(steer)される。本発明の好ましい実施の形態では、ビーム角と位置とは後述の光ガイド152を用いて測定している。これらの測定を行う好ましい方法については、後述の「クロス走査エラーの判定」の見出しのもとで詳述する。「p」と「a」とがビームの位置と角度の移動の測定量とすれば、操向情報(steering information)は、レンズ22についてはΔy=c・p+d・a、レンズ24についてはΔy=e・p+f・aとなり、ここでのc、d、eとfは光学設計に応じて変わる定数である。この種の矯正は、変調器が書込みに必要なセグメント数と同一セグメント数を有しているだけなら特に重要である。図6について説明したように余分のチャンネルを有する変調器を用いた場合では、ビームの位置決め上での要件は幾らか正確でなくてもよい。
このようなビーム伸張器バリオ・ビーム操向システムは、日常の利用サイクル中ないしレーザの寿命中での熱変化ないし電気または音響式レーザ共振器の条件の変化によりもたらされる変動を補償するのに必要なものである。このような変動が矯正されなかったとすると、大概のパターンは劣化する。変調器でのビームの大きさと位置決めとが不適切であると、前述した二倍〜二十四倍重なりがためにパワー分布が不均一となり、従って、生成されるパターンのライン幅変動もしくはエッジの粗さが増大する。回転変動が不適切であると、露出系での開口度絞り(Numerical Aperture Stop)でビームがカットされることから、また、生成したパターンのエッジが非対称性を帯びることからパワー損失が惹起される。
前述した好ましい実施の形態では、このような生成パターンの劣化の原因となる全ての現象を阻止するのが好ましい。
変調器-印刷回路板撮像システムは、変調器から印刷回路板への画像の伝送を受け持っている。
本発明の好ましい実施の形態では、PC板上でのレーザビームの焦点は光学的に調節できるようになっている。言うまでもないことではあるが、合焦光学系はよく知られたところである。しかし、本発明における如くの複雑な走査装置では、一般に固定焦点式である。このことは、システム上の要件が多様であること、また、走査方向とクロス走査方向とでは(一般に)異なった合焦系が必要であることを鑑みれば、別に驚くに値しない。また、オブジェクトを合焦させるには、そのオブジェクトを比較的短い距離だけ移動させなければならない。しかし、本願発明者らは、正確度を高めるためには、機構としてはできるだけ簡単で頑丈でなければならないと確信している。
前述したような合焦を達成するためには、レーザパワー伝達効率が全体として大きいこと、解像度も大きいこと、また、パターン生成も高忠実度で行われることなどのシステム要件を考慮に採り入れなければならない。
図8Aと図8Bとは、本発明の好ましい実施の形態の機能説明図である。図7Aと図7Bと同じく、図8Aと図8Bも、それぞれクロス走査方向と走査方向に沿って見た図である。
変調器-回路板撮像システムは、幾つかのモジュール(modular unit)から成り立っている。この撮像システムの出発点は音響光学変調器28で、この変調器28は好ましくは複チャンネル変調器であるのが望ましい。音波の光学軸上での中心位置は、物面(object plane)と見ることができる。クリスタル・テクノロジー社から入手しうるAOMC 117/24-UV型音響変調器は24チャンネル変調器であり、本発明の一部の好ましい実施の形態に適している。
走査方向では(図8A)、第1撮像モジュール(first modular imaging unit)は、球面レンズ32、36からなり、平面39に変調器平面(物面)の第1像を形成する。第2撮像モジュールは平面39における像をPC板78の平面に写すようになっている。この第2モジュールは球面レンズ34と走査レンズ系72の球面部とレンズ76とからなる。従って、ポリゴン46と回路板平面78との間では、光学系は、好ましくはテレセントリック系である疑似f-θレンズとして作用する。レンズ34、36の間には物理的絞り31が設けられている。この絞りは、ポリゴンの回転する反射鏡面により定まるこの方向での走査開口度(scanning numerical aperture)を制限しないほど大きくしている。その主たる機能は、変調器28から直接伝送されるビームが光学系へ入らないようにすることにある。クロス走査方向の物理的絞り31’は、この方向への開口度を定める。
生成されるパターンに急峻な側壁を形成し、かつ、高パワー効率を達成するためには、当業界で知られているスコフォニ効果と反射鏡面トラッキングを利用するのが望ましい。スコフォニ効果に必要なものは、変調器媒体における切換情報の音響速度−変調器と回路板との間の光学系の縮小比により減少されているが、反対方向ではあるが回路板上の書込みスポットの走査速度と等しいのでなければならないことである。このようにすることで、回路板上の所定位置に「定常(standing)」データ情報をもたらすことになる。変調器において光学媒体として使われる水晶材の音響速度は一秒当たり5.7キロメートルであり、走査速度は一秒当たり0.270キロメートル(ポリゴン回転速度は1700rpm。図5を参照のこと)であるから、約21倍の縮小比が必要である。この縮小比が一定とすると、一秒当たり0.270キロメートル(最適走査回数を達成するのに必要)からの走査速度の差はパターンのエッジでボケをもたらすことになる。異なった走査速度でのボケの大きさは、変調器での照射ビームの大きさを減少させることで減らすことができる。しかし、大きさを減らせば、発散作用が増大し、そのために変調器の回折効率が減少する。
ポリゴンでの1/e2までのビームの大きさは反射鏡面の幅よりも小さい。反射鏡面それ自体は、走査歩行の開口度絞りとして作用し、ポリゴンの回転でビームが偏向すると、開口度も移動する。ポリゴンまでのビームの位置が固定されているとすると、ポリゴンの動きで走査にわたるパワーが減少する。これは、変調器における変調信号の搬送周波数を変えて、変調器で光軸を回転させ、それに伴ってポリゴンでのビームが平行シフトするようにすれば補償できる。変調周波数は、反射鏡面の回転と同期して(反射鏡面トラッキング)ビームを掃引するように変えられる。
反射鏡面トラッキングにより、他の方法(ゴウツオリスら、第182頁以後を参照のこと)に比べてサイクルタイム効率を約99%まで上げることができる。当業界でよく知られているように、入射光と音波頭とが特異角度−ブラッグ角―をなせば変調器での最大回折効率(伝送)が達せられる。このブラッグ角はビームの波長と光学媒体における音速と変調信号の搬送周波数に依存しているだけだから、ビームの調節は一つの周波数に対してのみ最適化できるに過ぎない。これが一般に掃引の中心周波数として選ばれている。掃引の外側位置では、回折効率は減少して、これらの位置で回路板に与えられるパワーが減少する。本発明の好ましい実施の形態ではこのような効果を光学的に補償しており、従って、走査に沿ってパワー分布を均等化している。これは、クロス走査方向のビームをポリゴンで合焦させ、また、回路板の上でも合焦させることにより達せられる。従って、振れによりビームの方向にクロス走査が僅かだけ回転しても、回路板上のビーム位置が移動するようなことはない。
図8Bにおいて、クロス走査方向では、球面レンズ32、36とシリンドリカルレンズ34とが、シリンドリカルレンズ38を除外して、実焦点が走査方向のそれに近接している撮像モジュールを構成している。系にレンズ38があると、平面39におけるクロス走査方向の焦点は虚焦点になる。球面複合レンズ48と共に、第2実像がクロス走査方向のみポリゴンの反射鏡面、或いはその近くに形成される。クロス走査方向の画像の大きさは、反射鏡面の高さよりも多数倍小さい。第2像から回路板面に至る第3撮像モジュールは、走査レンズ(72、76)の球面部とシリンドリカルレンズ82とからなる。
この第3モジュールは、第2焦点の近傍にある反射鏡面の回転変化が、局部的な位置変化ではなくて、回転変動としていた平面に伝わることから、ポリゴンの振れを補償する働きをする。しかしながら、光学系が不完全だと、ビームがその走査路に沿って掃引するに伴い、クロス走査方向にビームが系統的にずれてしまう。このようなズレは下記するように補償される。即ち、変調器から回路板までの全てのクロス走査方向の撮像システムの縮小比は、所要データ解像度により予め定まっている。本発明の好ましい実施の形態では、最小アドレス単位としての375ミクロンの一つの変調器チャンネルの幅は、所要アドレス解像度が4000DPI(1インチ当たりのドット数)であれば6.35ミクロンに減少する。その結果、59倍の縮小比がクロス走査方向に選ばれる。
本発明の好ましい実施の形態では、走査方向とクロス走査方向とが、変調器と印刷回路板との間に共通の像面(変調器面の第1像)を共有している。但しこの像面は少量だけ違っていてもよい。好ましくは、両方のビーム方向が一つの素子、即ち、レンズ36により合焦されるようにするのが望ましい。この点から回路板面までの縮小比は両方向において等しい。このように、レンズ36を軸方向に沿って移動させるだけで、走査方向及びクロス走査方向にわたって焦点をほぼ等量だけ変えることができる。回路板における焦点シフトに対する合焦レンズ36間のギア比は、第1焦点39から回路板面78までの縮小比により決まる。
本発明の好ましい実施の形態による典型的なシステムにあっては、下記の縮小比が選ばれている。
走査方向
変調器から第1像まで: 12.35x
第1像から回路板まで: 1.7x
変調器から回路板まで: 21x
クロス走査方向
変調器から第1像まで: 34.7x
第1像から第2像まで: 0.113x
第2像から回路板まで: 15x
第1像から回路板まで: 1.7x
変調器から回路板まで: 59x
前述したように、走査方向でのビームの精度とエッジ解像度とを向上させるためには、変調器28において反射鏡面トラッキングとスコフォニを利用している。しかし、これにより変調器でのビーム偏向角が変わってしまう。その結果、変調器の効率は偏向角に左右されるので、ビームのパワーが変わる。そして、走査に当たりパワーが非均一になってしまう。このような現象を矯正するには、f-θレンズとしては、f(θ)を、パワーが小さい場合、即ち、走査の終端ではビームをスローダウンにする補償関数として、x=f(θ)なる関係を満たすレンズとする。一般に、単純二次関数矯正式、x=f1・θ+f2・θ3が、パワーの非均一性を補償するのに充分である。但し、ここでのf1は、中心焦点距離であり、f2は好ましくは負の数である。
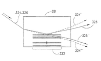
複波長用音響光学変調器
図18Aは、前述したように市販されている変調器の如くの入手可能な変調器28を示している。この変調器320では、トランスジューサ322から音波が発生して、この音波で入力ビーム324、326を回折するのに用いるパターンを形成するようになっている。前述したように、本発明では二本のスペクトル線を利用したレーザを用いている。効率からすれば、二本のスペクトル線は両方とも利用すべきである。しかし、図18Aに示したように、二本のスペクトル線を利用するとビームが変調器に入射して出射するに伴って別々に回折されること、また、ブラッグ角が異なっていることから、回折されるビーム324’、326’は異なった出射角を有する波長で回折されることになる。
図18Bは、2つのスペクトル線が変調器から出射するときにそれらが分割されることに対する本発明での解決策を示している。図18Bに示した変調器28’においては、変調器の入射面と出射面とは平行にはなっていない。むしろ、入射面と出射面とは互いに角度をなしており、その角度は、入射面と出射面とにおける二本のビーム(それぞれ異なった波長)の屈折率の相違が、それらのビームのブラッグ角の相違と正に等しく、反対関係となるように選ばれている。従って、共に入射したこれらの二本のビームは共に出射することになる。
尚、伝送したビーム324"、326"は互いに異なった出射角を有している。しかし、ここでのシステムでは回折した波だけ利用しているから、出射角の違いは問題ない。しかし、回折ビームではなくて、伝送ビームを利用するシステムにあっては、入射面と出射面との間の補角によっては伝送作用に同一角度で出射するビームが得られることになる。言うまでもないことではあるが、この場合では回折ビームのズレが増大する。
走査方向の位置測定
PC板への正確なレーザ直接書込みにおいて最も重要な要因の一つに、PC板におけるビームの位置を知ることが挙げられる。ビームの位置を知ることで、走査ラインにおける正確なデータを伴うビーム(正確には、走査ライン)の変調を適切に行うことができる。PC板はクロス走査方向に移動し、ビームは走査方向に掃引する。従って、PC板78が載置されているテーブル79のクロス走査方向の位置とビームの走査位置とを知っておれば、ビームの位置が分かることになる。
テーブルのクロス走査方向の位置を判断するのは簡単である。当業界でよく知られている公知のエンコーダを用いてもよい。本発明の好ましい実施の形態では、テーブルは二本のX形レール96に沿って移動させられるようになっており、その位置測定に光学エンコーダを利用している。このエンコーダに連繋するスケール98は図1に示されている。本発明の好ましい実施の形態では、ドイツ国イエナ所在のニューメリク・イエナ社のLIE 5型エンコーダシステム(精度2ミクロン、解像度0.2ミクロン)を利用している。好ましくは、クロス走査方向の位置測定は±2ないし3ミクロンの精度で、±0.1ミクロンの解像度にて行えるのが望ましいが、システム要件に応じてその他の精度と解像度であってもよい。
尚、印刷回路板上の各形象は、ビーム16の幾つかのセグメントで書き込まれるようになっている。従って、クロス走査方向の位置についての知識が、形象の所要最小寸法よりも大きい位置精度でビームの変調を判断するのに利用できる。データの位置は、所要精度よりも一般に非常に小さい走査ライン間隔と等しい位置精度に調節しうる。
走査方向におけるビームの位置をより精度よく判断することは非常に困難である。この点については、データ源からのデータストリームに対してより正確の制御を行う必要があることから、位置に伴って変わる走査速度を利用すればもっと困難になってしまう。
図9は、本発明の好ましい実施の形態による走査装置のためのデータ制御システム100の簡略ブロック図である。
この制御システム100には検出回路84から信号が入力される。これらの信号は、スケール80上のマークにより変調されたビーム18’のパワー変化を表す信号である。一般に、これらのマークは、比較的小さい、システムのデータクロックレートよりも非常に小さいパルスレートを有するアナログ信号(「光学クロック」)を生ずることになる。そこで、クロック発生器102がXクロック(データクロック)と、走査位置検出信号から走査開始信号を発生する。走査信号からXクロックを発生する好ましい方法について以下に説明する。その際、クロックの特性に注意すべきである。
1) 平均Xクロックレートは走査長にわたり一定でないのが望ましい。
2) 瞬間Xクロック計数値と走査開始信号に基づいてデータが変調器28に送られる。尚、Xクロックに応答してデータが変調器に送られるのではあるが、ビームがPC板に書込みを行うに適した位置にあるとき以外にデータが送られることはない。従って、ビームが反射鏡面を変える期間中、または、走査の開始または終了時に、ビームが書込み位置にない場合、変調器にデータが送られることはなく、その時の変調器はオフになっている。
クロック発生器102から、走査すべきPC板の二値化マップを含むデータベース104にXクロック信号と走査開始信号とが送られる。別の方法としては、データをベクトル形として、オンラインでラスター形に変換してもよい。このデータは圧縮されているのが望ましい。走査開始信号は、走査開始信号(図示せず)をクロック発生器へ供給する別の検出器に基づいて発生されるようにしてもよい。好ましくは、この走査開始信号は、走査信号それ自体に基づいているのが望ましく、例えば、走査開始時と走査終了時の何れか、または両方において発生する長い信号により発生するのが望ましい。
クロック発生器102は、制御器(図示せず)に対してy-同期信号を供給するようにもなっている。この制御器は、y-走査信号と同期してテーブルの移動を制御する。走査開始と同期されているこの信号は、テーブルの位置をデータストリームと同期させる手段をなしている。
データベース104から複ラインデータバッファ・走査ライン発生器106に複数のデータの走査ラインが供給される。好ましくは、この複ラインデータバッファ106には、その時の走査とその次の走査に必要なデータの走査ラインが全て蓄えられているのが望ましい。
クロス走査方向位置信号とPC板位置情報とに基づいて、複ラインデータバッファ・走査ライン発生器106が走査ラインデータを生成して、それを走査ラインバッファ・制御器108に転送する。このデータは、走査開始信号により定まる時点から始まってクロックに応答して1ビットずつ種々の変調器に供給される。
尚、図9は機能ブロック図に過ぎず、当業者には図9に示した機能を行うのであれば種々の装置と方法とが利用できることは容易に想到できるところである。また、各ブロックに対応する機能の一部は、他のブロックに受け持たせることも可能である。更に、一部または全ての機能はハードウェア、ソフトウェア、もしくはファームウェア、或いはその組合せと、汎用ないし特殊コンピュータとの何れか、または、両方で行うようにすることも可能である。しかし、一般に高速システムにあっては、専用ハードウェアシステムが望ましい。斯かるシステムではハードウェアによるデータ圧縮、データ保持にFIFO、FIFOからのデータをビームに切り換えるスイッチ、印刷回路板の位置に基づいてデータを遅延させるプログラマブル遅延回路などを利用しているのが通常である。このようなシステム(36本の走査ラインを発生するもので、この内の24本が音響光学変調器(AOM)に書き込まれ、12本が後述のようにクロス走査方向矯正に使われるシステム)の概略構成図を図10Aは、本発明の好ましい実施の形態によるバッファ/発生器106と走査ラインバッファ・制御器108のブロック図を示す。図10Bは、図10Aのハードウェアロジックを実現する方法を示している。図11は、図10Bに示した高速切換器が、前述した走査制御信号に基づいてどのデータラインをAOMに送るべきかを制御する態様を示している。このシステムは各方向の変調器信号に対して6本の走査ラインまで対応している。
尚、図11に示した高速切換器は、走査位置に関係するクロス走査エラーの矯正に対応している。このようなエラーは、例えば走査光学系における残留収差によりもたらされる。このエラーは時間に伴って変わるようなことはないから、走査装置の寿命中に一回処置しておいてもよい。これらのエラーはメモリに記憶して高速切換器への信号の基にする。
特に、図11は、図11に示した切換システムに入力するビームとして36データ入力ストリームと、それから出てくるものとして、それぞれが変調器28におけるビーム変調チャンネルに対応する24出力データストリームを示している。(図6のシステムの場合では、30ビームがシステムから出てくる。)入力データストリームは所定走査ラインの公称位置に応じて回路板上のそれに対応する。図11には、切換器の典型的な三つの「位置」を表す三つのボックス310〜312も示されている。各ボックス310〜312は、走査光学系が不完全であることから惹起される如くの所定の走査位置における回路板上のビームの、クロス走査方向への典型的なオフセット位置に対応している。位置310においては、クロス走査方向のオフセットはゼロであり、この場合、入力ラインN=0〜N=23が変調器に送られる。符号311は、ビームがクロス走査方向に走査ライン二本分オフセットした状況を示している。これを補償するために、入力ラインN=2〜N=21を変調器へ送って、これらの入力ラインからのデータでサブビームが変調されるようにしている。これにより、走査時にビームがクロス走査方向に移動しても、回路板上の適切な位置に情報が書き込まれるのである。同様に、符号312は走査線一本分反対方向にオフセットが発生した状況を示しており、その場合、入力ラインN=1〜N=24が変調器に送られる。
図12は、本発明の好ましい実施の形態によるXクロック発せ異様クロック発生器102の回路概略図である。この回路とこの回路が実施する方法とが望ましいものの、低レート信号から高レートクロックを生成するその他の従来公知の方法を本発明の他の実施の形態で利用することも出きる。図13は、クロック発生器102の動作を理解する上で有用なクロック信号を示している。
検出回路84からの光学クロック信号は、PLL・VCO140のためのロック用信号を出すのに利用される。PLL・VCO140は、16分割回路(a division by 16 circuit)142と共にループ回路を形成して、光学クロックと類似にPLL信号に基づいてVCO信号を生成する。PLLクロックは、下記の点で光学クロックとは異なっている。
1) PLLクロックは光学クロックよりも安定(非常に短い期間)している。
2) PLLクロックは、光学クロックよりも鋭く、より安定したトランジッションを有している。
3) PLLクロックは連続している。光学クロックは反射鏡面切換の際の消失する。光学クロックが消失すると、PLLがPLLクロックを光学クロックにロックする。数サイクル間、位相差が出る。しかし、この期間中には、データがまだ書き込まれていないときではビームは走査を始めたばかりであるから、データがトリガーされることはない。
PLL・VCO140は、2つのクロック(VCOと逆VCO)を生成するが、両方ともPLLクロックと光学クロックよりも16倍ほど高速である。この分割には標準的な回路が利用できる。この分割を行うのにAD9850BRS(米国のアナログ・デバイス社から入手可能)を利用すれば、40ビットの精度で他の分割(例えば15,999や16.001)も行える。それにより所要の直線スケーリングが生成できる。
論理回路144がこのVCOクロックを利用して走査開始信号とY位相信号とを生成する。この論理回路144にはスケール倍率と走査矯正値とが走査矯正メモリ146から入力されるようになっている。
本発明の好ましい実施の形態においては、スケールにより生成されたVCOクロックは、変調器に実際に要するデータストリーム周波数よりも僅かだけ高い周波数を有している。システムのこの内蔵エラーとその他のエラーとは図13のクロックチャートに示したクロック生成スキームで矯正される。このラインに示した信号ではXクロック(データクロック)を生成するのにVCOクロックと逆VCOクロックとが利用されている。クロック間における各対のスイッチで一つの計数値の損失が惹起される。従って、VCOクロックの計数周波数を意図的に大きくすると、所要周波数まで必要なだけ周波数を減らすことができる。論理回路144は下記のために矯正するのに充分なスイッチの周波数を生成する。
1) スケールの予歪による意図的に大きいVCO周波数。この周波数は約0.75%高いことがある。
2) 後述の回路板のスケール倍率。
3) スケール測定と書込みビームの位置との間の位置エラー。これらのエラーは、主として2つのビームが同一光路を辿らないこと、それに、テレセントリックレンズである走査レンズが幾らか非テレセントリック誤差を有していることから発生する。従って、ビームとビームの異なった波長との間のオフセットで幾らか繰り返し得るエラーが発生する。これらのエラー値は矯正メモリ146に記憶される。
論理回路は、前述したように好ましくは光学クロックそれ自体から走査開始信号を発生する。この信号は、ポリゴンとテーブルのy方向移動との実際の同期を決めるy位相信号により補われる。
説明を簡単にするためにその他のデータ矯正については説明しなかった。しかし、走査読取りでの既知のエラーも、変調器へ送るべきデータを決めるに当たり考慮に入れている。電気クロックに基づくデータ切換と回路板への光学ビームの入射との間の時間遅延についても矯正が行われている。この時間遅延のために、例えば現在のポリゴンの速度によっては走査方向に位置決めの遅れが別に生ずる。本発明の好ましい実施の形態では、後述(図14)するように位置測定システムに基づく自動調整機構が用いられている。
好ましくは回路板がビームの直下に臨まない光ガイド152(図14)の部分の外側におけるテーブル位置にあっては、データ信号は公知のXクロック位置で送られる。しかし、電子システム、特に変調器28の切換時間に遅延が起こると、デーが送られたときからオフセットした時刻に回路板で変調が生じる。その場合、回路板で位置決めオフセットエラーが発生する。この位置決めエラーは、主としてポリゴンの速度の要因である。ポリゴン速度を変えた後でこの位置のオフセットを測定するために、第1X位置において変調器にデータ信号を送り、光パイプからの光信号を第2X位置で受光するようにしている。
第1及び第2位置の間でのXクロックパルスの数が時間遅延量を表すことになり、Xクロック発生器に対する別の遅延として使われる。
尚、幾つかのXクロック位置における幾つかの時間遅延を良好な精度を得るために利用してもよい。
好ましくは、システムでは、レーザを励起させることなく回路の試験に利用する試験クロックが発生されるようにしてもよい。
PC回路板の調整
本発明の好ましい実施の形態では、回路板に対するデータの調整(alignment)は、従来技術と同様に貫通穴を参照して行っている。絶対位置における回路板への書込みは、既に書込みが行われている回路板、例えば多層回路板において利用する層の裏側や多層回路板の外側に書込みを行う場合には特に重要なことである。しかし、回路板における穴が走査装置と機械的に調節されるようになっている従来のシステムとは異なって、本発明の好ましい実施の形態では、回路板における穴を走査データと光学的に調整している。好ましくは、印刷回路板に書込みを行うのに利用する、走査方向位置決め機構とクロス走査方向位置決め機構とを含むシステムを利用して、穴の正確な位置、ひいては走査装置上での回路板の正確な位置を決めている。本発明の好ましい実施の形態においては、データに対する回路板の回転方向のミスアラインメントを補償すべくその回路板を回転させるか、残留走査位置ミスアラインメントを補償すべく走査方向とクロス走査方向において走査ラインを選択的に遅延させるかの何れか、または、両方で回路板の位置にデータを一致させている。好ましくは、クロス走査方向のミスアラインメントはクロス走査方向にデータを遅らせるか、または進めることで矯正するのが望ましい。一般にこれら全ての矯正が行われている。
本発明の別の実施の形態では、測定位置と一致するようのデータを回転して変換することにより、データそれ自体を測定した座標系に変換している。しかし、オンラインでかかる変換を行うのは難しいので、前述した位置に対するデータのハイブリッドアラインメントが、データベースからのオンライン変換が望まれている高スループット型走査装置には好ましい。
図14は、本発明の好ましい実施の形態による位置測定システムの概略図である。PC板78には複数、好ましくは図示のように三個の穴150が形成されている。図14にはテーブル79が図示されていないが、このテーブルにも穴150よりも幾らか大きい穴がその穴の下方に形成されている。テーブルの直下において、蛍光材が頂部に塗布されている光ガイド152が穴を透過した光を受光して検出器153を照射するようになっている。ビームが穴を透過すると、検出器153から信号が発生する。しかし、PC板によりビームが遮断されると、検出器153からは信号は生じない。検出器153からの出力信号はビームX位置とビームY位置と共に位置演算器・メモリ155に供給される。位置演算器・メモリは、信号がオフからオンへ、オンからオフへと変わったときにビーム(走査方向とクロス走査方向の両方)の位置から穴のエッジを判定する。このエッジから、穴の中心の実際の位置が分かるのである。
全ての穴150の中心位置は位置エラー演算器156に送られる。この演算器156は穴の公称位置が入力されるようになっている(或いは、その記憶装置に記憶されている)。穴の実際の位置と公称位置との相違に基づき、回転矯正装置157がテーブルの所要回転を判断する。回転機構158が、回路板78のX-Y軸を走査システムの対応する軸に合わせるべく、走査に先立って所望量だけテーブルを正確に回転させる。また、テーブルの異cyひと書込みエリアの位置との関係は位置矯正モジュール160により判定される。この関係は、データ制御器100により変調器28に送られたデータの位置を矯正するのに利用される。
また、穴間の距離の公称値からの誤差に基づいて走査操向スケール倍数(図12に示す)が演算されるようにしてもよい。本発明の好ましい実施の形態では、もう一つの穴150’を設けて、穴150と穴150’との間のクロス走査方向距離が判定できるようにしている。この距離(公称距離に比して)は、クロス走査方向の入力データをスケールするのに利用できる。別の方法としては、両方向に同一スケール倍率を利用してもよい。このスケール矯正は、前述したようにデータをスケールするためにPC板に実際に書込みを行う際に利用する。
穴の位置を判定しているときに回路板78上の光レジストに露光を行うのは望ましくない。そのため、ビーム16が光レジストを焼き付けるほど強力にはならないようにパワーを落とすか、または、書き込むべきパターンの一部でもない穴の部分を照射するようにすればよい。
尚、図14はごく概略的なものであり、機能の説明に利用しているに過ぎない。位置判定にはその他の電子回路構成を採ることもできるし、また、ソフトウェアないしファームウェアで実現することもできる。
実地では回路板の一方面に書込みを行った後、その回路板を反転する。図14における最左側の穴はテーブルの右縁側近傍に臨むことになるが、そうするとテーブルにおける別の穴を新たな位置として載置されることになる。好ましくは対称配置を取る中間の穴は、位置が切り替わるのみである。穴の位置を再び演算して、回路板の他面に書込みを行うが、その際、回路板の他面へのパターンの書込みに当たって一方面に既に書き込まれているパターンに対応する位置の判定の基準として、それぞれの穴の位置を利用する。尚、穴を非対称配置にすると、回路板の表面を自動検出できるようになる。
一般に、このようにして幾つかの層に露光を行い、その後エッチングにかける。バッチで層(異なった層であっても)ができると、層の寸法変化量は全てにわたり同一である。そして、好ましくは穴を手掛かりとして、或いは、従来公知のX線撮像の如きのその他の手段を用いて、その穴が整合した状態で層を積み重ねて積層化する。外側の層(この時、それぞれの外表面には銅が被着されている)も積層体の一部である。従来技術におけるのと同様に、例えばX線撮像に基づいてバイアホールや、装着穴を穿孔する。好ましくは、積層体を外層への書込みのために整合するに適した穴も穿孔する。これらの穴は、内層に書き込まれたパターンを回路板外のデータと整合させるのに利用することもできる。尚、積層化・取付プロセス中に歪による圧力の影響があるので、積層体のスケール倍率は一般に層のそれとは異なっているのが通常である。
このような位置決め法が望ましいのではあるが、本発明の他の実施の形態では、例えば整合用穴(回路板側)と対応するピン(テーブル側)とを用いるとか、その他の整合法を利用することもできる。
所望によっては、テーブルに位置決めピンを設け、回路板には穴を形成しておいて、前述した位置判定矯正法を行うに先立ってテーブルと回路板とを大ざっぱに整合させるようにしてもよい。このようにすれば、所要回転矯正とデータ位置矯正とを最小限にすることができる。
本発明の好ましい実施の形態では、光ガイド152は、10ミリ高さ、10ミリ幅である。好ましくは、一つだけのビームセグメントが照射されるのが望ましい。このビームはPC板上に合焦されるか、別の方法としては意図的の非合焦として「光学エッジ」が鮮明にならないようにしてもよい。このようにすれば、位置の関数として光に勾配を持たせることができる。このような勾配を利用して、位置の関数としての輝度点から準画素サイズ(sub-pixel dimension)の位置を判定することができる。本発明の別の実施の形態では、図示はしていないが、光ガイド152と検出器153との組合せを利用する代わりに、各穴の直下に検出器を一つずつ設けてもよい。
クロス走査方向エラーの判定
前述したように、二種のクロス走査方向エラーを判定して矯正しなければならない。この内の一つはポリゴンの回転角度の関数として変動するクロス走査方向位置エラーであり、これは図11を参照しながら説明した方法を利用することで矯正できる。残りのエラーはクロス走査方向の、緩やかに変動する回転オフセットであり、これは図7Bを参照しながら説明したように矯正される。
音響変調器28においてクロス走査方向のビームの不正確な配置は、比較的容易に判定できる。この判定を行うには、ビームを光ガイド152(テーブルのないとき)に掃引して、検出器153からの信号を測定する。この走査を複数回繰り返すのではあるが、その際連続操作ラインまたは数本の走査ラインをアクティブにする。ビームが変調器に正確に達したら、変調器セグメント数を関数とするビームパワーのプロットが、中間の2つのセグメントに間を中心とするガウス形状を呈するようになる。それが変調器(図6に示した如くの余分のチャンネルが備わっているかどうかに関わらず)の中心からのオフセットであれば、ガウス形状の中心がオフセットしていることになる。このオフセットは、変調器セグメントを関数とするビームパワーのプロットに対して当てはめたガウス形の中心を判定することにより判定することができる。
図17Aと図17Bとは、クロス走査方向への回転オフセットを判定する好ましい方法において用いられる走査装置の一部の側面図と上面図とをそれぞれ示している。この図17において、同一構成部品には、参照した添付図面で用いた符号を付してあるが、新たに追加した符号300は焦点面を、302は回転シフトの基準部(fiducial)を示している。
図17Aから分かるように、回転エラーはクロス走査方向にオフセットを著しく伴うようになり、その位置ではビームは光ガイド152に接触する。基準部302は好ましくは、スリット304が形成されている不透明材で構成するのが望ましい。スリット304は走査方向及びクロス走査方向に対して傾斜して配置されている。図17Bを見るに、クロス走査方向のビームの位置は焦点面と光ガイドにあっては異なっている。このクロス走査方向での位置の違いは、スリット304により時間のズレ(従って、走査方向の位置)に変換される。前述したように、ビームが基準部を通るときに限ってこの基準部からパルスが検出器153により集められる。この走査位置は、焦点面での位置を測定するスケール80を含むX位置測定システムを用いることで測定できる。回転オフセットは受信したパルスの位置(時間)誤差からもたらされる。
尚、ポリゴンのぶれは、光学システムの設計次第でクロス走査方向のビームの著しい振れをもたらすようなことはない。
スケール
スケール80は、位置測定の精度と信頼性を向上するために幾つかの特徴を有している。前述したように、反射鏡面は拡張ガウス分布の試験ビーム18から光の一部をカットする。その結果、順光ビームの全パワーは、走査の中心よりもその外側で小さくなっている。また、走査レンズが完全にテレセントリックではないから、入射ビームから異なった方向、走査方向にビームが反射される。その結果、反射したビームは、入射ビームと同一位置に置いて反射鏡面に入射するようなことはない。その後、この反射ビームはテレセントリック誤差に応じて反射鏡面により再びカットされる。
テレセントリック誤差の特性は通常、式Θ=a・X+b・X3(但し、Θはテレセントリック誤差、Xは走査の中心から対称的に測定した走査位置、aとbは定数)で表される。
この問題を解消するには、本発明の好ましい実施の形態では、走査方向におけるスケールの表面の輪郭を、入射ビームと同一方向(即ち、スケールと直交する方向)にビームが反射されるように構築している。このことは、スケールの平坦性からのズレをZとする式Z=c・X2+d・X4で表される輪郭を有する表面をスケールが有している場合に達成しうる。しかし、焦点深度もあることだから、オフセットは約0.5ミリに限られる。
しかし、これでも矯正は完全でない。そのため、ある走査位置に置いて、特に、走査の中間にあっては、反射ビームによる信号の振幅は飽和状態にあり、オン期間がオフ期間よりもほぼ長くなっている。他の位置にあっては、特にスケールの端部にあっては、オフ期間がオン期間よりも長くなっている。データクロックは信号を終わらせる(thresholding)ことにより発生されるようにするのが望ましいことから、特にオフ期間の長さ(amplitude)が閾値以下にならない、或いは、オン期間の長さが閾値以上にならない場合、タイミングエラーが惹起されることになる。本発明の好ましい実施の形態では、スケールの反射部と非反射部の大きさが位置と共に変わるようになっているので、信号のオン期間とオフ期間とは同一である。
回路板用真空吸引チャック
位置決めと走査のサイクル中にあっては、印刷回路板が定置されているのが重要である。ところが、位置決めピンを用いている場合でさえ、正確な位置決めにはそれでもまだ不十分であることから、印刷回路板の定置は容易ではない。従って、テーブル79上のPC回路板78を保持するのに真空吸引チャックを利用するのが望ましいのである。
図15に、テーブル79が引き出され、PC回路板78がテーブルから取り外された状態での図1の走査装置の斜視図を示す。テーブル79には、図16に明確に示すように碁盤目状凹凸面200が形成されている。この碁盤目状凹凸面200には無数の截頭角錐があって、これらの角錐の平坦頂部が全体として平坦表面を画成している。この凹凸面200には、空気を給排する一つかそれ以上の吸引穴202が形成されている。この表面全体が覆われ、吸引穴202を介して空気を吸引すると、真空が醸し出され、それが角錐の形成する溝にわたって作用し、かくて被覆体が真空作用によりテーブル上に保持されるようになる。
実地では、大抵のPC回路板は全表面よりも小さいから、その回路板を截頭角錐上に直接載置することはできない。従って、回路板の縁部から真空漏れが発生する。また、大部分のPC回路板には露光に先立って穴が穿孔されているから、この穴を介しても真空漏れが起こる。
本発明の好ましい実施の形態では、凹凸面200とPC回路板78との間に中間板204を介装している。中間板204は、特定の構成のPC回路板のための真空分配器として作用するようになっている。この中間板204には多数の穴205が形成されているが、これらの穴205はPC回路板により覆われる部分のみに形成されている。
図15と図16を参照するに、テーブル200の端部の構造は凹凸面200のそれとは異なっていることが示されている。好ましくは、前述した位置測定システムを使用する場合、テーブルには、印刷回路板における穴150と中間板204に形成されている穴207とに合わせて穴206が形成されている。尚、穴206、207は穴150よりもほぼ大きくしてあるので、前述した回路板78の位置調整の邪魔になるようなことはない。また、PC回路板を大ざっぱに位置決めするためにテーブル79の上部に所望に応じてピン208が設けられている。これらのピンはPC回路板78における穴210と中間板204における穴212とに係入するようになっている。
テーブルに穴があることから、截頭角錐はテーブルの端部には設けられていない。むしろ、複数のチャンネルが截頭角錐の形成する溝と連通して、テーブルの端部での真空吸引による保持作用をなすようにしている。
本発明の好ましい実施の形態では、書込みが終わった後でのPC回路板の取外しは、穴202と截頭角錐の形成する溝を介して回路板の底部に圧縮空気を送り込むことにより容易になされる。この圧縮空気が僅かに回路板を持ち上げるので、取り出しが容易になるのである。
前述の真空吸引チャックには、回路板が全面的に平坦面(截頭角錐の平坦頂部)へと押勢され、定置されると言ったもう一つの利点がある。従って、回路板全体が同一焦点面に臨むことになる。
ここまで説明した本発明の種々の実施の形態は、本の一例に過ぎず、本発明を限定するものではない。特に、説明した好ましい実施の形態には、システムの最適動作のために利用しているものと説明したが、本発明に絶対に必要でもない特徴や詳細構成が含まれている。また、説明した構成の代わりに、他の構成が採れることも当業者には容易に分かることである。更に、ここまで使ってきた印刷回路板なる用語は、類似ではあるが、大きいその他の構造体、同じような技法で書込みが行われる例えばフラットパネル表示板をも含むものとすべきである。最後に、説明した装置や方法には、密接な関係があれば、実用的な走査システムにも別途適用できるようなアイデアが含まれている。従って、この詳細な説明に基づいて、斯かるアイデアが全て一緒に使われていなければならないとか、見出しは見出しごとに発明を限定しているものと解釈すべきではない。
本明細書と請求の範囲において用いた「構成されている」や「含まれる」なる用語は、「含むが、それに限られない」と解すべきである。
10 走査装置
12 レーザ源
16 主ビーム
18 試験ビーム
28 変調器
72 走査光学系
78 印刷回路板
80 スケール
84 検出器
88 第1四象限検出器
90 第2四象限検出器
96 レール
98 スケール
150 穴
152 光ガイド

Claims (27)

  1. 走査器における走査ビームに対する表面の位置を判定する方法にして、
    少なくとも2個の穴を有する表面を供給するステップと、
    少なくとも前記穴の近傍においてビームで前記表面を走査するステップと、
    前記ビームが前記穴を通る位置にあればそのビームを検出するステップと、
    少なくともビームが穴の縁部に臨む位置において、走査器基準フレームにおけるビームの位置を判定するステップと、
    穴の縁部の位置の判定結果に基づいて走査器基準フレームにおける穴の位置を判定するステップとからなる位置判定方法。
  2. 請求項1に記載の方法であって、穴の縁部の位置が、当該穴の全周にわたって判定される位置判定方法。
  3. 請求項1又は2に記載の方法であって、
    2個の穴の間の距離を判定するステップと、
    判定した距離を設計距離と比較するステップと、
    前記比較の結果から走査器で表面に書き込むべきデータの尺度を判定するステップとを含む位置判定方法。
  4. 請求項3に記載の方法であって、
    少なくとも2個の前記穴とは同一線上にはない少なくとも1個の追加穴を表面に設けるステップと、
    前記少なくとも1個の追加穴の位置を判定するステップと、
    前記少なくとも1個の追加穴と前記少なくとも2個の穴の内の一方の穴との間の別の距離を判定するステップと、
    前記別の距離を別の設計距離と比較するステップと、
    前記別の距離と前記別の設計距離との比較の結果から、走査器で表面に書き込むべきデータの少なくとも1個の尺度を判定するステップとを更に含む位置判定方法。
  5. 請求項4に記載の方法であって、穴の位置を判定するステップが、穴の縁部の点の位置を判定し、縁部の位置について判定した位置に基づいて穴の中心の位置を算出することよりなる位置判定方法。
  6. 請求項1乃至5のいずれかに記載の方法であって、穴の位置を設計位置と比較するステップを含む位置判定方法。
  7. 請求項6に記載の方法であって、表面の位置と、前記比較に基づいて表面に書き込むべきデータの位置決めとの一方又は両方を矯正するステップを含む位置判定方法。
  8. 請求項7に記載の方法であって、前記矯正が表面を回転することよりなる位置判定方法。
  9. 請求項7に記載の方法であって、前記矯正がデータを回転することよりなる位置判定方法。
  10. 請求項7乃至9のいずれかに記載の方法であって、前記矯正が表面又はデータの相対位置を変換することよりなる位置判定方法。
  11. 請求項7乃至10のいずれかに記載の方法であって、前記比較に基づいて表面に書き込むべきデータの大きさを矯正するステップを含む位置判定方法。
  12. 請求項1乃至11のいずれかに記載の方法であって、前記検出が、複数の穴に対して同一の検出器を利用して行う検出からなり、前記検出器は、光ガイドを介して前記穴を透過するエネルギー受取る位置判定方法。
  13. 請求項12に記載の方法であって、光が、複数の穴から同一の光ガイドを介して検出器に伝送される位置判定方法。
  14. 請求項1乃至10のいずれかに記載の方法であって、前記検出が、異なった穴ごとに異なった検出器を利用して行うことよりなる位置判定方法。
  15. 請求項1乃至13のいずれかに記載の方法であって、前記表面が、少なくとも1個の穴の位置から判定される位置判定方法。
  16. 請求項15に記載の方法であって、前記少なくとも2個の穴が、少なくとも3個の非対称に配置された穴からなり、前記表面の側部がこれらの穴の相対位置から判定される位置判定方法。
  17. 走査式書込みシステムにおいてデータを書き込む方法にして、
    表面に書き込むべきデータを供給するステップと、
    表面上の少なくとも2個の形象の位置を測定するステップと、
    2個の形象の間の距離を設計距離と比較するステップと、
    比較に基づいてデータをスケーリングするステップと、
    スケーリングしたデータを表面に書き込むステップとからなるデータ書込み方法。
  18. 請求項17に記載の方法であって、前記測定ステップが、同一直線上にない少なくとも3個の形象の位置を測定することからなり、前記スケーリングステップが、異なる尺度で2方向にスケーリングすることよりなるデータ書込み方法。
  19. 請求項17又は18に記載の方法であって、前記形象が貫通穴であるデータ書込み方法。
  20. 請求項17乃至19のいずれかに記載の方法であって、前記表面が、光レジスト材料で被覆されている金属化印刷回路板基板の表面であるデータ書込み方法。
  21. 印刷回路板のための走査式直接書込み露光システムに厚みの異なった印刷回路板が利用できるようにする方法にして、
    所定厚みの光レジスト材料が被覆されている金属化印刷回路板基板を供給するステップと、
    走査ビームの焦点面を変えることにより、光レジスト材料に走査ビームを合焦させるステップとからなる方法。
  22. 請求項21に記載の方法であって、ビームは、走査方向に走査すると共に、この走査方向に第1広がりを、又、クロス走査方向に異なった第2広がりを有しており、走査ビームを前記表面にて両方向に合焦させるステップを含む方法。
  23. 請求項22に記載の方法であって、
    前記走査が、予備走査ビームを走査素子に供給することよりなり、
    前記合焦が、前記予備走査ビームの走査方向とクロス走査方向とに共通の焦点を判断することと、この共通焦点を変えて被覆層上で走査ビームを合焦させることとよりなる方法。
  24. 請求項23に記載の方法であって、前記共通焦点を変えることが、レンズの位置を変えることよりなる方法。
  25. 請求項24に記載の方法であって、前記位置を変えることが、単一のレンズの位置を変えることよりなる方法。
  26. 請求項23乃至25のいずれかに記載の方法であって、前記予備走査ビームを供給することが、クロス走査方向に向けた複数のビームセグメントを別々に変調させることよりなり、変調された予備走査ビームは、その経路の一部分においてのみ、走査方向とクロス走査方向の両方においてほぼ合焦している方法。
  27. 請求項26に記載の方法であって、前記一部分がほぼ点からなる方法。
JP2009215853A 1998-07-04 2009-09-17 走査器システム Expired - Fee Related JP4801762B2 (ja)

Applications Claiming Priority (2)

Application Number Priority Date Filing Date Title
DE19829986A DE19829986C1 (de) 1998-07-04 1998-07-04 Verfahren zur Direktbelichtung von Leiterplattensubstraten
DE19829986.9 1998-07-04

Related Parent Applications (1)

Application Number Title Priority Date Filing Date
JP2000558699A Division JP4512270B2 (ja) 1998-07-04 1999-03-15 走査器システム

Related Child Applications (1)

Application Number Title Priority Date Filing Date
JP2011150699A Division JP5631272B2 (ja) 1998-07-04 2011-07-07 走査方法

Publications (2)

Publication Number Publication Date
JP2010044400A true JP2010044400A (ja) 2010-02-25
JP4801762B2 JP4801762B2 (ja) 2011-10-26

Family

ID=7873021

Family Applications (5)

Application Number Title Priority Date Filing Date
JP2000558699A Expired - Lifetime JP4512270B2 (ja) 1998-07-04 1999-03-15 走査器システム
JP2009215856A Expired - Fee Related JP4865843B2 (ja) 1998-07-04 2009-09-17 走査器システム
JP2009215853A Expired - Fee Related JP4801762B2 (ja) 1998-07-04 2009-09-17 走査器システム
JP2009215858A Expired - Lifetime JP4801763B2 (ja) 1998-07-04 2009-09-17 走査器システム
JP2011150699A Expired - Fee Related JP5631272B2 (ja) 1998-07-04 2011-07-07 走査方法

Family Applications Before (2)

Application Number Title Priority Date Filing Date
JP2000558699A Expired - Lifetime JP4512270B2 (ja) 1998-07-04 1999-03-15 走査器システム
JP2009215856A Expired - Fee Related JP4865843B2 (ja) 1998-07-04 2009-09-17 走査器システム

Family Applications After (2)

Application Number Title Priority Date Filing Date
JP2009215858A Expired - Lifetime JP4801763B2 (ja) 1998-07-04 2009-09-17 走査器システム
JP2011150699A Expired - Fee Related JP5631272B2 (ja) 1998-07-04 2011-07-07 走査方法

Country Status (9)

Country Link
US (2) US7046266B1 (ja)
EP (2) EP1110437B1 (ja)
JP (5) JP4512270B2 (ja)
CN (3) CN1881088A (ja)
AU (1) AU3414199A (ja)
DE (3) DE19829986C1 (ja)
IL (2) IL140699A0 (ja)
TW (1) TW479444B (ja)
WO (1) WO2000002424A1 (ja)

Cited By (1)

* Cited by examiner, † Cited by third party
Publication number Priority date Publication date Assignee Title
KR20140043476A (ko) 2011-11-22 2014-04-09 아사히 가세이 이-매터리얼즈 가부시키가이샤 열반응형 레지스트 재료, 몰드의 제조 방법, 몰드, 현상 방법 및 패턴 형성 재료

Families Citing this family (47)

* Cited by examiner, † Cited by third party
Publication number Priority date Publication date Assignee Title
IL133889A (en) 2000-01-05 2007-03-08 Orbotech Ltd Pulse light pattern writer
US6701197B2 (en) * 2000-11-08 2004-03-02 Orbotech Ltd. System and method for side to side registration in a printed circuit imager
US7058474B2 (en) 2000-11-08 2006-06-06 Orbotech Ltd. Multi-layer printed circuit board fabrication system and method
US7062354B2 (en) 2000-11-08 2006-06-13 Orbotech Ltd. Multi-layer printed circuit board fabrication system and method
US6819789B1 (en) 2000-11-08 2004-11-16 Orbotech Ltd. Scaling and registration calibration especially in printed circuit board fabrication
US7453486B2 (en) 2000-12-13 2008-11-18 Orbotech Ltd Pulse light pattern writer
JP4694768B2 (ja) * 2001-01-04 2011-06-08 レーザー・イメージング・システムズ・ゲーエムベーハー・ウント・カンパニー・カーゲー 直接パターンライター
US6419148B1 (en) 2001-01-23 2002-07-16 Orbotech Ltd. System for forming bumps on wafers
US7061450B2 (en) * 2001-04-09 2006-06-13 Microvision, Inc. Electronically scanned beam display
WO2003094582A2 (en) 2002-05-02 2003-11-13 Orbotech Ltd. A system and method for manufacturing printed circuit boards employing non-uniformly modified images
US7483196B2 (en) 2003-09-23 2009-01-27 Applied Materials, Inc. Apparatus for multiple beam deflection and intensity stabilization
US8441694B2 (en) * 2003-09-30 2013-05-14 Hewlett-Packard Development Company, L.P. Method and an apparatus for adjusting a scanning target area of an image reproduction device
JP2006337551A (ja) * 2005-05-31 2006-12-14 Hitachi Via Mechanics Ltd レーザ直描装置およびその描画方法
US20100141732A1 (en) * 2005-07-25 2010-06-10 Fujifilm Corporation Image recording device and method
ITPD20070201A1 (it) * 2007-06-08 2008-12-09 Helios Technology Societa A Re Macchina per la rimozione di superfici di semiconduttori, ed in particolare di superfici con circuiti integrati
JP5489050B2 (ja) * 2008-02-04 2014-05-14 日本精工株式会社 露光装置
GB2457720A (en) * 2008-02-23 2009-08-26 Philip Thomas Rumsby Method for laser processing on the opposite sides of thin transparent substrates
WO2009153792A2 (en) * 2008-06-19 2009-12-23 Utilight Ltd. Light induced patterning
WO2010041262A2 (en) * 2008-10-12 2010-04-15 Utilight Ltd. Solar cells and method of manufacturing thereof
IL194967A0 (en) * 2008-10-28 2009-08-03 Orbotech Ltd Producing electrical circuit patterns using multi-population transformation
KR101605832B1 (ko) * 2009-05-20 2016-03-23 마퍼 리쏘그라피 아이피 비.브이. 리소그래픽 처리를 위한 2―레벨 패턴 발생 방법 및 이를 이용한 패턴 발생기
JP2013501242A (ja) * 2009-08-05 2013-01-10 コーニング インコーポレイテッド 光学走査を用いたラベル非依存光学読取システム及びラベル非依存光学読取方法
IL203353A (en) * 2010-01-17 2015-10-29 Orbotech Ltd Empty grip system
WO2011104179A1 (en) * 2010-02-23 2011-09-01 Asml Netherlands B.V. Lithographic apparatus and device manufacturing method
JP5773539B2 (ja) 2010-06-04 2015-09-02 株式会社シンク・ラボラトリー レーザ製版用レーザ露光方法
US8531751B2 (en) 2011-08-19 2013-09-10 Orbotech Ltd. System and method for direct imaging
NL2010020A (en) * 2012-01-17 2013-07-18 Asml Netherlands Bv Lithographic apparatus and device manufacturing method.
WO2014029601A1 (en) * 2012-08-23 2014-02-27 Asml Netherlands B.V. Lithographic apparatus, device manufacturing method and displacement measurement system
US10149390B2 (en) 2012-08-27 2018-12-04 Mycronic AB Maskless writing of a workpiece using a plurality of exposures having different focal planes using multiple DMDs
JP5985750B2 (ja) 2013-06-28 2016-09-06 インテル コーポレイション Mems走査ミラーでの光パターン生成
US10154236B2 (en) * 2013-12-10 2018-12-11 Dolby Laboratories Licensing Corporation Acousto-optic beam steering modulator for a projection system
US9467680B2 (en) 2013-12-12 2016-10-11 Intel Corporation Calibration of a three-dimensional acquisition system
CN106489093B (zh) * 2014-04-28 2019-04-19 株式会社尼康 图案描绘装置、图案描绘方法、器件制造方法、激光光源装置、光束扫描装置及方法
US9269149B2 (en) 2014-05-08 2016-02-23 Orbotech Ltd. Calibration of a direct-imaging system
EP3185655B8 (de) * 2015-12-22 2024-01-03 Heraeus Electronics GmbH & Co. KG Verfahren zur individuellen codierung von metall-keramik-substraten
JP2017128084A (ja) * 2016-01-22 2017-07-27 株式会社沖データ 露光装置、画像形成ユニットおよび画像形成装置
JP6987797B2 (ja) * 2016-03-11 2022-01-05 カールタ インコーポレイテッド リアルタイムオンラインエゴモーション推定を有するレーザスキャナ
US10659764B2 (en) 2016-06-20 2020-05-19 Intel Corporation Depth image provision apparatus and method
US10609359B2 (en) 2016-06-22 2020-03-31 Intel Corporation Depth image provision apparatus and method
JP7021637B2 (ja) * 2016-10-05 2022-02-17 株式会社ニコン パターン描画装置
US10620293B2 (en) * 2017-11-02 2020-04-14 The Boeing Company Determining direction of arrival of an electromagnetic wave
CN112888936A (zh) 2018-09-06 2021-06-01 奥宝科技有限公司 用于光学检验系统的多模态多路复用照明
US20210094232A1 (en) * 2019-09-30 2021-04-01 Ricoh Company, Ltd. Irradiation target flying apparatus, three-dimensional modeling apparatus, and irradiation target flying method
KR102902407B1 (ko) * 2020-11-02 2025-12-19 가부시키가이샤 니콘 패턴 노광 장치
KR102811416B1 (ko) * 2021-12-30 2025-05-26 세메스 주식회사 기판 처리 장치 및 기판 처리 방법
CN114888443A (zh) * 2022-03-30 2022-08-12 北京理工大学 一种飞秒激光在透明材料双面进行高尺寸精度刻型的方法
CN118501164B (zh) * 2024-07-15 2024-11-08 山东大学 基于oct的大视场流水线检测控制方法及系统

Citations (5)

* Cited by examiner, † Cited by third party
Publication number Priority date Publication date Assignee Title
JPS5778268A (en) * 1980-10-31 1982-05-15 Toshiba Corp Video information input device
JPS5778260A (en) * 1980-10-31 1982-05-15 Toshiba Corp Video information file device
JPS62101165A (ja) * 1985-10-24 1987-05-11 ドクトル−インジエニエ−ル・ル−ドルフ・ヘル・ゲゼルシヤフト・ミツト・ベシユレンクテル・ハフツング オプトエレクトロニクス式の走査ヘツド
JPH06314013A (ja) * 1993-04-23 1994-11-08 Xerox Corp 電子写真印刷装置
JPH0880638A (ja) * 1994-04-29 1996-03-26 Eastman Kodak Co プリンタに用いる露光用多位置レンズ装置

Family Cites Families (41)

* Cited by examiner, † Cited by third party
Publication number Priority date Publication date Assignee Title
DE2758305C2 (de) 1977-12-27 1981-09-24 Dr.-Ing. Rudolf Hell Gmbh, 2300 Kiel Verfahren und Vorrichtung zur Vermeidung von Zeilenstrukturen bei der Bildaufzeichnung
JPS5497050A (en) * 1978-01-17 1979-07-31 Fuji Photo Film Co Ltd Video clock signal generator
US4205348A (en) 1978-07-05 1980-05-27 Xerox Corporation Laser scanning utilizing facet tracking and acousto pulse imaging techniques
US4419675A (en) * 1979-05-24 1983-12-06 American Hoechst Corporation Imaging system and method for printed circuit artwork and the like
JPS5667277A (en) * 1979-11-05 1981-06-06 Canon Inc Laser recording device
JPS5731134A (en) * 1980-08-01 1982-02-19 Hitachi Ltd Drawing device by electron beam
DE3174899D1 (en) * 1980-10-31 1986-08-07 Toshiba Kk Picture information input apparatus
JPS5857108A (ja) * 1981-09-30 1983-04-05 Fujitsu Ltd 光走査方式
US4445125A (en) * 1982-04-19 1984-04-24 Xerox Corporation Diode laser array system for printing and copying applications
US4588269A (en) * 1984-07-05 1986-05-13 Eastman Kodak Company Apparatus which shapes gaussian beams by spherical mirrors
JPS61258239A (ja) * 1985-05-10 1986-11-15 Dainippon Screen Mfg Co Ltd シ−ト材の吸着保持装置
GB2183358A (en) 1985-08-19 1987-06-03 Philips Electronic Associated Acousto-optic modulator
US4667155A (en) * 1986-01-07 1987-05-19 Virginia Panel Corporation Modular molded vacuum test fixture
DE3603544A1 (de) * 1986-02-05 1987-08-06 Sick Optik Elektronik Erwin Optische abtastvorrichtung
US4721462A (en) * 1986-10-21 1988-01-26 The United States Of America As Represented By The Administrator Of The National Aeronautics And Space Administration Active hold-down for heat treating
JPH01237513A (ja) * 1987-05-13 1989-09-22 Dainippon Screen Mfg Co Ltd 光ビーム偏向走査装置
EP0299455A3 (en) * 1987-07-17 1991-03-27 Dainippon Screen Mfg. Co., Ltd. Method and apparatus for laser exposure in an image scanning/recording apparatus
US4826268A (en) * 1987-11-25 1989-05-02 Holotek, Ltd. Hologon scanner system
JPH07111508B2 (ja) * 1988-06-20 1995-11-29 大日本スクリーン製造株式会社 画像走査記録装置のレーザ露光方法
JPH02105110A (ja) * 1988-10-14 1990-04-17 Asahi Optical Co Ltd 複数ビーム走査方法
JPH07113705B2 (ja) * 1988-10-24 1995-12-06 大日本スクリーン製造株式会社 光ビーム走査装置
US5191442A (en) * 1990-04-26 1993-03-02 Ecrm Apparatus for scanning a document
IL94308A0 (en) * 1990-05-07 1991-03-10 Scitex Corp Ltd Laser scanning apparatus
JP2685346B2 (ja) * 1990-10-12 1997-12-03 富士写真フイルム株式会社 複数光ビームによる走査露光方法
JPH04264420A (ja) * 1991-02-19 1992-09-21 Ricoh Co Ltd 光走査装置
US5635976A (en) 1991-07-17 1997-06-03 Micronic Laser Systems Ab Method and apparatus for the production of a structure by focused laser radiation on a photosensitively coated substrate
JP2524567B2 (ja) * 1991-08-03 1996-08-14 キヤノン株式会社 複数ビ―ム走査光学装置
EP0558781B1 (en) 1992-03-05 1998-08-05 Micronic Laser Systems Ab Method and apparatus for exposure of substrates
JP2580933B2 (ja) * 1992-04-10 1997-02-12 キヤノン株式会社 ジッター量測定手段を有した光走査装置
DE69228424T2 (de) * 1992-08-11 1999-08-19 Agfa-Gevaert N.V. Dokumentabtaster und Saugtisch dafür
JP3191438B2 (ja) * 1992-08-31 2001-07-23 ソニー株式会社 光学記録方法及び光学記録装置
US5576880A (en) * 1994-03-31 1996-11-19 Aurora Photonics, Inc. Acousto-optic bragg cell
US5608444A (en) * 1994-06-10 1997-03-04 Minnesota Mining And Manufacturing Company Image scanning/recording apparatus and method
JP3712017B2 (ja) * 1995-05-12 2005-11-02 セイコーエプソン株式会社 光走査装置
US5706994A (en) * 1995-06-26 1998-01-13 Marquip, Inc. Vacuum assisted web drive for corrugator double backer
US5923359A (en) 1997-03-14 1999-07-13 Cymbolic Sciences International Inc. Internal drum scophony raster recording device
JPH09277134A (ja) * 1996-04-11 1997-10-28 Sony Corp 真空吸着式ワーク固定装置及び方法
US6037967A (en) 1996-12-18 2000-03-14 Etec Systems, Inc. Short wavelength pulsed laser scanner
US6052140A (en) * 1997-01-08 2000-04-18 Fuji Photo Film Co., Ltd. Image forming apparatus
JP2000258714A (ja) * 1999-03-10 2000-09-22 Asahi Optical Co Ltd 走査式描画装置及びそのピント調整方法
US6182957B1 (en) * 1999-08-12 2001-02-06 International Business Machines Corporation Apparatus and method for holding a flexible product in a flat and secure position

Patent Citations (5)

* Cited by examiner, † Cited by third party
Publication number Priority date Publication date Assignee Title
JPS5778268A (en) * 1980-10-31 1982-05-15 Toshiba Corp Video information input device
JPS5778260A (en) * 1980-10-31 1982-05-15 Toshiba Corp Video information file device
JPS62101165A (ja) * 1985-10-24 1987-05-11 ドクトル−インジエニエ−ル・ル−ドルフ・ヘル・ゲゼルシヤフト・ミツト・ベシユレンクテル・ハフツング オプトエレクトロニクス式の走査ヘツド
JPH06314013A (ja) * 1993-04-23 1994-11-08 Xerox Corp 電子写真印刷装置
JPH0880638A (ja) * 1994-04-29 1996-03-26 Eastman Kodak Co プリンタに用いる露光用多位置レンズ装置

Cited By (1)

* Cited by examiner, † Cited by third party
Publication number Priority date Publication date Assignee Title
KR20140043476A (ko) 2011-11-22 2014-04-09 아사히 가세이 이-매터리얼즈 가부시키가이샤 열반응형 레지스트 재료, 몰드의 제조 방법, 몰드, 현상 방법 및 패턴 형성 재료

Also Published As

Publication number Publication date
DE69923694T2 (de) 2006-03-23
EP1569037A3 (en) 2006-03-15
JP4801762B2 (ja) 2011-10-26
JP2010044402A (ja) 2010-02-25
CN1263357C (zh) 2006-07-05
JP4801763B2 (ja) 2011-10-26
JP2002520644A (ja) 2002-07-09
JP4512270B2 (ja) 2010-07-28
JP2010044401A (ja) 2010-02-25
US20060132590A1 (en) 2006-06-22
CN1881088A (zh) 2006-12-20
US7259777B2 (en) 2007-08-21
EP1110437A1 (en) 2001-06-27
EP1569037A2 (en) 2005-08-31
IL140699A (en) 2010-04-15
EP1569037B1 (en) 2009-11-18
DE69923694D1 (de) 2005-03-17
WO2000002424A1 (en) 2000-01-13
JP2011237819A (ja) 2011-11-24
JP5631272B2 (ja) 2014-11-26
JP4865843B2 (ja) 2012-02-01
CN100580559C (zh) 2010-01-13
IL140699A0 (en) 2002-02-10
US7046266B1 (en) 2006-05-16
TW479444B (en) 2002-03-11
CN1782880A (zh) 2006-06-07
AU3414199A (en) 2000-01-24
DE69941635D1 (de) 2009-12-31
DE19829986C1 (de) 2000-03-30
EP1110437B1 (en) 2005-02-09
CN1308837A (zh) 2001-08-15

Similar Documents

Publication Publication Date Title
JP4801762B2 (ja) 走査器システム
US6770866B2 (en) Direct pattern writer
KR100278824B1 (ko) 개선된 레이저 패턴 발생장치 및 방법
EP3226530B1 (en) Beam forming optical system and direct imaging system
KR102878468B1 (ko) 광학 장치, 노광 장치, 플랫 패널 디스플레이의 제조 방법, 및 디바이스 제조 방법
EP0263774A2 (en) Scanner
EP1272903B1 (en) Apparatus for generating a laser pattern on a photomask and associated methods
WO2000057629A9 (en) Laser pattern generator
EP4400912A1 (en) Laser writer and method for operating a laser writer
JP3276296B2 (ja) 画素配列の真直度補正機能を持つレーザ描画装置
JPH05131676A (ja) 画像走査記録装置
JP2005301179A (ja) マルチビーム光記録装置
JP2005333414A (ja) レーザ露光装置
JP2005189866A (ja) 円筒内面走査型画像記録装置

Legal Events

Date Code Title Description
A131 Notification of reasons for refusal

Free format text: JAPANESE INTERMEDIATE CODE: A131

Effective date: 20110208

A601 Written request for extension of time

Free format text: JAPANESE INTERMEDIATE CODE: A601

Effective date: 20110509

A602 Written permission of extension of time

Free format text: JAPANESE INTERMEDIATE CODE: A602

Effective date: 20110512

A601 Written request for extension of time

Free format text: JAPANESE INTERMEDIATE CODE: A601

Effective date: 20110603

A602 Written permission of extension of time

Free format text: JAPANESE INTERMEDIATE CODE: A602

Effective date: 20110608

A521 Request for written amendment filed

Free format text: JAPANESE INTERMEDIATE CODE: A523

Effective date: 20110707

TRDD Decision of grant or rejection written
A01 Written decision to grant a patent or to grant a registration (utility model)

Free format text: JAPANESE INTERMEDIATE CODE: A01

Effective date: 20110726

A01 Written decision to grant a patent or to grant a registration (utility model)

Free format text: JAPANESE INTERMEDIATE CODE: A01

A61 First payment of annual fees (during grant procedure)

Free format text: JAPANESE INTERMEDIATE CODE: A61

Effective date: 20110805

FPAY Renewal fee payment (event date is renewal date of database)

Free format text: PAYMENT UNTIL: 20140812

Year of fee payment: 3

R150 Certificate of patent or registration of utility model

Free format text: JAPANESE INTERMEDIATE CODE: R150

R250 Receipt of annual fees

Free format text: JAPANESE INTERMEDIATE CODE: R250

R250 Receipt of annual fees

Free format text: JAPANESE INTERMEDIATE CODE: R250

R250 Receipt of annual fees

Free format text: JAPANESE INTERMEDIATE CODE: R250

LAPS Cancellation because of no payment of annual fees