JP2010043705A - フレキシブル管用継手 - Google Patents

フレキシブル管用継手 Download PDF

Info

Publication number
JP2010043705A
JP2010043705A JP2008208417A JP2008208417A JP2010043705A JP 2010043705 A JP2010043705 A JP 2010043705A JP 2008208417 A JP2008208417 A JP 2008208417A JP 2008208417 A JP2008208417 A JP 2008208417A JP 2010043705 A JP2010043705 A JP 2010043705A
Authority
JP
Japan
Prior art keywords
flexible
flexible tube
joint
tube
sealing material
Prior art date
Legal status (The legal status is an assumption and is not a legal conclusion. Google has not performed a legal analysis and makes no representation as to the accuracy of the status listed.)
Granted
Application number
JP2008208417A
Other languages
English (en)
Other versions
JP5427378B2 (ja
Inventor
Mitsuji Kimura
充志 木村
Yosuke Ueda
陽介 植田
Yuji Kishimoto
裕司 岸本
Taketoshi Tono
剛年 東野
Current Assignee (The listed assignees may be inaccurate. Google has not performed a legal analysis and makes no representation or warranty as to the accuracy of the list.)
Osaka Gas Co Ltd
JFE Pipe Fitting Mfg Co Ltd
Original Assignee
Osaka Gas Co Ltd
JFE Pipe Fitting Mfg Co Ltd
Priority date (The priority date is an assumption and is not a legal conclusion. Google has not performed a legal analysis and makes no representation as to the accuracy of the date listed.)
Filing date
Publication date
Application filed by Osaka Gas Co Ltd, JFE Pipe Fitting Mfg Co Ltd filed Critical Osaka Gas Co Ltd
Priority to JP2008208417A priority Critical patent/JP5427378B2/ja
Publication of JP2010043705A publication Critical patent/JP2010043705A/ja
Application granted granted Critical
Publication of JP5427378B2 publication Critical patent/JP5427378B2/ja
Active legal-status Critical Current
Anticipated expiration legal-status Critical

Links

Images

Landscapes

  • Joints That Cut Off Fluids, And Hose Joints (AREA)

Abstract

【課題】 流体漏れが生じにくいフレキシブル管用継手を提供する。
【解決手段】フレキシブル管用継手10は、継手本体20と、継手本体20内に収容される弾性変形可能なシール材22とを備える。シール材22には中央に管挿入孔60が形成されている。その管挿入孔60にフレキシブル管300が挿入される。シール材22は、管挿入孔60に挿入されたフレキシブル管300の外周面と継手本体20の内周面との間でシールする。シール材22の内周側に、フレキシブル管300の外周面に対向する凸部50を有しており、凸部50は、シール材22の管挿入孔60内にフレキシブル管300を挿入することによって、フレキシブル管300の山部310を乗り越えて、フレキシブル管300の谷部312にかみあう。
【選択図】 図1

Description

本発明は、流体漏れが生じにくいフレキシブル管用継手に関する。
特許文献1は、図9に示すようなフレキシブル管用継手を開示する。このフレキシブル管用継手は、継手本体200と、スリーブ202と、リングスプリング204と、Oリング206と、パッキン208と、押輪210と、を具備する。
継手本体200には、大径孔200aと中径孔200bと小径孔200cとが入口側より順に形成されている。スリーブ202は、継手本体200の中径孔200bに摺動自在に装着され、フレキシブル管300の先端部分と係合する。スリーブ202の入口側は継手本体200の大径孔200aにまで延びている。リングスプリング204は、環状に形成され、弾性変形によって拡縮し、荷重がかかっていない状態においてフレキシブル管300の谷部312外周に嵌入され、拡径した状態においててスリーブ202の入口側外面に装着される。押輪210は、継手本体200の入口側にOリング206を介して螺着されている。押輪210の内周面にはパッキン208が装着されている。押輪210の内奥端付近の内周面は、谷部312外周にリングスプリング204が嵌入したときのそのリングスプリング204の外径よりも小径に形成されている。
特開平6−185680号公報
しかしながら、特許文献1に開示されたフレキシブル管用継手では、流体漏れが生じやすいという問題があった。
本発明は、このような問題点を解消するためになされたものであり、その目的とするところは、流体漏れが生じにくいフレキシブル管用継手を提供することにある。
上記目的を達成するために、本発明のある局面に従うと、フレキシブル管用継手10は、継手本体20と、継手本体20内に収容される弾性変形可能なシール材22とを備える。フレキシブル管300は、継手本体20内に挿入される。フレキシブル管300の外周部には、円周方向全周に延びる山部310と谷部312とが管軸方向へ交互に並設されている。シール材22には中央に管挿入孔60が形成されている。その管挿入孔60にフレキシブル管300が挿入される。シール材22は、管挿入孔60に挿入されたフレキシブル管300の外周面と継手本体20の内周面との間でシールする。シール材22の内周側に、フレキシブル管300の外周面に対向する凸部50を有しており、凸部50は、シール材22の管挿入孔60内にフレキシブル管300を挿入することによって、フレキシブル管300の山部310を乗り越えて、フレキシブル管300の谷部312にかみあう。
本発明によれば、流体漏れを生じにくくできる。
以下、図面を参照しつつ、本発明の実施の形態について説明する。以下の説明では、同一の部品には同一の符号を付してある。それらの名称および機能も同一である。したがって、それらについての詳細な説明は繰返さない。
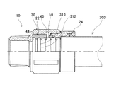
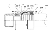
図1は、本発明の実施形態にかかるフレキシブル管用継手10を、フレキシブル管300差込み前の状態で示す半欠截断面図である。図2は、フレキシブル管300差込み途中の状態で示す同フレキシブル管用継手10の半欠截断面図である。図3は、フレキシブル管300の差込み完了後の状態で示す同フレキシブル管用継手10の半欠截断面図である。図4は、フレキシブル管300に引抜力がかかったときの同フレキシブル管用継手10の半欠截断面図である。図5は、本発明の実施形態にかかる突起つきリング26の平面図である。図6は、本発明の実施形態にかかる支え部材28の斜視図である。
図1に示すように、本実施例に係るフレキシブル管用継手10は、継手本体20と、シール材22と、押輪24と、突起つきリング26と、支え部材28と、リング30とを備える。
継手本体20の一端部には、挿入口40が形成されている。継手本体20の他端部の外周には、接続用雄ねじ48が形成されている。挿入口40は、金属製のフレキシブル管300の先端部が挿入される部分である。シール材22は、この継手本体20内に収容される。押輪24は挿入口40の内部にねじ止めされる。押輪24は、管挿入用孔36を有している。突起つきリング26と、支え部材28と、リング30とは、継手本体20の挿入口40の内部に収容される。
フレキシブル管300は、図2に示すように、外周部に円周方向全周に延びる山部310と谷部312とを管軸方向へ交互に並設し、その外周を塩化ビニールなどの合成樹脂層314で被覆したものである。
図1に示すように、継手本体20の挿入口40の奥には、収容部42が設けられている。シール材22は、この収容部42の中に収容される。収容部42の中において、シール材22は、継手本体20の軸方向に移動できる。収容部42の奥にはストッパー部44が設けられている。ストッパー部44の中心に、カラー46が設けられている。フレキシブル管300が継手本体20の中に挿入され、その先端がストッパー部44に達すると、カラー46の先端はフレキシブル管300の中に嵌まり込む。
本実施形態において、シール材22はゴム製の円筒である。シール材22の素材として用いられるゴムの例には、NBR(Acrylonitrile-Butadiene Rubber)、SBR(Styrene-butadiene rubber)、EPDM(ethylene propylene rubber)などがある。シール材22の内周面には凸部50が設けられている。
図5に示すように、突起つきリング26は、内周に突起70が設けられた座金状の部材である。突起つきリング26の内周をフレキシブル管300が通過するとき、突起70は、フレキシブル管300の山部310によって押し広げられる。その山部310が突起つきリング26の内周を通過すると、突起70は山部310が通過する前の状態に戻る。
図6に示すように、支え部材28は、リング部80と複数の爪82とを有する。爪82は、リング部80と一体となるように形成されている。上述したリング30は、爪82の先端の段部92に嵌まり込み、爪82が広がるのを防ぐ。なお、突起つきリング26と支え部材28とによって、フレキシブル管300が引き抜かれるのを防止する抜止機構が構成されている。抜止機構による引抜防止の仕組みについては後述する。
図1に示すように、押輪24はパッキン溝90を有する。パッキン溝90は、押輪24の入口側の端の内周に設けられている。パッキン溝90は、円周方向に形成されている。パッキン溝90には、防水パッキン100が嵌め込まれている。防水パッキン100は、EPDMなどで作られている。防水パッキン100の断面はT形状である。
次に、上述したフレキシブル管用継手10にフレキシブル管300を接続する要領について図1〜図3を参照しつつ説明する。
継手本体20には、シール材22と、突起つきリング26と、支え部材28と、リング30とが予め収容されており、かつ、継手本体20の挿入口40には、押輪24がねじ止めされている。
フレキシブル管300の接続に際しては、先ずフレキシブル管300(このフレキシブル管300の合成樹脂層314は予め剥離されている。その結果、このフレキシブル管300の山部310が6個分ほど露出している。)を、押輪24の管挿入用孔36を通じて継手本体20の挿入口40内に差し込む。押輪24の中を通過したフレキシブル管300の先端は、支え部材28の内周を通過した後、突起つきリング26の突起70に接触する。
突起70に接触したフレキシブル管300の先端は、そのまま突起70を押す。このとき、シール材22と突起つきリング26とは収容部42の軸方向に移動する。その後、シール材22の一端がストッパー部44に当たると、突起つきリング26の突起70は、フレキシブル管300の先端により押し広げられる。シール材22はストッパー部44によって動きが制限されている。支え部材28にはそのような制限がかかっていない。これにより、支え部材28は、継手本体20の軸方向へは自由に移動できる。支え部材28が移動できるので、突起つきリング26が変形するためのスペースは十分にある。その結果、差し込むだけでフレキシブル管300をフレキシブル管用継手10に接続することが可能となる。図2はこの時点の状況を示す。
突起つきリング26の突起70がフレキシブル管300の先端により押し広げられると、フレキシブル管300の先端は、突起つきリング26を通過してシール材22の管挿入孔60内に進入する。シール材22の凸部50は、シール材22の管挿入孔60内にフレキシブル管300が挿入されると、フレキシブル管300の山部310を乗り越えて、フレキシブル管300の谷部312にかみあう。その後、フレキシブル管300の先端がストッパー部44に突き当たるまで、シール材22の凸部50は、フレキシブル管300の山部310を乗り越えることと、フレキシブル管300の谷部312にかみ合うこととを繰り返す。フレキシブル管300の先端がストッパー部44に突き当たると、フレキシブル管300の差込みは完了である。図3は、この状況を示す。
フレキシブル管300の差込み完了後に、フレキシブル管300に対して引抜力がかかったとする。この場合、フレキシブル管300はその引抜力の方向に少し動く。凸部50が谷部312にかみ合っているので、シール材22も同様に動く。シール材22に押され、突起つきリング26も同様に動く。支え部材28は、突起つきリング26に押されて動いた後、押輪24の先端部にあたる。これにより、シール材22と、突起つきリング26と、支え部材28とは、それ以上動けなくなる。図4は、この状況を示す。
この状態でさらに引抜力がかかったとすると、突起つきリング26の突起70はフレキシブル管300の山部310から力を受ける。これに対し、突起70は、支え部材28から反力を受けるので、フレキシブル管300が継手本体20に挿入されたときのように広がらない。突起70は、谷部312に嵌ったままである。その結果、フレキシブル管300はフレキシブル管用継手10から抜けない。
今回開示された実施形態はすべての点で例示である。本発明の範囲は上述した実施形態に基づいて制限されるものではなく、本発明の趣旨を逸脱しない範囲で種々の設計変更をしてもよいのはもちろんである。
たとえば、本発明は、継手本体20の一端に挿入口40が形成され、継手本体20の他端の外周に接続用雄ねじ48が形成された雄ねじフレキシブル管用継手に限られない。本発明は、他の構造、例えば、両端に受口部を有する左右対称のソケット形のフレキシブル管用継手や、エルボ型のフレキシブル管用継手などにも適用できることは勿論である。
また、本発明は、フレキシブル管300の谷部312のうち2箇所をシール材がシールするものに限定されない。シール材のうち、フレキシブル管300の谷部312に密着する部分は、1箇所のみであってもよく、3箇所以上あってもよい。
また、凸部50の間隔は、フレキシブル管300の谷部312の間隔より小さくても良い。凸部50の間隔は、フレキシブル管300の谷部312にかみ合う際、弾性変形によって広がるためである。
また、抜止機構は、上述した形態のものに限られない。
また、押輪は、挿入口40の内部にねじ止めされるものに限られない。図7は、本発明の第1の変形例にかかるフレキシブル管用継手11を、フレキシブル管差込み前の状態で示す半欠截断面図である。本変形例にかかるフレキシブル管用継手11は、上述した継手本体20と押輪24とに代えて、継手本体21と押輪25とを備える。継手本体21は、スナップリング係合溝110を有する。スナップリング係合溝110は、挿入口40の内周に形成されている。押輪21は、スナップリング収容溝112を有する。スナップリング収容溝112は、押輪21のうち、挿入口40に挿入する部分の外周に形成されている。押輪25は、スナップリング120によって継手本体21に固定されている。スナップリング120の外周がスナップリング係合溝110に嵌まり込んでおり、スナップリング120の内周がスナップリング収容溝112に嵌まり込んでいる。その他の点は、上述した継手本体20および押輪24と同様である。このような構造であっても、上述したフレキシブル管用継手10と同様の効果を得ることができる。
また、押輪は、必ずしも必要なものではない。図8は、本発明の第2の変形例にかかるフレキシブル管用継手12を、フレキシブル管差込み前の状態で示す半欠截断面図である。本変形例にかかるフレキシブル管用継手12は、継手本体32と、シール材22と、リテーナ33と、抜け止め防止材34とを備える。シール材22と、リテーナ33と、抜け止め防止材34とは、弾性係数が互いに異なるゴムでできている。このフレキシブル管用継手12にフレキシブル管300を挿入する際には、シール材22がストッパー部の方向へスライドする。それに伴い、リテーナ33もストッパー部の方向へスライドする。これにより、抜け止め防止材34の周囲には隙間ができるので、抜け止め防止材34はその外径および内径を拡げることができる。これにより、フレキシブル管用継手12にフレキシブル管300を挿入することが可能である。これに対し、フレキシブル管用継手12からフレキシブル管300を引き抜こうとしたときには、抜け止め防止材34は継手本体32の内壁に押し付けられる。これにより、抜け止め防止材34の内周はフレキシブル管300に食い込む。これにより、フレキシブル管300が抜けることは防止される。なお、フレキシブル管300の外周と継手本体32の内周とをシールするための原理は上述した実施形態と同様である。このような構造であっても、上述したフレキシブル管用継手10と同様の効果を得ることができる。
本発明の実施形態にかかるフレキシブル管用継手を、フレキシブル管差込み前の状態で示す半欠截断面図である。 フレキシブル管差込み途中の状態で示す同フレキシブル管用継手の半欠截断面図である。 フレキシブル管の差込み完了後の状態で示す同フレキシブル管用継手の半欠截断面図である。 フレキシブル管に引抜力がかかったときの同フレキシブル管用継手の半欠截断面図である。 本発明の実施形態にかかる突起つきリングの平面図である。 本発明の実施形態にかかる支え部材の斜視図である。 本発明の第1の変形例にかかるフレキシブル管用継手を、フレキシブル管差込み前の状態で示す半欠截断面図である。 本発明の第2の変形例にかかるフレキシブル管用継手を、フレキシブル管差込み前の状態で示す半欠截断面図である。 従来例にかかるフレキシブル管用継手の半欠截断面図である。
符号の説明
10,11,12 フレキシブル管用継手
20,21,32,200 継手本体
22 シール材
24,25,210 押輪
26 突起つきリング
28 支え部材
30,206 リング
33 リテーナ
34 抜け止め防止材
36 管挿入用孔
40 挿入口
42 収容部
44 ストッパー部
46 カラー
48 雄ねじ
50 凸部
60 管挿入孔
70 突起
80 リング部
82 爪
90 パッキン溝
92 段部
100 防水パッキン
110 スナップリング係合溝
112 スナップリング収容溝
120 スナップリング
200a 大径孔
200b 中径孔
200c 小径孔
202 スリーブ
204 リングスプリング
208 パッキン
300 フレキシブル管
310 山部
312 谷部
314 合成樹脂層

Claims (2)

  1. 継手本体と、
    前記継手本体内に収容される弾性変形可能なシール材とを備え、
    フレキシブル管が前記継手本体内に挿入され、
    前記フレキシブル管の外周部には、円周方向全周に延びる山部と谷部とが管軸方向へ交互に並設されており、
    前記シール材には、中央に管挿入孔が形成されていて前記フレキシブル管が挿入され、
    前記シール材は、前記管挿入孔に挿入されたフレキシブル管の外周面と前記継手本体の内周面との間でシールするフレキシブル管用継手であって、
    前記シール材の内周側に、前記フレキシブル管の外周面に対向する凸部を有しており、
    前記凸部は、前記シール材の管挿入孔内に前記フレキシブル管を挿入することによって、前記フレキシブル管の山部を乗り越えて、前記フレキシブル管の谷部にかみあうことを特徴とする、フレキシブル管用継手。
  2. 前記シール材が、前記フレキシブル管の管軸方向に並ぶよう配置された複数の前記凸部を有しており、
    隣接する前記凸部同士が互いに接続されており、
    前記凸部同士の間隔が前記フレキシブル管の谷部同士の間隔の整数倍であることを特徴とする、請求項1に記載のフレキシブル管用継手。
JP2008208417A 2008-08-13 2008-08-13 フレキシブル管用継手 Active JP5427378B2 (ja)

Priority Applications (1)

Application Number Priority Date Filing Date Title
JP2008208417A JP5427378B2 (ja) 2008-08-13 2008-08-13 フレキシブル管用継手

Applications Claiming Priority (1)

Application Number Priority Date Filing Date Title
JP2008208417A JP5427378B2 (ja) 2008-08-13 2008-08-13 フレキシブル管用継手

Publications (2)

Publication Number Publication Date
JP2010043705A true JP2010043705A (ja) 2010-02-25
JP5427378B2 JP5427378B2 (ja) 2014-02-26

Family

ID=42015249

Family Applications (1)

Application Number Title Priority Date Filing Date
JP2008208417A Active JP5427378B2 (ja) 2008-08-13 2008-08-13 フレキシブル管用継手

Country Status (1)

Country Link
JP (1) JP5427378B2 (ja)

Cited By (1)

* Cited by examiner, † Cited by third party
Publication number Priority date Publication date Assignee Title
JP2013087808A (ja) * 2011-10-14 2013-05-13 Jfe Pipe Fitting Mfg Co Ltd フレキシブル管用継手

Citations (8)

* Cited by examiner, † Cited by third party
Publication number Priority date Publication date Assignee Title
JPS5894986U (ja) * 1981-12-21 1983-06-28 東京瓦斯株式会社 螺旋管の接続装置
JPS6029990U (ja) * 1983-08-05 1985-02-28 東京瓦斯株式会社 フレキシブルガス管における継手用パッキン
JPS6084886U (ja) * 1983-11-18 1985-06-11 日立金属株式会社 螺旋管の接続装置
JPS62184280U (ja) * 1986-05-16 1987-11-24
JPH0391592U (ja) * 1989-12-29 1991-09-18
JP2001208260A (ja) * 1999-11-18 2001-08-03 Osaka Gas Co Ltd フレキシブルチューブ用ワンタッチ継手
JP2003028365A (ja) * 2001-07-19 2003-01-29 Tokyo Gas Co Ltd 差込式管継手
JP2005282724A (ja) * 2004-03-30 2005-10-13 Osaka Gas Co Ltd 金属製蛇腹管継手

Patent Citations (8)

* Cited by examiner, † Cited by third party
Publication number Priority date Publication date Assignee Title
JPS5894986U (ja) * 1981-12-21 1983-06-28 東京瓦斯株式会社 螺旋管の接続装置
JPS6029990U (ja) * 1983-08-05 1985-02-28 東京瓦斯株式会社 フレキシブルガス管における継手用パッキン
JPS6084886U (ja) * 1983-11-18 1985-06-11 日立金属株式会社 螺旋管の接続装置
JPS62184280U (ja) * 1986-05-16 1987-11-24
JPH0391592U (ja) * 1989-12-29 1991-09-18
JP2001208260A (ja) * 1999-11-18 2001-08-03 Osaka Gas Co Ltd フレキシブルチューブ用ワンタッチ継手
JP2003028365A (ja) * 2001-07-19 2003-01-29 Tokyo Gas Co Ltd 差込式管継手
JP2005282724A (ja) * 2004-03-30 2005-10-13 Osaka Gas Co Ltd 金属製蛇腹管継手

Cited By (1)

* Cited by examiner, † Cited by third party
Publication number Priority date Publication date Assignee Title
JP2013087808A (ja) * 2011-10-14 2013-05-13 Jfe Pipe Fitting Mfg Co Ltd フレキシブル管用継手

Also Published As

Publication number Publication date
JP5427378B2 (ja) 2014-02-26

Similar Documents

Publication Publication Date Title
JP3724360B2 (ja) コネクタ
JP4929005B2 (ja) フレキシブル管用継手のシール方法およびシール構造
JP5202178B2 (ja) フレキシブル管用継手
JP5427378B2 (ja) フレキシブル管用継手
JP5193569B2 (ja) フレキシブル管用継手
JP5238405B2 (ja) フレキシブル管用継手
JP5028232B2 (ja) フレキシブル管用継手
JP4352179B2 (ja) 樹脂管接続継手
JP2004003535A (ja) フレキシブルチューブ用継手
JP4032112B2 (ja) 差込式管継手
JP2005308139A (ja) 管継手構造
JP5194187B2 (ja) フレキシブル管用継手
JP4719379B2 (ja) 管体損傷防止機構付き管継手
JP5463083B2 (ja) フレキシブル管用継手
JP4873604B2 (ja) 管継手
JP5268798B2 (ja) フレキシブル管用継手
JP4803537B2 (ja) 管継手
JP5380587B2 (ja) フレキシブル管用継手
JP5193570B2 (ja) フレキシブル管用継手
JP2004044760A (ja) フレキシブルチューブ用継手
JP5481573B2 (ja) フレキシブル管用継手
JP5346473B2 (ja) フレキシブル管用継手
JP2012207673A (ja) フレキシブルチューブ用継手
JP5422315B2 (ja) フレキシブル管用継手
JP5244636B2 (ja) フレキシブル管用継手

Legal Events

Date Code Title Description
A621 Written request for application examination

Free format text: JAPANESE INTERMEDIATE CODE: A621

Effective date: 20101215

A977 Report on retrieval

Free format text: JAPANESE INTERMEDIATE CODE: A971007

Effective date: 20120629

A131 Notification of reasons for refusal

Free format text: JAPANESE INTERMEDIATE CODE: A131

Effective date: 20120703

A521 Request for written amendment filed

Free format text: JAPANESE INTERMEDIATE CODE: A523

Effective date: 20120829

A131 Notification of reasons for refusal

Free format text: JAPANESE INTERMEDIATE CODE: A131

Effective date: 20130305

A521 Request for written amendment filed

Free format text: JAPANESE INTERMEDIATE CODE: A523

Effective date: 20130426

TRDD Decision of grant or rejection written
A01 Written decision to grant a patent or to grant a registration (utility model)

Free format text: JAPANESE INTERMEDIATE CODE: A01

Effective date: 20131105

A61 First payment of annual fees (during grant procedure)

Free format text: JAPANESE INTERMEDIATE CODE: A61

Effective date: 20131202

R150 Certificate of patent or registration of utility model

Free format text: JAPANESE INTERMEDIATE CODE: R150

Ref document number: 5427378

Country of ref document: JP

Free format text: JAPANESE INTERMEDIATE CODE: R150

R250 Receipt of annual fees

Free format text: JAPANESE INTERMEDIATE CODE: R250

R250 Receipt of annual fees

Free format text: JAPANESE INTERMEDIATE CODE: R250

S533 Written request for registration of change of name

Free format text: JAPANESE INTERMEDIATE CODE: R313533

R350 Written notification of registration of transfer

Free format text: JAPANESE INTERMEDIATE CODE: R350

R250 Receipt of annual fees

Free format text: JAPANESE INTERMEDIATE CODE: R250

R250 Receipt of annual fees

Free format text: JAPANESE INTERMEDIATE CODE: R250

R250 Receipt of annual fees

Free format text: JAPANESE INTERMEDIATE CODE: R250