JP2010043314A - 還元鉄及び銑鉄の製造方法 - Google Patents
還元鉄及び銑鉄の製造方法 Download PDFInfo
- Publication number
- JP2010043314A JP2010043314A JP2008207420A JP2008207420A JP2010043314A JP 2010043314 A JP2010043314 A JP 2010043314A JP 2008207420 A JP2008207420 A JP 2008207420A JP 2008207420 A JP2008207420 A JP 2008207420A JP 2010043314 A JP2010043314 A JP 2010043314A
- Authority
- JP
- Japan
- Prior art keywords
- iron
- gas
- content
- raw material
- limit value
- Prior art date
- Legal status (The legal status is an assumption and is not a legal conclusion. Google has not performed a legal analysis and makes no representation as to the accuracy of the status listed.)
- Granted
Links
Images
Landscapes
- Manufacture Of Iron (AREA)
Abstract
【解決手段】酸化鉄原料を還元ガスで還元して還元鉄を製造する方法において、(i)製鉄プロセスで発生するH2及び/又はCOを含む副生ガスから、H2含有率[質量%]とCO含有率[質量%]の比:H2/COが所定の範囲内にある還元ガスを製造し、(ii)上記還元ガスを還元鉄製造装置に供給することを特徴とする。
【選択図】図3
Description
CH4+CO2 → 2CO+2H2−49.3kcal/mol …(2)
ただし、上記方法を実施するプラントの建設は、天然ガスの安定供給が可能な天然ガス産出地にほぼ限られてしまう。
Fe2O3+3CO → 2Fe+3CO2+6.7kcal/mol …(4)
即ち、H2によるFe2O3の還元は、上記(3)式の吸熱反応により進行し、COによるFe2O3の還元は、上記(4)式の発熱反応により進行する。
(i)製鉄プロセスで発生するH2及び/又はCOを含む副生ガスから還元ガスを製造し、
(ii)上記還元ガスを還元鉄製造装置に供給する
ことを特徴とする還元鉄の製造方法。
(i)H2/COと、酸化鉄原料中の焼結鉱の配合率(質量%)、該焼結鉱中の2次ヘマタイト含有率(質量%)、及び、該焼結鉱中の気孔率(体積%)に応じて求めた、安定操業を維持するための上記酸化鉄原料の耐還元粉化指数RDI(%)の許容限界値(上限値)との関係に基づいて、耐還元粉化指数RDI(%)が許容限界値(上限値)以下となるように設定する
ことを特徴とする上記(8)に記載の還元鉄の製造方法。
(i)H2/COと、酸化鉄原料中の焼結鉱の配合率(質量%)、該焼結鉱中の2次ヘマタイト含有率(質量%)、及び、該焼結鉱中の気孔率(体積%)に応じて求めた、安定操業を維持するための上記酸化鉄原料の耐還元粉化指数RDI(%)の許容限界値(上限値)との関係、及び、
(ii)H2/COと、還元鉄の平均金属化率(トータル鉄に対する金属鉄の質量割合):60%以上を達成するための上記酸化鉄原料の被還元性JIS−RI(%)の許容限界値(下限値)との関係に基づいて、被還元性JIS−RI(%)が許容限界値(下限値)以上で、耐還元粉化指数RDI(%)が許容限界値(上限値)以下となるように設定する
ことを特徴とする上記(8)に記載の還元鉄の製造方法。
1)還元鉄の製造方法について説明する。
(i)製鉄プロセスで発生するH2及び/又はCOを含む副生ガスから還元ガスを製造し、
(ii)上記還元ガスを還元鉄製造装置に供給する
ことを基本的な技術思想とする。
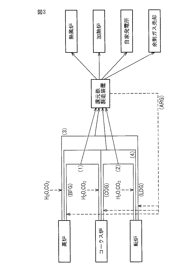
COGとLDGを混合した還元ガスを用いて還元鉄を製造し、冷却した後、還元鉄を竪型溶解炉で溶解した例を示す。気体に係る%は「モル%」を意味する。
還元ガスとして天然ガスを改質したガス(H2/CO=約1.5)、酸化鉄原料として、塊鉱石(RDI:10%、JIS−RI:55)とペレット(RDI:15%、JIS−RI:70)を用い、シャフト炉で通常の操業を実施した。次に、比較例1及び2として、上記酸化物原料にRDI:35%、JIS−RI:65の焼結鉱、又は、RDI:45%、JIS−RI:75の焼結鉱を配合して操業し、操業状態を確認した。
Claims (13)
- 酸化鉄原料を還元ガスで還元して還元鉄を製造する方法において、
(i)製鉄プロセスで発生するH2及び/又はCOを含む副生ガスから還元ガスを製造し、
(ii)上記還元ガスを還元鉄製造装置に供給する
ことを特徴とする還元鉄の製造方法。 - 前記副生ガスが、高炉や、コークス充填型溶融炉より発生した副生ガス、コークス炉より発生した副生ガス、及び、転炉より発生した副生ガスであることを特徴とする請求項1に記載の還元鉄の製造方法。
- H2及び/又はCOの含有量の異なる前記副生ガスの中から2種以上の副生ガスを選択して混合し、H2含有率[モル%]及びCO含有率[モル%]、並びに、H2含有率[モル%]とCO含有率[モル%]の比:H2/COを調整して還元ガスを製造することを特徴とする請求項1又は2に記載の還元鉄の製造方法。
- H2及び/又はCOの含有率の異なる前記副生ガスの中から1種又は2種以上の副生ガスを選択し、及び/又は、混合し、次いで、該副生ガスにH2O及び/又はCO2を添加して改質し、H2含有率[モル%]及びCO含有率[モル%]、並びに、H2含有率[モル%]とCO含有率[モル%]の比:H2/COを調整して還元ガスを製造することを特徴とする請求項1又は2に記載の還元鉄の製造方法。
- H2及び/又はCOの含有率の異なる前記副生ガスの中から選択した1種又は2種以上の副生ガスと、該副生ガスにH2O及び/又はCO2を添加して改質したH2及び/又はCOの含有率の異なる改質副生ガスの中から、1種又は2種以上の副生ガスを選択して混合し、H2含有率[モル%]及びCO含有率[モル%]、並びに、H2含有率[モル%]とCO含有率[モル%]の比:H2/COを調整して還元ガスを製造することを特徴とする請求項1又は2に記載の還元鉄の製造方法。
- 前記H2及び/又はCOの含有量の異なる副生ガスの中から選択した副生ガスは、予め、副生ガス中に含まれるN2、H2O、及び、CO2の1種又は2種以上を除去したものであることを特徴とする請求項3〜5のいずれか1項に記載の還元鉄の製造方法。
- 前記還元鉄製造装置がシャフト炉であることを特徴とする請求項1〜6のいずれか1項に記載の還元鉄の製造方法。
- 前記シャフト炉に装入する酸化鉄原料が、粉状鉄鉱石を塊成化した焼結鉱:20質量%以上と、残部:塊状鉄鉱石、及び、粉状鉄鉱石を塊成化したペレット及びブリケットの1種又は2種以上からなることを特徴とする請求項7に記載の還元鉄の製造方法。
- 前記還元ガスのH2/COを、
(i)H2/COと、酸化鉄原料中の焼結鉱の配合率(質量%)、該焼結鉱中の2次ヘマタイト含有率(質量%)、及び、該焼結鉱中の気孔率(体積%)に応じて求めた、安定操業を維持するための上記酸化鉄原料の耐還元粉化指数RDI(%)の許容限界値(上限値)との関係に基づいて、耐還元粉化指数RDI(%)が許容限界値(上限値)以下となるように設定する
ことを特徴とする請求項8に記載の還元鉄の製造方法。 - 前記還元ガスのH2/COを、
(i)H2/COと、酸化鉄原料中の焼結鉱の配合率(質量%)、該焼結鉱中の2次ヘマタイト含有率(質量%)、及び、該焼結鉱中の気孔率(体積%)に応じて求めた、安定操業を維持するための上記酸化鉄原料の耐還元粉化指数RDI(%)の許容限界値(上限値)との関係、及び、
(ii)H2/COと、還元鉄の平均金属化率(トータル鉄に対する金属鉄の質量割合):60%以上を達成するための上記酸化鉄原料の被還元性JIS−RI(%)の許容限界値(下限値)との関係に基づいて、被還元性JIS−RI(%)が許容限界値(下限値)以上で、耐還元粉化指数RDI(%)が許容限界値(上限値)以下となるように設定する
ことを特徴とする請求項8に記載の還元鉄の製造方法。 - 請求項1〜10のいずれか1項に記載の還元鉄の製造方法で製造した還元鉄の1部又は全部を、溶融還元炉に装入して溶融及び還元し銑鉄を製造することを特徴とする銑鉄の製造方法。
- 前記還元鉄の1部又は全部を、スクラップ、粒銑、及び、形銑の一部又は全部に替えて装入することを特徴とする請求項11に記載の銑鉄の製造方法。
- 前記溶融還元炉が、高炉、コークス充填型溶融炉、電気炉、転炉、及び、混銑炉のいずれかであることを特徴とする請求項11又は12に記載の銑鉄の製造方法。
Priority Applications (1)
| Application Number | Priority Date | Filing Date | Title |
|---|---|---|---|
| JP2008207420A JP5064330B2 (ja) | 2008-08-11 | 2008-08-11 | 還元鉄及び銑鉄の製造方法 |
Applications Claiming Priority (1)
| Application Number | Priority Date | Filing Date | Title |
|---|---|---|---|
| JP2008207420A JP5064330B2 (ja) | 2008-08-11 | 2008-08-11 | 還元鉄及び銑鉄の製造方法 |
Publications (2)
| Publication Number | Publication Date |
|---|---|
| JP2010043314A true JP2010043314A (ja) | 2010-02-25 |
| JP5064330B2 JP5064330B2 (ja) | 2012-10-31 |
Family
ID=42014913
Family Applications (1)
| Application Number | Title | Priority Date | Filing Date |
|---|---|---|---|
| JP2008207420A Active JP5064330B2 (ja) | 2008-08-11 | 2008-08-11 | 還元鉄及び銑鉄の製造方法 |
Country Status (1)
| Country | Link |
|---|---|
| JP (1) | JP5064330B2 (ja) |
Cited By (14)
| Publication number | Priority date | Publication date | Assignee | Title |
|---|---|---|---|---|
| WO2011099070A1 (ja) * | 2010-02-10 | 2011-08-18 | 新日本製鐵株式会社 | 還元鉄の製造方法及び銑鉄の製造方法 |
| JP2011213545A (ja) * | 2010-03-31 | 2011-10-27 | Nippon Steel Corp | 合成ガスの製造方法及び還元鉄の製造方法 |
| JP2012102372A (ja) * | 2010-11-10 | 2012-05-31 | Nippon Steel Corp | 炉頂ガスを循環した直接還元炉の操業方法 |
| JP2013532232A (ja) * | 2010-06-30 | 2013-08-15 | ガルダ,ケキ,ホルムスジ | アルミ含有鉄鉱石およびチタン含有鉄鉱石および残留物からの金属抽出法 |
| JP2014518943A (ja) * | 2011-05-13 | 2014-08-07 | ミドレックス テクノロジーズ,インコーポレイテッド | コークス炉ガス及び酸素製鋼炉ガスを用いて酸化鉄を金属鉄に還元するシステム及び方法 |
| JP2017106064A (ja) * | 2015-12-08 | 2017-06-15 | 新日鐵住金株式会社 | シャフト炉を用いた酸化鉄原料の還元方法 |
| JP2018024896A (ja) * | 2016-08-08 | 2018-02-15 | 新日鐵住金株式会社 | 還元鉄の製造方法および溶鋼の製造方法ならびに還元鉄製造工程を含む高炉製鉄所 |
| CN113173604A (zh) * | 2020-08-05 | 2021-07-27 | 河南济源钢铁(集团)有限公司 | 一种以烧结灰为原料制备纳米铁及其氧化物的方法 |
| JP2021172861A (ja) * | 2020-04-27 | 2021-11-01 | Jfeスチール株式会社 | 還元鉄の製造方法 |
| CN115449579A (zh) * | 2022-08-23 | 2022-12-09 | 攀钢集团西昌钢钒有限公司 | 一种低碳熔融还原炼铁方法及装置 |
| JP2023001496A (ja) * | 2021-06-21 | 2023-01-06 | Jfeスチール株式会社 | 還元鉄の製造方法 |
| WO2024089903A1 (ja) * | 2022-10-27 | 2024-05-02 | 株式会社神戸製鋼所 | 鉄鉱石ペレットの高温性状判定方法、鉄鉱石ペレットの製造方法及び鉄鉱石ペレット |
| JP2024532378A (ja) * | 2021-08-30 | 2024-09-05 | ティッセンクルップ スチール ヨーロッパ アクチェンゲゼルシャフト | 溶鉄の製造方法 |
| JP2025500237A (ja) * | 2021-12-16 | 2025-01-09 | アルセロールミタル | 製鋼方法及び関連するプラントのネットワーク |
Citations (7)
| Publication number | Priority date | Publication date | Assignee | Title |
|---|---|---|---|---|
| JPS4911797A (ja) * | 1972-03-30 | 1974-02-01 | ||
| JPS62267409A (ja) * | 1986-05-07 | 1987-11-20 | ホエスト―アルピン・インダストリーアンラーゲンバウ・ゲゼルシャフト・ミット・ベシュレンクテル・ハフツング | 集積ミル装置及びその操作方法 |
| JPS63143211A (ja) * | 1986-12-05 | 1988-06-15 | Nippon Steel Corp | 鉄鉱石流動層還元装置 |
| JPS63216912A (ja) * | 1987-03-05 | 1988-09-09 | Ishikawajima Harima Heavy Ind Co Ltd | 粉粒状鉱石の流動還元方法 |
| JP2002194412A (ja) * | 2000-10-18 | 2002-07-10 | Nippon Steel Corp | 還元鉄の製造方法、還元鉄の冷却装置、及び、溶融鉄の製造方法 |
| JP2003027124A (ja) * | 2001-07-10 | 2003-01-29 | Nkk Corp | 冷鉄源の溶解方法 |
| JP2004309067A (ja) * | 2003-04-09 | 2004-11-04 | Nippon Steel Corp | 高炉ガスの利用方法 |
-
2008
- 2008-08-11 JP JP2008207420A patent/JP5064330B2/ja active Active
Patent Citations (7)
| Publication number | Priority date | Publication date | Assignee | Title |
|---|---|---|---|---|
| JPS4911797A (ja) * | 1972-03-30 | 1974-02-01 | ||
| JPS62267409A (ja) * | 1986-05-07 | 1987-11-20 | ホエスト―アルピン・インダストリーアンラーゲンバウ・ゲゼルシャフト・ミット・ベシュレンクテル・ハフツング | 集積ミル装置及びその操作方法 |
| JPS63143211A (ja) * | 1986-12-05 | 1988-06-15 | Nippon Steel Corp | 鉄鉱石流動層還元装置 |
| JPS63216912A (ja) * | 1987-03-05 | 1988-09-09 | Ishikawajima Harima Heavy Ind Co Ltd | 粉粒状鉱石の流動還元方法 |
| JP2002194412A (ja) * | 2000-10-18 | 2002-07-10 | Nippon Steel Corp | 還元鉄の製造方法、還元鉄の冷却装置、及び、溶融鉄の製造方法 |
| JP2003027124A (ja) * | 2001-07-10 | 2003-01-29 | Nkk Corp | 冷鉄源の溶解方法 |
| JP2004309067A (ja) * | 2003-04-09 | 2004-11-04 | Nippon Steel Corp | 高炉ガスの利用方法 |
Cited By (20)
| Publication number | Priority date | Publication date | Assignee | Title |
|---|---|---|---|---|
| WO2011099070A1 (ja) * | 2010-02-10 | 2011-08-18 | 新日本製鐵株式会社 | 還元鉄の製造方法及び銑鉄の製造方法 |
| JP2011213545A (ja) * | 2010-03-31 | 2011-10-27 | Nippon Steel Corp | 合成ガスの製造方法及び還元鉄の製造方法 |
| JP2013532232A (ja) * | 2010-06-30 | 2013-08-15 | ガルダ,ケキ,ホルムスジ | アルミ含有鉄鉱石およびチタン含有鉄鉱石および残留物からの金属抽出法 |
| JP2012102372A (ja) * | 2010-11-10 | 2012-05-31 | Nippon Steel Corp | 炉頂ガスを循環した直接還元炉の操業方法 |
| JP2014518943A (ja) * | 2011-05-13 | 2014-08-07 | ミドレックス テクノロジーズ,インコーポレイテッド | コークス炉ガス及び酸素製鋼炉ガスを用いて酸化鉄を金属鉄に還元するシステム及び方法 |
| JP2017106064A (ja) * | 2015-12-08 | 2017-06-15 | 新日鐵住金株式会社 | シャフト炉を用いた酸化鉄原料の還元方法 |
| JP2018024896A (ja) * | 2016-08-08 | 2018-02-15 | 新日鐵住金株式会社 | 還元鉄の製造方法および溶鋼の製造方法ならびに還元鉄製造工程を含む高炉製鉄所 |
| JP2021172861A (ja) * | 2020-04-27 | 2021-11-01 | Jfeスチール株式会社 | 還元鉄の製造方法 |
| JP7272312B2 (ja) | 2020-04-27 | 2023-05-12 | Jfeスチール株式会社 | 還元鉄の製造方法 |
| CN113173604A (zh) * | 2020-08-05 | 2021-07-27 | 河南济源钢铁(集团)有限公司 | 一种以烧结灰为原料制备纳米铁及其氧化物的方法 |
| JP2023001496A (ja) * | 2021-06-21 | 2023-01-06 | Jfeスチール株式会社 | 還元鉄の製造方法 |
| JP7497700B2 (ja) | 2021-06-21 | 2024-06-11 | Jfeスチール株式会社 | 還元鉄の製造方法 |
| JP2024532378A (ja) * | 2021-08-30 | 2024-09-05 | ティッセンクルップ スチール ヨーロッパ アクチェンゲゼルシャフト | 溶鉄の製造方法 |
| JP7802915B2 (ja) | 2021-08-30 | 2026-01-20 | ティッセンクルップ スチール ヨーロッパ アクチェンゲゼルシャフト | 溶鉄の製造方法 |
| JP2025500237A (ja) * | 2021-12-16 | 2025-01-09 | アルセロールミタル | 製鋼方法及び関連するプラントのネットワーク |
| JP7809209B2 (ja) | 2021-12-16 | 2026-01-30 | アルセロールミタル | 製鋼方法及び関連するプラントのネットワーク |
| CN115449579A (zh) * | 2022-08-23 | 2022-12-09 | 攀钢集团西昌钢钒有限公司 | 一种低碳熔融还原炼铁方法及装置 |
| CN115449579B (zh) * | 2022-08-23 | 2023-12-19 | 攀钢集团西昌钢钒有限公司 | 一种低碳熔融还原炼铁方法及装置 |
| WO2024089903A1 (ja) * | 2022-10-27 | 2024-05-02 | 株式会社神戸製鋼所 | 鉄鉱石ペレットの高温性状判定方法、鉄鉱石ペレットの製造方法及び鉄鉱石ペレット |
| JP2024064028A (ja) * | 2022-10-27 | 2024-05-14 | 株式会社神戸製鋼所 | 鉄鉱石ペレットの高温性状判定方法、鉄鉱石ペレットの製造方法及び鉄鉱石ペレット |
Also Published As
| Publication number | Publication date |
|---|---|
| JP5064330B2 (ja) | 2012-10-31 |
Similar Documents
| Publication | Publication Date | Title |
|---|---|---|
| JP5064330B2 (ja) | 還元鉄及び銑鉄の製造方法 | |
| JP4167101B2 (ja) | 粒状金属鉄の製法 | |
| AU2008301651B2 (en) | Process for producing molten iron | |
| WO2011099070A1 (ja) | 還元鉄の製造方法及び銑鉄の製造方法 | |
| JP2010261101A (ja) | 金属鉄の製法 | |
| JP6476940B2 (ja) | 溶鋼の製造方法 | |
| EP2450459B1 (en) | Blast-furnace operation method | |
| JP7040659B1 (ja) | 還元炉の操業方法 | |
| JP5998763B2 (ja) | 転炉製鋼方法 | |
| JP2020045508A (ja) | 高炉の操業方法 | |
| JP6137087B2 (ja) | 焼結鉱の製造方法 | |
| JP4764304B2 (ja) | 高炉操業方法 | |
| JP6763227B2 (ja) | 還元鉄の製造方法および溶鋼の製造方法 | |
| JP6638764B2 (ja) | 高炉の操業方法 | |
| JP3732024B2 (ja) | 還元鉄ペレットの製造方法 | |
| JP3516793B2 (ja) | 竪型炉へのダスト塊成鉱、自己還元性鉱塊、鉄屑、固体燃料等の原燃料装入方法 | |
| JP7737000B2 (ja) | 高炉操業方法 | |
| RU2144088C1 (ru) | Способ эксплуатации вертикальной печи | |
| JP5626072B2 (ja) | 竪型溶解炉の操業方法 | |
| JP2720058B2 (ja) | 高炉操業法 | |
| JP2666396B2 (ja) | 溶銑の製造方法 | |
| JP2009024240A (ja) | 溶融鉄製造方法 | |
| JP2025133776A (ja) | マンガン系合金の製造方法及びその製造装置 | |
| JP2023045910A (ja) | 炭素回収型マンガン系合金の製造方法及びその製造装置 | |
| TW202430654A (zh) | 源自燒結礦之熔鐵 |
Legal Events
| Date | Code | Title | Description |
|---|---|---|---|
| A621 | Written request for application examination |
Free format text: JAPANESE INTERMEDIATE CODE: A621 Effective date: 20100126 |
|
| A977 | Report on retrieval |
Free format text: JAPANESE INTERMEDIATE CODE: A971007 Effective date: 20120210 |
|
| A131 | Notification of reasons for refusal |
Free format text: JAPANESE INTERMEDIATE CODE: A131 Effective date: 20120403 |
|
| A521 | Written amendment |
Free format text: JAPANESE INTERMEDIATE CODE: A523 Effective date: 20120507 |
|
| TRDD | Decision of grant or rejection written | ||
| A01 | Written decision to grant a patent or to grant a registration (utility model) |
Free format text: JAPANESE INTERMEDIATE CODE: A01 Effective date: 20120717 |
|
| A01 | Written decision to grant a patent or to grant a registration (utility model) |
Free format text: JAPANESE INTERMEDIATE CODE: A01 |
|
| A61 | First payment of annual fees (during grant procedure) |
Free format text: JAPANESE INTERMEDIATE CODE: A61 Effective date: 20120808 |
|
| R151 | Written notification of patent or utility model registration |
Ref document number: 5064330 Country of ref document: JP Free format text: JAPANESE INTERMEDIATE CODE: R151 |
|
| FPAY | Renewal fee payment (event date is renewal date of database) |
Free format text: PAYMENT UNTIL: 20150817 Year of fee payment: 3 |
|
| FPAY | Renewal fee payment (event date is renewal date of database) |
Free format text: PAYMENT UNTIL: 20150817 Year of fee payment: 3 |
|
| S533 | Written request for registration of change of name |
Free format text: JAPANESE INTERMEDIATE CODE: R313533 |
|
| FPAY | Renewal fee payment (event date is renewal date of database) |
Free format text: PAYMENT UNTIL: 20150817 Year of fee payment: 3 |
|
| R350 | Written notification of registration of transfer |
Free format text: JAPANESE INTERMEDIATE CODE: R350 |
|
| S533 | Written request for registration of change of name |
Free format text: JAPANESE INTERMEDIATE CODE: R313533 |
|
| R350 | Written notification of registration of transfer |
Free format text: JAPANESE INTERMEDIATE CODE: R350 |
