JP2010036953A - ロール状物用組立容器 - Google Patents

ロール状物用組立容器 Download PDF

Info

Publication number
JP2010036953A
JP2010036953A JP2008201478A JP2008201478A JP2010036953A JP 2010036953 A JP2010036953 A JP 2010036953A JP 2008201478 A JP2008201478 A JP 2008201478A JP 2008201478 A JP2008201478 A JP 2008201478A JP 2010036953 A JP2010036953 A JP 2010036953A
Authority
JP
Japan
Prior art keywords
roll
plate
peripheral
container
assembly
Prior art date
Legal status (The legal status is an assumption and is not a legal conclusion. Google has not performed a legal analysis and makes no representation as to the accuracy of the status listed.)
Granted
Application number
JP2008201478A
Other languages
English (en)
Other versions
JP5183347B2 (ja
Inventor
Satoru Deguchi
悟 出口
Current Assignee (The listed assignees may be inaccurate. Google has not performed a legal analysis and makes no representation or warranty as to the accuracy of the list.)
Murazumi KK
Original Assignee
Murazumi KK
Priority date (The priority date is an assumption and is not a legal conclusion. Google has not performed a legal analysis and makes no representation as to the accuracy of the date listed.)
Filing date
Publication date
Application filed by Murazumi KK filed Critical Murazumi KK
Priority to JP2008201478A priority Critical patent/JP5183347B2/ja
Publication of JP2010036953A publication Critical patent/JP2010036953A/ja
Application granted granted Critical
Publication of JP5183347B2 publication Critical patent/JP5183347B2/ja
Active legal-status Critical Current
Anticipated expiration legal-status Critical

Links

Images

Landscapes

  • Rigid Containers With Two Or More Constituent Elements (AREA)
  • Buffer Packaging (AREA)
  • Package Frames And Binding Bands (AREA)
  • Packaging Of Machine Parts And Wound Products (AREA)

Abstract

【課題】使用しない時には部材を1枚の板状に薄くすることができるので収納や運搬の効率が高く、組立時には部材間の結合強度が強く、しかも組立、分解が容易なロール状物用組立容器を提供する。
【解決手段】帯状製品を芯管に巻回してなるロール状物を保護、収納するロール状物用組立容器1であって、2枚の周面板2と2枚の端面板3とからなり、周面板2は、ロール状物の径よりも幅広で帯状製品の幅よりも長い方形の中央面2aと、その幅方向両側にヒンジ部2bを介して連設された2面の横側面2cからなると共に、横側面の幅の和は中央面の幅以上であり、端面板は、その中央部にロール状物Rの芯管を保持する保持孔3aが穿設され、端面板の上下縁の両横付近、及び周面板横側面2cの開放縁の両横付近には咬合可能なスリット4が設けられていることを特徴とするロール状物用組立容器である。
【選択図】図1

Description

本発明は、ロール状物用組立容器に関し、更に詳しくは、使用しない時には部材を1枚の板状に薄くすることができるので収納や運搬効率が高く、組立時には組み立てが容易で部材間の結合強度が強く、しかも分解が容易なロール状物用組立容器に関する。
従来、ドライレジスト、プラスチックフィルム、金属箔、薄紙等の帯状製品を芯管に巻回してなるロール状物は、該ロール状物の両側から鍔状のプロテクターを当接させてロール状物を箱の床面から浮かせた状態でダンボール箱等の容器に収容され、保管や輸送に供されている。
しかしながら、ロール状物のサイズは製品によって異なるため、1種類の通常の容器でロール状物を効率よく収納することはできない。そこで、ロール状物の種類の分だけ異なるサイズの容器を予め作成するか、或いは、大きめの容器を準備してサイズが異なるロール状物を一旦容器に収容した後、容器のどちらか一方の側壁端に当接させ、他の側壁側に生じた空間に発泡スチロール等の緩衝材を詰めて隙間を無くし、容器内でロール状物全体が動かないように保護する方法が採られている。
しかしながら、サイズに合わせて様々な大きさの数種類の容器を準備する場合には、保管に多大なスペースが必要になるばかりでなく輸送の効率が悪く、そのために余分な人件費が生じコストアップの要因にもなっていた。
また、大きめの容器を準備し、空いた隙間に発泡スチロール等の緩衝材を詰める形態では、作業性が極めて悪い上、これら発泡スチロール等はリサイクルされずに、使用後はゴミとして送り先側にて焼却処理されるのが常であり、焼却される際に焼却炉を傷めたり、環境汚染の原因になるという課題があった。
また、リサイクルする場合においても、容器と緩衝材の素材が異なるため、分別してリサイクルする必要があり、リサイクルのコストが上昇し、リサイクルを困難にする原因となっていた。
そこで、伸ばすと1枚の薄い板状になるような部材を組み立てて容器を作成することにより、組立前の容器の収容スペースを小さくしてコストダウンを図る試みもなされている。例えば、四角柱状に折り曲げられた本体部の係合溝に、一対の第1側板を係合した廃紙材製通箱が提案されている(特許文献1)。しかしながら、このような箱は、本体を形成する底板、蓋板、第2側板を薄くすれば係合溝が浅すぎて第1側板が外れやすくなり強度が弱く、十分な強度を有するように係合溝を深くしようとすれば本体を形成する底板、蓋板、第2側板が厚くなりすぎて収納に要するスペースが大きくなるばかりでなく、重くて扱いにくくなる。
また、この廃紙材製通箱では底板、蓋板、第2側板が四角柱状に折り曲げられて初めて係合溝と第1側板が完全に係合するが、この状態では箱が密閉されているため、中にロール状物を入れることができない。そこで蓋板が開いた状態で、底板、第2側板のみで第1側板と係合してから箱のなかにロール状物を収容するが、この場合は、第1側板と第2側板の結合強度が十分でないので、第2側板が不意に開いてしまう危険性があり、これを防ぐため第2側板を手などで支えて開かないようにしておく必要が生じ、作業が煩雑となる。
特開平8−318940号公報
本発明は上記従来の課題を解決するために、使用しない時には板状になるような、保管のためのスペースが少なくて済み搬送が容易な部材を組み立ててなる容器において、板状の部材を厚くすることなく部材間の結合強度を強くすることができ、且つ容器として利用する際は、容易に組立が可能であるとともに、不要時には容易に組立前の状態に分解できる組立容器を提供することを目的とする。
上記目的を達成するために、本発明の請求項1は、帯状製品を芯管に巻回してなるロール状物を保護、収納するロール状物用組立容器であって、2枚の周面板と2枚の端面板とからなり、周面板は、ロール状物の径よりも幅広で帯状製品の幅よりも長い方形の中央面と、その幅方向両側にヒンジ部を介して連設された2面の横側面からなると共に、横側面の幅の和は中央面の幅以上であり、端面板は、その中央部にロール状物の芯管を保持する保持孔が穿設され、端面板の上下縁の両横付近、及び周面板横側面の開放縁の両横付近には咬合可能なスリットが設けられていることを特徴とするロール状物用組立容器を内容とする。
本発明の請求項2は、端面板中央に穿設された保持孔よりも径が大きい頭部と、収納するロール状物の芯管の内径と径がほぼ等しい芯管保持部とを有するキャップが端面板の保持孔に嵌着されることを特徴とする請求項1に記載のロール状物用組立容器を内容とする。
本発明の請求項3は、周面板の両横側面の幅の和は中央面の幅より大きく、端面板の上下縁のいずれか一方の縁に設けられたスリットは、このスリットに対向する他方の縁に設けられたスリットと、周面板約1枚分の厚みだけずらして設けられていることを特徴とする請求項1又は請求項2に記載のロール状物用組立容器を内容とする。
本発明の請求項4は、周面板及び端面板がプラスチックダンボール製であり、スリットはプラスチックダンボールのリブと平行に、且つリブを切り欠かないように形成されていることを特徴とする請求項1乃至請求項3のいずれか1項に記載のロール状物用組立容器を内容とする。
本発明のロール状物用組立容器は、2枚の周面板と2枚の端面板からなり、周面板は展開すれば(伸ばせば)1枚の薄い板状となるので、周面板も端面板も保管のためのスペースが極めて小さくて済み、収納や運搬が極めて効率的に行えるとともに、径が同じであれば端面板を変えずに周面板だけを変えることにより様々な長さのロール状物に対応できるため、部品点数を減らすことが出来る。また、周面板と端面板はそれぞれに設けられたスリットを咬合させて結合するので、部材間の結合強度が強い。さらに、1枚の周面板をコ字状に折り曲げて、その両横部分に2枚の端面板を結合させ、その上からもう1枚の周面板をコ字状に折り曲げて組み合わせることにより、容易に組み立てることが出来るとともに、これと逆の操作をすることにより容易に分解することも出来る。また、1枚の周面板をコ字状に折り曲げ、その両端部分に2枚の端面板を結合させることにより、通常の容器で蓋を取り除いた状態となるため、周面板や端面板を手で支えることなく、容易にロール状物を出し入れすることが可能である、そして、この状態から更に一方の端面板を取り外せば、上側のみならず横側も開放されるので、横側の開放部からロール状物の出し入れをすることも可能である。
保持孔よりも径が大きい頭部と、収納するロール状物の芯管の内径と径がほぼ等しい芯管保持部とを有するキャップを端面板の保持孔に嵌着すれば、芯管の中空部に芯管保持部を挿入することにより、端面から芯管が突出していないようなロール状物を好適に保持することができる。
周面板の両横側面の幅の和を中央面の幅より大きくするとともに、端面板の上下縁のいずれか一方の縁に設けられたスリットを、このスリットに対向する他方の縁に設けられたスリットと、周面板約1枚分の厚みだけずらして設けるようにすれば、対向する周面板の横側面は一部重複するので、横側面の隙間からゴミやホコリ等が入り込んでロール状物を汚すような恐れがなくなる。
周面板及び端面板がプラスチックダンボール製とし、スリットはプラスチックダンボールのリブと平行に、且つリブを切り欠かないように形成すれば、スリットを形成してもプラスチックダンボールの強度は殆ど減衰せず、壊れにくくなり耐久性が向上する。
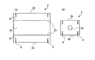
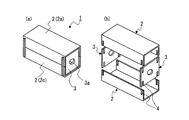
本発明のロール状物用組立容器1は、図1〜図3に記載した実施例1で代表的に示すとおり、帯状製品を芯管R1に巻回してなるロール状物Rを保護、収納するロール状物用組立容器1であって、2枚の周面板2と2枚の端面板3とからなり、周面板2は、ロール状物の径L1よりも幅広で帯状製品の幅L2よりも長い方形の中央面2aと、その幅方向両側にヒンジ部2bを介して連設された2面の横側面2cからなると共に、横側面2cの幅の和は中央面2aの幅以上であり、端面板3は、その中央部にロール状物の芯管R1を保持する保持孔3aが穿設され、端面板3の上下縁3bの両横付近、及び周面板2横側面2cの開放縁2dの両横付近には咬合可能なスリット4が設けられていることを特徴とする。
本発明における周面板2は、図2(a)に示す通り、方形の中央面2aの幅方向両側に、ヒンジ部2bを介して横側面2cが連設されてなり、横側面2cの開放縁2dの両横付近にスリット4が設けられている。
この周面板2は図1に示す通り、ヒンジ部2bで折り曲げて略コ字状とした2枚の周面板2を組み合わせて、好ましくは断面略正方形の4角柱状とし、ロール状物用組立容器1の周面とされる。本実施例においては横側面2cの幅の和と中央面の幅が等しくなっているので、それぞれの2枚の周面板2のそれぞれの横側面2cの開放縁2dを付き合わせるように組み立てれば、丁度、断面が略正方形の4角柱状となるが、横側面2cの幅の和を中央面の幅よりも大きくして、対向する周面板2の横側面2cを幾分重複させることにより断面が略正方形になるようにしてもよい。
本発明における端面板3は、図2(b)に示す通り、全体視が略矩形であって、その中央部にはロール状物Rの芯管を保持するための保持孔3aが穿設され、その上縁及び下縁3b(以下、上下縁3bと略す)の両横付近にスリット4が設けられている。
この端面板3は図1に示す通り、4角柱状に組み付けられた周面板2の両端側に配置され、ロール状物用組立容器1の端面とされる。
本発明のロール状物用組立容器1は、2枚の周面板2と2枚の端面板3からなり、周面板は伸ばせば1枚の薄い板状となるので、周面板も端面板も積み重ねれば非常にコンパクトに纏まり、保管や運搬のためのスペースが極めて小さくて済むので、収納や運搬を極めて効率的に行うことができる。
また、限られた種類の部品で様々な長さのロール状物Rに対応でき、例えば、ロール状物の径が同じであれば端面板3を変えずに周面板2だけを変更することにより長さが異なるロール状物Rを収納できる容器1とすることができるため、多種類のロール状物Rを扱う場合でも部品点数を減らすことができ、管理コストを下げることができる。
周面板2及び端面板3には、上記の通りそれぞれにスリット4が設けられているが、図1に示したとおり、これらの周面板2及び端面板3はスリット4を互いに咬合させることにより結合するとともに、全てのスリット4を咬合させることにより本発明のロール状物用組立容器1が完成する。
詳述すれば、1枚の周面板2をコ字状に折り曲げ、その両横部分のスリット4と端面板3側のスリット4を咬合させて2枚の端面板を結合させ、その上からもう1枚の周面板2をコ字状に折り曲げてから、前述と同様にスリット4同士を咬合させて組み合わせることにより、容易に組み立てることが出来る。また、使用後は、上側の周面板2を引き抜いてから、端面板3を引き抜くという単純な方法で、容易に分解することも出来る。
本発明において、スリット4の幅は、通常、周面板2又は端面板3の厚さ程度とされるが、周面板側と端面板側のいずれか一方、又は両方のスリット4を周面板2又は端面板3の厚さよりも僅かに狭くし、弾性を利用して圧入挟着させることにより結合の強度を上げてもよい。
スリット4の位置は、周面板横側面2cの開放縁2dの両横付近、及び端面板3の上下縁3bの両横付近であるが、端部に近すぎる場合はスリット4と端部の間が細くなり過ぎ、強度が低下するので、材料の強度及び使用条件を考慮して破損しない程度の間隔を保持したほうが好ましい。
周面板2及び端面板3の材質は特に限定されず、ABS(アクリロニトリル- ブタジエン- スチレン共重合樹脂)、AAS樹脂(アクリロニトリル/アクリルゴム/スチレン)、AES樹脂(アクリロニトリル/エチレンプロピレンゴム/スチレン)、AS樹脂(アクリロニトリル/スチレン)、PS樹脂(ポリスチレン樹脂)、PMMA樹脂、PVC樹脂、MS樹脂(メチルメタクリレート/スチレン樹脂)、PP(ポリプロピレン樹脂)、PE(ポリエチレン樹脂)、PBT(ポリブチレンテレフタレート樹脂)およびPC樹脂(ポリカーボネート樹脂)等の樹脂、紙やダンボール、樹脂フィルムをラミネートした紙やダンボール、木材、竹材、金属等、内容物を保護できるような材質である限りどのようなものでも使用できるが、軽量、安価、成形のし易さ等の観点から、樹脂製とするのが好ましい。
特に、平行に延設された多数のリブ5を介して2枚のプラスチック薄板を貼り合せた、所謂プラスチックダンボールを使用すれば、軽量で且つ十分な強度を有しており、さらに耐衝撃性及び耐水性に優れているため好ましい。また、本発明におけるスリット4をリブ5の間の部分に設け、リブ5を切り欠かないようにすれば、周面板2及び端面板3の強度を殆ど低下させることがないので好ましい。
上記のように組み立てられたロール状物用組立容器1は、端面板3に穿設された保持孔3aにロール状物Rの芯管R1を挿通し、ロール状物Rを保持する。
本発明のロール状物用組立容器1にロール状物Rを収容するには、例えば、先ず、図3に記載されているように、組み立てられたロール状物用組立容器1から上側の周面板2を取り外すことにより、又は1枚の周面板2と2枚の端面板3を組み付けることにより、上側が開放された状態にし、次いで、ロール状物Rを容器内に入れて保持孔3aに芯管R1を挿通し、最後に残りの周面板2を組み付ける。このようなロール状物用組立容器1では、1枚の周面板2に端面板3を組み付けた段階で、周面板2の形状が略コ字状に保持されるため、例えば特許文献1の箱のように、収容作業中に横側面2cが不意に開く恐れがなく、容易且つ確実にロール状物Rを容器内に収容できる。
なお、周面板の中央面2aはロール状物の径L1よりも幅広で帯状製品の幅L2よりも長い方形であり、対向する周面板2の横側面2cが組み合わされた面もほぼ同様とされるので、ロール状物Rの表面はいずれの周面にも擦れることがない。
なお、必要に応じ、ロール状物Rと容器内壁面との間に緩衝材を介装してもよい。また、上側の周面板2の横側面2cと下側の周面板2の横側面2cとの会合面に粘着テープで接着することもできる。
また、芯管R1がロール状物Rの端面から突出しておらず、保持孔3aに芯管R1を挿通出来ないような場合には、図4(b)に示したような、保持孔3aよりも径が大きい頭部6aと、芯管R1の内径と径がほぼ等しい芯管保持部6bとを有するキャップ6を用いてロール状物Rを保持する。この場合、図4(a)に示したように、芯管保持部6bを保持孔3aに通して芯管R1の中に嵌入することにより、ロール状物Rは容器内に好適に収容される。
次に、本発明のロール状物用組立容器1の実施例2について、図5及び図6に基づいて説明する。
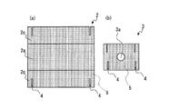
本実施例では、材質としてプラスチックダンボールが用いられるとともに、横側面の幅の和は中央面の幅よりも広く、組み立てたときに横側面が一部重複するようにした例である。なお、図5(a)(b)において、直線状の一点鎖線はリブ5を示す。
図5(a)は本実施例で用いる周面板2を示す。この周面板2では、スリット4がダンボールプラスチックのリブ5の間に、このリブと平行に設けられており、リブ5は切り欠かれていない。また、ヒンジ部2bでは折り曲げの邪魔にならぬよう、リブの一部が切削されている。
図5(b)は本実施例で用いる端面板3を示す。この端面板3でも、スリット4がダンボールプラスチックのリブ5の間に、このリブと平行に設けられており、リブ5は切り欠かれていない。但し、本実施例の場合、上下縁3bにそれぞれ設けられたスリットは完全には対向しておらず、周面板2約1枚分の厚みだけずらして設けられている。具体的には、図5(b)における左右の縁から4本目のリブ5を境に、下縁では該リブ5の右側、上縁では該リブの左側にスリット4が設けられている。
なお、前述の通り、スリット4の幅は周面板2又は端面板3の厚さ、即ち本実施例の場合はプラスチックダンボールの厚さと略同じであるが、市販のプラスチックダンボールにおけるリブ5の間隔は、通常の場合、プラスチックダンボールの厚さよりも若干広いので、リブ5を傷つけないようにスリット4を形成するのは容易である。
図5(a)の周面板2と図5(b)の端面板3を組み付けると、図6(a)に示したように、横側面2cの一部が重複した状態になる。このため横側面2cの間からゴミやホコリ等が入り込んでロール状物Rの表面を汚す恐れが無くなる。
なお、図6(b)に示したように、上側の周面板2をやや大きくすると共に、下側の周面板2を上側の周面板2の下に嵌り込む程度の大きさにすると、ゴミやホコリ等の侵入を阻止する他、上側の周面板2の横側面2cが下側の周面板2の横側面2cを覆うので、例えば雨水等の液体が上からかかったとしても、容器1内には侵入しないため好ましい。
以上、本発明の好ましい態様を実施例に基づいて説明したが、本発明はこれら実施例のみに限定されるものではなく、本発明の要旨から逸脱することなく種々のバリエーションが可能であることは云うまでもない。
例えば、図示した円形の保持孔3aに代えて、U字形のものも採用でき、この場合は、芯管R1が突出したロール状物Rを収納する場合はU字形の上部開口部から突出した芯管R1を導入することにより容易に収納することができる。
叙上のとおり、本発明のロール状物用組立容器によれば、収納時には部材を1枚の板状に薄くすることができ収納効率が高いとともに、組立時における部材間の結合強度が強く、組立分解が容易であるので、ロール状物の保存、運搬のために使用する容器として頗る有用である。
(a)は本発明の実施例1に係るロール状物用組立容器の斜視図であり、(b)はその分解斜視図である。 (a)は実施例1で使用する周面板の平面図であり、(b)は実施例1で使用する端面板の平面図である。 1枚の周面板に2枚の端面板を組み付けた状態を示す平面図である。 (a)は端面から芯管が突出していないロール状物を保持する場合を示す断面図であり、(b)はそれに用いるキャップを示す側面図である。 (a)は実施例2で使用する周面板の平面図であり、(b)は実施例2で使用する端面板の平面図である。 (a)は実施例2のロール状物用組立容器の側面図であり、(b)はその変更例の側面図である。
符号の説明
1 ロール状物用組立容器
2 周面板
2a 中央面
2b ヒンジ部
2c 横側面
2d 開放縁
3 端面板
3a 保持孔
3b 上下縁
4 スリット
5 リブ
6 キャップ
6a 頭部
6b 芯管保持部
R ロール状物
R1 芯管
L1 ロール状物の径
L2 帯状製品の幅

Claims (4)

  1. 帯状製品を芯管に巻回してなるロール状物を保護、収納するロール状物用組立容器であって、2枚の周面板と2枚の端面板とからなり、
    周面板は、ロール状物の径よりも幅広で帯状製品の幅よりも長い方形の中央面と、その幅方向両側にヒンジ部を介して連設された2面の横側面からなると共に、横側面の幅の和は中央面の幅以上であり、
    端面板は、その中央部にロール状物の芯管を保持する保持孔が穿設され、
    端面板の上下縁の両横付近、及び周面板横側面の開放縁の両横付近には咬合可能なスリットが設けられていることを特徴とするロール状物用組立容器。
  2. 端面板中央に穿設された保持孔よりも径が大きい頭部と、
    収納するロール状物の芯管の内径と径がほぼ等しい芯管保持部とを有するキャップが端面板の保持孔に嵌着されることを特徴とする請求項1に記載のロール状物用組立容器。
  3. 周面板の両横側面の幅の和は中央面の幅より大きく、
    端面板の上下縁のいずれか一方の縁に設けられたスリットは、このスリットに対向する他方の縁に設けられたスリットと、周面板約1枚分の厚みだけずらして設けられていることを特徴とする請求項1又は請求項2に記載のロール状物用組立容器。
  4. 周面板及び端面板がプラスチックダンボール製であり、スリットはプラスチックダンボールのリブと平行に、且つリブを切り欠かないように形成されていることを特徴とする請求項1乃至請求項3のいずれか1項に記載のロール状物用組立容器。
JP2008201478A 2008-08-05 2008-08-05 ロール状物用組立容器 Active JP5183347B2 (ja)

Priority Applications (1)

Application Number Priority Date Filing Date Title
JP2008201478A JP5183347B2 (ja) 2008-08-05 2008-08-05 ロール状物用組立容器

Applications Claiming Priority (1)

Application Number Priority Date Filing Date Title
JP2008201478A JP5183347B2 (ja) 2008-08-05 2008-08-05 ロール状物用組立容器

Publications (2)

Publication Number Publication Date
JP2010036953A true JP2010036953A (ja) 2010-02-18
JP5183347B2 JP5183347B2 (ja) 2013-04-17

Family

ID=42009909

Family Applications (1)

Application Number Title Priority Date Filing Date
JP2008201478A Active JP5183347B2 (ja) 2008-08-05 2008-08-05 ロール状物用組立容器

Country Status (1)

Country Link
JP (1) JP5183347B2 (ja)

Cited By (2)

* Cited by examiner, † Cited by third party
Publication number Priority date Publication date Assignee Title
CN102874478A (zh) * 2012-09-19 2013-01-16 铜陵其利电子材料有限公司 金属化薄膜卷支撑装置
CN107380621A (zh) * 2017-08-17 2017-11-24 广东美的暖通设备有限公司 包装箱

Citations (6)

* Cited by examiner, † Cited by third party
Publication number Priority date Publication date Assignee Title
JP3047494U (ja) * 1997-09-25 1998-04-14 株式会社ニューかいか 組立式食品包装容器
JP2002080087A (ja) * 2000-09-08 2002-03-19 Kawatake Electronics Co Ltd ロール状物品のコンテナ
JP3088236U (ja) * 2002-01-07 2002-09-06 株式会社エコロジー開発 ロール状製品搬送支持具
JP2002284281A (ja) * 2001-03-28 2002-10-03 Matsushita Electric Ind Co Ltd 巻き軸付きロール状巻回物の収納装置
JP2003054557A (ja) * 2001-08-08 2003-02-26 Nippon Matai Co Ltd ロール品収容用段ボールボックス
JP2005096810A (ja) * 2003-09-25 2005-04-14 Dainippon Printing Co Ltd 電極板テープロールの製造方法

Patent Citations (6)

* Cited by examiner, † Cited by third party
Publication number Priority date Publication date Assignee Title
JP3047494U (ja) * 1997-09-25 1998-04-14 株式会社ニューかいか 組立式食品包装容器
JP2002080087A (ja) * 2000-09-08 2002-03-19 Kawatake Electronics Co Ltd ロール状物品のコンテナ
JP2002284281A (ja) * 2001-03-28 2002-10-03 Matsushita Electric Ind Co Ltd 巻き軸付きロール状巻回物の収納装置
JP2003054557A (ja) * 2001-08-08 2003-02-26 Nippon Matai Co Ltd ロール品収容用段ボールボックス
JP3088236U (ja) * 2002-01-07 2002-09-06 株式会社エコロジー開発 ロール状製品搬送支持具
JP2005096810A (ja) * 2003-09-25 2005-04-14 Dainippon Printing Co Ltd 電極板テープロールの製造方法

Cited By (2)

* Cited by examiner, † Cited by third party
Publication number Priority date Publication date Assignee Title
CN102874478A (zh) * 2012-09-19 2013-01-16 铜陵其利电子材料有限公司 金属化薄膜卷支撑装置
CN107380621A (zh) * 2017-08-17 2017-11-24 广东美的暖通设备有限公司 包装箱

Also Published As

Publication number Publication date
JP5183347B2 (ja) 2013-04-17

Similar Documents

Publication Publication Date Title
JP4898038B2 (ja) 樹脂製箱
JP5099149B2 (ja) 梱包装容器
JP5183347B2 (ja) ロール状物用組立容器
WO2005092738A1 (ja) 緩衝包装材
KR101061587B1 (ko) 포장용 상자
JP5466069B2 (ja) 包装ケース
JP4940450B2 (ja) セパレート型外装箱
JP5864225B2 (ja) ロール製品用ケース
JP2003192081A (ja) 電子材料フィルムロールの梱包装容器及び梱包装方法
KR100888759B1 (ko) 포장용 박스 및 박스제조용 블랭크
KR20090008102U (ko) 포장재
JP3139765U (ja) トナー収納用容器のための緩衝保持容器
JP3191352U (ja) 輸送用梱包容器
JPH0920329A (ja) 折りたたみ可能な容器
JP6120485B2 (ja) ロール製品用プロテクター
JP2004301920A (ja) ロール状感光材料の包装用コンテナ
US10717563B2 (en) Reusable bulk-sized shipping box
JP6332613B2 (ja) 輸送用梱包容器
JP2005247357A (ja) 通い箱
JP4634876B2 (ja) 合成樹脂製の折り畳み箱
JP4475636B2 (ja) 折り畳み式箱体
KR200273128Y1 (ko) 원터치 4면 접착식 상자
JPH05147683A (ja) 収納容器
KR20230016269A (ko) 포장 박스
KR20240112608A (ko) 보온 및 보냉기능을 갖는 포장상자

Legal Events

Date Code Title Description
A621 Written request for application examination

Free format text: JAPANESE INTERMEDIATE CODE: A621

Effective date: 20110627

A977 Report on retrieval

Free format text: JAPANESE INTERMEDIATE CODE: A971007

Effective date: 20121019

A131 Notification of reasons for refusal

Free format text: JAPANESE INTERMEDIATE CODE: A131

Effective date: 20121106

A521 Request for written amendment filed

Free format text: JAPANESE INTERMEDIATE CODE: A523

Effective date: 20121127

TRDD Decision of grant or rejection written
A01 Written decision to grant a patent or to grant a registration (utility model)

Free format text: JAPANESE INTERMEDIATE CODE: A01

Effective date: 20121225

A61 First payment of annual fees (during grant procedure)

Free format text: JAPANESE INTERMEDIATE CODE: A61

Effective date: 20130115

R150 Certificate of patent or registration of utility model

Free format text: JAPANESE INTERMEDIATE CODE: R150

Ref document number: 5183347

Country of ref document: JP

Free format text: JAPANESE INTERMEDIATE CODE: R150

FPAY Renewal fee payment (event date is renewal date of database)

Free format text: PAYMENT UNTIL: 20160125

Year of fee payment: 3

R250 Receipt of annual fees

Free format text: JAPANESE INTERMEDIATE CODE: R250

R250 Receipt of annual fees

Free format text: JAPANESE INTERMEDIATE CODE: R250

R250 Receipt of annual fees

Free format text: JAPANESE INTERMEDIATE CODE: R250

RD02 Notification of acceptance of power of attorney

Free format text: JAPANESE INTERMEDIATE CODE: R3D02

R250 Receipt of annual fees

Free format text: JAPANESE INTERMEDIATE CODE: R250

R250 Receipt of annual fees

Free format text: JAPANESE INTERMEDIATE CODE: R250

R250 Receipt of annual fees

Free format text: JAPANESE INTERMEDIATE CODE: R250

R250 Receipt of annual fees

Free format text: JAPANESE INTERMEDIATE CODE: R250

R250 Receipt of annual fees

Free format text: JAPANESE INTERMEDIATE CODE: R250

R250 Receipt of annual fees

Free format text: JAPANESE INTERMEDIATE CODE: R250

R250 Receipt of annual fees

Free format text: JAPANESE INTERMEDIATE CODE: R250

R250 Receipt of annual fees

Free format text: JAPANESE INTERMEDIATE CODE: R250