JP2010031939A - 電線固定部材 - Google Patents

電線固定部材 Download PDF

Info

Publication number
JP2010031939A
JP2010031939A JP2008193559A JP2008193559A JP2010031939A JP 2010031939 A JP2010031939 A JP 2010031939A JP 2008193559 A JP2008193559 A JP 2008193559A JP 2008193559 A JP2008193559 A JP 2008193559A JP 2010031939 A JP2010031939 A JP 2010031939A
Authority
JP
Japan
Prior art keywords
electric wire
main body
ring
ring main
flange
Prior art date
Legal status (The legal status is an assumption and is not a legal conclusion. Google has not performed a legal analysis and makes no representation as to the accuracy of the status listed.)
Granted
Application number
JP2008193559A
Other languages
English (en)
Other versions
JP5167012B2 (ja
Inventor
Mitsuhiro Matsumoto
光弘 松本
Hajime Kato
元 加藤
Setsu Tsukamoto
節 塚本
Current Assignee (The listed assignees may be inaccurate. Google has not performed a legal analysis and makes no representation or warranty as to the accuracy of the list.)
Yazaki Corp
Original Assignee
Yazaki Corp
Priority date (The priority date is an assumption and is not a legal conclusion. Google has not performed a legal analysis and makes no representation as to the accuracy of the date listed.)
Filing date
Publication date
Application filed by Yazaki Corp filed Critical Yazaki Corp
Priority to JP2008193559A priority Critical patent/JP5167012B2/ja
Priority to PCT/JP2009/061671 priority patent/WO2010013563A1/en
Priority to US13/000,584 priority patent/US8336834B2/en
Priority to EP09802808.7A priority patent/EP2318721A4/en
Publication of JP2010031939A publication Critical patent/JP2010031939A/ja
Application granted granted Critical
Publication of JP5167012B2 publication Critical patent/JP5167012B2/ja
Expired - Fee Related legal-status Critical Current
Anticipated expiration legal-status Critical

Links

Images

Classifications

    • FMECHANICAL ENGINEERING; LIGHTING; HEATING; WEAPONS; BLASTING
    • F16ENGINEERING ELEMENTS AND UNITS; GENERAL MEASURES FOR PRODUCING AND MAINTAINING EFFECTIVE FUNCTIONING OF MACHINES OR INSTALLATIONS; THERMAL INSULATION IN GENERAL
    • F16LPIPES; JOINTS OR FITTINGS FOR PIPES; SUPPORTS FOR PIPES, CABLES OR PROTECTIVE TUBING; MEANS FOR THERMAL INSULATION IN GENERAL
    • F16L3/00Supports for pipes, cables or protective tubing, e.g. hangers, holders, clamps, cleats, clips, brackets
    • F16L3/08Supports for pipes, cables or protective tubing, e.g. hangers, holders, clamps, cleats, clips, brackets substantially surrounding the pipe, cable or protective tubing
    • F16L3/12Supports for pipes, cables or protective tubing, e.g. hangers, holders, clamps, cleats, clips, brackets substantially surrounding the pipe, cable or protective tubing comprising a member substantially surrounding the pipe, cable or protective tubing
    • F16L3/1222Supports for pipes, cables or protective tubing, e.g. hangers, holders, clamps, cleats, clips, brackets substantially surrounding the pipe, cable or protective tubing comprising a member substantially surrounding the pipe, cable or protective tubing the member having the form of a closed ring, e.g. used for the function of two adjacent pipe sections
    • FMECHANICAL ENGINEERING; LIGHTING; HEATING; WEAPONS; BLASTING
    • F16ENGINEERING ELEMENTS AND UNITS; GENERAL MEASURES FOR PRODUCING AND MAINTAINING EFFECTIVE FUNCTIONING OF MACHINES OR INSTALLATIONS; THERMAL INSULATION IN GENERAL
    • F16LPIPES; JOINTS OR FITTINGS FOR PIPES; SUPPORTS FOR PIPES, CABLES OR PROTECTIVE TUBING; MEANS FOR THERMAL INSULATION IN GENERAL
    • F16L33/00Arrangements for connecting hoses to rigid members; Rigid hose-connectors, i.e. single members engaging both hoses
    • F16L33/02Hose-clips
    • F16L33/03Self-locking elastic clips
    • HELECTRICITY
    • H02GENERATION; CONVERSION OR DISTRIBUTION OF ELECTRIC POWER
    • H02GINSTALLATION OF ELECTRIC CABLES OR LINES, OR OF COMBINED OPTICAL AND ELECTRIC CABLES OR LINES
    • H02G3/00Installations of electric cables or lines or protective tubing therefor in or on buildings, equivalent structures or vehicles
    • H02G3/30Installations of cables or lines on walls, floors or ceilings
    • YGENERAL TAGGING OF NEW TECHNOLOGICAL DEVELOPMENTS; GENERAL TAGGING OF CROSS-SECTIONAL TECHNOLOGIES SPANNING OVER SEVERAL SECTIONS OF THE IPC; TECHNICAL SUBJECTS COVERED BY FORMER USPC CROSS-REFERENCE ART COLLECTIONS [XRACs] AND DIGESTS
    • Y10TECHNICAL SUBJECTS COVERED BY FORMER USPC
    • Y10TTECHNICAL SUBJECTS COVERED BY FORMER US CLASSIFICATION
    • Y10T24/00Buckles, buttons, clasps, etc.
    • Y10T24/14Bale and package ties, hose clamps
    • Y10T24/1457Metal bands

Landscapes

  • Engineering & Computer Science (AREA)
  • General Engineering & Computer Science (AREA)
  • Mechanical Engineering (AREA)
  • Architecture (AREA)
  • Civil Engineering (AREA)
  • Structural Engineering (AREA)
  • Details Of Connecting Devices For Male And Female Coupling (AREA)
  • Installation Of Indoor Wiring (AREA)
  • Connection Of Plates (AREA)
  • Clamps And Clips (AREA)

Abstract

【課題】組み付けが簡単で、部品点数が少なく、十分なラップ量の設定も可能で、さらに部品点数を少なくできる電線固定部材を提供する。
【解決手段】電線20を固定する電線固定バンド1において、リング状に形成し両端部が円周方向に交差した本体部2の一方の端部2aの先端に第1フランジ部3を、他方の端部2bの先端に第2フランジ部4を、他方の端部2bが一方の端部2aから離間する方向に凸部5を、他方の端部2bの先端よりも一方の端部よりに係止部6を、それぞれ設ける。
【選択図】図1

Description

本発明は、ワイヤーハーネス等の電線をハウジングに固定するための電線固定部材に関する。
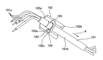
従来のワイヤーハーネスなどの電線が引っ張られた際の応力を加締め部等に伝えないために、電線中間部分をコネクタハウジング等の筐体に固定する構造を図11に示す。図11に示した構造は、電線101と、ハウジング102と、CS−RING103と、ストッパーRING104と、収縮チューブ105と、から構成されている。
電線101は、複数の被服電線101aが外側絶縁カバー101bで覆われ、被服電線の一端には、例えば、芯線を露出させて端子金具などが取り付けられる。ハウジング102は、絶縁性の合成樹脂などで略円筒状に形成される。ハウジング102の内部を貫通する孔は、大径部102aと、大径部102aよりも直径が小さい小径部102bと、が連なって構成され、大径部102aと小径部102bとの境界には段部102cが形成されている。
CS−RING103は、リング状に形成され、リングの内径は外側絶縁カバー101bの外径よりも大きい。また、CS−RING103は、リングの内側に向かって複数の凸部103aが形成されている。凸部103aは、各凸部103aの先端を結んだ円の径(凸内径)が外側絶縁カバー101bの外径よりも小さくなるように形成されている。ストッパーRING104は、リング状に形成され、リングの内径がCS−RING103の外径と略同一、かつ、外径がハウジング102の大径部102aと略同一となっている。収縮チューブ105は、外側絶縁カバー101bの外表面に取り付けられている。
CS−RING103は、ストッパーRING104の内径部に取り付けられて、電線101に組み付けられる。その後ハウジング102内へ段部102cにストッパーRING104の一方の側面が接するように取り付けられる。
また、電気伝導ケーブルを電気コネクタに固定する部材としては、特許文献1に記載のストレインリリーフが提案されている。
特開2005−534141号公報
しかしながら、図1に示した構造では、外側絶縁カバー101bの外径よりも小さい凸内径のCS−RING103を通さなければならないため常に圧入状態で作業することになり組み付けが困難である。また、組み付け性との兼ね合いからCS−RING103の凸部103aの大きさやラップ量には限界があり、十分なラップ量を設定することができない。また、図11の矢印A方向への移動規制は可能であるが逆方向への規制ができない。さらに、固定するためにCS−RING103とストッパーRING104の2つの部品が必要であり部品点数が多い。といった問題があった。
また、特許文献1に記載のストレインリリーフはオーバーモールドされるので、分解が困難であり何度も脱着を行うことはできないという問題がある。
そこで、本発明は、上記のような問題点に着目し、組み付けが簡単で、部品点数が少なく、十分なラップ量の設定も可能で、さらに部品点数を少なくできる電線固定部材を提供することを課題とする。
上記課題を解決するためになされた請求項1に記載の発明は、内側に電線を通して、ハウジング内に取り付けられることにより前記電線を前記ハウジングに固定する電線固定部材において、両端部が円周方向に交差してリング状をなすとともに前記両端部が接離することで拡縮自在のリング本体部と、前記両端部の先端から前記リング本体部の外周方向に立設した一対のフランジ部と、前記リング本体部から外周方向に突出し、円周方向に交差した両端部のうち他方の端部が一方の端部から離間する方向に配置された凸部と、前記他方の端部から突出し、前記リング本体部が縮径した際に前記一方の端部の先端から立設した一方の前記フランジ部に係止される係止部と、を備えたことを特徴とする電線固定部材である。
請求項2に記載の発明は、請求項1に記載の発明において、前記リング本体部の前記一方の端部にスリットを設け、前記スリットに前記他方の端部が進入して円周上に交差されていることを特徴とするものである。
請求項3に記載の発明は、請求項1または2に記載の発明において、前記電線を固定する爪部が、前記リング本体部の内周に向かって突出するとともに前記リング本体部の円周に沿って複数設けられていることを特徴とするものである。
請求項4に記載の発明は、請求項1乃至3のうちいずれか一項に記載の発明において、前記リング本体部の前記一方の端部と前記他方の端部との中間に前記リング本体部の外周方向に突出した前記ハウジングに固定される固定部が設けられていることを特徴とするものである。
以上説明したように請求項1に記載の発明によれば、一対のフランジ部を互いに接近させるようにしてリング本体部の外内径を拡径すれば電線を容易に通すことができるので組み付けが容易となる。また、他方の端部から立設したフランジ部と凸部とを互いに接近させるようにしてリング本体部の内外径を縮径すれば電線を強固に固定することができる。また、係止部によってリング本体部が中立状態に戻ることを阻止して前記した電線を固定する状態を保持することができる。また、固定を解除することが容易なため何度でも組み付けのやり直しが可能となる。さらに、1つの部材で電線の固定が可能となる。
請求項2に記載の発明によれば、請求項1に発明の効果に加えて、リング本体部の一方の端部に設けたスリットに他方の端部が進入して円周上に交差されることで、リング本体部のリング状態を保持し易くすることができる。
請求項3に記載の発明によれば、複数の爪部によってより確実に電線を固定することができ、十分なラップ量を得ることができる。
請求項4に記載の発明によれば、固定した電線がどの方向に移動しようとしても移動を規制することができるため確実にハウジング内に固定することができる。
以下、本発明の一実施形態にかかる電線固定部材としての電線固定バンドを図1ないし図10に基づいて説明する。図1は、本発明の一実施形態にかかる電線固定バンドの中立状態の斜視図である。図2は、図1のX−X線に沿う断面図である。図3は、図1に示された電線固定バンドの固定状態の斜視図である。図4は、図3のX−X線に沿う断面図である。本発明の一実施形態にかかる電線固定バンド1は、図1ないし図4に示すように本体部2に、第1フランジ部3と、第2フランジ部4と、凸部5と、係止部6と、爪部7と、固定部8と、を備えている。
リング本体部としての本体部2は、例えば帯板状の板金等を曲げる等してリング状に形成されている。また、本体部2は、リングが拡径(内外径が拡大)した際には挿入される電線の外径よりも大きく、後述する爪部7が電線に接触しない程度の大きさに形成されている。また、本体部2の他方の端部2bの幅は一方の端部2aの幅よりも狭く形成されている。また、本体部2の一方の端部2aにはスリット9が設けられており、後述する第2フランジ部4が進入して円周上に交差するように配置されている。従って、スリット9は他方の端部2aと略同じ幅かわずかに広く形成されており、さらに、スリット9は、本体部2が縮径(内外径が縮小)して係止部6が第1フランジ部3に係止されるまで第2フランジ部4が一方の端部2a方向に移動可能な長さに形成されている。すなわち、本体部2は両端部が円周方向に交差してリング状をなすとともに前記両端部が接離することで拡縮自在となっている。
一対のフランジ部としての第1フランジ部3は、本体部2の一方の端部2aの先端に本体部2の外周方向に向かって立設している。一対のフランジ部としての第2フランジ部4は、本体部2の他方の端部2bの先端に本体部2の外周方向に向かって立設している。
凸部5は、本体部2の一方の端部2aのスリット9よりも他方の端部2b寄りに設けられている。すなわち、本体部2の中立状態(外力を受けてなく弾性変形していない初期状態)で第2フランジ部4が第1のフランジ部3から離間する方向に配置されている。また、凸部5は、本体部2の他方の端部2b寄り(中央寄り)にコ字状に切れ目を入れて外周方向に折り曲げて突出している。
係止部6は、本体部2の他方の端部2bに設けられている。また、係止部6は、本体部2の一方の端部2a寄りにコ字状に切れ目を入れて外周方向に折り曲げて突出している。また、係止部6は、図1および図2に示すように本体部2が弾性変形していない中立状態の場合、第1フランジ部3を第2フランジ部4との間に位置するように設けられている。そして、図3および図4に示すように本体部2が縮径して固定状態(電線を固定している状態)の場合、係止部6が第1フランジ部3に係止されて第2フランジ部が第1フランジ部に接近して中立状態に戻るのを阻止する。
爪部7は、本体部2の両側面に円周に沿って複数設けられている。また、爪部7は、本体部2の内周に向かって突出している。
固定部8は、本体部2の一方の端部2aと他方の端部2bの中間に設けられている。中間とは、例えば図1ないし図4のように、第1、第2フランジ部が円周の上方に位置した際には下方近辺に位置することが望ましい。また、固定部8は、本体部2の他方の端部2b寄りにコ字状に切れ目を入れて外周方向に折り曲げて突出している。
次に、上述した構成の電線固定バンド1を用いた電線の固定手順について図5ないし図10を参照して説明する。
まず、図5に示すように、電線固定バンド1の第1フランジ部3と第2フランジ部4とをラジオペンチ30で挟み、第1フランジ部3と第2フランジ部4が互いに接するようにする。このようにすると、本体部2が拡径する方向に弾性変形する。なお、ラジオペンチ30は、特にラジオペンチ30に限らず、第1フランジ3と第2フランジ4とを挟んで互いに接するようにできる工具であればよい。
次に、図6に示すように、本体部2が拡径した状態の電線固定バンド1に電線20を挿入する。電線個定バンド1は、本体部2が拡径しているために電線20の外径よりも大きくなり容易に電線を挿入することができる。ここで、電線20は、従来技術と同様に複数の被服電線が外側絶縁カバーで覆われている。図6ないし図9は簡略化のため電線20の外側絶縁カバーで覆われた外表面部分のみを示す。
次に、図7に示すように、電線20の所定の位置に電線固定バンド1が位置付けられた時点で第1、第2フランジを離す。そうすると、本体部2が縮径する方向に弾性復元し中立状態に戻ろうとする。本体部2が弾性復元すると、爪部7が、電線20の外表面に軽く食い込み仮固定することができる。
次に、図8に示したように、第2フランジ部4と凸部5とをラジオペンチ30で挟み、第2フランジ部4と凸部5が互いに近づく(つまり、第1フランジ部3と第2フランジ部4とが離れる)ようにする。このようにすると、本体部2が縮径する方向に弾性変形し、係止部6が第1フランジ部4の付け根部分で押されて弾性変形しながら第1フランジ部3を通過する。
そして、図9に示したように、係止部6が第1フランジ部3を完全に通過した時点でラジオペンチ30を離すと、係止部6の先端部が第1フランジ部3の側面と接触して本体部2が中立状態に戻ろうとすることを阻止する。この時点で、爪部7は、図7に示した状態よりもより深く電線20に食い込むためにより強固に保持される。
上述した方向で電線20に取り付けられた電線固定バンド1は、図10に示すように例えば電線20内の被服電線を端子金具などに接続するコネクタハウジング40内の取り付け部40aに取り付けられる。取り付け部40aは、電線固定バンド1よりも幅(図10のW)が広く、かつ、内径(図10のH)が電線固定バンド1の第1フランジ部3、第2フランジ部4と固定部8を結ぶ円周よりも大きくなるように形成されている。また、取り付け部40aは、電線固定バンド1の幅方向に電線20が貫通できる孔があけられた壁が設けられているので、電線20が図10の矢印Cや矢印Dの方向に引っ張られても、固定部8や第1フランジ部3、第2フランジ部4と壁が接触して移動が規制される。
本実施形態によれば、電線20を固定する電線固定バンド1において、リング状に形成し両端部が円周方向に交差した本体部2の一方の端部2aの先端に第1フランジ部3を、他方の端部2bの先端に第2フランジ部4を、他方の端部2bが一方の端部2aから離間する方向に凸部5を、他方の端部2bの先端よりも一方の端部よりに係止部6を、それぞれ設けているので、まず、第1フランジ部3と第2フランジ部4とで本体部2を拡径することができので、電線20を容易に挿入することができる。また、第2フランジ部4と凸部5とで本端部2を縮径することができるので、電線20に電線固定バンド1を固定することができる。また、係止部6により本体部2が弾性変形して中立状態に戻ることを阻止して固定状態を保持することができる。さらに、1つの部材で電線の固定とハウジング内の固定をすることができるので部品点数を削減することができる。
また、本体部2の一方の端部2aにスリット9を設けて、スリット9に他方の端部2bが侵入して円周上に交差されているので、本体部2のリング状態を保持し易くすることができる。
また、複数の爪部7を本端部2の円周に沿って内周に向かって突出するように設けているので、爪部7を電線20の外表面に食い込ませて確実に固定することができる。また、爪部7の食い込み量を調整することで保持力(ラップ量)を調整することができる。
また、固定部8を一方の端部2aと他方の端部2bとの中間に設けたので、コネクタハウジング40内で電線20がどちらの方向に引っ張られても移動を規制することができる。
なお、本発明は上記実施形態に限定されるものではない。即ち、本発明の骨子を逸脱しない範囲で種々変形して実施することができる。
本発明の一実施形態にかかる電線固定バンドの中立状態の斜視図である。 図1のX−X線に沿う断面図である。 図1に示された電線固定バンドの固定状態の斜視図である。 図3のX−X線に沿う断面図である。 図1に示された相手方コネクタの斜視図である。 図1に示された電線固定バンドを用いた電線の固定手順の説明図である。 図1に示された電線固定バンドを用いた電線の固定手順の説明図である。 図1に示された電線固定バンドを用いた電線の固定手順の説明図である。 図1に示された電線固定バンドを用いた電線の固定手順の説明図である。 図1に示された電線固定バンドを用いた電線のコネクタハウジング内の固定状態の一部断面図である。 従来の電線の固定方法を示した一部断面図である。
符号の説明
1 電線固定バンド(電線固定部材)
2 本体部(リング本体部)
2a 一方の端部
2b 他方の端部
3 第1フランジ部(一対のフランジ部)
4 第2フランジ部(一対のフランジ部)
5 凸部
6 係止部
7 爪部
8 固定部
9 スリット

Claims (4)

  1. 内側に電線を通して、ハウジング内に取り付けられることにより前記電線を前記ハウジングに固定する電線固定部材において、
    両端部が円周方向に交差してリング状をなすとともに前記両端部が接離することで拡縮自在のリング本体部と、
    前記両端部の先端から前記リング本体部の外周方向に立設した一対のフランジ部と、
    前記リング本体部から外周方向に突出し、円周方向に交差した両端部のうち他方の端部が一方の端部から離間する方向に配置された凸部と、
    前記他方の端部から突出し、前記リング本体部が縮径した際に前記一方の端部の先端から立設した一方の前記フランジ部に係止される係止部と、
    を備えたことを特徴とする電線固定部材。
  2. 前記リング本体部の前記一方の端部にスリットを設け、前記スリットに前記他方の端部が進入して円周上に交差されていることを特徴とする請求項1に記載の電線固定部材。
  3. 前記電線を固定する爪部が、前記リング本体部の内周に向かって突出するとともに前記リング本体部の円周に沿って複数設けられていることを特徴とする請求項1または2に記載の電線固定部材。
  4. 前記リング本体部の前記一方の端部と前記他方の端部との中間に前記リング本体部の外周方向に突出した前記ハウジングに固定される固定部が設けられていることを特徴とする請求項1乃至3のうちいずれか一項に記載の電線固定部材。
JP2008193559A 2008-07-28 2008-07-28 電線固定部材 Expired - Fee Related JP5167012B2 (ja)

Priority Applications (4)

Application Number Priority Date Filing Date Title
JP2008193559A JP5167012B2 (ja) 2008-07-28 2008-07-28 電線固定部材
PCT/JP2009/061671 WO2010013563A1 (en) 2008-07-28 2009-06-19 Electrical wire fixing member
US13/000,584 US8336834B2 (en) 2008-07-28 2009-06-19 Electrical wire fixing member
EP09802808.7A EP2318721A4 (en) 2008-07-28 2009-06-19 Electrical wire fixing member

Applications Claiming Priority (1)

Application Number Priority Date Filing Date Title
JP2008193559A JP5167012B2 (ja) 2008-07-28 2008-07-28 電線固定部材

Publications (2)

Publication Number Publication Date
JP2010031939A true JP2010031939A (ja) 2010-02-12
JP5167012B2 JP5167012B2 (ja) 2013-03-21

Family

ID=41610266

Family Applications (1)

Application Number Title Priority Date Filing Date
JP2008193559A Expired - Fee Related JP5167012B2 (ja) 2008-07-28 2008-07-28 電線固定部材

Country Status (4)

Country Link
US (1) US8336834B2 (ja)
EP (1) EP2318721A4 (ja)
JP (1) JP5167012B2 (ja)
WO (1) WO2010013563A1 (ja)

Cited By (3)

* Cited by examiner, † Cited by third party
Publication number Priority date Publication date Assignee Title
JP2012249427A (ja) * 2011-05-27 2012-12-13 Yazaki Corp ワイヤハーネス保持クリップ、ワイヤハーネス、およびワイヤハーネスの製造方法
JP2013520763A (ja) * 2010-02-22 2013-06-06 タイコ エレクトロニクス アンプ ゲゼルシャフト ミット ベシュレンクテル ハウツンク シールドケーブルの一端に取り付ける接触手段
JP2013525667A (ja) * 2010-04-21 2013-06-20 デルファイ・テクノロジーズ・インコーポレーテッド 封止環

Families Citing this family (10)

* Cited by examiner, † Cited by third party
Publication number Priority date Publication date Assignee Title
USD692294S1 (en) * 2011-10-27 2013-10-29 Hilti Aktiengesellschaft Riser clamp
US8857084B2 (en) 2013-05-20 2014-10-14 Gary Courter Mobile advertising displays
FR3007187B1 (fr) * 2013-06-17 2015-06-26 Technicatome Dispositif de maintien elastique de tubes de guidage d'un reacteur nucleaire de recherche
JP6012556B2 (ja) * 2013-07-02 2016-10-25 株式会社東郷製作所 ホースクランプ
US10720877B2 (en) * 2016-02-25 2020-07-21 Solarcity Corporation Photovoltaic mounting system for solar tracker array
GB2559392B (en) * 2017-02-03 2019-05-22 Hcl Fasteners Ltd Fasteners
US10393290B2 (en) * 2017-05-22 2019-08-27 Erico International Corporation Clamp for circular objects
EP3501906B1 (en) * 2017-12-19 2021-04-14 Vitesco Technologies GmbH Fixing bracket, combination, arrangement and method of manufacturing
US11043246B2 (en) 2019-04-18 2021-06-22 Samsung Electronics Co, Ltd. Memory modules including a mirroring circuit and methods of operating the same
US20210123280A1 (en) * 2019-10-28 2021-04-29 Schlage Lock Company Llc Door operator armature connections

Citations (12)

* Cited by examiner, † Cited by third party
Publication number Priority date Publication date Assignee Title
JPS5667233U (ja) * 1979-10-31 1981-06-04
JPH0573308U (ja) * 1992-03-11 1993-10-08 株式会社アカギ ナット
JPH1137367A (ja) * 1997-07-25 1999-02-12 Nhk Spring Co Ltd ブーツバンド
JP2000018459A (ja) * 1998-07-02 2000-01-18 Togo Seisakusho Corp ホースクリップ
JP2004329000A (ja) * 2004-08-27 2004-11-18 Traders Japan:Kk コード結束装置およびコード結束方法
JP2006010059A (ja) * 2004-05-25 2006-01-12 Mirai Ind Co Ltd 管類又はケーブル類の保持具及び該保持具を構成する取着体
JP2006038092A (ja) * 2004-07-27 2006-02-09 Togo Seisakusho Corp ホースクランプ
JP2006046484A (ja) * 2004-08-04 2006-02-16 Togo Seisakusho Corp ホースクランプの保持構造及びホースクランプ用保持具並びにホースクランプ
JP2007040379A (ja) * 2005-08-02 2007-02-15 Togo Seisakusho Corp クリップ
WO2007108155A1 (ja) * 2006-03-17 2007-09-27 Piolax Inc. ホースクランプ
JP2008095780A (ja) * 2006-10-10 2008-04-24 Murata Hatsujo Kk ホースクランプ
JP2008135277A (ja) * 2006-11-28 2008-06-12 Sumitomo Wiring Syst Ltd 電線保持具

Family Cites Families (28)

* Cited by examiner, † Cited by third party
Publication number Priority date Publication date Assignee Title
JPS5623775U (ja) * 1979-07-30 1981-03-03
FR2598473B2 (fr) * 1986-02-25 1988-12-02 Caillau Ets Collier de serrage.
US4713863A (en) * 1987-01-20 1987-12-22 Triad Metal Products Company Reuseable clamp with an outwardly projecting ear on each opposing end and having a hook shaped projection on one ear adapted for interlocking coaction with an opening in the other ear
FR2617266B1 (fr) * 1987-06-23 1989-12-22 Caillau Ets Collier de serrage
JPH0616202Y2 (ja) * 1987-08-12 1994-04-27 株式会社東郷製作所 ホ−ス締付用クリップ
US4882814A (en) * 1988-05-20 1989-11-28 Kato Hatsujo Kaisha, Ltd. Hose clamp furnished with tacking function
DE3832875C1 (ja) * 1988-09-28 1989-08-24 Fa. Muhr Und Bender, 5952 Attendorn, De
DE3900190A1 (de) * 1989-01-05 1990-07-12 Rasmussen Gmbh Federbandschelle
DE3906636A1 (de) * 1989-03-02 1990-09-13 Rasmussen Gmbh Schlauchschelle
US5261145A (en) * 1991-02-19 1993-11-16 Triad Metal Products Company Self-actuating louvered clamp
US5533696A (en) * 1991-07-03 1996-07-09 Erico International Corp. Conduit clip
DE4441439C2 (de) * 1994-11-23 1996-10-02 Muhr & Bender Schlauchklemme mit Überdehnungsschutzeinrichtung
US5921520A (en) * 1995-08-03 1999-07-13 Wisniewski; David M. Bracket for mounting a fuel filter
DE19539440C1 (de) * 1995-10-24 1997-04-03 Rasmussen Gmbh Federbandschelle
GB2326920A (en) * 1997-07-01 1999-01-06 Rasmussen Gmbh Clamp for clamping a hose on a pipe portion
US5819376A (en) 1997-12-24 1998-10-13 Barnes Group Inc. Hose clamp
JP2000018549A (ja) * 1998-06-25 2000-01-18 Hitachi Ltd 焼却プラント運転制御方法及び運転制御装置
US6126119A (en) * 1998-11-09 2000-10-03 Giangrasso; Anthony Pipe support insulation holder
JP4243744B2 (ja) * 1999-03-02 2009-03-25 株式会社東郷製作所 位置決め具付きホースクリップ
FR2794819B1 (fr) * 1999-06-08 2001-09-07 Caillau Ets Collier de serrage
US6473943B1 (en) * 2000-08-31 2002-11-05 Dayco Products, Inc. Hose clamp
ES2231095T3 (es) * 2000-09-26 2005-05-16 Hans Oetiker Ag Maschinen- Und Apparatefabrik Abrazadera de tubo flexible.
EP1245891A1 (de) * 2001-03-26 2002-10-02 Hans Oetiker AG Maschinen- und Apparatefabrik Schlauchklemme
US20030159255A1 (en) * 2002-02-28 2003-08-28 Senovich Craig A. Clamp retention device
US6811441B2 (en) * 2002-05-10 2004-11-02 Fci Americas Technology, Inc. Electrical cable strain relief and electrical closure
JP4403728B2 (ja) * 2003-06-11 2010-01-27 日本発條株式会社 ブーツバンド
JP3799343B2 (ja) * 2003-07-09 2006-07-19 株式会社ケンロック 2重渦巻き型クランプ金具
USD571195S1 (en) * 2003-10-29 2008-06-17 Codan Gummi A/S Clamp for holding pipes and the like

Patent Citations (12)

* Cited by examiner, † Cited by third party
Publication number Priority date Publication date Assignee Title
JPS5667233U (ja) * 1979-10-31 1981-06-04
JPH0573308U (ja) * 1992-03-11 1993-10-08 株式会社アカギ ナット
JPH1137367A (ja) * 1997-07-25 1999-02-12 Nhk Spring Co Ltd ブーツバンド
JP2000018459A (ja) * 1998-07-02 2000-01-18 Togo Seisakusho Corp ホースクリップ
JP2006010059A (ja) * 2004-05-25 2006-01-12 Mirai Ind Co Ltd 管類又はケーブル類の保持具及び該保持具を構成する取着体
JP2006038092A (ja) * 2004-07-27 2006-02-09 Togo Seisakusho Corp ホースクランプ
JP2006046484A (ja) * 2004-08-04 2006-02-16 Togo Seisakusho Corp ホースクランプの保持構造及びホースクランプ用保持具並びにホースクランプ
JP2004329000A (ja) * 2004-08-27 2004-11-18 Traders Japan:Kk コード結束装置およびコード結束方法
JP2007040379A (ja) * 2005-08-02 2007-02-15 Togo Seisakusho Corp クリップ
WO2007108155A1 (ja) * 2006-03-17 2007-09-27 Piolax Inc. ホースクランプ
JP2008095780A (ja) * 2006-10-10 2008-04-24 Murata Hatsujo Kk ホースクランプ
JP2008135277A (ja) * 2006-11-28 2008-06-12 Sumitomo Wiring Syst Ltd 電線保持具

Cited By (3)

* Cited by examiner, † Cited by third party
Publication number Priority date Publication date Assignee Title
JP2013520763A (ja) * 2010-02-22 2013-06-06 タイコ エレクトロニクス アンプ ゲゼルシャフト ミット ベシュレンクテル ハウツンク シールドケーブルの一端に取り付ける接触手段
JP2013525667A (ja) * 2010-04-21 2013-06-20 デルファイ・テクノロジーズ・インコーポレーテッド 封止環
JP2012249427A (ja) * 2011-05-27 2012-12-13 Yazaki Corp ワイヤハーネス保持クリップ、ワイヤハーネス、およびワイヤハーネスの製造方法

Also Published As

Publication number Publication date
US20110108680A1 (en) 2011-05-12
EP2318721A4 (en) 2017-05-17
EP2318721A1 (en) 2011-05-11
WO2010013563A1 (en) 2010-02-04
JP5167012B2 (ja) 2013-03-21
US8336834B2 (en) 2012-12-25

Similar Documents

Publication Publication Date Title
JP5167012B2 (ja) 電線固定部材
JP6508015B2 (ja) ワイヤーハーネス、電線保護部材及び電線ホルダ
US9625659B2 (en) Optical connector
WO2013186947A1 (ja) グロメット及びグロメット付ワイヤーハーネス
JP5535805B2 (ja) 電気接続箱
CN106329260A (zh) 线束
US10211613B2 (en) Protective tube attaching method
JPWO2012033057A1 (ja) 係合部材付き光ファイバーケーブル
WO2018190096A1 (ja) ワイヤハーネス
JP4856005B2 (ja) シールドコネクタ
EP1791222A1 (en) A resilient plug and a watertight connector
JP2000077131A (ja) コネクタ
JP5840867B2 (ja) チューブ固定構造及びチューブ固定方法
JP6549795B2 (ja) バネ組立体及びその製造方法
JP4392381B2 (ja) シールドコネクタ
JP4374326B2 (ja) シールドコネクタ
JP6298610B2 (ja) シールド構造
JP7602517B2 (ja) ワイヤハーネス
JP2013236458A (ja) クランプ
WO2015092830A1 (ja) コルゲートチューブの保持部材
JP2017118743A (ja) グロメットおよび配線モジュール
JP2000138078A (ja) 高圧電線用接続端子
JP2019035473A (ja) クランプ
JP4980972B2 (ja) 同軸ケーブルかしめリング
JP6740695B2 (ja) スリーブ部材

Legal Events

Date Code Title Description
A621 Written request for application examination

Free format text: JAPANESE INTERMEDIATE CODE: A621

Effective date: 20110527

TRDD Decision of grant or rejection written
A01 Written decision to grant a patent or to grant a registration (utility model)

Free format text: JAPANESE INTERMEDIATE CODE: A01

Effective date: 20121204

A61 First payment of annual fees (during grant procedure)

Free format text: JAPANESE INTERMEDIATE CODE: A61

Effective date: 20121221

FPAY Renewal fee payment (event date is renewal date of database)

Free format text: PAYMENT UNTIL: 20151228

Year of fee payment: 3

R150 Certificate of patent or registration of utility model

Ref document number: 5167012

Country of ref document: JP

Free format text: JAPANESE INTERMEDIATE CODE: R150

Free format text: JAPANESE INTERMEDIATE CODE: R150

R250 Receipt of annual fees

Free format text: JAPANESE INTERMEDIATE CODE: R250

R250 Receipt of annual fees

Free format text: JAPANESE INTERMEDIATE CODE: R250

R250 Receipt of annual fees

Free format text: JAPANESE INTERMEDIATE CODE: R250

R250 Receipt of annual fees

Free format text: JAPANESE INTERMEDIATE CODE: R250

R250 Receipt of annual fees

Free format text: JAPANESE INTERMEDIATE CODE: R250

LAPS Cancellation because of no payment of annual fees