JP2010030336A - 車両用照明装置 - Google Patents
車両用照明装置 Download PDFInfo
- Publication number
- JP2010030336A JP2010030336A JP2008191819A JP2008191819A JP2010030336A JP 2010030336 A JP2010030336 A JP 2010030336A JP 2008191819 A JP2008191819 A JP 2008191819A JP 2008191819 A JP2008191819 A JP 2008191819A JP 2010030336 A JP2010030336 A JP 2010030336A
- Authority
- JP
- Japan
- Prior art keywords
- light
- guide plate
- light guide
- led lamp
- lighting device
- Prior art date
- Legal status (The legal status is an assumption and is not a legal conclusion. Google has not performed a legal analysis and makes no representation as to the accuracy of the status listed.)
- Granted
Links
- 238000005286 illumination Methods 0.000 claims abstract description 11
- 238000009792 diffusion process Methods 0.000 claims description 21
- 238000013461 design Methods 0.000 abstract description 8
- 239000000758 substrate Substances 0.000 description 10
- 230000000694 effects Effects 0.000 description 5
- 229920005668 polycarbonate resin Polymers 0.000 description 5
- 239000004431 polycarbonate resin Substances 0.000 description 5
- 239000011347 resin Substances 0.000 description 5
- 229920005989 resin Polymers 0.000 description 5
- 238000000034 method Methods 0.000 description 4
- 230000008569 process Effects 0.000 description 4
- 239000004925 Acrylic resin Substances 0.000 description 3
- 229920000178 Acrylic resin Polymers 0.000 description 3
- OAICVXFJPJFONN-UHFFFAOYSA-N Phosphorus Chemical compound [P] OAICVXFJPJFONN-UHFFFAOYSA-N 0.000 description 3
- 238000005520 cutting process Methods 0.000 description 3
- 230000006872 improvement Effects 0.000 description 3
- 230000004048 modification Effects 0.000 description 3
- 238000012986 modification Methods 0.000 description 3
- 230000009467 reduction Effects 0.000 description 3
- 238000007789 sealing Methods 0.000 description 3
- 238000005422 blasting Methods 0.000 description 2
- 238000006243 chemical reaction Methods 0.000 description 2
- 210000000078 claw Anatomy 0.000 description 2
- 239000013078 crystal Substances 0.000 description 2
- 238000004049 embossing Methods 0.000 description 2
- 239000000463 material Substances 0.000 description 2
- 230000003287 optical effect Effects 0.000 description 2
- XUIMIQQOPSSXEZ-UHFFFAOYSA-N Silicon Chemical compound [Si] XUIMIQQOPSSXEZ-UHFFFAOYSA-N 0.000 description 1
- 239000000919 ceramic Substances 0.000 description 1
- 239000003086 colorant Substances 0.000 description 1
- 238000007796 conventional method Methods 0.000 description 1
- 239000011521 glass Substances 0.000 description 1
- 238000009434 installation Methods 0.000 description 1
- 238000004519 manufacturing process Methods 0.000 description 1
- 230000007246 mechanism Effects 0.000 description 1
- 239000002184 metal Substances 0.000 description 1
- 238000000465 moulding Methods 0.000 description 1
- 238000012545 processing Methods 0.000 description 1
- 239000010703 silicon Substances 0.000 description 1
- 229910052710 silicon Inorganic materials 0.000 description 1
- 238000003860 storage Methods 0.000 description 1
- 238000004381 surface treatment Methods 0.000 description 1
- 238000002834 transmittance Methods 0.000 description 1
- 239000012780 transparent material Substances 0.000 description 1
Images
Landscapes
- Arrangements Of Lighting Devices For Vehicle Interiors, Mounting And Supporting Thereof, Circuits Therefore (AREA)
- Planar Illumination Modules (AREA)
- Lighting Device Outwards From Vehicle And Optical Signal (AREA)
Abstract
【解決手段】車両ドアの下縁に設けられ、該車両ドアが開放された状態において点灯し、路面を照明する車両用照明装置であって、LEDランプと、下面が前記車両ドアの下縁に平行となるように配置される平板状の導光板であって、端面が前記LEDランプに対向して入射部となり、下面と対向する上面において前記入射部から離れる方向に連続的に並ぶ溝が形成され、下面が光放出面となる導光板と、を備え、前記溝の前記端面側の壁面における界面が、前記入射部から入射した光を全反射して前記下面方向の光を生成し、前記溝は、前記入射部から遠いものほど深い、車両用照明装置とする。
【選択図】図6
Description
ところで、車両ドアにはカーテシランプやドア開放時の後方表示用ランプの他に、ドアポケット、ドアハンドル、ドアロック機構、ドアウィンドウ、スイッチ類など、様々な部材が設けられる。ドアポケット等は使用者の使い勝手を考慮して所望の大きさで所望の位置に設けることが好ましい。しかし、カーテシランプを備える車両では、カーテシランプの設置領域を確保するためにドアポケットの形状を調整する必要があり、ドアポケットの設計自由度が低下していた。具体的には、ドアポケットの底部に凸部を設けて、その内板側にカーテシランプを収容したりしていた。このように調整されたドアポケットによると、収納容量が低下し、使い勝手が低下していた。そこで、ドアポケットの設計自由度を高め、ドアポケットの容量を確保して使い勝手を向上するために、カーテシランプの小型化が要請されている。
そこで、本発明は、車両ドアの下縁に設けられる車両用照明装置において、見栄えが良く、意匠性の高い構成を提供することを目的の一つとする。さらに、車両ドアの下縁に設けられる車両用照明装置において、小型化を達成することを目的の一つとする。
車両ドアの下縁に設けられ、該車両ドアが開放された状態において点灯し、路面を照明する車両用照明装置であって、
LEDランプと、
下面が前記車両ドアの下縁に平行となるように配置される平板状の導光板であって、端面が前記LEDランプに対向して入射部となり、下面と対向する上面において前記入射部から離れる方向に連続的に並ぶ溝が形成され、下面が光放出面となる導光板と、
を備え、
前記溝の前記端面側の壁面における界面が、前記入射部から入射した光を全反射して前記下面方向の光を生成し、
前記溝は、前記入射部から遠いものほど深い、車両用照明装置である。
本発明の車両用照明装置を車両ドアの下縁側から観察すると、すべての溝の端面側の壁面にLEDランプが映り込むため、複数の擬似発光点として観察される。これにより、見栄えが良くなり、意匠性が向上する。また、透明体である導光板を介して、その一部で反射された光が観察されることから、特有のクリスタル感と奥行き感が生じる。従来の技術では、アウターレンズにレンズカット等を施してLEDランプが直接視認されることを防止するためには、アウターレンズとLEDランプとの間に十分な距離を設ける必要がある。これに対して、本発明の構成では、導光板に設けた溝による全反射を利用することで、上記のように複数の擬似発光点を生じ、光源が直接観察されない。従って、アウターレンズ(導光板)にレンズカット等を施す必要がない。また、LEDランプとアウターレンズ(導光板)との距離を十分に設ける必要もないため、装置を小型化できる。
車両ドアの下縁に設けられ、該車両ドアが開放された状態において点灯し、路面を照明する車両用照明装置であって、
LEDランプと、
下面が前記車両ドアの下縁に平行となるように配置される平板状の導光板であって、上面の一部が前記LEDランプに対向して入射部となり、前記入射部から入射した光を反射して前記下面に平行な光を生成する反射面を備え、前記入射部を除く上面には前記入射部から離れる方向に連続的に並ぶ溝が形成され、下面が光放出面となる導光板と、
を備え、
前記溝の前記反射面側の壁面における界面が、前記反射面が反射した光を全反射して前記下面方向の光を生成し、
前記溝は、前記入射部から遠いものほど深い、車両用照明装置である。
本発明の車両用照明装置では光源としてLEDランプを使用する。LEDランプは小型であること、駆動電力が小さいこと、発熱量が少ないこと、長寿命であることなど様々な利点を有する。LEDランプの種類は特に限定されず、表面実装(SMD)タイプ、砲弾タイプ(レンズタイプ)、チップオンボード(COB)タイプ等、種々のタイプのLEDランプを採用できる。中でもSMDタイプを採用することが好ましい。SMDタイプは小型であるため、装置の薄型化、小型化に寄与するからである。また、砲弾タイプ、COBタイプ等では、その表面が凸状に形成されて放出光が集光するため、光源の指向性が高くなりすぎる。一方、SMDタイプでは、通常、パッケージ内の反射部が白色樹脂又は白色のセラミックで形成されており、放出光が当該反射部で拡散反射されるため、光源の指向性が低い。本発明ではLEDランプの光が広範囲に照射されることが好ましいため、光源の指向性が低いことが好ましい。この観点からもSMDタイプのLEDランプを採用することが好ましい。さらにLEDランプは、SMDタイプの中でも、光放出面が平面、又は、封止樹脂の表面張力で凹む程度の凹状面であるものがさらに好ましい。指向性が一層低くなるからである。SMDタイプのLEDランプを使用する場合、上面発光型(トップビュー型)及び側面発光型(サイドビュー型)の内、トップビュー型であることが好ましい。トップビュー型のLEDランプを使用すれば、LEDランプの光を後述の導光板に好適に入射させることができるからである。
LEDランプの発光色は任意に選択できる。例えば、白、赤、アンバー、緑、青等の可視領域の発光波長を有するLEDランプを採用できる。LEDチップの光の一部を蛍光体で波長変換し、LEDチップの光と蛍光とが混合した光を放射するLEDランプを使用することもできる。蛍光体は例えばLEDランプの封止樹脂に含有させることができる。封止樹脂の表面に蛍光体を含む層を設けてもよい。
一方、導光板の上面にLEDランプを対向させて上面の一部を入射部とすることもできる。この場合はさらに、入射部から入射して光を反射して導光板の下面に略平行な方向に進行する光を生成する反射面を設ける。かかる反射面は導光板の端面を傾斜させて当該反射面として利用することができる。また、別途金属板などを使用して反射面を形成してもよい。
以上のように、いずれの場合も入射部から入射したLEDランプの光は導光板の延在方向に進行する。
一方、当該溝の、入射部となる端面と反対側の壁面は、下面に対して垂直であることが好ましい。迷光を再入射し、光のロスが減少するからである。
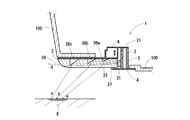
ホルダー4は車両ドア100への取り付け用の係止ヅメ45を二個と、リブ46を一個備える。車両用照明装置1を車両ドア100に取り付ける際は、まずリブ46を車両ドア100の下縁に設けられる溝(図示せず)に嵌入した後、リブ46が当接する部位を回転軸として回動させて、係止ヅメ45を車両ドア100の下縁に設けられる係止孔(図示せず)に係止する。これにより、車両用照明装置1を車両ドア100に簡便に取り付けることができる。
同様に、図5Bに示すB?B線位置においても、界面36d、36e、36fは入射部31から遠いものほど、下面33に近く、かつ、傾斜角が大きい。また、界面36d、36e、36fは上記関係式を満たすものであって、全反射面となっている。
なお、導光板3の下面33の入射部31近傍には導光板に略垂直にリブ37が立設されている。リブ37は導光板3をホルダー4に嵌合させた状態に置いてホルダー4の凹部41の壁面に当接する。これにより、防水効果が奏される。
一方、入射光の内、複数の界面36a〜36nによって反射されなかった光(dで示す光)は拡散放出面34に到達する。拡散放出面34に到達した光は、拡散放出面34に形成されたレンズカットにより拡散されて外部に放出される。この光は車両ドアが開放されていることを示す光となる。即ち、車両用照明装置1はドア開放表示ランプとしての機能も併せもつ。これにより、後続車両等に対する安全性が向上する。
車両用照明装置1はカーテシランプとしての機能と、車両ドアが開放されていることを車両の後方に表示するランプとしての機能とを併せ持つ。これにより、別個に照明装置を設ける場合に比べて、省スペース化、部品点数の削減、取付行程の簡略化、コストの低減が実現される。
車両用照明装置1は運転席側の車両ドア100に設けたが、助手席側、左右の後部座席側の車両ドアに対しても同様の構成の車両用照明装置を設けることができる。LEDランプ2の点灯状態は車両ドア100の開閉と連動するようにしたが、これに限定されない。例えば、車両ドア100のドアハンドル操作と連動させて、車両ドアが開放される直前から点灯するようにしてもよい。また、車両ドアを閉じた後、所定時間点灯させてから消灯することとしてもよい。
車両用照明装置10は車両用照明装置1と同様に車両ドア100の下縁に設けられる。図8に示すように、車両用照明装置10はLEDランプ2、導光板30、ホルダー40、固定部材50を備える。導光板30は略平板状であって、端部の上面に位置する入射部310と、上面に入射部310を除く領域に複数の溝360と、溝360の端面側の壁面の界面360a〜360nと、放出面330と、拡散放出面340を備える。複数のLEDランプ2が実装される基板21は、LEDランプ2が入射部310に対向するように導光板30の上面と略平行に配置される。導光板3の入射部310近傍の端面(符号380で示す)は上面から下面に向かって拡散放出面340方向に傾斜しており、LEDランプ2の光軸2aとの交点を有する。かかる端面380は全反射面となっており、導光板3に入射したLEDランプ2の光を積極的に受光して導光板30の延在方向(即ち、放出面330に略平行な方向)に反射する反射面380となる。なお、反射面380の外側には、車両ドア100の外板の一部が延出して延出部101が形成されている。溝360は導光板3の溝36と同様の構成である。界面360a〜360nは導光板3の界面36a〜36nと同様の構成である。放出面330は導光板3の放出面33と同様に平坦面である。拡散放出面340は導光板3の拡散放出面34と同様の構成である。
本明細書の中で明示した論文、公開特許公報、及び特許公報などの内容は、その全ての内容を援用によって引用することとする。
1、10 車両用照明装置
2 LEDランプ
21 基板
3、30 導光板
31、310 入射部
36、360 溝
36a、36b、36c、36d、36e、36f、360a、360b、360c 界面
33 放出面
34、340 拡散放出面
380 反射部
4、40 ホルダー
5、50 固定部材
Claims (8)
- 車両ドアの下縁に設けられ、該車両ドアが開放された状態において点灯し、路面を照明する車両用照明装置であって、
LEDランプと、
下面が前記車両ドアの下縁に平行となるように配置される平板状の導光板であって、端面が前記LEDランプに対向して入射部となり、下面と対向する上面において前記入射部から離れる方向に連続的に並ぶ溝が形成され、下面が光放出面となる導光板と、
を備え、
前記溝の前記端面側の壁面における界面が、前記入射部から入射した光を全反射して前記下面方向の光を生成し、
前記溝は、前記入射部から遠いものほど深い、車両用照明装置。 - 前記界面と前記下面とのなす角が、前記入射部から遠いものほど大きい、請求項1に記載の車両用照明装置。
- 前記溝の連続する方向が前記入射部に垂直な方向である、請求項1又は2に記載の車両用照明装置。
- 前記溝が複数の列状に配置される、請求項1〜3のいずれか一項に記載の車両用照明装置。
- 前記溝が格子状に配置される、請求項1〜3のいずれか一項に車両用照明装置。
- 前記導光板が、前記入射部から入射した光のうち、前記界面により反射されなかった光を外部に拡散放射する拡散放射部を、前記入射部と対向する端部にさらに備える、請求項1〜6のいずれか一項に記載の車両用照明装置。
- 前記LEDランプがSMDタイプであることを特徴とする、請求項1〜7のいずれか一項に記載の車両用照明装置。
Priority Applications (1)
| Application Number | Priority Date | Filing Date | Title |
|---|---|---|---|
| JP2008191819A JP4946997B2 (ja) | 2008-07-25 | 2008-07-25 | 車両用照明装置 |
Applications Claiming Priority (1)
| Application Number | Priority Date | Filing Date | Title |
|---|---|---|---|
| JP2008191819A JP4946997B2 (ja) | 2008-07-25 | 2008-07-25 | 車両用照明装置 |
Publications (2)
| Publication Number | Publication Date |
|---|---|
| JP2010030336A true JP2010030336A (ja) | 2010-02-12 |
| JP4946997B2 JP4946997B2 (ja) | 2012-06-06 |
Family
ID=41735377
Family Applications (1)
| Application Number | Title | Priority Date | Filing Date |
|---|---|---|---|
| JP2008191819A Active JP4946997B2 (ja) | 2008-07-25 | 2008-07-25 | 車両用照明装置 |
Country Status (1)
| Country | Link |
|---|---|
| JP (1) | JP4946997B2 (ja) |
Cited By (8)
| Publication number | Priority date | Publication date | Assignee | Title |
|---|---|---|---|---|
| JP2013091451A (ja) * | 2011-10-26 | 2013-05-16 | Kasai Kogyo Co Ltd | 車両用照明装置 |
| CN103742837A (zh) * | 2013-12-31 | 2014-04-23 | 深圳市蓝科电子有限公司 | 一种led平板灯及其生产工艺 |
| JP2015082438A (ja) * | 2013-10-23 | 2015-04-27 | 豊田合成株式会社 | 照明装置 |
| JP2015167771A (ja) * | 2014-03-10 | 2015-09-28 | パナソニックIpマネジメント株式会社 | 食器洗い機 |
| EP2816276A3 (de) * | 2013-06-22 | 2015-11-25 | Volkswagen Aktiengesellschaft | Kraftfahrzeug mit einer Leuchtvorrichtung |
| JP2017109710A (ja) * | 2015-12-18 | 2017-06-22 | 大日本印刷株式会社 | 照明装置 |
| CN108692285A (zh) * | 2017-03-31 | 2018-10-23 | 株式会社村上开明堂 | 迎宾灯和迎宾标志灯 |
| WO2025197824A1 (ja) * | 2024-03-21 | 2025-09-25 | 株式会社小糸製作所 | 表示用灯具 |
Citations (9)
| Publication number | Priority date | Publication date | Assignee | Title |
|---|---|---|---|---|
| JPH01165733A (ja) * | 1987-12-22 | 1989-06-29 | Sumitomo Metal Mining Co Ltd | 高強度高導電性銅合金 |
| JPH07179148A (ja) * | 1993-12-24 | 1995-07-18 | Bridgestone Corp | 車両用照明装置 |
| JPH11288228A (ja) * | 1998-04-03 | 1999-10-19 | Harness Syst Tech Res Ltd | 表示装置 |
| JP2001216805A (ja) * | 2000-02-02 | 2001-08-10 | Stanley Electric Co Ltd | 灯 具 |
| JP2004001710A (ja) * | 2002-04-11 | 2004-01-08 | Iisamu:Kk | サイドミラーカバー並びにサイドミラー本体及びこれらに用いられるランプ |
| JP2004103468A (ja) * | 2002-09-11 | 2004-04-02 | Hitachi Maxell Ltd | 面状光源 |
| JP2005280657A (ja) * | 2004-03-31 | 2005-10-13 | Ichikoh Ind Ltd | 車両用灯具 |
| JP2007022325A (ja) * | 2005-07-15 | 2007-02-01 | Fujikura Ltd | 車両用ドアの照明装置 |
| JP2008159335A (ja) * | 2006-12-22 | 2008-07-10 | Toyoda Gosei Co Ltd | 発光装置 |
-
2008
- 2008-07-25 JP JP2008191819A patent/JP4946997B2/ja active Active
Patent Citations (9)
| Publication number | Priority date | Publication date | Assignee | Title |
|---|---|---|---|---|
| JPH01165733A (ja) * | 1987-12-22 | 1989-06-29 | Sumitomo Metal Mining Co Ltd | 高強度高導電性銅合金 |
| JPH07179148A (ja) * | 1993-12-24 | 1995-07-18 | Bridgestone Corp | 車両用照明装置 |
| JPH11288228A (ja) * | 1998-04-03 | 1999-10-19 | Harness Syst Tech Res Ltd | 表示装置 |
| JP2001216805A (ja) * | 2000-02-02 | 2001-08-10 | Stanley Electric Co Ltd | 灯 具 |
| JP2004001710A (ja) * | 2002-04-11 | 2004-01-08 | Iisamu:Kk | サイドミラーカバー並びにサイドミラー本体及びこれらに用いられるランプ |
| JP2004103468A (ja) * | 2002-09-11 | 2004-04-02 | Hitachi Maxell Ltd | 面状光源 |
| JP2005280657A (ja) * | 2004-03-31 | 2005-10-13 | Ichikoh Ind Ltd | 車両用灯具 |
| JP2007022325A (ja) * | 2005-07-15 | 2007-02-01 | Fujikura Ltd | 車両用ドアの照明装置 |
| JP2008159335A (ja) * | 2006-12-22 | 2008-07-10 | Toyoda Gosei Co Ltd | 発光装置 |
Cited By (10)
| Publication number | Priority date | Publication date | Assignee | Title |
|---|---|---|---|---|
| JP2013091451A (ja) * | 2011-10-26 | 2013-05-16 | Kasai Kogyo Co Ltd | 車両用照明装置 |
| EP2816276A3 (de) * | 2013-06-22 | 2015-11-25 | Volkswagen Aktiengesellschaft | Kraftfahrzeug mit einer Leuchtvorrichtung |
| JP2015082438A (ja) * | 2013-10-23 | 2015-04-27 | 豊田合成株式会社 | 照明装置 |
| CN103742837A (zh) * | 2013-12-31 | 2014-04-23 | 深圳市蓝科电子有限公司 | 一种led平板灯及其生产工艺 |
| JP2015167771A (ja) * | 2014-03-10 | 2015-09-28 | パナソニックIpマネジメント株式会社 | 食器洗い機 |
| JP2017109710A (ja) * | 2015-12-18 | 2017-06-22 | 大日本印刷株式会社 | 照明装置 |
| CN108692285A (zh) * | 2017-03-31 | 2018-10-23 | 株式会社村上开明堂 | 迎宾灯和迎宾标志灯 |
| US10406974B2 (en) | 2017-03-31 | 2019-09-10 | Murakami Corporation | Courtesy lamp and courtesy logo lamp |
| CN108692285B (zh) * | 2017-03-31 | 2021-11-23 | 株式会社村上开明堂 | 迎宾灯和迎宾标志灯 |
| WO2025197824A1 (ja) * | 2024-03-21 | 2025-09-25 | 株式会社小糸製作所 | 表示用灯具 |
Also Published As
| Publication number | Publication date |
|---|---|
| JP4946997B2 (ja) | 2012-06-06 |
Similar Documents
| Publication | Publication Date | Title |
|---|---|---|
| JP4946997B2 (ja) | 車両用照明装置 | |
| JP4946998B2 (ja) | 車両用照明装置 | |
| CN101743436B (zh) | 具有使光源的光线部分侧面转向的附加反射器的汽车照明装置 | |
| JP2009026462A (ja) | 車両用灯具 | |
| US8845156B2 (en) | Vehicle lamp | |
| US20140003076A1 (en) | Vehicular lamp and window unit | |
| JP7211903B2 (ja) | 車両用灯具 | |
| JP2014008876A (ja) | 車両用リアパネル | |
| EP2327585A1 (en) | Vehicular lamp | |
| CN102997153A (zh) | 车辆用灯具 | |
| JP2017062963A (ja) | 車両用灯具 | |
| JP2011129250A (ja) | 照明装置および光の出射方法 | |
| KR102564889B1 (ko) | 자동차의 리어 램프 모듈 및 이를 갖는 리어 콤비네이션 램프 | |
| US20070236930A1 (en) | Vehicle lighting device | |
| JP7483523B2 (ja) | 車両用灯具 | |
| JP2006138129A (ja) | 車両用アウトサイドハンドル | |
| CN115703399A (zh) | 车内用发光装置 | |
| JP2009181763A (ja) | 車両用サイドターンランプ | |
| CN101586768A (zh) | 车辆用照明装置 | |
| JP7483586B2 (ja) | 車両用灯具 | |
| JP2010105426A (ja) | ライセンスプレートランプ | |
| JP2020061204A (ja) | 車両用灯具 | |
| JP2020087624A (ja) | 車両用灯具 | |
| US10883688B2 (en) | Lamp device for vehicle | |
| JP2010092708A (ja) | 車輌用灯具 |
Legal Events
| Date | Code | Title | Description |
|---|---|---|---|
| A621 | Written request for application examination |
Free format text: JAPANESE INTERMEDIATE CODE: A621 Effective date: 20100827 |
|
| A977 | Report on retrieval |
Free format text: JAPANESE INTERMEDIATE CODE: A971007 Effective date: 20120126 |
|
| TRDD | Decision of grant or rejection written | ||
| A01 | Written decision to grant a patent or to grant a registration (utility model) |
Free format text: JAPANESE INTERMEDIATE CODE: A01 Effective date: 20120207 |
|
| A01 | Written decision to grant a patent or to grant a registration (utility model) |
Free format text: JAPANESE INTERMEDIATE CODE: A01 |
|
| A61 | First payment of annual fees (during grant procedure) |
Free format text: JAPANESE INTERMEDIATE CODE: A61 Effective date: 20120220 |
|
| FPAY | Renewal fee payment (event date is renewal date of database) |
Free format text: PAYMENT UNTIL: 20150316 Year of fee payment: 3 |
|
| R150 | Certificate of patent or registration of utility model |
Ref document number: 4946997 Country of ref document: JP Free format text: JAPANESE INTERMEDIATE CODE: R150 Free format text: JAPANESE INTERMEDIATE CODE: R150 |
