JP2010030142A - ノズルプレート、ノズルプレートの製造方法、液滴吐出ヘッドおよび液滴吐出装置 - Google Patents

ノズルプレート、ノズルプレートの製造方法、液滴吐出ヘッドおよび液滴吐出装置 Download PDF

Info

Publication number
JP2010030142A
JP2010030142A JP2008194505A JP2008194505A JP2010030142A JP 2010030142 A JP2010030142 A JP 2010030142A JP 2008194505 A JP2008194505 A JP 2008194505A JP 2008194505 A JP2008194505 A JP 2008194505A JP 2010030142 A JP2010030142 A JP 2010030142A
Authority
JP
Japan
Prior art keywords
film
nozzle plate
bonding
plasma
head
Prior art date
Legal status (The legal status is an assumption and is not a legal conclusion. Google has not performed a legal analysis and makes no representation as to the accuracy of the status listed.)
Granted
Application number
JP2008194505A
Other languages
English (en)
Other versions
JP4674619B2 (ja
Inventor
Yasuhide Matsuo
泰秀 松尾
Current Assignee (The listed assignees may be inaccurate. Google has not performed a legal analysis and makes no representation or warranty as to the accuracy of the list.)
Seiko Epson Corp
Original Assignee
Seiko Epson Corp
Priority date (The priority date is an assumption and is not a legal conclusion. Google has not performed a legal analysis and makes no representation as to the accuracy of the date listed.)
Filing date
Publication date
Application filed by Seiko Epson Corp filed Critical Seiko Epson Corp
Priority to JP2008194505A priority Critical patent/JP4674619B2/ja
Priority to US12/507,947 priority patent/US8128202B2/en
Publication of JP2010030142A publication Critical patent/JP2010030142A/ja
Application granted granted Critical
Publication of JP4674619B2 publication Critical patent/JP4674619B2/ja
Active legal-status Critical Current
Anticipated expiration legal-status Critical

Links

Images

Classifications

    • BPERFORMING OPERATIONS; TRANSPORTING
    • B41PRINTING; LINING MACHINES; TYPEWRITERS; STAMPS
    • B41JTYPEWRITERS; SELECTIVE PRINTING MECHANISMS, i.e. MECHANISMS PRINTING OTHERWISE THAN FROM A FORME; CORRECTION OF TYPOGRAPHICAL ERRORS
    • B41J2/00Typewriters or selective printing mechanisms characterised by the printing or marking process for which they are designed
    • B41J2/005Typewriters or selective printing mechanisms characterised by the printing or marking process for which they are designed characterised by bringing liquid or particles selectively into contact with a printing material
    • B41J2/01Ink jet
    • B41J2/135Nozzles
    • B41J2/16Production of nozzles
    • B41J2/1606Coating the nozzle area or the ink chamber
    • BPERFORMING OPERATIONS; TRANSPORTING
    • B41PRINTING; LINING MACHINES; TYPEWRITERS; STAMPS
    • B41JTYPEWRITERS; SELECTIVE PRINTING MECHANISMS, i.e. MECHANISMS PRINTING OTHERWISE THAN FROM A FORME; CORRECTION OF TYPOGRAPHICAL ERRORS
    • B41J2/00Typewriters or selective printing mechanisms characterised by the printing or marking process for which they are designed
    • B41J2/005Typewriters or selective printing mechanisms characterised by the printing or marking process for which they are designed characterised by bringing liquid or particles selectively into contact with a printing material
    • B41J2/01Ink jet
    • B41J2/135Nozzles
    • B41J2/14Structure thereof only for on-demand ink jet heads
    • B41J2/14201Structure of print heads with piezoelectric elements
    • B41J2/14274Structure of print heads with piezoelectric elements of stacked structure type, deformed by compression/extension and disposed on a diaphragm
    • BPERFORMING OPERATIONS; TRANSPORTING
    • B41PRINTING; LINING MACHINES; TYPEWRITERS; STAMPS
    • B41JTYPEWRITERS; SELECTIVE PRINTING MECHANISMS, i.e. MECHANISMS PRINTING OTHERWISE THAN FROM A FORME; CORRECTION OF TYPOGRAPHICAL ERRORS
    • B41J2/00Typewriters or selective printing mechanisms characterised by the printing or marking process for which they are designed
    • B41J2/005Typewriters or selective printing mechanisms characterised by the printing or marking process for which they are designed characterised by bringing liquid or particles selectively into contact with a printing material
    • B41J2/01Ink jet
    • B41J2/135Nozzles
    • B41J2/14Structure thereof only for on-demand ink jet heads
    • B41J2/1433Structure of nozzle plates
    • BPERFORMING OPERATIONS; TRANSPORTING
    • B41PRINTING; LINING MACHINES; TYPEWRITERS; STAMPS
    • B41JTYPEWRITERS; SELECTIVE PRINTING MECHANISMS, i.e. MECHANISMS PRINTING OTHERWISE THAN FROM A FORME; CORRECTION OF TYPOGRAPHICAL ERRORS
    • B41J2/00Typewriters or selective printing mechanisms characterised by the printing or marking process for which they are designed
    • B41J2/005Typewriters or selective printing mechanisms characterised by the printing or marking process for which they are designed characterised by bringing liquid or particles selectively into contact with a printing material
    • B41J2/01Ink jet
    • B41J2/135Nozzles
    • B41J2/16Production of nozzles
    • B41J2/1607Production of print heads with piezoelectric elements
    • B41J2/1612Production of print heads with piezoelectric elements of stacked structure type, deformed by compression/extension and disposed on a diaphragm
    • BPERFORMING OPERATIONS; TRANSPORTING
    • B41PRINTING; LINING MACHINES; TYPEWRITERS; STAMPS
    • B41JTYPEWRITERS; SELECTIVE PRINTING MECHANISMS, i.e. MECHANISMS PRINTING OTHERWISE THAN FROM A FORME; CORRECTION OF TYPOGRAPHICAL ERRORS
    • B41J2/00Typewriters or selective printing mechanisms characterised by the printing or marking process for which they are designed
    • B41J2/005Typewriters or selective printing mechanisms characterised by the printing or marking process for which they are designed characterised by bringing liquid or particles selectively into contact with a printing material
    • B41J2/01Ink jet
    • B41J2/135Nozzles
    • B41J2/16Production of nozzles
    • B41J2/162Manufacturing of the nozzle plates
    • BPERFORMING OPERATIONS; TRANSPORTING
    • B41PRINTING; LINING MACHINES; TYPEWRITERS; STAMPS
    • B41JTYPEWRITERS; SELECTIVE PRINTING MECHANISMS, i.e. MECHANISMS PRINTING OTHERWISE THAN FROM A FORME; CORRECTION OF TYPOGRAPHICAL ERRORS
    • B41J2/00Typewriters or selective printing mechanisms characterised by the printing or marking process for which they are designed
    • B41J2/005Typewriters or selective printing mechanisms characterised by the printing or marking process for which they are designed characterised by bringing liquid or particles selectively into contact with a printing material
    • B41J2/01Ink jet
    • B41J2/135Nozzles
    • B41J2/16Production of nozzles
    • B41J2/1621Manufacturing processes
    • B41J2/1623Manufacturing processes bonding and adhesion

Landscapes

  • Engineering & Computer Science (AREA)
  • Manufacturing & Machinery (AREA)
  • Particle Formation And Scattering Control In Inkjet Printers (AREA)

Abstract

【課題】液滴吐出ヘッドに適用した際に、長期間にわたって高品位の印字を可能とするノズルプレート、かかるノズルプレートの製造方法、寸法精度に優れ、長期間にわたって高品位の印字が可能な信頼性の高い液滴吐出ヘッド、および、かかる液滴吐出ヘッドを備えた信頼性の高い液滴吐出装置を提供すること。
【解決手段】インクジェット式記録ヘッド1は、ノズル孔11を有し、一方の面に撥液膜14、他方の面に接合膜15を備えたノズルプレート80と、吐出液貯留室21が形成された基板20と、吐出液貯留室21を覆うように基板20の上面に設けられた封止シート30とを有し、ノズルプレート80が備える撥液膜14の基膜141と接合膜15とは、ともに、シロキサン結合を含み、ランダムな原子構造を有するSi骨格と、このSi骨格に結合する脱離基とを含むプラズマ重合膜で構成されたものである。
【選択図】図2

Description

本発明は、ノズルプレート、ノズルプレートの製造方法、液滴吐出ヘッドおよび液滴吐出装置に関するものである。
一般に、インクジェットプリンタのような液滴吐出装置は、液滴を吐出するための液滴吐出ヘッドを備えている。このような液滴吐出ヘッドとしては、例えば、インクを液滴として吐出するノズル(ノズル孔)を有するノズルプレートと、ノズルに連通し、インクを収容するインク室(キャビティ)と、このインク室の壁面を変形させて、ノズルからインク液滴を吐出するための圧電素子とを備えるものが知られている。
このような液滴吐出ヘッドでは、ノズルプレートの表面(インクを吐出する側の面)にインクが付着すると、その後に吐出されたインクが、ノズルプレート表面に付着したインクの表面張力や粘性等の影響を受けて、飛行曲がり(インクの吐出軌道が曲げられてしまう現象)が起こる。その結果、所定の位置に安定してインクを吐出することができなくなり、印字品質の低下を招くという問題がある。このため、ノズルプレートの表面には一般に、インクの付着を防止する撥液処理が施されている(例えば、特許文献1参照)。
ところで、このような液滴吐出ヘッドは、ノズルプレートと、インク室を画成する基板との間を、感光性接着剤または弾性接着剤で接着することによって組み立てられている(例えば、特許文献2参照)。
しかしながら、ノズルプレートと基板との間に接着剤を供給する際に、接着剤の供給量を厳密に制御することは極めて困難である。このため、供給する接着剤の量を均一にすることができず、ノズルプレートと基板との距離が不均一になる。これにより、液滴吐出ヘッド内に複数個設けられたインク室のそれぞれの容積が不均一になったり、液滴吐出ヘッド毎でインク室の容積が不均一になってしまう。また、液滴吐出ヘッドと印刷用紙等の印字媒体との間の距離が不均一になる。さらに、接合箇所から接着剤がはみ出してしまうおそれがある。このような問題により、液滴吐出ヘッドの寸法精度が低下してしまう。その結果、ノズルプレート表面の撥液処理によって、インク液滴の飛行曲がりが抑制されているにも関わらず、インクジェットプリンタの印字品質を十分に高いものとすることができなかった。
特開平7−228822号公報 特開平5−155017号公報
本発明の目的は、液滴吐出ヘッドに適用した際に、長期間にわたって高品位の印字を可能とするノズルプレート、かかるノズルプレートの製造方法、寸法精度に優れ、長期間にわたって高品位の印字が可能な信頼性の高い液滴吐出ヘッド、および、かかる液滴吐出ヘッドを備えた信頼性の高い液滴吐出装置を提供することにある。
このような目的は、下記の本発明により達成される。
本発明のノズルプレートは、吐出液を液滴として吐出するノズル孔を有し、一方の面に前記液滴が付着するのを抑制する撥液膜、他方の面に基板と接合する接合膜を備えるノズルプレートであって、
前記撥液膜は、シロキサン(Si−O)結合を含みランダムな原子構造を有するSi骨格と、該Si骨格に結合する脱離基とを含むプラズマ重合膜を含み、
前記撥液膜は、当該撥液膜を構成する前記プラズマ重合膜の少なくとも一部の領域にエネルギーが付与されることにより、前記プラズマ重合膜の表面付近に存在する前記脱離基が前記Si骨格から脱離し、前記プラズマ重合膜の表面の前記領域に、前記液滴に対する撥液性を有するカップリング剤との反応性が発現し、前記プラズマ重合膜と前記カップリング剤とが結合したものであり、
前記接合膜は、シロキサン(Si−O)結合を含みランダムな原子構造を有するSi骨格と、該Si骨格に結合する脱離基とを含むプラズマ重合膜で構成され、
前記接合膜は、当該接合膜を構成する前記プラズマ重合膜の少なくとも一部の領域に前記エネルギーが付与されることにより、前記プラズマ重合膜の表面付近に存在する前記脱離基が前記Si骨格から脱離し、前記プラズマ重合膜の表面の前記領域に前記基板との接着性が発現するものであることを特徴とする。
これにより、液滴吐出ヘッドに適用した際に、長期間にわたって高品位の印字を可能とするノズルプレートを得ることができる。
本発明のノズルプレートでは、前記プラズマ重合膜を構成する全原子からH原子を除いた原子のうち、Si原子の含有率とO原子の含有率の合計が、10〜90原子%であることが好ましい。
これにより、プラズマ重合膜は、Si原子とO原子とが強固なネットワークを形成し、プラズマ重合膜自体がより強固なものとなる。このため、接合膜を介して、ノズルプレートを基板に強固に接合することができる。また、撥液膜は、耐久性に優れたものとなり、撥液膜の吐出液に対する撥液性が長期間にわたって優れたものとなる。
本発明のノズルプレートでは、前記プラズマ重合膜中のSi原子とO原子の存在比は、3:7〜7:3であることが好ましい。
これにより、プラズマ重合膜の安定性がより高くなる。このため、接合膜を介して、ノズルプレートと基板とをより強固に接合することができるとともに、撥液膜を構成するプラズマ重合膜からカップリング剤が脱離するのが確実に防止され、撥液膜の吐出液に対する撥液性は特に優れたものとなる。
本発明のノズルプレートでは、前記Si骨格の結晶化度は、45%以下であることが好ましい。
これにより、Si骨格は十分にランダムな原子構造を含むものとなる。このため、Si骨格の特性が顕在化し、プラズマ重合膜の寸法精度がより高いものとなる。また、このようなプラズマ重合膜で構成された接合膜は、より優れた接着性を発現するものとなる。
本発明のノズルプレートでは、前記プラズマ重合膜は、Si−H結合を含んでいることが好ましい。
Si−H結合は、シロキサン結合の生成が規則的に行われるのを阻害すると考えられる。このため、シロキサン結合は、Si−H結合を避けるように形成されることとなり、Si骨格の規則性が低下する。このようにして、プラズマ重合膜中にSi−H結合が含まれることにより、結晶化度の低いSi骨格を効率よく形成することができる。その結果、プラズマ重合膜で構成された接合膜は、より優れた接着性を発現するものとなる。
本発明のノズルプレートでは、前記Si−H結合を含むプラズマ重合膜についての赤外光吸収スペクトルにおいて、シロキサン結合に帰属するピーク強度を1としたとき、Si−H結合に帰属するピーク強度が0.001〜0.2であることが好ましい。
これにより、プラズマ重合膜中の原子構造は、相対的に最もランダムなものとなる。このため、プラズマ重合膜で構成された接合膜は、より優れた接着性を発現するものとなる。また、このようなプラズマ重合膜は、特に優れた耐薬品性を有するものとなる。
本発明のノズルプレートでは、前記脱離基は、H原子、B原子、C原子、N原子、O原子、P原子、S原子およびハロゲン系原子、またはこれらの各原子が前記Si骨格に結合するよう配置された原子団からなる群から選択される少なくとも1種で構成されたものであることが好ましい。
これらの脱離基は、エネルギーの付与による結合/脱離の選択性に比較的優れている。このため、このような脱離基は、接合膜の接着性をより高度なものとすることができる。また、撥液膜は、プラズマ重合膜とカップリング剤とが確実に結合し、吐出液に対する撥液性に優れたものとなる。
本発明のノズルプレートでは、前記脱離基は、アルキル基であることが好ましい。
アルキル基は化学的な安定性が高いため、脱離基としてアルキル基を含むプラズマ重合膜は、耐候性および耐薬品性に優れたものとなる。
本発明のノズルプレートでは、前記脱離基としてメチル基を含むプラズマ重合膜についての赤外光吸収スペクトルにおいて、シロキサン結合に帰属するピーク強度を1としたとき、メチル基に帰属するピーク強度が0.05〜0.45であることが好ましい。
これにより、メチル基の含有率が最適化され、メチル基がシロキサン結合の生成を必要以上に阻害するのを防止しつつ、プラズマ重合膜中に必要かつ十分な数の活性手が生じる。したがって、接合膜に十分な接着性が発現するとともに、撥液膜を構成するプラズマ重合膜に、十分な量のカップリング剤を結合させることができる。また、プラズマ重合膜には、メチル基に起因する十分な耐候性および耐薬品性が発現する。
本発明のノズルプレートでは、前記プラズマ重合膜は、ポリオルガノシロキサンを主材料として構成されていることが好ましい。
これにより、プラズマ重合膜自体が優れた機械的特性を有するものとなる。そのため、接合膜は、ノズルプレートと基板とを強固に接合するものとなるとともに、撥液膜は、耐久性に優れ、長期間にわたって撥液性が維持されるものとなる。
本発明のノズルプレートでは、前記ポリオルガノシロキサンは、オクタメチルトリシロキサンの重合物を主成分とするものであることが好ましい。
これにより、接合膜を介して、ノズルプレートと基板とをより強固に接合することができるとともに、撥液膜の吐出液に対する撥液性が特に優れたものとなる。
本発明のノズルプレートでは、前記プラズマ重合膜の平均厚さは、1〜1000nmであることが好ましい。
これにより、基板とノズルプレートとの間の寸法精度が著しく低下するのを防止しつつ、これらをより強固に接合することができる。
本発明のノズルプレートでは、前記カップリング剤は、撥液性を有する官能基を備えたシランカップリング剤であることが好ましい。
これにより、撥液膜を構成するプラズマ重合膜とシランカップリング剤とがより強固に結合し、撥液膜の耐久性は特に優れたものとなる。
本発明のノズルプレートでは、シリコン材料またはステンレス鋼を主材料として構成されていることが好ましい。
これらの材料は、耐薬品性に優れることから、長時間にわたって吐出液に曝されたとしても、ノズルプレートが変質・劣化するのを確実に防止することができる。また、これらの材料は、加工性に優れるため、かかるノズルプレートを液滴吐出ヘッドに適用した際に、液滴吐出ヘッドの寸法精度を特に高いものとすることができる。このため、吐出液貯留室の容積の精度が高くなり、高品位の印字が可能となる。
本発明のノズルプレートの製造方法は、本発明のノズルプレートの製造方法であって、
平板状の母材の両面に、プラズマ重合法を用いて、シロキサン(Si−O)結合を含み、ランダムな原子構造を有するSi骨格と、該Si骨格に結合する脱離基とを含むプラズマ重合膜を形成する工程と、
前記母材の一方の面に形成された前記プラズマ重合膜に前記エネルギーを付与し、前記母材の一方の面に形成された前記プラズマ重合膜の表面に、前記カップリング剤との反応性を発現させる工程と、
前記母材の一方の面に形成された前記プラズマ重合膜に、前記カップリング剤を結合させる工程と、
前記母材および前記プラズマ重合膜を貫通するノズル孔を形成する工程とを有することを特徴とする。
これにより、寸法精度に優れ、液滴吐出ヘッドに適用した際に、長期間にわたって高品位の印字が可能となるノズルプレートを効率良く得ることができる。
本発明のノズルプレートの製造方法では、前記プラズマ重合膜は、前記母材の両面に、同時に形成することが好ましい。
これにより、ノズルプレートの製造過程の簡素化を図ることができる。
本発明のノズルプレートの製造方法では、前記カップリング剤を含有する溶液に、前記母材の一方の面に形成された前記プラズマ重合膜を浸漬することにより、該プラズマ重合膜の表面に前記カップリング剤を結合させることが好ましい。
これにより、プラズマ重合膜の表面に均一にシランカップリング剤を結合させることができる。
本発明のノズルプレートの製造方法では、前記プラズマ重合法において、プラズマを発生させる際の高周波の出力密度は、0.01〜100W/cmであることが好ましい。
これにより、高周波の出力密度が高過ぎて原料ガスに必要以上のプラズマエネルギーが付加されるのを防止しつつ、ランダムな原子構造を有するSi骨格を確実に形成することができる。
本発明のノズルプレートの製造方法では、前記エネルギーの付与は、前記プラズマ重合膜にエネルギー線を照射する方法により行われることが好ましい。
これにより、プラズマ重合膜に対して比較的簡単に効率よくエネルギーを付与することができる。
本発明のノズルプレートの製造方法では、前記エネルギー線は、波長126〜300nmの紫外線であることが好ましい。
これにより、付与されるエネルギー量が最適化されるので、プラズマ重合膜中のSi骨格が必要以上に破壊されるのを防止しつつ、Si骨格と脱離基との間の結合を選択的に切断することができる。これにより、プラズマ重合膜の特性(機械的特性、化学的特性等)が低下するのを防止しつつ、接合膜に接着性を発現させることができるとともに、撥液膜を構成するプラズマ重合膜にシランカップリング剤との反応性を確実に発現することができる。
本発明のノズルプレートの製造方法では、前記母材の前記プラズマ重合膜が形成される領域には、あらかじめ、前記プラズマ重合膜との密着性を高める表面処理が施されていることが好ましい。
これにより、ノズルプレートとプラズマ重合膜との間の密着性をより高めることができ、ひいては、かかるノズルプレートを液滴吐出ヘッドに適用した際に、液滴吐出ヘッドの寸法精度を特に優れたものとすることができる。
本発明のノズルプレートの製造方法では、前記表面処理は、プラズマ処理であることが好ましい。
これにより、プラズマ重合膜を形成するために、ノズルプレートの表面を特に最適化することができる。
本発明の液滴吐出ヘッドは、本発明のノズルプレートと、前記吐出液を貯留する吐出液貯留室が形成された基板と前記吐出液貯留室を覆うように設けられた封止板とが接合された接合体とを備え、
前記ノズルプレートの一方の面に備えられた前記接合膜の少なくとも一部の領域にエネルギーが付与されることにより、前記接合膜の表面付近に存在する前記脱離基が前記Si骨格から脱離し、前記接合膜の表面の前記領域に接着性を発現させ、その接着性によって、前記ノズルプレートと前記接合体の前記基板とが前記接合膜を介して接合していることを特徴とする。
これにより、寸法精度に優れ、長期間にわたって高品位の印字が可能な信頼性の高い液滴吐出ヘッドを提供することができる。
本発明の液滴吐出ヘッドでは、前記接合体は、前記基板と前記封止板とを、前記接合膜と同様の接合膜を介して接合することにより得られるものであることが好ましい。
これにより、吐出液貯留室の液密性はさらに優れたものとなるとともに、液滴吐出ヘッドの寸法安定性をさらに優れたものとすることができる。その結果、より長期間にわたって、高品位な印字が可能な液滴吐出ヘッドを得ることができる。
本発明の液滴吐出ヘッドでは、前記封止板は、複数の層を積層してなる積層体で構成されており、
前記積層体中の層のうち、隣接する少なくとも1組の層の層間を、前記接着性が発現した前記接合膜と同様の接合膜を介して接合することが好ましい。
これにより、層間の密着性および歪みの伝搬性が高くなる。このため、振動手段による歪みを吐出液貯留室内の圧力変化に確実に変換することができる。すなわち、封止板の変位のレスポンスを高めることができる。
本発明の液滴吐出ヘッドでは、当該液滴吐出ヘッドは、さらに、前記封止板の前記基板と反対側に設けられ、前記封止板を振動させる振動手段を有し、
前記封止板と前記振動手段とを、前記接着性が発現した前記プラズマ重合膜と同様のプラズマ重合膜を介して接合することが好ましい。
これにより、封止板と振動手段との間の密着性および歪みの伝搬性が高くなる。その結果、振動手段による歪みを吐出液貯留室内の圧力変化に確実に変換することができる。
本発明の液滴吐出ヘッドでは、前記振動手段は、圧電素子で構成されていることが好ましい。
これにより、封止板に発生する撓みの程度を容易に制御することができる。これにより、吐出液の液滴の大きさを容易に制御することができる。その結果、得られる液滴吐出ヘッドは、より高精細な印字が可能なものとなる。
本発明の液滴吐出ヘッドでは、当該液滴吐出ヘッドは、さらに、前記封止板の前記基板と反対側に設けられたケースヘッドを有し、
前記封止板と前記ケースヘッドとを、前記接着性が発現した前記プラズマ重合膜と同様のプラズマ重合膜を介して接合することが好ましい。
これにより、封止板とケースヘッドとの密着性が高くなる。その結果、ケースヘッドによって、封止板を確実に支持し、封止板、基板およびノズルプレートのよじれや反り等を確実に防止することができる。

本発明の液滴吐出装置は、本発明の液滴吐出ヘッドを備えることを特徴とする。
これにより、信頼性の高い液滴吐出装置が得られる。
以下、本発明のノズルプレート、ノズルプレートの製造方法、液滴吐出ヘッドおよび液滴吐出装置を、添付図面に示す好適実施形態に基づいて詳細に説明する。
<インクジェット式記録ヘッド>
まず、本発明のノズルプレートを備える本発明の液滴吐出ヘッドをインクジェット式記録ヘッドに適用した場合について説明する。
図1は、本発明の液滴吐出ヘッドをインクジェット式記録ヘッドに適用した場合の好適な実施形態を示す分解斜視図、図2は、図1に示すインクジェット式記録ヘッドの平面図および断面図、図3は、図1に示すインクジェット式記録ヘッドを備えるインクジェットプリンタの実施形態を示す概略図、図4は、図2に示すインクジェット式記録ヘッドのノズルプレートが備えるプラズマ重合膜のエネルギー付与前の状態を示す部分拡大図、図5は、図2に示すインクジェット式記録ヘッドのノズルプレートが備えるプラズマ重合膜のエネルギー付与後の状態を示す部分拡大図である。なお、以下の説明では、図1、図2、図3および図4中の上側を「上」、下側を「下」と言う。
図1に示すインクジェット式記録ヘッド1(以下、単に「ヘッド1」という。)は、図3に示すようなインクジェットプリンタ(本発明の液滴吐出装置)9に搭載されている。
図3に示すインクジェットプリンタ9は、装置本体92を備えており、上部後方に記録用紙Pを設置するトレイ921と、下部前方に記録用紙Pを排出する排紙口922と、上部面に操作パネル97とが設けられている。
操作パネル97は、例えば、液晶ディスプレイ、有機ELディスプレイ、LEDランプ等で構成され、エラーメッセージ等を表示する表示部(図示せず)と、各種スイッチ等で構成される操作部(図示せず)とを備えている。
また、装置本体92の内部には、主に、往復動するヘッドユニット93を備える印刷装置(印刷手段)94と、記録用紙Pを1枚ずつ印刷装置94に送り込む給紙装置(給紙手段)95と、印刷装置94および給紙装置95を制御する制御部(制御手段)96とを有している。
制御部96の制御により、給紙装置95は、記録用紙Pを一枚ずつ間欠送りする。この記録用紙Pは、ヘッドユニット93の下部近傍を通過する。このとき、ヘッドユニット93が記録用紙Pの送り方向とほぼ直交する方向に往復移動して、記録用紙Pへの印刷が行なわれる。すなわち、ヘッドユニット93の往復動と記録用紙Pの間欠送りとが、印刷における主走査および副走査となって、インクジェット方式の印刷が行なわれる。
印刷装置94は、ヘッドユニット93と、ヘッドユニット93の駆動源となるキャリッジモータ941と、キャリッジモータ941の回転を受けて、ヘッドユニット93を往復動させる往復動機構942とを備えている。
ヘッドユニット93は、その下部に、多数のノズル孔11を備えるヘッド1と、ヘッド1にインクを供給するインクカートリッジ931と、ヘッド1およびインクカートリッジ931を搭載したキャリッジ932とを有している。
なお、インクカートリッジ931として、イエロー、シアン、マゼンタ、ブラック(黒)の4色のインクを充填したものを用いることにより、フルカラー印刷が可能となる。
往復動機構942は、その両端をフレーム(図示せず)に支持されたキャリッジガイド軸943と、キャリッジガイド軸943と平行に延在するタイミングベルト944とを有している。
キャリッジ932は、キャリッジガイド軸943に往復動自在に支持されるとともに、タイミングベルト944の一部に固定されている。
キャリッジモータ941の作動により、プーリを介してタイミングベルト944を正逆走行させると、キャリッジガイド軸943に案内されて、ヘッドユニット93が往復動する。そして、この往復動の際に、ヘッド1から適宜インクが吐出され、記録用紙Pへの印刷が行われる。
給紙装置95は、その駆動源となる給紙モータ951と、給紙モータ951の作動により回転する給紙ローラ952とを有している。
給紙ローラ952は、記録用紙Pの送り経路(記録用紙P)を挟んで上下に対向する従動ローラ952aと駆動ローラ952bとで構成され、駆動ローラ952bは給紙モータ951に連結されている。これにより、給紙ローラ952は、トレイ921に設置した多数枚の記録用紙Pを、印刷装置94に向かって1枚ずつ送り込めるようになっている。なお、トレイ921に代えて、記録用紙Pを収容する給紙カセットを着脱自在に装着し得るような構成であってもよい。
制御部96は、例えばパーソナルコンピュータやディジタルカメラ等のホストコンピュータから入力された印刷データに基づいて、印刷装置94や給紙装置95等を制御することにより印刷を行うものである。
制御部96は、いずれも図示しないが、主に、各部を制御する制御プログラム等を記憶するメモリ、印刷装置94(キャリッジモータ941)を駆動する駆動回路、給紙装置95(給紙モータ951)を駆動する駆動回路、および、ホストコンピュータからの印刷データを入手する通信回路と、これらに電気的に接続され、各部での各種制御を行うCPUとを備えている。
また、CPUには、例えば、インクカートリッジ931のインク残量、ヘッドユニット93の位置等を検出可能な各種センサ等が、それぞれ電気的に接続されている。
制御部96は、通信回路を介して、印刷データを入手してメモリに格納する。CPUは、この印刷データを処理して、この処理データおよび各種センサからの入力データに基づいて、各駆動回路に駆動信号を出力する。この駆動信号により印刷装置94および給紙装置95は、それぞれ作動する。これにより、記録用紙Pに印刷が行われる。
以下、ヘッド1について、図1および図2を参照しつつ詳述する。
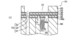
図1および図2に示すように、ヘッド1は、ノズルプレート80と、吐出液貯留室形成基板(基板)20と、封止シート30と、封止シート30上に設けられた振動板40と、振動板40上に設けられた圧電素子(振動手段)50およびケースヘッド60とを有する。また、本実施形態では、封止シート30と振動板40との積層体により、封止板を構成している。なお、このヘッド1は、ピエゾジェット式ヘッドを構成する。
吐出液貯留室形成基板20(以下、省略して「基板20」と言う。)には、インクを貯留する複数の吐出液貯留室(圧力室)21と、各吐出液貯留室21に連通し、各吐出液貯留室21にインクを供給する吐出液供給室22とが形成されている。
図1および図2に示すように、各吐出液貯留室21および吐出液供給室22は、それぞれ、平面視において、ほぼ長方形状をなし、各吐出液貯留室21の幅(短辺)は、吐出液供給室22の幅(短辺)より細幅となっている。
また、各吐出液貯留室21は、吐出液供給室22に対して、ほぼ垂直をなすように配置されており、各吐出液貯留室21および吐出液供給室22は、平面視において全体として、櫛状をなしている。
なお、吐出液供給室22は、平面視において、本実施形態のように長方形状のものの他、例えば、台形状、三角形状または俵形状(カプセル形状)のものであってもよい。
基板20を構成する材料としては、例えば、単結晶シリコン、多結晶シリコン、アモルファスシリコンのようなシリコン材料、ステンレス鋼、チタン、アルミニウムのような金属材料、石英ガラス、ケイ酸ガラス(石英ガラス)、ケイ酸アルカリガラス、ソーダ石灰ガラス、カリ石灰ガラス、鉛(アルカリ)ガラス、バリウムガラス、ホウケイ酸ガラスのようなガラス材料、アルミナ、ジルコニア、フェライト、窒化ケイ素、窒化アルミニウム、窒化ホウ素、窒化チタン、炭化ケイ素、炭化ホウ素、炭化チタン、炭化タングステンのようなセラミックス材料、グラファイトのような炭素材料、ポリエチレン、ポリプロピレン、エチレン−プロピレン共重合体、エチレン−酢酸ビニル共重合体(EVA)等のポリオレフィン、環状ポリオレフィン、変性ポリオレフィン、ポリ塩化ビニル、ポリ塩化ビニリデン、ポリスチレン、ポリアミド、ポリイミド、ポリアミドイミド、ポリカーボネート、ポリ−(4−メチルペンテン−1)、アイオノマー、アクリル系樹脂、ポリメチルメタクリレート、アクリロニトリル−ブタジエン−スチレン共重合体(ABS樹脂)、アクリロニトリル−スチレン共重合体(AS樹脂)、ブタジエン−スチレン共重合体、ポリオキシメチレン、ポリビニルアルコール(PVA)、エチレン−ビニルアルコール共重合体(EVOH)、ポリエチレンテレフタレート(PET)、ポリエチレンナフタレート、ポリブチレンテレフタレート(PBT)、ポリシクロヘキサンテレフタレート(PCT)等のポリエステル、ポリエーテル、ポリエーテルケトン(PEK)、ポリエーテルエーテルケトン(PEEK)、ポリエーテルイミド、ポリアセタール(POM)、ポリフェニレンオキシド、変性ポリフェニレンオキシド、変性ポリフェニレンエーテル樹脂(PBO)、ポリサルフォン、ポリエーテルサルフォン、ポリフェニレンサルファイド(PPS)、ポリアリレート、芳香族ポリエステル(液晶ポリマー)、ポリテトラフルオロエチレン、ポリフッ化ビニリデン、その他フッ素系樹脂、スチレン系、ポリオレフィン系、ポリ塩化ビニル系、ポリウレタン系、ポリエステル系、ポリアミド系、ポリブタジエン系、トランスポリイソプレン系、フッ素ゴム系、塩素化ポリエチレン系等の各種熱可塑性エラストマー、エポキシ樹脂、フェノール樹脂、ユリア樹脂、メラミン樹脂、アラミド系樹脂、不飽和ポリエステル、シリコーン樹脂、ポリウレタン等、またはこれらを主とする共重合体、ブレンド体、ポリマーアロイ等の樹脂材料、またはこれらの各材料の1種または2種以上を組み合わせた複合材料等が挙げられる。
また、上記のような材料に、酸化処理(酸化膜形成)、めっき処理、不働態化処理、窒化処理等の各処理を施した材料でもよい。
これらの中でも、基板20の構成材料は、シリコン材料またはステンレス鋼であるのが好ましい。このような材料は、耐薬品性に優れることから、長時間にわたってインクに曝されたとしても、基板20が変質・劣化するのを確実に防止することができる。また、これらの材料は、加工性に優れるため、寸法精度の高い基板20が得られる。このため、吐出液貯留室21や吐出液供給室22の容積の精度が高くなり、高品位の印字が可能なヘッド1が得られる。
また、吐出液供給室22は、後述するケースヘッド60に設けられた吐出液供給路61と連通して複数の吐出液貯留室21にインクを供給する共通のインク室として機能するリザーバ70の一部を構成する。
また、吐出液貯留室21と吐出液供給室22との内面に、あらかじめ、親水処理を施しておいてもよい。これにより、吐出液貯留室21および吐出液供給室22に貯留されたインク中に気泡が含まれるのを防止することができる。
また、基板20の下面(封止シート30とは反対側の面)には、ノズルプレート80が設けられている。
このようなノズルプレート(本発明のノズルプレート)80は、ノズル孔11を有するノズルプレート本体10と、ノズルプレート本体10の基板20とは反対側の面に設けられた撥液膜14と、ノズルプレート本体10の基板20側の面に設けられた接合膜15とを有している。そして、ノズルプレート80は、接合膜15を介して、基板20と接合(接着)されている。
本発明のノズルプレートは、上述したような構成を有していることに特徴を有している。
ノズルプレート80が備える接合膜15は、シロキサン(Si−O)結合を含みランダムな原子構造を有するSi骨格と、該Si骨格に結合する脱離基とを含むプラズマ重合膜で構成されたものである。
このようなプラズマ重合膜は、後述するエネルギーが付与されることにより、脱離基がSi骨格から脱離し、その表面に接着性が発現するものである。そのため、このようなプラズマ重合膜をノズルプレート本体10の基板20側に設ければ、かかるプラズマ重合膜にエネルギーを付与したことにより発現した接着性により、ノズルプレート本体10と基板20とを接合する機能を有する接合膜15となる。
一方、ノズルプレート80が備える撥液膜14は、接合膜15と同様のプラズマ重合膜で構成された基膜141と、基膜141のノズルプレート本体10とは反対側の表面に設けられ、インクに対する撥液性を有するカップリング剤(以下、単にカップリング剤とも言う。)で構成された単分子膜142とを備えたものである。
基膜141を構成するプラズマ重合膜は、後述するエネルギーが付与されることにより、脱離基がSi骨格から脱離し、その表面に接着性が発現するものであるが、かかる接着性とともに、カップリング剤との反応性も発現するものである。
撥液膜14は、かかる反応性により、プラズマ重合膜で構成された基膜141の表面にカップリング剤が結合し、このカップリング剤で構成される単分子膜142が基膜141上に形成されたものである。このような撥液膜14が、ノズルプレート本体10の基板20とは反対側(インクが吐出される側)の面に設けられることにより、ノズル孔11から吐出されるインクの液滴(インク滴)が、ノズルプレート80(ノズルプレート本体10)に付着するのを抑制することができる。
単分子膜142を構成するカップリング剤は、反応性が発現した基膜141の表面に結合する反応性官能基と、インクに対する撥液性の官能基(撥液性官能基)とを有するものである。
このような撥液性官能基は、例えば、フルオロアルキル基、アルキル基等や、カルボキシル基、水酸基、エポキシ基、アミノ基、メルカプト基、イソシアネート基、スルフィド基等、またはこれらを含有するもの(例えば、これらを末端に導入させたアルキル基)等が挙げられる。
特に、インクとして、樹脂分散剤等の有機成分(例えば、顔料インクにおける顔料を分散させるための分散樹脂、分散剤等)を含むものを用いた場合には、撥液性官能基として、長鎖アルキル基を有するものであるのが好ましい。このような長鎖アルキル基を有する撥液性官能基は、メチル基やエチル基等のアルキル基(または、上述したような官能基が末端に導入されたメチル基やエチル基等のアルキル基)で構成された撥液性官能基に比べて、樹脂分散剤等の有機成分に対する優れた撥油性を有する。そのため、このような撥液性官能基を備えたシランカップリング剤で構成された単分子膜142は、インク中に含まれる有機成分が、撥液膜14(ノズルプレート本体10)に付着するのを確実に防止することができる。
これに対して、シランカップリング剤として、メチル基やエチル基等の比較的炭素数の少ないアルキル基で構成された撥液性官能基を有するものを用いた場合には、単分子膜142にインク中の有機成分に対する十分な撥油性を付与することができず、撥液膜14の表面に有機成分が付着する可能性がある。
このような撥液性官能基が有する長鎖アルキル基の炭素数は、4以上が好ましく、6以上がより好ましい。これにより、撥液膜14(ノズルプレート本体10)にインク中の有機成分が付着するのをより確実に防止することができる。また、かかる範囲の炭素数の長鎖アルキル基を有するシランカップリング剤(単分子膜142)は、耐久性に優れたものとなり、撥液膜14の長寿命化を図ることができる。
また、このような反応性官能基としては、例えば、Ti、Li、Si、Na、K、Mg、Ca、St、Ba、Al、In、Ge、Bi、Fe、Cu、Y、Zr、Ta等を有する各種金属アルコキシドが挙げられる、これらの中でも、一般的に、Si、Ti、Al、Zr等を有する金属アルコキシドが挙げられるが、特に、Siを有するシランカップリング剤(金属アルコキシド)が好ましい。シランカップリング剤は、分子構造中にSi原子を含むことにより、シロキサン(Si−O)結合を含むプラズマ重合膜との親和性に優れている。そのため、エネルギーが付与され、反応性が発現したプラズマ重合膜(基膜141)の表面に、シランカップリング剤がより強固に結合する。これにより、基膜141上にシランカップリング剤で構成された単分子膜142が基膜141から剥離(脱離)するのを、より確実に防止あるいは抑制することができる。その結果、撥液膜14の撥液性は長期間にわたって優れたものとなる。
以上のことから、カップリング剤としては、上述したような撥液性官能基を有するシランカップリング剤であるのが好ましい。
なお、プラズマ重合膜(撥液膜14の基膜141および接合膜15)の構成については、後に詳述する。
ノズルプレート本体10には、各吐出液貯留室21に対応するように、それぞれノズル孔11が形成(穿設)されている。このノズル孔11に、吐出液貯留室21に貯留されたインクを押し出させることにより、インクを液滴として吐出することができる。なお、前述したノズルプレート80が有する撥液膜14および接合膜15は、このノズル孔11を、平面視で塞がないように、ノズルプレート本体10に設けられている。
また、ノズルプレート本体10は、各吐出液貯留室21や吐出液供給室22の内壁面の下面を構成している。すなわち、ノズルプレート本体10と、基板20および封止シート30とにより、各吐出液貯留室21や吐出液供給室22を画成している。
このようなノズルプレート本体10を構成する材料としては、例えば、前述したようなシリコン材料、金属材料、ガラス材料、セラミックス材料、炭素材料、樹脂材料、またはこれらの各材料の1種または2種以上を組み合わせた複合材料等が挙げられる。
これらの中でも、ノズルプレート本体10の構成材料は、シリコン材料またはステンレス鋼であるのが好ましい。このような材料は、耐薬品性に優れることから、長時間にわたってインクに曝されたとしても、ノズルプレート本体10が変質・劣化するのを確実に防止することができる。また、これらの材料は、加工性に優れるため、寸法精度の高いノズルプレート本体10が得られる。このため、信頼性の高いヘッド1が得られる。
なお、ノズルプレート本体10の構成材料は、線膨張係数が300℃以下で2.5〜4.5[×10-6/℃]程度であるものが好ましい。
また、ノズルプレート本体10の厚さは、特に限定されないが、0.01〜1mm程度であるのが好ましい。
一方、基板20の上面には、接合膜25を介して、封止シート30が接合(接着)されている。
また、封止シート30は、各吐出液貯留室21や吐出液供給室22の内壁面の上面を構成している。すなわち、封止シート30と、基板20およびノズルプレート10とにより、各吐出液貯留室21や吐出液供給室22を画成している。そして、封止シート30が基板20と確実に接合されていることにより、各吐出液貯留室21や吐出液供給室22の液密性を確保している。
封止シート30を構成する材料としては、例えば、前述したようなシリコン材料、金属材料、ガラス材料、セラミックス材料、炭素材料、樹脂材料、またはこれらの各材料の1種または2種以上を組み合わせた複合材料等が挙げられる。
これらの中でも、封止シート30の構成材料は、ポリフェニレンサルファイド(PPS)、アラミド樹脂のような樹脂材料、シリコン材料またはステンレス鋼であるのが好ましい。このような材料は、耐薬品性に優れることから、長時間にわたってインクに曝されたとしても、封止シート30が変質・劣化するのを確実に防止することができる。このため、吐出液貯留室21内および吐出液供給室22内に、長期間にわたってインクを貯留することができる。
このような封止シート30と基板20とを接合する接合膜25は、基板20と封止シート30とを接合または接着し得るものであれば、いかなる材料で構成されていてもよく、基板20や封止シート30の各構成材料によって適宜選択されるが、例えば、エポキシ系接着剤、シリコーン系接着剤、ウレタン系接着剤のような接着剤、半田、ろう材等が挙げられる。
また、このような接合膜25として、前述した接合膜15と同様の接合膜を用いることができる。
また、封止シート30の上面には、接合膜35を介して、振動板40が接合(接着)されている。
振動板40を構成する材料としては、例えば、前述したようなシリコン材料、金属材料、ガラス材料、セラミックス材料、炭素材料、樹脂材料、またはこれらの各材料の1種または2種以上を組み合わせた複合材料等が挙げられる。そして、振動板40が封止シート30と確実に接合されていることにより、圧電素子50に発生した歪みを、封止シート30の変位、すなわち各吐出液貯留室21の容積変化に確実に変換している。
これらの中でも、振動板40の構成材料は、シリコン材料またはステンレス鋼であるのが好ましい。このような材料は、高速で弾性変形することが可能である。このため、圧電素子50が振動板40を変位させることによって、吐出液貯留室21の容積を高速に変化させることができる。その結果、インクを高精度に吐出することができる。
このような振動板40と封止シート30とを接合する接合膜35は、封止シート30と振動板40とを接合または接着し得るものであれば、いかなる材料で構成されていてもよく、封止シート30や振動板40の各構成材料によって適宜選択されるが、例えば、エポキシ系接着剤、シリコーン系接着剤、ウレタン系接着剤のような接着剤、半田、ろう材等が挙げられる。
また、このような接合膜35として、前述した接合膜15と同様の接合膜を用いることができる。
また、本実施形態では、封止シート30と振動板40とを積層してなる積層体により封止板を構成しているが、この封止板は、1層であってもよく、3層以上の層が積層してなる積層体で構成されていてもよい。
なお、3層以上の層が積層してなる積層体によって封止板が構成されている場合、積層体中の層のうち、隣接する少なくとも1組の層間が接合膜35で接合されたものであれば、積層体の寸法精度が高くなり、ひいては、ヘッド1の寸法精度を高めることができる。
振動板40の上面の一部(図2では、振動板40の上面の中央部付近)に、接合膜45aを介して、圧電素子(振動手段)50が接合(接着)されている。
圧電素子50は、圧電材料で構成された圧電体層51と、この圧電体層51に電圧を印加する電極膜52との積層体で構成されている。このような圧電素子50では、電極膜52を介して圧電体層51に電圧を印加することにより、圧電体層51に電圧に応じた歪みが発生する(逆圧電効果)。この歪みが振動板40および封止シート30に撓み(振動)をもたらし、吐出液貯留室21の容積を変化させる。このように、圧電素子50が振動板40と確実に接合されていることにより、圧電素子50に発生した歪みを、振動板40および封止シート30の変位、ひいては、各吐出液貯留室21の容積変化へと確実に変換することができる。
また、圧電体層51と電極膜52との積層方向は、特に限定されず、振動板40に対して平行な方向であっても、直交する方向であってもよい。なお、圧電体層51と電極膜52との積層方向が、振動板40に対して直交する方向である場合、このように配置された圧電素子50を特にMLP(Multi Layer Piezo)と言う。圧電素子50がMLPであれば、振動板40の変位量を大きくとることができるので、インクの吐出量の調整幅が大きいという利点がある。
圧電素子50のうち、接合膜45aに隣接する(接触する)面は、圧電素子50の配置方法によって異なるが、圧電体層が露出した面、電極膜が露出した面、または圧電体層と電極膜の双方が露出した面のいずれかである。
圧電素子50のうち、圧電体層51を構成する材料としては、例えば、チタン酸バリウム、ジルコン酸鉛、チタン酸ジルコン酸鉛、酸化亜鉛、窒化アルミニウム、タンタル酸リチウム、ニオブ酸リチウム、水晶等が挙げられる。
一方、電極膜52を構成する材料としては、例えば、Fe、Ni、Co、Zn、Pt、Au、Ag、Cu、Pd、Al、W、Ti、Mo、またはこれらを含む合金等の各種金属材料が挙げられる。
このような圧電素子50と振動板40とを接合する接合膜45aは、振動板40と圧電素子50とを接合または接着し得るものであれば、いかなる材料で構成されていてもよく、振動板40や圧電素子50の各構成材料によって適宜選択されるが、例えば、エポキシ系接着剤、シリコーン系接着剤、ウレタン系接着剤のような接着剤、半田、ろう材等が挙げられる。
また、このような接合膜45aとして、前述した接合膜15と同様の接合膜を用いることができる。
ここで、前述した振動板40は、圧電素子50に対応する位置を取り囲むように環状に形成された凹部53を有している。すなわち、圧電素子50に対応する位置では、振動板40の一部が、この環状の凹部53を隔てて島状に孤立している。
なお、接合膜45aは、環状の凹部53の内側に設けられている。
また、圧電素子50の電極膜52は、図示しない駆動ICと電気的に接続されている。これにより、駆動素子50の動作を駆動ICによって制御することができる。
また、振動板40の上面の一部には、接合膜45bを介して、ケースヘッド60が接合(接着)されている。このように、ケースヘッド60が振動板40と確実に接合されていることにより、ノズルプレート10、基板20、封止シート30および振動板40の積層体で構成された、いわゆるキャビティ部分を補強し、キャビティ部分のよじれや反り等を確実に抑制することができる。
ケースヘッド60を構成する材料としては、例えば、前述したようなシリコン材料、金属材料、ガラス材料、セラミックス材料、炭素材料、樹脂材料、またはこれらの各材料の1種または2種以上を組み合わせた複合材料等が挙げられる。
これらの中でも、ケースヘッド60の構成材料は、ポリフェニレンサルファイド(PPS)、ザイロンのような変性ポリフェニレンエーテル樹脂(「ザイロン」は登録商標)またはステンレス鋼であるのが好ましい。これらの材料は、十分な剛性を備えていることから、ヘッド1を支持するケースヘッド60の構成材料として好適である。
このようなケースヘッド60と振動板40とを接合する接合膜45bは、振動板40とケースヘッド60とを接合または接着し得るものであれば、いかなる材料で構成されていてもよく、振動板40やケースヘッド60の各構成材料によって適宜選択されるが、例えば、エポキシ系接着剤、シリコーン系接着剤、ウレタン系接着剤のような接着剤、半田、ろう材等が挙げられる。
また、このような接合膜45bとして、前述した接合膜15と同様の接合膜を用いることができる。
また、接合膜25、封止シート30、接合膜35、振動板40および接合膜45bは、吐出液供給室22に対応する位置に貫通孔23を有する。この貫通孔23により、ケースヘッド60に設けられた吐出液供給路61と吐出液供給室22とが連通している。なお、吐出液供給路61と吐出液供給室22とにより、複数の吐出液貯留室21にインクを供給する共通のインク室として機能するリザーバ70の一部を構成する。
このようなヘッド1では、図示しない外部吐出液供給手段からインクを取り込み、リザーバ70からノズル孔11に至るまで内部をインクで満たした後、駆動ICからの記録信号により、各吐出液貯留室21に対応するそれぞれの圧電素子50を動作させる。これにより、圧電素子50の逆圧電効果によって振動板40および封止シート30に撓み(振動)が生じる。その結果、例えば、各吐出液貯留室21内の容積が収縮すると、各吐出液貯留室21内の圧力が瞬間的に高まり、ノズル孔11からインクが液滴として押し出される(吐出される)。
このようにして、ヘッド1において、印刷したい位置の圧電素子50に、駆動ICを介して電圧を印加すること、すなわち、吐出信号を順次入力することにより、任意の文字が図形等を印刷することができる。
なお、ヘッド1は、前述したような構成のものに限らず、例えば、振動手段として圧電素子50をヒータで代替した構成(サーマル方式)のヘッドであってもよい。このようなヘッドは、ヒータでインクを加熱して沸騰させ、それによって吐出液貯留室内の圧力を高めることにより、インクをノズル孔11から液滴として吐出するよう構成されているものである。
さらに、振動手段のその他の例としては、静電アクチュエータ方式等が挙げられる。
なお、本実施形態のように、振動手段が圧電素子で構成されていることにより、振動板40および封止シート30に発生する撓みの程度を容易に制御することができる。これにより、インク滴の大きさを容易に制御することができる。
次に、プラズマ重合膜(撥液膜14の基膜141および接合膜15)の構成について説明する。

このようなプラズマ重合膜は、プラズマ重合法により形成されたものであり、図4に示すように、シロキサン(Si−O)結合302を含み、ランダムな原子構造を有するSi骨格301と、このSi骨格301に結合する脱離基303とを含むものである。
そして、このプラズマ重合膜にエネルギーを付与すると、図5に示すように、一部の脱離基303がSi骨格301から脱離し、代わりに活性手304が生じる。
このように、エネルギーが付与され、活性手304が生じたプラズマ重合膜の表面には、接着性が発現する。
このようなプラズマ重合膜は、シロキサン結合302を含みランダムな原子構造を有するSi骨格301の影響によって、変形し難い強固な膜となる。これは、Si骨格301の結晶性が低くなるため、結晶粒界における転位やズレ等の欠陥が生じ難いためであると考えられる。このため、このようなプラズマ重合膜で構成された接合膜15を介して接合されたノズルプレート本体10と基板20との間の距離を、高い寸法精度で一定に保持することができ、各吐出液貯留室21や吐出液供給室22の各容積を厳密に制御することができる。その結果、ヘッド1内に複数個設けられた各吐出液貯留室21同士の容積を均一にすることができ、各ノズル孔11から吐出されるインク滴の大きさを揃えることができる。また、ノズルプレート10の固定角度を厳密に制御することができるため、インク滴の吐出方向を一定に維持することができる。
また、このようなプラズマ重合膜は、プラズマ重合法により作製されたものである。プラズマ重合法によれば、最終的に、緻密で均質なプラズマ重合膜を効率良く作製することができる。これにより、プラズマ重合膜で構成された接合膜15は、ノズルプレート本体10と基板20とを強固に接合し得るものとなる。さらに、プラズマ重合法で作製され、エネルギーが付与された接合膜15は、エネルギーが付与されて活性化された状態が比較的長時間にわたって維持することができる。このため、ヘッド1の製造過程の簡素化、効率化を図ることができる。
また、このようなプラズマ重合膜で構成された接合膜15を用いて基板20とノズルプレート本体10とを接合したことにより、従来、接着剤を用いて接合した場合に、接着剤がはみ出すといった問題が生じることがない。したがって、はみ出した接着剤がヘッド1内のインクの流路を塞いでしまうのを避けることができる。また、はみ出した接着剤を除去する手間も省略できるという利点もある。
また、このようなプラズマ重合膜は、前述したような強固なSi骨格301の作用により、耐薬品性に優れる。そのため、接合膜15は長期にわたってインクに曝されたとしても、変質・劣化することが防止される。これにより、接合膜15を介して接合されたノズルプレート本体10と基板20との接合(接着)を長期間にわたって確保することができる。すなわち、接合膜15によれば、ヘッド1の液密性を十分に確保することができるため、信頼性の高いヘッド1を提供することができる。
さらに、このようなプラズマ重合膜は、化学的に安定なSi骨格301の作用により、耐熱性に優れている。このため、ヘッド1が高温下に曝されたとしても、接合膜15の変質・劣化を確実に防止することができる。
また、このようなプラズマ重合膜は、流動性を有しない固体状のものとなる。このため、従来の流動性を有する液状または粘液状の接着剤に比べて、接着層(接合膜15)の厚さや形状がほとんど変化しない。このため、接合膜15を用いて製造されたヘッド1の寸法精度は、従来に比べて格段に高いものとなる。さらに、接着剤の硬化に要する時間が不要になるため、短時間で強固な接合を可能にするものである。
また、プラズマ重合膜に生じた活性手304は、プラズマ重合膜に接着性を発現させるとともに、カップリング剤(カップリング剤が有する反応性官能基)との反応性を有する。
このような活性手304は、カップリング剤と強固に結合するものとなる。そのため、カップリング剤で構成された単分子膜142は、プラズマ重合膜で構成された基膜141と剥離し難い、強固に結合したものとなる。
このような基膜141と単分子膜142とで構成された撥液膜14を、ノズルプレート本体10の基板20とは反対側の面に設けることにより、ノズル孔11から吐出されるインク滴が、ノズルプレート80(ノズルプレート本体10)に付着するのが確実に防止される。これにより、ノズル孔11からインクを吐出する際に、インクの飛行曲がりが起こるのを確実に防止し、所定の位置に安定してインクを吐出することができる。
上述したような撥液膜14と接合膜15とを有するノズルプレート80を備えるヘッド1は、高い寸法精度を有するものとなるとともに、インクを吐出する際に、飛行曲がりの発生が確実に防止されたものとなる。その結果、インクジェットプリンタ9による印字の品位を高めることができる。また、複数のヘッド1を作製する場合には、ヘッド1毎の印字品位のバラツキを抑制することができるので、インクジェットプリンタ9の印字品位の個体差を抑制することができる。
このようなプラズマ重合膜としては、特に、プラズマ重合膜を構成する全原子からH原子を除いた原子のうち、Si原子の含有率とO原子の含有率の合計が、10〜90原子%程度であるのが好ましく、20〜80原子%程度であるのがより好ましい。Si原子とO原子とが、前記範囲の含有率で含まれていれば、接合膜15および撥液膜14を構成する基膜141は、Si原子とO原子とが強固なネットワークを形成し、それぞれがより強固な膜となる。これにより、接合膜15は、基板20およびノズルプレート本体10に対して、特に高い接合強度を示すものとなる。また、撥液膜14の耐久性が特に優れたものとなり、撥液膜14の撥液性は長期間にわたって特に優れたものとなる。
また、プラズマ重合膜中のSi原子とO原子の存在比は、3:7〜7:3程度であるのが好ましく、4:6〜6:4程度であるのがより好ましい。Si原子とO原子の存在比を前記範囲内になるよう設定することにより、プラズマ重合膜の安定性をより高いものとすることができる。これにより、接合膜15を介して、ノズルプレート本体10と基板20とをより強固に接合することができる。また、撥液膜14は、プラズマ重合膜で構成される基膜141からカップリング剤が脱離するのが確実に防止される結果、特に優れた撥液性を有するものとなる。
なお、プラズマ重合膜中のSi骨格301の結晶化度は、45%以下であるのが好ましく、40%以下であるのがより好ましい。これにより、Si骨格301は十分にランダムな原子構造を含むものとなる。このため、前述したSi骨格301の特性が顕在化し、接合膜15の寸法精度および接着性がより優れたものとなる。
また、プラズマ重合膜は、その構造中にSi−H結合を含んでいるのが好ましい。このSi−H結合は、プラズマ重合法によってシランが重合反応する際に重合物中に生じるものであるが、このとき、Si−H結合がシロキサン結合の生成が規則的に行われるのを阻害すると考えられる。このため、シロキサン結合は、Si−H結合を避けるように形成されることとなり、Si骨格301の原子構造の規則性が低下する。このようにして、プラズマ重合法によれば、結晶化度の低いSi骨格301を効率よく形成することができる。
一方、プラズマ重合膜中のSi−H結合の含有率が多ければ多いほど結晶化度が低くなるわけではない。具体的には、プラズマ重合膜の赤外光吸収スペクトルにおいて、シロキサン結合に帰属するピークの強度を1としたとき、Si−H結合に帰属するピークの強度は、0.001〜0.2程度であるのが好ましく、0.002〜0.05程度であるのがより好ましく、0.005〜0.02程度であるのがさらに好ましい。Si−H結合のシロキサン結合に対する割合が前記範囲内であることにより、プラズマ重合膜中の原子構造は、相対的に最もランダムなものとなる。このため、Si−H結合のピーク強度がシロキサン結合のピーク強度に対して前記範囲内にある場合、撥液膜14および接合膜15の耐薬品性が特に優れたものとなるとともに、接合膜15は、接合強度および寸法精度が特に優れたものとなる。
また、Si骨格301に結合する脱離基303は、前述したように、Si骨格301から脱離することによって、プラズマ重合膜に活性手304を生じさせるよう振る舞うものである。したがって、脱離基303には、エネルギーを付与されることによって、比較的簡単に、かつ均一に脱離するものの、エネルギーが付与されないときには、脱離しないようSi骨格301に確実に結合しているものである必要がある。
かかる観点から、脱離基303には、H原子、B原子、C原子、N原子、O原子、P原子、S原子およびハロゲン系原子、またはこれらの各原子を含み、これらの各原子がSi骨格301に結合するよう配置された原子団からなる群から選択される少なくとも1種で構成されたものが好ましく用いられる。かかる脱離基303は、エネルギーの付与による結合/脱離の選択性に比較的優れている。そのため、エネルギーの付与により、接合膜15に容易に、かつ優れた接着性を発現させることができる。また、基膜141の表面に、カップリング剤をより均一にかつ確実に結合することができ、撥液膜14の撥液性は特に優れたものとなる。
なお、上記のような各原子がSi骨格301に結合するよう配置された原子団(基)としては、例えば、メチル基、エチル基のようなアルキル基、ビニル基、アリル基のようなアルケニル基、アルデヒド基、ケトン基、カルボキシル基、アミノ基、アミド基、ニトロ基、ハロゲン化アルキル基、メルカプト基、スルホン酸基、シアノ基、イソシアネート基等が挙げられる。
これらの各基の中でも、脱離基303は、特にアルキル基であるのが好ましい。このようなアルキル基は化学的な安定性が高いものである。そのため、接合膜15の耐候性および耐薬品性を、特に優れたものとすることができる。また、脱離基303がアルキル基であるプラズマ重合膜で構成された基膜141では、エネルギーの付与後に基膜141に残存したアルキル基の存在により、撥液膜14のインクに対する耐久性が向上し、撥液膜14は、長期間にわたって撥液性に優れたものとなる。
また、プラズマ重合膜中に含まれる脱離基303が、メチル基(−CH)である場合、その好ましい含有率は、赤外光吸収スペクトルにおけるピーク強度から以下のように規定される。
すなわち、プラズマ重合膜の赤外光吸収スペクトルにおいて、シロキサン結合に帰属するピークの強度を1としたとき、メチル基に帰属するピークの強度は、0.05〜0.45程度であるのが好ましく、0.1〜0.4程度であるのがより好ましく、0.2〜0.3程度であるのがさらに好ましい。メチル基のピーク強度がシロキサン結合のピーク強度に対する割合が前記範囲内であることにより、メチル基がシロキサン結合の生成を必要以上に阻害するのを防止しつつ、エネルギーが付与されることにより、プラズマ重合膜中に必要かつ十分な数の活性手が生じる。このため、このようなプラズマ重合膜で構成された接合膜15に十分な接着性が生じるとともに、基膜141に、カップリング剤との高い反応性が生じる。また、撥液膜14および接合膜15には、メチル基に起因する十分な耐候性および耐薬品性が発現する。
このような特徴を有するプラズマ重合膜の構成材料としては、例えば、ポリオルガノシロキサンのようなシロキサン結合を含む重合物等が挙げられる。
このようなポリオルガノシロキサンは、エネルギーが付与されることにより、容易に有機基を脱離させることができ、すぐれた接着性およびカップリング剤との反応性を発現する。その結果、接合膜15は、ノズルプレート本体10と基板20とをより強固に接合するものとなるとともに、撥液膜14は、基膜141と単分子膜142とが強固に結合したものとなり、より優れた撥液性を有するものとなる。また、ポリオルガノシロキサンで構成されたプラズマ重合膜は、それ自体が優れた機械的特性を有するものである。これにより、ポリオルガノシロキサンで構成された撥液膜14および接合膜15を有するノズルプレート80を備えるヘッド1の信頼性を特に優れたものとすることができる。
また、ポリオルガノシロキサンの中でも、特に、オクタメチルトリシロキサンの重合物を主成分とするものが好ましい。オクタメチルトリシロキサンの重合物を主成分とするプラズマ重合膜は、エネルギーが付与されると、接着性およびカップリング剤との反応性に特に優れることから、本発明のノズルプレートに対して特に好適に適用できるものである。また、オクタメチルトリシロキサンを主成分とする原料は、常温で液状をなし、適度な粘度を有するため、取り扱いが容易であるという利点もある。
また、撥液膜14を構成する基膜141の平均厚さは、20〜1000nm程度であるのが好ましく、2〜800nm程度であるのがより好ましい。基膜141の平均厚さを前記範囲内とすることにより、撥液膜14の撥液性がより確実に発現されるとともに、長期間にわたって、その撥液性が保持されるものとなる。
また、接合膜15の平均厚さは、1〜1000nm程度であるのが好ましく、2〜800nm程度であるのがより好ましい。接合膜15の平均厚さを前記範囲内とすることにより、基板20とノズルプレート10との間の寸法精度が著しく低下するのを防止しつつ、これらをより強固に接合することができる。
すなわち、接合膜15の平均厚さが前記下限値を下回った場合は、十分な接合強度が得られないおそれがある。一方、接合膜15の平均厚さが前記上限値を上回った場合は、ヘッド1の寸法精度が著しく低下するおそれがある。
また、接合膜15の平均厚さが前記範囲内であれば、接合膜15にある程度の形状追従性が確保される。このため、例えば、基板20の接合面(接合膜15に隣接する面)に凹凸が存在している場合でも、その凹凸の高さにもよるが、凹凸の形状に追従するように接合膜15を被着させることができる。その結果、接合膜15は、凹凸を吸収して、その表面に生じる凹凸の高さを緩和することができる。そして、接合膜15を備えるノズルプレーと80と基板20とを貼り合わせた際に、接合膜15の基板20に対する密着性を高めることができる。
なお、上記のような形状追従性の程度は、接合膜15の厚さが厚いほど顕著になる。したがって、形状追従性を十分に確保するためには、接合膜15の厚さをできるだけ厚くすればよい。
このようなヘッド1は、例えば、次のようにして製造することができる。以下、ヘッド1の製造方法(本発明の液滴吐出ヘッドの製造方法)について説明する。
図6ないし図10は、インクジェット式記録ヘッドの製造方法を説明するための図(縦断面図)である。なお、以下の説明では、図6ないし図10中の上側を「上」、下側を「下」と言う。
本実施形態にかかるヘッド1の製造方法は、ノズル孔11を有するノズルプレート本体10の両面に撥液膜14および接合膜15を備えるノズルプレート80と、基板20、封止シート30、振動板40、圧電素子50およびケースヘッド60が接合した接合体90とを用意する工程と、ノズルプレート80の一方の面に備えられた接合膜15の表面にエネルギーを付与し、接合膜15の表面付近に存在する脱離基303をSi骨格301から脱離させることにより、接合膜15の表面に接着性を発現させる工程と、ノズルプレート80を、接着性が発現した接合膜15を介して、接合体90の基板20に接合する工程とを有する。
以下、各工程について順次説明する。
[1]前述したようなノズルプレート80と、基板20、封止シート30、振動板40、圧電素子50およびケースヘッドが接合した接合体90を用意する。
[1A]まず、ノズルプレート本体10を作製するための母材として、母材10’を用意する(図6(a)参照)。母材10’は後述する工程においてノズル孔11を形成することにより、ノズルプレート本体10になり得るものである。
このような母材10’の両面に、プラズマ重合法により、撥液膜14の基膜141および接合膜15を形成する(図6(b)参照)。プラズマ重合法は、例えば、強電界中に、原料ガスとキャリアガスとの混合ガスを供給することにより、原料ガス中の分子を重合させ、重合物を母材10’上に堆積させ、膜を得る方法である。
以下、基膜141および接合膜15をプラズマ重合法にて形成する方法について詳述するが、まず、基膜141および接合膜15の形成方法を説明するのに先立って、母材10’上にプラズマ重合法を行いて基膜141および接合膜15を作製する際に用いるプラズマ重合装置について説明し、その後、基膜141および接合膜15の形成方法について説明する。
図11は、本実施形態にかかるインクジェット式記録ヘッドが備えるプラズマ重合膜の作製に用いられるプラズマ重合装置を模式的に示す縦断面図である。なお、以下の説明では、図11中の上側を「上」、下側を「下」と言う。
図11に示すプラズマ重合装置100は、チャンバー101と、第1の電極130と、第2の電極140と、各電極130、140間に高周波電圧を印加する電源回路180と、チャンバー101内にガスを供給するガス供給部190と、チャンバー101内のガスを排気する排気ポンプ170とを備えている。これらの各部のうち、第1の電極130および第2の電極140がチャンバー101内に設けられている。以下、各部について詳細に説明する。
チャンバー101は、内部の気密を保持し得る容器であり、内部を減圧(真空)状態にして使用されるため、内部と外部との圧力差に耐え得る耐圧性能を有するものとされる。
図11に示すチャンバー101は、軸線が水平方向に沿って配置されたほぼ円筒形をなすチャンバー本体と、チャンバー本体の左側開口部を封止する円形の側壁と、右側開口部を封止する円形の側壁とで構成されている。
チャンバー101の上方には供給口103が、下方には排気口104が、それぞれ設けられている。そして、供給口103にはガス供給部190が接続され、排気口104には排気ポンプ170が接続されている。
なお、本実施形態では、チャンバー101は、導電性の高い金属材料で構成されており、接地線102を介して電気的に接地されている。
第1の電極130は、チャンバー101の側壁の内壁面に、鉛直方向に沿って設けられており、これにより、第1の電極130は、チャンバー101を介して電気的に接地されている。なお、第1の電極130は、図11に示すように、チャンバー本体と同心状に設けられている。
第1の電極130と第2の電極140との間には、母材10’を一対の電極130、140間に支持、固定するホルダー(図示せず)が設けられている。かかるホルダーにより、母材10’が、チャンバー101内の一対の電極130、140間に固定され、後述する電源回路180を作動させた際に、母材10’の両面に対して、同時にプラズマ重合膜を成膜することができる。
第2の電極140は、母材10’を介して、第1の電極130と対向して設けられている。なお、第2の電極140は、チャンバー101の側壁の内壁面から離間した(絶縁された)状態で設けられている。
この第2の電極140には、配線184を介して高周波電源182が接続されている。また、配線184の途中には、マッチングボックス(整合器)183が設けられている。これらの配線184、高周波電源182およびマッチングボックス183により、電源回路180が構成されている。
このような電源回路180によれば、第1の電極130は接地されているので、第1の電極130と第2の電極140との間に高周波電圧が印加される。これにより、第1の電極130と第2の電極140との間隙には、高い周波数で向きが反転する電界が誘起される。
ガス供給部190は、チャンバー101内に所定のガスを供給するものである。
図11に示すガス供給部190は、液状の膜材料(原料液)を貯留する貯液部191と、液状の膜材料を気化してガス状に変化させる気化装置192と、キャリアガスを貯留するガスボンベ193とを有している。また、これらの各部とチャンバー101の供給口103とが、それぞれ配管194で接続されており、ガス状の膜材料(原料ガス)とキャリアガスとの混合ガスを、供給口103からチャンバー101内に供給するように構成されている。
貯液部191に貯留される液状の膜材料は、プラズマ重合装置100により、重合して母材10’の表面に重合膜を形成する原材料となるものである。
このような液状の膜材料は、気化装置192により気化され、ガス状の膜材料(原料ガス)となってチャンバー101内に供給される。なお、原料ガスについては、後に詳述する。
ガスボンベ193に貯留されるキャリアガスは、電界の作用により放電し、およびこの放電を維持するために導入するガスである。このようなキャリアガスとしては、例えば、Arガス、Heガス等が挙げられる。
また、チャンバー101内の供給口103の近傍には、拡散板195が設けられている。
拡散板195は、チャンバー101内に供給される混合ガスの拡散を促進する機能を有する。これにより、混合ガスは、チャンバー101内に、ほぼ均一の濃度で分散することができる。
排気ポンプ170は、チャンバー101内を排気するものであり、例えば、油回転ポンプ、ターボ分子ポンプ等で構成される。このようにチャンバー101内を排気して減圧することにより、ガスを容易にプラズマ化することができる。また、大気雰囲気との接触による母材10’の汚染・酸化等を防止するとともに、プラズマ処理による反応生成物をチャンバー101内から効果的に除去することができる。
また、排気口104には、チャンバー101内の圧力を調整する圧力制御機構171が設けられている。これにより、チャンバー101内の圧力が、ガス供給部190の動作状況に応じて、適宜設定される。
次に、母材10’の両面に、プラズマ重合膜(撥液膜14の基膜141および接合膜15)を形成する方法について説明する。
まず、母材10’をプラズマ重合装置100のチャンバー101内の一対の電極130、140間で固定するホルダーに収納して封止状態とした後、排気ポンプ170の作動により、チャンバー101内を減圧状態とする。
次に、ガス供給部190を作動させ、チャンバー101内に原料ガスとキャリアガスの混合ガスを供給する。供給された混合ガスは、チャンバー101内に充填される。
ここで、混合ガス中における原料ガスの占める割合(混合比)は、原料ガスやキャリアガスの種類や目的とする成膜速度等によって若干異なるが、例えば、混合ガス中の原料ガスの割合を20〜70%程度に設定するのが好ましく、30〜60%程度に設定するのがより好ましい。これにより、重合膜の形成(成膜)の条件の最適化を図ることができる。
また、供給するガスの流量は、ガスの種類や目的とする成膜速度、膜厚等によって適宜決定され、特に限定されるものではないが、通常は、原料ガスおよびキャリアガスの流量を、それぞれ、1〜100ccm程度に設定するのが好ましく、10〜60ccm程度に設定するのがより好ましい。
次いで、電源回路180を作動させ、一対の電極130、140間に高周波電圧を印加する。これにより、一対の電極130、140間に存在するガスの分子が電離し、プラズマが発生する。このプラズマのエネルギーにより原料ガス中の分子が重合し、重合物がホルダーに収納された母材10’の両面に付着・堆積する。これにより、図6(b)に示すように、プラズマ重合膜が母材10’の両面に形成される。これにより、母材10’の一方の面に形成されたプラズマ重合膜が、エネルギーが付与されることにより、その表面にカップリング剤との反応性が発現する基膜141となり、他方の面に形成されたプラズマ重合膜が、エネルギーが付与されることにより、その表面に接着性が発現する接合膜15となる。
以上のようなプラズマ重合膜の形成方法を用いることにより、母材10’に、撥液膜14の基膜141と接合膜15とを同時に形成することができる。これにより、一般に、ノズルプレートの一方の面に撥液処理を施した後、ノズルプレートの他方の面とキャビティとをエポキシ樹脂等の接着剤を用いて接着するようなヘッドの製造方法に比べて、少ない工程数で製造することができるとともに、寸法精度の高いヘッド1を効率良く製造することができる。
また、プラズマの作用により、母材10’の表面が活性化・清浄化される。このため、原料ガスの重合物が母材10’の表面に堆積し易くなり、プラズマ重合膜(基膜141および接合膜15)の安定した成膜が可能になる。このようにプラズマ重合法によれば、母材10’の構成材料によらず、母材10’と基膜141および接合膜15との密着強度をより高めることができる。
原料ガスとしては、例えば、メチルシロキサン、オクタメチルトリシロキサン、デカメチルテトラシロキサン、デカメチルシクロペンタシロキサン、オクタメチルシクロテトラシロキサン、メチルフェニルシロキサンのようなオルガノシロキサン等が挙げられる。
このような原料ガスを用いて得られるプラズマ重合膜、すなわち基膜141および接合膜15は、これらの原料が重合してなるもの(重合物)、すなわちポリオルガノシロキサンで構成されることとなる。
プラズマ重合の際、一対の電極130、140間に印加する高周波の周波数は、特に限定されないが、1kHz〜100MHz程度であるのが好ましく、10〜60MHz程度であるのがより好ましい。
また、高周波の出力密度は、特に限定されないが、0.01〜100W/cm程度であるのが好ましく、0.1〜50W/cm程度であるのがより好ましく、1〜40W/cm程度であるのがさらに好ましい。高周波の出力密度を前記範囲内とすることにより、高周波の出力密度が高過ぎて原料ガスに必要以上のプラズマエネルギーが付加されるのを防止しつつ、ランダムな原子構造を有するSi骨格301を確実に形成することができる。すなわち、高周波の出力密度が前記下限値を下回った場合、原料ガス中の分子に重合反応を生じさせることができず、接合膜15を形成することができないおそれがある。一方、高周波の出力密度が前記上限値を上回った場合、原料ガスが分解する等して、脱離基303となり得る構造がSi骨格301から分離してしまい、得られる接合膜15において脱離基303の含有率が著しく低くなったり、Si骨格301のランダム性が低下する(規則性が高くなる)おそれがある。
また、成膜時のチャンバー101内の圧力は、133.3×10−5〜1333Pa(1×10−5〜10Torr)程度であるのが好ましく、133.3×10−4〜133.3Pa(1×10−4〜1Torr)程度であるのがより好ましい。
原料ガス流量は、0.5〜200sccm程度であるのが好ましく、1〜100sccm程度であるのがより好ましい。一方、キャリアガス流量は、5〜750sccm程度であるのが好ましく、10〜500sccm程度であるのがより好ましい。
処理時間は、1〜10分程度であるのが好ましく、4〜7分程度であるのがより好ましい。なお、成膜されるプラズマ重合膜(基膜141および接合膜15)の厚さは、主に、この処理時間に比例する。したがって、この処理時間を調整することのみで、プラズマ重合膜の厚さを容易に調整することができる。このため、従来は、接着剤を用いて基板とノズルプレートとを接着した場合、接着剤の厚さを厳密に制御することができなかったが、接合膜15によれば、接合膜15の厚さを厳密に制御することができるので、ノズルプレート本体10と基板20との距離を厳密に制御することができる。
また、ノズルプレート本体10の温度は、25℃以上であるのが好ましく、25〜100℃程度であるのがより好ましい。
以上のようにして、ノズルプレート本体10の両面に基膜141および接合膜15が形成されたノズルプレート80を得ることができる。
なお、母材10’に形成する接合膜15を、基板20と接合する領域のみに部分的に形成する場合、例えば、母材10’の接合膜15が形成され得る側の面に、この領域に対応する形状の窓部を有するマスクを設けて、このマスク上から接合膜15を形成するようにすればよい。
また、本実施形態では、母材10’の両面に対して、同時にプラズマ重合膜を形成する場合について説明したが、母材10’の一方の面に、プラズマ重合法を用いてプラズマ重合膜を形成した後、もう一方の面にプラズマ重合膜を形成してもよい。
また、母材10’のプラズマ重合膜(基膜141および接合膜15)を成膜する領域には、あらかじめ、プラズマ重合膜との密着性を高める表面処理を施すのが好ましい。これにより、ノズルプレート本体10とプラズマ重合膜との間の接合強度をより高めることができる。結果として、撥液膜14の耐久性が優れたものとなるとともに、接合膜15を介して、ノズルプレート本体10と基板20との接合強度を特に優れたものとすることができる。
かかる表面処理としては、例えば、スパッタリング処理、ブラスト処理のような物理的表面処理、酸素プラズマ、窒素プラズマ等を用いたプラズマ処理、コロナ放電処理、エッチング処理、電子線照射処理、紫外線照射処理、オゾン暴露処理のような化学的表面処理、または、これらを組み合わせた処理等が挙げられる。このような処理を施すことにより、母材10’のプラズマ重合膜を成膜する領域を清浄化するとともに、該領域を活性化させることができる。
また、これらの各表面処理の中でもプラズマ処理を用いることにより、プラズマ重合膜を形成するために、母材10’の表面を特に最適化することができる。
なお、表面処理を施す母材10’が、樹脂材料(高分子材料)で構成されている場合には、特に、コロナ放電処理、窒素プラズマ処理等が好適に用いられる。
また、母材10’の構成材料によっては、上記のような表面処理を施さなくても、プラズマ重合膜との接合強度が十分に高くなるものがある。このような効果が得られる母材10’の構成材料としては、例えば、前述したような各種金属系材料、各種シリコン系材料、各種ガラス系材料等を主材料とするものが挙げられる。
このような材料で構成された母材10’は、その表面が酸化膜で覆われており、この酸化膜の表面には、比較的活性の高い水酸基が結合している。したがって、このような材料で構成された母材10’を用いると、上記のような表面処理を施さなくても、母材10’とプラズマ重合膜とを強固に密着させることができる。
なお、この場合、母材10’の全体が上記のような材料で構成されていなくてもよく、少なくともプラズマ重合膜を成膜する領域の表面付近が上記のような材料で構成されていればよい。
さらに、母材10’のプラズマ重合膜を成膜する領域に、以下の基や物質を有する場合には、上記のような表面処理を施さなくても、母材10’とプラズマ重合膜との接合強度を十分に高くすることができる。
このような基や物質としては、例えば、水酸基、チオール基、カルボキシル基、アミノ基、ニトロ基、イミダゾール基のような官能基、ラジカル、開環分子、2重結合、3重結合のような不飽和結合、F、Cl、Br、Iのようなハロゲン、過酸化物からなる群から選択される少なくとも1つの基または物質が挙げられる。
また、このようなものを有する表面が得られるように、上述したような各種表面処理を適宜選択して行うのが好ましい。
また、表面処理に代えて、母材10’の少なくともプラズマ重合膜を成膜する領域には、あらかじめ、中間層を形成しておくのが好ましい。
この中間層は、いかなる機能を有するものであってもよく、例えば、プラズマ重合膜との密着性を高める機能、クッション性(緩衝機能)、応力集中を緩和する機能等を有するものが好ましい。このような中間層を介して母材10’上にプラズマ重合膜を成膜することにより、母材10’とプラズマ重合膜(基膜141および接合膜15)との接合強度を高め、信頼性の高いノズルプレート80、ひいては、信頼性の高いヘッド1を得ることができる。
かかる中間層の構成材料としては、例えば、アルミニウム、チタンのような金属系材料、金属酸化物、シリコン酸化物のような酸化物系材料、金属窒化物、シリコン窒化物のような窒化物系材料、グラファイト、ダイヤモンドライクカーボンのような炭素系材料、シランカップリング剤、チオール系化合物、金属アルコキシド、金属−ハロゲン化合物のような自己組織化膜材料等が挙げられ、これらのうちの1種または2種以上を組み合わせて用いることができる。
また、これらの各材料で構成された中間層の中でも、酸化物系材料で構成された中間層によれば、母材10’とプラズマ重合膜との間の接合強度を特に高めることができる。
[1B]次に、母材10’が備える基膜141に対してエネルギーを付与する(図6(c)参照)。
エネルギーが付与されると、基膜141では、図4に示すように、脱離基303がSi骨格301から脱離する。そして、脱離基303が脱離した後には、図5に示すように、基膜141の表面および内部に活性手304が生じる。これにより、基膜141の表面に、カップリング剤(カップリング剤が有する反応性官能基)との反応性が生じる。
ここで、基膜141に付与するエネルギーは、いかなる方法で付与されてもよく、例えば、(I)基膜141にエネルギー線を照射する方法、(II)基膜141を加熱する方法が代表的に挙げられ、この他、プラズマに曝す(プラズマエネルギーを付与する)方法、オゾンガスに曝す(化学的エネルギーを付与する)方法等が挙げられる。
このうち、基膜141にエネルギーを付与する方法として、特に、上記(I)、(II)の各方法のうち、少なくとも1つの方法を用いるのが好ましい。これらの方法は、基膜141に対して比較的簡単に効率よくエネルギーを付与することができるので、エネルギー付与方法として好適である。
以下、上記(I)、(II)の各方法について詳述する。
(I)基膜141にエネルギー線を照射する場合、エネルギー線としては、例えば、紫外線、レーザー光のような光、X線、γ線、電子線、イオンビームのような粒子線等、またはこれらのエネルギー線を組み合わせたものが挙げられる。このように、基膜141にエネルギーを付与する方法として、エネルギー線を照射する方法を用いることにより、ノズルプレート80が備える基膜141のみに選択的にエネルギーを付与することができる。
これらのエネルギー線の中でも、特に、波長150〜300nm程度の紫外線を用いるのが好ましい(図6(c)参照)。かかる紫外線によれば、付与されるエネルギー量が最適化されるので、基膜141中のSi骨格301が必要以上に破壊されるのを防止しつつ、Si骨格301と脱離基303との間の結合を選択的に切断することができる。これにより、基膜141の特性(機械的特性、化学的特性等)が低下するのを防止される結果、撥液膜14の耐久性が優れたものとなる。
また、紫外線によれば、広い範囲をムラなく短時間に処理することができるので、脱離基303の脱離を効率よく行わせることができる。さらに、紫外線には、例えば、UVランプ等の簡単な設備で発生させることができるという利点もある。
なお、紫外線の波長は、より好ましくは、160〜200nm程度とされる。
また、UVランプを用いる場合、その出力は、基膜141の面積に応じて異なるが、1mW/cm〜1W/cm程度であるのが好ましく、5mW/cm〜50mW/cm程度であるのがより好ましい。なお、この場合、UVランプと基膜141との離間距離は、3〜3000mm程度とするのが好ましく、10〜1000mm程度とするのがより好ましい。
また、紫外線を照射する時間は、基膜141の表面付近の脱離基303を脱離し得る程度の時間、すなわち、基膜141の内部の脱離基303を多量に脱離させない程度の時間とするのが好ましい。具体的には、紫外線の光量、基膜141の構成材料等に応じて若干異なるものの、0.5〜30分程度であるのが好ましく、1〜10分程度であるのがより好ましい。
また、紫外線は、時間的に連続して照射されてもよいが、間欠的(パルス状)に照射されてもよい。
一方、レーザー光としては、例えば、エキシマレーザー(フェムト秒レーザー)、Nd−YAGレーザー、Arレーザー、COレーザー、He−Neレーザー等が挙げられる。
また、基膜141に対するエネルギー線の照射は、いかなる雰囲気中で行うようにしてもよく、具体的には、大気、酸素のような酸化性ガス雰囲気、水素のような還元性ガス雰囲気、窒素、アルゴンのような不活性ガス雰囲気、またはこれらの雰囲気を減圧した減圧(真空)雰囲気等が挙げられるが、特に大気雰囲気中で行うのが好ましい。これにより、雰囲気を制御することに手間やコストをかける必要がなくなり、エネルギー線の照射をより簡単に行うことができる。
このように、エネルギー線を照射する方法によれば、基膜141に対して選択的にエネルギーを付与することが容易に行えるため、例えば、エネルギーの付与によるノズルプレート本体10および接合膜15の変質・劣化を防止することができる。
また、エネルギー線を照射する方法によれば、基膜141の表面および内部に、効率良くエネルギーを付与することができ、脱離基303の脱離量を十分なものとすることができる。これにより、基膜141の表面にカップリング剤をより確実に結合させることができ、撥液膜14の撥液性を特に優れたものとすることができる。
さらに、エネルギー線を照射する方法によれば、短時間で大きなエネルギーを付与することができるので、エネルギーの付与をより効率よく行うことができる。
(II)基膜141を加熱する場合(図示せず)、加熱温度を25〜100℃程度に設定するのが好ましく、50〜100℃程度に設定するのがより好ましい。かかる範囲の温度で加熱すれば、ノズルプレート本体10が熱によって変質・劣化するのを確実に防止しつつ、基膜141を確実に活性化させることができる。
また、加熱時間は、基膜141の分子結合を切断し得る程度の時間であればよく、具体的には、加熱温度が前記範囲内であれば、1〜30分程度であるのが好ましい。
また、基膜141は、いかなる方法で加熱されてもよいが、例えば、ヒータを用いる方法、赤外線を照射する方法、火炎に接触させる方法等の各種加熱方法で加熱することができる。
以上のような(I)、(II)の各方法により、基膜141にエネルギーを付与することができる。
ここで、前述したように、エネルギーが付与される前の状態の基膜141は、図4に示すように、Si骨格301と脱離基303とを有している。かかる基膜141にエネルギーが付与されると、脱離基303(本実施形態では、メチル基)がSi骨格301から脱離する。これにより、図5に示すように、基膜141の表面145に活性手304が生じ、活性化される。その結果、基膜141の表面にカップリング剤(カップリング剤が有する反応性官能基)との反応性が発現する。
ここで、基膜141を「活性化させる」とは、基膜141の表面145および内部の脱離基303が脱離して、Si骨格301において終端化されていない結合手(以下、「未結合手」または「ダングリングボンド」とも言う。)が生じた状態や、この未結合手が水酸基(OH基)によって終端化された状態、または、これらの状態が混在した状態のことを言う。
したがって、活性手304とは、未結合手(ダングリングボンド)、または未結合手が水酸基によって終端化されたもののことを言う。このような活性手304が、カップリング剤が有する反応性官能基と反応し、これにより、基膜141の表面にカップリング剤が結合して、単分子膜142が形成される。
なお、後者の状態(未結合手が水酸基によって終端化された状態)は、例えば、基膜141に対して大気雰囲気中でエネルギー線を照射することにより、大気中の水分が未結合手を終端化することによって、容易に生成することができる。
[1C]次に、エネルギーが付与された基膜141の表面に、カップリング剤を付与し、基膜141上にカップリング剤で構成された単分子膜142を形成する(図6(d)参照)。
基膜141の表面に、カップリング剤を付与(結合)させる方法としては、例えば、カップリング剤を含有する溶液に基膜141を浸漬する浸漬法、基膜141の表面にカップリング剤を含有する溶液を塗布する塗布法、基膜141の表面にカップリング剤を含有する溶液を噴霧(シャワー)する噴霧法によって行うことができるが、これらの中でも、浸漬法を用いるのが好ましい。
浸漬法によれば、基膜141の表面に、カップリング剤を確実に結合させることができるとともに、基膜141上に形成される単分子膜142の厚さを均一なものとすることができる。また、本実施形態では、前工程[1B]において、基膜141にのみエネルギーが付与されているため、接合膜15には、上述したような反応性が発現していない。そのため、浸漬法を用いて、母材10’および母材10’の両面に形成されたプラズマ重合膜の全てを、カップリング剤の溶液中に入れた場合でも、接合膜15の表面にカップリング剤が結合しない。これにより、基膜141の表面にカップリング剤を結合させる工程がより簡素化され、ヘッド1の製造効率を優れたものとすることができる。
以下では、浸漬法によって単分子膜142を形成する場合について説明する。
まず、前述したようなカップリング剤を有機溶媒に溶解して処理溶液を調製する。
カップリング剤を溶解する溶媒としては、各種のものが用いられるが、例えば、トルエン、キシレン、トリメチルベンゼン、テトラメチルベンゼン、シクロヘキシルベンゼンのような芳香族炭化水素系溶媒を用いることができる。
この処理溶液におけるカップリング剤の濃度は、0.01〜0.5wt%程度であるのが好ましく、0.1〜0.3wt%程度であるのがより好ましい。
次に、この処理溶液に、基膜141が形成された母材10’を一定時間浸漬した後に、この母材10’を引き上げる。
この母材10’を、カップリング剤の処理溶液中に浸漬すると、カップリング剤の反応性官能基と、基膜141の表面の活性手304とが反応し、カップリング剤が基膜141に結合する。これにより、基膜141上に単分子膜142が形成される。
前記処理溶液にこの母材10’を浸漬する際の温度は、10〜200℃程度であるのが好ましく、20〜100℃程度であるのがより好ましい。
母材10’の浸漬時間は、0.1〜180sec程度であるのが好ましく、10〜60sec程度であるのがより好ましい。
母材10’の引き上げ速度は、0.5〜50mm/sec程度であるのが好ましく、10〜30mm/sec程度であるのがより好ましい。
基膜141が形成された母材10’を前記処理溶液に浸漬する際の条件を、上述したような条件の範囲とすることにより、基膜141上にカップリング剤を確実に結合させることができる。
[1D]次に、母材10’、成膜されたプラズマ重合膜およびカップリング剤で構成される単分子膜142を貫通するノズル孔11を形成する(図6(e)参照)。
ノズル孔11の形成方法は特に限定されないが、例えば、ドライエッチング、リアクティブイオンエッチング、ビームエッチング、光アシストエッチング等の物理的エッチング法、ウエットエッチング等の化学的エッチング法等のうちの1種または2種以上を組み合わせて用いることができる。これにより、接合膜15、単分子膜142が設けられた基膜141が形成された母材10’の所定位置を貫通するノズル孔11を形成することができる。
これにより、ノズル孔11を有するノズルプレート本体10の両面に撥液膜14および接合膜15を備えるノズルプレート80を得ることができる。このようなノズルプレート80を用いることにより、ヘッド1の製造過程の簡素化を図ることができるとともに、寸法精度の高いヘッド1を効率良く得ることができる。
また、このようなノズルプレート80は、ノズルプレート本体10を構成する母材10’にプラズマ重合膜を形成した後に、ノズル孔11が形成されたものである。このようなノズルプレート80では、ノズル孔11の内周部に、インクに対して撥水性を有するプラズマ重合膜が付着するのが防止されるため、ノズル孔11からのインクの吐出量を高精細に制御することができる。これに対して、ノズル孔を有するノズルプレートに対して、上述したようにプラズマ重合膜を形成した場合には、ノズル孔11の内周部にプラズマ重合膜が付着してしまい、ノズル孔から吐出されるインクの吐出量を正確に制御することができなくなる可能性がある。
[1E]次に、基板20を作製するための母材として、母材20’を用意する。母材20’は、後述する工程において加工を施すことにより、基板20になり得るものである。
そして、図7(a)に示すように、母材20’上に、接合膜25を形成する。なお、このような接合膜25としては、前述したような材料を用いることができる。
[1F]次に、封止シート30を用意する。そして、接合膜25と封止シート30とが密着するように、母材20’と封止シート30とを貼り合わせる。これにより、図7(b)に示すように、母材20’と封止シート30とが、接合膜25を介して接合(接着)される。
[1G]次に、図7(c)に示すように、封止シート30上に、接合膜35を形成する。なお、このような接合膜35としては、前述したような材料を用いることができる。
[1H]次に、振動板40を用意する。そして、接合膜35と振動板40とが密着するように、封止シート30を備えた母材20’と振動板40とを貼り合わせる。これにより、封止シート30と振動板40とが、接合膜35を介して接合(接着)される。その結果、図7(d)に示すように、母材20’、封止シート30および振動板40が接合される。
[1I]次に、図7(e)に示すように、接合膜25、封止シート30、接合膜35および振動板40のうち、ヘッド1の吐出液供給室22に対応する位置に、貫通孔23を形成する。
また、振動板40のうち、圧電素子50が組み立てられる位置を取り囲む環状の領域に、凹部53を形成する。
貫通孔23および凹部53の形成は、上述したようなノズル孔11の形成方法として用いることのできる各種エッチング方法を好適に用いることができる。
[1J]次に、図7(f)に示すように、振動板40上の圧電素子50が組み立てられる位置に、接合膜45aを形成する。なお、このような接合膜45aとしては、前述したような材料を用いることができる。
[1K]次に、圧電素子50を用意する。そして、接合膜45aと圧電素子50とが密着するように、振動板40と圧電素子50とを貼り合わせる。これにより、振動板40と圧電素子50とが、接合膜45aを介して接合(接着)される。その結果、図8(g)に示すように、母材20’、封止シート30、振動板40および圧電素子50が接合される。
[1L]次に、図8(h)に示すように、振動板40上のケースヘッド60が組み立てられる位置に、接合膜45bを形成する。なお、このような接合膜45bとしては、前述したような材料を用いることができる。
[1M]次に、ケースヘッド60を用意する。そして、接合膜45bとケースヘッド60とが密着するように、振動板40とケースヘッド60とを貼り合わせる。これにより、振動板40とケースヘッド60とが、接合膜45bを介して接合(接着)される。その結果、図7(i)に示すように、母材20’、封止シート30、振動板40、圧電素子50およびケースヘッド60が接合される。
[1N]次に、封止シート30、振動板40、圧電素子50およびケースヘッド60が接合された母材20’の上下を反転させる。そして、母材20’の封止シート30と反対側の面に対して加工を施し、各吐出液貯留室21および吐出液供給室22を形成する。これにより、母材20’から基板20を得る。このようにして、基板20、封止シート30、振動板40、圧電素子50、およびケースヘッド60が接合した接合体90を得る(図9(j)参照)。また、吐出液供給室22は、プラズマ重合膜25、封止シート30、プラズマ重合膜35および振動板40に形成された貫通孔23、および、ケースヘッド60に設けられた吐出液供給路61と連通し、リザーバ70が形成される。
母材20’の加工方法には、例えば、前述したような各種エッチング法を用いることができる。
なお、ここでは、封止シート30、振動板40、圧電素子50およびケースヘッド60が接合された母材20’に対して加工を施すことにより、各吐出液貯留室21および吐出液供給室22を形成する場合について説明したが、前記工程[1E]の時点で、あらかじめ母材20’に各吐出液貯留室21および吐出液供給室22を設けておいてもよい。
[2]次に、接合体90の基板20上に、接合膜15を介して、ノズルプレート80を接合する。以下、ノズルプレート80と基板20とを接合する方法について詳述する。
[2A]まず、ノズルプレート80が備える接合膜15に対してエネルギーを付与する。
エネルギーが付与されると、接合膜15では、上述した基膜141と同様にして、図4に示すように、脱離基303がSi骨格301から脱離する。そして、脱離基303が脱離した後には、図5に示すように、接合膜15の表面および内部に活性手304が生じる。これにより、接合膜15の表面に、ノズルプレート10との接着性が発現する。
ここで、接合膜15にエネルギーを付与する方法は、前述した基膜141にエネルギーを付与する方法と同様の方法を用いることができるが、特に、接合膜15に前述したようなエネルギー線を照射する方法が好ましい。
接合膜15にエネルギー線を照射する方法によれば、ノズルプレート80が備える接合膜15に効率良くエネルギーを付与することができ、接合膜15に効率良く接着性を発現させることができる。
これらのエネルギー線の中でも、前述した基膜141へのエネルギー線の照射と同様に、特に、波長150〜300nm程度の紫外線を用いるのが好ましい(図10(a)参照)。かかる紫外線によれば、付与されるエネルギー量が最適化されるので、接合膜15中のSi骨格301が必要以上に破壊されるのを防止しつつ、Si骨格301と脱離基303との間の結合を選択的に切断することができる。これにより、接合膜15の特性(機械的特性、化学的特性等)が低下するのを防止しつつ、接合膜15に接着性を発現させることができる。
また、エネルギー線を照射する方法によれば、付与するエネルギーの大きさを、精度よく簡単に調整することができる。このため、接合膜15から脱離する脱離基303の脱離量を調整することが可能となる。このように脱離基303の脱離量を調整することにより、接合膜15と基板20との間の接合強度を容易に制御することができる。
すなわち、脱離基303の脱離量を多くすることにより、接合膜15の表面および内部に、より多くの活性手が生じるため、接合膜15に発現する接着性をより高めることができる。一方、脱離基303の脱離量を少なくすることにより、接合膜15の表面および内部に生じる活性手を少なくし、接合膜15に発現する接着性を抑えることができる。
なお、付与するエネルギーの大きさを調整するためには、例えば、エネルギー線の種類、エネルギー線の出力、エネルギー線の照射時間等の条件を調整すればよい。
さらに、エネルギー線を照射する方法によれば、短時間で大きなエネルギーを付与することができるので、エネルギーの付与をより効率よく行うことができる。
また、前述したような加熱する方法を用いて、接合膜15にエネルギーを付与する際に、ノズルプレート本体10および基板20の熱膨張率がほぼ等しい場合には、上記のような条件で接合膜15を加熱すればよいが、ノズルプレート本体10および基板20の熱膨張率が互いに異なっている場合には、後に詳述するが、できるだけ低温下で接合を行うのが好ましい。接合を低温下で行うことにより、接合界面に発生する熱応力のさらなる低減を図ることができる。
また、本実施形態では、ノズルプレート本体10と基板20とを貼り合わせる前に、接合膜15に対してエネルギーを付与する場合について説明しているが、かかるエネルギーの付与は、ノズルプレート80と基板20とを重ね合わせた後に行われるようにしてもよい。すなわち、ノズルプレート80の接合膜15に対してエネルギーを付与する前に、接合膜15と基板20とが密着するように、ノズルプレート80と基板20とを重ね合わせて、仮接合体とする。そして、この仮接合体中の接合膜15に対してエネルギーを付与することにより、接合膜15に接着性が発現し、接合膜15を介してノズルプレート80と基板20とが接合(接着)される。
この場合、仮接合体中の接合膜15に対するエネルギーの付与は、前述した(I)、(II)の方法でもよいが、接合膜15に圧縮力を付与する前述した(III)の方法を用いてもよい。
この場合、ノズルプレート80と基板20とが互いに近づく方向に、0.2〜10MPa程度の圧力で圧縮するのが好ましく、1〜5MPa程度の圧力で圧縮するのがより好ましい。これにより、単に圧縮するのみで、接合膜15に対して適度なエネルギーを簡単に付与することができ、接合膜15に十分な接着性が発現する。なお、この圧力が前記上限値を上回っても構わないが、ノズルプレート本体10および接合体90の各構成材料によっては、接合体90やノズルプレート本体10に損傷等が生じるおそれがある。
また、圧縮力を付与する時間は、特に限定されないが、10秒〜30分程度であるのが好ましい。なお、圧縮力を付与する時間は、圧縮力の大きさに応じて適宜変更すればよい。具体的には、圧縮力の大きさが大きいほど、圧縮力を付与する時間を短くすることができる。
なお、仮接合体の状態では、ノズルプレート80と基板20との間が接合されていないので、これらの相対的な位置を容易に調整する(ずらす)ことができる。したがって、一旦、仮接合体を得た後、ノズルプレート80と基板20との相対位置を微調整することにより、最終的に得られるヘッド1の組み立て精度(寸法精度)を確実に高めることができる。
以上のような各方法により、接合膜15にエネルギーを付与することができる。
なお、接合膜15の全面にエネルギーを付与するようにしてもよいが、一部の領域のみに付与するようにしてもよい。このようにすれば、接合膜15の接着性が発現する領域を制御することができ、この領域の面積・形状等を適宜調整することによって、接合界面に発生する応力の局所集中を緩和することができる。これにより、例えば、ノズルプレート本体10と基板20との熱膨張率差が大きい場合でも、これらを確実に接合することができる。
ここで、前述したように、エネルギーが付与される前の状態の接合膜15は、図4に示すように、Si骨格301と脱離基303とを有している。かかる接合膜15にエネルギーが付与されると、脱離基303(本実施形態では、メチル基)がSi骨格301から脱離する。これにより、図5に示すように、接合膜15の表面155に活性手304が生じ、活性化される。その結果、接合膜15の表面に接着性が発現し、基板20に対して、特に強固な接合が可能となる。
[2B]次に、図10(b)に示すように、接着性が発現してなる接合膜15と接合体90の基板20とが密着するように、ノズルプレート80と基板20とを貼り合わせる。これにより、図10(c)に示すように、ノズルプレート80と基板20とが、接合膜15を介して接合(接着)されたヘッド1を得る。このようにして得られたヘッド1は、ノズルプレート本体10と基板20とが高い寸法精度で接合されたものとなり、高品位の印字が可能なものとなる。また、上述したような製造方法を用いて製造されたヘッド1は、製造されるヘッド1毎の印字品質のバラツキが抑制されたものとなる。
ここで、上記のようにして接合されるノズルプレート本体10および基板20の各熱膨張率は、ほぼ等しいのが好ましい。ノズルプレート本体10および基板20の熱膨張率がほぼ等しければ、これらを貼り合せた際に、その接合界面に熱膨張に伴う応力が発生し難くなる。その結果、最終的に得られるヘッド1において、剥離等の不具合が発生するのを確実に防止することができる。
また、ノズルプレート本体10および基板20の各熱膨張率が互いに異なる場合でも、ノズルプレート80と基板20とを貼り合わせる際の条件を以下のように最適化することにより、ノズルプレート80と基板20とを高い寸法精度で強固に接合することができる。
すなわち、ノズルプレート本体10および基板20の熱膨張率が互いに異なっている場合には、できるだけ低温下で接合を行うのが好ましい。接合を低温下で行うことにより、接合界面に発生する熱応力のさらなる低減を図ることができる。
具体的には、ノズルプレート本体10および基板20の熱膨張率差にもよるが、ノズルプレート本体10および基板20の温度が25〜50℃程度である状態下で、ノズルプレート80と基板20とを貼り合わせるのが好ましく、25〜40℃程度である状態下で貼り合わせるのがより好ましい。このような温度範囲であれば、ノズルプレート本体10および基板20の熱膨張率差がある程度大きくても、接合界面に発生する熱応力を十分に低減することができる。その結果、ヘッド1における反りや剥離等の発生を確実に防止することができる。
また、この場合、ノズルプレート本体10および基板20の間の熱膨張係数の差が、5×10−5/K以上あるような場合には、上記のようにして、できるだけ低温下で接合を行うことが特に推奨される。なお、接合膜15を用いることにより、上述したような低温下でも、ノズルプレート本体10と基板20とを強固に接合することができる。
また、ノズルプレート本体10および基板20は、互いに剛性が異なっているのが好ましい。これにより、ノズルプレート本体10と基板20とをより強固に接合することができる。
また、基板20の接合膜15と接触する領域には、あらかじめ、接合膜15との密着性を高める表面処理を施すのが好ましい。これにより、基板20と接合膜15との間の接合強度をより高めることができる。
なお、この表面処理には、ノズルプレート本体10の母材10’に対して施す前述したような表面処理と同様の処理を適用することができる。
また、表面処理に代えて、基板20の接合膜15と接触する領域に、あらかじめ、接合膜15との密着性を高める機能を有する中間層を形成しておくのが好ましい。これにより、基板20と接合膜15との間の接合強度をより高めることができる。
かかる中間層の構成材料には、前述の母材10’に形成する中間層の構成材料と同様のものを用いることができる。
なお、基板20に対する前述の表面処理および中間層の形成は、言うまでもなく、封止シート30、振動板40、圧電素子50およびケースヘッド60に対して行うようにしてもよい。これにより、各部の接合強度をより高めることができる。
ここで、本工程において、接合膜15を備えるノズルプレート80と基板20とが接合されるメカニズムについて説明する。
例えば、基板20のノズルプレート80(ノズルプレート本体10)との接合に供される領域に、水酸基が露出している場合を例に説明すると、本工程において、接合膜15と基板20とが接触するように、ノズルプレート80と基板20とを貼り合わせたとき、接合膜15の表面に存在する水酸基と、基板20の前記領域に存在する水酸基とが、水素結合によって互いに引き合い、水酸基同士の間に引力が発生する。この引力によって、接合膜15を備えるノズルプレート80と基板20とが接合されると推察される。
また、この水素結合によって互いに引き合う水酸基同士は、温度条件等によって、脱水縮合する。その結果、接合膜15と基板20との接触界面では、水酸基が結合していた結合手同士が酸素原子を介して結合する。これにより、接合膜15を介してノズルプレート80と基板20とがより強固に接合されると推察される。
なお、前記工程[2A]で活性化された接合膜15の表面は、その活性状態が経時的に緩和してしまう。このため、前記工程[2A]の終了後、できるだけ早く本工程[2B]を行うようにするのが好ましい。具体的には、前記工程[2A]の終了後、60分以内に本工程[2B]を行うようにするのが好ましく、5分以内に行うのがより好ましい。かかる時間内であれば、接合膜15の表面が十分な活性状態を維持しているので、本工程で接合膜15を備えるノズルプレート80と基板20とを貼り合わせたとき、これらの間に十分な接合強度を得ることができる。
このようにして接合されたノズルプレート本体10と基板20との間は、その接合強度が5MPa(50kgf/cm)以上であるのが好ましく、10MPa(100kgf/cm)以上であるのがより好ましい。このような接合強度であれば、接合界面の剥離を十分に防止し得るものとなる。そして、信頼性の高いヘッド1が得られる。
以上のような工程を経て、ヘッド1が製造される。
また、プラズマ重合膜は、基板20のノズルプレート80と接合される領域にも設けられていてもよい。すなわち、ノズルプレート本体10および基板20の双方に成膜されていてもよい。
図12は、本実施形態にかかるヘッドの他の構成例を示す図である。なお、以下の説明では、図12中の上側を「上」、下側を「下」と言う。
図12に示すヘッド1では、ノズルプレート80の上面に成膜された接合膜15と、基板20の下面に成膜された接合膜15とが密着するように、ノズルプレート80と基板20とを貼り合わせることにより、これらが接合(接着)されている。
また、これと同様に、図12に示すヘッド1では、基板20の上面に成膜された接合膜25と、封止シート30の下面に成膜された接合膜25とが密着するように、基板20と封止シート30とを貼り合わせることにより、これらが接合(接着)されている。
さらに、封止シート30の上面に成膜された接合膜35と、振動板40の下面に成膜された接合膜35とが密着するように、封止シート30と振動板40とを貼り合わせることにより、これらが接合(接着)されている。
また、振動板40の上面に成膜された接合膜45aと、圧電素子50の下面に成膜された接合膜45aとが密着するように、振動板40と圧電素子50とを貼り合わせることにより、これらが接合(接着)されている。
さらに、振動板40の上面に成膜された接合膜45bと、ケースヘッド60の下面に成膜された接合膜45bとが密着するように、振動板40とケースヘッド60とを貼り合わせることにより、これらが接合(接着)されている。
なお、本構成例において、接合膜25、接合膜35、接合膜45a、および接合膜45bは、接合膜15と同様のプラズマ重合膜で構成されている。
このような構成のヘッド1によれば、各部の界面をさらに強固に接合することができる。また、このようなヘッド1では、被着体(例えば、基板、ノズルプレート、封止シート、振動板、圧電素子,ケースヘッド等)の材質が接合強度に影響を及ぼし難いため、被着体の材質によらず、各部が強固に接合された信頼性の高いヘッド1が得られる。
なお、この場合、例えば、接合膜15に対するエネルギーの付与は、ノズルプレート80が備える接合膜15と、基板20の下面に成膜された接合膜15のそれぞれに対して行うようにすればよい。
また、本構成例のヘッド1が備えるノズルプレート80は、図12に示すように、ノズルプレート本体10の基板20側の面の全面に上述したようなプラズマ重合膜で構成された接合膜15が形成されている。さらに、接合膜15の基板20との接合に供されない領域(非接合領域)1552上には、カップリング剤で構成された単分子膜16が形成されている。
このような単分子膜16は、接合膜15に上述したようなエネルギーが付与されて発現する反応性により、接合膜15上の非接合領域1552にカップリング剤が結合して形成されたものである。このような単分子膜16を構成するカップリング剤としては、インクに対する親液性を有する官能基を備えたものが用いられる。
このような構成のヘッド1では、ノズルプレート本体10の構成材料として、インクに対する親液性が乏しい材料を用いた場合でも、ヘッド1の吐出液貯留室21は、インクとの親液性が向上し、ノズル孔11から安定して液滴吐出を行うことができる。
なお、本構成例のヘッド1では、接合膜15上の非接合領域1552に単分子膜16が設けられたものについて説明したが、使用するインクの特性および接合膜15を構成するプラズマ重合膜の特性によっては、このような単分子膜16を設けることなく、ヘッド1の吐出液貯留室21内の親液性を高めることができる。
すなわち、使用するインクが油性インクであり、接合膜15を構成するプラズマ重合膜が脱離基としてアルキル基を有するような材料(例えば、前述したようなポリオルガノシロキサン)で構成されたものである場合には、このような接合膜15は、インクに対して高い親液性(親油性)を有するものとなる。その結果、吐出液貯留室21内の親液性が優れたものとなり、ヘッド1の吐出安定性を向上させることができる。また、使用するインクが水性インクであり、ノズルプレート80の基板20側の面の全面に上述したような構成の接合膜15が形成されたものである場合には、接合膜15の全面に対してエネルギーを付与することにより、接合膜15のインクと接液する領域には、インクに対して高い親液性(親水性)を有するものとなる。その結果、ヘッド1の吐出安定性を向上させることができる。また、このようなプラズマ重合膜は、耐アルカリ性に優れている。そのため、本構成例のヘッド1で使用するインクが、アルカリ性のものである場合に、ノズルプレート本体10のインクと接液する領域1512上に形成されたプラズマ重合膜が、ノズルプレート本体10の保護膜として機能し、ノズルプレート80、ひいてはヘッド1の信頼性を高いものとすることができる。
また、ヘッド1を得た後、このヘッド1に対して、必要に応じ、以下の2つの工程([3A]および[3B])のうちの少なくとも1つの工程(ヘッド1の接合強度を高める工程)を行うようにしてもよい。これにより、ヘッド1の各部の接合強度のさらなる向上を図ることができる。
[3A]得られたヘッド1を圧縮するように、すなわちノズルプレート80、基板20、封止シート30、振動板40およびケースヘッド60が互いに近づく方向に加圧する。
これにより、上記各部の表面と隣接する各接合膜の表面とがより近接し、ヘッド1における接合強度をより高めることができる。
また、ヘッド1を加圧することにより、ヘッド1中の接合界面に残存していた隙間を押し潰して、接合面積をさらに広げることができる。これにより、ヘッド1における接合強度をさらに高めることができる。
このとき、ヘッド1を加圧する際の圧力は、ヘッド1が損傷を受けない程度の圧力で、できるだけ高い方が好ましい。これにより、この圧力に比例してヘッド1における接合強度を高めることができる。
なお、この圧力は、ヘッド1の各部の構成材料や形状、接合装置等の条件に応じて、適宜調整すればよい。具体的には、上記条件に応じて若干異なるものの、0.2〜10MPa程度であるのが好ましく、1〜5MPa程度であるのがより好ましい。これにより、ヘッド1の接合強度を確実に高めることができる。なお、この圧力が前記上限値を上回っても構わないが、ヘッド1の各部の構成材料によっては、ヘッド1に損傷等が生じるおそれがある。
また、加圧する時間は、特に限定されないが、10秒〜30分程度であるのが好ましい。なお、加圧する時間は、加圧する際の圧力に応じて適宜変更すればよい。具体的には、ヘッド1を加圧する際の圧力が高いほど、加圧する時間を短くしても、接合強度の向上を図ることができる。
[3B]得られたヘッド1を、加熱する。
これにより、ヘッド1における接合強度をより高めることができる。
このとき、ヘッド1を加熱する際の温度は、室温より高く、ヘッド1の耐熱温度未満であれば、特に限定されないが、好ましくは25〜100℃程度とされ、より好ましくは50〜100℃程度とされる。かかる範囲の温度で加熱すれば、ヘッド1が熱によって変質・劣化するのを確実に防止しつつ、接合強度を確実に高めることができる。
また、加熱時間は、特に限定されないが、1〜30分程度であるのが好ましい。
なお、前記工程[3A]、[3B]の双方を行う場合、これらを同時に行うのが好ましい。すなわち、ヘッド1を加圧しつつ、加熱するのが好ましい。これにより、加圧による効果と、加熱による効果とが相乗的に発揮され、ヘッド1の接合強度を特に高めることができる。
以上のような工程を行うことにより、ヘッド1における接合強度のさらなる向上を容易に図ることができる。
以上、本発明のノズルプレート、ノズルプレートの製造方法、液滴吐出ヘッド、液滴吐出ヘッドの製造方法および液滴吐出装置を、図示の実施形態に基づいて説明したが、本発明はこれらに限定されるものではない。
例えば、本発明の液滴吐出ヘッドの製造方法では、前記実施形態の構成に限定されず、工程の順序が前後してもよい。また、任意の目的の工程が1または2以上追加されていてもよく、不要な工程を削除してもよい。
また、上述した好適な実施形態では、ノズルプレート80は、ノズルプレート本体10の基板20とは反対側の面の全面に撥液膜14を形成するものとして説明したが、このような撥液膜14は、少なくともノズル孔11の周囲に設けられたものであってもよい。
また、接合膜25、接合膜35、接合膜45a、および接合膜45bのうち少なくとも1つの接合膜は設けられていなくてもよい。この場合、各接合膜を介して接合される部材同士を、融着(溶接)、または、シリコン直接接合、陽極接合のような固体接合等の直接接合法によって接合(接着)することができる。
また、上述した接合膜を用いる接合方法を、液滴吐出ヘッドの上記以外の部材の接合に適用してもよい。
次に、本発明の具体的実施例について説明する。
1.インクジェット式記録ヘッドの製造
(実施例1)
<1>まず、ステンレス鋼製の第1の母材、単結晶シリコン製の板状の第2の母材、ポリフェニレンサルファイド樹脂(PPS)製の封止シート、ステンレス鋼製の振動板、ジルコン酸鉛の焼結体で構成された圧電体層とAgペーストを焼成した電極膜との積層体からなる圧電素子と、PPS製のケースヘッドとを用意した。
次いで、第1の母材を図11に示すプラズマ重合装置のチャンバー内に収納し、酸素プラズマによる表面処理を行った。
次に、表面処理を行った面に、平均厚さ200nmのプラズマ重合膜(接合膜)を成膜した。なお、成膜条件は以下に示す通りである。
<成膜条件>
・原料ガスの組成 :オクタメチルトリシロキサン
・原料ガスの流量 :10sccm
・キャリアガスの組成:アルゴン
・キャリアガスの流量:10sccm
・高周波電力の出力 :100W
・チャンバー内圧力 :1Pa(低真空)
・処理時間 :15分
・基板温度 :20℃
このようにして第1の母材の両面に成膜されたプラズマ重合膜は、オクタメチルトリシロキサン(原料ガス)の重合物で構成されており、シロキサン結合を含み、ランダムな原子構造を有するSi骨格と、アルキル基(脱離基)とを含むものである。
次に、第1の母材の一方の面に成膜されたプラズマ重合膜に対して、以下に示す条件で紫外線を照射した。
<紫外線照射条件>
・雰囲気ガスの組成 :大気(空気)
・雰囲気ガスの温度 :20℃
・雰囲気ガスの圧力 :大気圧(100kPa)
・紫外線の波長 :172nm
・紫外線の照射時間 :5分
このようにして紫外線が照射されたプラズマ重合膜に対して、撥液性を有するカップリング剤(ダイキン工業社製「オプツール」)を、0.1wt%となるようにハイドロフルオロエーテル(HFE)(3M社製 商品名「ノベック」)に溶解して、処理溶液を調製した。
その後、プラズマ重合膜が形成された第1の母材を、この処理溶液中に浸漬した後、一定の速度で引き上げることにより、第1の母材の紫外線が照射された方のプラズマ重合膜の表面にシランカップリング剤で構成される単分子膜を形成した。
なお、この単分子膜形成時の処理条件は、以下に示す通りである。
・処理溶液の温度:25℃
・浸漬時間 :0.1〜180秒間
・引き上げ速度 :0.5〜50mm/sec
次に、両面にプラズマ重合膜、シランカップリング剤で構成された単分子膜が形成された第1の母材に、エッチング法によりノズル孔を形成し、ノズルプレートを得た。
<2>次に、第2の母材の片面に、前記工程<1>と同様にして、プラズマ重合膜を成膜した。
次に、前記工程<2>と同様にして、紫外線を照射した。
一方、封止シートの片面に対して、酸素プラズマによる表面処理を行った。
次に、紫外線を照射してから1分後に、プラズマ重合膜の紫外線を照射した面と、封止シートの表面処理を施した面とが接触するように、第2の母材と封止シートとを貼り合わせた。これにより、第2の母材と封止シートとの接合体を得た。
<3>次に、第2の母材と封止シートとの接合体の封止シート上に、前記工程<1>と同様にして、プラズマ重合膜を成膜した。
次に、得られたプラズマ重合膜に、前記工程<2>と同様にして、紫外線を照射した。一方、振動板の片面に対して、酸素プラズマによる表面処理を行った。
そして、紫外線を照射してから1分後に、プラズマ重合膜の紫外線を照射した面と、振動板の表面処理を施した面とが接触するように、接合体と振動板とを貼り合わせた。これにより、第2の母材、封止シートおよび振動板の接合体を得た。
<4>次に、封止シート、振動板およびこれらに隣接するプラズマ重合膜のうち、ヘッドの吐出液供給室を形成すべき位置に貫通孔を形成した。また、振動板のうち、圧電素子が組み立てられる位置を取り囲む環状の領域に、貫通孔を形成した。なお、これらの貫通孔は、それぞれエッチング法により形成した。
<5>次に、第2の母材、封止シートおよび振動板が接合された接合体の振動板上のうち、圧電素子が組み立てられる位置(環状の貫通孔の内側の領域)に、前記工程<1>と同様にして、プラズマ重合膜を成膜した。
次に、得られたプラズマ重合膜に、前記工程<2>と同様にして、紫外線を照射した。一方、圧電素子の片面に対して、酸素プラズマによる表面処理を行った。
そして、紫外線を照射してから1分後に、プラズマ重合膜の紫外線を照射した面と、圧電素子の表面処理を施した面とが接触するように、接合体と圧電素子とを貼り合わせた。これにより、第2の母材、封止シート、振動板および圧電素子の接合体を得た。
<6>次に、第2の母材、封止シート、振動板および圧電素子が接合された接合体のうち、ケースヘッドが組み立てられる位置に、前記工程<1>と同様にして、プラズマ重合膜を成膜した。
次に、得られたプラズマ重合膜に、前記工程<2>と同様にして、紫外線を照射した。一方、ケースヘッドの接合面に対して、酸素プラズマによる表面処理を行った。
そして、紫外線を照射してから1分後に、プラズマ重合膜の紫外線を照射した面と、ケースヘッドの表面処理を施した面とが接触するように、接合体とケースヘッドとを貼り合わせた。これにより、第2の母材、封止シート、振動板、圧電素子およびケースヘッドの接合体を得た。
<7>次に、得られた接合体の上下を反転させ、第2の母材の封止シートが接合された面と反対側の面に対して、エッチング法により加工を施した。そして、第2の母材に、吐出液貯留室と吐出液供給室とを形成し、これにより吐出液貯留室形成基板を得た。
<8>次に、両面にプラズマ重合膜が形成されたノズルプレートの片面のプラズマ重合膜に対して、前記工程<2>と同様にして、紫外線を照射した。一方、吐出液貯留室形成基板の接合面に対して、酸素プラズマによる表面処理を行った。
そして、紫外線を照射してから1分後に、プラズマ重合膜の紫外線を照射した面と、吐出液貯留室形成基板の表面処理を施した面とが接触するように、吐出液貯留室形成基板とノズルプレートとを貼り合わせた。これにより、ノズルプレート(第1の母材)、第2の母材、封止シート、振動板、圧電素子およびケースヘッドの接合体、すなわちインクジェット式記録ヘッドを得た。
<9>次に、得られたインクジェット式記録ヘッドを、3MPaで圧縮しつつ、80℃で加熱し、15分間維持した。これにより、インクジェット式記録ヘッドの接合強度の向上を図った。
(比較例)
全ての接合部、すなわち、ノズルプレートと吐出液貯留室形成基板との間、母材と封止シートとの間、封止シートと振動板との間、振動板と圧電素子との間、振動板とケースヘッドとの間の各接合部を、それぞれエポキシ接着剤で接合するようにした以外は、前記実施例1と同様にしてインクジェット式記録ヘッドを製造した。
2.インクジェット式記録ヘッドの評価
2.1 寸法精度の評価
実施例および比較例で得られたインクジェット式記録ヘッドについて、それぞれ寸法精度を測定した。
その結果、実施例で得られたインクジェット式記録ヘッドでは、いずれも、比較例で得られたインクジェット式記録ヘッドに比べて寸法精度が高かった。
また、各インクジェット式記録ヘッドをインクジェットプリンタに組み込み、印刷用紙に印字したところ、各実施例で得られたヘッドを組み込んだプリンタでは、比較例で得られたヘッドを組み込んだプリンタに比べ、印字品位が優れていることが認められた。
2.2 耐薬品性の評価
実施例および比較例で得られたインクジェット式記録ヘッドに、80℃に維持したインクジェットプリンタ用インク(エプソン社製)を充填し、3週間保持した。その後、インクジェット式記録ヘッドの状態を評価した。
その結果、実施例で得られたインクジェット式記録ヘッドでは、接合部へのインクの浸入がほとんど認められなかった。これに対し、比較例で得られたインクジェット式記録ヘッドでは、接合部へのインクの浸入が認められた。
本発明の液滴吐出ヘッドをインクジェット式記録ヘッドに適用した場合の好適な実施形態を示す分解斜視図である。 図1に示すインクジェット式記録ヘッドの平面図および断面図である。 図1に示すインクジェット式記録ヘッドを備えるインクジェットプリンタの実施形態を示す概略図である。 図2に示すインクジェット式記録ヘッドのノズルプレートが備えるプラズマ重合膜のエネルギー付与前の状態を示す部分拡大図である。 図2に示すインクジェット式記録ヘッドのノズルプレートが備えるプラズマ重合膜のエネルギー付与後の状態を示す部分拡大図である。 インクジェット式記録ヘッドの製造方法を説明するための図(縦断面図)である。 インクジェット式記録ヘッドの製造方法を説明するための図(縦断面図)である。 インクジェット式記録ヘッドの製造方法を説明するための図(縦断面図)である。 インクジェット式記録ヘッドの製造方法を説明するための図(縦断面図)である。 インクジェット式記録ヘッドの製造方法を説明するための図(縦断面図)である。 インクジェット式記録ヘッドが備えるプラズマ重合膜の作製に用いられるプラズマ重合装置を模式的に示す縦断面図である。 本実施形態にかかるインクジェット式記録ヘッドの他の構成例を示す断面図である。
符号の説明
1……インクジェット式記録ヘッド 10……ノズルプレート本体 10’……母材 11……ノズル孔 14……撥液膜 141……基膜 142……単分子膜 145……表面 15、25、35、45a、45b……接合膜 155……表面 1551……接合領域 1552……非接合領域 16……単分子膜 20……吐出液貯留室形成基板 20’……母材 21……吐出液貯留室 22……吐出液供給室 23……貫通孔 30……封止シート 40……振動板 50……圧電素子 51……圧電体層 52……電極膜 53……凹部 60……ケースヘッド 61……吐出液供給路 70……リザーバ 80…ノズルプレート 90…接合体 301……Si骨格 302……シロキサン結合 303……脱離基 304……活性手 100……プラズマ重合装置 101……チャンバー 102……接地線 103……供給口 104……排気口 130……第1の電極 139……静電チャック 140……第2の電極 170……ポンプ 171……圧力制御機構 180……電源回路 182……高周波電源 183……マッチングボックス 184……配線 190……ガス供給部 191……貯液部 192……気化装置 193……ガスボンベ 194……配管 195……拡散板 9……インクジェットプリンタ 92……装置本体 921……トレイ 922……排紙口 93……ヘッドユニット 931……インクカートリッジ 932……キャリッジ 94……印刷装置 941……キャリッジモータ 942……往復動機構 943……キャリッジガイド軸 944……タイミングベルト 95……給紙装置 951……給紙モータ 952……給紙ローラ 952a……従動ローラ 952b……駆動ローラ 96……制御部 97……操作パネル P……記録用紙

Claims (29)

  1. 吐出液を液滴として吐出するノズル孔を有し、一方の面に前記液滴が付着するのを抑制する撥液膜、他方の面に基板と接合する接合膜を備えるノズルプレートであって、
    前記撥液膜は、シロキサン(Si−O)結合を含みランダムな原子構造を有するSi骨格と、該Si骨格に結合する脱離基とを含むプラズマ重合膜を含み、
    前記撥液膜は、当該撥液膜を構成する前記プラズマ重合膜の少なくとも一部の領域にエネルギーが付与されることにより、前記プラズマ重合膜の表面付近に存在する前記脱離基が前記Si骨格から脱離し、前記プラズマ重合膜の表面の前記領域に、前記液滴に対する撥液性を有するカップリング剤との反応性が発現し、前記プラズマ重合膜と前記カップリング剤とが結合したものであり、
    前記接合膜は、シロキサン(Si−O)結合を含みランダムな原子構造を有するSi骨格と、該Si骨格に結合する脱離基とを含むプラズマ重合膜で構成され、
    前記接合膜は、当該接合膜を構成する前記プラズマ重合膜の少なくとも一部の領域に前記エネルギーが付与されることにより、前記プラズマ重合膜の表面付近に存在する前記脱離基が前記Si骨格から脱離し、前記プラズマ重合膜の表面の前記領域に前記基板との接着性が発現するものであることを特徴とするノズルプレート。
  2. 前記プラズマ重合膜を構成する全原子からH原子を除いた原子のうち、Si原子の含有率とO原子の含有率の合計が、10〜90原子%である請求項1に記載のノズルプレート。
  3. 前記プラズマ重合膜中のSi原子とO原子の存在比は、3:7〜7:3である請求項1または2に記載のノズルプレート。
  4. 前記Si骨格の結晶化度は、45%以下である請求項1ないし3のいずれかに記載のノズルプレート。
  5. 前記プラズマ重合膜は、Si−H結合を含んでいる請求項1ないし4のいずれかに記載のノズルプレート。
  6. 前記Si−H結合を含むプラズマ重合膜についての赤外光吸収スペクトルにおいて、シロキサン結合に帰属するピーク強度を1としたとき、Si−H結合に帰属するピーク強度が0.001〜0.2である請求項5に記載のノズルプレート。
  7. 前記脱離基は、H原子、B原子、C原子、N原子、O原子、P原子、S原子およびハロゲン系原子、またはこれらの各原子が前記Si骨格に結合するよう配置された原子団からなる群から選択される少なくとも1種で構成されたものである請求項1ないし6のいずれかに記載のノズルプレート。
  8. 前記脱離基は、アルキル基である請求項7に記載のノズルプレート。
  9. 前記脱離基としてメチル基を含むプラズマ重合膜についての赤外光吸収スペクトルにおいて、シロキサン結合に帰属するピーク強度を1としたとき、メチル基に帰属するピーク強度が0.05〜0.45である請求項8に記載のノズルプレート。
  10. 前記プラズマ重合膜は、ポリオルガノシロキサンを主材料として構成されている請求項1ないし9のいずれかに記載のノズルプレート。
  11. 前記ポリオルガノシロキサンは、オクタメチルトリシロキサンの重合物を主成分とするものである請求項10に記載のノズルプレート。
  12. 前記プラズマ重合膜の平均厚さは、1〜1000nmである請求項1ないし11のいずれかに記載のノズルプレート。
  13. 前記カップリング剤は、撥液性を有する官能基を備えたシランカップリング剤である請求項1ないし12のいずれかに記載のノズルプレート。
  14. ノズルプレートは、シリコン材料またはステンレス鋼を主材料として構成されている請求項1ないし13のいずれかに記載のノズルプレート。
  15. 請求項1ないし14のいずれかに記載のノズルプレートの製造方法であって、
    平板状の母材の両面に、プラズマ重合法を用いて、シロキサン(Si−O)結合を含み、ランダムな原子構造を有するSi骨格と、該Si骨格に結合する脱離基とを含むプラズマ重合膜を形成する工程と、
    前記母材の一方の面に形成された前記プラズマ重合膜に前記エネルギーを付与し、前記母材の一方の面に形成された前記プラズマ重合膜の表面に、前記カップリング剤との反応性を発現させる工程と、
    前記母材の一方の面に形成された前記プラズマ重合膜に、前記カップリング剤を結合させる工程と、
    前記母材および前記プラズマ重合膜を貫通するノズル孔を形成する工程とを有することを特徴とするノズルプレートの製造方法。
  16. 前記プラズマ重合膜は、前記母材の両面に、同時に形成する請求項15に記載のノズルプレートの製造方法。
  17. 前記カップリング剤を含有する溶液に、前記母材の一方の面に形成された前記プラズマ重合膜を浸漬することにより、該プラズマ重合膜の表面に前記カップリング剤を結合させる請求項15または16に記載のノズルプレートの製造方法。
  18. 前記プラズマ重合法において、プラズマを発生させる際の高周波の出力密度は、0.01〜100W/cmである請求項15ないし17のいずれかに記載のノズルプレートの製造方法。
  19. 前記エネルギーの付与は、前記プラズマ重合膜にエネルギー線を照射する方法により行われる請求項15ないし18のいずれかに記載のノズルプレートの製造方法。
  20. 前記エネルギー線は、波長126〜300nmの紫外線である請求項19に記載のノズルプレートの製造方法。
  21. 前記母材の前記プラズマ重合膜が形成される領域には、あらかじめ、前記プラズマ重合膜との密着性を高める表面処理が施されている請求項15ないし20のいずれかに記載のノズルプレートの製造方法。
  22. 前記表面処理は、プラズマ処理である請求項21に記載のノズルプレートの製造方法。
  23. 請求項1ないし14のいずれかに記載のノズルプレートと、前記吐出液を貯留する吐出液貯留室が形成された基板と前記吐出液貯留室を覆うように設けられた封止板とが接合された接合体とを備え、
    前記ノズルプレートの一方の面に備えられた前記接合膜の少なくとも一部の領域にエネルギーが付与されることにより、前記接合膜の表面付近に存在する前記脱離基が前記Si骨格から脱離し、前記接合膜の表面の前記領域に接着性を発現させ、その接着性によって、前記ノズルプレートと前記接合体の前記基板とが前記接合膜を介して接合していることを特徴とする液滴吐出ヘッド。
  24. 前記接合体は、前記基板と前記封止板とを、前記接合膜と同様の接合膜を介して接合することにより得られるものである請求項23に記載の液滴吐出ヘッド。
  25. 前記封止板は、複数の層を積層してなる積層体で構成されており、
    前記積層体中の層のうち、隣接する少なくとも1組の層の層間を、前記接着性が発現した前記接合膜と同様の接合膜を介して接合する請求項23または24に記載の液滴吐出ヘッド。
  26. 当該液滴吐出ヘッドは、さらに、前記封止板の前記基板と反対側に設けられ、前記封止板を振動させる振動手段を有し、
    前記封止板と前記振動手段とを、前記接着性が発現した前記プラズマ重合膜と同様のプラズマ重合膜を介して接合する請求項23ないし25のいずれかに記載の液滴吐出ヘッド。
  27. 前記振動手段は、圧電素子で構成されている請求項26に記載の液滴吐出ヘッド。
  28. 当該液滴吐出ヘッドは、さらに、前記封止板の前記基板と反対側に設けられたケースヘッドを有し、
    前記封止板と前記ケースヘッドとを、前記接着性が発現した前記プラズマ重合膜と同様のプラズマ重合膜を介して接合する請求項23ないし27のいずれかに記載の液滴吐出ヘッド。
  29. 請求項23ないし28のいずれかに記載の液滴吐出ヘッドを備えることを特徴とする液滴吐出装置。
JP2008194505A 2008-07-29 2008-07-29 ノズルプレート、ノズルプレートの製造方法、液滴吐出ヘッドおよび液滴吐出装置 Active JP4674619B2 (ja)

Priority Applications (2)

Application Number Priority Date Filing Date Title
JP2008194505A JP4674619B2 (ja) 2008-07-29 2008-07-29 ノズルプレート、ノズルプレートの製造方法、液滴吐出ヘッドおよび液滴吐出装置
US12/507,947 US8128202B2 (en) 2008-07-29 2009-07-23 Nozzle plate, method for manufacturing nozzle plate, droplet discharge head, and droplet discharge device

Applications Claiming Priority (1)

Application Number Priority Date Filing Date Title
JP2008194505A JP4674619B2 (ja) 2008-07-29 2008-07-29 ノズルプレート、ノズルプレートの製造方法、液滴吐出ヘッドおよび液滴吐出装置

Publications (2)

Publication Number Publication Date
JP2010030142A true JP2010030142A (ja) 2010-02-12
JP4674619B2 JP4674619B2 (ja) 2011-04-20

Family

ID=41607899

Family Applications (1)

Application Number Title Priority Date Filing Date
JP2008194505A Active JP4674619B2 (ja) 2008-07-29 2008-07-29 ノズルプレート、ノズルプレートの製造方法、液滴吐出ヘッドおよび液滴吐出装置

Country Status (2)

Country Link
US (1) US8128202B2 (ja)
JP (1) JP4674619B2 (ja)

Cited By (5)

* Cited by examiner, † Cited by third party
Publication number Priority date Publication date Assignee Title
JP2012091353A (ja) * 2010-10-25 2012-05-17 Fujifilm Corp 撥水膜の形成方法、撥水膜、インクジェットヘッドのノズルプレート
WO2014109166A1 (ja) 2013-01-09 2014-07-17 富士フイルム株式会社 撥水膜の製造方法、および、基板、ノズルプレート、インクジェットヘッド、インクジェット記録装置
WO2021019693A1 (ja) * 2019-07-30 2021-02-04 コニカミノルタ株式会社 ノズルプレート、ノズルプレートの製造方法及びインクジェットヘッド
JP2021070313A (ja) * 2019-10-29 2021-05-06 パナソニックIpマネジメント株式会社 液体吐出ヘッドおよびインクジェット装置
KR102925600B1 (ko) * 2019-10-29 2026-02-10 파나소닉 아이피 매니지먼트 가부시키가이샤 액체 토출 헤드 및 잉크젯 장치

Families Citing this family (9)

* Cited by examiner, † Cited by third party
Publication number Priority date Publication date Assignee Title
JP4884180B2 (ja) * 2006-11-21 2012-02-29 東京エレクトロン株式会社 基板処理装置および基板処理方法
JP5905266B2 (ja) 2011-06-28 2016-04-20 エスアイアイ・プリンテック株式会社 液体噴射ヘッド、液体噴射装置及び液体噴射ヘッドの製造方法
US9220852B2 (en) * 2012-04-10 2015-12-29 Boehringer Ingelheim Microparts Gmbh Method for producing trench-like depressions in the surface of a wafer
WO2014119418A1 (ja) * 2013-01-30 2014-08-07 コニカミノルタ株式会社 液滴吐出ヘッド基板及び液滴吐出ヘッドの製造方法
US20150135957A1 (en) * 2013-11-19 2015-05-21 Applied Membrane Technology, Inc. Organosiloxane Films for Gas Separations
US9339770B2 (en) 2013-11-19 2016-05-17 Applied Membrane Technologies, Inc. Organosiloxane films for gas separations
US10351729B2 (en) * 2016-03-03 2019-07-16 Motorola Mobility Llc Polysiloxane films and methods of making polysiloxane films
US11446929B2 (en) * 2019-10-29 2022-09-20 Panasonic Intellectual Property Management Co., Ltd. Liquid discharging head and ink-jet apparatus
JP7746005B2 (ja) * 2020-11-18 2025-09-30 理想テクノロジーズ株式会社 インクジェットヘッド及びインクジェットプリンタ

Citations (4)

* Cited by examiner, † Cited by third party
Publication number Priority date Publication date Assignee Title
JP2005246707A (ja) * 2004-03-02 2005-09-15 Seiko Epson Corp 成膜方法および膜
JP2006212971A (ja) * 2005-02-04 2006-08-17 Ricoh Printing Systems Ltd インクジェットヘッド及びそれを用いたインクジェット式記録装置
JP2007106050A (ja) * 2005-10-14 2007-04-26 Sharp Corp インクジェットヘッド及びインクジェットヘッドの製造方法
JP2008105334A (ja) * 2006-10-27 2008-05-08 Seiko Epson Corp 液滴吐出ヘッド、液滴吐出ヘッドの製造方法および液滴吐出装置

Family Cites Families (7)

* Cited by examiner, † Cited by third party
Publication number Priority date Publication date Assignee Title
JP3178042B2 (ja) 1991-12-05 2001-06-18 セイコーエプソン株式会社 インクジェットヘッドの製造方法
JPH07228822A (ja) 1993-12-22 1995-08-29 Du Pont Mitsui Fluorochem Co Ltd 撥水性含フッ素樹脂表面を有する物品の製造方法
EP0696623A4 (en) * 1993-12-22 1998-12-16 Mitsui Du Pont Fluorchemical ARTICLE HAVING A HYDROPHOBIC FLUORORESIN SURFACE AND PROCESS FOR PRODUCING THE SAME
JP2004330681A (ja) * 2003-05-09 2004-11-25 Hitachi Printing Solutions Ltd インクジェットヘッド、及びこれを用いたインクジェットプリンタ及びインクジェットヘッドの製造方法
JP4377188B2 (ja) * 2003-09-29 2009-12-02 富士フイルム株式会社 重合性樹脂組成物、インクジェット記録ヘッド及びその製造方法
JP4214999B2 (ja) * 2005-01-12 2009-01-28 セイコーエプソン株式会社 ノズル板の製造方法、ノズル板、液滴吐出ヘッドおよび液滴吐出装置
JP2008307873A (ja) 2007-06-18 2008-12-25 Seiko Epson Corp 接合方法、接合体、液滴吐出ヘッドおよび液滴吐出装置

Patent Citations (4)

* Cited by examiner, † Cited by third party
Publication number Priority date Publication date Assignee Title
JP2005246707A (ja) * 2004-03-02 2005-09-15 Seiko Epson Corp 成膜方法および膜
JP2006212971A (ja) * 2005-02-04 2006-08-17 Ricoh Printing Systems Ltd インクジェットヘッド及びそれを用いたインクジェット式記録装置
JP2007106050A (ja) * 2005-10-14 2007-04-26 Sharp Corp インクジェットヘッド及びインクジェットヘッドの製造方法
JP2008105334A (ja) * 2006-10-27 2008-05-08 Seiko Epson Corp 液滴吐出ヘッド、液滴吐出ヘッドの製造方法および液滴吐出装置

Cited By (14)

* Cited by examiner, † Cited by third party
Publication number Priority date Publication date Assignee Title
JP2012091353A (ja) * 2010-10-25 2012-05-17 Fujifilm Corp 撥水膜の形成方法、撥水膜、インクジェットヘッドのノズルプレート
WO2014109166A1 (ja) 2013-01-09 2014-07-17 富士フイルム株式会社 撥水膜の製造方法、および、基板、ノズルプレート、インクジェットヘッド、インクジェット記録装置
JP2014133341A (ja) * 2013-01-09 2014-07-24 Fujifilm Corp 撥水膜の製造方法、および、基板、ノズルプレート、インクジェットヘッド、インクジェット記録装置
US9242466B2 (en) 2013-01-09 2016-01-26 Fujifilm Corporation Method for manufacturing water-repellent film, and substrate, nozzle plate, ink jet head, and ink jet recording device
CN114206620B (zh) * 2019-07-30 2023-11-10 柯尼卡美能达株式会社 喷嘴板、喷嘴板的制造方法及喷墨头
JPWO2021019693A1 (ja) * 2019-07-30 2021-02-04
CN114206620A (zh) * 2019-07-30 2022-03-18 柯尼卡美能达株式会社 喷嘴板、喷嘴板的制造方法及喷墨头
JP7231039B2 (ja) 2019-07-30 2023-03-01 コニカミノルタ株式会社 ノズルプレート、ノズルプレートの製造方法及びインクジェットヘッド
WO2021019693A1 (ja) * 2019-07-30 2021-02-04 コニカミノルタ株式会社 ノズルプレート、ノズルプレートの製造方法及びインクジェットヘッド
JP2021070313A (ja) * 2019-10-29 2021-05-06 パナソニックIpマネジメント株式会社 液体吐出ヘッドおよびインクジェット装置
JP2024152790A (ja) * 2019-10-29 2024-10-25 パナソニックIpマネジメント株式会社 液体吐出ヘッド、インクジェット装置、および液体吐出ヘッドの製造方法
JP7573234B2 (ja) 2019-10-29 2024-10-25 パナソニックIpマネジメント株式会社 液体吐出ヘッドおよびインクジェット装置
JP7801700B2 (ja) 2019-10-29 2026-01-19 パナソニックIpマネジメント株式会社 液体吐出ヘッド、およびインクジェット装置
KR102925600B1 (ko) * 2019-10-29 2026-02-10 파나소닉 아이피 매니지먼트 가부시키가이샤 액체 토출 헤드 및 잉크젯 장치

Also Published As

Publication number Publication date
JP4674619B2 (ja) 2011-04-20
US20100026760A1 (en) 2010-02-04
US8128202B2 (en) 2012-03-06

Similar Documents

Publication Publication Date Title
JP4674619B2 (ja) ノズルプレート、ノズルプレートの製造方法、液滴吐出ヘッドおよび液滴吐出装置
JP4337935B2 (ja) 接合体および接合方法
JP4710897B2 (ja) 接合体の剥離方法
JP4608629B2 (ja) ノズルプレート、ノズルプレートの製造方法、液滴吐出ヘッド、液滴吐出ヘッドの製造方法および液滴吐出装置
JP4697253B2 (ja) 接合方法、液滴吐出ヘッド、接合体および液滴吐出装置
JP4462313B2 (ja) 接合膜付き基材、接合方法および接合体
JP5625470B2 (ja) 接合方法
JP4497218B2 (ja) 接合方法および接合体
JP4865688B2 (ja) 液滴吐出ヘッドおよび液滴吐出装置
JP2010274523A (ja) 液滴吐出ヘッドおよび液滴吐出装置
JP2010095595A (ja) 接合方法および接合体
JP2011235533A (ja) 液滴吐出ヘッドおよび液滴吐出装置
JP2009132749A (ja) 接合方法および接合体
JP2010106079A (ja) 接合方法および接合体
JP2010275421A (ja) 接合方法および接合体
JP2010275422A (ja) 接合方法および接合体
JP2010095594A (ja) 接合方法および接合体
JP2010280229A (ja) ノズルプレート、ノズルプレートの製造方法、液滴吐出ヘッド、液滴吐出ヘッドの製造方法および液滴吐出装置
JP2009292917A (ja) 接合方法および接合体
JP2009143992A (ja) 接合方法および接合体
JP2010030048A (ja) 液滴吐出ヘッドの製造方法
JP2009046541A (ja) 接合膜付き基材、接合膜付き基材の製造方法、接合方法および接合体
JP5434772B2 (ja) 接合方法
JP2009248368A (ja) 接合体および接合体の剥離方法
JP2010089514A (ja) 接合膜付き基材、接合方法および接合体

Legal Events

Date Code Title Description
A977 Report on retrieval

Free format text: JAPANESE INTERMEDIATE CODE: A971007

Effective date: 20100720

A131 Notification of reasons for refusal

Free format text: JAPANESE INTERMEDIATE CODE: A131

Effective date: 20100727

A521 Request for written amendment filed

Free format text: JAPANESE INTERMEDIATE CODE: A523

Effective date: 20100916

TRDD Decision of grant or rejection written
A01 Written decision to grant a patent or to grant a registration (utility model)

Free format text: JAPANESE INTERMEDIATE CODE: A01

Effective date: 20101228

A01 Written decision to grant a patent or to grant a registration (utility model)

Free format text: JAPANESE INTERMEDIATE CODE: A01

A61 First payment of annual fees (during grant procedure)

Free format text: JAPANESE INTERMEDIATE CODE: A61

Effective date: 20110110

FPAY Renewal fee payment (event date is renewal date of database)

Free format text: PAYMENT UNTIL: 20140204

Year of fee payment: 3

R150 Certificate of patent or registration of utility model

Ref document number: 4674619

Country of ref document: JP

Free format text: JAPANESE INTERMEDIATE CODE: R150

Free format text: JAPANESE INTERMEDIATE CODE: R150

S531 Written request for registration of change of domicile

Free format text: JAPANESE INTERMEDIATE CODE: R313531

R350 Written notification of registration of transfer

Free format text: JAPANESE INTERMEDIATE CODE: R350