JP2010027841A - 電子部品装着装置 - Google Patents

電子部品装着装置 Download PDF

Info

Publication number
JP2010027841A
JP2010027841A JP2008187062A JP2008187062A JP2010027841A JP 2010027841 A JP2010027841 A JP 2010027841A JP 2008187062 A JP2008187062 A JP 2008187062A JP 2008187062 A JP2008187062 A JP 2008187062A JP 2010027841 A JP2010027841 A JP 2010027841A
Authority
JP
Japan
Prior art keywords
electronic component
joining tool
substrate
joining
component mounting
Prior art date
Legal status (The legal status is an assumption and is not a legal conclusion. Google has not performed a legal analysis and makes no representation as to the accuracy of the status listed.)
Granted
Application number
JP2008187062A
Other languages
English (en)
Other versions
JP5249659B2 (ja
Inventor
Mikio Kyomasu
幹雄 京増
Current Assignee (The listed assignees may be inaccurate. Google has not performed a legal analysis and makes no representation or warranty as to the accuracy of the list.)
Precise Gauges Co Ltd
Original Assignee
Precise Gauges Co Ltd
Priority date (The priority date is an assumption and is not a legal conclusion. Google has not performed a legal analysis and makes no representation as to the accuracy of the date listed.)
Filing date
Publication date
Application filed by Precise Gauges Co Ltd filed Critical Precise Gauges Co Ltd
Priority to JP2008187062A priority Critical patent/JP5249659B2/ja
Publication of JP2010027841A publication Critical patent/JP2010027841A/ja
Application granted granted Critical
Publication of JP5249659B2 publication Critical patent/JP5249659B2/ja
Expired - Fee Related legal-status Critical Current
Anticipated expiration legal-status Critical

Links

Images

Classifications

    • H10W72/0711
    • H10W72/07141

Landscapes

  • Electric Connection Of Electric Components To Printed Circuits (AREA)
  • Die Bonding (AREA)

Abstract

【課題】電子部品を基板に装着する際の位置決めを高精度に制御し、両部品の正確な接着固定および電気接続を形成することができる電子部品装着装置を提供する。
【解決手段】基板2の表面上の部品実装箇所に予め被着されたメタライズを介して、電子部品3を部品実装箇所に装着する電子部品装着装置1において、基板が載置される接合テーブル12と、電子部品を基板の部品実装箇所上に移載する部品移載手段5と、基板および電子部品の水平方向における位置を両部品の上方から観察する顕微鏡6と、部品移載手段によって基板の部品実装箇所上に移載された電子部品に対して上方から当接し、電子部品を加熱する部品接合手段9とを備えている。
【選択図】図1

Description

本発明は、基板上に電子部品を装着する電子部品装着装置に関し、より詳細には、基板表面上の部品実装箇所に予め被着されたメタライズ等を溶融することにより、基板と電子部品との接着固定および電気接続を形成する電子部品装着装置に関する。
この種の電子部品装着装置は、高周波半導体素子や光半導体素子などの小型電子部品をSiOB,セラミック基板などに実装する際に使用されている(例えば特許文献1)。この基板と電子部品との間には、Au/Snや半田等のメタライズ層が予め介在されており、両部材は、このメタライズ層を挟んだ状態で加熱されることにより接着固定されて電気的に接続される。
近年、光通信などの分野においては、光伝送モジュールや光送受信ユニットなどの光学製品の小型化に伴って、これらに搭載される光半導体レーザ(LD)やフォトダイオード(PD)等の光半導体素子の微細化が進んでいる。したがって、光半導体素子のような小型電子部品を基板に実装する場合には、非常に高精度な位置決め制御が要求される。
図6は、従来の電子部品装着装置の概略構成を示す模式図である。同図に示される電子部品装置100は、大別すると、基板101の載置および位置決めを行う基板位置決め機構102と、基板101に装着される電子部品103の吸着および位置決めを行う部品位置決め機構104と、基板101と電子部品103との間に配され、それぞれの位置決め状態を観察する撮像機構105とから構成されている。
基板位置決め機構102は、表面に基板101が載置される接合テーブル106と、該接合テーブル106とベース部材107との間に介装された基板XYステージ108とを備え、使用者の操作やコンピュータの制御に応じて基板XYステージ108が作動することによって、基板101の水平方向(XY方向)の位置が調整されるようになっている。
部品位置決め機構104は、ベース部材106上に立設された垂直フレーム109に直動ガイドなどを介して摺動可能に取り付けらた部品Zステージ110と、該部品Zステージ110から水平方向に延びる支持アーム111の先端部に設けられた部品XYステージ112と、該部品XYステージ112の下部に加重相殺機構113を介して取り付けられ、真空吸着などによって電子部品103を保持可能に構成された部品吸着機構114とを備え、上述した基板位置決め機構102と同様に電子部品103の水平方向(XY方向)の位置が調整されるようになっている。なお、加重相殺機構113には、電子部品103が装着される際に生じる加重を検出するための加重検出器115が内蔵されている。
撮像機構105は、基板101および電子部品103のXY方向における位置画像をそれぞれ別々に捉えるミラー116a,116b、および各ミラー116a,116bによって捕らえられた位置画像を撮像する投受光式のCCDカメラ117a,117bを有する顕微鏡118と、該顕微鏡118のCCDカメラ117a,117bによって撮像された各位置画像を表示する表示端末119とを備えている。使用者は、この表示端末119に出力される基板101および電子部品103のXY方向における位置画像を観察しながら、基板101および電子部品103の位置調整を実行する。なお、電子部品103を基板101に装着する際には、顕微鏡118は、装着作業の妨げにならないように基板101と電子部品103との間から退避される。
また、部品位置決め機構104の部品吸着機構114には、基板101に装着する際に電子部品103を加熱するヒータ120が内蔵されている。このヒータ120は、パルスヒータ121に電気的に接続され、該パルスヒータ121の制御によって任意に温度調整される。ヒータ120によって電子部品103が所定の温度以上に上昇されると、部品Zステージ110の駆動により部品位置決め機構104が下方に移動する。そして、この加熱された電子部品103が基板101に当接されることによって、基板101の表面上の部品実装箇所に予め被着されたメタライズが溶融され、該メタライズを介して電子部品104が基板101に装着される。
特開2006−32446号公報
しかしながら、図6に示すような従来の電子部品装着装置100では、基板101と電子部品103との間に撮像機構105の顕微鏡116を配置する構造であるため、顕微鏡116によって両部品102,103の正確な位置を捉えたとしても、顕微鏡116が退避された後に部品Zステージ110の駆動によって電子部品103を基板101に対して垂下する過程で、電子部品103と基板101との相対位置がずれてしまう可能性があった。すなわち、位置決めを行う際の電子部品103と基板101との間に、顕微鏡116を配置するための大きな空間が確保されているが、電子部品103の正確な位置精度を維持した状態でこの大きな空間(距離)を垂直に移動させることは困難であるため、電子部品103をサブミクロン単位の精度で基板101に装着することはほぼ不可能であった。
また、電子部品103を基板101に装着する工程では、部品吸着機構114にヒータ117などが配設されていることにより観察することが困難であり、かつ、これにより生じた誤差を検出する手段が装備されていないという点も、電子部品103と基板101との相対位置がずれてしまうことに起因していた。
さらに、部品位置決め機構104には、部品吸着機構114に吸着された電子部品103に負荷すべき加重が必要以上に大きくなるのを防ぐために、加重相殺機構113および加重検出器115が設けられているが、現存の加重検出器115は十分な検出応答速度を有していなかった。そのため、パルスヒータ121およびヒータ120によって電子部品103が加熱された際に、電子部品103に多大なストレスが加わって破損などが生じてしまうという問題があり、この問題点も位置決め精度を低下させる要因の一つになっていた。
本発明は、上記事情に鑑みてなされたものであり、その目的とするところは、電子部品を基板に装着する際の位置決めを高精度に制御し、両部品の正確な接着固定および電気接続を形成することができる電子部品装着装置を提供することにある。
本発明の上記目的は、基板の表面上の部品実装箇所に予め被着されたメタライズを介して、電子部品を前記部品実装箇所に装着する電子部品装着装置において、前記基板が載置される接合テーブルと、前記電子部品を前記基板の前記部品実装箇所上に移載する部品移載手段と、前記基板および前記電子部品の水平方向における位置を両部品の上方から観察する顕微鏡と、前記部品移載手段によって前記基板の前記部品実装箇所上に移載された前記電子部品に対して上方から当接し、前記電子部品を加熱する部品接合手段とを備えていることにより、達成される。
また、上記目的は、前記部品接合手段が、前記電子部品を加熱する加熱源である誘導加熱コイルと、前記誘導加熱コイルの内周を貫通するように配されたピン形状の接合ツールと、前記接合ツールを軸方向に摺動自在に支持する接合ツール保持部とを有することにより、効果的に達成される。
また、上記目的は、前記接合ツール保持部が、前記誘導加熱コイルにより加熱される前記接合ツールの熱伝達部が挿入されるとともに、前記接合ツールの頭部に形成された加重部と係合する保持孔を有し、前記接合ツールが前記電子部品に当接する際には、前記接合ツールの自重のみが前記電子部品に負荷されることにより、効果的に達成される。
また、上記目的は、前記接合ツールと前記保持孔との間には筒状の軸受部材が介在され、前記軸受部材が、挿入される前記接合ツールの熱伝達部との間に空隙を有し、かつ、前記空隙が、前記接合ツールが熱膨張した場合でも前記接合ツールを軸方向に摺動可能であり、かつ前記接合ツールの垂直度を維持可能であるように設計されていることにより、効果的に達成される。
また、上記目的は、前記軸受部材が、絶縁性および滑動性を有する素材から形成されるとともに、前記接合ツールおよび前記接合ツール保持部が、導電性を有する素材から形成され、前記接合ツールが前記電子部品に当接している場合には、前記接合ツールと前記接合ツール保持部との絶縁性が維持され、かつ、前記接合ツールが前記電子部品に当接していない場合には、前記接合ツールの前記加重部が前記接合ツール保持部に接触することにより、前記接合ツールと前記接合ツール保持部との導電性が維持されることにより、効果的に達成される。
また、上記目的は、前記接合ツールの前記熱伝達部の先端形状が、前記電子部品の寸法に対応するとともに、前記電子部品を所定の温度に上昇させる熱を伝達可能な平面度を有することにより、効果的に達成される。
また、上記目的は、前記部品移載手段が、前記電子部品の両側を把持するピンセットと、該ピンセットにより把持された電子部品を水平方向および垂直方向に移動させるXYZステージとを有することにより、効果的に達成される。
また、上記目的は、前記接合ツールの垂直度が、前記接合ステージ上の所定位置に載置された調整ジグの調整穴に前記接合ツールの先端部を挿入した状態で、前記接合ツール保持部に設けられた角度調整機構の固定ジグが締められることにより調整されることにより、効果的に達成される。
さらに、上記目的は、前記顕微鏡および前記接合ステージの水平方向の位置が、前記接合ステージ上に載置された前記調整ジグの前記調整穴が前記顕微鏡の視野に捕捉されるように調整されることにより、効果的に達成される。
本発明に係る電子部品装着装置によれば、電子部品を基板表面上の部品実装箇所に移載し、上方から電子部品に当接する部品接合手段によって電子部品を加熱することにより、部品実装箇所に予め被着されたメタライズを溶融し、電子部品を基板に装着するようになっている。このような構成により、電子部品および基板の上方に顕微鏡を配設することができるので、該顕微鏡を介して両部品の水平方向における位置を上方から一体的に観察することができる。この結果、従来の顕微鏡では、電子部品と基板との相対位置を間接的に観察していたのに対して、本発明に係る顕微鏡では、両部品の相対位置を直接的に観察することができるので、位置決め精度を大幅に向上させることができる。
以下、図面を参照にしながら本発明の実施形態について説明する。
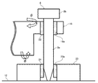
図1は、本発明の実施形態に係る電子部品装着装置の概略構造を示す模式図であり、図2は、本発明の実施形態に係る電子部品装着装置の制御構成を示すブロック図である。なお、これらの図では、複雑化するのを避けるために、一部の構成要素については図示を省略している。
本実施形態に係る電子部品制御装置1は、基板2の表面上にマークされた部品実装箇所に電子部品3を装着する装置であり、電子部品3が基板2の部品実装箇所に載置された際に電子部品3を加熱するようになっている。これにより、基板2の部品実装箇所に予め被着されていたメタライズが溶融し、この結果、基板2と電子部品3の接着固定および電気接続が形成される。
図1および図2において、電子部品装着装置1は、大別すると、基板2の載置および位置決めを行う基板位置決め機構4と、電子部品3を基板2の部品実装箇所上に移載する部品移載機構5と、基板2および該基板2に移載される電子部品3のXY方向(水平方向)における位置を上方から観察する顕微鏡6と、部品移載機構5によって基板2の部品実装箇所上に移載された電子部品3に対して、誘導加熱コイル7によって加熱された接合ツール8を上方から当接する部品接合機構9とを備えている。図2に示すように、基板位置決め機構4、部品移載機構5、顕微鏡6および部品接合機構9の各駆動要素は、それらの作動の制御を司る制御部10に接続されている。この制御部10は、各種操作を指示するボタンなどを有する操作入力部11に接続されており、該操作入力部11を介して入力された操作指示に基づいて、各駆動要素の作動を制御するようになっている。
基板位置決め機構4は、表面に基板2が載置される接合テーブル12と、該接合テーブル12とベース部材13との間に介装された基板XYステージ14とを備え、該基板XYステージ14を駆動することにより、接合テーブル12および該接合テーブル12に載置された基板2をXY方向(水平方向)に移動できるようになっている。また、基板2が載置される接合テーブル12の表面下には、温度調節機能を有する基板加熱ヒータ15が内蔵されている。駆動要素である基板XYステージ14および基板加熱ヒータ15は、制御部10に電気的に接続されている。制御部10は、操作入力部11を介して入力された操作指示に基づいて、基板XYステージ14の駆動および基板加熱ヒータ15による加熱を制御し、これにより、基板2の位置決めと加熱が実行される。
部品移載機構5は、電子部品3の両側を把持するピンセット16と、該ピンセット16により把持された電子部品3をXY方向(水平方向)およびZ方向(垂直方向)に移動させる部品XYZステージ17とを備えている。駆動要素であるピンセット16および部品XYZステージ17は、制御部10に電気的に接続されている。制御部10は、操作入力部11を介して入力された操作指示に基づいて、ピンセット16の把持動作および部品XYZステージ17の駆動を制御し、これにより、電子部品3を基板2の実装箇所上に移載する動作が実行される。
部品接合機構9は、電子部品3を加熱する加熱源である誘導加熱コイル7と、該誘導加熱コイル7の内周を貫通するように配されたピン形状の接合ツール8と、該接合ツール8を軸方向に摺動自在に支持する接合ツール保持部18と、接合ツール保持部18を支持するとともに接合ツール8を電子部品3に当接するように移動させるアーム部19と備えている。誘導加熱コイル7の両端部は、接合ツール8が配される側の接合ツール保持部18の一部に固定され、制御部10に電気的に接続されている。また、接合ツール8を移動させる駆動要素であるアーム部19も、制御部10に電気的に接続されている。制御部10は、操作入力部11を介して入力された操作指示に基づいて、誘導加熱コイル7による加熱およびアーム部19の駆動を制御し、これにより、電子部品3に接合ツール8を当接させて電子部品3を加熱する動作が実行される。
顕微鏡6は、例えば投受光式のCCDカメラなどを内蔵した撮像手段であり、この顕微鏡6により撮像された基板2および電子部品3のXY方向位置を示す画像は、制御部10で処理されて表示端末(ディスプレイ)20に出力される。また、顕微鏡6は、ベース部材13に立設された支柱部材21に沿って摺動可能な昇降機構(図示せず)を有し、該昇降機構は、制御部10に電気的に接続されている。制御部10は、操作入力部11を介して入力された操作指示に基づいて、この顕微鏡6の昇降機構の駆動を制御し、これにより、顕微鏡6の垂直方向の進退動作、すなわち基板2および電子部品3への接近/退避動作が実行される。
図3は、接合ツールおよび接合ツール保持部を説明するための概略断面図である。
同図において、接合ツール8は、周囲に配された誘導加熱コイル7により加熱される熱伝達部8aと、該熱伝達部8aの頭部(図2中の上側)に形成された加重部7bとから構成されている。加重部8bは、電子部品3に対して所定の加重を加えるための部材であり、その寸法などを変更することにより所定の加重を任意に変更することができる。一方、熱伝達部8aは、先細に形成された先端部(図2中の下側)で電子部品3に当接することにより、誘導加熱コイル7の熱を電子部品3に伝達する部材である。この熱伝達部8aの先端部の形状は、電子部品3の寸法に対応するとともに、電子部品3を所定の温度に上昇させる熱を伝達可能な平面度を有し、部品移載機構5のピンセット16によって把持されている電子部品3に対して接触できるようになっている。例えば、電子部品3の寸法が約250μmの場合には、熱伝達部8aの先端部寸法は、約200μmに設定される。
また、この接合ツール8を構成する熱伝達部8aおよび加重部8b、ならびに接合ツール保持部18は、いずれも導電性を有する金属素材で形成されている。加重部8bの素材としては、例えば、SUS303などが好ましい。一方、熱伝達部(ピンゲージ)8aの素材には、誘導加熱が得られる材質であり、かつ精密な寸法で形成可能であることが求められるので、例えば超鋼などが好ましい。このような素材から形成された熱伝達部8aは、加重部8bの下面中央部に形成された穴に嵌合固定され、これにより接合ツール8が形成される。例えば、上述した約250μmの電子部品3を装着する際には、約6mmの誘導加熱コイル7の内径に約39mmの軸長を有する熱伝達部8aを貫通するように配した接合ツール8が使用される。なお、熱伝達部8aと加重部8bとの固定を強化するために、嵌合穴に特殊接着剤を介在させてもよい。この場合に使用される特殊接着剤は、接合ツール8の加熱時の温度(Au/Snメタライズの溶融温度である約320°C)を考慮して、約370°Cまでの耐熱性を有していることが望ましい。
接合ツール保持部18は、接合ツール8の熱伝達部8aが挿通可能であるとともに加重部8bと係合可能である大きさで穿設された保持孔18aを有する。この保持孔18aの径は、少なくとも加重部8bの径よりも小さくなるように設計されており、図3に示すような係合状態では、少なくとも加重部8bの一部(下面外縁部)が接合ツール保持部18と接触するようになっている。
保持孔18aと該保持孔18aに挿通される熱伝達部8aとの間には、絶縁性および滑動性を有する素材(セラミック素材等)から形成されたパイプ22が軸受部材として介在されている。このパイプ22の内径は、接合ツール8が熱膨張した際でも熱伝達部8aが軸方向へ摺動可能であり、かつ接合ツール8の垂直度を維持可能である空隙が確保されるように設計されている。すなわち、このパイプ22には、同芯度の高い寸法精度が要求され、かつ、熱伝導が少なく絶縁性が確保されていることが要求される。したがって、このパイプ22の素材としては、これらの要求に適した特性を有し、0.5μmの精度を確保可能なジルコニアスリーブを使用することが好ましい。
このような構成からなる接合ツール8および接合ツール保持部18の構成により、接合ツール8の熱伝達部8aの垂直度は確保され、かつ、誘導加熱コイル7による加熱によって熱伝達部8aが熱膨張を生じても、この熱膨張により長くなった部分はパイプ22を通じてスライドされるため、電子部品3との当接時に接合ツール8の自重以外のストレスが加わらないようになっている。
また、図4は、接合ツールが電子部品に当接した状態を示す説明図である。なお、上述した図3は、接合ツールが電子部品に当接していない状態を示したものである。
図4に示すように、接合ツール8が電子部品3に当接した状態では、接合ツール8と接合ツール保持部18とが絶縁性素材からなるパイプ22を介してのみ接触しているため、接合ツール8の絶縁性が維持されている。一方、図3に示すように、接合ツール8が電子部品3に当接していない状態では、接合ツール8と接合ツール保持部18とが導電性素材からなる加重部8bを介して接触しているため、接合ツール8の電気的導電性が維持されている。このような構成により、接合ツール8に帯電した静電気は、接合ツール8が電子部品3に当接する前に解消されるようになっている。
また、図5は、接合ツールの垂直度調整を示す説明図である。同図に示すように、本実施形態に係る電子部品装着装置1では、接合テーブル12の所定の位置に載置された調整ジグ23を用いて、接合ツール8の垂直度調整が行われる。この調整ジグ23は、矩形状の表面部に形成された調整穴23aを有し、該調整穴23aの内周面には中空円筒状の絶縁部材(ジルコニアスリーブ)24が装着されている。
接合ツール8の垂直度を調整する際には、まず、接合ツール保持部18に設けられたθ方向の調整機構およびφ方向の調整機構の固定ジグが緩められ、この状態で接合ツール保持部18の保持孔18aに装着されたパイプ22に接合ツール8の熱伝達部8aが挿入される。そして、アーム部19の駆動により接合ツール8が垂下され、熱伝達部8aの先端部が調整ジグ23の調整穴23に装着された絶縁部材24に挿入される。
次に、この状態で調整ジグ23と接合ステージ12との間に隙間が生じないように気をつけながら、接合ツール保持部18のθ方向調整機構およびφ方向調整機構の固定ジグが締められ、アーム部19によって接合ツール8が上下方向に移動させても、調整穴23bに熱伝達部8aが容易に挿入可能であることが確認される。その後、この状態で調整ジグ23の調整穴23aと顕微鏡6の視野中心とが一致するように、接合ステージ12の位置が基板XYステージ14によって調整される。以上のような調整により、接合ツール8の正確な垂直度が確保され、かつ、接合ツール8を基板2に移載された電子部品3に正確に当接させることができる。
次に、本実施形態に係る電子部品装着装置1によって電子部品3を基板2に装着する作用について説明する。
まず、図1に示すように、接合テーブル12上に基板2が載置され、部品実装箇所として基板2の表面上に形成されたマークが顕微鏡6の視野中心と一致するように、基板XYステージ14によって基板2が位置決めされる。そして、顕微鏡6を介して検出された位置情報に基づいて、部品移載機構5のピンセット16によって把持された電子部品3が部品実装箇所である基板2のマーク上に移載される。
次に、顕微鏡6が基板2の上方に退避され、接合ツール保持部18によって保持された接合ツール8が部品実装箇所に移載された電子部品3の上方に位置するように移動される。そして、接合ツール保持部18を支持しているアーム部19によって、接合ツール8の熱伝達部8aの先端部が電子部品3に当接するように接合ツール保持部18が垂下され、この位置設定が終了したら、ピンセット16による電子部品3の把持が解除される。
その後、基板加熱ヒータ15によって基板2が約250°Cまで加熱され、この温度上昇が確認されると、誘導加熱コイル7によって接合ツール8が加熱され、接合ツール8の熱伝達部8aを介して電子部品3が加熱される。ここで、55Aの電流で2秒間の誘導加熱コイル7による加熱を行うと、電子部品3の温度は約320°Cまで上昇する。この温度は、電子部品3と基板2との間に介在されるメタライズの素材(Au/AN)の融点温度(約275°C)よりも45°C程度高いため、メタライズを確実に溶融して電子部品3と基板2との接着固定および電気接続を形成することができる。
以上のように、本実施形態に係る電子部品装着装置1によれば、電子部品3をピンセット16で把持して基板2の部品実装箇所上に移載し、この状態で加熱伝達部材である接合ツール8の先端部を電子部品3の上方から当接させる構造になっているので、電子部品3の加熱を確実に行うことができる。
また、この構造により、基板2および電子部品3の上方に顕微鏡6を配設することができるので、該顕微鏡6を介して両部品2,3の水平方向における位置を上方から一体的に観察することができる。これにより、両部品2,3の相対位置を直接的に観察することができるので、位置決め精度の向上を図ることができる。
また、本実施形態に係る電子部品装着装置1では、接合ツール8の頭部に形成された加重部8bが接合ツール保持部18の保持孔18aに係合することにより、接合ツール8が保持される構造になっているので、接合ツール8が電子部品3に当接した際に、接合ツール8の自重以外のストレスが電子部品3に加わらないようになっている。この結果、熱膨張などによるストレスに起因していた電子部品の位置ずれや破損などの発生を防止することができる。
また、本実施形態に係る電子部品装着装置1では、接合ツール8と該接合ツール8を保持する保持孔18aとの間には、絶縁性および滑動性を有するパイプ22が装着されている。これにより、接合ツール8が電子部品3に当接している状態では、導電性素材からなる接合ツール8と接合ツール保持部18とがパイプ22を介してのみ接触するために絶縁状態になり、一方、接合ツール8が電子部品3に当接している状態では、接合ツール8と接合ツール保持部18とが導電性素材からなる接合ツール8の加重部8bを介して接触するために導電状態となる。この結果、接合ツール8に帯電した静電気は、接合ツール8が電子部品3に当接する前に解消されるので、静電気による電子部品3の位置ずれを防止することができる。
以上、本発明の実施形態について具体的に説明してきたが、本発明はこれに限定されるものではなく、その趣旨を逸脱しない範囲で適宜変更可能である。
本発明の実施形態に係る電子部品装着装置の概略構造を示す模式図である。 本発明の実施形態に係る電子部品装着装置の制御構成を示すブロック図である。 接合ツールおよび接合ツール保持部を説明するための概略断面図である。 接合ツールが電子部品に当接した状態を示す説明図である。 接合ツールの垂直度調整を示す説明図である。 従来の電子部品装着装置の概略構成を示す模式図である。
符号の説明
1・・・電子部品装着装置
2・・・基板
3・・・電子部品
4・・・基板位置決め機構
5・・・部品移載機構
6・・・顕微鏡
7・・・誘導加熱コイル
8・・・接合ツール
8a・・・熱伝達部
8b・・・加重部
9・・・部品接合機構
12・・・接合テーブル
16・・・ピンセット
17・・・部品XYZステージ
18・・・接合ツール保持部
18a・・・保持孔
19・・・アーム部
22・・・パイプ(軸受部材)
23・・・調整ジグ
23a・・・調整穴

Claims (9)

  1. 基板の表面上の部品実装箇所に予め被着されたメタライズを介して、電子部品を前記部品実装箇所に装着する電子部品装着装置であって、
    前記基板が載置される接合テーブルと、
    前記電子部品を前記基板の前記部品実装箇所上に移載する部品移載手段と、
    前記基板および前記電子部品の水平方向における位置を両部品の上方から観察する顕微鏡と、
    前記部品移載手段によって前記基板の前記部品実装箇所上に移載された前記電子部品に対して上方から当接し、前記電子部品を加熱する部品接合手段と
    を備えていることを特徴とする電子部品装着装置。
  2. 前記部品接合手段は、前記電子部品を加熱する加熱源である誘導加熱コイルと、前記誘導加熱コイルの内周を貫通するように配されたピン形状の接合ツールと、前記接合ツールを軸方向に摺動自在に支持する接合ツール保持部とを有する請求項1に記載の電子部品装着装置。
  3. 前記接合ツール保持部は、前記誘導加熱コイルにより加熱される前記接合ツールの熱伝達部が挿入されるとともに、前記接合ツールの頭部に形成された加重部と係合する保持孔を有し、
    前記接合ツールが前記電子部品に当接する際には、前記接合ツールの自重のみが前記電子部品に負荷される請求項2に記載の電子部品装着装置。
  4. 前記接合ツールと前記保持孔との間には筒状の軸受部材が介在され、
    前記軸受部材は、挿入される前記接合ツールの熱伝達部との間に空隙を有し、かつ、
    前記空隙は、前記接合ツールが熱膨張した場合でも前記接合ツールを軸方向に摺動可能であり、かつ前記接合ツールの垂直度を維持可能であるように設計されている請求項3に記載の電子部品装着装置。
  5. 前記軸受部材は、絶縁性および滑動性を有する素材から形成されるとともに、前記接合ツールおよび前記接合ツール保持部は、導電性を有する素材から形成され、
    前記接合ツールが前記電子部品に当接している場合には、前記接合ツールと前記接合ツール保持部との絶縁性が維持され、かつ、
    前記接合ツールが前記電子部品に当接していない場合には、前記接合ツールの前記加重部が前記接合ツール保持部に接触することにより、前記接合ツールと前記接合ツール保持部との導電性が維持される請求項4に記載の電子部品装着装置。
  6. 前記接合ツールの前記熱伝達部の先端形状は、前記電子部品の寸法に対応するとともに、前記電子部品を所定の温度に上昇させる熱を伝達可能な平面度を有する請求項3ないし5のいずれかに記載の電子部品装着装置。
  7. 前記部品移載手段は、前記電子部品の両側を把持するピンセットと、該ピンセットにより把持された電子部品を水平方向および垂直方向に移動させるXYZステージとを有する請求項1ないし6のいずれかに記載の電子部品装着装置。
  8. 前記接合ツールの垂直度は、前記接合ステージ上の所定位置に載置された調整ジグの調整穴に前記接合ツールの先端部を挿入した状態で、前記接合ツール保持部に設けられた角度調整機構の固定ジグが締められることにより調整される請求項2ないし7のいずれかに記載の電子部品装着装置。
  9. 前記顕微鏡および前記接合ステージの水平方向の位置は、前記接合ステージ上に載置された前記調整ジグの前記調整穴が前記顕微鏡の視野に捕捉されるように調整される請求項8に記載の電子部品装着装置。
JP2008187062A 2008-07-18 2008-07-18 電子部品装着装置 Expired - Fee Related JP5249659B2 (ja)

Priority Applications (1)

Application Number Priority Date Filing Date Title
JP2008187062A JP5249659B2 (ja) 2008-07-18 2008-07-18 電子部品装着装置

Applications Claiming Priority (1)

Application Number Priority Date Filing Date Title
JP2008187062A JP5249659B2 (ja) 2008-07-18 2008-07-18 電子部品装着装置

Publications (2)

Publication Number Publication Date
JP2010027841A true JP2010027841A (ja) 2010-02-04
JP5249659B2 JP5249659B2 (ja) 2013-07-31

Family

ID=41733387

Family Applications (1)

Application Number Title Priority Date Filing Date
JP2008187062A Expired - Fee Related JP5249659B2 (ja) 2008-07-18 2008-07-18 電子部品装着装置

Country Status (1)

Country Link
JP (1) JP5249659B2 (ja)

Cited By (1)

* Cited by examiner, † Cited by third party
Publication number Priority date Publication date Assignee Title
KR20250015296A (ko) * 2023-07-25 2025-02-03 주식회사 엘엠케이 핀 삽입 장치 및 그 제어방법

Citations (11)

* Cited by examiner, † Cited by third party
Publication number Priority date Publication date Assignee Title
JPH01165632U (ja) * 1988-05-11 1989-11-20
JPH02172688A (ja) * 1988-12-26 1990-07-04 Hitachi Ltd ハンドリング装置
JPH04111799U (ja) * 1991-03-16 1992-09-29 太陽誘電株式会社 チツプ状回路部品マウント装置用サクシヨンヘツド
JPH0513660A (ja) * 1991-07-05 1993-01-22 Mitsubishi Electric Corp 混成集積回路装置
JPH05145122A (ja) * 1991-11-22 1993-06-11 Mitsubishi Heavy Ind Ltd 熱電変換モジユール接合治具
JPH05337865A (ja) * 1992-06-10 1993-12-21 Sony Corp 半導体実装装置とこれを用いた実装方法
JPH0855865A (ja) * 1994-08-11 1996-02-27 Fuji Electric Co Ltd 半導体デバイスの製造方法および装置
JPH0951006A (ja) * 1995-08-08 1997-02-18 Hitachi Ltd 半導体製造治具の取付け方法
JPH11121479A (ja) * 1997-10-17 1999-04-30 Fujitsu Ltd 半導体部品の実装方法および実装装置
JP2000260826A (ja) * 1999-03-12 2000-09-22 Towa Corp 半導体チップ実装用加熱装置
JP2004103650A (ja) * 2002-09-05 2004-04-02 Ckd Corp 部品実装装置及びエアベアリングシリンダ

Patent Citations (11)

* Cited by examiner, † Cited by third party
Publication number Priority date Publication date Assignee Title
JPH01165632U (ja) * 1988-05-11 1989-11-20
JPH02172688A (ja) * 1988-12-26 1990-07-04 Hitachi Ltd ハンドリング装置
JPH04111799U (ja) * 1991-03-16 1992-09-29 太陽誘電株式会社 チツプ状回路部品マウント装置用サクシヨンヘツド
JPH0513660A (ja) * 1991-07-05 1993-01-22 Mitsubishi Electric Corp 混成集積回路装置
JPH05145122A (ja) * 1991-11-22 1993-06-11 Mitsubishi Heavy Ind Ltd 熱電変換モジユール接合治具
JPH05337865A (ja) * 1992-06-10 1993-12-21 Sony Corp 半導体実装装置とこれを用いた実装方法
JPH0855865A (ja) * 1994-08-11 1996-02-27 Fuji Electric Co Ltd 半導体デバイスの製造方法および装置
JPH0951006A (ja) * 1995-08-08 1997-02-18 Hitachi Ltd 半導体製造治具の取付け方法
JPH11121479A (ja) * 1997-10-17 1999-04-30 Fujitsu Ltd 半導体部品の実装方法および実装装置
JP2000260826A (ja) * 1999-03-12 2000-09-22 Towa Corp 半導体チップ実装用加熱装置
JP2004103650A (ja) * 2002-09-05 2004-04-02 Ckd Corp 部品実装装置及びエアベアリングシリンダ

Cited By (2)

* Cited by examiner, † Cited by third party
Publication number Priority date Publication date Assignee Title
KR20250015296A (ko) * 2023-07-25 2025-02-03 주식회사 엘엠케이 핀 삽입 장치 및 그 제어방법
KR102847739B1 (ko) 2023-07-25 2025-08-20 주식회사 엘엠케이 핀 삽입 장치 및 그 제어방법

Also Published As

Publication number Publication date
JP5249659B2 (ja) 2013-07-31

Similar Documents

Publication Publication Date Title
JP5399247B2 (ja) コンポーネントをホルダにはんだ付けする方法
US6463359B2 (en) Micro-alignment pick-up head
KR101850808B1 (ko) 전자 부품 실장 장치 및 전자 부품 제조 방법
KR102306743B1 (ko) 레이저 솔더링 시스템
KR20090050989A (ko) 반도체 장치의 제조 장치 및 반도체 장치의 제조 방법
CN102272907A (zh) 形成倒装芯片互连的原位熔化和回流处理及其系统
CN105531809A (zh) 用于将半导体芯片对于键合头定位的系统和方法、热键合系统和方法
JP4482598B2 (ja) ボンディング装置、ボンディング装置の補正量算出方法及びボンディング方法
JP2000277540A (ja) 部品のボンディング装置
JP5249659B2 (ja) 電子部品装着装置
CN107305298A (zh) 部件压接装置以及部件压接方法
JP4522881B2 (ja) 電子部品の実装方法
KR100718418B1 (ko) 컨택터 조립 장치 및 조립 방법, 컨택터, 조정용 기판 및 조립 장치
KR20170017044A (ko) 카메라 모듈용 솔더링 장치
CN100518484C (zh) 用于使电子元件在印刷电路板上快速对准和精确定位的系统和方法
JP5391007B2 (ja) 電子部品の実装装置及び実装方法
WO2009125520A1 (ja) ボンディング装置およびボンディング装置に用いられるボンディング対象の位置認識方法ならびにボンディング対象の位置認識プログラムを記録した記録媒体
JP4184968B2 (ja) プリント回路基板上への電子部品の位置決め用の格納式吸着管
JP4083533B2 (ja) 半導体装置の製造方法
JP4909249B2 (ja) 移載装置
JP6577764B2 (ja) 加圧加熱冷却装置及びフリップチップ実装装置並びにフリップチップ実装方法及び半導体装置の製造方法
JP7373735B2 (ja) 部品接合装置及びその方法と実装構造体
JP4732894B2 (ja) ボンディング方法及びボンディング装置
JP2001298235A (ja) 電子部品の搭載装置
JP2012235055A (ja) 接合方法及び接合装置

Legal Events

Date Code Title Description
A621 Written request for application examination

Free format text: JAPANESE INTERMEDIATE CODE: A621

Effective date: 20110711

A977 Report on retrieval

Free format text: JAPANESE INTERMEDIATE CODE: A971007

Effective date: 20120709

A131 Notification of reasons for refusal

Free format text: JAPANESE INTERMEDIATE CODE: A131

Effective date: 20120904

A521 Request for written amendment filed

Free format text: JAPANESE INTERMEDIATE CODE: A523

Effective date: 20121025

TRDD Decision of grant or rejection written
A01 Written decision to grant a patent or to grant a registration (utility model)

Free format text: JAPANESE INTERMEDIATE CODE: A01

Effective date: 20130402

A61 First payment of annual fees (during grant procedure)

Free format text: JAPANESE INTERMEDIATE CODE: A61

Effective date: 20130412

R150 Certificate of patent or registration of utility model

Free format text: JAPANESE INTERMEDIATE CODE: R150

FPAY Renewal fee payment (event date is renewal date of database)

Free format text: PAYMENT UNTIL: 20160419

Year of fee payment: 3

R250 Receipt of annual fees

Free format text: JAPANESE INTERMEDIATE CODE: R250

LAPS Cancellation because of no payment of annual fees