JP2010025501A - 電動銃における機械式通電停止装置 - Google Patents

電動銃における機械式通電停止装置 Download PDF

Info

Publication number
JP2010025501A
JP2010025501A JP2008190187A JP2008190187A JP2010025501A JP 2010025501 A JP2010025501 A JP 2010025501A JP 2008190187 A JP2008190187 A JP 2008190187A JP 2008190187 A JP2008190187 A JP 2008190187A JP 2010025501 A JP2010025501 A JP 2010025501A
Authority
JP
Japan
Prior art keywords
bullet
cut
movement
tappet
switch
Prior art date
Legal status (The legal status is an assumption and is not a legal conclusion. Google has not performed a legal analysis and makes no representation as to the accuracy of the status listed.)
Granted
Application number
JP2008190187A
Other languages
English (en)
Other versions
JP2010025501A5 (ja
JP4965526B2 (ja
Inventor
Tatsuo Iwazawa
辰男 岩澤
Current Assignee (The listed assignees may be inaccurate. Google has not performed a legal analysis and makes no representation or warranty as to the accuracy of the list.)
Tokyo Marui Co Ltd
Original Assignee
Tokyo Marui Co Ltd
Priority date (The priority date is an assumption and is not a legal conclusion. Google has not performed a legal analysis and makes no representation as to the accuracy of the date listed.)
Filing date
Publication date
Application filed by Tokyo Marui Co Ltd filed Critical Tokyo Marui Co Ltd
Priority to JP2008190187A priority Critical patent/JP4965526B2/ja
Publication of JP2010025501A publication Critical patent/JP2010025501A/ja
Publication of JP2010025501A5 publication Critical patent/JP2010025501A5/ja
Application granted granted Critical
Publication of JP4965526B2 publication Critical patent/JP4965526B2/ja
Active legal-status Critical Current
Anticipated expiration legal-status Critical

Links

Images

Landscapes

  • Toys (AREA)

Abstract

【課題】給弾経路に弾丸がなくなったときには、弾丸を発射させる駆動部の回路を遮断して通電を機械式に停止する。
【解決手段】
給弾経路13に移動可能に配置されかつ装弾部20へ弾丸Bを送るために付勢された玉押し部材22と、玉押し部材側と一端部にて係合し、連動するフォロワー部材40と、フォロワー部材の動きに伴い通電時の位置から遮断時の位置への移動の過程においてタペット部材35と係合し、タペット部材の移動に伴いスイッチ57をオフにするカットオフ部材50と、駆動部のピストンの移動に伴い後退して給弾口21を開く先端部分を有しかつその給弾口を閉じる方向への付勢力により上記カットオフ部材を動作させる上記タペット部材及びカットオフ部材との係合により移動して接点が開き、リセット操作により接点を閉じる上記のスイッチとを備えて構成する。
【選択図】 図10

Description

本発明は、銃腔後部の装弾部に通じる給弾経路に弾丸が存在しなくなったときには、弾丸を発射させる駆動部の回路を遮断して通電を機械式に停止するための装置に関するものである。
モーターにより駆動されるピストンシリンダー装置を内蔵し、引き金操作によりピストンシリンダー装置が作動して圧縮空気を銃腔後端部のノズルから噴射するとともに、そこに配置された弾丸を発射させる電動式の銃が公知であり、圧縮気体を充填した銃とはまた別の長所を有するものとして、愛好者などに受け入れられ市場に出回っている。この種の電動銃は電動ガンなどとも呼ばれ、若年層を対象とした玩具に類するものから実物の小火器の代替品として訓練などに使用されるものまで様々なものがあるが、その基本的構成は特開平3−221793号或いは特開平6−235597号に開示されている構成を大きく脱するものではない。
この基本的構成を取る電動銃ないし電動ガンの場合、引き金を引いている間はピストンシリンダー装置が作動し続けるので、弾丸を打ち尽くした後でも作動は停止しないという問題がある。電池が動力源である電動銃にあって、弾丸がなくなっても作動が続くということは電力の無駄な消費であり、銃にとっては耐用年数を縮めることにもなり、またサバイバルゲーム等においては、発射音だけで弾丸が発射されないことを知らずにいるという事態を招くことにもなりかねない。これに対して、1990年代初期の雑誌「月刊アームズマガジン」に、電気的制御によって銃本体内における弾丸の有無を検出し、作動を停止させる装置が紹介され、その後その方式を踏襲したとみられる電動銃が市場に見かけられるようになった。電気的制御によって弾丸の有無を検出し、作動を停止させる装置であるということは、電動銃の動力である電力を発射以外にも消費するということであり、あまり好ましいことではない。
しかし、電動銃本体内における弾丸の有無を検出し、作動を電気的でなく機械的に停止させるためには20〜30Aという大電流を瞬時にカットすることが必要であり、そのために従来はマイクロスイッチ等を使用し、電気的に増幅させてスイッチをカットする方法などが取られてきた。しかしこの方法はコスト的な負担のかかるものでもあった。電動銃に搭載されているスイッチは耐衝撃性の面から高強度のものが使われており、スイッチを切るためにはかなり強い力を必要とする。そのための動力を何に求めるかも問題であり、これまで機械的にスイッチを切る装置は提案されていない。例えば、電磁石を利用するとしても電力の消費を避けることはできず、前述した電気的制御によるものと同様に電動銃にとって好ましくないことに変わりはない。
特開平3−221793号 特開平6−235597号 雑誌「月刊アームズマガジン」1993年11月号の53ページ
本発明は前記の点に着目してなされたもので、その課題は、弾丸を撃ち尽くしたときには通電を停止させる目的で、回路を遮断するとともに、そのために電動銃としてはほとんど無視することができる電力しか消費しない電動銃における機械的な機構による通電停止装置を提供することである。また本発明の他の課題は、各種の電動銃に適用することが容易な機械的機構による通電停止装置を提供することである。
前記の課題を解決するため、本発明は、銃腔後部の装弾部に通じる給弾経路に弾丸がないときには、弾丸を発射させる駆動部の回路を遮断して通電を停止するための装置とし
て、給弾経路に移動可能に配置されかつ装弾部へ弾丸を送るために付勢された玉押し部材と、玉押し部材側の一部と一端部にて係合しその移動と連動するフォロワー部材と、フォロワー部材の動きに伴い通電時の位置から遮断時の位置へ移動可能でありかつ遮断時の位置への移動の過程においてタペット部材と係合し、タペット部材の移動に伴いスイッチをオフにするカットオフ部材と、駆動部のピストンの移動に伴い後退して装弾部に通じる給弾経路の給弾口を開く部分を有しかつその給弾口を閉じる方向への付勢力により上記カットオフ部材を移動させる上記のタペット部材と、カットオフ部材との係合により移動して接点が開き、リセット操作により接点を閉じる上記のスイッチとを備えて構成するという手段を講じたものである(請求項1)。
上記の構成において、フォロワー部材は玉押し部材側の一部との係合により移動してその位置を検出し、伝達する手段である。本発明の装置は、電動銃本体の内部に組み込まれた弾倉部分を有するものについても、また着脱できる弾倉又はマガジンを備えた電動銃についても適用することができる。
本発明の装置を、着脱式マガジンを備えた電動銃に適用する場合、給弾経路は、電動銃本体に着脱可能に取り付けられるマガジンの一部として設け、上記マガジンはその給弾経路に臨んで配置され玉押し部材側の一部と係合する端部を有する第1リンクと、第1リンクと連動しそれとは反対側のマガジンの側面に配置される端部を有する第2リンクから成るフォロワー部材を具備して構成することができる(請求項2)。このため、給弾経路とスイッチとの間隔が狭くても離れていても、リンクにより機械的にスイッチ側へ伝えることが可能である。逆に、本発明の装置を、電動銃本体の内部に組み込まれた弾倉部分を有するものに適用する場合には、玉押し部材の移動と連動するフォロワー部材として、マガジンを横断するようなリンク部材は省略可能である。
本発明は、フォロワー部材の動きに伴い通電時の位置から遮断時の位置へ移動可能でありかつ遮断時の位置への移動の過程においてタペット部材と係合し、タペット部材の移動に伴いスイッチをオフにするカットオフ部材を具備する。このカットオフ部材はスイッチを切る動力源にスイッチ側を機械的に関係付けるものであり、動力源としてタペット部材の付勢力を使用し、上記カットオフ部材を動作させる役割を果たしている。なお、タペット部材は、1発の弾丸を給弾経路から装弾部へ送るために、ピストンシリンダー装置の1ストロークの間に1回往復動作するように設けられている。
上記タペット部材は、駆動部のピストンの移動に伴い後退して装弾部に通じる給弾経路の給弾口を開くので、後退の際にモーターへの負荷となり動力を消費するが、その給弾口を閉じる方向については弾性部材の付勢力により移動し原位置に復帰するので電力を消費しない。このようにタペット部材は給弾口を一時的に開きすぐにまた閉じるために、給弾口を閉じる方向へ付勢されているので、この付勢力を、スイッチを切る動力として利用することができる。この付勢力は弾丸の発射に関わるピストンに対する付勢力とは無関係であり、かつスイッチを切るための動力としても十分なレベルであり、また、モーター動力を利用するものでもないから1回の動作における電力消費量はほとんど無視することができる。
上記のスイッチは、カットオフ部材との係合により移動して接点が開き、リセット操作により接点を閉じることができるものである。即ち、スイッチは、カットオフ部材がタペット部材との係合によって受け取るエネルギー、即ち給弾口を閉じる方向への付勢力によって機械的かつ強制的に切られる。また、開いた接点を再び閉じるにはリセット操作によって行う。
カットオフ部材は、フォロワー部材の動きに伴い通電時の位置から遮断時の位置へ移動可能でありかつ遮断時の位置にてタペット部材と係合する前部材及び前部材と連動し、その遮断時の位置への移動に伴いスイッチをオフとする後部材から成る構成を取ることができる(請求項3)。この構成は純機械的であり、スイッチを確実に切ることができ、かつ電力消費に直接関与しないという利点がある。
本発明は以上のように構成されかつ作用するものであるから、タペット部材の付勢力にスイッチを切る動力に求めることにより、電動銃の電力消費量としてはほとんど無視することができる程度の電力しか消費しない、電動銃における機械的な機構による通電停止装置を提供することができる。また本発明によれば、例えば着脱式のマガジンを使用しない電動銃にも、また着脱式マガジンを使用する電動銃にも適用することが容易な機械的機構による通電停止装置を提供することができる。
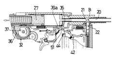
以下図示の実施形態を参照して本発明をより詳細に説明する。図1は、本発明に係る機械式通電停止装置10を搭載した電動銃の一例を示している。例示した電動銃は電動銃本体11に対して、着脱可能な外部装着式のマガジン12を備えており、マガジン12の内部には給弾経路13が設けられている(図2参照)。電動銃本体11は内部を銃腔14とする銃身部15を有し、その後部に電動銃の機関部16さらにその後部に銃床部17を有しており、機関部16の下部には引き金18が配置されている。なお、19はボルトストップと称する部品であるが、本発明においては後述するリセット操作のためのリセット部材として使用される。Bは弾丸であり、本実施形態ではBB弾と通称される直径6mmの球形弾丸を使用する。
図2に詳細に示されているように、給弾経路13は銃腔後部の装弾部20の直後の給弾口21に通じており、給弾口21に至る給弾経路13には装弾部20へ弾丸を送るために付勢された玉押し部材22が移動可能に配置されている。玉押し部材22は一端部にてコイルばねより成る付勢部材24の付勢力を受け、他端部にて弾丸Bを給弾口21に向けて押すもので、最後の1発が給弾経路13の外まで完全に出る長さに設けられ、かつその先端部に弾丸Bとほぼ同型の球形頭部23を有している。
一方、銃腔14の後部の装弾部20の後方には通路25が通じており、この通路25には、後述するタペット部材35の先端部分35aが摺動可能に挿入されており、上記先端部分35aには、その後端において、ピストンシリンダー装置30のノズル28が摺動可能に挿入されている。通路25は、前記した給弾口21が形成されている部分であり、従って給弾口21はタペット部材35の先端部分35aによって開閉されることとなる。
ピストンシリンダー装置30は、電動銃本体11に取り付けられる固定側のシリンダー26と可動側のピストン27とから成り、シリンダー26の先端部に上述のノズル28が設けられていて、ピストン27の前進時に圧縮空気を前方へ噴射することができる。ピストン27はシリンダー内部にて気密に摺動可能に設けられており、かつ後方から前方へ強力なコイルばねより成る付勢手段29によって付勢されている。また、ピストン27は長手方向に沿ったラック31を有しており、このラック31はモーターによって駆動されるセクターギア32と噛み合い可能に配置されている。セクターギア32は、その周囲に、上記ラック31と噛み合ってピストン27を必要なストロークだけ後退させることができるギア部33と、ピストン27の拘束を解いて圧縮動作をさせるための無歯部34とを備えている。
上記のセクターギア32は、ギア部33との噛み合い開始後に一時的に給弾口21を開口させるタイミングでタペット部材35の後部係合部36と係合可能なピン37を軸周りに有している。タペット部材31は給弾口21を閉じる方向へコイルばねより成る付勢部材38の付勢力により移動して原位置へ復帰可能に設けられている。また、タペット部材35は前部に屈曲した係合部36aをそなえており、この係合部36aがタぺット部材摺動部の立ち上がり部35aと係合し、タペット部材35の前方への移動限界位置を規定する位置決め手段としての機能を果たしている。そしてタペット部材35は、本発明に係る機械式通電停止装置の一部としての役割を果たすために、後述するカットオフ部材50との係合手段39を具備している。この係合手段39はタペット部材35に開けられた開口窓39aの後縁である。
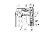
本発明に係る機械式通電停止装置10を構成するものとして、上記の玉押し部材22と一端部にて係合し、その移動と連動するフォロワー部材40が、給弾経路13の側方に配置されている。この例の場合、給弾経路13は着脱できるマガジン内部に設けられているので、フォロワー部材40もマガジン12に取り付けられることになる。フォロワー部材40は、給弾経路13に臨んで配置され、玉押し部材22の一部22aと係合する一端部41を有する第1リンク42と、第1リンク42との係合により連動して、それとは反対側のマガジン側面に配置される他端部43を有する第2リンク44とから成る。第1リンク42は一端部41が給弾経路13の側面に開けられた、スリット45に入り込むように設けられており、第2リンク44はマガジン他側面の開口部分46に露出しており、第1リンク42と、第1リンク42のどちらも揺動可能に取り付け部分に軸支されている。47は押しばねより成る付勢部材であり、第1リンク42の一端部41にて玉押し部材22を押し止めるとともに、第2リンク44の他端部43を受け部46に押し付けるように付勢する。
図3、図4に詳細に示したように、第1リンク42の一端部41は弾丸B及び玉押し部材22の球形頭部23とは係合しない。そこで、先端の弾丸Bに対する抜け止めのために給弾経路13に突き出して係合可能なストッパー48を押しばねより成る付勢部材49の付勢の下に配置する(図3参照)。なお、玉押し部材22の球形頭部23は、玉押し部材22の側の一部22aが一端部41と係合するまではストッパー48を通過して移動し、給弾経路13の外まで完全に出ることができる(図3参照)。
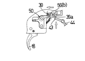
さらに本発明に係る機械式通電停止装置10を構成するものとして、タペット部材35の移動に伴い付勢部材38による移動力を借りてスイッチ56をオフにするために、カットオフ部材50が設けられている。図5の例におけるカットオフ部材50は、フォロワー部材40の第2リンク44の動きに伴い通電時の位置aから遮断時の位置bへ移動可能であり、かつ遮断時の位置bにてタペット部材35と係合する前部材51及び前部材51と連動し、その遮断時の位置bへの移動に伴い、後述するスイッチ57をオフにする後部材52とから成る。前部材51は、前部材51と後部材52を連結している軸53に、移動方向へやや長く形成された長孔54にて軸支されており、かつ第2リンク44の他端部43を押し下げる方向、或いはタペット部材35の係合手段39から離れる方向へ引きばねより成る付勢部材55によって付勢されている。また、前部材51は、上方後部に位置するタペット部材35の係合手段39との係合のために上後方へ屈曲した係合突部56を有しており、この係合突部56は通電時の位置aにてタペット部材35の下に位置し(図5参照)、タペット部材35が後方へ往復移動する過程で押し上げ力を受けることにより係合手段39と係合可能になる(図6及び図7参照)。
上記スイッチ57は、図2A及びCに詳細に示されているように、一対のスイッチ端子58とそれらを切断するスイッチ片59とから構成されており、カットオフ部材50の後部材52に設けられている突部60にてスイッチ片59を押し動かすことにより、導通状態にあるスイッチ57を切断するように構成されている(図5ないし7参照)。スイッチ片59はスイッチ端子58に対して移動可能に設けられているとともに、スイッチ57を切断する方向へ付勢部材61によって付勢されている。
上記カットオフ部材50の前部材51を原位置へ戻すリセット操作のために、前述のリセット部材19が設けられている。このリセット部材19は電動銃本体11に支軸62により揺動可能かつ原位置方向へばねより成る付勢部材63によって付勢された状態に設けられており、その係合端部64は上記前部材51に設けられている係合端部65と係合可能に構成されている(図2B参照)。即ち、リセット部材19はカットオフ部材50の前部材51の上方移動により原位置から離され、図2Bに示された開いた状態になる。本発明に係る電動銃は電池を電源とし、グリップ66に配置されているモーターを動力源としており、引き金18の係合部67とスイッチ57の係合部68の係合によりスイッチ57が入ってモーターが回転し、減速歯車69を介してセクターギア32が駆動され、その1回転の間に、以下に説明するように弾丸発射に関わる全ての作動がなされる。
次に、このような構成を有する本発明に係る機械式通電停止装置10の作動について説明する。図8は弾丸Bを装填したマガジン12を電動銃本体11に装着し、発射準備を完了した状態を示しており、給弾経路13には1発の弾丸(最終弾)Bだけが残っている。この状態において引き金18を引くと、スイッチ片59が押されてスイッチ端子58と接触し、スイッチ57がオンになり、回路は通電状態になる(図9)。そしてセクターギア32の回転によりそのギア部33がピストン27のラック31と噛み合い、ピストン27が後退を開始し、次いで側面のピン37が後部係合部36と係合することによりタペット部材35が後退するときに、給弾口21が暫時開口するので、その間に最終弾Bは給弾口21を通過して装弾部後方の通路25に押し出される(図10)。
最終弾Bが通路25に押し出されたため、玉押し部材22は最上の位置まで上昇しその
一部22aと一端部41にて係合している第1リンク42が揺動し、第2リンク44を揺動させてカットオフ部材50の前部材51を押し上げる。この押し上げにより、最終弾Bが装填されつつあり、マガジン12に弾丸Bの無くなったことがカットオフ部材50に伝えられたことになる。この、第2リンク44によってカットオフ部材50の前部材51が押し上げられている段階において、上記タペット部材35の後退復帰移動が行われることに伴い、タペット部材35の開口窓39aが、カットオフ部材50の前部材51に設けられている係合突部56の上部を通過するので、係合突部56が開口窓39aに入り込み、さらに後縁の係合手段39と係合することになる(図11)。また、ピストン27が限界位置まで後退した後、前進を開始するまでの間に、タペット部材35は前進動作を行って原位置へ戻り、その前進に伴い先端部分35aによって最終弾Bを装弾部20へと押し動かし、弾丸Bが装弾部20に装填される。
図11の段階に至って係合突部56が係合手段39と係合することにより、タペット部材35に作用する付勢力により上記カットオフ部材50を動作させるので、スイッチ端子58とスイッチ片59が離間してスイッチ57はオフになり、モーターは停止する。一方ピストン27は後退限界位置から付勢部材29の弾発力を受けて前進に移り、圧縮空気を生成し、それがノズル28から弾丸Bに噴射されることにより、弾丸Bを銃口から発射させることになる(図12)。弾丸Bが発射されても、カットオフ部材50の前部材51は係合突部56にて係合手段39と係合した状態を保っている。そこで、リセット部材19を図2Bにおいて反時計方向へ操作し、上記の前部材51を押し下げて原位置(通電側位置、図5参照)に戻すことにより、発射可能な状態にする。そしてマガジン12と取り外し弾丸Bを詰めて電動銃本体11に装着し直すことにより、再び弾丸を発射できる状態にすることができるが、このモデルとなった米軍制式採用銃M4を始めとする実銃では、マガジン交換の後でリセット操作をする手順を取るので、本発明の電動銃においても実銃同様にマガジン交換の後にリセット部材19を操作することができる。
このように、本発明は電動銃本体内における弾丸Bの有無をフォロワー部材40により機械的に検出し、かつまたタペット部材35の付勢力を、スイッチ57を切る動力に利用して作動を電気的でなく機械的に停止させることができる。上記の構成及び作用は、既に述べたように、マガジンを有さず従ってマガジンを横断するようなリンク部材を使用しない電動銃本体にも適用できることは勿論である。
本発明に係る機械式通電停止装置を搭載した電動銃の一例を示すもので、Aは左側面図、Bは右側面図である。 同上装置の要部を示すもので、Aは縦断面図、Bは横断面図、Cはスイッチの水平断面説明図である。 同上装置のフォロワー部材に関する部分の弾丸残留時の説明図である。 同じく弾丸が残留していない状態を示す説明図である。 同上装置のカットオフ部材に関する部分の通電状態を示す説明図である。 同じく遮断状態への移行状態を示す説明図である。 同じく遮断状態の説明図である。 本発明に係る機械式通電停止装置の作動に関するもので、作動開始前を示す説明図である。 引き金を引いてスイッチが入った状態を示す説明図である。 ピストン及びタペット部材が後退を始めた状態を示す説明図である。 弾丸を装填し終わり、タペット部材の開口窓にカットオフ部材の係合突部が入り込んでいる状態の説明図である。 タペット部材の係合手段にカットオフ部材の係合突部が係合し、弾丸が発射されている状態の説明図である。 リセット操作を示す説明図である。
符号の説明
10 機械式通電停止装置
11 電動銃本体
12 マガジン
13 給弾経路
14 銃腔
15 銃身部
16 機関部
17 銃床部
18 引き金
19 リセット部材
20 装弾部
21 給弾口
22 玉押し部材
23 球形頭部
24、29、38、49、53、61、63 付勢部材
25 通路
26 シリンダー
27 ピストン
28 ノズル
30 ピストンシリンダー装置
31 ラック
32 セクターギア
33 ギア部
34 無歯部
35 タぺット部材
36 後部係合部
37 ピン
39 係合手段
40 フォロワー部材
41 一端部
42 第1リンク
43 他端部
44 第2リンク
45 スリット
46 受け部
48 ストッパー
50 カットオフ部材
51 前部材
52 後部材
54 軸
55 長孔
56 係合突部
57 スイッチ
58 スイッチ端子
59 スイッチ片
60 突部
62 支軸
64、65 係合端部
66 グリップ66
67、68 係合部
69 減速歯車

Claims (3)

  1. 銃腔後部の装弾部に通じる給弾経路に弾丸がないときには、弾丸を発射させる駆動部の回路を遮断して通電を停止するための装置であって、
    給弾経路に移動可能に配置されかつ装弾部へ弾丸を送るために付勢された玉押し部材と、
    玉押し部材側の一部と一端部にて係合しその移動と連動するフォロワー部材と、
    フォロワー部材の動きに伴い通電時の位置から遮断時の位置へ移動可能でありかつ遮断時の位置への移動の過程においてタペット部材と係合し、タペット部材の移動に伴いスイッチをオフにするカットオフ部材と、
    駆動部のピストンの移動に伴い後退して装弾部に通じる給弾経路の給弾口を開く先端部分を有しかつその給弾口を閉じる方向への付勢力により上記カットオフ部材を動作させる上記のタペット部材と、
    カットオフ部材との係合により移動して接点が開き、リセット操作により接点を閉じる上記のスイッチとを備えた
    電動銃における機械式通電停止装置。
  2. 給弾経路は、電動銃本体に着脱可能に取り付けられるマガジンの一部として設けられており、上記マガジンには、その給弾経路に臨んで配置され弾丸又は玉押し部材と係合する一端部を有する第1リンクと、第1リンクと連動しそれとは反対側のマガジンの側面に配置される他端部を有する第2リンクから成るフォロワー部材が設けられている請求項1記載の電動銃における機械式通電停止装置。
  3. カットオフ部材は、フォロワー部材の動きに伴い通電時の位置から遮断時の位置へ移動可能でありかつ遮断時の位置にてタペット部材と係合する前部材及び前部材と連動し、その遮断時の位置への移動に伴いスイッチをオフとする後部材から成る請求項1記載の電動銃における機械式通電停止装置。
JP2008190187A 2008-07-23 2008-07-23 電動銃における機械式通電停止装置 Active JP4965526B2 (ja)

Priority Applications (1)

Application Number Priority Date Filing Date Title
JP2008190187A JP4965526B2 (ja) 2008-07-23 2008-07-23 電動銃における機械式通電停止装置

Applications Claiming Priority (1)

Application Number Priority Date Filing Date Title
JP2008190187A JP4965526B2 (ja) 2008-07-23 2008-07-23 電動銃における機械式通電停止装置

Publications (3)

Publication Number Publication Date
JP2010025501A true JP2010025501A (ja) 2010-02-04
JP2010025501A5 JP2010025501A5 (ja) 2012-03-08
JP4965526B2 JP4965526B2 (ja) 2012-07-04

Family

ID=41731514

Family Applications (1)

Application Number Title Priority Date Filing Date
JP2008190187A Active JP4965526B2 (ja) 2008-07-23 2008-07-23 電動銃における機械式通電停止装置

Country Status (1)

Country Link
JP (1) JP4965526B2 (ja)

Cited By (5)

* Cited by examiner, † Cited by third party
Publication number Priority date Publication date Assignee Title
KR101485402B1 (ko) 2013-05-02 2015-01-26 김동현 격발중지 기능을 갖는 전동건
WO2016151764A1 (ja) * 2015-03-24 2016-09-29 株式会社東京マルイ 模擬銃における電動機構のカットオフ装置
KR20180082996A (ko) 2015-10-16 2018-07-19 가부시키가이샤 도쿄 마루이 총에 있어서의 볼트 스톱 완충 장치
WO2019058525A1 (ja) 2017-09-22 2019-03-28 株式会社東京マルイ 電動ガンにおけるカラ撃ち防止装置
WO2019058526A1 (ja) 2017-09-22 2019-03-28 株式会社東京マルイ カラ撃ち防止機能停止装置

Families Citing this family (1)

* Cited by examiner, † Cited by third party
Publication number Priority date Publication date Assignee Title
JP7387144B2 (ja) * 2019-09-24 2023-11-28 株式会社東京マルイ 玩具銃

Citations (10)

* Cited by examiner, † Cited by third party
Publication number Priority date Publication date Assignee Title
JPH03221793A (ja) * 1990-01-25 1991-09-30 Tokyo Marui:Kk オートマチック式エアガン
JPH06235597A (ja) * 1993-02-09 1994-08-23 Tokyo Marui:Kk 電動式エアガン
JP2002168594A (ja) * 2000-12-01 2002-06-14 K S C:Kk 電動式玩具銃
US6560911B2 (en) * 1999-10-06 2003-05-13 Ronnie L. Sharp Adjustable gun stock
US20030098019A1 (en) * 2001-11-29 2003-05-29 Shih-Che Hu Motorized toy gun
WO2005066576A1 (ja) * 2003-12-26 2005-07-21 Koichi Tsurumoto エアガンおよびその発射動作停止制御方法
US7100592B1 (en) * 2005-06-24 2006-09-05 Unicorn Hobby Corp. Toy gun having dual actuating manners
JP2006234191A (ja) * 2005-02-22 2006-09-07 Katsumi Nagayoshi 連続給弾機構を有するマガジンと連続発射機能を有する玩具銃
JP2006300464A (ja) * 2005-04-22 2006-11-02 Tokyo Marui:Kk 電動ガン
JP2008008525A (ja) * 2006-06-28 2008-01-17 Howa Mach Ltd 銃の伸縮式銃床

Patent Citations (11)

* Cited by examiner, † Cited by third party
Publication number Priority date Publication date Assignee Title
JPH03221793A (ja) * 1990-01-25 1991-09-30 Tokyo Marui:Kk オートマチック式エアガン
JPH06235597A (ja) * 1993-02-09 1994-08-23 Tokyo Marui:Kk 電動式エアガン
US6560911B2 (en) * 1999-10-06 2003-05-13 Ronnie L. Sharp Adjustable gun stock
JP2002168594A (ja) * 2000-12-01 2002-06-14 K S C:Kk 電動式玩具銃
US20030098019A1 (en) * 2001-11-29 2003-05-29 Shih-Che Hu Motorized toy gun
CN1425892A (zh) * 2001-11-29 2003-06-25 胡世泽 电动玩具枪
WO2005066576A1 (ja) * 2003-12-26 2005-07-21 Koichi Tsurumoto エアガンおよびその発射動作停止制御方法
JP2006234191A (ja) * 2005-02-22 2006-09-07 Katsumi Nagayoshi 連続給弾機構を有するマガジンと連続発射機能を有する玩具銃
JP2006300464A (ja) * 2005-04-22 2006-11-02 Tokyo Marui:Kk 電動ガン
US7100592B1 (en) * 2005-06-24 2006-09-05 Unicorn Hobby Corp. Toy gun having dual actuating manners
JP2008008525A (ja) * 2006-06-28 2008-01-17 Howa Mach Ltd 銃の伸縮式銃床

Cited By (14)

* Cited by examiner, † Cited by third party
Publication number Priority date Publication date Assignee Title
KR101485402B1 (ko) 2013-05-02 2015-01-26 김동현 격발중지 기능을 갖는 전동건
WO2016151764A1 (ja) * 2015-03-24 2016-09-29 株式会社東京マルイ 模擬銃における電動機構のカットオフ装置
JPWO2016151764A1 (ja) * 2015-03-24 2018-01-11 株式会社東京マルイ 模擬銃における電動機構のカットオフ装置
US10401120B2 (en) 2015-03-24 2019-09-03 Tokyo Marui Co., Ltd. Cut-off device for electric mechanism in simulation gun
US10330407B2 (en) 2015-10-16 2019-06-25 Tokyo Marui Co, Ltd. Bolt stop buffer device in gun
KR20180082996A (ko) 2015-10-16 2018-07-19 가부시키가이샤 도쿄 마루이 총에 있어서의 볼트 스톱 완충 장치
WO2019058526A1 (ja) 2017-09-22 2019-03-28 株式会社東京マルイ カラ撃ち防止機能停止装置
WO2019058525A1 (ja) 2017-09-22 2019-03-28 株式会社東京マルイ 電動ガンにおけるカラ撃ち防止装置
JPWO2019058525A1 (ja) * 2017-09-22 2020-10-22 株式会社東京マルイ 電動ガンにおけるカラ撃ち防止装置
JPWO2019058526A1 (ja) * 2017-09-22 2020-11-19 株式会社東京マルイ カラ撃ち防止機能停止装置
EP3686543A4 (en) * 2017-09-22 2021-04-14 TOKYO MARUI Co., Ltd. DEVICE FOR STOPPING THE FUNCTION TO PREVENT THE FIRING OF CARTRIDGE CASES
EP3686544A4 (en) * 2017-09-22 2021-06-23 TOKYO MARUI Co., Ltd. DEVICE FOR PREVENTING THE FIRING OF CARTRIDGE CASES IN AN ELECTRIC GUN
TWI759527B (zh) * 2017-09-22 2022-04-01 日商東京丸井股份有限公司 打空槍防止功能停止裝置、彈倉部及電動槍
TWI801406B (zh) * 2017-09-22 2023-05-11 日商東京丸井股份有限公司 電動槍中之打空槍防止裝置

Also Published As

Publication number Publication date
JP4965526B2 (ja) 2012-07-04

Similar Documents

Publication Publication Date Title
JP4700123B2 (ja) 電動エアガン
JP4965526B2 (ja) 電動銃における機械式通電停止装置
US8091542B2 (en) Electric toy gun with a power break control mechanism
US7694448B2 (en) Recoil shock device in toy gun
JP4719807B2 (ja) 模擬銃における安全装置
US8146577B2 (en) Electric toy gun with an improved power break control mechanism
EP2113736B1 (en) Recoil shock device in toy gun
JP2015021713A (ja) 玩具銃
EP2065668B1 (en) Air gun
EP2390614A1 (en) Electric toy gun with an improved power break control mechanism
JP2010025501A5 (ja)
CN215676659U (zh) 一种玩具枪波箱
CN110081775B (zh) 一种半自动气枪的自动供弹装置及半自动气枪
JP4241314B2 (ja) 電動エアガンにおける発射モード切り替え装置
JP2006300462A (ja) 電動ガン
JP2006300464A (ja) 電動ガン
CN210180278U (zh) 一种半自动气枪的自动供弹装置及半自动气枪
JP4719808B2 (ja) 模擬銃における側方給弾装置
JPH08303991A (ja) 玩具銃の安定発射作動を具備した電動発射駆動装置
JP3986431B2 (ja) ブローバック玩具銃におけるスライド装置
TW202228937A (zh) 可切換擊釘模式的釘槍
TWI845742B (zh) 玩具槍
CN2906531Y (zh) 玩具枪的上弹改良机构
JP4745011B2 (ja) 電動ガンにおける発射回数制御装置
JP7360693B2 (ja) 電動玩具銃

Legal Events

Date Code Title Description
A621 Written request for application examination

Free format text: JAPANESE INTERMEDIATE CODE: A621

Effective date: 20100401

A521 Request for written amendment filed

Free format text: JAPANESE INTERMEDIATE CODE: A523

Effective date: 20120125

A871 Explanation of circumstances concerning accelerated examination

Free format text: JAPANESE INTERMEDIATE CODE: A871

Effective date: 20120125

TRDD Decision of grant or rejection written
A975 Report on accelerated examination

Free format text: JAPANESE INTERMEDIATE CODE: A971005

Effective date: 20120222

A977 Report on retrieval

Free format text: JAPANESE INTERMEDIATE CODE: A971007

Effective date: 20120229

A01 Written decision to grant a patent or to grant a registration (utility model)

Free format text: JAPANESE INTERMEDIATE CODE: A01

Effective date: 20120306

A01 Written decision to grant a patent or to grant a registration (utility model)

Free format text: JAPANESE INTERMEDIATE CODE: A01

A61 First payment of annual fees (during grant procedure)

Free format text: JAPANESE INTERMEDIATE CODE: A61

Effective date: 20120329

R150 Certificate of patent or registration of utility model

Ref document number: 4965526

Country of ref document: JP

Free format text: JAPANESE INTERMEDIATE CODE: R150

Free format text: JAPANESE INTERMEDIATE CODE: R150

FPAY Renewal fee payment (event date is renewal date of database)

Free format text: PAYMENT UNTIL: 20150406

Year of fee payment: 3

R250 Receipt of annual fees

Free format text: JAPANESE INTERMEDIATE CODE: R250

R250 Receipt of annual fees

Free format text: JAPANESE INTERMEDIATE CODE: R250

R250 Receipt of annual fees

Free format text: JAPANESE INTERMEDIATE CODE: R250

R250 Receipt of annual fees

Free format text: JAPANESE INTERMEDIATE CODE: R250

R250 Receipt of annual fees

Free format text: JAPANESE INTERMEDIATE CODE: R250

R250 Receipt of annual fees

Free format text: JAPANESE INTERMEDIATE CODE: R250

R250 Receipt of annual fees

Free format text: JAPANESE INTERMEDIATE CODE: R250

R250 Receipt of annual fees

Free format text: JAPANESE INTERMEDIATE CODE: R250

R250 Receipt of annual fees

Free format text: JAPANESE INTERMEDIATE CODE: R250

R250 Receipt of annual fees

Free format text: JAPANESE INTERMEDIATE CODE: R250

R250 Receipt of annual fees

Free format text: JAPANESE INTERMEDIATE CODE: R250