JP2010025193A - 複列円錐ころ軸受 - Google Patents

複列円錐ころ軸受 Download PDF

Info

Publication number
JP2010025193A
JP2010025193A JP2008185766A JP2008185766A JP2010025193A JP 2010025193 A JP2010025193 A JP 2010025193A JP 2008185766 A JP2008185766 A JP 2008185766A JP 2008185766 A JP2008185766 A JP 2008185766A JP 2010025193 A JP2010025193 A JP 2010025193A
Authority
JP
Japan
Prior art keywords
seal
slinger
tapered roller
double
cylindrical portion
Prior art date
Legal status (The legal status is an assumption and is not a legal conclusion. Google has not performed a legal analysis and makes no representation as to the accuracy of the status listed.)
Granted
Application number
JP2008185766A
Other languages
English (en)
Other versions
JP5132457B2 (ja
Inventor
Hiroto Suma
洋斗 須間
Akira Konishi
亮 小西
Current Assignee (The listed assignees may be inaccurate. Google has not performed a legal analysis and makes no representation or warranty as to the accuracy of the list.)
NTN Corp
Original Assignee
NTN Corp
NTN Toyo Bearing Co Ltd
Priority date (The priority date is an assumption and is not a legal conclusion. Google has not performed a legal analysis and makes no representation as to the accuracy of the date listed.)
Filing date
Publication date
Application filed by NTN Corp, NTN Toyo Bearing Co Ltd filed Critical NTN Corp
Priority to JP2008185766A priority Critical patent/JP5132457B2/ja
Publication of JP2010025193A publication Critical patent/JP2010025193A/ja
Application granted granted Critical
Publication of JP5132457B2 publication Critical patent/JP5132457B2/ja
Expired - Fee Related legal-status Critical Current
Anticipated expiration legal-status Critical

Links

Images

Classifications

    • FMECHANICAL ENGINEERING; LIGHTING; HEATING; WEAPONS; BLASTING
    • F16ENGINEERING ELEMENTS AND UNITS; GENERAL MEASURES FOR PRODUCING AND MAINTAINING EFFECTIVE FUNCTIONING OF MACHINES OR INSTALLATIONS; THERMAL INSULATION IN GENERAL
    • F16CSHAFTS; FLEXIBLE SHAFTS; ELEMENTS OR CRANKSHAFT MECHANISMS; ROTARY BODIES OTHER THAN GEARING ELEMENTS; BEARINGS
    • F16C33/00Parts of bearings; Special methods for making bearings or parts thereof
    • F16C33/72Sealings
    • F16C33/76Sealings of ball or roller bearings
    • F16C33/78Sealings of ball or roller bearings with a diaphragm, disc, or ring, with or without resilient members
    • F16C33/7803Sealings of ball or roller bearings with a diaphragm, disc, or ring, with or without resilient members suited for particular types of rolling bearings
    • F16C33/7813Sealings of ball or roller bearings with a diaphragm, disc, or ring, with or without resilient members suited for particular types of rolling bearings for tapered roller bearings
    • FMECHANICAL ENGINEERING; LIGHTING; HEATING; WEAPONS; BLASTING
    • F16ENGINEERING ELEMENTS AND UNITS; GENERAL MEASURES FOR PRODUCING AND MAINTAINING EFFECTIVE FUNCTIONING OF MACHINES OR INSTALLATIONS; THERMAL INSULATION IN GENERAL
    • F16CSHAFTS; FLEXIBLE SHAFTS; ELEMENTS OR CRANKSHAFT MECHANISMS; ROTARY BODIES OTHER THAN GEARING ELEMENTS; BEARINGS
    • F16C33/00Parts of bearings; Special methods for making bearings or parts thereof
    • F16C33/72Sealings
    • F16C33/76Sealings of ball or roller bearings
    • F16C33/78Sealings of ball or roller bearings with a diaphragm, disc, or ring, with or without resilient members
    • F16C33/7869Sealings of ball or roller bearings with a diaphragm, disc, or ring, with or without resilient members mounted with a cylindrical portion to the inner surface of the outer race and having a radial portion extending inward
    • F16C33/7879Sealings of ball or roller bearings with a diaphragm, disc, or ring, with or without resilient members mounted with a cylindrical portion to the inner surface of the outer race and having a radial portion extending inward with a further sealing ring
    • FMECHANICAL ENGINEERING; LIGHTING; HEATING; WEAPONS; BLASTING
    • F16ENGINEERING ELEMENTS AND UNITS; GENERAL MEASURES FOR PRODUCING AND MAINTAINING EFFECTIVE FUNCTIONING OF MACHINES OR INSTALLATIONS; THERMAL INSULATION IN GENERAL
    • F16CSHAFTS; FLEXIBLE SHAFTS; ELEMENTS OR CRANKSHAFT MECHANISMS; ROTARY BODIES OTHER THAN GEARING ELEMENTS; BEARINGS
    • F16C33/00Parts of bearings; Special methods for making bearings or parts thereof
    • F16C33/72Sealings
    • F16C33/76Sealings of ball or roller bearings
    • F16C33/80Labyrinth sealings
    • F16C33/805Labyrinth sealings in addition to other sealings, e.g. dirt guards to protect sealings with sealing lips
    • FMECHANICAL ENGINEERING; LIGHTING; HEATING; WEAPONS; BLASTING
    • F16ENGINEERING ELEMENTS AND UNITS; GENERAL MEASURES FOR PRODUCING AND MAINTAINING EFFECTIVE FUNCTIONING OF MACHINES OR INSTALLATIONS; THERMAL INSULATION IN GENERAL
    • F16CSHAFTS; FLEXIBLE SHAFTS; ELEMENTS OR CRANKSHAFT MECHANISMS; ROTARY BODIES OTHER THAN GEARING ELEMENTS; BEARINGS
    • F16C19/00Bearings with rolling contact, for exclusively rotary movement
    • F16C19/22Bearings with rolling contact, for exclusively rotary movement with bearing rollers essentially of the same size in one or more circular rows, e.g. needle bearings
    • F16C19/34Bearings with rolling contact, for exclusively rotary movement with bearing rollers essentially of the same size in one or more circular rows, e.g. needle bearings for both radial and axial load
    • F16C19/38Bearings with rolling contact, for exclusively rotary movement with bearing rollers essentially of the same size in one or more circular rows, e.g. needle bearings for both radial and axial load with two or more rows of rollers
    • F16C19/383Bearings with rolling contact, for exclusively rotary movement with bearing rollers essentially of the same size in one or more circular rows, e.g. needle bearings for both radial and axial load with two or more rows of rollers with tapered rollers, i.e. rollers having essentially the shape of a truncated cone
    • F16C19/385Bearings with rolling contact, for exclusively rotary movement with bearing rollers essentially of the same size in one or more circular rows, e.g. needle bearings for both radial and axial load with two or more rows of rollers with tapered rollers, i.e. rollers having essentially the shape of a truncated cone with two rows, i.e. double-row tapered roller bearings
    • F16C19/386Bearings with rolling contact, for exclusively rotary movement with bearing rollers essentially of the same size in one or more circular rows, e.g. needle bearings for both radial and axial load with two or more rows of rollers with tapered rollers, i.e. rollers having essentially the shape of a truncated cone with two rows, i.e. double-row tapered roller bearings in O-arrangement

Landscapes

  • Engineering & Computer Science (AREA)
  • General Engineering & Computer Science (AREA)
  • Mechanical Engineering (AREA)
  • Sealing Of Bearings (AREA)
  • Rolling Contact Bearings (AREA)

Abstract

【課題】コンパクト化と低コスト化を図ると共に、簡単な構成で内輪の分離を防止した複列円錐ころ軸受を提供する。
【解決手段】シール6が、互いに対向配置された環状のシール板7とスリンガ8とからなり、スリンガ8が内輪3の外径に嵌合された円筒部8aと立板部8bを有し、シール板7が、外方部材2に内嵌される円筒部9aと立板部9bと軸受内方側に延びる内径部9cを有する芯金9と、スリンガ8の立板部8bと円筒部8aにそれぞれ摺接されるサイドリップ10aとラジアルリップ10bを有するシール部材10とからなると共に、円錐ころ4の大端面4aとシール板7との距離e1が、保持器5と芯金9との距離よりも小さく、かつ、芯金9の内径部9cとスリンガ8の円筒部8aとの間に径方向すきまe2からなるラビリンスシールが構成され、内径部9cの段差e3が0以上、その幅寸法e4以下に設定されている。
【選択図】図2

Description

本発明は、自動車等の車輪を回転自在に支承する車輪用の複列円錐ころ軸受、特に、一対の内輪を有し、これらの内輪の分離を防止した第1世代あるいは第2世代構造の複列円錐ころ軸受に関するものである。
従来から自動車等の車輪を支持する車輪用軸受装置は、車輪を取り付けるためのハブ輪を複列の転がり軸受を介して回転自在に支承するもので、この複列の転がり軸受には、一般的に、所望の軸受剛性を有し、ミスアライメントに対しても耐久性を発揮すると共に、何よりも燃費向上の観点から回転トルクが小さい複列アンギュラ玉軸受が多用されている。一方、オフロードカーやトラック等、車体重量が嵩む車両には複列円錐ころ軸受が使用されている。
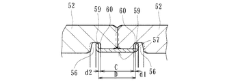
この従来の複列円錐ころ軸受50は、図12に示すように、内周に複列の外側転走面51a、51aが形成された外輪51と、外周にこれら複列の外側転走面51a、51aに対向する内側転走面52a、52aが形成された一対の内輪52、52と、両転走面間に保持器53、53を介して転動自在に収容された複列の円錐ころ54、54と、外輪51と内輪52との間に形成される環状空間の開口部に装着されたシール55、55と、各内輪52、52どうしの接触面側の内径面に形成された環状の保持凹部56に嵌合された分離防止部材57とを備えている。保持器53の端面とシール55の端面との間には所定の幅Aを有する第1隙間58が設けられている。
分離防止部材57は、図13に示すように、鋼板からプレス加工によって断面がコ字形で、全体として円環状に形成され、内輪52の保持凹部56に嵌合される折曲部59が形成されている。また、分離防止部材57の折曲部59と保持凹部56の壁面との間に所定の幅d1、d2を有する第2隙間60が設けられ、内輪52、円錐ころ54および保持器53の組立品が軸心61方向に微移動可能に構成されている。そして、この複列円錐ころ軸受50を組み立てた際の第1隙間58が、折曲部59間の幅Dから保持凹部56の壁面間の幅Cの最小幅を減じた値よりも大きくなるように設定されている(A>D−C=d1+d2)。
複列円錐ころ軸受50は、外輪51に対して内輪52、円錐ころ54および保持器53の組立品を組み込むことで組み立てられる。そして、例えば、製品の搬送中等に内輪52、円錐ころ54および保持器53の組立品が軸心61方向に力を受けた場合、これが軸心61方向に微移動し、第1隙間58の幅Aおよび保持凹部56の壁面間の幅C(幅d1、d2)は変化する。しかし、保持凹部56の壁面間の幅Cは、最大で折曲部59間の幅Dであり、したがって、第1隙間58の幅Aおよび保持凹部56の壁面間の幅Cが変化したとしても、A>D−C=d1+d2に設定されているので、内輪52、円錐ころ54および保持器53の組立品が車軸62方向に移動した際であっても、保持器53の端面とシール55の端面とが接触するのを防止することができる。
特開2002−310175号公報
然しながら、この従来の複列円錐ころ軸受50では、内輪52の内径面に形成された保持凹部56に分離防止部材57を嵌合させて内輪52の軸心61方向の移動が防止されているが、これでは、分離防止部材57の部品点数が増えるだけでなく、内輪52に保持凹部56を形成する加工工数が増し、さらには、この分離防止部材57を嵌合するための組立工数が増え、コスト高になる問題があった。
さらに、この種の車輪用の複列円錐ころ軸受50はコンパクト化が求められているため、内輪52に保持凹部56を形成するだけの肉厚および幅方向のスペースを確保することは難しい。したがって、従来は、軸受の負荷容量を犠牲にしてこの分離防止部材57を採用する必要があった。
本発明は、このような事情に鑑みてなされたもので、コンパクト化と低コスト化を図ると共に、簡単な構成で内輪の分離を防止した複列円錐ころ軸受を提供することを目的としている。
係る目的を達成すべく、本発明のうち請求項1記載の発明は、内周に外向きに開いたテーパ状の複列の外側転走面が一体に形成された外方部材と、外周に前記複列の外側転走面に対向するテーパ状の内側転走面が形成された一対の内輪と、前記両転走面間に保持器を介して転動自在に収容された複数の円錐ころと、前記外方部材と内輪との間に形成される環状空間の開口部に装着されたシールとを備え、前記内輪の内側転走面の大径側に前記円錐ころを案内する大鍔が形成され、前記内輪の正面側端面が突き合された状態でセットされた背面合せタイプの複列円錐ころ軸受において、前記シールが、互いに対向配置された環状のシール板とスリンガとからなり、このスリンガが、前記内輪の外径に嵌合された円筒部、およびこの円筒部から径方向外方に延びる立板部を有し、前記シール板が、前記外方部材の端部内周に嵌合される円筒状の嵌合部と、この嵌合部から径方向内方に延びる立板部と、この立板部から軸受内方側に延びる円筒状の内径部とを有する芯金と、この芯金に一体に接合され、前記スリンガの立板部に摺接されるサイドリップ、および前記スリンガの円筒部に摺接されるラジアルリップを有するシール部材とからなると共に、前記円錐ころの大端面と前記シール板との距離が、前記保持器と当該シール板との距離よりも小さく設定され、かつ、前記芯金の内径部と前記スリンガの円筒部との段差が0以上、前記芯金の内径部の幅寸法以下に設定されている。
このように、第1世代または第2世代構造からなる背面合せタイプの複列円錐ころ軸受において、シールが、互いに対向配置された環状のシール板とスリンガとからなり、このスリンガが、内輪の外径に嵌合された円筒部、およびこの円筒部から径方向外方に延びる立板部を有し、シール板が、外方部材の端部内周に嵌合される円筒状の嵌合部と、この嵌合部から径方向内方に延びる立板部と、この立板部から軸受内方側に延びる円筒状の内径部とを有する芯金と、この芯金に一体に接合され、スリンガの立板部に摺接されるサイドリップ、およびスリンガの円筒部に摺接されるラジアルリップを有するシール部材とからなると共に、円錐ころの大端面とシール板との距離が、保持器と当該シール板との距離よりも小さく設定され、かつ、芯金の内径部とスリンガの円筒部との段差が0以上、芯金の内径部の幅寸法以下に設定されているので、輸送中等に内輪サブアッシが分離するのを防止し、コンパクト化と低コスト化を図ることができる。また、シールを単体で取り扱う際に、ラジアルリップがスリンガの円筒部から脱落しないため、シール板とスリンガが分離するのを防止することができ、組立作業性を向上させると共に、ラジアルリップの損傷を防止して所望の密封性を確保することができる。
好ましくは、請求項2に記載の発明のように、前記芯金の内径部と前記スリンガの円筒部との間に所定の径方向すきまからなるラビリンスシールが構成されていれば、軸受内部に封入された潤滑グリースの外部への漏洩を防止でき、グリースリップを設けなくても密封性を確保でき軸受の低トルク化を達成することができる。
また、請求項3に記載の発明のように、前記芯金の内径部の端部に径方向内方に折曲されて係止部が形成され、前記スリンガの円筒部との間に所定の径方向すきまからなるラビリンスシールが構成されていても良い。
また、請求項4に記載の発明のように、前記シール部材に凸部が形成され、前記スリンガの円筒部との間に所定の径方向すきまからなるラビリンスシールが構成されていても良い。
また、請求項5に記載の発明のように、前記シール部材に径方向内方に延びる突出片が形成され、前記スリンガの円筒部または前記内輪の外径との間に所定のすきまからなるラビリンスシールが構成されていても良い。
また、請求項6に記載の発明のように、前記シール部材に軸受内方側に傾斜して延びるグリースリップが形成され、前記スリンガの円筒部との間に所定の径方向すきまからなるラビリンスシールが構成されていれば、軸受内部に封入された潤滑グリースの外部への漏洩を防止できると共に、軸受の低トルク化を達成することができる。
また、請求項7に記載の発明のように、前記芯金の内径部の端部に前記シール部材が回り込んで包囲部が形成され、前記スリンガの円筒部との間に所定の径方向すきまからなるラビリンスシールが構成されていても良い。これにより、円錐ころの大端面が芯金に干渉することがなくシール部材の包囲部に当接するので、円錐ころに傷が付くのを防止することができる。
本発明に係る複列円錐ころ軸受は、内周に外向きに開いたテーパ状の複列の外側転走面が一体に形成された外方部材と、外周に前記複列の外側転走面に対向するテーパ状の内側転走面が形成された一対の内輪と、前記両転走面間に保持器を介して転動自在に収容された複数の円錐ころと、前記外方部材と内輪との間に形成される環状空間の開口部に装着されたシールとを備え、前記内輪の内側転走面の大径側に前記円錐ころを案内する大鍔が形成され、前記内輪の正面側端面が突き合された状態でセットされた背面合せタイプの複列円錐ころ軸受において、前記シールが、互いに対向配置された環状のシール板とスリンガとからなり、このスリンガが、前記内輪の外径に嵌合された円筒部、およびこの円筒部から径方向外方に延びる立板部を有し、前記シール板が、前記外方部材の端部内周に嵌合される円筒状の嵌合部と、この嵌合部から径方向内方に延びる立板部と、この立板部から軸受内方側に延びる円筒状の内径部とを有する芯金と、この芯金に一体に接合され、前記スリンガの立板部に摺接されるサイドリップ、および前記スリンガの円筒部に摺接されるラジアルリップを有するシール部材とからなると共に、前記円錐ころの大端面と前記シール板との距離が、前記保持器と当該シール板との距離よりも小さく設定され、かつ、前記芯金の内径部と前記スリンガの円筒部との段差が0以上、前記芯金の内径部の幅寸法以下に設定されているので、輸送中等に内輪サブアッシが分離するのを防止し、コンパクト化と低コスト化を図ることができる。また、シールを単体で取り扱う際に、ラジアルリップがスリンガの円筒部から脱落しないため、シール板とスリンガが分離するのを防止することができ、組立作業性を向上させると共に、ラジアルリップの損傷を防止して所望の密封性を確保することができる。
内周に外向きに開いたテーパ状の複列の外側転走面が一体に形成された外方部材と、外周に前記複列の外側転走面に対向するテーパ状の内側転走面が形成された一対の内輪と、前記両転走面間に保持器を介して転動自在に収容された複数の円錐ころと、前記外方部材と内輪との間に形成される環状空間の開口部に装着されたシールとを備え、前記内輪の内側転走面の大径側に前記円錐ころを案内する大鍔が形成され、前記内輪の正面側端面が突き合された状態でセットされた背面合せタイプの複列円錐ころ軸受において、前記シールが、互いに対向配置された環状のシール板とスリンガとからなり、このスリンガが、前記内輪の外径に嵌合された円筒部、およびこの円筒部から径方向外方に延びる立板部を有し、前記シール板が、前記外方部材の端部内周に嵌合される円筒状の嵌合部と、この嵌合部から径方向内方に延びる立板部と、この立板部から軸受内方側に延びる円筒状の内径部とを有する芯金と、この芯金に一体に接合され、前記スリンガの立板部に摺接されるサイドリップ、および前記スリンガの円筒部に摺接されるラジアルリップを有するシール部材とからなると共に、前記円錐ころの大端面と前記シール板との距離が、前記保持器と当該シール板との距離よりも小さく設定され、かつ、前記芯金の内径部と前記スリンガの円筒部との間に所定の径方向すきまからなるラビリンスシールが構成され、前記内径部の段差が0以上、当該内径部の幅寸法以下に設定されている。
以下、本発明の実施の形態を図面に基づいて詳細に説明する。
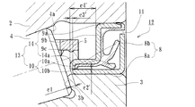
図1は、本発明に係る複列円錐ころ軸受の第1の実施形態を示す縦断面図、図2は、図1のシール部を示す要部拡大図、図3(a)は、図2のシールの積層状態を示す説明図、(b)は、(a)の比較例を示す説明図、図4は、図2のシールの変形例を示す要部拡大図、図5は、図2のシールの他の変形例を示す要部拡大図、図6は、図5のシールの変形例を示す要部拡大図である。
この複列円錐ころ軸受1は、車輪用軸受装置に使用される第1世代と称される構成を有し、内周に外向きに開いたテーパ状の複列の外側転走面2a、2aが形成された外輪(外方部材)2と、外周に前記複列の外側転走面2a、2aに対向するテーパ状の内側転走面3aが形成された一対の内輪3と、両転走面間に収容された複列の円錐ころ4、4と、これらの円錐ころ4を転動自在に保持する保持器5と、外輪2と内輪3との間に形成される環状空間の開口部に装着されたシール6、6とを備えている。この複列円錐ころ軸受1は、一対の内輪3、3の小径側(正面側)端面が突き合された状態でセットされた背面合せタイプの複列円錐ころ軸受を構成している。
内輪3の内側転走面3aの大径側には、円錐ころ4の大端面4aに接触して円錐ころ4を案内するための大鍔3bが形成されると共に、小径側には、円錐ころ4の脱落を防止するための小鍔3cが形成されている。
外輪2は、SUJ2(JIS G 4805)等の高炭素クロム軸受鋼、あるいは浸炭鋼からなり、高炭素クロム軸受鋼の場合は、820〜860℃で焼き入れされた後、160〜200℃で焼き戻しされ、58〜64HRCの範囲に芯部まで硬化処理される。一方、浸炭鋼の場合は、58〜64HRCの範囲に表面が硬化処理される。また、内輪3および円錐ころ4も、外輪2と同様、SUJ2(JIS G 4805)等の高炭素クロム軸受鋼、あるいは浸炭鋼からなり、高炭素クロム軸受鋼の場合は58〜64HRCの範囲に芯部まで硬化処理され、浸炭鋼の場合は、表面が58〜64HRCの範囲に硬化処理される。
この複列円錐ころ軸受1は、予め保持器5に円錐ころ4が組み込まれ、これらを内輪3に組み立てた、内輪3、円錐ころ4、保持器5のアッセンブリー(以下、内輪サブアッシと呼ぶ)がそれぞれ外輪2の両側から嵌挿され、外輪2と内輪3との環状空間から所定量のグリースが封入される。その後、シール6、6が装着されて組み立てられている。
シール6は、図2に拡大して示すように、互いに対向配置された環状のシール板7とスリンガ8とからなる、所謂パックシールで構成されている。シール板7は、芯金9と、この芯金9に加硫接着等によって一体に接合されたシール部材10とからなる。芯金9は、オーステナイト系ステンレス鋼鈑(JIS規格のSUS304系等)やフェライト系ステンレス鋼鈑(JIS規格のSUS430系等)、あるいは、防錆処理された冷間圧延鋼鈑(JIS規格のSPCC系等)からプレス加工にて断面が略クランク形状に形成され、外輪2の端部内周に嵌合される円筒状の嵌合部9aと、この嵌合部9aから径方向内方に延びる立板部9bと、この立板部9bから軸受内方側に延びる円筒状の内径部9cとを有している。
一方、シール部材10は、ACM(ポリアクリルゴム)やNBR(アクリロニトリル−ブタジエンゴム)等の合成ゴムからなり、芯金9の嵌合部9aから内径部9cに亙って一体に接合されて、サイドリップ10aとラジアルリップ10bを有している。なお、シール部材10は、前述したもの以外にも、例えば、耐熱性に優れたHNBR(水素化アクリロニトリル−ブタジエンゴム)、EPDM(エチレン・プロピレンゴム)等をはじめ、FKM(フッ素ゴム)、あるいはEPM(エチレン・プロピレンゴム)やシリコンゴム等を例示することができる。
スリンガ8は、オーステナイト系ステンレス鋼鈑(JIS規格のSUS304系等)やフェライト系ステンレス鋼鈑(JIS規格のSUS430系等)、あるいは、防錆処理された冷間圧延鋼鈑(JIS規格のSPCC系等)からプレス加工にて断面が略L字状に形成され、内輪3の外周に嵌合される円筒部8aと、この円筒部8aから径方向外方に延びる立板部8bとを有している。そして、シール部材10のサイドリップ10aがこの立板部8bに所定の軸方向シメシロを介して摺接されると共に、ラジアルリップ10bが円筒部8aに所定の径方向シメシロを介して摺接されている。また、スリンガ8における立板部8bの外縁は、シール板7と僅かな径方向すきまを介して対峙してラビリンスシール11が構成されている。
ここで、本実施形態では、円錐ころ4の大端面4aと芯金9の内径部9cとの距離e1が所定値に設定されると共に、保持器5とシール6とが干渉しない距離に設定されている。ここでは、保持器5のポケットすきまや各部品の製造バラツキ等を考慮してe1=0.5〜1.0mmの範囲に設定されている。これにより、分離防止部材等の部品の付加や特別な加工を施すことなく、簡単な構成で輸送中等に内輪サブアッシが図中右方向に移動して外輪2から分離するのを防止でき、コンパクト化と低コスト化を図ることができる。
また、ここでは、芯金9の内径部9cのシール部材10とスリンガ8の円筒部8aとの径方向すきまe2が所定値(半径で0.1〜0.5mm)に設定され、ラビリンスシールを構成している。これにより、シール部材10にグリースリップを設けることなく、軸受内部に封入された潤滑グリースの外部への漏洩を防止できると共に、グリースリップの廃止により、軸受の低トルク化を達成することができる。
さらに、芯金9の内径部9cとスリンガ8の円筒部8aとの段差e3は0以上、内径部9cの幅寸法e4以下に設定されている。これにより、シール(パックシール)6を単体で取り扱う際に、ラジアルリップ10bがスリンガ8の円筒部8aから脱落しないため、シール板7とスリンガ8が分離するのを防止することができ、組立作業性を向上させると共に、ラジアルリップ10bの損傷を防止して所望の密封性を確保することができる。
図3(a)に示すように、組立工程等の製造現場においてシール6を積層するような場合、前述したように、芯金9の内径部9cに対してスリンガ8の円筒部8aを軸方向に延ばしてほぼ同等の長さに設定しているので、スリンガ8の立板部8bに、隣接するシール6の芯金9の内径部9cとスリンガ8の円筒部8aが当接し、シール部材10を保護することができる。すなわち、(b)に示すように、スリンガ8’の立板部8bに、隣接するシールのスリンガ8’の円筒部8a’が当接せず、積層されたシール自体の重量によってサイドリップ10a、ラジアルリップ10bが押し潰されて損傷するような不具合を解消することができる。
図4は、図2のシール6の変形例である。このシール12は、基本的には前述したシール6の芯金9の構成が一部異なるだけで、その他前述したシール6と同一部位、同一部品あるいは同一の機能を有する部品や部位には同じ符号を付けて重複した説明を省略する。
このシール12は、互いに対向配置された環状のシール板13とスリンガ8とからなるパックシールで構成されている。シール板13は、芯金14と、この芯金14に加硫接着等によって一体に接合されたシール部材10とからなる。芯金14は、オーステナイト系ステンレス鋼鈑(JIS規格のSUS304系等)やフェライト系ステンレス鋼鈑(JIS規格のSUS430系等)、あるいは、防錆処理された冷間圧延鋼鈑(JIS規格のSPCC系等)からプレス加工にて断面が略クランク形状に形成され、外輪2の端部内周に嵌合される円筒状の嵌合部9aと、この嵌合部9aから径方向内方に延びる立板部9bと、この立板部9bから軸受内方側に延びる円筒状の内径部9cと、この内径部9cから径方向内方に折曲された係止部14aとを有している。
ここで、本実施形態では、円錐ころ4の大端面4aと芯金9の係止部14aとの距離e1が0.5〜1.0mmの範囲に設定され、輸送中等に内輪サブアッシが分離するのを防止し、コンパクト化と低コスト化を図っている。また、芯金9の係止部14aとスリンガ8の円筒部8aとの径方向すきまe2’が、半径で0.1〜0.5mmに設定され、ラビリンスシールを構成している。これにより、シール部材10にグリースリップを設けることなく、軸受内部に封入された潤滑グリースの外部への漏洩を防止できると共に、グリースリップの廃止により、軸受の低トルク化を達成することができる。
さらに、芯金9の係止部14aとスリンガ8の円筒部8aとの段差e3’は0以上、立板部9bから係止部14aまでの距離e4’以下に設定されている。これにより、シール12を単体で取り扱う際に、ラジアルリップ10bがスリンガ8の円筒部8aから脱落しないため、シール板13とスリンガ8が分離するのを防止することができ、組立作業性を向上させると共に、ラジアルリップ10bの損傷を防止して所望の密封性を確保することができる。
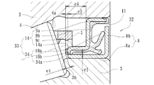
図5は、図2のシール6の他の変形例である。このシール15は、基本的には前述したシール6のシール部材10の構成が一部異なるだけで、その他前述したシール6と同一部位、同一部品あるいは同一の機能を有する部品や部位には同じ符号を付けて重複した説明を省略する。
このシール15は、互いに対向配置された環状のシール板16とスリンガ8とからなるパックシールで構成されている。シール板16は、芯金9と、この芯金9に加硫接着等によって一体に接合されたシール部材17とからなる。シール部材17は、ACMやNBR等の合成ゴムからなり、芯金9の嵌合部9aから内径部9cに亙って一体に接合されて、サイドリップ10aとラジアルリップ10bおよびグリースリップ17aとを有している。
ここで、本実施形態では、円錐ころ4の大端面4aと芯金9の内径部9cとの距離e1が0.5〜1.0mmの範囲に設定され、輸送中等に内輪サブアッシが分離するのを防止し、コンパクト化と低コスト化を図ると共に、グリースリップ17aとスリンガ8の円筒部8aとの径方向すきまe2が、半径で0.1〜0.5mmに設定され、ラビリンスシールを構成している。これにより、軸受内部に封入された潤滑グリースの外部への漏洩を防止でき、密封性を向上させることができる。
さらに、芯金9の内径部9cとスリンガ8の円筒部8aとの段差e3は0以上、内径部9cの幅寸法e4以下に設定されている。これにより、シール15を単体で取り扱う際に、ラジアルリップ10bがスリンガ8の円筒部8aから脱落しないため、シール板16とスリンガ8が分離するのを防止することができ、組立作業性を向上させると共に、ラジアルリップ10bの損傷を防止して所望の密封性を確保することができる。
図6は、図5のシール15の変形例である。このシール18は、基本的には前述したシール15のシール部材17の構成が一部異なるだけで、その他前述したシール15と同一部位、同一部品あるいは同一の機能を有する部品や部位には同じ符号を付けて重複した説明を省略する。
このシール18は、互いに対向配置された環状のシール板19とスリンガ8とからなるパックシールで構成されている。シール板19は、芯金9と、この芯金9に加硫接着等によって一体に接合されたシール部材20とからなる。シール部材20は、ACMやNBR等の合成ゴムからなり、芯金9の嵌合部9aから内径部9cに亙って一体に接合されて、サイドリップ10aとラジアルリップ10bおよび凸部20aとを有している。
ここで、本実施形態では、円錐ころ4の大端面4aと芯金9の内径部9cとの距離e1が0.5〜1.0mmの範囲に設定され、輸送中等に内輪サブアッシが分離するのを防止し、コンパクト化と低コスト化を図ると共に、シール部材20の凸部20aとスリンガ8の円筒部8aとの径方向すきまe2が、半径で0.1〜0.5mmに設定され、ラビリンスシールを構成している。これにより、軸受内部に封入された潤滑グリースの外部への漏洩を防止でき、密封性を向上させることができる。
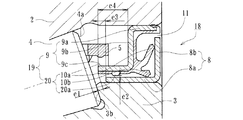
図7は、本発明に係る複列円錐ころ軸受の第2の実施形態を示す縦断面図、図8は、図7のシール部を示す要部拡大図、図9は、図8のシールの変形例を示す要部拡大図、図10は、図8のシールの他の変形例を示す要部拡大図、図11は、図10のシールの変形例を示す要部拡大図である。
この複列円錐ころ軸受21は、車輪用軸受装置に使用される第2世代と称される構成を有し、一端部に車輪(図示せず)を取り付けるための車輪取付フランジ22を一体に有し、この車輪取付フランジ22の周方向等配にハブボルト(図示せず)が固定されるボルト孔22aが形成され、内周に外向きに開くテーパ状の複列の外側転走面23a、23aが形成された外方部材23と、外周にこれら複列の外側転走面23a、23aに対向するテーパ状の内側転走面3aが形成された一対の内輪3、3と、これら両転走面間に収容された複列の円錐ころ4、4と、これら複列の円錐ころ4、4を転動自在に保持する保持器5、5とを備えている。そして、外方部材23と内輪3との間に形成される環状空間を密封するためにシール24、24が装着され、軸受内部に封入された潤滑グリースの漏洩と、外部から軸受内部に雨水やダスト等が侵入するのを防止している。
外方部材23は、SUJ2等の高炭素クロム軸受鋼あるいはS53C等の炭素0.40〜0.80wt%を含む中高炭素鋼からなる。高炭素クロム軸受鋼の場合は820〜860℃で焼き入れされた後、160〜200℃で焼き戻しされ、58〜64HRCの範囲に芯部まで硬化処理されている。中高炭素鋼の場合は、複列の外側転走面23a、23aは高周波焼入れによって表面硬さが58〜64HRCの範囲に硬化処理されている。
シール24は、図8に拡大して示すように、互いに対向配置された環状のシール板25とスリンガ8とからなるハイパックシールで構成されている。シール板25は、芯金9と、この芯金9に加硫接着等によって一体に接合されたシール部材26とからなる。
一方、シール部材26はACMやNBR等の合成ゴムからなり、芯金9の内周面に一体に接合されて、サイドリップ10aとラジアルリップ10bおよび径方向内方に延びる突出片26aを有している。そして、この突出片26aとスリンガ8の円筒部8aの端面との軸方向すきまe5が所定値(0.1〜0.5mm)に設定され、ラビリンスシールを構成している。これにより、軸受内部に封入された潤滑グリースの外部への漏洩を防止できると共に、軸受の低トルク化を達成することができる。
ここで、本実施形態では、円錐ころ4の大端面4aと芯金9の内径部9c(またはシール部材26の端部)との距離e1が所定値に設定されている。また、芯金9の内径部9cとスリンガ8の円筒部8aとの段差e3は0以上、内径部9cの幅寸法e4以下に設定されている。これにより、内輪サブアッシの分離を防止すると共に、シール24を単体で取り扱う際に、ラジアルリップ10bがスリンガ8の円筒部8aから脱落しないため、シール板25とスリンガ8が分離するのを防止することができ、組立作業性を向上させると共に、ラジアルリップ10bの損傷を防止して所望の密封性を確保することができる。
図9は、図8のシール24の変形例である。このシール27は、基本的には前述したシール24のシール部材26の構成が一部異なるだけで、その他前述したシール24と同一部位、同一部品あるいは同一の機能を有する部品や部位には同じ符号を付けて重複した説明を省略する。
このシール27は、互いに対向配置された環状のシール板28とスリンガ8とからなるパックシールで構成されている。シール板28は、芯金9と、この芯金9に加硫接着等によって一体に接合されたシール部材26’とからなる。シール部材26’は、ACMやNBR等の合成ゴムからなり、芯金9の嵌合部9aから内径部9cに亙って一体に接合されて、サイドリップ10aとラジアルリップ10bおよび突出片26a’とを有している。
ここで、本実施形態では、円錐ころ4の大端面4aと芯金9の内径部9cとの距離e1が0.5〜1.0mmの範囲に設定され、輸送中等に内輪サブアッシが分離するのを防止すると共に、シール部材26’の突出片26a’と内輪3の外径との径方向すきまe6が、半径で0.1〜0.5mmに設定され、ラビリンスシールを構成している。これにより、軸受内部に封入された潤滑グリースの外部への漏洩を防止でき、密封性を向上させることができる。
図10は、図8のシール24の他の変形例である。このシール29は、基本的には前述したシール24のシール部材26の構成が一部異なるだけで、その他前述したシール24と同一部位、同一部品あるいは同一の機能を有する部品や部位には同じ符号を付けて重複した説明を省略する。
このシール29は、互いに対向配置された環状のシール板30とスリンガ8とからなるパックシールで構成されている。シール板30は、芯金9と、この芯金9に加硫接着等によって一体に接合されたシール部材31とからなる。シール部材31は、ACMやNBR等の合成ゴムからなり、芯金9の嵌合部9aから内径部9cに亙って一体に接合されて、サイドリップ10aとラジアルリップ10bおよび内径部9cの端部に回り込んで形成された包囲部31aとを有している。
ここで、円錐ころ4の大端面4aとシール部材31の包囲部31aとの距離e1が0.5〜1.0mmの範囲に設定され、輸送中等に内輪サブアッシが分離するのを防止している。本実施形態では、円錐ころ4の大端面4aが芯金9に干渉することがなくシール部材31の包囲部31aに当接するので、円錐ころ4に傷が付くのを防止することができる。また、包囲部31aとスリンガ8の円筒部8aとの径方向すきまe2が、半径で0.1〜0.5mmに設定され、ラビリンスシールを構成している。これにより、軸受内部に封入された潤滑グリースの外部への漏洩を防止でき、密封性を向上させることができる。
図11は、図10のシール29の変形例である。このシール32は、基本的には前述したシール29の芯金9の構成が一部異なるだけで、その他前述したシール29と同一部位、同一部品あるいは同一の機能を有する部品や部位には同じ符号を付けて重複した説明を省略する。
このシール32は、互いに対向配置された環状のシール板33とスリンガ8とからなるパックシールで構成されている。シール板33は、芯金14と、この芯金14に加硫接着等によって一体に接合されたシール部材34とからなる。シール部材34は、ACMやNBR等の合成ゴムからなり、芯金14の嵌合部9aから係止部14aに亙って一体に接合されて、サイドリップ10aとラジアルリップ10bおよび係止部14aの端部に回り込んで形成された包囲部34aとを有している。
ここで、円錐ころ4の大端面4aとシール部材34の包囲部34aとの距離e1が0.5〜1.0mmの範囲に設定され、輸送中等に内輪サブアッシが分離するのを防止している。本実施形態では、前述した実施形態と同様、円錐ころ4の大端面4aが芯金14に干渉することがなくシール部材34の包囲部34aに当接するので、円錐ころ4に傷が付くのを防止することができる。また、包囲部34aとスリンガ8の円筒部8aとの径方向すきまe2が、半径で0.1〜0.5mmに設定され、ラビリンスシールを構成している。これにより、軸受内部に封入された潤滑グリースの外部への漏洩を防止でき、密封性を向上させることができる。
以上、本発明の実施の形態について説明を行ったが、本発明はこうした実施の形態に何等限定されるものではなく、あくまで例示であって、本発明の要旨を逸脱しない範囲内において、さらに種々なる形態で実施し得ることは勿論のことであり、本発明の範囲は、特許請求の範囲の記載によって示され、さらに特許請求の範囲に記載の均等の意味、および範囲内のすべての変更を含む。
本発明に係る複列円錐ころ軸受は、車輪を回転自在に支承する第1世代または第2世代構造の車輪用軸受装置に適用することができる。
本発明に係る複列円錐ころ軸受の第1の実施形態を示す縦断面図である。 図1のシール部を示す要部拡大図である。 (a)は、図2のシールの積層状態を示す説明図である。 (b)は、(a)の比較例を示す説明図である。 図2のシールの変形例を示す要部拡大図である。 図2のシールの他の変形例を示す要部拡大図である。 図5のシールの変形例を示す要部拡大図である。 本発明に係る複列円錐ころ軸受の第2の実施形態を示す縦断面図である。 図7のシール部を示す要部拡大図である。 図8のシールの変形例を示す要部拡大図である。 図8のシールの他の変形例を示す要部拡大図である。 図10のシールの変形例を示す要部拡大図である。 従来の複列円錐ころ軸受を示す縦断面図である。 図12の要部拡大図である。
符号の説明
1、21・・・・・・・・・・・・・・・・・・・・複列円錐ころ軸受
2、23・・・・・・・・・・・・・・・・・・・・外方部材
2a、23a・・・・・・・・・・・・・・・・・・外側転走面
3・・・・・・・・・・・・・・・・・・・・・・・内輪
3a・・・・・・・・・・・・・・・・・・・・・・内側転走面
3b・・・・・・・・・・・・・・・・・・・・・・大鍔
3c・・・・・・・・・・・・・・・・・・・・・・小鍔
4・・・・・・・・・・・・・・・・・・・・・・・円錐ころ
4a・・・・・・・・・・・・・・・・・・・・・・大端面
5・・・・・・・・・・・・・・・・・・・・・・・保持器
6、12、15、18、24、27、29、32・・シール
7、13、16、19、25、28、30、33・・シール板
8、8’・・・・・・・・・・・・・・・・・・・・スリンガ
8a、8a’・・・・・・・・・・・・・・・・・・円筒部
8b、9b・・・・・・・・・・・・・・・・・・・立板部
9、14・・・・・・・・・・・・・・・・・・・・芯金
9a・・・・・・・・・・・・・・・・・・・・・・嵌合部
9c・・・・・・・・・・・・・・・・・・・・・・内径部
10、17、20、26、26’、31、34・・・シール部材
10a・・・・・・・・・・・・・・・・・・・・・サイドリップ
10b・・・・・・・・・・・・・・・・・・・・・ラジアルリップ
11・・・・・・・・・・・・・・・・・・・・・・ラビリンスシール
14a・・・・・・・・・・・・・・・・・・・・・係止部
17a・・・・・・・・・・・・・・・・・・・・・グリースリップ
20a・・・・・・・・・・・・・・・・・・・・・凸部
22・・・・・・・・・・・・・・・・・・・・・・車輪取付フランジ
22a・・・・・・・・・・・・・・・・・・・・・ボルト孔
26a、26a’・・・・・・・・・・・・・・・・突出片
31a、34a・・・・・・・・・・・・・・・・・包囲部
50・・・・・・・・・・・・・・・・・・・・・・複列円錐ころ軸受
51・・・・・・・・・・・・・・・・・・・・・・外輪
51a・・・・・・・・・・・・・・・・・・・・・外側転走面
52・・・・・・・・・・・・・・・・・・・・・・内輪
52a・・・・・・・・・・・・・・・・・・・・・内側転走面
53・・・・・・・・・・・・・・・・・・・・・・保持器
54・・・・・・・・・・・・・・・・・・・・・・円錐ころ
55・・・・・・・・・・・・・・・・・・・・・・シール
56・・・・・・・・・・・・・・・・・・・・・・保持凹部
57・・・・・・・・・・・・・・・・・・・・・・分離防止材
58・・・・・・・・・・・・・・・・・・・・・・第1隙間
59・・・・・・・・・・・・・・・・・・・・・・折曲部
60・・・・・・・・・・・・・・・・・・・・・・第2隙間
61・・・・・・・・・・・・・・・・・・・・・・軸心
62・・・・・・・・・・・・・・・・・・・・・・車軸
A・・・・・・・・・・・・・・・・・・・・・・・保持器の端面とシールの端面間の幅
C・・・・・・・・・・・・・・・・・・・・・・・保持凹部の壁面間の幅
D・・・・・・・・・・・・・・・・・・・・・・・折曲部間の幅
d1、d2・・・・・・・・・・・・・・分離防止部材の折曲部と保持凹部の壁面間の幅
e1・・・・・・・・・・・・・・・・・・・・・円錐ころの大端面とシール板との距離
e2・・・・・・・・・・・・・・・・シール部材とスリンガの円筒部との径方向すきま
e2’・・・・・・・・・・・・・・芯金の係止部とスリンガの円筒部との径方向すきま
e3・・・・・・・・・・・・・・・・・・・芯金の内径部とスリンガの円筒部との段差
e3’・・・・・・・・・・・・・・・・・・芯金の係止部とスリンガの円筒部との段差
e4・・・・・・・・・・・・・・・・・・・・・・・・・・・・芯金の内径部の幅寸法
e4’・・・・・・・・・・・・・・・・・・・・・芯金の立板部から係止部までの距離
e5・・・・・・・・・・・・・・・突出片とスリンガの円筒部の端面との軸方向すきま
e6・・・・・・・・・・・・・・・・・・・・・突出片と内輪の外径との径方向すきま

Claims (7)

  1. 内周に外向きに開いたテーパ状の複列の外側転走面が一体に形成された外方部材と、
    外周に前記複列の外側転走面に対向するテーパ状の内側転走面が形成された一対の内輪と、
    前記両転走面間に保持器を介して転動自在に収容された複数の円錐ころと、
    前記外方部材と内輪との間に形成される環状空間の開口部に装着されたシールとを備え、
    前記内輪の内側転走面の大径側に前記円錐ころを案内する大鍔が形成され、前記内輪の正面側端面が突き合された状態でセットされた背面合せタイプの複列円錐ころ軸受において、
    前記シールが、互いに対向配置された環状のシール板とスリンガとからなり、このスリンガが、前記内輪の外径に嵌合された円筒部、およびこの円筒部から径方向外方に延びる立板部を有し、前記シール板が、前記外方部材の端部内周に嵌合される円筒状の嵌合部と、この嵌合部から径方向内方に延びる立板部と、この立板部から軸受内方側に延びる円筒状の内径部とを有する芯金と、この芯金に一体に接合され、前記スリンガの立板部に摺接されるサイドリップ、および前記スリンガの円筒部に摺接されるラジアルリップを有するシール部材とからなると共に、
    前記円錐ころの大端面と前記シール板との距離が、前記保持器と当該シール板との距離よりも小さく設定され、かつ、前記芯金の内径部と前記スリンガの円筒部との段差が0以上、前記芯金の内径部の幅寸法以下に設定されていることを特徴とする複列円錐ころ軸受。
  2. 前記芯金の内径部と前記スリンガの円筒部との間に所定の径方向すきまからなるラビリンスシールが構成されている請求項1に記載の複列円錐ころ軸受。
  3. 前記芯金の内径部の端部に径方向内方に折曲されて係止部が形成され、前記スリンガの円筒部との間に所定の径方向すきまからなるラビリンスシールが構成されている請求項1に記載の複列円錐ころ軸受。
  4. 前記シール部材に凸部が形成され、前記スリンガの円筒部との間に所定の径方向すきまからなるラビリンスシールが構成されている請求項1に記載の複列円錐ころ軸受。
  5. 前記シール部材に径方向内方に延びる突出片が形成され、前記スリンガの円筒部または前記内輪の外径との間に所定のすきまからなるラビリンスシールが構成されている請求項1に記載の複列円錐ころ軸受。
  6. 前記シール部材に軸受内方側に傾斜して延びるグリースリップが形成され、前記スリンガの円筒部との間に所定の径方向すきまからなるラビリンスシールが構成されている請求項1に記載の複列円錐ころ軸受。
  7. 前記芯金の内径部の端部に前記シール部材が回り込んで包囲部が形成され、前記スリンガの円筒部との間に所定の径方向すきまからなるラビリンスシールが構成されている請求項1乃至6いずれかに記載の複列円錐ころ軸受。
JP2008185766A 2008-07-17 2008-07-17 複列円錐ころ軸受 Expired - Fee Related JP5132457B2 (ja)

Priority Applications (1)

Application Number Priority Date Filing Date Title
JP2008185766A JP5132457B2 (ja) 2008-07-17 2008-07-17 複列円錐ころ軸受

Applications Claiming Priority (1)

Application Number Priority Date Filing Date Title
JP2008185766A JP5132457B2 (ja) 2008-07-17 2008-07-17 複列円錐ころ軸受

Publications (2)

Publication Number Publication Date
JP2010025193A true JP2010025193A (ja) 2010-02-04
JP5132457B2 JP5132457B2 (ja) 2013-01-30

Family

ID=41731226

Family Applications (1)

Application Number Title Priority Date Filing Date
JP2008185766A Expired - Fee Related JP5132457B2 (ja) 2008-07-17 2008-07-17 複列円錐ころ軸受

Country Status (1)

Country Link
JP (1) JP5132457B2 (ja)

Cited By (3)

* Cited by examiner, † Cited by third party
Publication number Priority date Publication date Assignee Title
JP5820931B2 (ja) * 2012-06-11 2015-11-24 ジヤトコ株式会社 車両制御装置および車両制御方法
JP2019035458A (ja) * 2017-08-14 2019-03-07 日本精工株式会社 ハブユニット軸受及びハブユニット軸受の組立方法
JP2023136571A (ja) * 2022-03-17 2023-09-29 内山工業株式会社 密封装置

Citations (6)

* Cited by examiner, † Cited by third party
Publication number Priority date Publication date Assignee Title
JPS5682324U (ja) * 1979-11-27 1981-07-03
JPH051023U (ja) * 1991-06-26 1993-01-08 エヌテイエヌ株式会社 密封形転がり軸受
JP2005233341A (ja) * 2004-02-20 2005-09-02 Koyo Seiko Co Ltd 複列円すいころ軸受装置
JP2007009938A (ja) * 2005-06-28 2007-01-18 Nok Corp 密封装置
JP2007187218A (ja) * 2006-01-12 2007-07-26 Ntn Corp 車輪用軸受装置
JP2008025644A (ja) * 2006-07-19 2008-02-07 Ntn Corp 車輪用軸受装置

Patent Citations (6)

* Cited by examiner, † Cited by third party
Publication number Priority date Publication date Assignee Title
JPS5682324U (ja) * 1979-11-27 1981-07-03
JPH051023U (ja) * 1991-06-26 1993-01-08 エヌテイエヌ株式会社 密封形転がり軸受
JP2005233341A (ja) * 2004-02-20 2005-09-02 Koyo Seiko Co Ltd 複列円すいころ軸受装置
JP2007009938A (ja) * 2005-06-28 2007-01-18 Nok Corp 密封装置
JP2007187218A (ja) * 2006-01-12 2007-07-26 Ntn Corp 車輪用軸受装置
JP2008025644A (ja) * 2006-07-19 2008-02-07 Ntn Corp 車輪用軸受装置

Cited By (4)

* Cited by examiner, † Cited by third party
Publication number Priority date Publication date Assignee Title
JP5820931B2 (ja) * 2012-06-11 2015-11-24 ジヤトコ株式会社 車両制御装置および車両制御方法
JP2019035458A (ja) * 2017-08-14 2019-03-07 日本精工株式会社 ハブユニット軸受及びハブユニット軸受の組立方法
JP2023136571A (ja) * 2022-03-17 2023-09-29 内山工業株式会社 密封装置
JP7765816B2 (ja) 2022-03-17 2025-11-07 内山工業株式会社 密封装置

Also Published As

Publication number Publication date
JP5132457B2 (ja) 2013-01-30

Similar Documents

Publication Publication Date Title
JP6717524B2 (ja) 車輪用軸受装置
JP6275465B2 (ja) 密封装置およびこれを備えた車輪用軸受装置
WO2010079734A1 (ja) 車輪用軸受シールおよびこれを備えた車輪用軸受装置
JP6336768B2 (ja) 密封装置およびこれを備えた車輪用軸受装置
JP5132457B2 (ja) 複列円錐ころ軸受
JP6114556B2 (ja) 車輪用軸受装置
JP2016003709A (ja) 車輪用軸受装置
JP2007285322A (ja) 車輪用軸受装置
JP2010159792A (ja) 車輪用軸受装置
JP4731508B2 (ja) 複列円錐ころ軸受
JP2008032067A (ja) 車輪用軸受装置
JP2017067103A (ja) 車輪用軸受装置
JP4807804B2 (ja) 車輪用軸受装置
JP2008163978A (ja) 車輪用軸受装置
JP2011251649A (ja) 車輪用軸受装置
JP6396681B2 (ja) 車輪用軸受装置
JP4936373B2 (ja) 車輪用軸受装置
JP5083861B2 (ja) 車輪用軸受装置
JP2008095716A (ja) 車輪用軸受装置
JP6483460B2 (ja) 密封装置およびこれを備えた車輪用軸受装置
JP2012167750A (ja) 車軸用軸受装置
JP2008169900A (ja) 車輪用軸受装置
JP4969235B2 (ja) 車輪用軸受装置
JP4948149B2 (ja) 車輪用軸受装置
JP5121001B2 (ja) 車輪用軸受装置

Legal Events

Date Code Title Description
A621 Written request for application examination

Free format text: JAPANESE INTERMEDIATE CODE: A621

Effective date: 20110629

A131 Notification of reasons for refusal

Free format text: JAPANESE INTERMEDIATE CODE: A131

Effective date: 20120417

A977 Report on retrieval

Free format text: JAPANESE INTERMEDIATE CODE: A971007

Effective date: 20120419

A521 Request for written amendment filed

Free format text: JAPANESE INTERMEDIATE CODE: A523

Effective date: 20120613

TRDD Decision of grant or rejection written
A01 Written decision to grant a patent or to grant a registration (utility model)

Free format text: JAPANESE INTERMEDIATE CODE: A01

Effective date: 20121010

A01 Written decision to grant a patent or to grant a registration (utility model)

Free format text: JAPANESE INTERMEDIATE CODE: A01

A61 First payment of annual fees (during grant procedure)

Free format text: JAPANESE INTERMEDIATE CODE: A61

Effective date: 20121106

FPAY Renewal fee payment (event date is renewal date of database)

Free format text: PAYMENT UNTIL: 20151116

Year of fee payment: 3

R150 Certificate of patent or registration of utility model

Free format text: JAPANESE INTERMEDIATE CODE: R150

Ref document number: 5132457

Country of ref document: JP

Free format text: JAPANESE INTERMEDIATE CODE: R150

R250 Receipt of annual fees

Free format text: JAPANESE INTERMEDIATE CODE: R250

R250 Receipt of annual fees

Free format text: JAPANESE INTERMEDIATE CODE: R250

R250 Receipt of annual fees

Free format text: JAPANESE INTERMEDIATE CODE: R250

R250 Receipt of annual fees

Free format text: JAPANESE INTERMEDIATE CODE: R250

R250 Receipt of annual fees

Free format text: JAPANESE INTERMEDIATE CODE: R250

R250 Receipt of annual fees

Free format text: JAPANESE INTERMEDIATE CODE: R250

R250 Receipt of annual fees

Free format text: JAPANESE INTERMEDIATE CODE: R250

LAPS Cancellation because of no payment of annual fees