JP2010024845A - 圧縮空気製造設備 - Google Patents

圧縮空気製造設備 Download PDF

Info

Publication number
JP2010024845A
JP2010024845A JP2008183642A JP2008183642A JP2010024845A JP 2010024845 A JP2010024845 A JP 2010024845A JP 2008183642 A JP2008183642 A JP 2008183642A JP 2008183642 A JP2008183642 A JP 2008183642A JP 2010024845 A JP2010024845 A JP 2010024845A
Authority
JP
Japan
Prior art keywords
pressure
discharge
compressor
value
detection means
Prior art date
Legal status (The legal status is an assumption and is not a legal conclusion. Google has not performed a legal analysis and makes no representation as to the accuracy of the status listed.)
Granted
Application number
JP2008183642A
Other languages
English (en)
Other versions
JP5091787B2 (ja
Inventor
Masakazu Hase
征和 長谷
Hiroyuki Matsuda
洋幸 松田
Current Assignee (The listed assignees may be inaccurate. Google has not performed a legal analysis and makes no representation or warranty as to the accuracy of the list.)
Hitachi Industrial Equipment Systems Co Ltd
Original Assignee
Hitachi Industrial Equipment Systems Co Ltd
Priority date (The priority date is an assumption and is not a legal conclusion. Google has not performed a legal analysis and makes no representation as to the accuracy of the date listed.)
Filing date
Publication date
Application filed by Hitachi Industrial Equipment Systems Co Ltd filed Critical Hitachi Industrial Equipment Systems Co Ltd
Priority to JP2008183642A priority Critical patent/JP5091787B2/ja
Publication of JP2010024845A publication Critical patent/JP2010024845A/ja
Application granted granted Critical
Publication of JP5091787B2 publication Critical patent/JP5091787B2/ja
Active legal-status Critical Current
Anticipated expiration legal-status Critical

Links

Images

Landscapes

  • Control Of Positive-Displacement Pumps (AREA)

Abstract

【課題】各吐出空気系統の圧力を検出し、圧縮機の出口から各末端までの圧力差の変動分を即座に演算で求め、最小限の圧力設定や吐出空気量で運転を可能にすることで、大幅な省エネルギー化、および供給圧力の安定を図る圧縮空気製造設備を提供する。
【解決手段】可変速スクリュー圧縮機と、圧縮機に設置された空気の吐出空気系統と、圧縮機側に近い上流の第1の圧力検知手段と、圧縮機側から離れた末端側の第2の圧力検知手段と、制御装置を備え、制御装置は、第1の圧力検知手段で検出した第1の圧力値を元にPID演算を行い圧縮機の回転数を可変する機能と、第1の圧力値と第2の圧力検知手段で検出した第2の圧力値との圧力差を演算する機能と、第1の圧力値から圧力差を減算した値を演算する機能と、PID演算値または圧縮機回転数に応じた第2の圧力値を一定以内にするための目標圧力設定値の関係を設定・記憶する機能を備える。
【選択図】図1

Description

本発明は、インバータ等の可変速装置で制御される圧縮機を備えた圧縮空気製造設備に関する。
スクリュー圧縮機等の圧縮機を使用した圧縮空気製造設備において、圧縮機の運転方法にはロード運転、アンロード運転、及び発停制御があり、ロード運転では一定速圧縮機の全速ロードと可変速圧縮機の回転数制御があり、アンロード運転では吸込絞り弁を微調整する吸込絞り制御と圧縮機内圧力を大気開放するパージ制御がある。そして、前記圧縮機の運転は圧縮機ユニットに内蔵の圧力検出手段で制御を行うことが一般的で、これらの制御は、基本的に圧縮機ユニットと吐出空気系統の上流で検出された吐出圧力を元に行われ、省エネが図られている。
圧縮機の吐出空気吐出口からの空気配管系統では、末端に近くなるほど圧力損失が大きくなるが、圧縮機の吐出空気量と末端での使用空気量の変化で圧力損失も変化する。更に、吐出空気系統には通常エアフィルター等の経年的に圧力損失が大きくなるものもあり、また空気配管系統の末端と呼ばれる箇所は1箇所に限らず、空気配管系統が分岐した吐出空気の複数の使用先全てが末端であり、この各々の吐出空気の使用変動によっても圧力損失は大きく変化する。
そのため、空気配管系統の末端では圧力を一定以上に保つため、最大圧力損失を見込んで圧縮機の吐出圧力の設定値を高く固定的に設定することが一般的であり、図4に示すように使用空気量が少ない場合でも、吐出圧力は余分に高く設定されてしまう。また、平日と土日等日によって使用する吐出空気の量や圧力も異なる場合が多いため、日によって使用する圧縮機や吐出空気系統、圧縮機の圧力設定を変更することが多い。使用空気量が少ないと前記圧力損失は小さくなるが、圧力設定値は上記のように普通固定されたままのため、圧縮機は必要以上に吐出圧力を上昇させ、余分な電力を消費していることになる。
省エネ効果を得つつ供給圧力の安定を図るために、特許文献1には、圧縮機の吐出側に接続された吐出空気系統の上流側位置での圧縮機の吐出圧力を検出する圧力センサと、吐出空気系統の圧力損失を電動機の回転数に応じて演算し、これに基づき吐出空気系統の下流側位置での末端圧力が所定範囲となるように吐出空気系統の上流側位置での圧縮機の吐出圧力の制御範囲を変更し、圧力センサで検出した圧縮機の吐出圧力がその変更した制御範囲となるように、電動機の回転数をインバータを介し可変制御する制御装置とを備える圧縮空気製造装置が示されている。
特開2008−19746号公報
しかしながら、特許文献1では吐出空気系統の圧力損失を電動機の回転数に応じて演算で求めているため、吐出空気系統の下流側位置での末端圧力が、負荷(流量)変動による途中の圧力損失の変化により急激に変化したとき、圧力損失の変化を即座に求めることが困難で電動機の回転数への反映に応答遅れがあり、省エネに反する恐れがある。また、この応答遅れにより末端圧力の急激な変化に対し、回転数の増減がハンチングする恐れがある。
本発明は、各吐出空気系統の圧力を検出し、圧縮機の出口から各末端までの圧力差の変動分を即座に演算で求め、最小限の圧力設定や吐出空気量で運転を可能にすることで、大幅な省エネルギー化、および供給圧力の安定を図る圧縮空気製造設備を提供する。
上記目的を達成するために、本発明は、電動機の回転速度を可変で駆動して容量制御を行う可変速圧縮機と、圧縮機の吐出空気を導く空気の吐出空気系統と、前記電動機の回転数を可変制御する可変速装置を備えた圧縮空気製造設備において、前記吐出空気系統の圧縮機側に近い上流の第1の吐出圧力を検知する第1圧力検知手段と、前記吐出空気系統の末端側に近い第2の吐出圧力を検知する第2圧力検知手段と、前記第1の吐出圧力と設定した目標圧力設定値の偏差に基いてPIまたはPID演算を行い前記可変速装置へ回転数の指令値を与える制御装置を備え、前記制御装置は、前記PIまたはPID演算した値、または圧縮機の回転数を基に運転中に前記目標圧力設定値を変更すると共に、この変更された目標圧力設定値を前記第1の吐出圧力と第2の吐出圧力との圧力差の瞬時的変化時の変化分に基いて補正するように構成されたことを特徴とする。
また、前記制御装置は、前記第1の吐出圧力と第2の吐出圧力との圧力差を求める圧力差演算手段と、前記第2の吐出圧力を一定以内にするための、前記PIまたはPID演算した値または圧縮機の回転数に応じた目標圧力設定値の関係を設定・記憶する手段と、前記PIまたはPID演算した値、または圧縮機の回転数を基に運転中に前記目標圧力設定値を変更すると共に、この変更された目標圧力設定値を前記圧力差の瞬時的変化時および経年変化の変化分に基いて補正する変更・補正手段を、備えたことを特徴とする。
また、前記第2圧力検知手段を複数備え、前記制御装置は複数の第2の圧力検知手段で検出した全ての吐出圧力で最も低い値を第2の吐出圧力とすることを特徴とする。また、前記第2の圧力検知手段を複数備え、前記制御装置は第2の複数の圧力検知手段で検出した全ての吐出圧力値の平均値を第2の吐出圧力とすることを特徴とする。また、前記第2の圧力検知手段を複数備え、前記制御装置は第1の吐出圧力に対して第2の複数の圧力検知手段で検出した各々の吐出圧力が、設定した一定範囲より全て低くない場合は前記全ての吐出圧力値の平均値を第2の吐出圧力とし、設定した一定範囲より最も低くなった箇所がある場合はその箇所を第2の吐出圧力とすることを特徴とする。
本発明によれば、圧縮機の出口から末端までの圧力損失の変動分を即座に圧縮機の制御に反映できるので、最小限の圧力設定や吐出空気量で運転を可能にするができる。また、末端圧力の急激な変動に対して制御の応答遅れが小さいので、ハンチングが起こり難くより安定した末端の供給圧力を得ることができる。
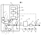
本発明の一実施例を、図1、図2、図3、図4を用いて説明する。図1は、本発明の第1実施例の圧縮空気製造設備のフロー図である。図2は、本発明の第2、3、4実施例の圧縮空気製造設備のフロー図である。図3は、本発明の実施例の使用空気量と吐出圧力の関係図である。図4は、従来例の使用空気量と吐出圧力の関係図である。
以下、図1、図3、図4を用いて本発明の第1実施例を説明する。なお、本実施例の説明に関係のない構造については省略してある。
本実施例の圧縮空気製造設備の可変速スクリュー圧縮機ユニット1では、大気から吸込んだ空気2が吸込みフィルター3で濾過され、吸込み絞り弁4で吸込み量を調整され、スクリュー圧縮機本体5にて圧縮されて逆止弁8を通過して吐出配管系統(吐出空気系統)15の上流側15aに吐き出される。吐出された圧縮空気は空気槽12に充填され、エアフィルター13で濾過されて配管系統15の末端側15bに流れていく。
前記吐出配管系統15の上流側15aの第1の吐出圧力と、末端側15bの第2の吐出圧力は、それぞれ圧力センサー11(第1圧力検知手段)と14(第2圧力検知手段)で検出され、制御装置10に入力される。また、制御装置10には、後述の可変速装置(インバータ)7からの運転アンサー、故障状態及び運転周波数の信号が入力される。
制御装置10からは、吸込み絞り弁4の弁を開閉させるための電磁弁9へのON/OFF信号と、スクリュー圧縮機本体5を駆動させるための電動機6に駆動信号を出力をする可変速装置7へ、運転、停止と運転の際の周波数指令信号を出力する機能を有する。
制御装置10は、圧力差演算手段10a、設定・記憶手段10b、及び変更・補正手段10cを内蔵している。圧力差演算手段10aは、圧力センサー11と14で検出された第1の吐出圧力と第2の吐出圧力の圧力差を求める。制御装置10は前記第1の吐出圧力と目標圧力設定値の偏差に基いてPIまたはPID演算を行い前記可変速装置へ回転数の指令値を与えるが、前記設定・記憶手段10bは、前記PIまたはPID演算を行う際の、第2の吐出圧力を一定以内にするためのPID演算値、または回転数に応じた前記目標圧力設定値の関係を設定記憶している。例えば、第2の吐出圧力に対する演算値、または回転数に応じた目標圧力設定値の関係が、式またはテーブルの形で記憶されている。
変更・補正手段10cは、前記PIまたはPID演算した値、または圧縮機の回転数を基に運転中に前記目標圧力設定値を変更すると共に、この変更された目標圧力設定値を、前記圧力差の瞬時的変化時にPID演算によりその変化分を求め、この変化分に基いて補正する。
圧力センサー11から空気槽12までの圧力損失20をΔP1a、空気槽12からエアフィルター13の1次側までの圧力損失21をΔP2a、エアフィルター13の圧力損失22をΔP3a、エアフィルター13の2次側から圧力センサー14つまり末端までの圧力損失23をΔP4aとする。
制御装置10は圧力センサー11で検出した圧力と予め設定した目標圧力値の偏差に基づきPID制御を行い、可変速装置7へ周波数指令を出力し、可変速装置7は入力された周波数指令を元に電動機6に周波数を可変した電力を出力し、電動機6は入力された周波数に同期した回転数で回転し圧縮機5を駆動させる。
圧縮機5で圧縮された圧縮空気は逆止弁8、圧力センサー11等を通過して末端側15bに流れていくが、圧縮空気の圧力は圧力センサー11でまた検出され、制御装置10に入力されるフィードバック制御を常時行うことで圧力センサー11の吐出圧力を目標圧力値の一定以内に制御することができる。以上がPID演算による圧縮機の可変速制御である。
圧力センサー11の第1の吐出圧力と共に、圧力センサー14の第2の吐出圧力も検出しており、この第1の吐出圧力と第2吐出圧力の圧力差は圧力損失である。この圧力損失は、負荷が重い(使用空気量が多い)と大きくなり、負荷が軽いと小さくなる。上記圧縮機の可変速制御では、図4に示すように圧力センサー11の吐出圧力は30で、圧力センサー14の吐出圧力は31で、圧力損失は32で示される。
本発明実施例では、配管系統の末端側15bは、最低約0.49MPaを維持できれば良いので、負荷が急激に減少して圧力センサー11と圧力センサー14の差圧で示される圧力損失ΔP1a+ΔP2a+ΔP3a+ΔP4a=ΔPが少ない方向に変化した場合に、変更・補正手段10cによりPID制御によりその変化分を求め、それまでの目標圧力設定値からこの変化分を減算して、新たな目標圧力設定値に補正している。
即ち、図3で最初に目標圧力設定値を0.69Mpaに、また末端の吐出圧力を0.49Mpaに設定して運転した場合、圧力センサ11と14の差圧はΔP1で示される。運転中に負荷の一部が停止された場合(負荷が軽くなった)、流量が急激に下がるので圧力センサ14での末端側の吐出圧力は急激に上昇する。一方、このタイミングでは応答遅れのために圧力センサ11での上流側の吐出圧力は変化がないので、両センサの差圧(圧力損失)が末端側の吐出圧力の上記急激な上昇分(変化分)だけ小さくなる。この上昇分は末端側の吐出圧力の変化を前記変更・補正手段10cのPID制御により求められ、さらにそれまでの目標圧力設定値0.69Mpaからこの変化分を減算して、直ちに新たな目標圧力設定値に補正する。
図3で示すと、最初に目標圧力設定値を0.69Mpaに、また末端側の吐出圧力を0.49Mpaに設定した場合の圧力センサ11と14の差圧はΔP1で示され、末端側の吐出圧力の変化分はΔP3で示され、最初の目標圧力設定値0.69Mpaからこの変化分ΔP3を減算して、新たな目標圧力設定値に補正される。このときの圧力損失はΔP1からΔP2に変化することになる。
圧力損失の変化は負荷変動以外に経年的変化によっても起り、ゆっくりと増加する。この場合は、前記設定・記憶手段10bに記憶されている、第2の吐出圧力に対する演算値または回転数と目標圧力設定値の関係に基いて、目標圧力設定値が変更される。
このように、負荷変動による圧力変化が最初に現れる末端側15bで吐出圧の変化を即座に検知し、上流側15aの目標圧力設定値に補正を加えるので、応答遅れなく新たな目標圧力設定値で制御を続けることができ、ハンチングを起こすことが少ない。
なお、負荷の急減による前記末端側の吐出圧力の上昇分(変化分)は、圧力損失の変化分(ΔP1−ΔP2=ΔP3)から求める方法と、末端側の吐出圧力の変化から直接求める方法がある。また、上記と逆に負荷が急増した場合は、末端側の吐出圧力が急減するので、前記と逆に変化分をそれまでの目標圧力設定値に加算して新たな目標圧力設定値に補正されることになる。そして、常に新たな目標圧力設定値に基いてPID演算による圧縮機の可変速制御が継続して行われる。
本実施例によれば、図3に示すように配管系統15の末端側15bを0.49MPaを維持して、配管系統15の上流側15aの圧力(センサー11の圧力)を27として最小限に制御することができるため、省エネルギー効果を向上させることができる。
次に、図2、3、4を用いて本発明の第2の実施例を説明する。なお、本実施例の説明に関係のない構造については省略してあり、第1の実施例で説明した内容については省略してある。
圧縮空気はエアフィルター13の2次側からそれぞれ配管系統の末端側15bと配管系統の末端側17bと配管系統の末端側19bに吐き出されるが、各々圧力センサー14と圧力センサー16と圧力センサー18により圧力を検出し制御装置10に入力されるようになっている。また、エアフィルター13から各圧力センサーまでの圧力損失23と圧力損失24と圧力損失25は、各々ΔP4a、ΔP4b、ΔP4cとなる。
配管系統の末端側15b、17b、19bは、全て最低0.49MPaを維持できれば良いので、圧力センサー11と圧力センサー14、16、18との間の各々の圧力損失の内、最大の圧力損失ΔPにおいて、目標圧力設定値から圧力損失ΔPの変化分を減算した値を常に目標圧力設定値に補正する。言い換えれば、制御手段10は、第2圧力検出手段(圧力センサー14、16、18)で検出された圧力の中で、最も低い圧力を第2吐出圧力として目標圧力設定値を補正する。図3において、圧力センサー11の圧力が27で、圧力損失が最大となった圧力センサーの圧力が28で、圧力損失が29の関係とすることができる。
次に、図2、3、4を用いて本発明の第3の実施例を説明する。なお、本実施例の説明に関係のない構造については省略してあり、第1の実施例で説明した内容については省略してある。圧縮空気はエアフィルター13の2次側からそれぞれ配管系統の末端側15bと配管系統の末端側17bと配管系統の末端側19bに吐き出されるが、各々圧力センサー14と圧力センサー16と圧力センサー18により圧力を検出し、制御装置10に入力されるようになっている。またエアフィルター13から各圧力センサーまでの圧力損失23と圧力損失24と圧力損失25は各々ΔP4a、ΔP4b、ΔP4cとなる。
配管系統の末端側15b、17b、19bの平均値を最低0.49MPaに維持できれば良いので、圧力センサー11と圧力センサー14、16、18の間の各々の圧力損失の平均値となる圧力損失ΔPにおいて、目標圧力設定値から圧力損失ΔPの変化分を減算した値を常に目標圧力設定値に補正する。言い換えれば、前記制御装置10は第2の圧力検出手段(圧力センサー14、16、18)で検出した圧力の全ての平均値を第2の吐出圧力とする。図3において、圧力センサー11の圧力が27で、圧力センサー14,16,18間の圧力損失の平均の圧力が28で、圧力損失が29の関係とすることができる。
次に、図2、3、4を用いて本発明の第4の実施例を説明する。なお、本実施例の説明に関係のない構造については省略してあり、第1の実施例で説明した内容については省略してある。圧縮空気はエアフィルター13の2次側からそれぞれ配管系統の末端15bと配管系統の末端側17bと配管系統の末端側19bに吐き出されるが、各々圧力センサー14と圧力センサー16と圧力センサー18により圧力を検出し、制御装置10に入力されるようになっている。またエアフィルター13から各圧力センサーまでの圧力損失23と圧力損失24と圧力損失25は各々ΔP4a、ΔP4b、ΔP4cとなる。
配管系統の末端側15b、17b、19bは全て最低0.49MPaを維持できれば良いので、圧力センサー11と圧力センサー14、16、18の間の各々の圧力損失の平均値となる圧力損失ΔPにおいて、目標圧力設定値から圧力損失ΔPの変化分を減算した値を常に新たな目標圧力設定値に補正する。また、圧力センサー14,16,18の間の圧力の内どれか0.49MPaを下回る場合のみ圧力センサー11とその0.49MPaを下回る圧力センサー間の圧力損失ΔPにおいて、目標圧力設定値から圧力損失ΔPの変化分を減算した値を常に新たな目標圧力設定値に補正する。言い換えれば、前記制御装置10は第1の吐出圧力に対して第2の複数の圧力検知手段で検出した各々の吐出圧力が、設定した一定範囲より全て低くない場合は、前記全ての吐出圧力値の平均値を第2の吐出圧力とし、設定した一定範囲より最も低くなった箇所がある場合はその低くなった箇所を第2の吐出圧力とする。
図3において、圧力センサー11の圧力が27で、圧力センサー14,16,18の平均、またはどれかの圧力が28で、圧力損失が29の関係とすることができる。
本発明の第1の実施例の圧縮空気製造設備のフロー図である。 本発明の第2、3、4の実施例の圧縮空気製造設備のフロー図である。 本発明の実施例の使用空気量と吐出圧力の関係図である。 従来例の使用空気量と吐出圧力の関係図である。
符号の説明
1…可変速スクリュー圧縮機ユニット、2…大気からの空気の吸込み、3…吸込みフィルター、4…吸込み絞り弁、5…スクリュー圧縮機本体、6…電動機、7…可変速装置、8…逆止弁、9…電磁弁、10…制御装置、10a…圧力差演算装置、10b…設定・記憶装置、10c…変更・補正手段、11…圧力センサー(第1の圧力検知手段)、12…空気槽、13…エアフィルター、14…圧力センサー(第2の圧力検知手段)、15…配管系統、15b…配管系統の末端側、16…圧力センサー(第2の圧力検知手段)、17b…配管系統の末端側、18…圧力センサー(第2の圧力検知手段)、19b…配管系統の末端側、20…圧力損失ΔP1a、21…圧力損失ΔP2a、22…圧力損失ΔP3a、23…圧力損失ΔP4a、24…圧力損失ΔP4b、25…圧力損失ΔP4c、26…外部入力信号、27…圧力センサー11の圧力、28…圧力センサー14の圧力、29…圧力損失、30…圧力センサー11の圧力、31…圧力センサー14の圧力、32…圧力損失。

Claims (5)

  1. 電動機の回転速度を可変で駆動して容量制御を行う可変速圧縮機と、圧縮機の吐出空気を導く空気の吐出空気系統と、前記電動機の回転数を可変制御する可変速装置を備えた圧縮空気製造設備において、
    前記吐出空気系統の圧縮機側に近い上流の第1の吐出圧力を検知する第1圧力検知手段と、
    前記吐出空気系統の末端側に近い第2の吐出圧力を検知する第2圧力検知手段と、
    前記第1の吐出圧力と設定した目標圧力設定値の偏差に基いてPIまたはPID演算を行い前記可変速装置へ回転数の指令値を与える制御装置を備え、
    前記制御装置は、前記PIまたはPID演算した値、または圧縮機の回転数を基に運転中に前記目標圧力設定値を変更すると共に、この変更された目標圧力設定値を前記第1の吐出圧力と第2の吐出圧力との圧力差の瞬時的変化時の変化分に基いて補正するように構成されたことを特徴とする圧縮空気製造設備。
  2. 前記制御装置は、
    前記第1の吐出圧力と第2の吐出圧力との圧力差を求める圧力差演算手段と、
    前記第2の吐出圧力を一定以内にするための、前記PIまたはPID演算した値または圧縮機の回転数に応じた目標圧力設定値の関係を設定・記憶する手段と、
    前記PIまたはPID演算した値、または圧縮機の回転数を基に運転中に前記目標圧力設定値を変更すると共に、この変更された目標圧力設定値を前記圧力差の瞬時的変化時の変化分に基いて補正する変更・補正手段を、
    備えたことを特徴とする請求項1記載の圧縮空気製造設備。
  3. 前記第2圧力検知手段を複数備え、前記制御装置は複数の第2の圧力検知手段で検出した全ての吐出圧力で最も低い値を第2の吐出圧力とすることを特徴とする請求項1または2に記載の圧縮空気製造設備。
  4. 前記第2の圧力検知手段を複数備え、前記制御装置は第2の複数の圧力検知手段で検出した全ての吐出圧力値の平均値を第2の吐出圧力とすることを特徴とする請求項1記載の圧縮空気製造設備。
  5. 前記第2の圧力検知手段を複数備え、前記制御装置は第1の吐出圧力に対して第2の複数の圧力検知手段で検出した各々の吐出圧力が、設定した一定範囲より全て低くない場合は前記全ての吐出圧力値の平均値を第2の吐出圧力とし、設定した一定範囲より最も低くなった箇所がある場合はその箇所を第2の吐出圧力とすることを特徴とする請求項1または2に記載の圧縮空気製造設備。
JP2008183642A 2008-07-15 2008-07-15 圧縮空気製造設備 Active JP5091787B2 (ja)

Priority Applications (1)

Application Number Priority Date Filing Date Title
JP2008183642A JP5091787B2 (ja) 2008-07-15 2008-07-15 圧縮空気製造設備

Applications Claiming Priority (1)

Application Number Priority Date Filing Date Title
JP2008183642A JP5091787B2 (ja) 2008-07-15 2008-07-15 圧縮空気製造設備

Publications (2)

Publication Number Publication Date
JP2010024845A true JP2010024845A (ja) 2010-02-04
JP5091787B2 JP5091787B2 (ja) 2012-12-05

Family

ID=41730920

Family Applications (1)

Application Number Title Priority Date Filing Date
JP2008183642A Active JP5091787B2 (ja) 2008-07-15 2008-07-15 圧縮空気製造設備

Country Status (1)

Country Link
JP (1) JP5091787B2 (ja)

Cited By (7)

* Cited by examiner, † Cited by third party
Publication number Priority date Publication date Assignee Title
JP2017115730A (ja) * 2015-12-25 2017-06-29 株式会社日立産機システム 空圧システム運転制御装置および制御方法
WO2018092866A1 (ja) * 2016-11-17 2018-05-24 株式会社日立産機システム 末端圧力制御装置および末端圧力制御方法
WO2018123399A1 (ja) * 2016-12-28 2018-07-05 株式会社日立産機システム 流体供給設備及びその制御方法
JP2019125156A (ja) * 2018-01-17 2019-07-25 株式会社日立産機システム 空圧システムのリアルタイム制御装置および方法
CN111853533A (zh) * 2019-04-24 2020-10-30 株式会社日立产机系统 压缩空气制造设备、目标压力调节方法和记录介质
JP2020180576A (ja) * 2019-04-25 2020-11-05 マックス株式会社 空気圧縮機
WO2025248831A1 (ja) * 2024-05-29 2025-12-04 株式会社日立産機システム 圧縮機制御システムおよび圧縮機の制御方法

Citations (11)

* Cited by examiner, † Cited by third party
Publication number Priority date Publication date Assignee Title
JP2000038990A (ja) * 1998-07-21 2000-02-08 Hitachi Ltd 空気圧縮装置の制御装置および制御方法
JP2001073956A (ja) * 2000-07-31 2001-03-21 Hitachi Ltd インバータ駆動スクリュー圧縮機の運転方法
JP2001342982A (ja) * 2000-06-02 2001-12-14 Hitachi Ltd スクリュー圧縮装置とその運転制御方法
JP2004116381A (ja) * 2002-09-26 2004-04-15 Shin Nippon Jusetsu Corporation:Kk 空気圧縮機自動運転システム
JP2004190583A (ja) * 2002-12-11 2004-07-08 Hitachi Industrial Equipment Systems Co Ltd スクリュー圧縮機
JP2004263631A (ja) * 2003-03-03 2004-09-24 Kobe Steel Ltd スクリュ圧縮機およびその運転方法
JP2005016330A (ja) * 2003-06-24 2005-01-20 Hitachi Koki Co Ltd 圧力スイッチ機構及びこれを用いた空気圧縮機
JP2005510662A (ja) * 2001-11-19 2005-04-21 ルーク ファールツォイク・ヒドラウリク ゲゼルシャフト ミット ベシュレンクテル ハフツング ウント コンパニー コマンディートゲゼルシャフト 往復ピストン機械の行程検出法
JP2007120497A (ja) * 2005-09-30 2007-05-17 Hitachi Ltd 空気圧縮装置の制御装置
JP2007177670A (ja) * 2005-12-27 2007-07-12 Hitachi Plant Technologies Ltd インバータ駆動容積形圧縮機の容量制御装置及び方法
JP2008019746A (ja) * 2006-07-11 2008-01-31 Hitachi Industrial Equipment Systems Co Ltd 圧縮空気製造設備

Patent Citations (11)

* Cited by examiner, † Cited by third party
Publication number Priority date Publication date Assignee Title
JP2000038990A (ja) * 1998-07-21 2000-02-08 Hitachi Ltd 空気圧縮装置の制御装置および制御方法
JP2001342982A (ja) * 2000-06-02 2001-12-14 Hitachi Ltd スクリュー圧縮装置とその運転制御方法
JP2001073956A (ja) * 2000-07-31 2001-03-21 Hitachi Ltd インバータ駆動スクリュー圧縮機の運転方法
JP2005510662A (ja) * 2001-11-19 2005-04-21 ルーク ファールツォイク・ヒドラウリク ゲゼルシャフト ミット ベシュレンクテル ハフツング ウント コンパニー コマンディートゲゼルシャフト 往復ピストン機械の行程検出法
JP2004116381A (ja) * 2002-09-26 2004-04-15 Shin Nippon Jusetsu Corporation:Kk 空気圧縮機自動運転システム
JP2004190583A (ja) * 2002-12-11 2004-07-08 Hitachi Industrial Equipment Systems Co Ltd スクリュー圧縮機
JP2004263631A (ja) * 2003-03-03 2004-09-24 Kobe Steel Ltd スクリュ圧縮機およびその運転方法
JP2005016330A (ja) * 2003-06-24 2005-01-20 Hitachi Koki Co Ltd 圧力スイッチ機構及びこれを用いた空気圧縮機
JP2007120497A (ja) * 2005-09-30 2007-05-17 Hitachi Ltd 空気圧縮装置の制御装置
JP2007177670A (ja) * 2005-12-27 2007-07-12 Hitachi Plant Technologies Ltd インバータ駆動容積形圧縮機の容量制御装置及び方法
JP2008019746A (ja) * 2006-07-11 2008-01-31 Hitachi Industrial Equipment Systems Co Ltd 圧縮空気製造設備

Cited By (22)

* Cited by examiner, † Cited by third party
Publication number Priority date Publication date Assignee Title
EP3396160A4 (en) * 2015-12-25 2019-08-14 Hitachi Industrial Equipment Systems Co., Ltd. CONTROL DEVICE AND CONTROL METHOD FOR COMPRESSED AIR SYSTEM OPERATION
WO2017110120A1 (ja) 2015-12-25 2017-06-29 株式会社日立産機システム 空圧システム運転制御装置および制御方法
CN108138761A (zh) * 2015-12-25 2018-06-08 株式会社日立产机系统 气动系统运行控制装置和控制方法
JP2017115730A (ja) * 2015-12-25 2017-06-29 株式会社日立産機システム 空圧システム運転制御装置および制御方法
US10550837B2 (en) 2015-12-25 2020-02-04 Hitachi Industrial Equipment Systems Co., Ltd. Pneumatic system operation control device and control method
WO2018092866A1 (ja) * 2016-11-17 2018-05-24 株式会社日立産機システム 末端圧力制御装置および末端圧力制御方法
JP2018080656A (ja) * 2016-11-17 2018-05-24 株式会社日立産機システム 末端圧力制御装置および末端圧力制御方法
WO2018123399A1 (ja) * 2016-12-28 2018-07-05 株式会社日立産機システム 流体供給設備及びその制御方法
JPWO2018123399A1 (ja) * 2016-12-28 2019-10-31 株式会社日立産機システム 流体供給設備及びその制御方法
US11536263B2 (en) 2018-01-17 2022-12-27 Hitachi Industrial Equipment Systems Co., Ltd. Air pressure system
JP2019125156A (ja) * 2018-01-17 2019-07-25 株式会社日立産機システム 空圧システムのリアルタイム制御装置および方法
CN111448391A (zh) * 2018-01-17 2020-07-24 株式会社日立产机系统 空气压缩系统
WO2019142840A1 (ja) * 2018-01-17 2019-07-25 株式会社日立産機システム 空圧システム
CN111853533A (zh) * 2019-04-24 2020-10-30 株式会社日立产机系统 压缩空气制造设备、目标压力调节方法和记录介质
JP2020180570A (ja) * 2019-04-24 2020-11-05 株式会社日立産機システム 圧縮空気製造設備、圧縮空気の目標圧調整方法、および圧縮空気の目標圧調整プログラム
JP7179673B2 (ja) 2019-04-24 2022-11-29 株式会社日立産機システム 圧縮空気製造設備、圧縮空気の目標圧調整方法、および圧縮空気の目標圧調整プログラム
CN111853533B (zh) * 2019-04-24 2023-04-21 株式会社日立产机系统 压缩空气制造设备和目标压力调节方法
US11976788B2 (en) 2019-04-24 2024-05-07 Hitachi Industrial Equipment Systems Co., Ltd. Compressed air production facility, compressed air pressure setpoint adjusting method, and compressed air pressure setpoint adjusting program
JP2020180576A (ja) * 2019-04-25 2020-11-05 マックス株式会社 空気圧縮機
US11274674B2 (en) * 2019-04-25 2022-03-15 Max Co., Ltd. Air compressor
JP7326847B2 (ja) 2019-04-25 2023-08-16 マックス株式会社 空気圧縮機
WO2025248831A1 (ja) * 2024-05-29 2025-12-04 株式会社日立産機システム 圧縮機制御システムおよび圧縮機の制御方法

Also Published As

Publication number Publication date
JP5091787B2 (ja) 2012-12-05

Similar Documents

Publication Publication Date Title
KR101167556B1 (ko) 압축기 대수 제어 시스템
JP5091787B2 (ja) 圧縮空気製造設備
JP4786443B2 (ja) 圧縮空気製造設備
RU2730780C1 (ru) Антипомпажное регулирование частоты вращения роторов для двух или более компрессоров
US6287083B1 (en) Compressed air production facility
JP3837278B2 (ja) 圧縮機の運転方法
CN110878759B (zh) 一种高转速离心式压缩机防喘振控制方法
JP7438344B2 (ja) 燃料電池システムを作動させる方法
US10256488B2 (en) Fuel cell system and control method of the same
CN101163887A (zh) 用于在停止期间控制变速压缩机的系统和方法
JP4924855B1 (ja) 圧縮機台数制御システム
JP3125794B2 (ja) スクリュー圧縮機の容量制御方法及び装置
CN101554995A (zh) 节能型空气分离制氧装置
JP6997648B2 (ja) 圧縮機システム
CA2864639C (en) Method and device for separating gases
CN102465867B (zh) 压缩装置及其运转控制方法
JP3470042B2 (ja) スクリュー圧縮機の圧力制御方法
CN100400871C (zh) 压缩机
JP5672551B2 (ja) 圧縮機台数制御システム
JP5891115B2 (ja) 圧縮装置の制御方法、及び圧縮装置
JP5424970B2 (ja) 圧縮装置および圧縮装置の運転方法
JP4351623B2 (ja) 圧縮機設備およびその制御方法
JP4496886B2 (ja) ターボ圧縮機システムの運転方法
WO2017159279A1 (ja) 圧縮機
JP5915932B2 (ja) 圧縮機台数制御システム

Legal Events

Date Code Title Description
A621 Written request for application examination

Free format text: JAPANESE INTERMEDIATE CODE: A621

Effective date: 20110418

A977 Report on retrieval

Free format text: JAPANESE INTERMEDIATE CODE: A971007

Effective date: 20120821

TRDD Decision of grant or rejection written
A01 Written decision to grant a patent or to grant a registration (utility model)

Free format text: JAPANESE INTERMEDIATE CODE: A01

Effective date: 20120828

A01 Written decision to grant a patent or to grant a registration (utility model)

Free format text: JAPANESE INTERMEDIATE CODE: A01

A61 First payment of annual fees (during grant procedure)

Free format text: JAPANESE INTERMEDIATE CODE: A61

Effective date: 20120914

FPAY Renewal fee payment (event date is renewal date of database)

Free format text: PAYMENT UNTIL: 20150921

Year of fee payment: 3

R150 Certificate of patent or registration of utility model

Ref document number: 5091787

Country of ref document: JP

Free format text: JAPANESE INTERMEDIATE CODE: R150

Free format text: JAPANESE INTERMEDIATE CODE: R150