JP2010020846A - 半導体記憶装置の読み出し回路 - Google Patents

半導体記憶装置の読み出し回路 Download PDF

Info

Publication number
JP2010020846A
JP2010020846A JP2008180969A JP2008180969A JP2010020846A JP 2010020846 A JP2010020846 A JP 2010020846A JP 2008180969 A JP2008180969 A JP 2008180969A JP 2008180969 A JP2008180969 A JP 2008180969A JP 2010020846 A JP2010020846 A JP 2010020846A
Authority
JP
Japan
Prior art keywords
voltage
circuit
gate
transistor
connection node
Prior art date
Legal status (The legal status is an assumption and is not a legal conclusion. Google has not performed a legal analysis and makes no representation as to the accuracy of the status listed.)
Granted
Application number
JP2008180969A
Other languages
English (en)
Other versions
JP5341412B2 (ja
Inventor
Junpei Maruyama
純平 丸山
Sadao Yoshikawa
定男 吉川
Current Assignee (The listed assignees may be inaccurate. Google has not performed a legal analysis and makes no representation or warranty as to the accuracy of the list.)
Sanyo Electric Co Ltd
System Solutions Co Ltd
Original Assignee
Sanyo Electric Co Ltd
Sanyo Semiconductor Co Ltd
Priority date (The priority date is an assumption and is not a legal conclusion. Google has not performed a legal analysis and makes no representation as to the accuracy of the date listed.)
Filing date
Publication date
Application filed by Sanyo Electric Co Ltd, Sanyo Semiconductor Co Ltd filed Critical Sanyo Electric Co Ltd
Priority to JP2008180969A priority Critical patent/JP5341412B2/ja
Publication of JP2010020846A publication Critical patent/JP2010020846A/ja
Application granted granted Critical
Publication of JP5341412B2 publication Critical patent/JP5341412B2/ja
Active legal-status Critical Current
Anticipated expiration legal-status Critical

Links

Images

Landscapes

  • Read Only Memory (AREA)

Abstract

【課題】半導体記憶装置の読み出し回路において、読み出し動作を高速化する。
【解決手段】センスアンプ131の接続ノードAの電圧を所定電圧に初期設定するためのスタートアップ回路132を設けた。スタートアップ回路132の出力端子と接続ノードAの間には、Pチャネル型MOSトランジスタからなる転送ゲートMT6が挿入されている。転送ゲートMT6のオンオフは、そのゲートに印加されたスタートアップ・イネーブル信号STPENによって制御される。すなわち、転送ゲートMT6は、スタートアップ・イネーブル信号STPENがロウのときにオンし、スタートアップ回路132の出力電圧Soutを接続ノードAに転送する。
【選択図】図3

Description

本発明は、半導体記憶装置の読み出し回路に関する。
近年、電気的にプログラム及び消去可能な不揮発性メモリ(EEPROM; Electrically Erasable Read Only Memory)は、携帯電話やデジタルスチルカメラなどの電子機器に広く用いられている。EEPROMは、フローティングゲートを有するメモリセルを備える。そして、フローティングゲートに電荷が蓄積されているか否かで2値またはそれ以上のデータをメモリセルに記録し、フローティングゲートの電荷の有無によるソース領域とドレイン領域との間の導通の変化によって、メモリセルからデータを読み出す。
EEPROMに設けられた読み出し回路は、ある一定の電圧に安定させたリファレンス電圧と、メモリセルに流れるセル電流(読み出し電流)から作られるデータ電圧とを比較することで、データ「0」、「1」の判定を行う。
この種のEEPROMは特許文献1〜6に記載されている。
米国特許第5029130号 米国特許第5045488号 米国特許5067108号 特開平11−274329号公報 特開2005−159336号公報 特開2000−173278号公報
EEPROMにおいては、上述のような差動型のセンスアンプを用いた読み出し回路が設けられる。しかし、不活性時に電圧が不定状態になるノードを有するセンスアンプにおいては、初期状態において前記ノードの電圧がノイズの影響等により変動することになる。そうすると、このような初期状態におけるノード電圧のばらつきにより、センスアンプが活性化してから読み出しが可能になるまでの時間に差が現れる。即ち、初期状態におけるノード電圧のばらつきによってデータの読み出し時間に差が生じてしまう。
このような場合、想定される最も遅い読み出し時間(読み出し時間のワースト値)を基準に規格を定めなければならず、読み出しの高速化の観点から問題がある。
そこで、本発明の半導体記憶装置の読み出し回路は、メモリセルからのデータ電圧がゲートに印加された第1のトランジスタと、リファレンス電圧がゲートに印加された第2のトランジスタと、前記第1のトランジスタに直列に接続され、ゲートが前記第1のトランジスタとの接続ノードに接続された第3のトランジスタと、前記第2のトランジスタに直列に接続され、ゲートが前記第3のトランジスタのゲートに接続された第4のトランジスタと、を備え、前記データ電圧と前記リファレンス電圧との差を増幅して出力するセンスアンプと、前記接続ノードの電圧を所定電圧に初期設定するスタートアップ回路と、前記スタートアップ回路により前記接続ノードの電圧を所定電圧に設定した後に、前記センスアンプを活性化させる制御スイッチと、を備えることを特徴とする。
本発明の半導体記憶装置の読み出し回路によれば、スタートアップ回路により、不活性時に電圧が不定状態になるノードを所定電圧に初期設定しているので、センスアンプが活性化してから読み出しが可能になるまでの時間のばらつきを無くすことができる。また、スタートアップ回路により設定される所定電圧を調節することにより、読み出し時間を最適値に近づけることも可能になる。
本発明の実施形態について図面を参照しながら説明する。
(EEPROMの全体の構成)
図1は、半導体記憶装置の回路ブロック図である。図示のように、メモリアレイ領域10において、複数のビット線BL0〜BLnがY方向に延びており、Y方向と直交するX方向に、複数のワード線WL0〜WLm、複数のソース線SL0〜SLmが延びている。複数のビット線BL0〜BLnと複数のワード線WL0〜WLmの各交差点に対応して、複数のメモリセルMCが設けられている。
また、メモリアレイ領域10に隣接して、カラムアドレス信号に基づいて複数のビット線BL0〜BLnの中から1つを選択するカラムデコーダ11と、ロウアドレス信号に基づいて複数のワード線WL0〜WLmの中から1つを選択するロウデコーダ12が設けられている。
そして、カラムデコーダ11によって選択されたビット線に現れるメモリセルMCからのデータを読み出す読み出し回路13が設けられている。読み出し回路13は、安定したリファレンス電圧Vrefと、メモリセルMCに流れるセル電流(読み出し電流)から作られるデータ電圧とを比較することで、データ「0」、「1」の判定を行う。尚、図示は省略するが、カラムデコーダ11によって選択されたビット線を介して、データの書き込みを行う書き込み回路も設けられている。また、メモリセルの書き込み、読み出し、消去の各シーケンスを制御する制御回路も設けられている。
(メモリセルの構成)
メモリセルMCの具体的な構成例について、図2を参照して説明する。このメモリセルMCは、スプリットゲート型であり、半導体基板101上に所定間隔を隔てて形成されたドレイン領域113及びソース領域114の間にチャネル領域115が形成されている。チャネル領域115の一部上からソース領域114の一部上にゲート絶縁膜105を介して延在するフローティングゲート109が形成され、該フローティングゲート109の上部及び側部を、トンネル絶縁膜110を介して被覆し、かつドレイン領域113の一部上に延在したコントロールゲート112が形成されている。
ドレイン領域113は対応するビット線BLに接続され、コントロールゲート112は対応するワード線WLに接続され、ソース領域114は対応するソース線SLに接続されている。
以下に、スプリットゲート型のメモリセルMCの動作を述べる。先ず、データを書き込むときには、コントロールゲート112とソース領域114に高電圧を(例えばコントロールゲート112に2V、ソース領域114に12V)印加し、チャネル領域115に電流を流すことによりフローティングゲート109に熱電子を注入して蓄積させる。
また、データを消去するときには、ドレイン領域113及びソース領域114を接地して、コントロールゲート112に高電圧(例えば15V)を印加することにより、フローティングゲート109に蓄積されている電子をファウラー・ノルドハイムトンネル電流(Fowler-Nordheim tunneling current、以下FNトンネル電流と言う)としてコントロールゲート112へ引き抜く。フローティングゲート109の上部には突起部109aが形成されているので、ここに電界が集中し、より低電圧でFNトンネル電流を流すことができる。
また、メモリセルMCに記憶されたデータを読み出す時は、コントロールゲート112及びドレイン領域113に所定の電圧(例えば、コントロールゲート112に3V、ドレイン113に1V)を印加する。すると、フローティングゲート109に蓄積された電子の電荷量に応じて、ソース・ドレイン間にセル電流Icが流れる。データ「0」が書き込まれている場合にはメモリセルMCのしきい値は高くなるので、セル電流Icは小さくなり、データ「1」が書き込まれている場合にはメモリセルMCのしきい値は低くなるので、セル電流Icは大きくなる。
セル電流Icは、プリアンプ等によりデータ電圧Vdataに変換される。読み出し回路13は、そのデータ電圧Vdataと、リファレンス電圧Vrefと比較することによって、メモリセルMCに記憶されたデータが「0」か、「1」かを判定することになる。
(読み出し回路の構成)
次に、本願の特徴である、読み出し回路13の具体的な構成例について、図3乃至図5を参照して説明する。この読み出し回路13は、センスアンプ131、スタートアップ回路132、スタートアップ回路132の出力電圧をセンスアンプ131に転送する転送ゲートMT6を備えている。
センスアンプ131は、メモリセルMCからのデータ電圧Vdataがゲートに印加された、Nチャネル型の第1のMOSトランジスタMT1と、リファレンス電圧Vrefがゲートに印加された、Nチャネル型の第2のMOSトランジスタMT2と、第1のMOSトランジスタMT1に直列に接続され、ゲートが第1のMOSトランジスタMT1との接続ノードAに接続された、Pチャネル型の第3のMOSトランジスタMT3と、第2のMOSトランジスタMT2に直列に接続され、ゲートが第3のMOSトランジスタMT3のゲートに接続された、Pチャネル型の第4のMOSトランジスタと、を備える。
MT3とMT4はカレントミラーを形成している。MT3とMT4のソースには電源電圧Vddが印加されている。MT1とMT2のソースは、Nチャネル型の第5のMOSトランジスタMT5のドレインに接続されている。MT5のゲートには、センスイネーブル信号SENが印加され、そのソースは接地されている。
センスアンプ131は、センスイネーブル信号SENがハイの時、MT5がオンすることにより活性化され、データ電圧Vdataとリファレンス電圧Vrefの差電圧を増幅する。増幅された出力電圧Voutは、MT2とMT3の接続ノードから得られる。
センスアンプ131は、センスイネーブル信号SENがロウの時にはMT5がオフすることにより不活性になる。つまり、センスアンプ131は動作しない。スタートアップ回路132を設けない場合は、前記接続ノードAはフローティング状態になる。そして、前記接続ノードAの電圧は以下の不等式(1)で表される範囲の値をとり得ることになる。前記接続ノードAの電圧が、不等式(1)で表される範囲の中で実際にどのような値になるかは不確定であり、接続ノードAに乗るノイズ等の影響に依存している。
Vdd−Vtp<VA<Vdd+VF ・・・・(1)
ここで、Vtpは、MT3のしきい値、VFはMT3のドレインと半導体基板で形成されるダイオードの順方向電圧であり、約0.6Vである。
不等式(1)は、図4を参照して以下のように導かれる。図4は、第3のMOSトランジスタMT3の断面図であり、N型半導体基板100の表面に、P+型のドレインD、P+型のソースSが形成され、さらにゲート酸化膜を介してゲートが形成されている。N型半導体基板100には、電源電圧Vddが印加されている。ドレインDは接続ノードAに電気的に接続されている。いま、ドレインDの電圧がVdd+VFより高くなると、MT3のドレインDとN型半導体基板100で形成されるダイオード101がオンする。すると、ドレインDの電圧は低下していき、(Vdd+VF)になるとダイオード101はオフする。一方、ドレインDの電圧が(Vdd−Vtp)より低くなるとMT3がオンする。すると、ドレインDの電圧は上昇していき、(Vdd−Vtp)になると、MT3はオフする。
したがって、センスアンプ131の初期状態(センスイネーブル信号SENがロウの時)において、接続ノードAの電圧にばらつきが生じている。この初期状態から、センスイネーブル信号SENをハイに立ち上げてセンスアンプ131を活性化させる。つまり、データの読み出し動作を開始する。すると、接続ノードAの電圧にばらつきによって、接続ノードAの電圧が安定するまでの時間にばらつきが生じてしまう。
そこで、本実施形態においては、接続ノードAの電圧を所定電圧に初期設定するためのスタートアップ回路132を設けた。スタートアップ回路132の出力端子と接続ノードAの間には、Pチャネル型MOSトランジスタからなる転送ゲートMT6を挿入している。転送ゲートMT6のオンオフは、そのゲートに印加されたスタートアップ・イネーブル信号STPENによって制御される。すなわち、転送ゲートMT6は、スタートアップ・イネーブル信号STPENがロウのときにオンし、スタートアップ回路132の出力電圧Soutを接続ノードAに転送する。
読み出し回路131の動作について図5を参照して説明する。まず、時刻t1において、スタートアップ・イネーブル信号STPENをハイからロウに変化させる。すると、転送ゲートMT6がオンし、スタートアップ回路132の出力電圧Sou tがセンスアンプ131に転送され、接続ノードAの電圧が出力電圧Soutに初期設定される。その後、スタートアップ・イネーブル信号STPENをロウからハイに変化させ、転送ゲートMT6をオフさせ、時刻t2において、センスイネーブル信号SENをロウからハイに変化させる。すると、第5のMOSトランジスタMT5がオンし、センスアンプ131のセンス動作が開始する。時刻t2においては、メモリセルMCからのデータ電圧Vdataは確定しているものとする。その後、活性化されたセンスアンプ131は、データ電圧Vdataとリファレンス電圧Vrefの差電圧を増幅する。このセンス動作により、接続ノードAの電圧は、ある値に安定化し、センスアンプ131の出力電圧Voutが確定する。
このように、スタートアップ回路132により、不活性時に電圧が不定状態になる接続ノードAを所定電圧(=出力電圧Sout)に初期設定しているので、センスアンプ131が活性化してから読み出しが可能になるまでの時間のばらつきを無くすことができる。また、スタートアップ回路132により設定される所定電圧を調節することにより、読み出し時間を最適値に近づけることも可能になる。
尚、センスアンプ131は、MT1、MT2によって差動トランジスタペアを形成したN型の差動アンプであるが、MT1〜MT5のトランジスタの導電型を逆にして、P型の差動アンプを形成しても良い。この場合、MT5のソースに電源電圧Vddが供給され、MT3,MT4のソースが接地されることになる。さらに、センスアンプ131は、初期状態において、電圧が不確定のノードを有するものであれば、他のタイプであっても良く、本発明を適用して同様の効果を得ることができる。また、転送ゲートMT6は、Nチャネル型のMOSトランジスタ、あるいは、CMOSのトランスファゲートで形成することもできる。
(スタートアップ回路の構成)
スタートアップ回路132の第1の構成例について、図6を参照して説明する。図示のように、Pチャネル型の第7のMOSトランジスタMT7と抵抗素子R1が直列に接続されている。MT7のゲートは、MT7とR1の接続ノードに接続される。つまり、MT7はダイオード接続されており、ダイオードとして働く。MT7のソースには電源電圧Vddが印加され、抵抗素子R1の一方の端子は接地されている。MT7とR1の接続ノードが出力端子となる。MT7とR1には、電流iが定常的に流れる。
出力端子には、出力キャパシタCoutが接続されるが、この出力キャパシタCoutは、次段のMT6、センスアンプ131が有する寄生容量である。いま、抵抗素子R1が十分大きな抵抗値を持っているとすると、出力端子から出力される出力電圧Soutは、(Vdd−Vtp)という値になる。出力電圧Soutは、MT7の個数によって調節することができる。例えば、2個のMT7を直列接続すると、出力電圧Soutは、(Vdd−2Vtp)という値になる。このスタートアップ回路132は、少ない素子数で形成することができるが、消費電流の低減と高速動作を両立させることができない。つまり、消費電流を低減するために、抵抗素子R1の抵抗値を大きくすると、出力キャパシタCoutを充電する能力が低下してしまう。逆に、駆動能力を高めるために抵抗素子R1の抵抗値を小さくすると、消費電流が増加してしまう。
そこで、スタートアップ回路132の第2の構成例を図7に示す。このスタートアップ回路132は2段構成になっており、消費電流の低減と、高速動作の両立させることができる。1段目において、Pチャネル型の第8、第9のMOSトランジスタMT8、MT9が直列接続され、さらにこれにNチャネル型の第10のMOSトランジスタMTが直列に接続されている。第10のMOSトランジスタMT10のゲートには電源電圧Vddが印加されている。MT8、MT9のゲートとドレインは、それぞれ共通接続されている。つまり、MT8、MT9はダイオードとして働き、MT10は抵抗素子として働く。MT10のチャネル長を長くすることにより、MT10に高抵抗値を持たせる。すると、MT9とMT10の接続ノードから、(Vdd−2Vtp)という電圧が得られる。
2段目において、Pチャネル型の第11のMOSトランジスタMT11とPチャネル型の第12のMOSトランジスタMT12が直列接続され、MT11のソースに電圧Vddが印加され、MT12のドレインは接地されている。MT11のゲートには接地電圧が印加される。つまり、MT11は抵抗素子として働く。このMT11も高抵抗値を持っている。そして、MT12のゲートに1段目からの電圧(Vdd−2Vtp)が印加されている。
MT11とMT12の接続ノードが出力端子である。出力端子には、出力キャパシタCoutが接続されるが、この出力キャパシタCoutは、次段のMT6、センスアンプ131が有する寄生容量である。MT12は低いオン抵抗を有している。このスタートアップ回路132によれば、出力キャパシタCoutの端子電圧、出力電圧Soutが(Vdd−Vtp)に到達するまで、出力キャパシタCoutは高速に充電され、充電された後は、MT12はオフする。出力電圧Soutは、(Vdd−Vtp)に安定化する。したがって、消費電流の低減と、高速動作の両立させることができる。尚、出力電圧Soutは、1段目の直列接続されるMOSトランジスタの個数によって調節することができる。
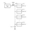
このような図7のスタートアップ回路132は、出力キャパシタCoutの容量値が大きい場合に有効である。このスタートアップ回路132は、特に、図8に示すように、1つのスタートアップ回路132が複数のセンスアンプ131−1〜131−kに共通に設けられている場合に有効である。これは、複数のセンスアンプ131−1〜131−kに付随する寄生容量が大きくなるため、スタートアップ回路132の出力キャパシタCoutの容量値が大きくなるからである。この場合、複数のセンスアンプ131−1〜131−kは、メモリアレイ領域10から同時に読み出される複数のビットデータに対応している。そして、複数のセンスアンプ131−1〜131−kから出力電圧Vout1〜Voutkが得られる。
半導体記憶装置の回路ブロック図である。 スプリットゲート型のメモリセルを示す断面図である。 本発明の実施形態による半導体記憶装置の読み出し回路の回路図である。 MOSトランジスタの断面図である。 本発明の実施形態による半導体記憶装置の読み出し回路の動作を説明する図である。 スタートアップ回路の第1の構成例を示す回路図である。 スタートアップ回路の第2の構成例を示す回路図である。 スタートアップ回路とセンスアンプの関係を示す図である。
符号の説明
10 メモリアレイ領域 11 ロウデコーダ 12 カラムデコーダ
13 読み出し回路
BL0〜BL5 ビット線 WL0〜WL3 ワード線 SL0〜SL3 ソース線
101 半導体基板 105 ゲート絶縁膜
109 フローティングゲート 109a 突起部 110 トンネル絶縁膜
112 コントロールゲート 113 ドレイン領域 114 ソース領域
115 チャネル領域

Claims (4)

  1. メモリセルからのデータ電圧がゲートに印加された第1のトランジスタと、リファレンス電圧がゲートに印加された第2のトランジスタと、前記第1のトランジスタに直列に接続され、ゲートが前記第1のトランジスタとの接続ノードに接続された第3のトランジスタと、前記第2のトランジスタに直列に接続され、ゲートが前記第3のトランジスタのゲートに接続された第4のトランジスタと、を備え、前記データ電圧と前記リファレンス電圧との差を増幅して出力するセンスアンプと、
    前記接続ノードの電圧を所定電圧に初期設定するスタートアップ回路と、
    前記スタートアップ回路により前記接続ノードの電圧を所定電圧に設定した後に、
    前記センスアンプを活性化させる制御スイッチと、を備えることを特徴とする半導体記憶装置の読み出し回路。
  2. 前記スタートアップ回路は、電源電圧と接地の間に直列接続されたダイオードと抵抗素子を備え、前記ダイオードと抵抗素子の接続ノードから前記所定電圧を出力することを特徴とする請求項1に記載の半導体記憶装置の読み出し回路。
  3. 前記スタートアップ回路は、電源電圧と接地の間に直列接続されたダイオードと抵抗素子と、
    第1の端子と第2の端子を有し、前記第1の端子が接地されたキャパシタと、
    前記キャパシタの第2の端子に接続され、ダイオードと抵抗素子の接続ノードの電圧に応じて、前記キャパシタの前記第2の端子の電圧が前記所定電圧になるまで前記キャパシタを充電し、充電が完了した時にオフするスイッチング素子と、を備えることを特徴とする請求項1に記載の半導体記憶装置の読み出し回路。
  4. 前記スタートアップ回路は複数のセンスアンプに共通に設けられていることを特徴とする請求項3に記載の半導体記憶装置の読み出し回路。
JP2008180969A 2008-07-11 2008-07-11 半導体記憶装置の読み出し回路 Active JP5341412B2 (ja)

Priority Applications (1)

Application Number Priority Date Filing Date Title
JP2008180969A JP5341412B2 (ja) 2008-07-11 2008-07-11 半導体記憶装置の読み出し回路

Applications Claiming Priority (1)

Application Number Priority Date Filing Date Title
JP2008180969A JP5341412B2 (ja) 2008-07-11 2008-07-11 半導体記憶装置の読み出し回路

Publications (2)

Publication Number Publication Date
JP2010020846A true JP2010020846A (ja) 2010-01-28
JP5341412B2 JP5341412B2 (ja) 2013-11-13

Family

ID=41705575

Family Applications (1)

Application Number Title Priority Date Filing Date
JP2008180969A Active JP5341412B2 (ja) 2008-07-11 2008-07-11 半導体記憶装置の読み出し回路

Country Status (1)

Country Link
JP (1) JP5341412B2 (ja)

Cited By (1)

* Cited by examiner, † Cited by third party
Publication number Priority date Publication date Assignee Title
CN116072162A (zh) * 2021-10-29 2023-05-05 美光科技公司 对备用放大器的启动保护

Citations (8)

* Cited by examiner, † Cited by third party
Publication number Priority date Publication date Assignee Title
JPS60145593A (ja) * 1984-01-06 1985-08-01 Toshiba Corp 半導体メモリ用センス回路
JPS61126684A (ja) * 1984-11-26 1986-06-14 Hitachi Ltd メモリを内蔵した半導体集積回路
JPH11203882A (ja) * 1998-01-19 1999-07-30 Denso Corp 半導体記憶装置
JP2000011662A (ja) * 1998-06-22 2000-01-14 Nkk Corp 低消費高速型センスアンプ
JP2001101872A (ja) * 1999-09-30 2001-04-13 Mitsubishi Electric Corp 増幅回路
WO2004025817A1 (ja) * 2002-09-11 2004-03-25 Mitsubishi Denki Kabushiki Kaisha 電圧検出回路およびこれを用いた内部電圧発生回路
JP2004241101A (ja) * 2003-02-07 2004-08-26 United Memories Inc 集積回路装置、読出データ増幅器、および読出データ増幅器を動作させるための方法
JP2008021088A (ja) * 2006-07-12 2008-01-31 Yamaha Corp 基準電圧発生回路

Patent Citations (8)

* Cited by examiner, † Cited by third party
Publication number Priority date Publication date Assignee Title
JPS60145593A (ja) * 1984-01-06 1985-08-01 Toshiba Corp 半導体メモリ用センス回路
JPS61126684A (ja) * 1984-11-26 1986-06-14 Hitachi Ltd メモリを内蔵した半導体集積回路
JPH11203882A (ja) * 1998-01-19 1999-07-30 Denso Corp 半導体記憶装置
JP2000011662A (ja) * 1998-06-22 2000-01-14 Nkk Corp 低消費高速型センスアンプ
JP2001101872A (ja) * 1999-09-30 2001-04-13 Mitsubishi Electric Corp 増幅回路
WO2004025817A1 (ja) * 2002-09-11 2004-03-25 Mitsubishi Denki Kabushiki Kaisha 電圧検出回路およびこれを用いた内部電圧発生回路
JP2004241101A (ja) * 2003-02-07 2004-08-26 United Memories Inc 集積回路装置、読出データ増幅器、および読出データ増幅器を動作させるための方法
JP2008021088A (ja) * 2006-07-12 2008-01-31 Yamaha Corp 基準電圧発生回路

Cited By (1)

* Cited by examiner, † Cited by third party
Publication number Priority date Publication date Assignee Title
CN116072162A (zh) * 2021-10-29 2023-05-05 美光科技公司 对备用放大器的启动保护

Also Published As

Publication number Publication date
JP5341412B2 (ja) 2013-11-13

Similar Documents

Publication Publication Date Title
JP5235422B2 (ja) 不揮発性半導体記憶装置
US6243292B1 (en) Nonvolatile semiconductor memory device capable of reducing memory array area
JP5193701B2 (ja) 半導体記憶装置
JP4083147B2 (ja) 半導体記憶装置
JP2010211899A (ja) 半導体記憶装置
KR100893474B1 (ko) 반도체 기억 장치
CN107808683B (zh) 用于读取阵列中的闪存单元的带位线预充电电路的改进读出放大器
CN102142279B (zh) 半导体存储装置
JPH11185488A (ja) 不揮発性半導体記憶装置
JP5240291B2 (ja) 不揮発性半導体メモリ素子および半導体装置
JP4541355B2 (ja) 電流電圧変換回路
US5910918A (en) Data writing circuit for a nonvolatile semiconductor memory
JPH10214491A (ja) 不揮発性半導体メモリの消去方法及び消去装置
JP2006179126A (ja) 読み出し回路、及び不揮発性半導体記憶装置
JP3825596B2 (ja) 半導体記憶装置及びその制御方法
US5253210A (en) Paritioned bit line structure of EEPROM and method of reading data therefrom
JP5341412B2 (ja) 半導体記憶装置の読み出し回路
JP5477483B2 (ja) 不揮発性半導体メモリ素子、および不揮発性半導体メモリ装置
JP4286085B2 (ja) 増幅器及びそれを用いた半導体記憶装置
JP5044201B2 (ja) 半導体記憶装置
JPH0765589A (ja) 不揮発性半導体記憶装置
JP5487539B2 (ja) 不揮発性半導体記憶素子
JP2010015643A (ja) 半導体記憶装置及び半導体記憶装置のデータ読み出し方法
JP5522296B2 (ja) 不揮発性半導体記憶装置
JPH04252497A (ja) 不揮発性半導体記憶装置

Legal Events

Date Code Title Description
A711 Notification of change in applicant

Free format text: JAPANESE INTERMEDIATE CODE: A711

Effective date: 20110531

RD02 Notification of acceptance of power of attorney

Free format text: JAPANESE INTERMEDIATE CODE: A7422

Effective date: 20110602

A621 Written request for application examination

Free format text: JAPANESE INTERMEDIATE CODE: A621

Effective date: 20110624

A977 Report on retrieval

Free format text: JAPANESE INTERMEDIATE CODE: A971007

Effective date: 20130116

A131 Notification of reasons for refusal

Free format text: JAPANESE INTERMEDIATE CODE: A131

Effective date: 20130123

A711 Notification of change in applicant

Free format text: JAPANESE INTERMEDIATE CODE: A711

Effective date: 20130207

A521 Request for written amendment filed

Free format text: JAPANESE INTERMEDIATE CODE: A523

Effective date: 20130215

RD02 Notification of acceptance of power of attorney

Free format text: JAPANESE INTERMEDIATE CODE: A7422

Effective date: 20130301

A521 Request for written amendment filed

Free format text: JAPANESE INTERMEDIATE CODE: A523

Effective date: 20130404

A131 Notification of reasons for refusal

Free format text: JAPANESE INTERMEDIATE CODE: A131

Effective date: 20130418

A521 Request for written amendment filed

Free format text: JAPANESE INTERMEDIATE CODE: A523

Effective date: 20130701

TRDD Decision of grant or rejection written
A01 Written decision to grant a patent or to grant a registration (utility model)

Free format text: JAPANESE INTERMEDIATE CODE: A01

Effective date: 20130723

A61 First payment of annual fees (during grant procedure)

Free format text: JAPANESE INTERMEDIATE CODE: A61

Effective date: 20130808

R150 Certificate of patent or registration of utility model

Ref document number: 5341412

Country of ref document: JP

Free format text: JAPANESE INTERMEDIATE CODE: R150

Free format text: JAPANESE INTERMEDIATE CODE: R150

R250 Receipt of annual fees

Free format text: JAPANESE INTERMEDIATE CODE: R250

R250 Receipt of annual fees

Free format text: JAPANESE INTERMEDIATE CODE: R250

R250 Receipt of annual fees

Free format text: JAPANESE INTERMEDIATE CODE: R250

R250 Receipt of annual fees

Free format text: JAPANESE INTERMEDIATE CODE: R250

R250 Receipt of annual fees

Free format text: JAPANESE INTERMEDIATE CODE: R250

R250 Receipt of annual fees

Free format text: JAPANESE INTERMEDIATE CODE: R250

R250 Receipt of annual fees

Free format text: JAPANESE INTERMEDIATE CODE: R250

R250 Receipt of annual fees

Free format text: JAPANESE INTERMEDIATE CODE: R250

R250 Receipt of annual fees

Free format text: JAPANESE INTERMEDIATE CODE: R250

R250 Receipt of annual fees

Free format text: JAPANESE INTERMEDIATE CODE: R250