JP2010017705A - 洗浄装置 - Google Patents

洗浄装置 Download PDF

Info

Publication number
JP2010017705A
JP2010017705A JP2009138276A JP2009138276A JP2010017705A JP 2010017705 A JP2010017705 A JP 2010017705A JP 2009138276 A JP2009138276 A JP 2009138276A JP 2009138276 A JP2009138276 A JP 2009138276A JP 2010017705 A JP2010017705 A JP 2010017705A
Authority
JP
Japan
Prior art keywords
cleaning
water
container
cleaned
oil
Prior art date
Legal status (The legal status is an assumption and is not a legal conclusion. Google has not performed a legal analysis and makes no representation as to the accuracy of the status listed.)
Granted
Application number
JP2009138276A
Other languages
English (en)
Other versions
JP5404196B2 (ja
Inventor
Yasuhiro Ishii
康裕 石井
Tadashi Hashimoto
正 橋本
Teru Hatano
照 波多野
Takahiro Nakayama
貴広 中山
Hirohisa Mizuhara
博久 水原
Makoto Miyamoto
誠 宮本
Current Assignee (The listed assignees may be inaccurate. Google has not performed a legal analysis and makes no representation or warranty as to the accuracy of the list.)
Mitsubishi Electric Engineering Co Ltd
Mitsubishi Electric Corp
Original Assignee
Mitsubishi Electric Engineering Co Ltd
Mitsubishi Electric Corp
Priority date (The priority date is an assumption and is not a legal conclusion. Google has not performed a legal analysis and makes no representation as to the accuracy of the date listed.)
Filing date
Publication date
Application filed by Mitsubishi Electric Engineering Co Ltd, Mitsubishi Electric Corp filed Critical Mitsubishi Electric Engineering Co Ltd
Priority to JP2009138276A priority Critical patent/JP5404196B2/ja
Publication of JP2010017705A publication Critical patent/JP2010017705A/ja
Application granted granted Critical
Publication of JP5404196B2 publication Critical patent/JP5404196B2/ja
Expired - Fee Related legal-status Critical Current
Anticipated expiration legal-status Critical

Links

Images

Landscapes

  • Cleaning By Liquid Or Steam (AREA)
  • Cleaning And De-Greasing Of Metallic Materials By Chemical Methods (AREA)

Abstract

【課題】水を主体とする洗浄水と微細気泡によって洗浄し、洗浄後のすすぎ工程を省略することによって、環境負荷を抑制する。重量物となる被洗浄物容器の着脱を容易にし、作業者の肉体的負担を軽減し作業効率を向上させる。
【解決手段】被洗浄物を収納する被洗浄物容器20と、容器を摺動させて装置内外に搬入出する摺動保持機構部90と、容器を洗浄水に浸漬する洗浄槽30と、容器を洗浄槽に浸漬及びその引き揚げを行う昇降機構部40と、昇降機構部に設けられ、容器を回転させる回転機構部50と、洗浄槽の洗浄水から油脂分を分離する油水分離部80と、浸漬洗浄中の被洗浄物容器20に対して、気泡を含む洗浄水流を噴射する気泡発生部63及びノズル64と、洗浄槽から引き揚げられ、回転された洗浄後の容器に対して、水切り用の空気流を噴射する水切り機構部70とを備える。
【選択図】図1

Description

この発明は、金属加工品等の洗浄装置に関し、特に被洗浄物を洗浄水に浸漬して洗浄する洗浄装置に関するものである。
工業的洗浄の分野において、従来はフロン系の溶剤や有機溶剤そのほか炭化水素系などの洗浄剤が用いられてきた。その結果、オゾン層の破壊や地下水,河川,海洋汚染などの環境問題を誘起することが明らかにされている。そこで、環境負荷低減の目的から、これらの洗浄剤を用いない洗浄方法および洗浄装置の開発が進められている。
また、水系洗浄においては洗浄後、清水によるすすぎ工程により付着洗浄剤を除去するのが一般的であるが、このすすぎ液の廃棄処理においても環境に配慮した適切な処理を行うことが求められている。
大量の小物部品を洗浄する従来の洗浄装置は、被洗浄物を洗浄カゴに収納し、洗浄槽内で洗浄水に浸漬・回転させる装置、また、微細気泡を含む洗浄水を被洗浄物に噴射して洗浄度の向上を図る洗浄装置が開示されている(特許文献1参照)。
また、洗浄に続くすすぎ、水切り、乾燥の各工程を含む従来の洗浄装置は、複数の洗浄槽を用いて、水と気泡による洗浄、超音波による洗浄、洗剤による洗浄を順次行った後、付着している洗剤成分を除去するためのすすぎ洗浄を行う多槽式の洗浄装置が開示されている(特許文献2参照)。
また、洗剤を使用せず水と気泡により洗浄し、すすぎ工程を省略する従来の洗浄装置は、被洗浄物を収納する洗浄カゴを垂直回転軸周りに回転させることによって水流と被洗浄物との相対速度を高めて洗浄するとともに、水洗浄が終了した後は注排水手段を操作して洗浄槽から洗浄水を排水し、その後再び回転機構を作動させて遠心力により脱水作業を行う洗浄装置が開示されている(特許文献3参照)。
また、このすすぎ工程を省略する場合に洗浄後の洗浄水を清浄に保つ従来の技術は、洗浄槽の水面付近に設けた空気吹出し口からオーバーフロー堰に向けて浮遊する油脂分を送ることで被洗浄物から剥離され洗浄水表面に浮遊する油脂分を速やかに除去する洗浄装置が開示されている(特許文献4参照)。
また、洗浄カゴの昇降装置を設けた従来の洗浄装置は、前後に移動可能でかつ位置決め機能を有するテーブル上に洗浄カゴを置き、テーブルを押して装置内に収納した後、昇降装置が上昇して洗浄カゴを持ち上げ、テーブルを引き出した後に洗浄カゴを洗浄槽まで下降させて回転機構部の駆動軸に装着する洗浄装置が開示されている(引用文献5参照)。
特開2005−296786号公報 特開平8−192120号公報 特開平7−227582号公報 特開2007−301529号公報 特開2007−319723号公報
しかし、従来の特許文献1,2のような洗浄装置では、各種の洗浄およびすすぎ洗浄を順次行うため多数の洗浄槽が必要であり、かつ、洗浄カゴを順次移動させるために搬送装置が必要となるため、装置の設備が大型化し高コストになるという課題があった。
また、洗浄後に残留する洗剤成分を除去するためのすすぎ水は定期的に交換しなければならず、すすぎ水を交換する際、環境負荷低減の観点からその排液を適正に処理する必要があり、このための処理工程が多く、高コストであるという課題があった。
また、従来の特許文献3の洗浄装置では、被洗浄物を収容する回転カゴを高速で回転させて洗浄・脱水を行うため、被洗浄物が飛び散り、ぶつかり合って破損するという課題とともに、脱水工程に入る前に洗浄槽の洗浄水を一旦排水して保存するための水槽を設けるため装置が大型化して製造費用もかかり、排水・注水の際に待ち時間が生ずることで処理効率が低下するという課題があった。
また、従来の特許文献4の洗浄装置では、空気を吹出すための機構や空気の配管が必要になるという課題があった。
また、これらの一槽式の洗浄装置における洗浄カゴの装着方法は、洗浄カゴの取り付けられた取手を持って洗浄槽上面から洗浄カゴの回転軸受けへ装着する方法が周知であるが、この方法は重量の大きい洗浄物および洗浄カゴを人力によって洗浄槽上面で保持することになり、作業者の腕ならびに腰部等の肉体的負担が大きくなるという課題があった。
さらに、従来の特許文献5の洗浄装置は、洗浄カゴの形状や大きさに応じてテーブルに設けた位置決め構造の変更が必要になるとともに、洗浄カゴを駆動軸へ装着する際の移動距離が長いため、洗浄カゴを持ち上げる際の位置決め並びに持ち上げ後の保持の精度を高くするための構造が必要になるという課題があった。また、油脂分が付着した被洗浄物を収納した洗浄カゴがテーブル上に置かれ、この油脂分がテーブルに付着し、洗浄後の洗浄カゴに再び油脂が付着するという課題があった。
本発明は、このような課題を解決するためになされたものであり、水を主体とする洗浄水と微細気泡によって効率的に洗浄し、洗浄後のすすぎ工程を省略しすすぎ排液の排出を無くすことによって、環境負荷を抑制する簡単な構成の洗浄装置を得るとともに、重量物となる被洗浄物容器の着脱を容易にし、作業者の肉体的負担を軽減し作業効率を向上させた洗浄装置を提供することを目的とする。
この発明に係る洗浄装置は、被洗浄物を収納する被洗浄物容器と、被洗浄物容器を摺動させて装置内外に搬入出する摺動保持機構部と、被洗浄物容器を洗浄水に浸漬洗浄する洗浄槽と、摺動保持機構部により搬入された被洗浄物容器を昇降させて前記洗浄槽に浸漬及びその引き揚げを行う昇降機構部と、昇降機構部に設けられ、当該昇降機構部により洗浄槽に浸漬及び引き揚げられた被洗浄物容器を回転させる回転機構部と、洗浄槽の洗浄水から油脂分を分離する油水分離部と、洗浄槽に浸漬され、回転機構部により回転された浸漬洗浄中の被洗浄物容器に対して、気泡を含む洗浄水流を噴射する気泡発生部と、油水分離部により油脂分が分離された洗浄水を気泡発生部へ循環させる循環経路部と、洗浄槽から引き揚げられ、回転機構部により回転された洗浄後の被洗浄物容器に対して、水切り用の空気流を噴射する水切り機構部とを備えたものである。
この発明の洗浄装置は、被洗浄物を収納した被洗浄物容器が、回転機構部を懸架した昇降機構部により洗浄槽の洗浄水内に浸漬または引き揚げされ、回転機構部により洗浄槽内外で回転され、洗浄槽内で気泡発生部により被洗浄物の洗浄が行われ、洗浄槽外で水切り機構部により水切りを行うようにしたので、洗浄槽内に洗浄水を貯留したまま水切り処理を行うことで処理時間を短縮できるとともに、洗浄槽1槽のみで洗浄・水切りすることで装置を小型化できる。
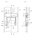
この発明による洗浄装置の全体構成を示す断面図である。 この発明による洗浄装置の昇降機構部および回転機構部の(a)正面図と(b)側面図である。 この発明による洗浄装置の被洗浄物容器と回転機構部との接続部分を示す斜視図である。 この発明による洗浄装置の(a)水切り工程における被洗浄物容器とエアノズルの配置、および(b)洗浄工程における被洗浄物容器とノズルの配置を示す断面図である。 この発明による洗浄装置の洗浄工程における被洗浄物容器およびノズルの配置を示す斜視図である。 この発明による洗浄装置の水切り機構部の構成を示す斜視図である。 この発明による洗浄装置の被洗浄物容器の斜視図と洗浄装置内への着脱方法を示す側面図である。 この発明による洗浄装置の摺動保持機構部の詳細構造を示す斜視図である。 この発明による実施の形態2の洗浄装置の構成の(a)上面図、および(b)側面図である。 この発明による実施の形態3の洗浄装置の洗浄槽、循環部、油水分離部の構成を示す側面断面図である。 この発明による実施の形態4の洗浄装置の洗浄槽、循環部、油水分離部の構成を示す側面断面図である。 この発明による実施の形態5の洗浄装置の洗浄槽、循環部、油水分離部の構成を示す側面断面図である。
以下、本発明の実施の形態について図を用いて説明する。
実施の形態1.
本実施の形態による洗浄装置10の全体の構成を図1から図8を用いて説明する。
図1は、本発明に係る洗浄装置の全体の構成を示す図である。図1は本発明の一実施例の洗浄装置10の全体構成を示す側面断面図である。
図2は、本発明に係る洗浄装置10の昇降機構部40および回転機構部50の詳細な構造を示しており、図2(a)が正面図であり、図2(b)が図2(a)のA−A線断面図である。
図3は、洗浄装置10の被洗浄物容器20と回転機構部50との接続部分を示す斜視図である。
図4(a)は、洗浄装置10の水切り工程における被洗浄物容器20とエアノズル71との配置を示す断面図であり、図4(b)は洗浄装置10の洗浄工程における被洗浄物容器20とノズル64との配置を示す断面図である。
図5は、洗浄装置10の洗浄工程における被洗浄物容器20およびノズル64の配置を示す斜視図である。
図6は、洗浄装置10の水切り機構部70の構成を示す斜視図である。
図7は、洗浄装置10の被洗浄物容器20の回転中心部分の構成の詳細を示す斜視図および洗浄装置10内への搬入出方法を示す側面図であり、図8は、洗浄装置10の摺動保持機構部90の詳細構造を示す斜視図である。
なお、図は、説明を容易に行うため、一部省略している部分もある。
洗浄装置10は、制御部11、開口部(搬入出口)12、シャッター13、被洗浄物容器20、洗浄槽30、昇降機構部40、回転機構部50、循環部60、水切り機構部70、油水分離部80、摺動保持機構部90から構成されている。
制御部11は、洗浄装置10本体に設けられた図示しない制御パネル等をユーザが押圧することによる指示信号及び内蔵されたメモリに記憶されたプログラム等により、洗浄装置10全体の動作を制御するものであり、水濡れを防止するため、洗浄装置10の他の構成よりも上部に配置されている。
洗浄装置本体10の筺体には、側面に設けられ被洗浄物を出し入れするための開口部12、洗浄中に開口部12を閉鎖するシャッター13が設けられており、開口部12は、洗浄装置10の筺体側面にスライド式で開閉可能に設けられたシャッター13を開けることで、被洗浄物容器20が出し入れ可能な大きさに開口されている。
被洗浄物容器20は、金属加工物である被洗浄物を複数収納可能な筒状の容器であり、金属製の骨組みと金網とで構成されており、その軸方向断面は円形、略円形、多角形のいずれに限定されるものではなく、本実施の形態では、図1のような円柱形状または図7のような六角柱形状の容器を示している。
この被洗浄物容器20には、保持軸21、回転軸22、回転駆動キー23、運搬用取手24が設けられている。
保持軸21は、被洗浄物容器20の筒軸上の両端に設けられており、その断面はD字形状である。この被洗浄物容器20の筒軸上の保持軸21外側には円柱形状の回転軸22、回転軸22の外側に板形状の回転駆動キー23が形成されている。
運搬用取手24は、被洗浄物容器20を洗浄装置10内から出し入れするために被洗浄物容器20の容器本体上部に設けられている。
洗浄槽30は、被洗浄物容器20が余裕をもって収納できる大きさであり、被洗浄物容器20を浸漬可能な深さで洗浄水を満たしている洗浄部31、この洗浄部31の一側面に設けられ上縁を越えて溢れる洗浄水だけを洗浄部31から排水するオーバーフロー堰32から構成されている。
昇降機構部40は、開口部12に対向する位置に配置されており、主昇降部(第1の昇降機構部)41、主エアシリンダ42、副昇降部(第2の昇降機構部)43、副エアシリンダ44、被洗浄物容器受け45、ガイドレール46、アーム47から構成されている。
主昇降部41は、洗浄装置10本体の天井部に一端を固定された主エアシリンダ42を介して懸架されており、主昇降部41は両端に設けられた車輪等を介してガイドレール46に上下方向に移動可能に支持されている。
また、この主昇降部41に一端を固定された副エアシリンダ44を介して副昇降部43が懸架されており、副昇降部43に設けられたコの字状の被洗浄物容器受け45は被洗浄物容器20の保持軸21をコの字状の窪み部分に嵌め合わせることで被洗浄物容器20を支持することができるように構成されている
主エアシリンダ42および副エアシリンダ44は、それぞれ内部の空気圧を制御することで伸縮させることができ、この伸縮により主昇降部41および副昇降部43を工程に応じて上下方向すなわち洗浄槽30方向および本装置天井方向に向かって移動させ、被洗浄物容器20の位置決めを行うことができるように構成されている。
アーム47は主昇降部41の下側に副昇降部43の両側から挟み込むように2本設けられており、被洗浄物容器20と回転機構部50とを接続するように支持する。
回転機構部50は、回転用モータ51、回転スプロケット52a,52b、駆動チェーン53、回転駆動軸54、被洗浄物容器軸受55、キー溝56から構成されている。
回転用モータ51は主昇降部41の上部に設けられており、回転用モータ51に取付けられた回転スプロケット52aの回転が、駆動チェーン53を介して連結されている回転スプロケット52bに伝達される。回転スプロケット52bには回転駆動軸54が設けられており、回転駆動軸54は主昇降部41のアーム47の先端に取付けられたU字形状の被洗浄物容器軸受55で回転可能に支持される。
図3に示すように、回転駆動軸54にはキー溝56が設けられており、このキー溝56に回転駆動キー23を嵌め合わせることで、回転用モータ51の回転駆動を被洗浄物容器20に伝達されるように構成される。回転用モータ51の回転は回転スプロケット51aから駆動チェーン53を介して回転スプロケット52bに伝達され、さらに回転駆動軸54、回転駆動キー23を介して被洗浄物容器20が回転する。
循環部60は、洗浄槽30より下部に設けられており、ポンプ61、このポンプ61により油水分離部80から洗浄水を送る循環経路62、洗浄装置10外部からの気体と洗浄水とを混合させる気泡発生部63、気泡発生部63からの洗浄水を洗浄部31内で噴き出させるノズル(気泡発生部)64から構成されている。
ノズル64は、循環経路62からポンプによって圧送される洗浄水と外部から供給される圧縮空気とを気泡発生部63で混合した微細気泡を含む洗浄水を、洗浄部31内に浸漬される被洗浄物容器20の周回面に対して噴射する。噴射する角度は被洗浄物容器20内の被洗浄物の分布に応じて、例えば図1では右回りに回転する被洗浄物容器20の左斜め下方から噴射させている。
ここで、微細気泡とは、球状となる微細な気泡のことである。微細気泡と異なる通常の大きな気泡は水中を浮上するときに受ける水からの抗力によって球状でなくなり歪んだ形となる。これに対して微細気泡は気泡内部の圧力が高いため水の抗力による歪みがなく球状となることが広く知られている。具体的には、気泡径dが1mm以下となる場合に気泡は球状となる。さらに洗浄水には、微細気泡を安定に維持する効果を有するアルコール系化合物や界面活性剤などの添加剤を添加する。例えば、添加剤の具体例としては、カルボキシル基とアミノ基を分子内に持ち、分子量をカルボキシル基の数で割った値が94以上280以下の物質、分子内に水酸基を複数持ち、分子量を水酸基の数で割った値が38以上73以下の物質、分子内にエステル基を持ち、分子量をエステル基の数で割った値が47以上140以下の物質、あるいは、分子内にスルホン酸基を持ち、分子量をスルホン酸基の数で割った値が47以上140以下の物質が挙げられる。これらの添加剤を、洗浄水中に微量添加(0.001mol/L以上1mol/L以下)することにより、微細気泡を安定に維持する効果を発揮する。
水切り機構部70は、洗浄装置10本体の天井部と洗浄槽30との中間で昇降機構部40に対向する位置に設けられ、高速の空気流を噴き出させるエアノズル(噴射装置)71、エアノズル取付け板(噴射装置)72、エアノズル固定具73、空気を供給するエアホース(噴射装置)74、エアシリンダ75、アーム76、空気制御バルブ77で構成されている。
エアノズル71はエアノズル取付け板72にエアノズル固定具73で固定されており、エアノズル取付け板72に設けられている溝78で上下方向の位置調整が可能になっている。また、エアノズル取付け板72を支持するアーム76に取付けられたエアシリンダ75により左右方向の位置調整が可能になっており、制御部11から制御により位置決めされるように構成される。また、上下方向の位置調整についても図示しないモータ等により制御部11からの制御により位置決めできるように構成される。
油水分離部80は、オーバーフロー堰32を介して洗浄部31と接する位置に設けられ、洗浄部31から溢れた油脂分を含む洗浄水を溜める分離槽81、油脂吸着ベルト及び油脂回収容器からなる油脂回収部82で構成されている。
分離槽81は、洗浄部31からオーバーフロー堰32の上縁を越え溢れ流れた洗浄水が溜まるようになっており、洗浄部31からの洗浄水は流れの弱い状態で油脂と水とに分離され、洗浄水面付近に浮上した油脂分は油脂回収部82で油脂吸着ベルト等を用いて油脂回収容器に回収される。油脂回収後の洗浄水は分離槽81の下部から循環部60に送られる。
摺動保持機構部90は、洗浄装置10の内部から開口部12の開口面に鉛直に突出して平行に設けられた2本の腕材91、この椀材91の開口部12から突出した一端に設けられた滑り止め材92から構成されている。
次に、本実施の形態における洗浄装置の各部の詳細な構成および動作の詳細について説明する。
図2(a),(b)、図3に示すように、昇降機構部40は、洗浄装置10本体天井部から主エアシリンダ42を介し懸架されて設けられた主昇降部41と、主昇降部41から副エアシリンダ44を介して懸架されて設けられた副昇降部43とで構成されている。主昇降部41は主エアシリンダ42の伸縮によって昇降するようになっており、主昇降部41の両側に配置された車輪をガイドレール46により昇降可能に支持されている。
副昇降部43は副エアシリンダ44の伸縮によって昇降するようになっており、その下部両側に被洗浄物容器20が収納される際、被洗浄物容器20の保持軸21を受けるためのコの字状の被洗浄物容器受け45を具備している。
回転機構部50は昇降機構部40上に構成されており、主昇降部41の上側に回転用モータ51と回転スプロケット52aを持ち、主昇降部41の下側に伸びたアーム47の先端に回転スプロケット52bと回転駆動軸54と被洗浄物容器軸受55が配置されている。上下の回転スプロケット52a,52bは駆動チェーン53で連結され回転用モータ51の回転駆動が伝達され回転駆動軸54が回転するように構成されている。
被洗浄物容器20が搬入される際、主エアシリンダ42および副エアシリンダ44を駆動され、主昇降部41および副昇降部43は被洗浄物容器受け45のコの字状部の内壁の下面と腕材91の上面とが一致する位置まで移動する(図3)。位置決めされると、被洗浄物容器20は腕材91の上面に載せられて洗浄装置10の内部方向へ押されると、保持軸21が腕材91の上面を滑るように移動し、腕材91の先端を越えて被洗浄物容器受け45のコの字状内壁の奥面で停止する。
この際、被洗浄物容器20の保持軸21のD字形状のカット面は被洗浄物容器受け45のコの字状下面に接しているため被洗浄物容器20は回転する事なく安定しており、回転駆動キー23は正しく下を向いて維持される。
被洗浄物容器20の保持軸21が被洗浄物容器受け45に収納されると、制御部11からの指示を受けて副エアシリンダ44が伸長して副昇降部43を下降させ、被洗浄物容器20の回転軸22が被洗浄物容器軸受55に回転可能に支持されるとともに回転駆動キー23が回転機構部50の回転駆動軸54に設けられたキー溝56に嵌合する。
また、水切り工程終了後に被洗浄物容器20を洗浄装置10の内部から搬出する際は、上述の手順の逆順に動作する。制御部11からの指示を受けて、副エアシリンダ44が収縮して副昇降部43を上昇させ、回転駆動キー23がキー溝56との接続を解除されるとともに被洗浄物容器20の回転軸22が被洗浄物容器軸受55から解放される。
このようにして、昇降機構部40と回転機構部50とが動作する。
ノズル64は、図5に示すように被洗浄物容器20の周回面に沿って複数本設置されており、回転されている被洗浄物容器20に収納した被洗浄物の分布に応じて図5に示すとおり、被洗浄物容器20の周回面の左斜め下方から回転軸方向に洗浄水を噴射するように配置される。
このように構成することにより、ノズル64から噴射される微細気泡を含む高速の水流は、被洗浄物容器20の周回面の網目を通過し、被洗浄物に衝突して被洗浄物表面に付着している油脂分を十分に剥離させることができる。
剥離された油脂分は気泡に吸着されるので洗剤を使用しない洗浄水でも十分な脱脂効果が得られる。また、被洗浄物容器20を5〜10rpm程度の低速で回転させることによって内部の被洗浄物は反転攪拌されるため、噴射された微細気泡を含む水流を満遍なく被洗浄物に衝突させる事ができる。
こうして、フロン系の溶剤や有機溶剤あるいは炭化水素系などの洗浄剤を使うことなく、水を主体とした洗浄水により十分な洗浄効果が得られるので環境負荷を低減させることができる。
本洗浄装置の水切り工程では、洗浄後の被洗浄物容器20を昇降機構部40の主エアシリンダ42の上昇により洗浄部31から引き揚げ、水切り回転位置に保持して回転機構部50により5〜10rpm程度の低速で回転させながら、水切り機構部70が高速の空気流を被洗浄物に噴射する事により、付着した洗浄水を吹き飛ばす構成としている。
エアノズル71は、図6に示すようにエアノズル取付け板72に支持され、被洗浄物容器20の周回面に対して高速の空気流を噴射する。エアノズル取付け板72に設けられた溝78にエアノズル固定具73によって上下方向に回動可能に支持され、水切り効果を発揮する適切な位置および角度に配置される。
エアノズル71はエアホース74を通じて圧縮空気が供給される。このエアノズル71は空気制御バルブ77によって断続的に圧縮空気を噴射する事が可能になっている。また、エアノズル取付け板72に取付けられたエアノズル71は複数用意し、これらをアーム76で一体に固定してエアシリンダ75を駆動して被洗浄物容器20の周回面に沿って左右方向に往復動作可能な構成である。
なお、水切り工程におけるエアノズル71からの高速の空気流は連続して噴射しても良いが、空気制御バルブ77を断続的に駆動させる事によって噴射による流速を高めることもでき、また、複数のエアノズル71の噴射タイミングをずらせて噴射させるようにしても良い。
こうして、被洗浄物に付着した洗浄水を除去する事ができ、すすぎ工程を廃止して、すすぎ工程で生じるすすぎ液の廃棄処理を不要とし環境への油脂分の排出を無くすことができるので、環境負荷に配慮するとともに廃棄物処理コストを低減させることができる。
本実施の形態における洗浄装置10は、以上のように構成されており、この構成による洗浄・水切り工程は以下の手順によって実施されるものであり、図1〜図4を用いて説明する。
まず、被洗浄物容器20を洗浄装置10本体内部に搬入する工程について説明する。
被洗浄物容器20は、作業者等により、切削加工、プレス加工などによる金属加工物である被洗浄物が収納され、洗浄装置10本体前面の開口部12から突出して設けられた摺動保持機構部90の2本の腕材91へ載置される。
被洗浄物容器20は、作業者等に洗浄装置10本体側に押されると、腕材91上を滑るように摺動して洗浄装置10内部へ移動し、被洗浄物容器受け45のコの字形状の窪み部分へ被洗浄物容器20の保持軸21が収められて支持され、副昇降部43に格納される。
被洗浄物容器20が格納され制御パネル等から開始指示信号を受けると、制御部11は、洗浄装置10本体のシャッター13を閉じて開口部12を閉鎖し、昇降機構部40の副エアシリンダ44を伸長させ副昇降部43を下降させる。
副昇降部43が下降すると、被洗浄物容器20の回転駆動キー23が、被洗浄物容器軸受55のU字形に収められた回転駆動軸54のキー溝56に嵌め合わせられて、被洗浄物容器20と回転駆動軸54とが同軸上に配置される。
次に、洗浄工程について説明する。
被洗浄物容器20と回転駆動軸54とが接続されると、制御部11からの指示にしたがって主エアシリンダ42が伸長することで、被洗浄物容器20は下降し洗浄槽30の洗浄部31に満たされている洗浄水中に浸漬させられる。浸漬された被洗浄物容器20は回転用モータ51の回転駆動が回転駆動軸54を介して伝達され回転する。回転している被洗浄物容器20の周回面に対して、ノズル64から微細気泡を含む洗浄水が高速水流で噴射され、被洗浄物容器20に収納された被洗浄物の洗浄が行われる。
この際、被洗浄物の表面に付着していた油脂分等が微細気泡に吸着することで剥離され、油脂分等は洗浄部31内の洗浄水の水面に浮上する。被洗浄物容器20の回転およびノズル64から噴射される水流によって洗浄水の水面付近にはオーバーフロー堰32方向への流れが発生し、オーバーフロー堰32の上縁を越えた油脂分を含む洗浄水が隣接する油水分離部80に送られる。
次に、水切り工程について説明する。
所定時間の洗浄が終了すると、制御部11からの指示にしたがって回転用モータ51が停止するとともに主エアシリンダ42が収縮することで、被洗浄物容器20は上昇し洗浄槽30の外部に取り出され、水切り機構部70に対向する位置に位置決めされる。位置決めされると、被洗浄物容器20が洗浄工程時とは逆回転し、水切り機構部70のノズル71から圧縮空気が被洗浄物容器20の周回面に対して噴出され、被洗浄物に付着している洗浄水が吹き飛ばされる。
ここで、洗浄工程における被洗浄物容器20と水切り工程における被洗浄物容器20との回転の違いについて説明する。
図4(a)は、洗浄装置10の水切り工程における被洗浄物容器20とエアノズル71との配置を示す断面図であり、図4(b)は洗浄装置10の洗浄工程における被洗浄物容器20とノズル64との配置を示す断面図である。
図4(b)に示すように洗浄工程においては、ノズル64が被洗浄物容器20の左下方向から洗浄水を噴射させており、図4(a)に示すように水切り工程においては、エアノズル71が被洗浄物容器20の右方向から空気を噴射させている。これは、ノズルからの噴射物が被洗浄物容器20内の被洗浄物に直接当たるようにするために、噴射位置によって被洗浄物容器20の回転方向を変えるようにしているものである。
所定時間の水切りが終了すると、制御部11からの指示にしたがって回転用モータ51が停止し被洗浄物容器20の回転が止まる。回転が止まると、副エアシリンダ44が収縮することで回転駆動キー23とキー溝56との接続が解除され、被洗浄物容器20は回転駆動軸54との同軸上から解放される。
被洗浄物容器軸受け45のコの字状の内壁下面と腕材91の上面との高さが一致する位置で副エアシリンダ44の収縮が停止され、被洗浄物容器20の上昇が止まり、開口部12を閉鎖していたシャッター13を開いて工程を終了させる。
洗浄、水切り工程後の被洗浄物容器20は、作業者等が運搬用取手24を把持し腕材91上を滑らせるようにして洗浄装置10内部から引き出される。
このようにして洗浄装置10による洗浄・水切り工程が行われる。
ここで、従来の洗浄装置における被洗浄物容器の着脱方法の問題点を考慮した洗浄装置10の構成について説明する。
被洗浄物容器20の着脱の従来の一般的な方法は、被洗浄物容器20に取付けられた取手を持って洗浄槽30上面から被洗浄物容器20の回転軸を軸受けへ装着するものであるが、この方法では重量の大きい被洗浄物及び被洗浄物容器20を人力によって洗浄槽30上面で保持する姿勢となり、作業者への肉体的負担が大きい。そこで、以下にこれら作業性に配慮して被洗浄物容器20等を改良した構成について説明する。
図7(a)に示すように被洗浄物容器20の保持軸21断面はD字形の直線部分のようなカット面が設けられ、このD字形状のカット面が摺動保持機構部90の腕材91の上面に接することで、被洗浄物容器20は支持される。回転起動キー23は回転機構部50のキー溝56と嵌め合わせられて回転軸22に回転用モータ51からの回転駆動力が伝達され、回転軸22は回転機構部50の被洗浄物容器軸受55上で回動する。
図7(b)は被洗浄物容器20を腕材91に載置した状態を示す側面図である。保持軸21に設けたD字形状のカット面が腕材91の上面に接触して置かれており、このように載置した際、回転駆動キー23は回転機構部50のキー溝56の方向と一致するようになっている。
図7(c)は被洗浄物容器20に設けた運搬用取手24の位置を変更したものである。この図において、被洗浄物容器20の軸方向両端面に設けた保持軸21と回転軸22と回転駆動キー23とは前述の構成と同じものであり、図7(c)で運搬用取手24は、保持軸21に設けたD字形状のカット面を腕材91の上面に合わせて載置した際、手前側に倒れる方向の力が働くような角度で取り付けたものである。すなわち、被洗浄物容器20を腕材91の上面に載置した際、運搬用取手24が洗浄装置10の開口部方向に向くように配置されたものである。
この被洗浄物容器20では、作業者が運搬用取手24を持って被洗浄物容器20を腕材91に図7(c)のように一旦載置し、その後、図7(d)のように、手前方向に回転させることによって保持軸21に設けたD字形のカット面を腕材91の上面に合わせて安定させるようにし、手前に向いた運搬用取手24を押して被洗浄物容器20が洗浄装置10内部へ搬入される。
また、摺動保持機構部90を構成する腕材91は、図8(b)に示すように、その手前先端部に摺動面より突出して滑り止め材92を設け、載置した被洗浄物容器20が作業者側へ移動して落下する事を防止するように構成されている。
なお、この滑り止めのための機構は図8(c)のように湾曲した材料で腕材91を構成し滑り止め材92と一体化しても良い。
このように、重量のある被洗浄物を収納した被洗浄物容器20を洗浄装置10の開口部から突出させた腕材91に載置する際、作業者がこれを支えるときの姿勢に無理を生じることなく載置する事が可能である。また、載置後の作業は、腕材91に被洗浄物容器20の重量を保持させた状態で、被洗浄物容器20が転がることなく、本装置内部へ滑らせて収納するようにしているので、作業者への肉体的負担を軽減し、作業効率を向上させる事ができる。
以上のように、実施の形態1の洗浄装置10は、被洗浄物を収納する被洗浄物容器20と、被洗浄物容器20を水に浸漬洗浄する洗浄槽30と、被洗浄物容器20を保持し洗浄槽30に浸漬または取出すための昇降機構部40と、被洗浄物容器20を洗浄槽30の内部および外部で回転させる回転機構部50と、洗浄槽30に気泡を噴射する気泡発生部63と、洗浄槽30外部で被洗浄物容器20に高速の空気流を噴射する水切り機構部70と、洗浄槽30の洗浄水を油脂と洗浄水に分離する油水分離部80と、該油水分離部80の最終段から清浄洗浄水を気泡発生部63へ送る循環経路62と、被洗浄物容器20を装置内に収納または取り出すための摺動保持機構部90とを備えたことで、被洗浄物容器20を昇降・回転可能にし、水を主体とする洗浄水により洗浄し、洗浄後は被洗浄物容器20を洗浄槽30上部に引き上げた状態で回転させながら圧縮空気を噴射して水切りを行うようにしたので、洗浄槽30内に洗浄水を貯留したまま水切り処理を行うことができ、給排水に要する時間を短縮できるとともに、洗浄槽1槽のみで洗浄・水切り・乾燥することができ洗浄装置10を小型化できる。
また、実施の形態1の洗浄装置10の水切り機構部70はエアノズル71を取付け板72の溝78に回動可能に支持し、溝78の上下方向の適切な位置に移動して固定可能なようにした複数の噴射装置を備え、それらを左右方向に往復駆動可能なようにしたので、洗浄物収納容器20に収納される被洗浄物の形状・重量などに応じて最適な噴射位置を確保でき、効率的に水切りを行えるとともに、被洗浄物容器20は低速で回転させることができるため被洗浄物の飛び散りや破損を回避できる。
また、噴射装置は空気制御バルブ77を操作して断続的な噴射を可能として噴射初期速度を高めるようにしたので、より強力な吹きつけ力が得られ、短時間で被洗浄物の水切り・乾燥が行うことができる。
また、実施の形態1における被洗浄物容器20の洗浄装置10への搬入出作業においては、本体前面の開口部12から突出して設置した2本の腕材91に被洗浄物容器20を載置し、腕材91上を摺動させ洗浄装置10内部へ搬入するようにし、被洗浄物容器20が洗浄装置10内部に収納された後は、副昇降部43が駆動して自動的に回転機構部50への着脱が行えるようにしたので、操作性が向上するとともに作業者の腕・腰部への肉体的負担を大幅に軽減する事ができる。
また、実施の形態1における回転機構部50は昇降機構部40上に一体的に構成し、昇降機構部40は被洗浄物容器20を洗浄槽30に浸漬し、引き揚げるための主昇降部41と、摺動保持機構部90から被洗浄物容器受け45へ引き渡された被洗浄物容器20の回転駆動キー23を、回転機構部50の回転駆動軸54に設けたキー溝56へ嵌め合わせるための副昇降部43で構成されるようにしたので、被洗浄物容器20の回転軸22と回転機構部50の回転駆動軸54とを接続するための上下移動距離を小さくすることができ、特別な位置合わせ機構を設けることなく被洗浄物容器20を回転機構部50に正確に装着することができる。
また、摺動保持機構部90の腕材91は、洗浄装置10の開口部12から突出している先端部に摺動面より突出した滑り止めを設けているので、載置した被洗浄物容器20が作業者側に移動して落下する事を防止できる。
また、ノズル64を被洗浄物容器20の周回面に沿って複数設けたので、効率よく被洗浄物を洗浄することができ、被洗浄物容器20を低速で回転させて微細気泡を噴射させるので、満遍なく被洗浄物に微細気泡を衝突させることができる。こうして、フロン系の溶剤や有機溶剤あるいは炭化水素系などの洗浄剤を使うことなく、水を主体とした洗浄水により十分な洗浄効果が得られるので環境負荷を低減させることができる。
また、すすぎ工程で生じるすすぎ液の廃棄処理を不要とし環境への油脂分の排出を無くすことができるため、環境負荷に配慮するとともに廃棄物処理コストを低減することができるとともに、洗浄後のすすぎ工程を廃止することができるので、すすぎ水の廃棄に伴う環境への影響を排除し、環境保護に配慮した洗浄装置を提供することができる。
また、洗浄装置10から突出した位置に腕材91を多重量の被洗浄物を収納した被洗浄物容器20を洗浄装置10から突出した位置にある腕材91に載置する際、載置後の作業は、腕材91に被洗浄物容器20の重量を保持させた状態で、被洗浄物容器20が転がることなく、洗浄装置10の内部方向へ滑らせるようにして収納するので、作業者への肉体的負担を軽減することができる。
なお、水切り工程における高速の空気流は連続して噴射しても良いが、空気制御バルブ77を断続的に駆動させることで噴射による流速を高めることもできる。また、複数のエアノズル71の噴射タイミングをずらせて噴射させることで、より確実に洗浄効果を得ることができる。また、被洗浄物に付着した洗浄水を除去する事ができるため、すすぎ工程を廃止する事が可能となる。
以上のように本実施の形態による洗浄装置は、水を主体とした洗浄水と微細気泡により洗浄を行い、水切り工程において被洗浄物に付着する洗浄水を除去し、洗浄水を清浄に保つように構成したことによって、すすぎ液の廃棄が不要となる環境負荷を抑制した洗浄装置を提供するとともに、洗浄槽1槽から成る簡単な構成の洗浄装置を提供し、更には、作業者の操作性に配慮した洗浄装置を提供する事ができるものである。
実施の形態2.
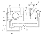
実施の形態2における洗浄装置10は、洗浄部31の洗浄水を効果的に油水分離部80へ排水するように、洗浄槽30に流水ノズル100および油脂除け仕切板110を設けるようにしたものである。以下に図9を用いて説明する。なお、実施の形態1の構成と同じ構成については、その説明を省略する。
洗浄工程により微細気泡に吸着された油脂分を含む洗浄水は洗浄部31の水面近傍に浮上し、洗浄部31の水面中央付近では被洗浄物容器20の回転に伴いオーバーフロー堰32に向かって流れる。しかし、洗浄部31内の周辺部や四隅付近では必ずしもこの方向への水流にならず、油脂分を含む洗浄水が滞留あるいは逆流することがある。そこで、洗浄水を常に清浄な状態を保つためには、これらの油脂分を含む洗浄水を速やかに油水分離部80へ排水することが必要である。
図9は、実施の形態2における洗浄装置10の洗浄槽30および油水分離部80の構成を示す図であり、図9(a)が上面図、図9(b)が側面図である。
洗浄槽30の洗浄部31には、流水ノズル100、油脂除け仕切板110が設けられており、流水ノズル100は、オーバーフロー堰32に対向する洗浄部31内の洗浄水面近傍に設けられ、油脂除け仕切板110は洗浄水面近傍の洗浄部31の四隅を塞ぐように配置されている。
流水ノズル100は、図9(b)に示すように循環経路62から分岐した循環経路65を接続されており、ポンプ61の駆動により洗浄水が供給される。
図9(a)に示すようにノズル100が洗浄部31のオーバーフロー堰32と対向する側の水中から水面に向かって斜め上方かつ斜め外向きの方向に洗浄水を噴出するように配置され、洗浄部31の壁に沿ってオーバーフロー堰32方向への流れを発生させる。この流れと被洗浄物容器20の回転による流れとによって洗浄部31の水面近傍の洗浄水は、効率よくオーバーフロー堰32の上縁を越えて油水分離部80へ排水されていく。また、油脂除け仕切板110によって洗浄部31の四隅に油脂分を含む洗浄水が滞留しない。
なお、流水ノズル100から噴出する洗浄水の速度は洗浄部31の表面を攪拌することなく所望の流速が得られるように適度に調節することが望ましい。また、流水ノズル100は水面近傍に配置し、水面に向かって洗浄水を噴出してオーバーフロー堰32へ向かう水流を発生させるようにしてもよいし、水面上に配置してもよい。また、油脂除け仕切板110は円弧状に整形した板を用いることにより一層速やかな流れを生じさせることも可能である。さらに、油脂除け仕切板110の高さは、水面から洗浄部31の底まであってもよいが、必要なのは水面付近のみであるので底まで伸ばす必要はない。
以上のように、実施の形態2の洗浄装置10の洗浄槽30は、被洗浄物容器20が回転する方向の延長側にオーバーフロー堰32を設け、洗浄部31の四隅の水面付近に油脂除け仕切板110を設けるとともに、洗浄部31のオーバーフロー堰32と対向する側の水中または水面からオーバーフロー堰32に向かって洗浄水を噴出する流水ノズル100を設けたので、洗浄部31の洗浄水面周辺部からオーバーフロー堰32の方向へ水流を起こすことができ、これによって洗浄部31の四隅に滞留する油脂分や回転する被洗浄物容器20の側方で逆流しようとする油脂分をオーバーフロー堰32に向けて流し、洗浄部31表面の油脂分を速やかにオーバーフローさせ洗浄水を清浄に保つことができる。
なお、各工程における所定時間は、作業が有効であるように適宜決められるものである。
実施の形態3.
実施の形態2においては、洗浄槽30の洗浄部31に流水ノズル100および油脂除け仕切板110を設け、洗浄部31の洗浄水を効果的に油水分離部80へ排水する構成について説明したが、実施の形態3は、油水分離部80において、油脂分及び異物を含む洗浄水が循環部60としての循環経路62へ流出するのを抑制する構成について説明する。
本発明では、気泡発生部63において気体と洗浄水とを混合させ、洗浄水中に球状の微細気泡として所謂マイクロバブルを発生させている。
通常の気泡は、水中を浮上する際に水からの抗力受けて歪んだ形状の気泡となる。一方、微細気泡は、気泡内部の圧力が高くなるため、水の抗力を受けても歪みが発生せず球状の気泡を維持することが広く知られており、具体的には、気泡径d=1mm以下となる場合に微細気泡が球状となる。
微細気泡は微細な球状を維持することにより水中での上昇速度が遅く、微細気泡に吸着された油脂分や異物が洗浄水水面に浮遊するまでには時間がかかるため、油脂分や異物が洗浄水水面に浮遊する前に洗浄水が循環部60へ吸入されてしまい、油脂分や異物が循環部60に流入してしまうという課題がある。そこで、実施の形態3では、油水分離部80において洗浄水中の微細気泡が循環部60へ流入するのを抑制するような流路を形成している。
図10は、実施の形態3の洗浄装置10の洗浄槽30、循環部60、油水分離部80の構成を示す側面断面図である。なお、油水分離部80以外の構成は、実施の形態2の洗浄装置10と同様であるため、同じ符号を付してその詳細な説明については省略する。
図10に示すように、循環部60は、ポンプ61、循環経路62,65、気泡発生部63、ノズル64、流水ノズル100で構成されている。また、洗浄槽30は、洗浄部31、オーバーフロー堰32、油脂除け仕切板110で構成されており、洗浄部31に溜められた洗浄水内で被洗浄物容器20を洗浄する。洗浄部31には、循環経路62から分岐した循環経路65に接続された流水ノズル100が設けられており、洗浄部31の洗浄水面上に流れを生じさせるように清浄洗浄水が供給される。
油水分離部80は、オーバーフロー堰32を介して洗浄部31と接する位置に設けられ、分離槽81、油脂回収部82、垂直仕切板83a,83b、水平仕切板83cで構成されている。
分離槽81は洗浄部31からオーバーフロー堰32を介して溢れた油脂分を含む洗浄水を溜める槽であり、油脂回収部82は油脂吸着ベルト及び油脂回収容器を有し、分離槽81で浮上した油脂分を回収するものである。
垂直仕切板83a,83bは、分離槽81において洗浄水の水面に対する水平方向の流れを仕切る板であり、垂直仕切板83aが分離槽81内の洗浄水水面部を遮ると共に底部を連通させるように配置され、垂直仕切板83bが分離槽81内の底部を遮り洗浄水水面部を連通させるように配置される。即ち、垂直仕切板83a,83bは、洗浄水水面に対して水平方向の流れを遮り垂直方向の流れに変えるように配置されている。なお、図10においては、垂直仕切板83aと垂直仕切板83bが1つずつ配置されているが、目的に応じて複数ずつ配置する場合、垂直仕切板83aと垂直仕切板83bを交互に配置して構成する。また、垂直仕切板83bは、洗浄水に残留する油脂分や異物を吸引口166に近づけないように、吸引口166の直前に設けると共に、吸引口166の位置から水面方向に10cm以上高い位置に設けると好適である。
水平仕切板83cは、分離槽81において洗浄水の水面に略平行に設けられ、分離槽81の深さ方向に蛇行形状の流路を形成するように配置される。即ち、水平仕切板83cは、洗浄水の水面に対して垂直方向の流れを遮り水平方向の流れに変えるように配置されている。例えば、水平仕切板83cは、オーバーフロー堰32と垂直仕切板83aに互い違いに配置されると共に垂直仕切板83aと垂直仕切板83bに互い違いに配置されている。なお、水平仕切板83cは、オーバーフロー堰32、垂直仕切板83a、垂直仕切板83bに垂直に設けるだけではなく、必要に応じて鋭角となるように配置してもよい。
分離槽81には、オーバーフロー堰32に対向する壁面側及びその近傍の側面、即ち洗浄水の流れの下流側に、吸引口166が所定の高さで配置されている。吸引口166の近傍においては、循環経路62を介したポンプ61により強く吸引されているため、洗浄水の流れが早く、吸引口166が油水分離部80の底を向いている場合には、底に沈んだ異物などを巻き上げ吸引する可能性が高い。そこで、吸引口166の向きは油水分離部80の底面に対して平行より上向きに配置するのが好適である。なお、吸引口166の近傍に囲いを設ける構成にしてもよい。これらのような構成を設けることで、洗浄水中の微細気泡が吸引口166方向への進行を妨げて、微細気泡に吸着した油脂分や異物が吸引口166から吸引されることを抑制している。
次に、油水分離部80の機能と洗浄水の流れについて説明する。
分離槽81は、洗浄部31からオーバーフロー堰32の上縁を越え溢れ流れた洗浄水が溜まるようになっており、洗浄部31からの洗浄水は流れの弱い状態で油脂分が浮上して油脂と水とに分離され、洗浄水面付近に浮上した油脂分は油脂回収部82で油脂吸着ベルト等を用いて油脂回収容器に回収される。
ここで垂直仕切板83aにより、洗浄水は底面方向(図10における下方)に流れ、オーバーフロー堰32と垂直仕切板83aの間の水平仕切板83cにより形成された蛇行形状の流路に沿って分離槽81底部へ進む。洗浄水は、分離槽81底部まで進むと、連通した垂直仕切板83aの底部(図10における下部)を通って、垂直仕切板83aと垂直仕切板83bとの間の水平仕切板83cにより形成された蛇行形状の流路に沿って分離槽81水面部(図10における上部)へ進む。洗浄水は、垂直仕切板83bの連通した洗浄水水面部を通って、垂直仕切板83bと分離槽81壁面との間を底面方向に流れ、分離槽81の底面から所定の高さの位置に設けられた吸引口166から吸引され循環部60に送られる。
上述のように、実施の形態3の洗浄装置10によれば、油水分離部80において、垂直仕切板83aは洗浄水の水平方向の流れを仕切って底面に向けた垂直方向の流れに変更し、水平仕切板83cは垂直方向の洗浄水の流れを仕切って水平方向の流れに変更すると共に蛇行形状の流路を形成し、垂直仕切板83bは洗浄水の流れを水面に向けた垂直方向の流れに変更すると共に吸引口166方向に導くように構成したことにより、洗浄水中の微細気泡が吸引口166に吸引されることが抑制されるので、洗浄水中の微細気泡に吸着した油脂分や異物を循環部60に流入することを抑制することができるという効果がある。
なお、実施の形態3においては、実施の形態2と同様、洗浄槽30に流水ノズル100および油脂除け仕切板110を設ける構成として示しているが、実施の形態1のように洗浄槽30に流水ノズル100および油脂除け仕切板110を設けていない構成でも良い。
実施の形態4.
実施の形態3においては、垂直仕切板83a,83bと水平仕切板83cにより洗浄水中の微細気泡に吸着した油脂分や異物が吸引口166へ吸引されるのを抑制する構成について説明したが、実施の形態4は、循環部60において洗浄水中の油脂部や異物を除去する構成について説明する。
実施の形態3の洗浄装置10における構成により、油脂分や異物が吸引口166へ吸引されるのを抑制されたとしても、長期間の使用によって徐々に異物等が進入する。循環部60のポンプ61は、異物が入り込み蓄積すると詰まり等の故障の原因となり、洗浄装置10の運用上重大な問題が発生するという課題があった。そこで実施の形態4においては、ポンプ61の前段の循環経路62上に異物除去部400を設けている。
また、異物除去部400に詰まりが生じた場合には、洗浄装置10を停止させて循環経路62としての配管から異物除去部400を外して交換又は清掃を行わなければならず、手間や多くの時間を要するため、生産量、洗浄品質の低下によって歩留まりが悪化するという課題があった。そこで、実施の形態4の洗浄装置10では、循環経路62のバイパス経路403を設けている。
図11は、実施の形態4の洗浄装置10の洗浄槽30、循環部60、油水分離部80の構成を示す側面断面図である。なお、循環部60以外の構成は、実施の形態2の洗浄装置10と同様であるため、同じ符号を付してその詳細な説明については省略する。
図11に示すように、洗浄槽30は、洗浄部31、オーバーフロー堰32、油脂除け仕切板110で構成されており、洗浄部31に溜められた洗浄水内で被洗浄物容器20内の被洗浄物を洗浄する。洗浄部31には、循環経路62から分岐した循環経路65に接続された流水ノズル100が設けられており、洗浄部31の洗浄水面上に流れを生じさせるように清浄洗浄水が供給される。
油水分離部80は、オーバーフロー堰32を介して洗浄部31と接する位置に設けられ、分離槽81、油脂回収部82で構成されている。なお、油水分離部80は、実施の形態3の油水分離部80と同様に、垂直仕切板83a,83b、水平仕切板83cを設けた構成であっても良い。
循環部60は、ポンプ61、循環経路62,65、気泡発生部63、ノズル64、流水ノズル100、吸引口166、異物除去部400、バルブ401、状態監視部402、バイパス経路403で構成されている。
ポンプ61は油水分離部80の洗浄水を吸引口166から吸引すると共に洗浄槽30内へ送出して洗浄水を循環させるものであり、循環経路62は循環させる洗浄水の流路を形成する例えばパイプ等である。気泡発生部63は気体と洗浄水とを混合させて気泡を発生させ、ノズル64は洗浄水を洗浄槽30内の被洗浄物容器20に向けて吹き出す。循環経路65は循環経路62から分岐してノズル100へ洗浄水を供給し、ノズル100は洗浄槽30の洗浄水表面近傍に洗浄水を送出して水面上に流れを発生させる。
バイパス経路403は、循環部60の吸引口166とポンプ61との間の循環経路32上の迂回流路として設けられている。
異物除去部400は、循環経路62及びバイパス経路403に設けられ、油水分離部80から流入した異物等を受け止めて洗浄水中から除去する。異物除去部400は、例えばフィルタ又はストレーナである。
バルブ401は、循環経路62上及びバイパス経路403上において異物除去部400と状態監視部402を挟むように設けられ、バルブ401の弁を開閉させることで、循環経路62又はバイパス経路403上における洗浄水の通水、止水を制御する。
状態監視部402は、循環経路62上において異物除去部400を挟むように設けられ、異物除去部400における流れの状態を計測するものである。状態監視部402は、例えば圧力計や流量計である。即ち、状態監視部402としての圧力計又は流量計をモニタリングすることで、異物除去部400における詰まりの状態を監視することができる。なお、状態監視部402は、循環経路62上と共にバイパス経路403上においても異物除去部400を挟むように構成しても良い。
次に、実施の形態4の洗浄装置10における循環部60の機能動作について説明する。
図11に示すように、通常はバイパス経路403のバルブ401が閉状態であり、循環経路62のバルブ401が開状態で洗浄水をポンプ61へ通している。
異物除去部400が異物等により詰まった場合、循環経路62のバルブ401を閉状態にすると共にバイパス経路403のバルブ401を開状態にし、洗浄水の流れをバイパス経路403に変更して循環経路62のバルブ401間の洗浄水の流れを止める。このように洗浄水の流れをバイパス経路403に変更することで、異物除去部400の交換や清掃作業を行う際に、洗浄装置10を停止しないようにしている。
上述のように、実施の形態4の洗浄装置10によれば、循環部60において、吸引口166とポンプ61との間の循環経路62上に異物除去部400を設け、異物除去部400は循環経路62に流入した異物を洗浄水中から除去し、バイパス経路403は異物除去部400が異物で詰まった場合に循環経路62の迂回路とすることができるので、ポンプ61の故障の原因を低減すると共に、洗浄装置10を停止させることなく循環経路62上の異物除去部400を交換、清掃することができ歩留まりの悪化を抑制するという効果がある。
なお、実施の形態4においては、実施の形態2と同様、洗浄槽30に流水ノズル100および油脂除け仕切板110を設ける構成として示しているが、実施の形態1のように洗浄槽30に流水ノズル100および油脂除け仕切板110を設けていない構成でも良い。
実施の形態5.
実施の形態4においては、循環部60のポンプ61の前段に循環経路62を迂回するバイパス経路403を設け、循環経路62上とバイパス経路403上に異物除去部400を設けた構成について説明したが、実施の形態5は洗浄装置10の洗浄槽30及び油脂分離部80のメンテナンス性を向上させる構成について説明する。
微細気泡を含んだ洗浄水を用いて洗浄する際、特に切削工程などを経た部品を洗浄する場合、切削部品に付着している比重の重い金属切削粉等の異物が微細気泡により切削部品から剥離し、洗浄槽30や油水分離部80の底に溜まる。
金属切削粉等の異物を洗浄槽30や油水分離部80の底に溜まったままにすると、洗浄水中に巻き上げられ、清浄度悪化やポンプの詰まりなどを引き起こすという課題があった。また、洗浄槽30や油水分離部80の底に溜まった金属切削粉等の異物を完全に排出することは困難であるという課題があった。
そこで、実施の形態5は、洗浄槽30や油水分離部80の底に溜まった金属切削粉等の異物を容易に排出することのできる構成にしている。
図12は、実施の形態5の洗浄装置10の洗浄槽30、循環部60、油水分離部80の構成を示す側面断面図である。なお、洗浄槽30及び油水分離部80以外の構成は、実施の形態2の洗浄装置10と同様であるため、同じ符号を付してその詳細な説明については省略する。
図12に示すように、循環部60は、ポンプ61、循環経路62,65、気泡発生部63、ノズル64、流水ノズル100で構成されている。なお、循環部60は、実施の形態4のように異物除去部400、バルブ401、状態監視部402、バイパス経路403を設けた構成にしても良い。
洗浄槽30は、洗浄部31、オーバーフロー堰32、油脂除け仕切板110で構成されており、洗浄部31に溜められた洗浄水内で被洗浄物容器20内の被洗浄物を洗浄する。洗浄部31には、循環経路62から分岐した循環経路65に接続された流水ノズル100が設けられており、洗浄部31の洗浄水面上に流れを生じさせるように清浄洗浄水が供給される。
また、洗浄槽30にはスロープ501と異物排出部502が設けられており、スロープ501は、洗浄槽30の底部をテーパ状に形成し洗浄水中で沈殿した異物がテーパ状の最も深い中央部分に溜まるようにしている。異物排出部502は、スロープ501の底部の中央部分に設けられており、バルブを開き底部に溜まった異物を適宜引き抜いて排出できるように構成されている。
油水分離部80は、オーバーフロー堰32を介して洗浄部31と接する位置に設けられ、分離槽81、油脂回収部82で構成されている。なお、油水分離部80は、実施の形態3の油水分離部80と同様に、垂直仕切板83a,83b、水平仕切板83cを設けた構成であっても良い。
また、油水分離部80の分離槽81にはスロープ501と異物排出部502が設けられており、スロープ501は、分離槽81の底部をテーパ状に形成し洗浄水中で沈殿した異物がテーパ状の最も深い中央部分に溜まるようにしている。異物排出部502は、スロープ501の底部の中央部分に設けられており、バルブを開き底部に溜まった異物を適宜引き抜いて排出できるように構成されている。
なお、実施の形態5において、洗浄槽30と油水分離部80の両方にスロープ501と異物排出部502が設けられている構成について説明したが、洗浄槽30と油水分離部80のいずれか一方に設けるように構成しても良い。
上述のように、実施の形態5によれば、洗浄槽30の底部又は油水分離部80の底部にスロープ501と異物排出部502を設け、スロープ501は洗浄水中で沈殿する異物を底部の中央部分に溜め、異物排出部502は溜まった異物を排出できるように構成したので、金属切削粉等の異物を容易に排出することができ、異物が洗浄水中に巻き上げられることなく、清浄度悪化やポンプの詰まりを抑制することができるという効果が得られる。
なお、実施の形態5においては、実施の形態2と同様、洗浄槽30に流水ノズル100および油脂除け仕切板110を設ける構成として示しているが、実施の形態1のように洗浄槽30に流水ノズル100および油脂除け仕切板110を設けていない構成でも良い。
10 洗浄装置、11 制御部、12 開口部(搬入出口)、13 シャッター、20 被洗浄物容器、21 保持軸、22 回転軸、23 回転駆動キー、24 運搬用取手、30 洗浄槽、31 洗浄部、32 オーバーフロー堰、40 昇降機構部、41 主昇降部(第1の昇降機構部)、42 主エアシリンダ、43 副昇降部(第2の昇降機構部)、44 副エアシリンダ、45 被洗浄物容器受け、46 ガイドレール、47 アーム、50 回転機構部、51 回転用モータ、52a,52b 回転スプロケット、53 駆動チェーン、54 回転駆動軸、55 被洗浄物容器軸受、56 キー溝、60 循環部(循環経路部)、61 ポンプ(循環経路部)、62,65 循環経路(循環経路部)、63 気泡発生部、64 ノズル(気泡発生部)、70 水切り機構部、71 エアノズル(噴射装置)、72 エアノズル取付け板(噴射装置)、73 エアノズル固定具(噴射装置)、74 エアホース(噴射装置)、75 エアシリンダ、76 アーム、77 空気制御バルブ(噴射装置)、78 溝、80 油水分離部、81 分離槽、82 油脂回収部、83a,83b 垂直仕切板、83c 水平仕切板、90 摺動保持機構部、91 腕材、92 滑り止め材(滑り止め)、100 流水ノズル、110 油脂除け仕切板、166 吸引口、400 異物除去部、401 バルブ、402 状態監視部、403 バイパス経路、501 スロープ、502 異物排出部。

Claims (9)

  1. 被洗浄物を収納する被洗浄物容器と、
    前記被洗浄物容器を摺動させて装置内外に搬入出する摺動保持機構部と、
    前記被洗浄物容器を洗浄水に浸漬洗浄する洗浄槽と、
    前記摺動保持機構部により搬入された前記被洗浄物容器を昇降させて前記洗浄槽に浸漬及びその引き揚げを行う昇降機構部と、
    前記昇降機構部に設けられ、当該昇降機構部により前記洗浄槽に浸漬及び引き揚げられた前記被洗浄物容器を回転させる回転機構部と、
    前記洗浄槽の洗浄水から油脂分を分離する油水分離部と、
    前記洗浄槽に浸漬され、前記回転機構部により回転された浸漬洗浄中の前記被洗浄物容器に対して、気泡を含む洗浄水流を噴射する気泡発生部と、
    前記油水分離部により油脂分が分離された洗浄水を前記気泡発生部へ循環させる循環経路部と、
    前記洗浄槽から引き揚げられ、前記回転機構部により回転された洗浄後の前記被洗浄物容器に対して、水切り用の空気流を噴射する水切り機構部とを備えた洗浄装置。
  2. 水切り機構部は、
    圧縮空気の空気流を噴射するエアノズルと、前記エアノズルに圧縮空気を供給する空気制御バルブと、上下方向に形成した溝部を有し、前記溝部に沿って前記エアノズルを上下に摺動及び上下に首振り自在に支持する取り付け板部とを備えた少なくとも1組以上の噴射装置部と、
    前記噴射装置部を支持するアームと、
    前記アームを介して前記噴射装置部のエアノズルを左右方向に揺動させるエアシリンダとを備えたことを特徴とする請求項1記載の洗浄装置。
  3. 洗浄槽は、油水分離部に隣接するオーバーフロー堰と、槽の角部に設けられ、水面に浮上した油脂分の前記角部への流れを遮断する仕切りとを備え、
    洗浄水に浸漬された被洗浄物容器の回転により、前記油脂分を含む洗浄水が前記オーバーフロー堰へ向かって流れることを特徴とする請求項1または請求項2記載の洗浄装置。
  4. 洗浄槽内のオーバーフロー堰に対向する洗浄水中もしくは水面位置から、当該オーバーフロー堰に向かって洗浄水を噴出する流水ノズルを備えたことを特徴とする請求項3記載の洗浄装置。
  5. 被洗浄物容器は、外面に運搬用取手を有する筒状の容器であって、前記筒状の軸方向の両端に断面D字形状の保持軸を備え、
    摺動保持機構部は、装置の搬入口から突出して設けた摺動レールとなる腕材を備え、
    前記被洗浄物容器は、前記摺動保持機構部の腕材に載置され、当該腕材と前記保持軸の断面D字形状のカット面とが接した状態で摺動させて装置内外に搬入出されることを特徴とする請求項1から請求項4のうちのいずれか1項記載の洗浄装置。
  6. 被洗浄物容器は、保持軸の同軸上の両端に回転軸及び回転駆動キーを備え、
    運搬用取手は、前記保持軸の断面D字形状のカット面と腕材とが接している状態で、搬入口側へ向くように前記被洗浄物容器の外面に設けたことを特徴とする請求項5記載の洗浄装置。
  7. 回転機構部は、モータと、駆動チェーンを介して前記モータの回転力を伝達する回転駆動軸と、被洗浄物容器の回転軸を支持する軸受けとを備え、
    前記被洗浄物容器の回転駆動キーが前記回転駆動軸に形成したキー溝に嵌合されると、前記モータの回転力が前記被洗浄物容器の回転軸に伝達されることを特徴とする請求項6記載の洗浄装置。
  8. 昇降機構部は、被洗浄物容器を洗浄槽に浸漬及びその引き揚げを行う第1の昇降機構部と、前記被洗浄物容器の回転軸を回転機構部の軸受けに装着及びその取り外しを行う第2の昇降機構部とを備え、
    前記第2の昇降機構部は、前記被洗浄物容器の回転軸を支持する被洗浄物容器受けを備え、
    前記被洗浄物容器は、摺動保持機構部の腕材と一致する高さで回転軸が前記被洗浄物容器受けに支持され、前記第2の昇降機構部による昇降で前記回転軸が前記回転機構部の軸受けに装着及びその取り外しされることを特徴とする請求項6または請求項7記載の洗浄装置。
  9. 摺動保持機構部は、装置の搬入口から突出した腕材の先端部に滑り止めを設けたことを特徴とする請求項5から請求項8のうちのいずれか1項記載の洗浄装置。
JP2009138276A 2008-06-10 2009-06-09 洗浄装置 Expired - Fee Related JP5404196B2 (ja)

Priority Applications (1)

Application Number Priority Date Filing Date Title
JP2009138276A JP5404196B2 (ja) 2008-06-10 2009-06-09 洗浄装置

Applications Claiming Priority (3)

Application Number Priority Date Filing Date Title
JP2008151895 2008-06-10
JP2008151895 2008-06-10
JP2009138276A JP5404196B2 (ja) 2008-06-10 2009-06-09 洗浄装置

Publications (2)

Publication Number Publication Date
JP2010017705A true JP2010017705A (ja) 2010-01-28
JP5404196B2 JP5404196B2 (ja) 2014-01-29

Family

ID=41703102

Family Applications (1)

Application Number Title Priority Date Filing Date
JP2009138276A Expired - Fee Related JP5404196B2 (ja) 2008-06-10 2009-06-09 洗浄装置

Country Status (1)

Country Link
JP (1) JP5404196B2 (ja)

Cited By (11)

* Cited by examiner, † Cited by third party
Publication number Priority date Publication date Assignee Title
JP2011131153A (ja) * 2009-12-24 2011-07-07 Kyb Co Ltd 油分離装置及び油分離方法
JP4780247B1 (ja) * 2010-12-07 2011-09-28 富士ゼロックス株式会社 洗浄装置及び洗浄方法
JP2012046809A (ja) * 2010-08-30 2012-03-08 Shiga Yamashita:Kk ワークの水切り装置
US9011611B2 (en) 2012-07-02 2015-04-21 Fuji Xerox Co., Ltd. Cleaning apparatus and cleaning method
CN113073325A (zh) * 2021-03-24 2021-07-06 重庆臻宝实业有限公司 一种蚀刻清洗装置
JP2021178010A (ja) * 2020-05-14 2021-11-18 コトヒラ工業株式会社 靴底洗浄装置
CN114602900A (zh) * 2022-02-25 2022-06-10 湖南云中科技有限公司 一种纳米气泡管道清洗装置
JP2022181987A (ja) * 2021-05-27 2022-12-08 スズキ株式会社 洗浄装置
KR102625944B1 (ko) * 2023-06-30 2024-01-18 주식회사 제세 공정이 간소화된 도금의 전처리 장치 및 이를 이용한염화암모늄욕 도금방법
KR102739962B1 (ko) * 2024-02-05 2024-12-06 에스아이에스 주식회사 대구경 베어링용 열처리 및 세정 시스템
CN120169732A (zh) * 2025-05-20 2025-06-20 长治医学院附属和平医院 一种妇产科器械清洗装置

Citations (4)

* Cited by examiner, † Cited by third party
Publication number Priority date Publication date Assignee Title
JPH07241536A (ja) * 1994-03-07 1995-09-19 Ondo Kosakusho:Kk 工業用洗浄装置
JPH07284737A (ja) * 1994-04-20 1995-10-31 Yasui:Kk 部品洗浄方法及びその洗浄装置
JPH10263491A (ja) * 1997-03-19 1998-10-06 Nakajima Kogyo:Kk 振動式洗浄装置
JP2007301529A (ja) * 2006-05-15 2007-11-22 Mitsubishi Electric Corp 洗浄装置

Patent Citations (4)

* Cited by examiner, † Cited by third party
Publication number Priority date Publication date Assignee Title
JPH07241536A (ja) * 1994-03-07 1995-09-19 Ondo Kosakusho:Kk 工業用洗浄装置
JPH07284737A (ja) * 1994-04-20 1995-10-31 Yasui:Kk 部品洗浄方法及びその洗浄装置
JPH10263491A (ja) * 1997-03-19 1998-10-06 Nakajima Kogyo:Kk 振動式洗浄装置
JP2007301529A (ja) * 2006-05-15 2007-11-22 Mitsubishi Electric Corp 洗浄装置

Cited By (15)

* Cited by examiner, † Cited by third party
Publication number Priority date Publication date Assignee Title
JP2011131153A (ja) * 2009-12-24 2011-07-07 Kyb Co Ltd 油分離装置及び油分離方法
JP2012046809A (ja) * 2010-08-30 2012-03-08 Shiga Yamashita:Kk ワークの水切り装置
JP4780247B1 (ja) * 2010-12-07 2011-09-28 富士ゼロックス株式会社 洗浄装置及び洗浄方法
CN102553853A (zh) * 2010-12-07 2012-07-11 富士施乐株式会社 清洗装置以及清洗方法
US9011611B2 (en) 2012-07-02 2015-04-21 Fuji Xerox Co., Ltd. Cleaning apparatus and cleaning method
JP2021178010A (ja) * 2020-05-14 2021-11-18 コトヒラ工業株式会社 靴底洗浄装置
JP7469798B2 (ja) 2020-05-14 2024-04-17 コトヒラ工業株式会社 靴底洗浄装置
CN113073325A (zh) * 2021-03-24 2021-07-06 重庆臻宝实业有限公司 一种蚀刻清洗装置
CN113073325B (zh) * 2021-03-24 2023-03-14 重庆臻宝实业有限公司 一种蚀刻清洗装置
JP2022181987A (ja) * 2021-05-27 2022-12-08 スズキ株式会社 洗浄装置
JP7625972B2 (ja) 2021-05-27 2025-02-04 スズキ株式会社 洗浄装置
CN114602900A (zh) * 2022-02-25 2022-06-10 湖南云中科技有限公司 一种纳米气泡管道清洗装置
KR102625944B1 (ko) * 2023-06-30 2024-01-18 주식회사 제세 공정이 간소화된 도금의 전처리 장치 및 이를 이용한염화암모늄욕 도금방법
KR102739962B1 (ko) * 2024-02-05 2024-12-06 에스아이에스 주식회사 대구경 베어링용 열처리 및 세정 시스템
CN120169732A (zh) * 2025-05-20 2025-06-20 长治医学院附属和平医院 一种妇产科器械清洗装置

Also Published As

Publication number Publication date
JP5404196B2 (ja) 2014-01-29

Similar Documents

Publication Publication Date Title
JP5404196B2 (ja) 洗浄装置
KR101299659B1 (ko) 터릿 유형 세정 장치
US7861732B2 (en) Immersion cleaner for print rollers
KR200462597Y1 (ko) 수류식 바스켓형 야채 세척기
KR101636426B1 (ko) 카메라 vcm 세척장치
CN105689315A (zh) 一种机械零部件清洗装置
JP3006177B2 (ja) ワーク洗浄装置
JP5019337B2 (ja) 膜モジュールの洗浄装置および洗浄方法
KR20160018695A (ko) 세정 방법 및 세정 장치
JP3209403B2 (ja) ウェーハ洗浄装置
JP4589216B2 (ja) 機械部品等のワーク洗浄装置
JPH07284737A (ja) 部品洗浄方法及びその洗浄装置
JP5289296B2 (ja) 処理液の回収装置
JP2010188938A (ja) 洗車方法
KR200200067Y1 (ko) 콩나물 세척기
JP2000173962A (ja) ウエハ洗浄装置及び洗浄方法
CN113102373A (zh) 超声波清洗机系统
JP6116948B2 (ja) 基板処理装置及びその洗浄方法
JPH06328460A (ja) 成形金型用水洗浄装置
JP2000016566A (ja) 移動体の洗浄設備
KR102450703B1 (ko) 약액 노즐 세척기
JP2010227795A (ja) 洗浄装置及び洗浄方法
JP2704694B2 (ja) 洗浄装置
JP4492813B2 (ja) 洗浄装置
JP2016036785A (ja) 洗浄装置

Legal Events

Date Code Title Description
A711 Notification of change in applicant

Free format text: JAPANESE INTERMEDIATE CODE: A711

Effective date: 20091118

A521 Written amendment

Free format text: JAPANESE INTERMEDIATE CODE: A821

Effective date: 20091118

A621 Written request for application examination

Free format text: JAPANESE INTERMEDIATE CODE: A621

Effective date: 20111208

A977 Report on retrieval

Free format text: JAPANESE INTERMEDIATE CODE: A971007

Effective date: 20130219

A131 Notification of reasons for refusal

Free format text: JAPANESE INTERMEDIATE CODE: A131

Effective date: 20130226

A521 Written amendment

Free format text: JAPANESE INTERMEDIATE CODE: A523

Effective date: 20130415

A01 Written decision to grant a patent or to grant a registration (utility model)

Free format text: JAPANESE INTERMEDIATE CODE: A01

Effective date: 20131001

A61 First payment of annual fees (during grant procedure)

Free format text: JAPANESE INTERMEDIATE CODE: A61

Effective date: 20131029

LAPS Cancellation because of no payment of annual fees