JP2010017639A - 亜硝酸型硝化の制御による有機性原水の脱窒方法 - Google Patents
亜硝酸型硝化の制御による有機性原水の脱窒方法 Download PDFInfo
- Publication number
- JP2010017639A JP2010017639A JP2008179674A JP2008179674A JP2010017639A JP 2010017639 A JP2010017639 A JP 2010017639A JP 2008179674 A JP2008179674 A JP 2008179674A JP 2008179674 A JP2008179674 A JP 2008179674A JP 2010017639 A JP2010017639 A JP 2010017639A
- Authority
- JP
- Japan
- Prior art keywords
- nitrogen
- nitrite
- raw water
- ammonia
- organic raw
- Prior art date
- Legal status (The legal status is an assumption and is not a legal conclusion. Google has not performed a legal analysis and makes no representation as to the accuracy of the status listed.)
- Granted
Links
Images
Landscapes
- Purification Treatments By Anaerobic Or Anaerobic And Aerobic Bacteria Or Animals (AREA)
Abstract
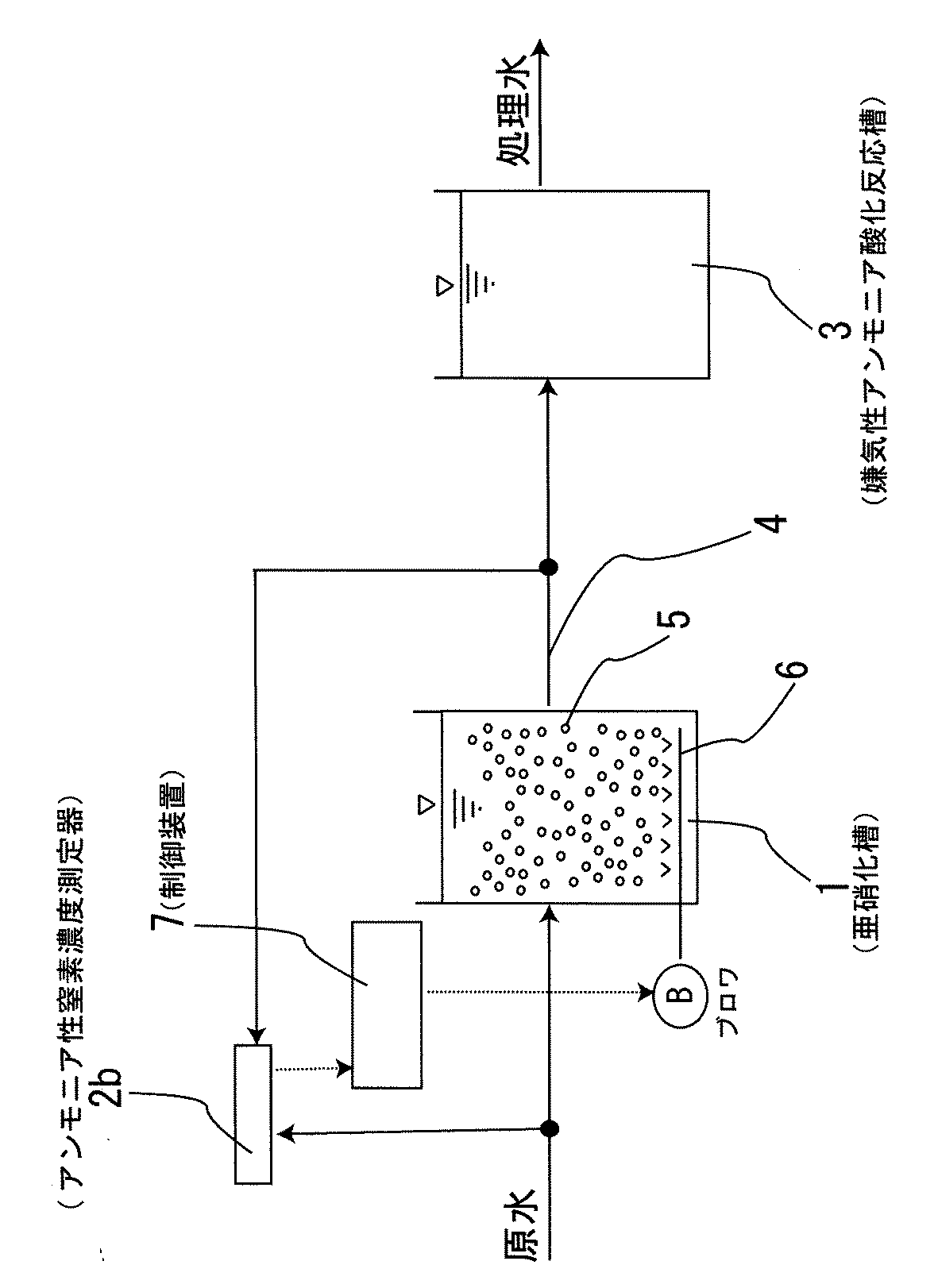
【解決手段】有機性原水を亜硝化槽1に導入し、アンモニア性窒素の一部をアンモニア酸化細菌の作用により亜硝酸性窒素に酸化する亜硝酸型硝化工程と、前記亜硝化槽1からの流出水4を嫌気性アンモニア酸化反応槽3に導入し、前記亜硝酸性窒素を電子受容体とし、残存したアンモニア性窒素を電子供与体として独立栄養微生物の作用により窒素ガスを発生させる嫌気性アンモニア酸化反応工程とからなる有機性原水の脱窒方法において、前記亜硝化槽1からの流出水4中の全窒素濃度及びアンモニア性窒素濃度を測定し、これらの測定値に基づいて算出した亜硝酸性窒素と、前記アンモニア性窒素の濃度比が目標値となるように亜硝酸型硝化工程を制御する。
【選択図】図1
Description
NO2 −/ NH4 +≒(C1−C2)/C2=1.32・・(1)
図1は本発明を実施するのに好適な装置の一例を示す構成図である。図1において、1は亜硝酸型硝化工程に用いる亜硝化槽、2aは全窒素濃度測定器、2bはアンモニア性窒素濃度測定器、3はアナモックス工程に用いる嫌気性アンモニア酸化反応槽である。
図2は第2の実施形態に好適な装置の一例を示す構成図である。第2の実施形態は第1の実施形態に更に硝酸性窒素(NO3 −)濃度測定器2cを設けたものである。第2の実施形態における酸素供給量の調整は、全窒素濃度測定器2a及びアンモニア性窒素濃度測定器2b及び硝酸性窒素濃度測定器2cを用いて各濃度測定を行い、制御装置7に伝達し、制御装置7では、流出水の全窒素濃度及びアンモニア性窒素濃度を、{(全窒素濃度測定値−アンモニア性窒素濃度測定値−硝酸性窒素量測定値−β)/アンモニア性窒素濃度測定値}の式に代入し、当該値の目標値を0.57/0.43とする制御を行う。
図1に示す本発明の実施に好適な装置を使用した脱窒反応を行い、亜硝化槽1および嫌気性アンモニア酸化槽3における槽内水の全窒素濃度、有機体窒素量、アンモニア性窒素濃度、亜硝酸性窒素量を各々測定した結果を下記の表1に示す。
図2に示した従来法の実施に用いられた装置を使用して、前記実施例と同じ原水の脱窒反応を行った結果を下記の表2に示す。
2a 全窒素濃度測定器
2b アンモニア性窒素(NH4 +-N)濃度測定器
2c 硝酸性窒素(NO3 −-N)濃度測定器
3 嫌気性アンモニア酸化槽
4 亜硝化槽流出水
5 担体
6 曝気装置
7 制御装置
Claims (8)
- アンモニア性窒素を含有する有機性原水を亜硝化槽に導入し、アンモニア性窒素の一部をアンモニア酸化細菌の作用により亜硝酸性窒素に酸化する亜硝酸型硝化工程と、
前記亜硝化槽からの流出水を嫌気性アンモニア酸化反応槽に導入し、前記亜硝酸性窒素を電子受容体とし、残存したアンモニア性窒素を電子供与体として独立栄養微生物の作用により窒素ガスを発生させる嫌気性アンモニア酸化反応工程とからなる有機性原水の脱窒方法において、
前記亜硝化槽からの流出水中の全窒素濃度及びアンモニア性窒素濃度を測定し、これらの測定値に基づいて算出した亜硝酸性窒素と、前記アンモニア性窒素の濃度比が目標値となるように亜硝酸型硝化工程を制御することを特徴とする亜硝酸型硝化の制御による有機性原水の脱窒方法。 - 亜硝酸性窒素とアンモニア性窒素の濃度比を、{(全窒素濃度測定値−アンモニア性窒素濃度測定値−α)/アンモニア性窒素濃度測定値}の式により算出することを特徴とする請求項1記載の亜硝酸型硝化の制御による有機性原水の脱窒方法。
- αが、有機性原水の性状によって事前に決定される有機体窒素量と硝酸性窒素量の和であることを特徴とする請求項2記載の亜硝酸型硝化の制御による有機性原水の脱窒方法。
- 亜硝化槽からの流出水中の硝酸性窒素濃度を測定し、亜硝酸性窒素とアンモニア性窒素の濃度比を、{(全窒素濃度測定値−アンモニア性窒素濃度測定値−硝酸性窒素濃度測定値−β)/アンモニア性窒素濃度測定値}の式により算出することを特徴とする請求項1記載の亜硝酸型硝化の制御による有機性原水の脱窒方法。
- βが、有機性原水の性状によって事前に決定される有機体窒素濃度であることを特徴とする請求項4記載の亜硝酸型硝化の制御による有機性原水の脱窒方法。
- 亜硝酸性窒素とアンモニア性窒素の濃度比の目標値が、亜硝酸性窒素濃度:アンモニア性窒素濃度=0.57:0.43であることを特徴とする請求項1に記載の亜硝酸型硝化の制御による有機性原水の脱窒方法。
- 亜硝酸型硝化工程の制御を、亜硝化槽の曝気量の制御によって行なうことを特徴とする請求項1に記載の亜硝酸型硝化の制御による有機性原水の脱窒方法。
- 独立栄養微生物がアナモックス菌である請求項1に記載の亜硝酸型硝化の制御による有機性原水の脱窒方法。
Priority Applications (1)
| Application Number | Priority Date | Filing Date | Title |
|---|---|---|---|
| JP2008179674A JP5006849B2 (ja) | 2008-07-10 | 2008-07-10 | 亜硝酸型硝化の制御による有機性原水の脱窒方法 |
Applications Claiming Priority (1)
| Application Number | Priority Date | Filing Date | Title |
|---|---|---|---|
| JP2008179674A JP5006849B2 (ja) | 2008-07-10 | 2008-07-10 | 亜硝酸型硝化の制御による有機性原水の脱窒方法 |
Publications (2)
| Publication Number | Publication Date |
|---|---|
| JP2010017639A true JP2010017639A (ja) | 2010-01-28 |
| JP5006849B2 JP5006849B2 (ja) | 2012-08-22 |
Family
ID=41703043
Family Applications (1)
| Application Number | Title | Priority Date | Filing Date |
|---|---|---|---|
| JP2008179674A Active JP5006849B2 (ja) | 2008-07-10 | 2008-07-10 | 亜硝酸型硝化の制御による有機性原水の脱窒方法 |
Country Status (1)
| Country | Link |
|---|---|
| JP (1) | JP5006849B2 (ja) |
Cited By (9)
| Publication number | Priority date | Publication date | Assignee | Title |
|---|---|---|---|---|
| JP2010094665A (ja) * | 2008-09-19 | 2010-04-30 | Metawater Co Ltd | 窒素含有排水処理に伴う亜酸化窒素排出抑制方法 |
| JP2013226491A (ja) * | 2012-04-24 | 2013-11-07 | Panasonic Corp | 窒素含有排水の亜硝酸型硝化処理方法及び処理装置 |
| CN103482762A (zh) * | 2013-08-27 | 2014-01-01 | 西安建筑科技大学 | 一种能够提高单质硫转化率的硫化物废水厌氧脱硫方法 |
| CN103803711A (zh) * | 2012-11-14 | 2014-05-21 | 上海纳米技术及应用国家工程研究中心有限公司 | 一种固定化微生物处理氨氮废水的方法 |
| CN103819001A (zh) * | 2014-02-28 | 2014-05-28 | 天津机科环保科技有限公司 | 用于高氨氮废水短程硝化后的厌氧氨氧化装置 |
| JP2015531683A (ja) * | 2012-09-13 | 2015-11-05 | ディー.シー. ウォーター アンド スーアー オーソリティー | 廃水処理における脱窒の方法及び装置 |
| CN105330023A (zh) * | 2015-12-01 | 2016-02-17 | 杭州师范大学 | 一种集成化自流式生物脱氮除硫反应器 |
| JP2021070821A (ja) * | 2019-10-25 | 2021-05-06 | 国立大学法人広島大学 | 亜硝酸菌固定化高分子ゲル、亜硝酸菌固定化高分子ゲルの製造方法及び水処理方法 |
| CN113248016A (zh) * | 2021-05-30 | 2021-08-13 | 福建省环境科学研究院(福建省排污权储备和技术中心) | 一种内嵌阴极动态膜强化一段式全程自养脱氮工艺的方法 |
Families Citing this family (5)
| Publication number | Priority date | Publication date | Assignee | Title |
|---|---|---|---|---|
| CN103112945A (zh) * | 2013-02-25 | 2013-05-22 | 北京工业大学 | 一种sbr亚硝化快速启动方法 |
| JP6209388B2 (ja) * | 2013-08-07 | 2017-10-04 | 新日鐵住金株式会社 | アンモニア性窒素含有廃水の亜硝酸型硝化方法 |
| JP2016077954A (ja) * | 2014-10-15 | 2016-05-16 | 新日鐵住金株式会社 | 生物学的窒素除去方法 |
| KR101840548B1 (ko) * | 2016-05-31 | 2018-05-08 | 주식회사 일신에코솔루션 | 폐수처리시스템 |
| CN106045031B (zh) * | 2016-07-10 | 2019-03-22 | 彭永臻 | 一种城市污水处理厂侧流同步深度处理二级出水与城市污水的装置与方法 |
Citations (4)
| Publication number | Priority date | Publication date | Assignee | Title |
|---|---|---|---|---|
| JP2003010883A (ja) * | 2001-07-04 | 2003-01-14 | Kurita Water Ind Ltd | アンモニア性窒素含有水の硝化方法 |
| JP2005246135A (ja) * | 2004-03-01 | 2005-09-15 | Kurita Water Ind Ltd | 生物学的窒素除去方法 |
| JP2007117902A (ja) * | 2005-10-28 | 2007-05-17 | Japan Organo Co Ltd | アンモニウムイオン含有排水の処理方法および装置 |
| JP2007152236A (ja) * | 2005-12-05 | 2007-06-21 | Takuma Co Ltd | アンモニアを含む排水の処理方法 |
-
2008
- 2008-07-10 JP JP2008179674A patent/JP5006849B2/ja active Active
Patent Citations (4)
| Publication number | Priority date | Publication date | Assignee | Title |
|---|---|---|---|---|
| JP2003010883A (ja) * | 2001-07-04 | 2003-01-14 | Kurita Water Ind Ltd | アンモニア性窒素含有水の硝化方法 |
| JP2005246135A (ja) * | 2004-03-01 | 2005-09-15 | Kurita Water Ind Ltd | 生物学的窒素除去方法 |
| JP2007117902A (ja) * | 2005-10-28 | 2007-05-17 | Japan Organo Co Ltd | アンモニウムイオン含有排水の処理方法および装置 |
| JP2007152236A (ja) * | 2005-12-05 | 2007-06-21 | Takuma Co Ltd | アンモニアを含む排水の処理方法 |
Cited By (14)
| Publication number | Priority date | Publication date | Assignee | Title |
|---|---|---|---|---|
| JP2010094665A (ja) * | 2008-09-19 | 2010-04-30 | Metawater Co Ltd | 窒素含有排水処理に伴う亜酸化窒素排出抑制方法 |
| JP2013226491A (ja) * | 2012-04-24 | 2013-11-07 | Panasonic Corp | 窒素含有排水の亜硝酸型硝化処理方法及び処理装置 |
| US10005683B2 (en) | 2012-09-13 | 2018-06-26 | D.C. Water & Sewer Authority | Method and apparatus for nitrogen removal in wastewater treatment |
| JP2015531683A (ja) * | 2012-09-13 | 2015-11-05 | ディー.シー. ウォーター アンド スーアー オーソリティー | 廃水処理における脱窒の方法及び装置 |
| CN105189368A (zh) * | 2012-09-13 | 2015-12-23 | 华盛顿特区供水和污水管理局 | 用于在废水处理中脱除氮的方法和装置 |
| JP2018001163A (ja) * | 2012-09-13 | 2018-01-11 | ディー.シー. ウォーター アンド スーアー オーソリティー | 廃水処理における脱窒の方法及び装置 |
| CN103803711A (zh) * | 2012-11-14 | 2014-05-21 | 上海纳米技术及应用国家工程研究中心有限公司 | 一种固定化微生物处理氨氮废水的方法 |
| CN103482762A (zh) * | 2013-08-27 | 2014-01-01 | 西安建筑科技大学 | 一种能够提高单质硫转化率的硫化物废水厌氧脱硫方法 |
| CN103819001A (zh) * | 2014-02-28 | 2014-05-28 | 天津机科环保科技有限公司 | 用于高氨氮废水短程硝化后的厌氧氨氧化装置 |
| CN105330023A (zh) * | 2015-12-01 | 2016-02-17 | 杭州师范大学 | 一种集成化自流式生物脱氮除硫反应器 |
| JP2021070821A (ja) * | 2019-10-25 | 2021-05-06 | 国立大学法人広島大学 | 亜硝酸菌固定化高分子ゲル、亜硝酸菌固定化高分子ゲルの製造方法及び水処理方法 |
| JP7465545B2 (ja) | 2019-10-25 | 2024-04-11 | 国立大学法人広島大学 | 亜硝酸菌固定化高分子ゲル、亜硝酸菌固定化高分子ゲルの製造方法及び水処理方法 |
| CN113248016A (zh) * | 2021-05-30 | 2021-08-13 | 福建省环境科学研究院(福建省排污权储备和技术中心) | 一种内嵌阴极动态膜强化一段式全程自养脱氮工艺的方法 |
| CN113248016B (zh) * | 2021-05-30 | 2022-05-20 | 福建省环境科学研究院(福建省排污权储备和技术中心) | 一种内嵌阴极动态膜强化一段式全程自养脱氮工艺的方法 |
Also Published As
| Publication number | Publication date |
|---|---|
| JP5006849B2 (ja) | 2012-08-22 |
Similar Documents
| Publication | Publication Date | Title |
|---|---|---|
| JP5006849B2 (ja) | 亜硝酸型硝化の制御による有機性原水の脱窒方法 | |
| Massara et al. | Development of an ASM2d-N2O model to describe nitrous oxide emissions in municipal WWTPs under dynamic conditions | |
| JP4951826B2 (ja) | 生物学的窒素除去方法 | |
| JP5347221B2 (ja) | 窒素含有液の処理方法および装置 | |
| JP4910266B2 (ja) | アンモニア性窒素含有水の硝化方法及び処理方法 | |
| Gao et al. | Shortcut nitrification–denitrification by real-time control strategies | |
| Blum et al. | Nitrous oxide production in intermittently aerated Partial Nitritation-Anammox reactor: oxic N2O production dominates and relates with ammonia removal rate | |
| Bernat et al. | Denitrification with endogenous carbon source at low C/N and its effect on P (3HB) accumulation | |
| Zhang et al. | A novel simultaneous partial nitrification and denitratation (SPND) process in single micro-aerobic sequencing batch reactor for stable nitrite accumulation under ambient temperature | |
| JP5006845B2 (ja) | 一酸化二窒素の発生抑制方法 | |
| JP5424789B2 (ja) | 窒素含有排水処理に伴う亜酸化窒素排出抑制方法 | |
| Soler-Jofra et al. | Importance of hydroxylamine in abiotic N2O production during transient anoxia in planktonic axenic Nitrosomonas cultures | |
| JP4453397B2 (ja) | 生物学的窒素除去方法 | |
| JP3925902B2 (ja) | 生物学的窒素除去方法及びその装置 | |
| JP5292658B2 (ja) | アンモニア性窒素含有水の硝化方法 | |
| JP4302341B2 (ja) | 生物学的窒素除去方法及び装置 | |
| JP5148642B2 (ja) | 廃水の窒素処理方法と装置 | |
| Weissenbacher et al. | NOx monitoring of a simultaneous nitrifying–denitrifying (SND) activated sludge plant at different oxidation reduction potentials | |
| US10947141B2 (en) | Systems and methods for controlling denitrification in a denitrifying biological reactor | |
| JP2014104416A (ja) | 水処理装置および水処理方法 | |
| JP5100091B2 (ja) | 水処理方法 | |
| EP2900608A1 (en) | A method and an apparatus for simultaneous removal of thiosalt and nitrogen compounds in waste water | |
| JP4867099B2 (ja) | 生物脱窒処理方法 | |
| Gao et al. | Nitrous oxide emissions treating hypersaline wastewater in suspended and attached partial nitritation–anammox reactors | |
| JP7050204B1 (ja) | 高濃度有機物含有排水の排水処理設備および排水処理方法 |
Legal Events
| Date | Code | Title | Description |
|---|---|---|---|
| A621 | Written request for application examination |
Free format text: JAPANESE INTERMEDIATE CODE: A621 Effective date: 20110203 |
|
| A977 | Report on retrieval |
Free format text: JAPANESE INTERMEDIATE CODE: A971007 Effective date: 20111024 |
|
| A131 | Notification of reasons for refusal |
Free format text: JAPANESE INTERMEDIATE CODE: A131 Effective date: 20111028 |
|
| A521 | Request for written amendment filed |
Free format text: JAPANESE INTERMEDIATE CODE: A523 Effective date: 20111222 |
|
| TRDD | Decision of grant or rejection written | ||
| A01 | Written decision to grant a patent or to grant a registration (utility model) |
Free format text: JAPANESE INTERMEDIATE CODE: A01 Effective date: 20120508 |
|
| A01 | Written decision to grant a patent or to grant a registration (utility model) |
Free format text: JAPANESE INTERMEDIATE CODE: A01 |
|
| A61 | First payment of annual fees (during grant procedure) |
Free format text: JAPANESE INTERMEDIATE CODE: A61 Effective date: 20120525 |
|
| FPAY | Renewal fee payment (event date is renewal date of database) |
Free format text: PAYMENT UNTIL: 20150601 Year of fee payment: 3 |
|
| R150 | Certificate of patent or registration of utility model |
Ref document number: 5006849 Country of ref document: JP Free format text: JAPANESE INTERMEDIATE CODE: R150 Free format text: JAPANESE INTERMEDIATE CODE: R150 |
|
| R250 | Receipt of annual fees |
Free format text: JAPANESE INTERMEDIATE CODE: R250 |
|
| R250 | Receipt of annual fees |
Free format text: JAPANESE INTERMEDIATE CODE: R250 |
|
| R250 | Receipt of annual fees |
Free format text: JAPANESE INTERMEDIATE CODE: R250 |
|
| R250 | Receipt of annual fees |
Free format text: JAPANESE INTERMEDIATE CODE: R250 |
|
| R250 | Receipt of annual fees |
Free format text: JAPANESE INTERMEDIATE CODE: R250 |
|
| R250 | Receipt of annual fees |
Free format text: JAPANESE INTERMEDIATE CODE: R250 |
