JP2010016593A - 撮像装置及び固体撮像素子の駆動方法 - Google Patents

撮像装置及び固体撮像素子の駆動方法 Download PDF

Info

Publication number
JP2010016593A
JP2010016593A JP2008174319A JP2008174319A JP2010016593A JP 2010016593 A JP2010016593 A JP 2010016593A JP 2008174319 A JP2008174319 A JP 2008174319A JP 2008174319 A JP2008174319 A JP 2008174319A JP 2010016593 A JP2010016593 A JP 2010016593A
Authority
JP
Japan
Prior art keywords
potential
charge
connection portion
solid
imaging device
Prior art date
Legal status (The legal status is an assumption and is not a legal conclusion. Google has not performed a legal analysis and makes no representation as to the accuracy of the status listed.)
Granted
Application number
JP2008174319A
Other languages
English (en)
Other versions
JP5124368B2 (ja
Inventor
Kizai Ota
基在 大田
Current Assignee (The listed assignees may be inaccurate. Google has not performed a legal analysis and makes no representation or warranty as to the accuracy of the list.)
Fujifilm Corp
Original Assignee
Fujifilm Corp
Priority date (The priority date is an assumption and is not a legal conclusion. Google has not performed a legal analysis and makes no representation as to the accuracy of the date listed.)
Filing date
Publication date
Application filed by Fujifilm Corp filed Critical Fujifilm Corp
Priority to JP2008174319A priority Critical patent/JP5124368B2/ja
Priority to US12/497,012 priority patent/US8223233B2/en
Publication of JP2010016593A publication Critical patent/JP2010016593A/ja
Application granted granted Critical
Publication of JP5124368B2 publication Critical patent/JP5124368B2/ja
Active legal-status Critical Current
Anticipated expiration legal-status Critical

Links

Images

Classifications

    • HELECTRICITY
    • H04ELECTRIC COMMUNICATION TECHNIQUE
    • H04NPICTORIAL COMMUNICATION, e.g. TELEVISION
    • H04N25/00Circuitry of solid-state image sensors [SSIS]; Control thereof
    • H04N25/50Control of the SSIS exposure
    • H04N25/57Control of the dynamic range
    • H04N25/59Control of the dynamic range by controlling the amount of charge storable in the pixel, e.g. modification of the charge conversion ratio of the floating node capacitance
    • HELECTRICITY
    • H04ELECTRIC COMMUNICATION TECHNIQUE
    • H04NPICTORIAL COMMUNICATION, e.g. TELEVISION
    • H04N25/00Circuitry of solid-state image sensors [SSIS]; Control thereof
    • H04N25/70SSIS architectures; Circuits associated therewith
    • H04N25/76Addressed sensors, e.g. MOS or CMOS sensors
    • HELECTRICITY
    • H04ELECTRIC COMMUNICATION TECHNIQUE
    • H04NPICTORIAL COMMUNICATION, e.g. TELEVISION
    • H04N25/00Circuitry of solid-state image sensors [SSIS]; Control thereof
    • H04N25/70SSIS architectures; Circuits associated therewith
    • H04N25/76Addressed sensors, e.g. MOS or CMOS sensors
    • H04N25/77Pixel circuitry, e.g. memories, A/D converters, pixel amplifiers, shared circuits or shared components

Landscapes

  • Engineering & Computer Science (AREA)
  • Multimedia (AREA)
  • Signal Processing (AREA)
  • Solid State Image Pick-Up Elements (AREA)
  • Transforming Light Signals Into Electric Signals (AREA)

Abstract

【課題】半導体基板上方の光電変換素子で発生した電荷を読み出す際、光電変換素子と半導体基板との接続部に電荷が残留してしまうのを防ぐ。
【解決手段】基板1上方に積層された一対の電極14,16とこれに挟まれる光電変換層15とを含む光電変換素子Pをそれぞれ有する複数の画素を含む固体撮像素子30と、固体撮像素子30を駆動する駆動部35とを備える撮像装置であって、該画素が、基板1内に設けられ電極14と電気的に接続される接続部3と、接続部3に隣接して設けられ該接続部3の電位に対して電位障壁となる電位障壁部7と、電位障壁部7に隣接して設けられ光電変換層15で発生した電荷が接続部3及び電位障壁部7を介して蓄積される第一の電荷蓄積部4と、第一の電荷蓄積部4に蓄積された電荷に応じた信号を出力する信号出力回路とを含み、駆動部35は、接続部3に電荷を注入して、接続部3と電位障壁部7を同電位にする駆動を行う。
【選択図】図4

Description

本発明は、半導体基板上方に積層された一対の電極とこれに挟まれる光電変換層とを含む光電変換素子をそれぞれ有する複数の画素を含む固体撮像素子と、前記固体撮像素子を駆動する駆動手段とを備える撮像装置に関する。
特許文献1には、MOSトランジスタ回路による信号読み出し回路が形成された半導体基板と、半導体基板の上に積層され入射光量に応じた電荷を発生する光電変換膜と、半導体基板の表面に設けられ電荷を半導体基板の表面に導く配線が接続される接続部と、接続部に近接して設けられ接続部の電荷に対して一定電位障壁となる電位障壁手段と、電位障壁手段に近接して設けられ信号読み出し回路を構成する出力トランジスタのゲートに接続される電荷蓄積部とを備える固体撮像素子が開示されている。
このような構成によれば、光電変換膜で発生した電荷を出力トランジスタのゲートにスムーズに流し、出力トランジスタのゲートから見て、電荷が蓄積する部分の実効的な静電容量が小さくなり、信号電圧が大きくなり、高感度の出力信号を得ることができる。
図10は、特許文献1に開示された固体撮像素子の動作を説明するための図であり、半導体基板内の断面ポテンシャルを示した図である。
固体撮像素子の1画素から信号を得るには、まず、電荷蓄積部に蓄積されていた電荷をリセットドレインに排出してリセットする(時刻T0)。このとき、図示したように、電荷蓄積部内にはリセット動作に伴って発生するノイズ電荷であるリセットノイズN1が蓄積される。リセットが完了すると光電変換膜の露光が開始され、この露光によって発生した電荷Qが接続部から電位障壁を通って電荷蓄積部へと蓄積される(時刻T1)。そして、この露光期間中に電荷蓄積部に蓄積された電荷量に応じた信号が信号読み出し回路から出力される。信号出力後は、時刻T2に示すように再びリセット動作が行われ、電荷蓄積部にはリセットノイズN2が蓄積されて、この状態で次の露光が開始される。
固体撮像素子から出力される信号を処理する信号処理回路には、信号に対して相関二重サンプリング処理を施す相関二重サンプリング(CDS)回路が含まれる。このCDS回路では、リセットノイズに応じた信号と、リセットノイズが含まれる電荷に応じた信号との2つをサンプリングし、双方の差分を取ることで、リセットノイズを除去することが行われる。
時刻T1で得られた撮像信号から、時刻T0で得られたリセットノイズN1に応じた信号を減算することで、リセットノイズを完全に除去することが可能である。このような処理を行うには、CDS回路において、時刻T0の時点で固体撮像素子から出力される信号をサンプリングし(サンプリングSP1)、時刻T2の時点で固体撮像素子から出力される信号をサンプリングして(サンプリングSP2)、双方の差分を取る必要がある。しかし、サンプリングSP1からサンプリングSP2までの時間は露光期間と同じであり、CDS回路は全画素からの信号を順次処理する必要があるため、このような時間間隔で信号をサンプリングしていると、固体撮像素子から出力されてくる信号に対して処理が追いつかなくなってしまう。
そこで、従来では、時刻T1の時点でサンプリングした信号から、時刻T2の時点でサンプリング(サンプリングSP3)した信号を減算することで、リセットノイズの除去(完全には除去できないが一部は除去できる)を行っている。サンプリングSP2とサンプリングSP3の時間間隔は露光期間に比べて十分に短いため、全画素からの信号に対してCDS処理を問題なく行うことができる。
特開2005−268477号公報
接続部の電位を決定する電荷は、熱拡散により、接続部から電荷蓄積部へと常に流れ出ている。一方で、接続部には、配線や光電変換膜等の部材が接続されているため、この部材を介して光電変換膜で発生した電荷が流れ込んだり、接続部と基板の接合部分で発生した電荷が流れ込んだりしてくる。このため、接続部からの熱拡散による電荷の流出は、熱拡散によって接続部から流出する単位時間当たりの電荷量と、配線等を介して接続部に流入してくる単位時間当たりの電荷量とが一致したとき(このときを平衡状態という)に、見かけ上、停止する。
時刻t(<平衡状態に到達する時間teq)までに、接続部から熱励起により周辺領域に拡散する電荷総量ΔQは次式(1)で示される。
ΔQ∝ln(1+αt) ・・・(1)
だたし、αは比例係数
図10の時刻T0に示すように、平衡状態になった結果、電位障壁と接続部が同電位となっていれば理想的であり、このような画素も存在するが、平衡状態において接続部の電位が電位障壁の電位よりも高くなってしまう画素も存在する。図11は、このような画素のポテンシャルを示したものである。図11に示すように、接続部の電位を決定する電荷は、ΔQだけ減少して、接続部の電位が電位障壁よりも高くなってしまう。
図11に示した状態で露光を開始すると、光電変換膜で発生した電荷Qの一部が接続部に残留するため、電荷蓄積部に移動する電荷量、即ち外部に読み出される信号量は、ΔQ分減少し、残像の原因となる。
更に、入射光量に対する信号出力特性は、接続部の電位、つまり接続部のポテンシャル井戸の深さに依存し、ポテンシャル井戸の深さは、接続部の電荷の熱拡散量に依存し、熱拡散量は接続部に流れ込む電流量に依存し、接続部に流れ込む電流量は光電変換膜から接続部に流れ込む電流量に依存し、ポテンシャル井戸の深さが時間と共に変動することから、入射光量に対する信号出力が一意に決まらず、単純に予めの補正情報を保持し、それを用いてリニアリティ補正を行うということが出来ない。
本発明は、上記事情に鑑みてなされたものであり、半導体基板上方に設けられた光電変換素子を含む固体撮像素子を有する撮像装置において、光電変換素子と半導体基板との接続部に電荷が残留してしまうのを防いで残像を防止すると共にリニアリティ補正を可能にすることを目的とする。
本発明の撮像装置は、半導体基板上方に積層された一対の電極とこれに挟まれる光電変換層とを含む光電変換素子をそれぞれ有する複数の画素を含む固体撮像素子と、前記固体撮像素子を駆動する駆動手段とを備える撮像装置であって、前記画素が、前記半導体基板内に設けられ、前記一対の電極の一方と電気的に接続される接続部と、前記半導体基板内に前記接続部に隣接して設けられ、該接続部の電位に対して電位障壁となる電位障壁部と、前記半導体基板内に前記電位障壁部に隣接して設けられ、前記光電変換層で発生した電荷が前記接続部及び前記電位障壁部を介して蓄積される第一の電荷蓄積部と、前記第一の電荷蓄積部に蓄積された電荷に応じた信号を出力する信号出力回路とを含み、前記駆動手段は、前記接続部に電荷を注入して、前記接続部と前記電位障壁部を同電位にする駆動を行う。
この構成により、接続部と電位障壁部を同電位にした状態で露光を行うことが可能となり、露光中に光電変換層で発生した電荷の一部が接続部に残留するのを防いで、残像の発生を防ぐことができる。又、露光開始時の接続部の電位が(電位障壁部と同電位となることにより)既知となるため出力信号の基準レベルを設定することができる。この結果、入射光量に対する信号出力特性のリニアリティ補正が可能となり、信号出力特性を線形にすることができる。
本発明の撮像装置は、前記駆動手段は、前記信号出力回路を構成するリセットトランジスタのドレインの電位を前記電位障壁部の電位よりも下降又は上昇させて前記接続部に電荷を注入し、前記電荷の注入後、前記ドレインの電位を既定の電位に戻し、この動作によって発生した不要電荷を前記ドレインに排出することで前記接続部と前記電位障壁部を同電位にする。
この構成により、特別な素子を付加することなく、リセット電圧の制御だけで接続部と電位障壁部を同電位にすることができる。
本発明の撮像装置は、前記画素が、前記接続部をドレインとするトランジスタであって、前記接続部に電荷を注入するための電荷注入トランジスタを備え、前記駆動手段は、前記電荷注入トランジスタのソースの電位を、前記電荷注入トランジスタのゲートの電位よりも下降又は上昇させて、前記ソースから前記接続部に電荷を注入し、前記電荷の注入後、前記ソースの電位を既定の電位に戻し、この動作によって発生した不要電荷を前記信号出力回路を構成するリセットトランジスタのドレインに排出することで前記接続部と前記電位障壁部を同電位にする。
この構成により、リセットドレインの電位を制御して電荷を注入する場合と比べて、電位変化を小さくすることができるため、低消費電力化が可能となる。
本発明の撮像装置は、前記画素が、前記接続部をドレインとするトランジスタであって、前記接続部に電荷を注入するための電荷注入トランジスタを備え、前記駆動手段は、前記電荷注入トランジスタのゲートの電位を、前記電荷注入トランジスタのソースの電位よりも上昇又は下降させて、前記ソースから前記接続部に電荷を注入し、前記電荷の注入後、前記ゲートの電位を既定の電位に戻し、この動作によって発生した不要電荷を前記信号出力回路を構成するリセットトランジスタのドレインに排出することで前記接続部と前記電位障壁部を同電位にする。
この構成により、リセットドレインの電位を制御して電荷を注入する場合と比べて、電位変化を小さくすることができるため、低消費電力化が可能となる。
本発明の撮像装置は、前記駆動手段が、前記接続部と前記電位障壁部を同電位にした状態で前記固体撮像素子の露光を開始し、前記露光の終了と共に、前記電位障壁部の電位を、前記露光中の電位よりも低く又は高くし、前記露光によって得られた信号の出力後から前記駆動において前記不要電荷を排出するまでに、前記電位障壁部の電位を、前記露光中の電位に戻す。
この構成により、露光終了後、その露光によって第一の電荷蓄積部に蓄積された電荷に応じた信号が読み出されるまでの間に、接続部から第一の電荷蓄積部に熱拡散によって移動する電流量を極力減らすことができ、低ノイズ化を実現することができる。
本発明の撮像装置は、前記画素が、前記半導体基板内に設けられ、前記信号出力回路を構成する出力トランジスタのゲートに接続された第二の電荷蓄積部と、前記第一の電荷蓄積部に蓄積された電荷を前記第二の電荷蓄積部に転送する電荷転送手段とを備える。又、前記第一の電荷蓄積部が埋め込み型の蓄積部である。
この構成により、リセットノイズを正確に除去することが可能となる。又、第一の電荷蓄積部から第二の電荷蓄積部に電荷を完全転送することができる。
本発明の撮像装置は、前記光電変換層が有機材料で構成されている。
本発明の固体撮像素子の駆動方法は、半導体基板上方に積層された一対の電極とこれに挟まれる光電変換層とを含む光電変換素子をそれぞれ有する複数の画素を含む固体撮像素子の駆動方法であって、前記画素が、前記半導体基板内に設けられ、前記一対の電極の一方と電気的に接続される接続部と、前記半導体基板内に前記接続部に隣接して設けられ、該接続部の電位に対して電位障壁となる電位障壁部と、前記半導体基板内に前記電位障壁部に隣接して設けられ、前記光電変換層で発生した電荷が前記接続部及び前記電位障壁部を介して蓄積される第一の電荷蓄積部と、前記第一の電荷蓄積部に蓄積された電荷に応じた信号を出力する信号出力回路とを含み、前記接続部に電荷を注入して、前記接続部と前記電位障壁部を同電位にする駆動ステップを有する。
本発明の固体撮像素子の駆動方法は、前記駆動ステップでは、前記信号出力回路を構成するリセットトランジスタのドレインの電位を前記電位障壁部の電位よりも下降又は上昇させて前記接続部に電荷を注入し、前記電荷の注入後、前記ドレインの電位を既定の電位に戻し、この動作によって発生した不要電荷を前記ドレインに排出することで前記接続部と前記電位障壁部を同電位にする。
本発明の固体撮像素子の駆動方法は、前記画素が、前記接続部をドレインとするトランジスタであって、前記接続部に電荷を注入するための電荷注入トランジスタを備え、前記駆動ステップでは、前記電荷注入トランジスタのソースの電位を、前記電荷注入トランジスタのゲートの電位よりも下降又は上昇させて、前記ソースから前記接続部に電荷を注入し、前記電荷の注入後、前記ソースの電位を既定の電位に戻し、この動作によって発生した不要電荷を前記信号出力回路を構成するリセットトランジスタのドレインに排出することで前記接続部と前記電位障壁部を同電位にする。
本発明の固体撮像素子の駆動方法は、前記画素が、前記接続部をドレインとするトランジスタであって、前記接続部に電荷を注入するための電荷注入トランジスタを備え、前記駆動ステップでは、前記電荷注入トランジスタのゲートの電位を、前記電荷注入トランジスタのソースの電位よりも上昇又は下降させて、前記ソースから前記接続部に電荷を注入し、前記電荷の注入後、前記ゲートの電位を既定の電位に戻し、この動作によって発生した不要電荷を前記信号出力回路を構成するリセットトランジスタのドレインに排出することで前記接続部と前記電位障壁部を同電位にする。
本発明の固体撮像素子の駆動方法は、前記接続部と前記電位障壁部を同電位にした状態で前記固体撮像素子の露光を開始し、前記露光の終了と共に、前記電位障壁部の電位を、前記露光中の電位よりも低く又は高くするステップを有し、前記露光によって得られた信号の出力後から前記駆動ステップにおいて前記不要電荷を排出するまでに、前記電位障壁部の電位を前記露光中の電位に戻す。
本発明の固体撮像素子の駆動方法は、前記画素が、前記半導体基板内に設けられ、前記信号出力回路を構成する出力トランジスタのゲートに接続された第二の電荷蓄積部と、前記第一の電荷蓄積部に蓄積された電荷を前記第二の電荷蓄積部に転送する電荷転送手段とを備える。又、前記第一の電荷蓄積部が埋め込み型の蓄積部である。
本発明の固体撮像素子の駆動方法は、前記光電変換層が有機材料で構成されている。
本発明によれば、半導体基板上方に設けられた光電変換素子を含む固体撮像素子を有する撮像装置において、光電変換素子と半導体基板との接続部に電荷が残留してしまうのを防いで残像を防止すると共にリニアリティ補正を可能にすることができる。
以下、本発明の実施形態について図面を参照して説明する。
(第一実施形態)
図1は、本発明の第一実施形態である固体撮像素子の1画素分の断面模式図である。本実施形態の固体撮像素子は、図1に示す1画素を同一平面上で1次元状又は二次元状に複数配置した構成となっている。以下では、図1に示す1画素を、行(水平)方向とこれに直交する列(垂直)方向に二次元状に配列した構成を例にして説明する。
図1に示す固体撮像素子は、半導体基板であるp型シリコン基板1(以下、基板1という)と、基板1上方にゲート絶縁膜2及び絶縁層10を介して積層された光電変換素子Pとを備える。
光電変換素子Pは、絶縁層10上に形成された下部電極14と、下部電極14上に形成された光電変換層15と、光電変換層15上に形成された上部電極16とを含む構成となっている。
上部電極16には、その上方から被写体からの入射光が入射される。上部電極16は、光電変換層15に入射光を入射させる必要があるため、入射光に対して透明なITO等の導電性材料で構成される。上部電極16は、全画素で共通の一枚構成であるが、画素毎に分割してあっても良い。
下部電極14は、画素毎に分割された薄膜であり、透明又は不透明の導電性材料(ITOやアルミニウム等)で構成される。
光電変換層15は、入射光のうちの特定の波長域を吸収して、吸収した光量に応じた電荷を発生する有機又は無機の光電変換材料で構成された層である。光電変換層15を、緑色の波長域の光を吸収してこれに応じた電荷を発生する光電変換材料(例えばキナクリドン)で構成することで、可視光モノクロ撮像が可能となる。光電変換層15を、赤外の波長域の光を吸収してこれに応じた電荷を発生する光電変換材料(例えばフタロシアニン系有機材料やナフタロシアニン系有機材料)で構成することで、赤外光モノクロ撮像が可能となる。
基板1内には下部電極14と電気的に接続されたn型不純物層からなる接続部3が設けられている。接続部3と下部電極14とは、ゲート絶縁膜2及び絶縁層10内に埋設された導電性材料からなるコンタクト配線11によって接続されている。
接続部3の隣には、接続部3と反対導電型のp型の電位障壁部7が設けられている。電位障壁部7は、接続部3に対して電位障壁となる電位障壁手段として機能する。
電位障壁部7の隣には、コンタクト配線11から接続部3に達し、ここから電位障壁部7を通って移動してきた電荷を蓄積するための第一の電荷蓄積部4が設けられている。第一の電荷蓄積部4は、接続部3と同じ導電型のn型不純物層で構成されている。
第一の電荷蓄積部4の表面には、第一の電荷蓄積部4と反対導電型のp型不純物を注入してなるp型不純物層4aが形成されている。第一の電荷蓄積部4の表面にp型不純物層4aを形成しておくことで、第一の電荷蓄積部4が基板最表面ではなく基板内部に設けられた所謂埋め込み型となり、基板内部に電荷が蓄積される。この結果、基板表面で発生する暗電流の混入を抑制することができ、S/Nを向上させることができる。又、第一の電荷蓄積部4およびp型不純物層4aの不純物濃度を調整して、第一の電荷蓄積部4を完全空乏化することで、所謂完全転送が可能になる。
電位障壁部7上方には、接続部3をソースとし、第一の電荷蓄積部4をドレインとするトランジスタのゲート電極7aが、ゲート絶縁膜2を介して設けられている。このゲート電極7aは、外部から固定の電圧が印加されるようになっている。以下、ゲート電極7aをバリアゲート7aという。
第一の電荷蓄積部4の隣には少し離間して第二の電荷蓄積部5が設けられている。第二の電荷蓄積部5は、接続部3と同じ導電型のn型不純物層で構成されている。
第一の電荷蓄積部4と第二の電荷蓄積部5との間の基板1上方には、第一の電荷蓄積部4をソースとし、第二の電荷蓄積部5をドレインとするトランジスタのゲート電極8が、ゲート絶縁膜2を介して設けられている。このゲート電極8は、第一の電荷蓄積部4に蓄積された電荷を第二の電荷蓄積部5に転送する電荷転送手段として機能する。以下、ゲート電極8を転送ゲート8という。この転送ゲート8に高電圧の電荷転送パルスが印加されると、第一の電荷蓄積部4に蓄積された電荷が第二の電荷蓄積部5に転送される。第一の電荷蓄積部4を完全空乏化することが好ましく、このようにすることで第一の電荷蓄積部4にある電荷は第二の電荷蓄積部5に完全転送される。
第二の電荷蓄積部5の隣には少し離間して、接続部3と同じ導電型のn型不純物層からなるリセットドレイン6が設けられている。リセットドレイン6には、可変のリセットドレイン電圧が外部から印加できるようになっている。
第二の電荷蓄積部5とリセットドレイン6との間の基板1上方には、第二の電荷蓄積部5をソースとし、リセットドレイン6をドレインとするリセットトランジスタのゲート電極(以下、リセットゲートという)9が、ゲート絶縁膜2を介して設けられている。リセットゲート9に高電圧のリセットパルスを印加すると、第二の電荷蓄積部5に蓄積された電荷がリセットドレイン6へと排出される。
基板1には、更に、第二の電荷蓄積部5に蓄積された電荷に応じた信号を出力するMOSトランジスタからなる公知の信号出力回路が、画素毎に設けられている。この信号出力回路には、上記リセットトランジスタも含まれる。
図2は、図1に示す1画素分の等価回路を示した図である。
図2に示すように、信号出力回路は、リセットトランジスタの他に出力トランジスタ5aと行選択トランジスタ5bとを備える。出力トランジスタ5aは、そのゲートが第二の電荷蓄積部5に接続され、そのドレインが電源に接続され、そのソースが行選択トランジスタ5bのドレインに接続されている。出力トランジスタ5aは、第二の電荷蓄積部5に蓄積された電荷の電荷量に応じた電圧信号を出力するものである。
行選択トランジスタ5bは、そのゲートに行選択パルスが印加されると、出力トランジスタ5aから出力された電圧信号を信号線に出力する。各画素に設けられた信号出力回路に行選択パルスが行毎に順次印加されることで、全ての画素から信号が出力される。
図3は、第一実施形態の固体撮像素子を搭載する撮像装置の構成例を示した図である。
図3に示す撮像装置は、図1に示す画素をアレイ状に配置した固体撮像素子30と、固体撮像素子30の各画素から得られる信号に相関二重サンプリング(CDS)処理を行ってリセットノイズを除去するCDS回路31と、CDS回路31の出力信号をデジタル信号に変換するA/D変換器32と、A/D変換器32から出力されるデジタル信号に所定のデジタル信号処理を施して画像データを生成するデジタル信号処理部33と、デジタル信号処理部33で生成された画像データが記録される記録メディア34と、固体撮像素子30を駆動する駆動部35と、撮像装置全体を統括制御するシステム制御部36とを備える。尚、固体撮像素子30、CDS回路31、及びA/D変換器32は1チップ(1IC)の中に組み込まれていても良い。
駆動部35は、リセットドレイン電圧の可変制御、リセットゲート9へのリセットパルス印加制御、電荷転送ゲート8への電荷転送パルス印加制御、行選択トランジスタ5bへの行選択パルス印加制御等を行う。
このように構成された撮像装置では、スルー画像を得るための撮影、動画撮影、AE・AFを行うための撮影等を行う撮影モード時、スルー画像等の画像を生成するための露光を開始する直前に、熱拡散によって接続部3に形成されてしまっているポテンシャル井戸に電荷を注入して、接続部3と電位障壁部7を同電位にした後、露光を開始するようにしている。以下、接続部3と電位障壁部7を同電位にするときの撮像装置の動作を説明する。以下では、取り扱い電荷を電子として説明する。このため、以降で説明に用いるポテンシャル図は、図中の上から下に向かって電位が高くなっているものとして図示している。
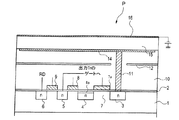
図4は、第一実施形態の固体撮像素子の行方向に並ぶ画素からなるライン(iライン目)の各画素における撮影モード時において接続部3と電位障壁部7を同電位にするときの動作を示す図であり、各時刻におけるiライン目の各画素の基板1内の断面ポテンシャルを示した図である。
まず、時刻T0[i]の状態を初期状態とする。初期状態とは、iライン目の各画素の転送ゲート8に電荷転送パルスが印加されておらず、iライン目の各画素のリセットゲート9にリセットパルスが印加されておらず、iライン目の各画素のリセットドレイン6の電位が既定値(第一の電荷蓄積部4の電位よりも十分に高い値)になっている状態である。初期状態では、接続部3の電荷が、熱拡散によりΔQだけ減少している。
この初期状態から、駆動部35は、リセットドレイン電圧を低くして、iライン目の各画素のリセットドレイン6の電位を電位障壁部7の電位よりも低くすると共に、iライン目の各画素の転送ゲート8に電荷転送パルスを印加し、iライン目の各画素のリセットゲート9にリセットパルスを印加する。これにより、第二の電荷蓄積部5、第一の電荷蓄積部4、及び接続部3にリセットドレイン6から電荷が注入される。そして、リセットドレイン6から接続部3までが全てリセットドレイン6と同電位になり、熱拡散によって接続部3に形成されていたポテンシャル井戸は、注入された電荷によって完全に埋められる。(時刻T1[i])。
次に、駆動部35は、リセットドレイン電圧を初期状態の値に戻して、iライン目の各画素のリセットドレイン6の電位を既定値に戻す。これにより、リセットドレイン6から注入された電荷のうち、接続部3のポテンシャル井戸に埋められた電荷以外の不要電荷が、リセットドレイン6に排出される(時刻T2[i])。
次に、駆動部35は、iライン目の各画素の転送ゲート8への電荷転送パルスの印加と、iライン目の各画素のリセットゲート9へのリセットパルスの印加を停止し、この状態を以って露光を開始し、露光中に光電変換層15で発生した電荷を、第一の電荷蓄積部4に蓄積させる(時刻T3[i])。
露光終了後、駆動部35は、iライン目の各画素の第二の電荷蓄積部5に存在しているリセットノイズNに応じたリセットノイズ信号(dark)を信号出力回路から出力させる。出力されたリセットノイズ信号(dark)はCDS回路31にてサンプリングされる。
次に、駆動部35は、iライン目の各画素の転送ゲート8に電荷転送パルスを印加して、第一の電荷蓄積部4から第二の電荷蓄積部5に電荷を転送する。そして、iライン目の各画素の第二の電荷蓄積部5に転送された電荷に応じた撮像信号(Sig)を信号出力回路から出力させる。出力された撮像信号(Sig)はCDS回路31にてサンプリングされ、(Sig)−(dark)の処理がなされて、リセットノイズNに応じた信号が除去される。
次に、駆動部35は、iライン目の各画素のリセットゲート9にリセットパルスを印加する。これにより、iライン目の各画素の第二の電荷蓄積部5に存在していた電荷はリセットドレイン6に排出される。そして、駆動部35は、iライン目の各画素の転送ゲート8への電荷転送パルスの印加と、iライン目の各画素のリセットゲート9へのリセットパルスの印加を停止して初期状態に戻る。
駆動部35は、以上の駆動を、iの値が異なる各ライン毎にタイミングをずらしながら行う。
尚、時刻T1[i]において、転送ゲート8への電荷転送パルスの印加を省略しても、接続部3に電荷を注入することは可能である。この場合、時刻T2[i]において、転送ゲート8への電荷転送パルスの印加と、リセットゲート9へのリセットパルスの印加を行って不要電荷を排出すれば良い。又、時刻T1[i]において、リセットドレイン6の電位を、リセットゲート9の電位よりも低くすれば、リセットゲート9へのリセットパルスの印加を省略することができる。この場合も、時刻T2[i]において、転送ゲート8への電荷転送パルスの印加と、リセットゲート9へのリセットパルスの印加を行って不要電荷を排出すれば良い。
以上のように、本実施形態の撮像装置によれば、リセットドレイン6から接続部3に電荷を注入することで、接続部3と電位障壁部7を同電位にした状態で露光を行うことが可能となり、露光中に光電変換層15で発生した電荷の一部が接続部3に残留するのを防いで、残像の発生を防ぐことができる。又、露光開始時の接続部3の電位が(電位障壁部7と同電位になることにより)既知となるため、出力信号の基準レベルを設定することができる。この結果、入射光量に対する信号出力特性のリニアリティ補正が可能となり、信号出力特性を線形にすることができる。
尚、接続部3と電位障壁部7に電位差がある状態で露光が行われると、光電変換層15からどれだけの電荷が入力されたのか判断がつかなくなる。その結果、入射光量に対する信号出力特性に線形性が保てなくなる。又、図4に示した初期状態において、接続部3の電位は、それまでに接続部3を通った電荷の量や時間等によって随時変動する。このため、入射光量に対する出力特性に規則性がなくなり、リニアリティ補正が行えない状態となる。しかも、画素毎にこの電位は変動する。
これに対して、本駆動方法を採用すれば、接続部3と電位障壁部7が同電位となった状態で露光が行われるため、信号の基準レベルが設定可能となる。したがって、入射光量に対する出力特性に規則性を持たせることができ、リニアリティをシステム的に補正することは可能となる。
図5は、第一実施形態の駆動方式を採用した場合の信号蓄積時間に対する信号出力特性の概念図である。
予め、本特性を撮像システムに記録しておけば、システム的にリニアリティ補正が可能となり、入射光量に対する信号出力特性を線形にすることができる。熱励起による放出電流量は時間と共に指数関数的に減少((式1)参照)し、放出電流量が、接続部3に流れ込む電流量(暗電流+被写体に応じた信号電流)と釣り合った時に熱平衡状態に達し、熱励起による放出電流量は見かけ上0となる。よって、入力信号に対する出力特性も図5のように信号蓄積時間の関数となる。このように、信号蓄積時間(露光時間)と出力電荷量を知ることができれば、図5に示したグラフから、信号電流量を知ることができるため、リニアリティ補正が可能となる。
(第二実施形態)
第一実施形態の駆動方式では、露光によって発生した電荷に応じた信号を出力させている期間において、接続部3から第一の電荷蓄積部4に熱拡散によって電荷が流入してしまい、これがノイズとなる可能性がある。本実施形態では、このノイズの発生を防止することのできる駆動方式について説明する。
本実施形態の撮像装置は、その基本構成は第一実施形態と同様であり、駆動部35が、バリアゲート7aに印加する電圧を可変制御して、電位障壁部7の電位を可変制御することができるようになっている点が異なっている。
図6は、第二実施形態の固体撮像素子を搭載する撮像装置の撮影モード時の動作を示す図であり、iライン目の各画素の各時刻における基板1内の断面ポテンシャルを示した図である。
まず、時刻T0[i]の状態を初期状態とする。初期状態とは、iライン目の各画素の電位障壁部7の電位が露光期間中に設定すべき露光電位よりも十分小さな第一の電位になっており、iライン目の各画素の転送ゲート8に電荷転送パルスが印加されておらず、iライン目の各画素のリセットゲート9にリセットパルスが印加されておらず、iライン目の各画素のリセットドレイン6の電位が既定値(第一の電荷蓄積部4の電位よりも十分に高い値)になっている状態である。初期状態では、接続部3の電荷が熱拡散により減少しており、接続部3にポテンシャル井戸が形成されている。又、第二の電荷蓄積部5には、直前のリセット動作によって発生したリセットノイズNが蓄積されている。尚、露光電位及び第一の電位は設計時に任意に決められた値である。
この初期状態から、駆動部35は、リセットドレイン電圧を低くして、iライン目の各画素のリセットドレイン6の電位を露光電位よりも低くすると共に、iライン目のバリアゲート7aに印加する電圧を高くして、iライン目の各画素の電位障壁部7の電位を露光電位にし、iライン目の各画素の転送ゲート8に電荷転送パルスを印加し、iライン目の各画素のリセットゲート9にリセットパルスを印加する。
これにより、第二の電荷蓄積部5、第一の電荷蓄積部4、及び接続部3にはリセットドレイン6から電荷が注入される。そして、リセットドレイン6から接続部3までが全てリセットドレイン6と同電位になり、熱拡散によって接続部3に形成されていたポテンシャル井戸は、注入された電荷によって完全に埋められる。(時刻T1[i])。
次に、駆動部35は、リセットドレイン電圧を初期状態の値に戻して、iライン目の各画素のリセットドレイン6の電位を既定値に戻す。これにより、リセットドレイン6から注入された電荷のうち、接続部3のポテンシャル井戸に埋められた電荷以外の不要電荷(露光電位よりも低い電位を形成している接続部3の電荷を含む)が、リセットドレイン6に排出されて、接続部3と電位障壁部7が同電位となる(時刻T2[i])。
次に、駆動部35は、iライン目の各画素の転送ゲート8への電荷転送パルスの印加と、iライン目の各画素のリセットゲート9へのリセットパルスの印加を停止し、この状態を以って露光開始とし、露光期間中に光電変換層15で発生した電荷を第一の電荷蓄積部4に蓄積させる(時刻T3[i],T4[i])。光電変換層15で発生した電荷Qは、接続部3に到達し、電位障壁部7を介して第一の電荷蓄積部4へと蓄積される。このとき、第二の電荷蓄積部5には、直前のリセット動作によるリセットノイズNのみが蓄積された状態となる。
設定された露光期間の終了時刻になると、駆動部35は、バリアゲート7aに印加する電圧を低くして、iライン目の各画素の電位障壁部7の電位を第一の電位(初期状態の値)に戻す。このとき、接続部3と電位障壁部7には大きな電位差(露光電位と第一の電位の差に等しい)が発生するため、接続部3からの熱拡散による第一の電荷蓄積部4への電荷の流入は無視できるほどに微量となる。尚、露光電位と第一の電位の差は、接続部3から第一の電荷蓄積部4に流入する電流量が無視できるほど小さくなるような値に設定しておけば良い。
駆動部35は、電位障壁部7の電位を第一の電位にした後、iライン目の各画素の第二の電荷蓄積部5に存在しているリセットノイズNに応じたリセットノイズ信号(dark)を信号出力回路から出力させる(時刻T5[i])。このリセットノイズ信号(dark)はCDS回路31にてサンプリングされる。
次に、駆動部35は、iライン目の各画素の転送ゲート8に電荷転送パルスを印加して、iライン目の各画素の第一の電荷蓄積部4に蓄積されていた電荷Qを第二の電荷蓄積部5に転送する(時刻T6[i])。
電荷Qの転送が完了した後、駆動部35は、iライン目の各画素の第二の電荷蓄積部5に存在している電荷(Q+N)に応じた撮像信号(sig)を信号出力回路から出力させる。この撮像信号(sig)はCDS回路31にてサンプリングされ、(sig)−(dark)の処理が行われてリセットノイズNに応じた信号だけが除去される。
次に、駆動部35は、iライン目の各画素のリセットゲート9にリセットパルスを印加する。これにより、iライン目の各画素の第二の電荷蓄積部5に存在していた電荷(Q+N)はリセットドレイン6に排出される(時刻T7[i])。そして、駆動部35は、iライン目の各画素の転送ゲート8への電荷転送パルスの印加と、iライン目の各画素のリセットゲート9へのリセットパルスの印加を停止する(時刻T8[i])。そして初期状態に戻る。
駆動部35は、T0[i]〜T8[i]までの駆動を、iの値が異なる各ライン毎にタイミングをずらしながら行う。
以上のように、本実施形態の撮像装置によれば、信号出力回路による信号の出力中(図6の時刻T5[i]〜T6[i])に、接続部3から第一の電荷蓄積部4に電荷が移動してくるのを防ぐことができる。このため、この電荷によるノイズを抑制することができ、高画質撮影を行うことが可能となる。
又、本実施形態の撮像装置によれば、露光期間に発生した電荷を一時的に記憶しておく第一の電荷蓄積部4が設けられているため、リセットノイズ信号(dark)のサンプリングと、撮像信号(sig)のサンプリングとを図6の時刻T5[i]とT6[i]の間の、固体撮像素子の露光期間よりも短い微小な時間間隔で実施することができ、撮像信号に含まれるリセットノイズに起因するノイズ信号を正確に除去することが可能となる。
又、本実施形態の固体撮像素子によれば、光電変換素子Pが基板1内ではなく基板1上方に設けられているため、第一の電荷蓄積部4を追加するだけの十分なスペースを基板1内に確保することができる。基板1内にフォトダイオードを形成する一般的な固体撮像素子の場合、第一の電荷蓄積部4を基板内に追加してしまうと、フォトダイオードのためのスペースを維持することが難しくなり、感度の低下が懸念されてしまう。又、感度を維持しようとすれば、画素数の低下やチップサイズの増大等が懸念されてしまう。本実施形態の固体撮像素子によればこのような懸念が生じることはない。
尚、図6の説明では、時刻T1[i]の時点で電位障壁部7の電位を露光電位にしているが、電位障壁部7の電位を露光電位にするタイミングは、時刻T6[i]で信号の出力が完了してから、時刻T2[i]で不要電荷の排出が完了するまでの間であればいつでも良い。
例えば、時刻T7[i]の後に電位障壁部7の電位を露光電位にしておき、初期状態で電位障壁部7が露光電位となっていても良い。又、時刻T1[i]において、電位障壁部7の電位を第一の電位のままにしておき、リセットドレイン6の電位を第一の電位よりも低くして接続部3に電荷を注入する。そして、時刻T2[i]で、電位障壁部7を露光電位にし、電荷転送パルス及びリセットパルスを印加することで、不要電荷を排出するようにしても良い。
(第三実施形態)
本実施形態では、第一実施形態で説明した撮像装置において、接続部3と電位障壁部7を同電位にする別の方法について説明する。
図7は、本発明の第三実施形態の撮像装置に搭載される固体撮像素子の1画素分の断面模式図である。図7において図1と同じ構成には同一符号を付してある。
図7に示す固体撮像素子は、図1に示す固体撮像素子に、接続部3に電荷を注入するための電荷注入トランジスタを追加した構成となっている。
この電荷注入トランジスタは、接続部3と、基板1内の接続部3の隣に少し離間して設けられたn型不純物層18と、接続部3とn型不純物層18の間の基板1上方にゲート絶縁膜2を介して設けられたゲート電極17とから構成されている。
接続部3は電荷注入トランジスタのドレインとして機能し、n型不純物層18は電荷注入トランジスタのソースとして機能し、ゲート電極17は電荷注入トランジスタのゲートとして機能する。以下、n型不純物層18を電荷注入ソース18といい、ゲート電極17を電荷注入ゲート17という。
本実施形態の撮像装置の構成は、図3に示したものと同様である。ただし、本実施形態の撮像装置の駆動部35は、電荷注入ソース18に接続される電源を制御して、電荷注入ソース18の電位を、電荷注入ゲート17下の基板1の電位よりも高い高電位と、電荷注入ゲート17下の基板1の電位よりも低い低電位との2種類の電位のいずれかとなるように制御する機能を有する。
以下、接続部3と電位障壁部7を同電位にするときの撮像装置の動作を説明する。
図8は、第三実施形態の固体撮像素子のiライン目の各画素において接続部3と電位障壁部7を同電位にするときの動作を示す図であり、iライン目の各画素の各時刻における基板1内の断面ポテンシャルを示した図である。
まず、時刻T0[i]の状態を初期状態とする。初期状態とは、iライン目の各画素の電荷注入ソース18の電位が高電位となっており、iライン目の各画素の転送ゲート8に電荷転送パルスが印加されておらず、iライン目の各画素のリセットゲート9にリセットパルスが印加されておらず、iライン目の各画素のリセットドレイン6の電位が既定値(第一の電荷蓄積部4の電位よりも十分に高い値)になっている状態である。初期状態では、接続部3の電荷が熱拡散により減少している。
この初期状態から、駆動部35は、iライン目の各画素の電荷注入ソース18の電位を低電位にする。これにより、接続部3及び第一の電荷蓄積部4には電荷注入ソース18から電荷が注入される。そして、電荷注入ソース18から第一の電荷蓄積部4までが全て電荷注入ソース18と同電位になり、熱拡散によって接続部3に形成されていたポテンシャル井戸は、注入された電荷によって完全に埋められる。(時刻T1[i])。
次に、駆動部35は、iライン目の各画素の電荷注入ソース18の電位を高電位に戻すと共に、iライン目の各画素の転送ゲート8に電荷転送パルスを印加し、iライン目の各画素のリセットゲート9にリセットパルスを印加する。これにより、電荷注入ソース18から注入された電荷のうち、接続部3のポテンシャル井戸に埋められた電荷以外の不要電荷が、リセットドレイン6に排出される(時刻T2[i])。
次に、駆動部35は、iライン目の各画素の転送ゲート8への電荷転送パルスの印加と、iライン目の各画素のリセットゲート9へのリセットパルスの印加を停止し、この状態を以って露光を開始し、露光中に光電変換層15で発生した電荷を、第一の電荷蓄積部4に蓄積させる(時刻T3[i])。露光終了後の動作は第一実施形態と同じであるため説明を省略する。
以上のように、電荷注入トランジスタを用いることでも、接続部3と電位障壁部7を同電位にした状態で露光を行うことができる。電荷注入ソース18の電位変化は、第一実施形態で説明したリセットドレイン6の電位変化よりも小さくてすむため、第一実施形態の撮像装置と比べると消費電力を削減することができる。
尚、第三実施形態の撮像装置においても、第二実施形態で説明した電位障壁部7の電位を可変制御する方法を組み合わせることで、ノイズを低減することができる。この場合、図8の時刻T3[i]で露光が開始され、この露光が終了した時点で、電位障壁部7の電位を、露光期間中の電位よりも十分に低い電位にする。そして、信号の出力が完了してから時刻T2[i]の不要電荷排出までの間(例えば、図8の時刻T0[i]の直前や時刻T1[i]又はT2[i]のとき)に、電位障壁部の電位を、露光期間中の電位と同じにすれば良い。
(第四実施形態)
本実施形態では、第一実施形態で説明した撮像装置において、接続部3と電位障壁部7を同電位にする別の方法について説明する。
本実施形態の撮像装置の構成は、第三実施形態で説明したものと同様である。ただし、本実施形態の撮像装置の駆動部35は、電荷注入ソース18の電位は固定とし、電荷注入ゲート17の電位を、電荷注入ソース18の電位よりも高い高電位と、電荷注入ソース18の電位よりも低い低電位との2種類の電位のいずれかとなるように制御する。
以下、接続部3と電位障壁部7を同電位にするときの撮像装置の動作を説明する。
図9は、第四実施形態の固体撮像素子のiライン目の各画素において接続部3と電位障壁部7を同電位にするときの動作を示す図であり、iライン目の各画素の各時刻における基板1内の断面ポテンシャルを示した図である。
まず、時刻T0[i]の状態を初期状態とする。初期状態とは、iライン目の各画素の電荷注入ゲート17の電位が低電位となっており、iライン目の各画素の転送ゲート8に電荷転送パルスが印加されておらず、iライン目の各画素のリセットゲート9にリセットパルスが印加されておらず、iライン目の各画素のリセットドレイン6の電位が既定値(第一の電荷蓄積部4の電位よりも十分に高い値)になっている状態である。初期状態では、接続部3の電荷が熱拡散により減少している。
この初期状態から、駆動部35は、iライン目の各画素の電荷注入ゲート17の電位を高電位にする。これにより、接続部3及び第一の電荷蓄積部4には電荷注入ソース18から電荷が注入される。そして、電荷注入ソース18から第一の電荷蓄積部4までが全て電荷注入ソース18と同電位になり、熱拡散によって接続部3に形成されていたポテンシャル井戸は、注入された電荷によって完全に埋められる。(時刻T1[i])。
次に、駆動部35は、iライン目の各画素の電荷注入ゲート17の電位を低電位に戻すと共に、iライン目の各画素の転送ゲート8に電荷転送パルスを印加し、iライン目の各画素のリセットゲート9にリセットパルスを印加する。これにより、電荷注入ソース18から注入された電荷のうち、接続部3のポテンシャル井戸に埋められた電荷以外の不要電荷が、リセットドレイン6に排出される(時刻T2[i])。
次に、駆動部35は、iライン目の各画素の転送ゲート8への電荷転送パルスの印加と、iライン目の各画素のリセットゲート9へのリセットパルスの印加を停止し、この状態を以って露光を開始し、露光中に光電変換層15で発生した電荷を、第一の電荷蓄積部4に蓄積させる(時刻T3[i])。露光終了後の動作は第一実施形態と同じであるため説明を省略する。
以上のように、電荷注入トランジスタを用いることでも、接続部3と電位障壁部7を同電位にした状態で露光を行うことができる。電荷注入ゲート17の電位変化は、第一実施形態で説明したリセットドレイン6の電位変化よりも小さくてすむため、第一実施形態の撮像装置と比べると消費電力を削減することができる。
尚、第四実施形態の撮像装置においても、第二実施形態で説明した電位障壁部7の電位を可変制御する方法を組み合わせることで、ノイズを低減することができる。即ち、図9の時刻T3[i]で露光が開始され、この露光が終了した時点で、電位障壁部7の電位を、露光期間中の電位よりも十分に低い電位にする。そして、信号の出力が完了してから時刻T2[i]で不要電荷排出が行われるまでの間(例えば、図9の時刻T0[i]の直前や時刻T1[i]又はT2[i]のとき)に、電位障壁部の電位を、露光期間中の電位と同じにするようにすれば良い。
これまでの説明では、露光期間中に発生した電荷を、第一の電荷蓄積部4に一時的に蓄積するものとすることで、リセットノイズを正確に除去できるものとした。しかし、リセットノイズの除去精度を求めないのであれば、第一の電荷蓄積部4を設けない構成としても、第一〜第四実施形態の駆動方式を採用することは可能である。
この場合の固体撮像素子は、図1及び図7に示した固体撮像素子において、転送ゲート8をリセットゲート9に変更し、第二の電荷蓄積部5をリセットドレイン6に変更し、第一の電荷蓄積部4に出力トランジスタ5aのゲートを接続した構成とすれば良い。尚、この構成にする場合、第一の電荷蓄積部4表面のp型不純物層4aは削除する。このような構造であっても、リセットドレイン電位を可変制御したり、電荷注入トランジスタを設けたりすることで、残像を防止して高画質の撮影が可能となる。
尚、カラー固体撮像素子の高感度化を目指すためには、光電変換層15の分光特性がブロードなものよりも、ある特定の波長領域の光のみを吸収し光電変換するタイプのものの方が有利である。なぜなら、分光特性がブロードなタイプは、カラー画像を取得する場合において色分解を行うためにカラーフィルタを用いる必要があるために、カラーフィルタを透過する光以外の光はフィルタに吸収され利用できないのに対し、ある特定の波長領域の光(例えば緑光)のみを吸収し光電変換するタイプのものは、その他の光(青光、赤光)を透過する為、例えば吸収光の異なる光電変換層を積層するなどの工夫を行えば、透過光を利用可能となり、光利用効率向上によって高感度化に有利となるからである。このため、第一〜第四実施形態で説明した光電変換層15は、有機材料によって構成することが、撮像素子の高感度化を図る上で望ましい。
又、有機材料で構成した光電変換層は、無機材料で構成した光電変換層に比べて厚みが薄い(300nm程度)ため、光電変換層の容量が大きくなる。つまり、接続部3に付随する容量が大きくなるため、熱拡散による流出電荷量ΔQも相対的に大きくなる(Q=CVより)。故に、上述した駆動方式は、有機材料で構成された光電変換層を用いた場合に大きな効果を発揮する。
又、ここまで、信号出力回路がnMOSトランジスタ回路によって構成される場合を例に、ポテンシャル図を用いて駆動方法を説明してきたが、信号出力回路がpMOSトランジスタ回路であってもnMOSの場合と極性が逆になる以外は考え方は全く同じであるため、説明を省略する。ちなみに、光電変換層15からの電荷が電子である場合はnMOSにて信号読み出し回路を形成し、正孔である場合はpMOSにて信号読み出し回路を形成すれば良い。
又、以上の説明では、取り扱い電荷を電子としたが、これを正孔とした場合には、上記説明で用いた各ポテンシャル図を、図中の下から上に向かって電位が高くなっているものとして見れば良い。つまり、上記説明において、電位の大小関係を逆に読めば良い。又、上記説明において、n型層とp型層を全て逆にすれば良い。
本発明の第一実施形態である固体撮像素子の1画素分の断面模式図 図1に示す1画素分の等価回路を示した図 第一実施形態の固体撮像素子を搭載する撮像装置の構成例を示した図 第一実施形態の固体撮像素子のiライン目の各画素において接続部3と電位障壁部7を同電位にするときの動作を示す図 第一実施形態の駆動方式を採用した場合の信号蓄積時間に対する信号出力特性の概念図 第二実施形態の固体撮像素子を搭載する撮像装置の撮影モード時の動作を示す図 本発明の第三実施形態である固体撮像素子の1画素分の断面模式図 第三実施形態の固体撮像素子のiライン目の各画素において接続部3と電位障壁部7を同電位にするときの動作を示す図 第四実施形態の固体撮像素子のiライン目の各画素において接続部3と電位障壁部7を同電位にするときの動作を示す図 特許文献1に開示された固体撮像素子の動作を説明するための図 熱拡散による接続部電位の変動を示した図
符号の説明
1 シリコン基板
3 接続部
4 第一の電荷蓄積部
7 電位障壁部
14 下部電極
15 光電変換層
16 上部電極
P 光電変換素子
30 固体撮像素子
35 駆動部

Claims (16)

  1. 半導体基板上方に積層された一対の電極とこれに挟まれる光電変換層とを含む光電変換素子をそれぞれ有する複数の画素を含む固体撮像素子と、前記固体撮像素子を駆動する駆動手段とを備える撮像装置であって、
    前記画素が、前記半導体基板内に設けられ、前記一対の電極の一方と電気的に接続される接続部と、前記半導体基板内に前記接続部に隣接して設けられ、該接続部の電位に対して電位障壁となる電位障壁部と、前記半導体基板内に前記電位障壁部に隣接して設けられ、前記光電変換層で発生した電荷が前記接続部及び前記電位障壁部を介して蓄積される第一の電荷蓄積部と、前記第一の電荷蓄積部に蓄積された電荷に応じた信号を出力する信号出力回路とを含み、
    前記駆動手段は、前記接続部に電荷を注入して、前記接続部と前記電位障壁部を同電位にする駆動を行う撮像装置。
  2. 請求項1記載の撮像装置であって、
    前記駆動手段は、前記信号出力回路を構成するリセットトランジスタのドレインの電位を前記電位障壁部の電位よりも下降又は上昇させて前記接続部に電荷を注入し、前記電荷の注入後、前記ドレインの電位を既定の電位に戻し、この動作によって発生した不要電荷を前記ドレインに排出することで前記接続部と前記電位障壁部を同電位にする撮像装置。
  3. 請求項1記載の撮像装置であって、
    前記画素が、前記接続部をドレインとするトランジスタであって、前記接続部に電荷を注入するための電荷注入トランジスタを備え、
    前記駆動手段は、前記電荷注入トランジスタのソースの電位を、前記電荷注入トランジスタのゲートの電位よりも下降又は上昇させて、前記ソースから前記接続部に電荷を注入し、前記電荷の注入後、前記ソースの電位を既定の電位に戻し、この動作によって発生した不要電荷を前記信号出力回路を構成するリセットトランジスタのドレインに排出することで前記接続部と前記電位障壁部を同電位にする撮像装置。
  4. 請求項1記載の撮像装置であって、
    前記画素が、前記接続部をドレインとするトランジスタであって、前記接続部に電荷を注入するための電荷注入トランジスタを備え、
    前記駆動手段は、前記電荷注入トランジスタのゲートの電位を、前記電荷注入トランジスタのソースの電位よりも上昇又は下降させて、前記ソースから前記接続部に電荷を注入し、前記電荷の注入後、前記ゲートの電位を既定の電位に戻し、この動作によって発生した不要電荷を前記信号出力回路を構成するリセットトランジスタのドレインに排出することで前記接続部と前記電位障壁部を同電位にする撮像装置。
  5. 請求項2〜4のいずれか1項記載の撮像装置であって、
    前記駆動手段が、前記接続部と前記電位障壁部を同電位にした状態で前記固体撮像素子の露光を開始し、前記露光の終了と共に、前記電位障壁部の電位を、前記露光中の電位よりも低く又は高くし、前記露光によって得られた信号の出力後から前記駆動において前記不要電荷を排出するまでに、前記電位障壁部の電位を、前記露光中の電位に戻す撮像装置。
  6. 請求項1〜5のいずれか1項記載の撮像装置であって、
    前記画素が、前記半導体基板内に設けられ、前記信号出力回路を構成する出力トランジスタのゲートに接続された第二の電荷蓄積部と、前記第一の電荷蓄積部に蓄積された電荷を前記第二の電荷蓄積部に転送する電荷転送手段とを備える撮像装置。
  7. 請求項6記載の撮像装置であって、
    前記第一の電荷蓄積部が埋め込み型の蓄積部である撮像装置。
  8. 請求項1〜7のいずれか1項記載の撮像装置であって、
    前記光電変換層が有機材料で構成されている撮像装置。
  9. 半導体基板上方に積層された一対の電極とこれに挟まれる光電変換層とを含む光電変換素子をそれぞれ有する複数の画素を含む固体撮像素子の駆動方法であって、
    前記画素が、前記半導体基板内に設けられ、前記一対の電極の一方と電気的に接続される接続部と、前記半導体基板内に前記接続部に隣接して設けられ、該接続部の電位に対して電位障壁となる電位障壁部と、前記半導体基板内に前記電位障壁部に隣接して設けられ、前記光電変換層で発生した電荷が前記接続部及び前記電位障壁部を介して蓄積される第一の電荷蓄積部と、前記第一の電荷蓄積部に蓄積された電荷に応じた信号を出力する信号出力回路とを含み、
    前記接続部に電荷を注入して、前記接続部と前記電位障壁部を同電位にする駆動ステップを有する固体撮像素子の駆動方法。
  10. 請求項9記載の固体撮像素子の駆動方法であって、
    前記駆動ステップでは、前記信号出力回路を構成するリセットトランジスタのドレインの電位を前記電位障壁部の電位よりも下降又は上昇させて前記接続部に電荷を注入し、前記電荷の注入後、前記ドレインの電位を既定の電位に戻し、この動作によって発生した不要電荷を前記ドレインに排出することで前記接続部と前記電位障壁部を同電位にする固体撮像素子の駆動方法。
  11. 請求項9記載の固体撮像素子の駆動方法であって、
    前記画素が、前記接続部をドレインとするトランジスタであって、前記接続部に電荷を注入するための電荷注入トランジスタを備え、
    前記駆動ステップでは、前記電荷注入トランジスタのソースの電位を、前記電荷注入トランジスタのゲートの電位よりも下降又は上昇させて、前記ソースから前記接続部に電荷を注入し、前記電荷の注入後、前記ソースの電位を既定の電位に戻し、この動作によって発生した不要電荷を前記信号出力回路を構成するリセットトランジスタのドレインに排出することで前記接続部と前記電位障壁部を同電位にする固体撮像素子の駆動方法。
  12. 請求項9記載の固体撮像素子の駆動方法であって、
    前記画素が、前記接続部をドレインとするトランジスタであって、前記接続部に電荷を注入するための電荷注入トランジスタを備え、
    前記駆動ステップでは、前記電荷注入トランジスタのゲートの電位を、前記電荷注入トランジスタのソースの電位よりも上昇又は下降させて、前記ソースから前記接続部に電荷を注入し、前記電荷の注入後、前記ゲートの電位を既定の電位に戻し、この動作によって発生した不要電荷を前記信号出力回路を構成するリセットトランジスタのドレインに排出することで前記接続部と前記電位障壁部を同電位にする固体撮像素子の駆動方法。
  13. 請求項10〜12のいずれか1項記載の固体撮像素子の駆動方法であって、
    前記接続部と前記電位障壁部を同電位にした状態で前記固体撮像素子の露光を開始し、前記露光の終了と共に、前記電位障壁部の電位を、前記露光中の電位よりも低く又は高くするステップを有し、
    前記露光によって得られた信号の出力後から前記駆動ステップにおいて前記不要電荷を排出するまでに、前記電位障壁部の電位を前記露光中の電位に戻す固体撮像素子の駆動方法。
  14. 請求項9〜13のいずれか1項記載の固体撮像素子の駆動方法であって、
    前記画素が、前記半導体基板内に設けられ、前記信号出力回路を構成する出力トランジスタのゲートに接続された第二の電荷蓄積部と、前記第一の電荷蓄積部に蓄積された電荷を前記第二の電荷蓄積部に転送する電荷転送手段とを備える固体撮像素子の駆動方法。
  15. 請求項14記載の固体撮像素子の駆動方法であって、
    前記第一の電荷蓄積部が埋め込み型の蓄積部である固体撮像素子の駆動方法。
  16. 請求項9〜15のいずれか1項記載の固体撮像素子の駆動方法であって、
    前記光電変換層が有機材料で構成されている固体撮像素子の駆動方法。
JP2008174319A 2008-07-03 2008-07-03 撮像装置及び固体撮像素子の駆動方法 Active JP5124368B2 (ja)

Priority Applications (2)

Application Number Priority Date Filing Date Title
JP2008174319A JP5124368B2 (ja) 2008-07-03 2008-07-03 撮像装置及び固体撮像素子の駆動方法
US12/497,012 US8223233B2 (en) 2008-07-03 2009-07-02 Imaging device and method of driving solid state imaging element

Applications Claiming Priority (1)

Application Number Priority Date Filing Date Title
JP2008174319A JP5124368B2 (ja) 2008-07-03 2008-07-03 撮像装置及び固体撮像素子の駆動方法

Publications (2)

Publication Number Publication Date
JP2010016593A true JP2010016593A (ja) 2010-01-21
JP5124368B2 JP5124368B2 (ja) 2013-01-23

Family

ID=41464056

Family Applications (1)

Application Number Title Priority Date Filing Date
JP2008174319A Active JP5124368B2 (ja) 2008-07-03 2008-07-03 撮像装置及び固体撮像素子の駆動方法

Country Status (2)

Country Link
US (1) US8223233B2 (ja)
JP (1) JP5124368B2 (ja)

Cited By (4)

* Cited by examiner, † Cited by third party
Publication number Priority date Publication date Assignee Title
JP2011130364A (ja) * 2009-12-21 2011-06-30 Sony Corp 固体撮像装置およびその駆動方法、カメラ
JP2012049982A (ja) * 2010-08-30 2012-03-08 Canon Inc 固体撮像装置及び撮像システム
WO2012098760A1 (ja) * 2011-01-20 2012-07-26 富士フイルム株式会社 固体撮像素子、固体撮像素子の駆動方法、撮像装置
WO2012132098A1 (ja) * 2011-03-28 2012-10-04 富士フイルム株式会社 固体撮像素子及び撮像装置

Families Citing this family (8)

* Cited by examiner, † Cited by third party
Publication number Priority date Publication date Assignee Title
JP5533046B2 (ja) * 2010-03-05 2014-06-25 ソニー株式会社 固体撮像装置、固体撮像装置の製造方法、固体撮像装置の駆動方法、及び電子機器
JP6265655B2 (ja) 2012-10-09 2018-01-24 キヤノン株式会社 検出装置及び検出システム
JP2014199898A (ja) * 2013-03-11 2014-10-23 ソニー株式会社 固体撮像素子および製造方法、並びに、電子機器
US9967501B2 (en) 2014-10-08 2018-05-08 Panasonic Intellectual Property Management Co., Ltd. Imaging device
JP6782431B2 (ja) 2016-01-22 2020-11-11 パナソニックIpマネジメント株式会社 撮像装置
CN107026961B (zh) 2016-01-29 2021-02-12 松下知识产权经营株式会社 摄像装置
US10192911B2 (en) 2017-05-09 2019-01-29 Apple Inc. Hybrid image sensors with improved charge injection efficiency
CN109768060A (zh) * 2017-11-09 2019-05-17 松下知识产权经营株式会社 摄像装置及照相机系统

Citations (8)

* Cited by examiner, † Cited by third party
Publication number Priority date Publication date Assignee Title
JPH03167973A (ja) * 1989-11-28 1991-07-19 Toshiba Corp 固体撮像素子の駆動方法
JPH09129864A (ja) * 1995-10-30 1997-05-16 Canon Inc 半導体装置及びそれを用いた半導体回路、相関演算装置、信号処理システム
JPH09252434A (ja) * 1996-03-14 1997-09-22 Toshiba Corp 固体撮像装置
JPH1127582A (ja) * 1997-07-04 1999-01-29 Toshiba Corp 固体撮像装置の駆動方法
JP2005268477A (ja) * 2004-03-18 2005-09-29 Fuji Film Microdevices Co Ltd 光電変換膜積層型固体撮像装置
JP2005268479A (ja) * 2004-03-18 2005-09-29 Fuji Film Microdevices Co Ltd 光電変換膜積層型固体撮像装置
JP2006120921A (ja) * 2004-10-22 2006-05-11 Fuji Film Microdevices Co Ltd 光電変換膜積層型カラー固体撮像装置
JP2008103647A (ja) * 2006-10-20 2008-05-01 National Univ Corp Shizuoka Univ 半導体素子及び固体撮像装置

Family Cites Families (5)

* Cited by examiner, † Cited by third party
Publication number Priority date Publication date Assignee Title
US6631022B1 (en) * 1999-05-28 2003-10-07 Sony Corporation Optical device, a fabrication method thereof, a driving method thereof and a camera system
JP4161855B2 (ja) * 2003-09-10 2008-10-08 ソニー株式会社 固体撮像装置、駆動制御方法及び駆動制御装置
JP2005268476A (ja) * 2004-03-18 2005-09-29 Fuji Film Microdevices Co Ltd 光電変換膜積層型固体撮像装置
JP4807783B2 (ja) * 2006-05-31 2011-11-02 ルネサスエレクトロニクス株式会社 電荷検出素子
JP5124369B2 (ja) * 2008-07-03 2013-01-23 富士フイルム株式会社 撮像装置及び固体撮像素子の駆動方法

Patent Citations (8)

* Cited by examiner, † Cited by third party
Publication number Priority date Publication date Assignee Title
JPH03167973A (ja) * 1989-11-28 1991-07-19 Toshiba Corp 固体撮像素子の駆動方法
JPH09129864A (ja) * 1995-10-30 1997-05-16 Canon Inc 半導体装置及びそれを用いた半導体回路、相関演算装置、信号処理システム
JPH09252434A (ja) * 1996-03-14 1997-09-22 Toshiba Corp 固体撮像装置
JPH1127582A (ja) * 1997-07-04 1999-01-29 Toshiba Corp 固体撮像装置の駆動方法
JP2005268477A (ja) * 2004-03-18 2005-09-29 Fuji Film Microdevices Co Ltd 光電変換膜積層型固体撮像装置
JP2005268479A (ja) * 2004-03-18 2005-09-29 Fuji Film Microdevices Co Ltd 光電変換膜積層型固体撮像装置
JP2006120921A (ja) * 2004-10-22 2006-05-11 Fuji Film Microdevices Co Ltd 光電変換膜積層型カラー固体撮像装置
JP2008103647A (ja) * 2006-10-20 2008-05-01 National Univ Corp Shizuoka Univ 半導体素子及び固体撮像装置

Cited By (7)

* Cited by examiner, † Cited by third party
Publication number Priority date Publication date Assignee Title
JP2011130364A (ja) * 2009-12-21 2011-06-30 Sony Corp 固体撮像装置およびその駆動方法、カメラ
US8704927B2 (en) 2009-12-21 2014-04-22 Sony Corporation Solid-state imaging apparatus, driving method, and camera
JP2012049982A (ja) * 2010-08-30 2012-03-08 Canon Inc 固体撮像装置及び撮像システム
WO2012098760A1 (ja) * 2011-01-20 2012-07-26 富士フイルム株式会社 固体撮像素子、固体撮像素子の駆動方法、撮像装置
JP2012151771A (ja) * 2011-01-20 2012-08-09 Fujifilm Corp 固体撮像素子、固体撮像素子の駆動方法、撮像装置
WO2012132098A1 (ja) * 2011-03-28 2012-10-04 富士フイルム株式会社 固体撮像素子及び撮像装置
JP2012216739A (ja) * 2011-03-28 2012-11-08 Fujifilm Corp 固体撮像素子及び撮像装置

Also Published As

Publication number Publication date
US20100002110A1 (en) 2010-01-07
JP5124368B2 (ja) 2013-01-23
US8223233B2 (en) 2012-07-17

Similar Documents

Publication Publication Date Title
JP5124368B2 (ja) 撮像装置及び固体撮像素子の駆動方法
JP5124369B2 (ja) 撮像装置及び固体撮像素子の駆動方法
US10567691B2 (en) Solid-state imaging device, method for driving solid-state imaging device, and electronic apparatus
CN101877769B (zh) 具有全域快门的图像传感器
KR102476855B1 (ko) 고체 촬상 소자 및 그 구동 방법 및 전자 기기
JP5552858B2 (ja) 固体撮像装置、固体撮像装置の駆動方法、及び、電子機器
JP5458869B2 (ja) 固体撮像装置およびその駆動方法、カメラ
JP5564918B2 (ja) 撮像素子およびカメラシステム
US8553124B2 (en) Solid-state image capturing device, method of driving solid-state image capturing device, and image capturing apparatus
RU2607732C2 (ru) Устройство съемки изображений и система съемки изображений
JP4340660B2 (ja) 増幅型固体撮像装置
US8456558B2 (en) Pixel circuit, a solid-state image sensing device, and a camera system that facilitates charge transfer within a pixel
JP2011216970A (ja) 固体撮像装置、固体撮像装置の駆動方法、および、電子機器
WO2010067705A1 (ja) 画素回路、固体撮像素子、およびカメラシステム
JP2015023250A (ja) 固体撮像素子及びその駆動方法、並びに電子機器
JP2011522483A5 (ja)
JP5039649B2 (ja) 撮像装置及び撮像装置の撮影制御方法
WO2013046587A1 (ja) 固体撮像装置およびその駆動方法
JP2013197697A (ja) 固体撮像装置及び電子機器
JP2011055345A (ja) 撮像装置
JP6676317B2 (ja) 撮像装置、および、撮像システム
JP2014078869A (ja) 固体撮像素子および撮像装置並びに固体撮像素子の駆動制御方法
JP5364306B2 (ja) 固体撮像素子及び撮像装置
JP6525694B2 (ja) 撮像装置、撮像システム、および、撮像装置の駆動方法
JP2000022126A (ja) 固体撮像装置

Legal Events

Date Code Title Description
A621 Written request for application examination

Free format text: JAPANESE INTERMEDIATE CODE: A621

Effective date: 20110208

RD04 Notification of resignation of power of attorney

Free format text: JAPANESE INTERMEDIATE CODE: A7424

Effective date: 20111216

A977 Report on retrieval

Free format text: JAPANESE INTERMEDIATE CODE: A971007

Effective date: 20120507

A131 Notification of reasons for refusal

Free format text: JAPANESE INTERMEDIATE CODE: A131

Effective date: 20120515

RD03 Notification of appointment of power of attorney

Free format text: JAPANESE INTERMEDIATE CODE: A7423

Effective date: 20120521

A521 Request for written amendment filed

Free format text: JAPANESE INTERMEDIATE CODE: A523

Effective date: 20120706

RD03 Notification of appointment of power of attorney

Free format text: JAPANESE INTERMEDIATE CODE: A7423

Effective date: 20120914

TRDD Decision of grant or rejection written
A01 Written decision to grant a patent or to grant a registration (utility model)

Free format text: JAPANESE INTERMEDIATE CODE: A01

Effective date: 20121002

A01 Written decision to grant a patent or to grant a registration (utility model)

Free format text: JAPANESE INTERMEDIATE CODE: A01

A61 First payment of annual fees (during grant procedure)

Free format text: JAPANESE INTERMEDIATE CODE: A61

Effective date: 20121029

FPAY Renewal fee payment (event date is renewal date of database)

Free format text: PAYMENT UNTIL: 20151102

Year of fee payment: 3

R150 Certificate of patent or registration of utility model

Free format text: JAPANESE INTERMEDIATE CODE: R150

Ref document number: 5124368

Country of ref document: JP

R250 Receipt of annual fees

Free format text: JAPANESE INTERMEDIATE CODE: R250

R250 Receipt of annual fees

Free format text: JAPANESE INTERMEDIATE CODE: R250

R250 Receipt of annual fees

Free format text: JAPANESE INTERMEDIATE CODE: R250

R250 Receipt of annual fees

Free format text: JAPANESE INTERMEDIATE CODE: R250

R250 Receipt of annual fees

Free format text: JAPANESE INTERMEDIATE CODE: R250

R250 Receipt of annual fees

Free format text: JAPANESE INTERMEDIATE CODE: R250

R250 Receipt of annual fees

Free format text: JAPANESE INTERMEDIATE CODE: R250

R250 Receipt of annual fees

Free format text: JAPANESE INTERMEDIATE CODE: R250

R250 Receipt of annual fees

Free format text: JAPANESE INTERMEDIATE CODE: R250

R250 Receipt of annual fees

Free format text: JAPANESE INTERMEDIATE CODE: R250

R250 Receipt of annual fees

Free format text: JAPANESE INTERMEDIATE CODE: R250