JP2010013271A - 物流用リール - Google Patents

物流用リール Download PDF

Info

Publication number
JP2010013271A
JP2010013271A JP2008176901A JP2008176901A JP2010013271A JP 2010013271 A JP2010013271 A JP 2010013271A JP 2008176901 A JP2008176901 A JP 2008176901A JP 2008176901 A JP2008176901 A JP 2008176901A JP 2010013271 A JP2010013271 A JP 2010013271A
Authority
JP
Japan
Prior art keywords
flange
core
reel
printed matter
thickness
Prior art date
Legal status (The legal status is an assumption and is not a legal conclusion. Google has not performed a legal analysis and makes no representation as to the accuracy of the status listed.)
Granted
Application number
JP2008176901A
Other languages
English (en)
Other versions
JP4884431B2 (ja
Inventor
Yoshinari Murata
芳成 村田
Masato Mizukawa
雅人 水川
Current Assignee (The listed assignees may be inaccurate. Google has not performed a legal analysis and makes no representation or warranty as to the accuracy of the list.)
Gold Industries Co Ltd
Original Assignee
Gold Industries Co Ltd
Priority date (The priority date is an assumption and is not a legal conclusion. Google has not performed a legal analysis and makes no representation as to the accuracy of the date listed.)
Filing date
Publication date
Application filed by Gold Industries Co Ltd filed Critical Gold Industries Co Ltd
Priority to JP2008176901A priority Critical patent/JP4884431B2/ja
Publication of JP2010013271A publication Critical patent/JP2010013271A/ja
Application granted granted Critical
Publication of JP4884431B2 publication Critical patent/JP4884431B2/ja
Active legal-status Critical Current
Anticipated expiration legal-status Critical

Links

Images

Landscapes

  • Storage Of Web-Like Or Filamentary Materials (AREA)

Abstract

【課題】印刷物の貼付に好適な広い平坦面をフランジに形成するに際し、成形に要する樹脂量を節約しながら剛性を確保するのに好適な物流用リールを提供する。
【解決手段】長尺物が巻き付けられるコア2と、該コア2の両端に設けられた一対の円盤状のフランジ3、3とを備え、フランジ外面の一部領域にラベル4その他の印刷物が貼付される射出成形製の物流用リール1において、印刷物の貼付領域の外面は平坦に形成される一方、印刷物の貼付領域の内面には、フランジ3の肉厚を略一定の厚さd3で減じる肉盗み部38が、当該貼付領域の過半にわたって形成されている。
【選択図】図3

Description

本発明は、電子部品や半導体の実装・搬送・保管等に供されるTAB(Tape Automated Bonding)テープ、キャリアテープ、スペーサーテープ等のテープ類、或いは、その他各種の帯状、線状、又はチェーン状をなす可撓性長尺物を巻き取って、それらの輸送や管理、繰り出し作業等に供される物流用リールに関し、特に、合成樹脂材料の射出成形によって形成される物流用リールにあって、フランジの表面に各種情報を記載したシールを貼付しやすいように配慮した物流用リールに関する。
なお、本発明にいう物流用リールとは、魚釣り用リールや糸巻リール等と区別して、主に産業用に供されるリールであることを明瞭化するための表現である。
長尺物の巻き取りに利用される一般的な物流用リールは、巻芯となる略円筒形状のコアと、該コアの両端に設けられた一対の円盤状のフランジとを備えている。
このような物流用リールのうち、特に合成樹脂材料の射出成形によって形成される樹脂製リールにあっては、成形に要する合成樹脂材料をできるだけ節約して軽量化及びコストダウンを図りつつ、実用的な強度や寸法精度を確保することが要求される。そのため、従来の射出成形製リールは、例えば特許文献1、2等に開示されているように、フランジの肉厚をできるだけ薄くするとともに、フランジに複数の窓開口を形成し、窓開口間にはコア側から外周側へと延びるスポークを設ける一方、フランジの外周縁や、窓開口を囲むスポークの側縁には肉厚のリブを形成して、フランジの撓み変形に対する剛性を高めるのが一般的である。
特開平7−291538号公報 特開平8−169645号公報
この種の物流用リールにあっては、巻き取られる長尺物の品名、品番、長さや幅等の仕様、工場名や製造者名、その他詳細な情報が、ラベルやシールに印刷されてフランジの外面に貼着されることが多い。とりわけ、電子部品の実装工程等に利用される物流用リールにあっては、ラベルやシール等(以下、「印刷物」と言う。)に記載される情報量がきわめて多く、したがって、それらを記載するための印刷物も大きくなる。特に近年では、複数枚の印刷物を貼着したり、各種情報をバーコードで併記したりするケースが増えており、これに伴って更に印刷物の貼着面積が拡大する傾向にある。
このような事情から、物流用リールのフランジには、大きい印刷物を貼着しうる広い平坦面を確保することが求められる。しかしながら、そのような広い平坦面を形成しようとすると、その分、フランジの成形に要する樹脂量が増大してコスト増や重量増を招く。そこで、本発明は、印刷物を貼付するための広い平坦面をフランジに形成するに際して、フランジの成形に要する樹脂量を節約しながらも必要な剛性を確保するのに好適な物流用リールの構造を提供するものである。
上記課題を解決するための構成を、実施形態を示す図面に使用した符号を用いて説明すると、本発明の物流用リールは、長尺物が巻き付けられるコア(2)と、該コア(2)の両端に設けられた一対の円盤状のフランジ(3)、(3)とを備え、該フランジ(3)の外面にラベル(4)その他の印刷物が貼付される射出成形製の物流用リール(1)、又は、上記一対のフランジ(3)、(3)のうち少なくとも一方のフランジ(3)に複数箇所の窓開口(31)が設けられて、該窓開口(31)を除くフランジ(3)外面の一部領域にラベル(4)その他の印刷物が貼付される射出成形製の物流用リール(1)において、上記印刷物の貼付領域の外面は平坦に形成される一方、上記印刷物の貼付領域の内面には、フランジ(3)の肉厚を略一定の厚さで減じる肉盗み部(38)が、当該貼付領域の過半にわたって形成されていることを特徴とする。
物流用リール(1)のフランジ(3)に大きい印刷物を貼付するには、その大きさに相当する凹凸のない平坦面を確保しなければならない。フランジ(3)に窓開口(31)がないタイプの物流用リール(1)では、当該フランジ(3)の全面が印刷物の貼付領域となる。多くの物流用リール(1)においては、複数箇所の窓開口(31)が形成されて、それらの間にコア(2)側から外周側に向けて延びる複数箇所のスポークが設けられるが、通常は、それら複数箇所のスポークのうち、特に見付面積の大きいスポークの外面が、印刷物の貼付領域となる。
つまり、本発明における「印刷物の貼付領域」とは、例えば最も見付面積の大きいスポークの外面など、フランジ(3)の側面に設けられる実質的にひとまとまりの領域を意味する。ただし、該貼付領域は厳密に規定されるものではなく、フランジ(3)に形成される窓開口(31)の形態や貼付される印刷物の形状によって若干、変化する。
なお、フランジ(3)の最外周縁部や窓開口(31)の周縁部に補強用のリブ(34)、(35)が形成されている場合は、それらのリブ(34)、(35)を除いた内側の領域を印刷物の貼付領域とする。そして、該貼付領域の内部には、印刷物貼付の妨げとなるリブその他の凹凸は設けず、その外面を平坦に形成する。
ここで、リブを形成しない領域の剛性を確保するためにフランジ(3)全体を厚肉化してしまうと、当該領域の見付面積が大きい分だけ樹脂量が大幅に増大し、コスト増を招くことになる。そこで、本発明は、印刷物の貼付領域の過半領域にわたって、その裏側に肉盗み部(38)を形成することにより、必要な剛性を確保しつつ、樹脂量の節減と軽量化を実現したものである。
肉盗み部(38)を、少なくとも印刷物の貼付領域の過半にわたって形成すれば、該領域の見付面積が大きい分だけ樹脂量の削減効果も大きくなる。肉盗み部(38)は、ひとまとまりの領域でもよいし、例えば放射状や同心円状をなす適当な複数の領域(区画)に分割されていてもよい。厚肉のまま残される部分は、フランジ(3)の外面に形成される補強用のリブ(34)、(35)等と協働して、フランジ(3)の剛性を向上させる作用をなす。当該厚肉部分の配置については、窓開口(31)の形状等との兼ね合いで、構造的なバランスを考慮して設計されるのが望ましい。
フランジ(3)の内面に、部分的に肉盗み部(38)を形成するこの構成によれば、両フランジ(3)、(3)の対向間隔(内法の最小寸法)は不変である。したがって、長尺物の巻き取りや繰り出しに支障はなく、巻き取りに関する寸法規格等を変更する必要もない。
さらに、副次的な効果として、フランジ(3)の内面に肉盗み部(38)を形成することにより、少なくともその箇所についてはフランジ(3)と長尺物との接触摩擦が少なくなる。これにより、摩擦による長尺物の痛みや、微細な磨耗屑の発生等を低減させることもできる。
上述のように構成される本発明の物流用リールは、フランジにおける印刷物の貼付領域の裏面に肉盗み部を形成することによって、成形に要する樹脂量を節約しながらフランジの剛性を確保することができる。また、目付け(製品単位あたりの重量)を減少させることにより、大きい印刷物の貼付にも適した物流用リールを経済的に製造することができ、生産性が向上する。
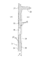
以下、本発明の実施の形態について図を参照して説明する。図1は、本発明の実施形態に係る物流用リールをフランジ側から見た正面図、図2は、同じく側面図である。
例示した物流用リール1は、電子部品実装用のTABテープ(不図示)等を巻き付けて利用されるものであって、該テープの幅に相当する巻き幅を備えた略円筒状のコア2と、該コア2の両端から円盤状に張り出した一対のフランジ3、3とを備えている。コア2は、図2に示すように、その略半分の軸長を有する一対のコア半体20、20からなっており、片側のコア半体20と片側のフランジ3とが、合成樹脂材料の射出成形によって予め一体的に成形される。その成形体同士を2個、突き合わせて、コア半体20、20の突合面を溶着することにより、図示のような物流用リール1が形成される。
フランジ3は、コア2の端面まで塞ぐように形成されており、その中心部分には、実装機等の支軸を取り付けるための軸孔21が、コア2の軸方向に貫通して形成されている。
フランジ3における、コア2よりも外方に張り出した部分には、長尺物の巻回状態を目視するため、及びフランジ3の樹脂量を節約して軽量化を図るための目的で、複数箇所の窓開口31が設けられている。例示形態にあっては、各窓開口31は、いずれも、中心角が略60度をなす略扇形に形成されて、4箇所に設けられている。
そして、これら窓開口31の間に、コア2側から外周側へと延びるスポークが形成されている。例示形態にあっては、中心角が略60度をなす一対の扇形スポーク32、32と、側縁が平行に延びる一対の細幅スポーク33、33とが、それぞれ対称配置となるように形成されている。
フランジ3には、その剛性を高めるためのリブが形成されている。例示形態におけるリブは、最外周縁に沿って環状に連続する外縁リブ34と、各窓開口31の周縁部を囲む窓縁リブ35である。いずれのリブも略等幅で、フランジ3を外面側に増肉して形成されている。
なお、図1において、符号36で示した3個並びの丸孔は、フランジ3の樹脂量を減じるために形成された肉抜き孔であり、軸孔21の近傍に符号22で示した小さい丸孔は、回転状態の検出に利用されるセンサー孔である。また、フランジ3の外面には、コア2の周部の位置に対応して、環状に連続する浅い凹溝37が形成されている。
例示の物流用リール1にあっては、見付面積の大きい扇形スポーク32の外面が印刷物等の貼付領域となって、この領域に、例えば図示のような略矩形のラベル4が貼付される。本発明の要部は、この印刷物の貼付領域を構成する扇形スポーク32の断面形状にある。その断面形状を図3に示す。
図3において、フランジ3の最大肉厚がd1である。扇形スポーク32の外面に形成された外縁リブ34及び窓縁リブ35の高さはd2であり、これらのリブを除く外面は、肉抜き孔36の周囲も含めて、ラベル4の貼付を妨げないよう、平坦に形成されている。
一方、扇形スポーク32の内面には、略一定の深さd3の肉盗み部38が形成されている。肉盗み部38は、ラベル4の貼付領域の少なくとも過半にわたって形成されており、例示形態にあっては、図1中に破線で示すように、扇形スポーク32の周部を除く略全体の扇形領域が肉盗み部38となされている。扇形スポーク32の内面側において厚肉のまま残された部分(厚肉部39)は、外面側のリブと協働してフランジ全体の剛性を向上させる作用をなす。
このように、印刷物の貼付領域となる扇形スポーク32の外面は、その周縁部のリブを除いて平坦にし、その内面側に肉盗み部38を形成することにより、必要な剛性を確保しつつフランジ3の成形に要する樹脂量を節約することができる。
なお、上述の実施形態は一例であって、窓開口31の形状や配置、ラベル4の大きさや貼付位置、リブの形状、コア2とフランジ3との成形形態等については、本発明の要旨を逸脱しない範囲で適宜改変可能である。
図1は、本発明の実施形態に係る物流用リールをフランジ側から見た正面図である。 図2は、図1に示した物流用リールの側面図である。 図3は、図1、図2の物流用リールにおける片側のフランジを図1中のA−A線で切断して肉厚を示した部分拡大断面図である。
符号の説明
1 物流用リール
2 コア
3 フランジ
31 窓開口
32 扇形スポーク
34 外縁リブ
35 窓縁リブ
38 肉盗み部
4 ラベル

Claims (2)

  1. 長尺物が巻き付けられるコア(2)と、該コア(2)の両端に設けられた一対の円盤状のフランジ(3)、(3)とを備え、該フランジ(3)の外面にラベル(4)その他の印刷物が貼付される射出成形製の物流用リール(1)において、
    上記印刷物の貼付領域の外面は平坦に形成される一方、上記印刷物の貼付領域の内面には、フランジ(3)の肉厚を略一定の厚さで減じる肉盗み部(38)が、当該貼付領域の過半にわたって形成されていることを特徴とする物流用リール。
  2. 長尺物が巻き付けられるコア(2)と、該コア(2)の両端に設けられた一対の円盤状のフランジ(3)、(3)とを備え、少なくとも一方のフランジ(3)には複数箇所の窓開口(31)が設けられて、該窓開口(31)を除くフランジ(3)外面の一部領域にラベル(4)その他の印刷物が貼付される射出成形製の物流用リール(1)において、
    上記印刷物の貼付領域の外面は平坦に形成される一方、上記印刷物の貼付領域の内面には、フランジ(3)の肉厚を略一定の厚さで減じる肉盗み部(38)が、当該貼付領域の過半にわたって形成されていることを特徴とする物流用リール。
JP2008176901A 2008-07-07 2008-07-07 物流用リール Active JP4884431B2 (ja)

Priority Applications (1)

Application Number Priority Date Filing Date Title
JP2008176901A JP4884431B2 (ja) 2008-07-07 2008-07-07 物流用リール

Applications Claiming Priority (1)

Application Number Priority Date Filing Date Title
JP2008176901A JP4884431B2 (ja) 2008-07-07 2008-07-07 物流用リール

Publications (2)

Publication Number Publication Date
JP2010013271A true JP2010013271A (ja) 2010-01-21
JP4884431B2 JP4884431B2 (ja) 2012-02-29

Family

ID=41699753

Family Applications (1)

Application Number Title Priority Date Filing Date
JP2008176901A Active JP4884431B2 (ja) 2008-07-07 2008-07-07 物流用リール

Country Status (1)

Country Link
JP (1) JP4884431B2 (ja)

Cited By (2)

* Cited by examiner, † Cited by third party
Publication number Priority date Publication date Assignee Title
JP2012091919A (ja) * 2010-10-28 2012-05-17 Murata Mfg Co Ltd テープ巻取りリール及びテープ巻取りリールの製造方法
WO2021125208A1 (ja) * 2019-12-20 2021-06-24 株式会社フジクラ 光ファイバ巻回用ボビン

Citations (2)

* Cited by examiner, † Cited by third party
Publication number Priority date Publication date Assignee Title
JPS638266A (ja) * 1986-06-27 1988-01-14 日本特殊陶業株式会社 セラミツク製電子部品の製造方法
JPH0680314A (ja) * 1991-11-11 1994-03-22 Gold Kogyo Kk 合成樹脂製リール

Patent Citations (2)

* Cited by examiner, † Cited by third party
Publication number Priority date Publication date Assignee Title
JPS638266A (ja) * 1986-06-27 1988-01-14 日本特殊陶業株式会社 セラミツク製電子部品の製造方法
JPH0680314A (ja) * 1991-11-11 1994-03-22 Gold Kogyo Kk 合成樹脂製リール

Cited By (8)

* Cited by examiner, † Cited by third party
Publication number Priority date Publication date Assignee Title
JP2012091919A (ja) * 2010-10-28 2012-05-17 Murata Mfg Co Ltd テープ巻取りリール及びテープ巻取りリールの製造方法
KR101325554B1 (ko) * 2010-10-28 2013-11-06 가부시키가이샤 무라타 세이사쿠쇼 테이프 권취 릴의 제조 방법
WO2021125208A1 (ja) * 2019-12-20 2021-06-24 株式会社フジクラ 光ファイバ巻回用ボビン
JP2021099402A (ja) * 2019-12-20 2021-07-01 株式会社フジクラ 光ファイバ巻回用ボビン
CN114868059A (zh) * 2019-12-20 2022-08-05 株式会社藤仓 光纤卷绕用卷轴
CN114868059B (zh) * 2019-12-20 2024-06-21 株式会社藤仓 光纤卷绕用卷轴
JP7507556B2 (ja) 2019-12-20 2024-06-28 株式会社フジクラ 光ファイバ巻回用ボビン
US12111509B2 (en) 2019-12-20 2024-10-08 Fujikura Ltd. Bobbin for winding optical fiber

Also Published As

Publication number Publication date
JP4884431B2 (ja) 2012-02-29

Similar Documents

Publication Publication Date Title
JP2509943B2 (ja) リ−ルアセンブリ
JP5024444B2 (ja) 巻重体
US6498475B2 (en) Performance sensor ring with reduced mass
JP4862956B2 (ja) テープの巻き取り方法
JP4884431B2 (ja) 物流用リール
JP4884424B2 (ja) 物流用リール
JPH0548309Y2 (ja)
KR101467128B1 (ko) 권취용 코어, 권취용 릴, 및 밴드 권취 방법
US5845860A (en) Tape cartridge
JPS61163380U (ja)
US20090084880A1 (en) Magnetic tape reel and magnetic tape cartridge
JP2002251859A (ja) テープリール
JP2012181885A5 (ja)
JP5502631B2 (ja) 電子部品のキャリアテープ用リール及びその半割体
JP2009113857A (ja) 電子部品のキャリアテープ用リール
US20130206890A1 (en) Tape guiding member
JP2009036807A (ja) タイヤ用二次元コードラベル
JP2009208895A (ja) 電子部品のキャリアテープ用リール及びその半割体
JP2010269925A (ja) 物流用リール
JP5816427B2 (ja) リール構造体及びその製造方法
JPH0754211Y2 (ja) リール用プロテクター
JP2009073577A (ja) 射出成形製のキャリアテープ用リール
JP2024175694A (ja) 紙製リール
JP2012043512A (ja) リール
JP6000772B2 (ja) 巻取りスプール

Legal Events

Date Code Title Description
A621 Written request for application examination

Free format text: JAPANESE INTERMEDIATE CODE: A621

Effective date: 20110114

RD02 Notification of acceptance of power of attorney

Free format text: JAPANESE INTERMEDIATE CODE: A7422

Effective date: 20110114

A871 Explanation of circumstances concerning accelerated examination

Free format text: JAPANESE INTERMEDIATE CODE: A871

Effective date: 20110826

A975 Report on accelerated examination

Free format text: JAPANESE INTERMEDIATE CODE: A971005

Effective date: 20110915

A131 Notification of reasons for refusal

Free format text: JAPANESE INTERMEDIATE CODE: A131

Effective date: 20110927

A521 Request for written amendment filed

Free format text: JAPANESE INTERMEDIATE CODE: A523

Effective date: 20111109

TRDD Decision of grant or rejection written
A01 Written decision to grant a patent or to grant a registration (utility model)

Free format text: JAPANESE INTERMEDIATE CODE: A01

Effective date: 20111206

A01 Written decision to grant a patent or to grant a registration (utility model)

Free format text: JAPANESE INTERMEDIATE CODE: A01

A61 First payment of annual fees (during grant procedure)

Free format text: JAPANESE INTERMEDIATE CODE: A61

Effective date: 20111206

FPAY Renewal fee payment (event date is renewal date of database)

Free format text: PAYMENT UNTIL: 20141216

Year of fee payment: 3

R150 Certificate of patent or registration of utility model

Free format text: JAPANESE INTERMEDIATE CODE: R150

Ref document number: 4884431

Country of ref document: JP

Free format text: JAPANESE INTERMEDIATE CODE: R150

R250 Receipt of annual fees

Free format text: JAPANESE INTERMEDIATE CODE: R250

R250 Receipt of annual fees

Free format text: JAPANESE INTERMEDIATE CODE: R250

R250 Receipt of annual fees

Free format text: JAPANESE INTERMEDIATE CODE: R250

R250 Receipt of annual fees

Free format text: JAPANESE INTERMEDIATE CODE: R250

R250 Receipt of annual fees

Free format text: JAPANESE INTERMEDIATE CODE: R250

R250 Receipt of annual fees

Free format text: JAPANESE INTERMEDIATE CODE: R250

R250 Receipt of annual fees

Free format text: JAPANESE INTERMEDIATE CODE: R250

R250 Receipt of annual fees

Free format text: JAPANESE INTERMEDIATE CODE: R250

R250 Receipt of annual fees

Free format text: JAPANESE INTERMEDIATE CODE: R250

R250 Receipt of annual fees

Free format text: JAPANESE INTERMEDIATE CODE: R250

R250 Receipt of annual fees

Free format text: JAPANESE INTERMEDIATE CODE: R250

R250 Receipt of annual fees

Free format text: JAPANESE INTERMEDIATE CODE: R250