JP2010012879A - 空気入りタイヤ - Google Patents
空気入りタイヤ Download PDFInfo
- Publication number
- JP2010012879A JP2010012879A JP2008173644A JP2008173644A JP2010012879A JP 2010012879 A JP2010012879 A JP 2010012879A JP 2008173644 A JP2008173644 A JP 2008173644A JP 2008173644 A JP2008173644 A JP 2008173644A JP 2010012879 A JP2010012879 A JP 2010012879A
- Authority
- JP
- Japan
- Prior art keywords
- tire
- block
- sipe
- amount
- rib
- Prior art date
- Legal status (The legal status is an assumption and is not a legal conclusion. Google has not performed a legal analysis and makes no representation as to the accuracy of the status listed.)
- Granted
Links
- 230000000994 depressogenic effect Effects 0.000 claims 1
- 230000000694 effects Effects 0.000 description 5
- 238000011156 evaluation Methods 0.000 description 3
- 230000000052 comparative effect Effects 0.000 description 2
- 238000006073 displacement reaction Methods 0.000 description 1
- 238000010998 test method Methods 0.000 description 1
- XLYOFNOQVPJJNP-UHFFFAOYSA-N water Substances O XLYOFNOQVPJJNP-UHFFFAOYSA-N 0.000 description 1
Images
Classifications
-
- B—PERFORMING OPERATIONS; TRANSPORTING
- B60—VEHICLES IN GENERAL
- B60C—VEHICLE TYRES; TYRE INFLATION; TYRE CHANGING; CONNECTING VALVES TO INFLATABLE ELASTIC BODIES IN GENERAL; DEVICES OR ARRANGEMENTS RELATED TO TYRES
- B60C11/00—Tyre tread bands; Tread patterns; Anti-skid inserts
- B60C11/03—Tread patterns
- B60C11/0302—Tread patterns directional pattern, i.e. with main rolling direction
-
- B—PERFORMING OPERATIONS; TRANSPORTING
- B60—VEHICLES IN GENERAL
- B60C—VEHICLE TYRES; TYRE INFLATION; TYRE CHANGING; CONNECTING VALVES TO INFLATABLE ELASTIC BODIES IN GENERAL; DEVICES OR ARRANGEMENTS RELATED TO TYRES
- B60C11/00—Tyre tread bands; Tread patterns; Anti-skid inserts
- B60C11/03—Tread patterns
- B60C11/12—Tread patterns characterised by the use of narrow slits or incisions, e.g. sipes
-
- B—PERFORMING OPERATIONS; TRANSPORTING
- B60—VEHICLES IN GENERAL
- B60C—VEHICLE TYRES; TYRE INFLATION; TYRE CHANGING; CONNECTING VALVES TO INFLATABLE ELASTIC BODIES IN GENERAL; DEVICES OR ARRANGEMENTS RELATED TO TYRES
- B60C11/00—Tyre tread bands; Tread patterns; Anti-skid inserts
- B60C11/03—Tread patterns
- B60C11/12—Tread patterns characterised by the use of narrow slits or incisions, e.g. sipes
- B60C11/1204—Tread patterns characterised by the use of narrow slits or incisions, e.g. sipes with special shape of the sipe
- B60C11/1218—Three-dimensional shape with regard to depth and extending direction
-
- B—PERFORMING OPERATIONS; TRANSPORTING
- B60—VEHICLES IN GENERAL
- B60C—VEHICLE TYRES; TYRE INFLATION; TYRE CHANGING; CONNECTING VALVES TO INFLATABLE ELASTIC BODIES IN GENERAL; DEVICES OR ARRANGEMENTS RELATED TO TYRES
- B60C11/00—Tyre tread bands; Tread patterns; Anti-skid inserts
- B60C11/03—Tread patterns
- B60C2011/0337—Tread patterns characterised by particular design features of the pattern
- B60C2011/0386—Continuous ribs
- B60C2011/0388—Continuous ribs provided at the equatorial plane
-
- B—PERFORMING OPERATIONS; TRANSPORTING
- B60—VEHICLES IN GENERAL
- B60C—VEHICLE TYRES; TYRE INFLATION; TYRE CHANGING; CONNECTING VALVES TO INFLATABLE ELASTIC BODIES IN GENERAL; DEVICES OR ARRANGEMENTS RELATED TO TYRES
- B60C11/00—Tyre tread bands; Tread patterns; Anti-skid inserts
- B60C11/03—Tread patterns
- B60C11/12—Tread patterns characterised by the use of narrow slits or incisions, e.g. sipes
- B60C11/1204—Tread patterns characterised by the use of narrow slits or incisions, e.g. sipes with special shape of the sipe
- B60C2011/1213—Tread patterns characterised by the use of narrow slits or incisions, e.g. sipes with special shape of the sipe sinusoidal or zigzag at the tread surface
-
- B—PERFORMING OPERATIONS; TRANSPORTING
- B60—VEHICLES IN GENERAL
- B60C—VEHICLE TYRES; TYRE INFLATION; TYRE CHANGING; CONNECTING VALVES TO INFLATABLE ELASTIC BODIES IN GENERAL; DEVICES OR ARRANGEMENTS RELATED TO TYRES
- B60C11/00—Tyre tread bands; Tread patterns; Anti-skid inserts
- B60C11/03—Tread patterns
- B60C11/12—Tread patterns characterised by the use of narrow slits or incisions, e.g. sipes
- B60C11/1204—Tread patterns characterised by the use of narrow slits or incisions, e.g. sipes with special shape of the sipe
- B60C2011/1227—Tread patterns characterised by the use of narrow slits or incisions, e.g. sipes with special shape of the sipe having different shape within the pattern
-
- B—PERFORMING OPERATIONS; TRANSPORTING
- B60—VEHICLES IN GENERAL
- B60C—VEHICLE TYRES; TYRE INFLATION; TYRE CHANGING; CONNECTING VALVES TO INFLATABLE ELASTIC BODIES IN GENERAL; DEVICES OR ARRANGEMENTS RELATED TO TYRES
- B60C11/00—Tyre tread bands; Tread patterns; Anti-skid inserts
- B60C11/03—Tread patterns
- B60C11/12—Tread patterns characterised by the use of narrow slits or incisions, e.g. sipes
- B60C11/1236—Tread patterns characterised by the use of narrow slits or incisions, e.g. sipes with special arrangements in the tread pattern
- B60C2011/1254—Tread patterns characterised by the use of narrow slits or incisions, e.g. sipes with special arrangements in the tread pattern with closed sipe, i.e. not extending to a groove
-
- B—PERFORMING OPERATIONS; TRANSPORTING
- B60—VEHICLES IN GENERAL
- B60C—VEHICLE TYRES; TYRE INFLATION; TYRE CHANGING; CONNECTING VALVES TO INFLATABLE ELASTIC BODIES IN GENERAL; DEVICES OR ARRANGEMENTS RELATED TO TYRES
- B60C11/00—Tyre tread bands; Tread patterns; Anti-skid inserts
- B60C11/03—Tread patterns
- B60C11/12—Tread patterns characterised by the use of narrow slits or incisions, e.g. sipes
- B60C2011/129—Sipe density, i.e. the distance between the sipes within the pattern
- B60C2011/1295—Sipe density, i.e. the distance between the sipes within the pattern variable
Landscapes
- Engineering & Computer Science (AREA)
- Mechanical Engineering (AREA)
- Tires In General (AREA)
Abstract
【解決手段】タイヤ赤道面TE上のリブ5に設けたサイプ11Xは、外力に対するリブ5の倒れ込み量がタイヤ回転方向一方向に倒れ込む量の方がタイヤ回転方向他方向に倒れ込む量より小さくなる3次元形状に構成されている。ショルダー領域1Sのブロック10において、ブロック踏み込み側部10Aのサイプ11Maは、サイプ11Maをブロック10全体に設けた際に外力に対するブロック倒れ込み量がタイヤ回転方向一方向に倒れ込む量の方がタイヤ回転方向他方向に倒れ込む量より小さくなる3次元形状に、ブロック蹴り出し側部10Bのサイプ11Mbは、サイプ11Mbをブロック10全体に設けた際に外力に対するブロック倒れ込み量がタイヤ回転方向一方向に倒れ込む量よりタイヤ回転方向他方向に倒れ込む量の方が小さくなる3次元形状になっている。
【選択図】図1
Description
氷路テストコースにおいて、時速40km/hで直進走行中にフル制動を付与し、車両が停止するまでの距離を測定した。その評価結果を基準タイヤを100とする指数値で示す。この値が大きいほど、氷上制動性能が優れている。
ドライ路テストコースにおいて、20000km走行した後、ショルダー領域のブロックに発生した偏摩耗量を測定した。その評価結果を基準タイヤを100とする指数値で示す。この値が大きいほど、耐偏摩耗性が優れている。
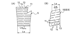
1S ショルダー領域
2,3,4 周方向溝
5 リブ
6 第1横溝
7 第2横溝
10 ブロック
10A ブロック踏み込み側部
10B ブロック蹴り出し側部
11,11M,11X サイプ
14 離間する部分
Ib,Ix 間隔
TC タイヤ周方向
TC タイヤ赤道面
Claims (4)
- トレッド面にタイヤ周方向に延在する複数の周方向溝を設ける一方、タイヤ幅方向に延びる横溝をタイヤ周方向に所定のピッチで配置し、トレッド面のタイヤ赤道面上に周方向溝により区分されたリブを形成し、トレッド面のショルダー領域に周方向溝と横溝により区画されたブロックを形成し、リブ及び各ブロックにタイヤ幅方向に延在する3次元形状のサイプをタイヤ周方向に所定の間隔で配置した、タイヤ回転方向が一方向に指定された空気入りタイヤにおいて、
リブに設けたサイプを、タイヤ周方向の外力がリブに作用した時のリブの倒れ込み量がタイヤ回転方向一方向に倒れ込む量の方がタイヤ回転方向他方向に倒れ込む量より小さくなる3次元形状に構成し、
ブロックに設けたサイプは、ブロックのタイヤ回転方向一方向側に位置するブロック踏み込み側部に設けたサイプと、ブロックのタイヤ回転方向他方向側に位置するブロック蹴り出し側部に設けたサイプを有し、
ブロック踏み込み側部のサイプを、該サイプをブロック全体に設けた際にタイヤ周方向の外力がそのブロックに作用した時のブロック倒れ込み量がタイヤ回転方向一方向に倒れ込む量の方がタイヤ回転方向他方向に倒れ込む量より小さくなる3次元形状に構成し、
ブロック蹴り出し側部のサイプを、該サイプをブロック全体に設けた際にタイヤ周方向の外力がそのブロックに作用した時のブロック倒れ込み量がタイヤ回転方向一方向に倒れ込む量よりタイヤ回転方向他方向に倒れ込む量の方が小さくなる3次元形状に構成した空気入りタイヤ。 - リブに設けたサイプの間隔をブロックに設けたサイプの間隔より狭くした請求項1に記載の空気入りタイヤ。
- 各サイプがタイヤ幅方向に離間する左右一対のサイプ部から構成され、離間する部分がタイヤ周方向に千鳥状に配置される請求項1または2に記載の空気入りタイヤ。
- 離間する部分のタイヤ幅方向長さLwがサイプの幅方向長さLsの2〜20%である請求項3に記載の空気入りタイヤ。
Priority Applications (6)
| Application Number | Priority Date | Filing Date | Title |
|---|---|---|---|
| JP2008173644A JP4397956B1 (ja) | 2008-07-02 | 2008-07-02 | 空気入りタイヤ |
| RU2011103547/11A RU2443572C1 (ru) | 2008-07-02 | 2009-06-19 | Пневматическая шина |
| US13/000,744 US9027612B2 (en) | 2008-07-02 | 2009-06-19 | Pneumatic tire having tread provided with three-dimensionally shaped sipes |
| EP09773320A EP2308696B1 (en) | 2008-07-02 | 2009-06-19 | Pneumatic tire |
| PCT/JP2009/061240 WO2010001742A1 (ja) | 2008-07-02 | 2009-06-19 | 空気入りタイヤ |
| CN200980125703.4A CN102083639B (zh) | 2008-07-02 | 2009-06-19 | 充气轮胎 |
Applications Claiming Priority (1)
| Application Number | Priority Date | Filing Date | Title |
|---|---|---|---|
| JP2008173644A JP4397956B1 (ja) | 2008-07-02 | 2008-07-02 | 空気入りタイヤ |
Publications (2)
| Publication Number | Publication Date |
|---|---|
| JP4397956B1 JP4397956B1 (ja) | 2010-01-13 |
| JP2010012879A true JP2010012879A (ja) | 2010-01-21 |
Family
ID=41465842
Family Applications (1)
| Application Number | Title | Priority Date | Filing Date |
|---|---|---|---|
| JP2008173644A Expired - Fee Related JP4397956B1 (ja) | 2008-07-02 | 2008-07-02 | 空気入りタイヤ |
Country Status (6)
| Country | Link |
|---|---|
| US (1) | US9027612B2 (ja) |
| EP (1) | EP2308696B1 (ja) |
| JP (1) | JP4397956B1 (ja) |
| CN (1) | CN102083639B (ja) |
| RU (1) | RU2443572C1 (ja) |
| WO (1) | WO2010001742A1 (ja) |
Cited By (4)
| Publication number | Priority date | Publication date | Assignee | Title |
|---|---|---|---|---|
| JP2012144229A (ja) * | 2011-01-14 | 2012-08-02 | Bridgestone Corp | タイヤ |
| JP2013103621A (ja) * | 2011-11-14 | 2013-05-30 | Yokohama Rubber Co Ltd:The | 空気入りタイヤ |
| WO2014092078A1 (ja) * | 2012-12-13 | 2014-06-19 | 株式会社ブリヂストン | タイヤ |
| JP2015006807A (ja) * | 2013-06-05 | 2015-01-15 | 株式会社ブリヂストン | タイヤ |
Families Citing this family (16)
| Publication number | Priority date | Publication date | Assignee | Title |
|---|---|---|---|---|
| JP5316591B2 (ja) | 2011-06-08 | 2013-10-16 | 横浜ゴム株式会社 | 空気入りタイヤ |
| JP5452560B2 (ja) * | 2011-09-16 | 2014-03-26 | 住友ゴム工業株式会社 | 空気入りタイヤ |
| WO2013065304A1 (ja) * | 2011-11-04 | 2013-05-10 | 株式会社ブリヂストン | 空気入りタイヤ |
| JP6046471B2 (ja) | 2012-12-07 | 2016-12-14 | 株式会社ブリヂストン | 空気入りタイヤ |
| NL2009980C2 (en) * | 2012-12-13 | 2014-06-16 | Ct Voor Tech Informatica B V | A method of producing glass products from glass product material and an assembly for performing said method. |
| JP5975004B2 (ja) * | 2013-09-17 | 2016-08-23 | 横浜ゴム株式会社 | 空気入りタイヤ |
| CN103507574A (zh) * | 2013-09-29 | 2014-01-15 | 正新橡胶(中国)有限公司 | 一种充气轮胎 |
| JP5835399B2 (ja) * | 2014-05-02 | 2015-12-24 | 横浜ゴム株式会社 | 空気入りタイヤ |
| JP6329010B2 (ja) * | 2014-06-13 | 2018-05-23 | 株式会社ブリヂストン | 空気入りタイヤ |
| WO2017058224A1 (en) | 2015-09-30 | 2017-04-06 | Compagnie Generale Des Etablissements Michelin | Egg crate sidewall features for sipes |
| WO2017058226A1 (en) * | 2015-09-30 | 2017-04-06 | Compagnie Generale Des Etablissements Michelin | Variable thickness sipes |
| FR3058091A1 (fr) * | 2016-11-03 | 2018-05-04 | Compagnie Generale Des Etablissements Michelin | Bande de roulement comportant un bloc allonge presentant une pluralite de decoupures |
| USD820775S1 (en) * | 2017-01-19 | 2018-06-19 | The Goodyear Tire & Rubber Company | Tire |
| JP6907690B2 (ja) * | 2017-05-16 | 2021-07-21 | 住友ゴム工業株式会社 | タイヤ |
| USD986803S1 (en) * | 2021-03-25 | 2023-05-23 | The Goodyear Tire & Rubber Company | Tire |
| JP2024076120A (ja) * | 2022-11-24 | 2024-06-05 | 住友ゴム工業株式会社 | タイヤ |
Family Cites Families (47)
| Publication number | Priority date | Publication date | Assignee | Title |
|---|---|---|---|---|
| NL79068C (ja) | 1936-01-25 | |||
| FR2418719A1 (fr) * | 1978-03-03 | 1979-09-28 | Michelin & Cie | Pneumatique destine a rouler sur la neige |
| DE3146362A1 (de) * | 1981-02-23 | 1982-09-02 | The General Tire & Rubber Co., 44329 Akron, Ohio | Reifen mit verbesserter laufflaeche |
| JPS62251206A (ja) * | 1986-04-24 | 1987-11-02 | Yokohama Rubber Co Ltd:The | ラジアルタイヤ |
| JPH02270609A (ja) * | 1989-04-13 | 1990-11-05 | Yokohama Rubber Co Ltd:The | 空気入タイヤ |
| JPH05229311A (ja) | 1992-02-20 | 1993-09-07 | Bridgestone Corp | 空気入りラジアルタイヤ |
| JPH06219108A (ja) | 1993-01-22 | 1994-08-09 | Yokohama Rubber Co Ltd:The | 雪氷路用タイヤ |
| FR2703002B1 (fr) * | 1993-03-25 | 1995-06-02 | Michelin & Cie | Bande de roulement pour pneumatique radial ayant des éléments en relief pourvus d'incisions. |
| IT1265035B1 (it) * | 1993-05-31 | 1996-10-28 | Pirelli | Pneumatico per ruote di veicoli con battistrada a bassa rumorosita' di rotolamento |
| JPH08216623A (ja) * | 1995-02-13 | 1996-08-27 | Bridgestone Corp | 雪上および氷上走行用空気入りタイヤ |
| JPH0920108A (ja) | 1995-07-04 | 1997-01-21 | Yokohama Rubber Co Ltd:The | 空気入りラジアルタイヤ |
| JP3542687B2 (ja) | 1996-06-11 | 2004-07-14 | 株式会社ブリヂストン | 空気入りタイヤ |
| JP3586045B2 (ja) | 1996-07-02 | 2004-11-10 | 株式会社ブリヂストン | スタッドレス空気入りタイヤ |
| JP3358976B2 (ja) | 1997-10-20 | 2002-12-24 | 住友ゴム工業株式会社 | 空気入りタイヤ |
| US6427737B1 (en) * | 1998-04-22 | 2002-08-06 | Bridgestone Corporation | Pneumatic tire having at least four sipes |
| JP4278770B2 (ja) * | 1998-04-22 | 2009-06-17 | 株式会社ブリヂストン | 空気入りタイヤ |
| JPH11310013A (ja) | 1998-04-28 | 1999-11-09 | Toyo Tire & Rubber Co Ltd | 空気入りラジアルタイヤ |
| JP4233665B2 (ja) * | 1999-02-10 | 2009-03-04 | 株式会社ブリヂストン | 空気入りタイヤ |
| US6571844B1 (en) * | 1999-07-19 | 2003-06-03 | Bridgestone Corporation | Pneumatic tire having tread including pairs of sipes |
| JP2001039126A (ja) | 1999-07-29 | 2001-02-13 | Bridgestone Corp | 空気入りタイヤ |
| EP1090781B1 (en) * | 1999-10-06 | 2005-01-12 | Sumitomo Rubber Industries Limited | Studless tyre |
| JP2001213122A (ja) * | 1999-11-22 | 2001-08-07 | Bridgestone Corp | 空気入りタイヤ |
| JP2001213121A (ja) * | 1999-11-22 | 2001-08-07 | Bridgestone Corp | 空気入りタイヤ |
| DE10032372B4 (de) * | 2000-07-06 | 2005-03-17 | Continental Aktiengesellschaft | Fahrzeugreifen |
| JP3473904B2 (ja) | 2000-12-26 | 2003-12-08 | 東洋ゴム工業株式会社 | 空気入りタイヤ |
| JP2002240513A (ja) | 2001-02-20 | 2002-08-28 | Bridgestone Corp | 空気入りタイヤ |
| GB2376217B (en) | 2001-06-06 | 2005-03-02 | Yokohama Rubber Co Ltd | Pneumatic tire |
| ATE319579T1 (de) * | 2001-08-03 | 2006-03-15 | Pirelli | Insbesondere für schneebedeckten boden geeigneter reifen |
| CN2513803Y (zh) * | 2001-12-28 | 2002-10-02 | 于波 | 安全车轮 |
| JP3954398B2 (ja) | 2002-01-25 | 2007-08-08 | 株式会社ブリヂストン | 空気入りタイヤ |
| JP3964693B2 (ja) | 2002-02-21 | 2007-08-22 | 株式会社ブリヂストン | 空気入りタイヤ |
| JP4056304B2 (ja) * | 2002-06-24 | 2008-03-05 | 横浜ゴム株式会社 | 氷雪路用空気入りタイヤ |
| DE10301012A1 (de) * | 2003-01-13 | 2004-07-22 | Continental Aktiengesellschaft | Fahrzeugluftreifen insbesondere zum Einsatz unter winterlichen Fahrbedingungen |
| US7143798B2 (en) * | 2003-06-23 | 2006-12-05 | The Goodyear Tire & Rubber Company | Pneumatic tire having tread with axially adjacent block chamfer and rib chamfer |
| JP2005349970A (ja) * | 2004-06-11 | 2005-12-22 | Yokohama Rubber Co Ltd:The | 空気入りタイヤ |
| JP4299745B2 (ja) * | 2004-08-12 | 2009-07-22 | 住友ゴム工業株式会社 | 空気入りタイヤ |
| JP4750398B2 (ja) | 2004-10-04 | 2011-08-17 | 株式会社ブリヂストン | 空気入りタイヤ |
| JP4237690B2 (ja) * | 2004-10-27 | 2009-03-11 | 住友ゴム工業株式会社 | 空気入りタイヤ |
| JP2006176055A (ja) * | 2004-12-24 | 2006-07-06 | Yokohama Rubber Co Ltd:The | 空気入りタイヤ |
| JP2006298055A (ja) * | 2005-04-18 | 2006-11-02 | Bridgestone Corp | 空気入りタイヤ |
| JP4720359B2 (ja) * | 2005-08-17 | 2011-07-13 | 横浜ゴム株式会社 | 氷雪路用空気入りタイヤ |
| JP4735137B2 (ja) | 2005-09-02 | 2011-07-27 | 横浜ゴム株式会社 | 空気入りタイヤ |
| JP2008049971A (ja) | 2006-08-28 | 2008-03-06 | Yokohama Rubber Co Ltd:The | 空気入りタイヤ |
| USD588525S1 (en) * | 2007-04-11 | 2009-03-17 | Toyo Tire & Rubber Co., Ltd. | Automobile tire |
| JP4223064B2 (ja) * | 2007-06-12 | 2009-02-12 | 横浜ゴム株式会社 | 空気入りタイヤ |
| JP5012357B2 (ja) * | 2007-09-20 | 2012-08-29 | 横浜ゴム株式会社 | 空気入りタイヤ |
| JP4442709B2 (ja) * | 2008-09-12 | 2010-03-31 | 横浜ゴム株式会社 | 空気入りタイヤ |
-
2008
- 2008-07-02 JP JP2008173644A patent/JP4397956B1/ja not_active Expired - Fee Related
-
2009
- 2009-06-19 CN CN200980125703.4A patent/CN102083639B/zh not_active Expired - Fee Related
- 2009-06-19 US US13/000,744 patent/US9027612B2/en active Active
- 2009-06-19 RU RU2011103547/11A patent/RU2443572C1/ru active
- 2009-06-19 EP EP09773320A patent/EP2308696B1/en not_active Not-in-force
- 2009-06-19 WO PCT/JP2009/061240 patent/WO2010001742A1/ja not_active Ceased
Cited By (6)
| Publication number | Priority date | Publication date | Assignee | Title |
|---|---|---|---|---|
| JP2012144229A (ja) * | 2011-01-14 | 2012-08-02 | Bridgestone Corp | タイヤ |
| JP2013103621A (ja) * | 2011-11-14 | 2013-05-30 | Yokohama Rubber Co Ltd:The | 空気入りタイヤ |
| US9855801B2 (en) | 2011-11-14 | 2018-01-02 | The Yokohama Rubber Co., Ltd. | Pneumatic tire |
| WO2014092078A1 (ja) * | 2012-12-13 | 2014-06-19 | 株式会社ブリヂストン | タイヤ |
| JPWO2014092078A1 (ja) * | 2012-12-13 | 2017-01-12 | 株式会社ブリヂストン | タイヤ |
| JP2015006807A (ja) * | 2013-06-05 | 2015-01-15 | 株式会社ブリヂストン | タイヤ |
Also Published As
| Publication number | Publication date |
|---|---|
| CN102083639B (zh) | 2013-07-31 |
| CN102083639A (zh) | 2011-06-01 |
| EP2308696B1 (en) | 2012-08-08 |
| US20110100519A1 (en) | 2011-05-05 |
| WO2010001742A1 (ja) | 2010-01-07 |
| EP2308696A4 (en) | 2011-08-03 |
| JP4397956B1 (ja) | 2010-01-13 |
| EP2308696A1 (en) | 2011-04-13 |
| RU2443572C1 (ru) | 2012-02-27 |
| US9027612B2 (en) | 2015-05-12 |
Similar Documents
| Publication | Publication Date | Title |
|---|---|---|
| JP4397956B1 (ja) | 空気入りタイヤ | |
| JP4223064B2 (ja) | 空気入りタイヤ | |
| JP5875814B2 (ja) | 空気入りタイヤ | |
| JP4471033B1 (ja) | 空気入りタイヤ | |
| JP5797506B2 (ja) | 空気入りタイヤ | |
| JP4378414B1 (ja) | 空気入りタイヤ | |
| JP2011143896A (ja) | 空気入りタイヤ | |
| JP6139843B2 (ja) | 空気入りタイヤ | |
| JP2008213673A (ja) | 空気入りタイヤ | |
| JP5790199B2 (ja) | スタッドレスタイヤ | |
| JP6009029B2 (ja) | 空気入りタイヤ | |
| JP2016137763A (ja) | 空気入りタイヤ | |
| JP5171179B2 (ja) | 空気入りタイヤ | |
| JP2009120055A (ja) | 空気入りタイヤ | |
| JP7192325B2 (ja) | 空気入りタイヤ | |
| JP6186250B2 (ja) | 空気入りタイヤ | |
| JP5764026B2 (ja) | 空気入りタイヤ | |
| JP5509889B2 (ja) | 空気入りタイヤ | |
| JP6430310B2 (ja) | 空気入りタイヤ | |
| JP5506463B2 (ja) | 空気入りタイヤ | |
| JP5489515B2 (ja) | 空気入りタイヤ | |
| JP5104046B2 (ja) | 空気入りタイヤ | |
| JP2005349970A (ja) | 空気入りタイヤ | |
| JP5353975B2 (ja) | 空気入りタイヤ | |
| JP5437851B2 (ja) | 空気入りタイヤ |
Legal Events
| Date | Code | Title | Description |
|---|---|---|---|
| TRDD | Decision of grant or rejection written | ||
| A01 | Written decision to grant a patent or to grant a registration (utility model) |
Free format text: JAPANESE INTERMEDIATE CODE: A01 Effective date: 20091013 |
|
| A01 | Written decision to grant a patent or to grant a registration (utility model) |
Free format text: JAPANESE INTERMEDIATE CODE: A01 |
|
| A61 | First payment of annual fees (during grant procedure) |
Free format text: JAPANESE INTERMEDIATE CODE: A61 Effective date: 20091021 |
|
| FPAY | Renewal fee payment (event date is renewal date of database) |
Free format text: PAYMENT UNTIL: 20121030 Year of fee payment: 3 |
|
| R150 | Certificate of patent or registration of utility model |
Ref document number: 4397956 Country of ref document: JP Free format text: JAPANESE INTERMEDIATE CODE: R150 Free format text: JAPANESE INTERMEDIATE CODE: R150 |
|
| FPAY | Renewal fee payment (event date is renewal date of database) |
Free format text: PAYMENT UNTIL: 20121030 Year of fee payment: 3 |
|
| FPAY | Renewal fee payment (event date is renewal date of database) |
Free format text: PAYMENT UNTIL: 20121030 Year of fee payment: 3 |
|
| FPAY | Renewal fee payment (event date is renewal date of database) |
Free format text: PAYMENT UNTIL: 20121030 Year of fee payment: 3 |
|
| FPAY | Renewal fee payment (event date is renewal date of database) |
Free format text: PAYMENT UNTIL: 20131030 Year of fee payment: 4 |
|
| R250 | Receipt of annual fees |
Free format text: JAPANESE INTERMEDIATE CODE: R250 |
|
| R250 | Receipt of annual fees |
Free format text: JAPANESE INTERMEDIATE CODE: R250 |
|
| R250 | Receipt of annual fees |
Free format text: JAPANESE INTERMEDIATE CODE: R250 |
|
| R250 | Receipt of annual fees |
Free format text: JAPANESE INTERMEDIATE CODE: R250 |
|
| R250 | Receipt of annual fees |
Free format text: JAPANESE INTERMEDIATE CODE: R250 |
|
| R250 | Receipt of annual fees |
Free format text: JAPANESE INTERMEDIATE CODE: R250 |
|
| R250 | Receipt of annual fees |
Free format text: JAPANESE INTERMEDIATE CODE: R250 |
|
| R250 | Receipt of annual fees |
Free format text: JAPANESE INTERMEDIATE CODE: R250 |
|
| R250 | Receipt of annual fees |
Free format text: JAPANESE INTERMEDIATE CODE: R250 |
|
| R250 | Receipt of annual fees |
Free format text: JAPANESE INTERMEDIATE CODE: R250 |
|
| LAPS | Cancellation because of no payment of annual fees |
