JP2010012460A - フィルタフレームおよびフィルタフレームを有するひだ溝付きフィルタ - Google Patents

フィルタフレームおよびフィルタフレームを有するひだ溝付きフィルタ Download PDF

Info

Publication number
JP2010012460A
JP2010012460A JP2009150504A JP2009150504A JP2010012460A JP 2010012460 A JP2010012460 A JP 2010012460A JP 2009150504 A JP2009150504 A JP 2009150504A JP 2009150504 A JP2009150504 A JP 2009150504A JP 2010012460 A JP2010012460 A JP 2010012460A
Authority
JP
Japan
Prior art keywords
filter media
media pack
seal
frame
filter
Prior art date
Legal status (The legal status is an assumption and is not a legal conclusion. Google has not performed a legal analysis and makes no representation as to the accuracy of the status listed.)
Granted
Application number
JP2009150504A
Other languages
English (en)
Other versions
JP5690054B2 (ja
Inventor
J Merritt Steven
ステーブン・ジェイ・マルリット
Chad Banzhaf
チャド・バンザフ
Kyle Swanson
カイル・スワンソン
Current Assignee (The listed assignees may be inaccurate. Google has not performed a legal analysis and makes no representation or warranty as to the accuracy of the list.)
Baldwin Filters Inc
Original Assignee
Baldwin Filters Inc
Priority date (The priority date is an assumption and is not a legal conclusion. Google has not performed a legal analysis and makes no representation as to the accuracy of the date listed.)
Filing date
Publication date
Application filed by Baldwin Filters Inc filed Critical Baldwin Filters Inc
Publication of JP2010012460A publication Critical patent/JP2010012460A/ja
Application granted granted Critical
Publication of JP5690054B2 publication Critical patent/JP5690054B2/ja
Active legal-status Critical Current
Anticipated expiration legal-status Critical

Links

Images

Classifications

    • BPERFORMING OPERATIONS; TRANSPORTING
    • B01PHYSICAL OR CHEMICAL PROCESSES OR APPARATUS IN GENERAL
    • B01DSEPARATION
    • B01D46/00Filters or filtering processes specially modified for separating dispersed particles from gases or vapours
    • B01D46/24Particle separators, e.g. dust precipitators, using rigid hollow filter bodies
    • B01D46/2403Particle separators, e.g. dust precipitators, using rigid hollow filter bodies characterised by the physical shape or structure of the filtering element
    • B01D46/2411Filter cartridges
    • B01D46/2414End caps including additional functions or special forms
    • BPERFORMING OPERATIONS; TRANSPORTING
    • B01PHYSICAL OR CHEMICAL PROCESSES OR APPARATUS IN GENERAL
    • B01DSEPARATION
    • B01D46/00Filters or filtering processes specially modified for separating dispersed particles from gases or vapours
    • B01D46/0001Making filtering elements
    • BPERFORMING OPERATIONS; TRANSPORTING
    • B01PHYSICAL OR CHEMICAL PROCESSES OR APPARATUS IN GENERAL
    • B01DSEPARATION
    • B01D46/00Filters or filtering processes specially modified for separating dispersed particles from gases or vapours
    • B01D46/0002Casings; Housings; Frame constructions
    • B01D46/0005Mounting of filtering elements within casings, housings or frames
    • BPERFORMING OPERATIONS; TRANSPORTING
    • B01PHYSICAL OR CHEMICAL PROCESSES OR APPARATUS IN GENERAL
    • B01DSEPARATION
    • B01D46/00Filters or filtering processes specially modified for separating dispersed particles from gases or vapours
    • B01D46/52Particle separators, e.g. dust precipitators, using filters embodying folded corrugated or wound sheet material
    • B01D46/521Particle separators, e.g. dust precipitators, using filters embodying folded corrugated or wound sheet material using folded, pleated material
    • B01D46/525Particle separators, e.g. dust precipitators, using filters embodying folded corrugated or wound sheet material using folded, pleated material which comprises flutes
    • B01D46/527Particle separators, e.g. dust precipitators, using filters embodying folded corrugated or wound sheet material using folded, pleated material which comprises flutes in wound arrangement
    • BPERFORMING OPERATIONS; TRANSPORTING
    • B01PHYSICAL OR CHEMICAL PROCESSES OR APPARATUS IN GENERAL
    • B01DSEPARATION
    • B01D2265/00Casings, housings or mounting for filters specially adapted for separating dispersed particles from gases or vapours
    • B01D2265/04Permanent measures for connecting different parts of the filter, e.g. welding, glueing or moulding
    • BPERFORMING OPERATIONS; TRANSPORTING
    • B01PHYSICAL OR CHEMICAL PROCESSES OR APPARATUS IN GENERAL
    • B01DSEPARATION
    • B01D2271/00Sealings for filters specially adapted for separating dispersed particles from gases or vapours
    • B01D2271/02Gaskets, sealings
    • B01D2271/022Axial sealings
    • BPERFORMING OPERATIONS; TRANSPORTING
    • B01PHYSICAL OR CHEMICAL PROCESSES OR APPARATUS IN GENERAL
    • B01DSEPARATION
    • B01D2271/00Sealings for filters specially adapted for separating dispersed particles from gases or vapours
    • B01D2271/02Gaskets, sealings
    • B01D2271/025Making of sealings
    • BPERFORMING OPERATIONS; TRANSPORTING
    • B01PHYSICAL OR CHEMICAL PROCESSES OR APPARATUS IN GENERAL
    • B01DSEPARATION
    • B01D2271/00Sealings for filters specially adapted for separating dispersed particles from gases or vapours
    • B01D2271/02Gaskets, sealings
    • B01D2271/027Radial sealings
    • YGENERAL TAGGING OF NEW TECHNOLOGICAL DEVELOPMENTS; GENERAL TAGGING OF CROSS-SECTIONAL TECHNOLOGIES SPANNING OVER SEVERAL SECTIONS OF THE IPC; TECHNICAL SUBJECTS COVERED BY FORMER USPC CROSS-REFERENCE ART COLLECTIONS [XRACs] AND DIGESTS
    • Y10TECHNICAL SUBJECTS COVERED BY FORMER USPC
    • Y10STECHNICAL SUBJECTS COVERED BY FORMER USPC CROSS-REFERENCE ART COLLECTIONS [XRACs] AND DIGESTS
    • Y10S55/00Gas separation
    • Y10S55/05Methods of making filter
    • YGENERAL TAGGING OF NEW TECHNOLOGICAL DEVELOPMENTS; GENERAL TAGGING OF CROSS-SECTIONAL TECHNOLOGIES SPANNING OVER SEVERAL SECTIONS OF THE IPC; TECHNICAL SUBJECTS COVERED BY FORMER USPC CROSS-REFERENCE ART COLLECTIONS [XRACs] AND DIGESTS
    • Y10TECHNICAL SUBJECTS COVERED BY FORMER USPC
    • Y10STECHNICAL SUBJECTS COVERED BY FORMER USPC CROSS-REFERENCE ART COLLECTIONS [XRACs] AND DIGESTS
    • Y10S55/00Gas separation
    • Y10S55/31Filter frame

Landscapes

  • Chemical & Material Sciences (AREA)
  • Chemical Kinetics & Catalysis (AREA)
  • Physics & Mathematics (AREA)
  • Geometry (AREA)
  • Filtering Of Dispersed Particles In Gases (AREA)
  • Filtration Of Liquid (AREA)

Abstract

【課題】フレームおよびシール支持構造並びにそれらをひだ溝付きフィルタ等のフィルタに取り付ける方法の改良。
【解決手段】フィルタエレメント10は、フィルタ媒体パック12と、フレーム14,19と、環状シール18と、前記環状シールから独立し前記フィルタ媒体パックおよび前記フレームを取付けるシール手段16とを含み、前記フィルタ媒体パックと前記フレームとの間の境界面をシールする手段は、フィルタ媒体シールを成形すること、前記フィルタ媒体パックの外被を前記フレームへプラスチック溶接すること、および前記フィルタ媒体パックと前記フレームとを接着剤ビードを用いて固定することを含む。
【選択図】図1

Description

本発明は流体フィルタ一般に関し、特にフレームとシール支持構造とを有するひだ溝付きフィルタエレメント、およびその取付け方法に関する。
濾過用の装置とシステムは、種々のプロセス流体から汚染物を濾過するため、広範な用途に用いられている。例えば、空気や類似する気体を、紙フィルタなどのフィルタ媒体を内蔵するフィルタ組立体に通して、塵埃その他の汚染物を除去することが知られている。フィルタ媒体は典型的には、濾過された流体を用いる大きな全体的プロセスシステム(例えばエンジン)の常設部分であるハウジングに内蔵される。フィルタの詰まりを防ぐため、フィルタ組立体の構造は、常設ハウジングからフィルタ媒体を容易に取外し交換できることが望ましい。このような理由で、フィルタ媒体は、典型滝には取外し可能なフィルタエレメントとして構成され、本明細書ではフィルタカートリッジとも称する。
フィルタエレメントの構成に一般的に用いられるフィルタ媒体のひとつは、ひだ溝付きフィルタ媒体である。ひだ溝付き媒体は典型的には、屈曲したシート(convoluted)と面シートとを軸を中心に巻いて、互いに隣接する複数のひだ溝を形成して形成する。そのようなひだ溝付きフィルタ媒体の普通の一形態では、隣接するひだ溝の端部を交互に閉鎖し、「入口」ひだ溝(複数)からなる一方の開口端に入る流体を、多孔質フィルタ媒体を介して隣接する「出口」ひだ溝(複数)へ流入させてから、フィルタ媒体のひだ溝の反対側(開口)端から流出させている。(ここで「ひだ溝」とはひだを形成することによりその間に形成される溝をいう。)
フィルタエレメントをフィルタハウジング(不図示)から取外すことができるように、典型的には、両構成部品間に空隙を設けている。プロセス流体を、フィルタエレメント周りの短絡路ではなく、フィルタ媒体を通過させるために、フィルタハウジングに当接するシールをフィルタエレメントに設けることが多い。そのような従来型のフィルタエレメントは、米国特許6,610,117(Gieseke)、米国特許出願公開公報2006/0091061(Brown)、および米国特許出願公開公報2006/0090434(Brown他)に開示されており、それら全体を引用によって本明細書に組み込む。
米国特許公報6,610,117号 米国特許出願公開公報2006/0091061号 米国特許出願公開公報2006/0090434号
本発明は、フレームおよびシール支持構造ならびにそれらをひだ溝付きフィルタ等のフィルタに取付ける方法の改良に関する。
本発明の一態様は、フィルタパックに対するシール支持フレームを、フレームが坦持する環状シールとは別に成形すること(molding)である。この態様によれば、本発明が提供するフィルタエレメントは、フィルタ媒体パックと、フィルタ媒体パックに固定されたフレームとを含み、フィルタ媒体パックは対向する両端に二つの流れ面を有し、中心軸線が両流れ面を通っている。フレームは、フィルタハウジングに係合するためのシールを坦持するシール支持部を有するとともに、成形(molding)受け部領域の少なくとも一部分を形成する。フィルタ媒体パックとフレームとの間の境界面(interface)は、成形受け部領域をほぼ占めるフィルタ媒体パックシールによってシールされる。本発明のフィルタ媒体パックは、面シートと屈曲シートを固定合体して中心軸線周りに巻き、一方の面の近傍で閉じる複数の第1のひだ溝と他方の面の近傍で閉じる複数の第2のひだ溝とを含む複数のひだ溝を画成する(define)、ひだ溝付きフィルタ媒体であってもよい。本発明のフィルタ媒体パックは、流体の流れから汚染物を濾過する、他の適切なフィルタ媒体であってもよい。
本発明の別の態様が提供するフィルタエレメントでは、ひだ溝付きフィルタ媒体パックがフレームにプラスチック溶接によって固定されている。本実施の形態におけるフレームは、少なくとも部分的にプラスチック材料によって形成され、フィルタ媒体パック一つ以上の外被(外側被覆)すなわちフィルタ媒体パックの外側が、適切なプラスチック溶接工程を用いて、フレームのプラスチック部に溶接されている。
本発明は、フィルタエレメントを製造する種々の方法も提供する。一態様において、本発明は、外被を有するフィルタ媒体パックを形成する工程、シール支持部を有するとともに成形受け部領域の少なくとも一部分を形成するフレームを製造する工程、シール支持部周りに環状シールを成形する工程、および成形受け部領域をほぼ占め、それによってフィルタ媒体パックとフレームとの間の環状境界面(interface)をシールするフィルタ媒体パックシールを別に成形する工程、を含むフィルタエレメント製造方法を提供する。
別の態様において、本発明はフィルタ媒体パックをフレームに固定する方法を提供し、該方法は、外被を有するひだ溝付きフィルタ媒体パックを形成する工程、フィルタ媒体パックの外被を溶接するようになされた環状プラスチック部を有するフレームを製造する工程、およびフィルタ媒体パックの外被を環状プラスチック部に溶接する工程を含む。
本発明の更なる態様によれば、ひだ溝付きフィルタエレメントを製造する方法は、座と座を取り囲む環状壁とを含むフレームを形成する工程、環状壁周りに、座から間隔を空けて接着剤ビード(adhesive bead(所定の太さで一点に又は延ばして塗布した接着剤、ノズル等から押し出され所定の点又は線上に置かれた接着剤))を配置する工程、およびフィルタ媒体パックを環状壁内へ座に向けて挿入して、接着剤ビードに係合させ該接着剤ビードをして連続リング状を成す環状壁に沿って座に向けて剪断を受けさせる工程を含む。
本発明の他の態様、目的および利点は、添付図面を参照に、以下の詳細な説明から更に明らかになるであろう。
本明細書に組み込まれてその一部をなす添付図面は、本発明のいくつかの態様を明らかにし、ここでの記述とともに本発明の原理を説明する。図は以下の通りである:
図1は、本発明の第1の実施の形態による、フィルタハウジングへの挿入に適した別体のシールを含むフィルタエレメントの透視図である。 図2は、第1の実施の形態の一部断面透視図であり、ひだ溝付きフィルタ媒体パックと、フレームと、巻芯と、ボーダーフレームと、環状シールと、環状シールから独立したフィルタ媒体パックシールとを含む点を示す図である。 図3は、図1と図2に示した第1の実施の形態の、型に入れた部分断面図であり、フィルタ媒体パックおよびフレームに対する、フィルタ媒体パックシールおよび別に形成した環状シールの配置を示す図である。 図4は、第1の実施の形態の下部(フィルタ媒体パックの上部を切除した)を示す別の部分断面透視図であり、環状シールとは別に形成されたフィルタ媒体パックシールを、両シール間のバリア(障壁)としての成形プラットフォームとともに示す図である。 図5は、図4の第1の実施の形態の部分断面透視図であり、型内でフィルタ媒体パックシールと環状シールとが形成されている図である。 図6は、本発明の第2の実施の形態の部分断面図であり、型内で形成された環状シールと、フィルタ媒体パックの外被をフレームにプラスチック溶接することによってフィルタ媒体パックとフレームとの間に形成された環状シール境界面とを示す図である。 図7は、第2の実施の形態の下部の部分断面(フィルタ媒体パックの上部を切除した)透視図であり、フィルタ媒体パックとフレームとの間にシール材料を用いずに形成されたシール境界面と、シール支持部によって坦持されている環状シールとを示す図である。 図8は、図7の第2の実施の形態の部分断面透視図であり、型内で環状シールが形成されている点を示す図である。 図9は、本発明の第3の実施の形態の部分断面図であり、フレームの成形受け部領域に形成されたフィルタ媒体パックと、型内で別に形成された環状シールとを示す図である。 図10は、第3の実施の形態の下部の部分断面(フィルタ媒体パックの上部を切除した)透視図であり、成形受け部領域に取り囲まれたフィルタ媒体パックシールと、フレームのシール支持部によって別に坦持されている環状シールとを示す図である。 図11は、図10の第3の実施の形態の部分断面透視図であり、型内で環状シールが形成されている点を示す図である。 図12は、本発明の第4の実施の形態の部分断面図であり、フレームの内側環状壁に接着剤ビードが連続塗布され、型内では環状シールがフレームのシール支持部によって坦持され、フィルタ媒体パックがフレームへ挿入される前の状態を示す図である。 図13は、図12の第4の実施の形態の部分断面図であり、フィルタ媒体パックがフレームの面取り部(傾斜部)に案内されてフレームへ挿入された後、フィルタ媒体パックが接着剤ビードに係合している点を示す図である。 図14は、図12の第4の実施の形態の部分断面図であり、フィルタ媒体パックがフレームの環状壁に沿って完全に下降し、接着剤ビードがフィルタ媒体パックの外周とフレームの内壁との間で細長く伸ばされることにより、フィルタ媒体パックをフレームでシールしている点を示す図である。 図15は、図5の第1の実施の形態の部分断面透視図であり、フィルタ媒体パックシールと環状シールの形成後、フィルタエレメントを型から取り出した状態を示す図である。 図16は、第5の実施の形態の部分断面図であり、アンダーカットを有する型内での、フィルタ媒体パックシールおよび、別に形成された環状シールの、フィルタ媒体パックおよびフレームに対する配置を示す図である。 図17は、アンダーカットを有する型内にある図16の第5の実施の形態の別の部分断面図である。 図18は、第5の実施の形態の下部の部分断面(フィルタ媒体パックの上部を切除した)透視図であり、環状シールとは別に形成されたフィルタ媒体パックシールを、両シール間のバリアとしての成形プラットフォームとともに示す図である。 図19は、図17の第5の実施の形態の部分断面透視図であり、アンダーカットを有する型内でフィルタ媒体パックシールと環状シールとが形成されている点を示す図である。 図20は、本発明の一実施の形態の上方からの透視図であり、この実施の形態はフィルタ媒体パックに一体結合されたボーダーフレームを含む点を示す図である。 図21は、図20の実施の形態の部分断面図であり、型内で形成されて、フィルタ媒体パックに一体的に結合されたフレームを示す図である。 図22は、図20の実施の形態の異なる部分断面図であり、型内で形成されるフィルタ媒体パックに一体的に結合されたリブ付きのフレームを示す図である。 図23は、第6の実施の形態の部分断面図であり、アンダーカットを有する型内における、フィルタ媒体パックシールおよび別に形成された環状シールの、フィルタ媒体パックおよびフレームに対する配置を示す図である。 図24は、図23の第1の実施の形態の部分断面透視図であり、フィルタ媒体パックシールおよび環状シールが形成された後、フィルタエレメントを型から取り出した状態を示す図である。
本発明は、ある好ましい実施の形態と関連付けて説明されるが、それら実施の形態に限定する意図はない。反対に、意図するところは、全ての代替物、変形、均等物を、特許請求の範囲に定義されているように本発明の精神と範囲内に含まれるものとして、カバーすることである。
図1と図2は、本発明の第1の実施の形態を、フィルタエレメント10の形で示し、これはフィルタハウジングを通過する流体の流れから粒子状物体を除去するフィルタハウジングへ挿入するに適したものである。しかしながら、ここで用いる流体という用語には、液体および気体の両流体が含まれる。ここに示す各実施の形態は、エンジンおよびエアコンプレッサ用吸入空気の濾過に用いるタイプのエアフィルタである。本発明の特徴は液体用途にも適用できることは言うまでもない。
図1および図2の第1の実施の形態のフィルタエレメント10は全体として断面が競走用トラック形状を成す環状体として図示されている。ここで、用語「環状」は、一般の辞書の定義に従って、軸線又は中心線の周りに配置される様々なリング形状のことである。本発明者が意図する環状は、円形、長方形、卵形、または2本の直線で略平行な辺を、丸めた両端に結んでできた、競走用トラック形を含むが、これらに限定されない。
種々の構成部品を全体的に述べると、図1と図2に示すフィルタエレメント10は、フィルタ媒体パック12、流れ面格子(フローフェースグリッド)15を有するシール支持フレーム14、フィルタ媒体パックシール16、環状シール18、ボーダーフレーム(border frame境界フレーム)19、および巻芯28を含む。
図1乃至図5を参照すると、第1の実施の形態のフィルタ媒体パック12はひだ溝付き媒体パックとして図示され、その中心軸線24は対向する(互いに反対側の)流れ面20、22を貫通している。ひだ溝付き媒体パック12は、面シート21と屈曲シート23を含み、これらは合体され、巻芯28周りに巻かれて複数のひだ溝を画成する。第1のセットの複数のひだ溝は、流入面20近傍で閉じられ、第2のセットの複数のひだ溝は流出面22近傍で閉じられているので、流入面20で開口しているひだ溝へ入る流体は、多孔フィルタ媒体を通り抜けて他方のひだ溝へ入り、その後、ひだ溝の流出面22でフィルタ媒体から出る。代りの実施の形態では、ひだ溝付きフィルタ媒体パック12を、巻芯28を用いずに形成してもよい。
流入面20の外側エッジをボーダーフレーム19によって保護することができる。このボーダーフレーム19は、フィルタ媒体パック12の外周コーナーにリムを備えることによって、取扱い時または取付け時のフィルタエレメント10への損傷のリスクを低減する。図1と図2に示すように、ボーダーフレーム19はプラスチック製リング部材であって、フィルタ媒体パック12に接着もしくはプラスチック溶接するか、または着脱可能にしてもよい。ボーダーフレーム19は、ウレタン材料他のポリマー、金属等を含むが、これらに限らない任意の適切な材料で形成してもよい。
図20は、ボーダーフレームの代替の実施の形態を示す。この実施の形態において、ボーダーフレーム150はフィルタ媒体パック20へ一体的に結合されている。図20に示すように、ボーダーフレーム150はリブ152、154を有する。流入面20のコーナーと外側エッジの保護に加えて、ボーダーフレーム150はリブ152、154も有し、これらは流入面20横切って構造的支持を提供することができ、流入面の損傷を防ぐこともできる。ボーダーフレーム150の形状は、図20に示すように、競走用トラック形であり、2本の平行辺156、158を含む。リブ152、154はボーダーフレーム150に一体成形され、ボーダーフレーム150の一方の辺156から他方の辺158へ延びている。ボーダーフレーム150はまた、複数の位置決めレリーフ(凹部)を有し、これらはフィルタペーパまたは保護外被に向かって内側へ凹んでいる(すなわち、型はフィルタ媒体パックの外周に対面する位置にある)。このフィルタペーパまたは保護外被には、薄いウレタン材コーティングがあってもなくてもよい。複数の位置決め凹部160の各々はボーダーフレーム150の側面から凹んでいて、以下に詳述するように、型の対応位置決めリブと対をなす。図20には、ボーダーフレーム150が10個の位置決め凹部160を有するように示してあるが、これら位置決め凹部は互いにほぼ等間隔に配置され、その間隔は約3インチ(76mm)である。しかし、他の実施の形態においては、位置決め凹部160の数はこれより多くても少なくてもよく、またそれらの相互間隔は均等でも不均等でもよい。
ボーダーフレーム150は、フィルタ媒体パック12に、モールド成形またはプラスチック溶接によって一体的に結合してもよい。ボーダーフレーム150は、ボーダーフレーム150の所望形状に即して設計された型で成形することが望ましい。図21と図22は、型180でフィルタ媒体パック12に対して成形されたボーダーフレーム150の部分断面図である。型180は、1つの環状キャビティ182と、該環状のキャビティ(空洞)の一方の側から他方の側へ延びる複数のリブ状のキャビティ184を有する。型180はまた、複数の位置決めリブ186も有する。先に述べたように、ボーダーフレーム150は10個の位置決め凹部を有し、従ってボーダーフレーム150用の型180は、対応する10個の位置決めリブ186を有することになる。位置決めリブは、環状のキャビティの上方で型180の内壁192から出っ張る突起である。位置決めリブの端の形状は、丸めても平面でもよく、これが対応する位置決め凹部160を形成する。
成形工程中、未硬化の硬質ウレタンのような未硬化流動性フレーム材料を型のキャビティ182、184へ注入し、フィルタ媒体パック12を挿入する。フィルタ媒体パック12は、複数の位置決めリブ186により案内されて型180へ導入される。フィルタ媒体パック12は、フィルタ媒体パック12の外周と各位置決めリブ186との間に空隙188がある状態で、型180内で略心出しされる。位置決めリブとフィルタ媒体パックの外周との間の空隙188の大きさは、位置決めリブごとにわずかに変動してもよい。時には、いくつかの位置決めリブがフィルタ媒体パック12の隣接する外周へ押し入ってくぼみを残す一方、他の位置決めリブがフィルタ媒体パック12の外周から離れて、フィルタ媒体パック12が型180内で心出しされたと仮定した場合よりも、大きな空隙188が生じるかもしれない。図21は、型180内のフィルタ媒体パック12を示し、複数の位置決めリブ186のうちの1つを切った断面図であり、その位置決めリブ186とフィルタ媒体パック12の外周の間の空隙188を示す断面図である。
図22も、型180内のフィルタ媒体パック12を示すが、位置決めリブ186どうしの中間で切った断面図である。従って、図22は、型180の内壁192とフィルタ媒体パック12の外周との間の空隙190を示し、この空隙190の大きさは概して空隙188より大きい。
環状キャビティ182において、ある量の未硬化流動性フレーム材料が、フィルタ媒体パック12の外被に沿うひだ溝が形成する開口に入る。同様に、リブキャビティ184内のある量の未硬化流動性材料が、いくつかの隣接するひだ溝の開口内に広がる。更に、環状キャビティ182内の未硬化流動性フレーム材料が、フィルタ媒体パック12の外周のまわりを上方に広がり、一部が空隙188と空隙190に入る。フィルタ媒体パック12が心ずれして、いくつかの位置決めリブがフィルタ媒体パック12の外周へ押し込まれている実施の形態では、そのような位置決めリブにおける空隙188は極めて小さいかもしれないが、それでも未硬化流動性フレーム材料は、押し込まれた位置決めリブとフィルタ媒体パックとの間へしみ込む。
空隙188と190内の未硬化流動性フレーム材料は硬化してボーダーフレーム150の外周を形成する。空隙190内に形成されるボーダーフレーム150の部分の厚さは、空隙188内に形成される部分より厚く、これは空隙190が空隙188より大きいからである。空隙188内に形成されるボーダーフレーム150の部分は、位置決め凹部160(図20を参照)を画成する。ボーダーフレーム150の外周の厚さは、ある点と別の点とでは異なる可能性がある。従って、ボーダーフレーム150のある部分がフィルタ媒体パック12の外周との間で面一になる一方、他の部分はフィルタ媒体パック12の外周を越えて出っ張っている。いくつかのひだ溝の開口ならびに空隙188および空隙190内の未硬化流動性フレーム材料が硬化すると、ボーダーフレーム150が形成され、フィルタ媒体パック12に一体的に結合する。ボーダーフレームは、望ましくは、フィルタペーパの微細孔の中へ、またその外被の中へ入り込み、および/またはフィルタパックによって画成されるひだ溝を埋めることによって、フィルタ媒体パック中に埋め込まれ、確実な取付けを提供する。
ボーダーフレーム150は任意の適切な重合体材料、好ましくは、フィルタ媒体パック12のための構造的支持を好都合に提供する硬質ウレタンで成形することができる。ボーダーフレーム150を硬質ウレタンで形成する場合、それがフィルタエレメント10とフィルタハウジングとの間のシール機能を果たさないことが望ましい。他の実施の形態においては、ボーダーフレーム150を、より柔らかい発泡ポリウレタンのような、より柔らかい材料で成形してもよい。上記ボーダーフレーム150は、対応する複数の位置決めリブ186によって形成される複数の位置決め凹部160を有するが、ボーダーフレーム150は、複数の位置決めリブ186なしで成形してもよく、従ってそのような実施の形態には位置決め凹部がないことになる。
代りに、ボーダーフレーム150をプラスチック溶接により取付けてもよい。そのような実施の形態において、ボーダーフレーム150は少なくとも部分的に適切な熱可塑性材料で成形する。この場合、ボーダーフレーム150の片側を加熱軟化させ、次にフィルタ媒体パック12をボーダーフレーム150上で心出しをして、それに押しつけると、ある量の軟化したフレーム材料が、隣接するひだ溝の開口を通って押し出される。このようにして、フィルタ媒体パック12は部分的にボーダーフレーム150へ埋め込まれる。ボーダーフレーム150とフィルタ媒体パック12は、軟化したフレーム材料が冷えて硬化すると合体固定される。
図20に示す実施の形態において、リブ152、154を有し堅固に取付けられたボーダーフレーム150は、フィルタ媒体パック12を保護するとともに、流入面20における構造的支持を提供する一方、流れ面格子15を有する支持フレーム14は流出面22を支持する。流入出面20、22におけるこのような構造的支持は、フィルタ媒体パック12の入れ子動作を防ぐことによって、その形状を保持し、取扱い時および取付け時、流入出面20、22の損傷を防止する。図20のボーダーフレーム150は2本のリブ152、154しか持たないが、他の実施の形態のリブは1本であっても3本以上であってもよい。
次に再び図1乃至図5を参照すると、フィルタ媒体パック12の他端はシール支持フレーム14を備え、このシール支持フレームが環状シール18を坦持し、この環状シールがフィルタハウジングに係合する。流出面22および/またはフィルタ媒体パック12の外面は、フィルタ媒体パックシール16によってシール支持フレーム14に固定され、フィルタ媒体パックシール16はフィルタ媒体パック12を包囲して、これに結合している。シール支持フレーム14は典型的には流れ面格子15を有し、これはフィルタ媒体パック12の流出面22の全面に及んで延在している。流れ面格子15はフィルタ媒体パック12に作用し、フィルタ媒体パック12の中心に下流方向外側へ入れ子動作をさせようとする圧力に抗するように設けられている。このような流れ面格子15は、複雑屈曲フィルタ材を複数層巻いて形成したひだ溝付きフィルタ媒体パックにとって、フィルタ媒体パック12の中心が高い流入圧力の下で入れ子動作するのを防ぐには極めて有益である。
固定機能を果たすことに加え、フィルタ媒体パックシール16は、フィルタ媒体パック12とシール支持フレーム14との間の環状境界面をシールする。図3乃至図5に示すように、シール支持フレーム14はスペーサ部36と成形プラットフォーム部38とを含み、両者は成形受け部領域(molding receptacle region)34の一部分を画成する。スペーサ部36と成形プラットフォーム部38は、フィルタ媒体パックシール16を成形受け部領域34内に閉じ込めておくバリアとして作用する。スペーサ部36はまた、フィルタ媒体パックシール16のシール材料がフィルタ媒体パック12の1つ以上の外被をアンダーカットして(下を切り取るようにして)シールできるようにする。フィルタ媒体パックシール16は更に、環状境界面の近傍をフィルタ媒体パック12の外周上に延びて、環状境界面をシールする。
シール支持フレーム14はシール支持部26を更に含み、この支持部に環状シール18が形成され支持されている。環状シール18の主な機能は、フィルタエレメント10とフィルタハウジングとの間にシール面を提供し、未濾過流体がフィルタエレメント10とフィルタハウジングとの間を通過しないようにすることである。フィルタハウジングは、略管状の壁部を含むことが多い。フィルタエレメント10の取外しと交換を容易にするため、フィルタエレメント10は環状シール18を備え、これはフィルタエレメント10をフィルタハウジングへ挿入できるように圧縮可能である。フィルタエレメント10をフィルタハウジングへ挿入すると、環状シール18が管状壁部とフィルタエレメント10との間の境界面をシールし、これによって流体がフィルタハウジングを通過する際にフィルタエレメント10を迂回しないようにする。
フィルタ媒体パックシール16と環状シール18は、任意の適切なシール材料を用いて成形でき、シール材料には重合体材料(ポリマー)、発泡ポリマー、好ましくは発泡ポリウレタンがあるが、これらに限定されない。両シール16、18は同一材料を用いて成形してもよく、2種類の異なる材料を用いて成形してもよい。更に、フィルタ媒体パックシール16はフィルタエレメント10とフィルタハウジングとの間に追加シール面を提供する一方、同時にフィルタ媒体パック12とフレーム14との間の境界面を固定しシールする。
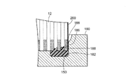
フィルタ媒体パックシール16と環状シール18は、第1の実施の形態では、型32内で形成される。図3は、どのようにしてフィルタ媒体パックシール16と環状シール18を別々に形成できるかを説明するために、シールフレーム領域と併せて型32を示す。図3と図5を参照すると、型32は、環状キャビティ42と、内壁46および外壁48を有する周壁44と、位置決めリブ51を含む。内壁46は支持フレーム14の成形台部38に当接するように適合したテーパ領域50を含み、成形受け部領域34の一部分を画成する。
成形台部38は自由終端エッジを含み、これはテーパ領域50へ当接するようになされた面取り座面40を有する。面取り座面40は、シール支持フレーム14を型32へ挿入するときに、フレーム14を位置決めし、その結果、シール支持部26が型32の環状キャビティ42内に配置され、面取り座面40が型32のテーパ領域50に対して支持されるように設計されている。面取り座面40がテーパ領域50に当接するようにフレーム14が位置決めされると、成形受け部領域34は、スペーサ部36と、成形台部38と、型32の内壁46とによって画成される。
第1の実施の形態のフィルタエレメント10を製造する方法は、図1乃至図5に示すように、フィルタ媒体パック12を形成する工程、プラスチック材料からシール支持フレーム14を成形してシール支持部26と成形受け部領域34の一部分を提供する工程、シール支持部26上に環状シール18を成形する工程と、フィルタ媒体パックシールを別途成形してフィルタ媒体パック12をシール支持フレーム14に固定してシールする工程を含む。フィルタ媒体パック12は、多孔フィルタ媒体製の面シート21と合体した多孔フィルタ媒体23の屈曲シートから構成することができる。屈曲シート(convoluted sheet)23は、任意の適当な工程、例えば波形加工(corrugating)またはひだ付け加工(pleating)によって形成できるが、本発明の譲受人に譲渡された米国特許出願10/979,390、発明の名称「エアフィルタ用ギャザー付きフィルタ媒体およびその製造方法」に記載されているようなギャザー付け加工(gathering)が好ましい。上記出願は引用により本明細書に組み込まれる。
ここで用いる用語「面シート(face sheet)」は、略平坦なシートまたはストリップ形状の多孔質または非多孔質の材料であって、多孔質フィルタ材料でできた屈曲シートに取付けられるものを包含することを意図している。本発明のほとんどの実施の形態において、面シートは好ましくは多孔質フィルタ材料製である。
多孔質フィルタ材料23の屈曲シートは、複数の隣接する屈曲を形成し、一般に業界ではひだ溝(flutes)54として知られている。当該技術分野で知られた方法で、ひだ溝の選択端を例えば接着剤56のビードで閉止することにより、いくつかのひだ溝の一端に流入する流体を、多孔質フィルタ媒体を通過させ、ひだ溝へ流入させた後、ひだ溝の他端でフィルタ媒体から流出させてもよい。
図1乃至図5に示すフィルタ媒体パック12は、フィルタ媒体を巻いてコイル状にし、全体として、競走用トラック形断面のような環状を成し、フィルタエレメント10とほぼ同じ内面形状で周囲がそれより大きいフィルタハウジングへ挿入できるような大きさにして、滑り嵌めを実現している。このフィルタ媒体パック12は、米国特許出願11/634,647、発明の名称「巻きフレームの周りに巻いたフィルタ媒体を有する流体フィルタ装置」に開示されているように、巻芯28を用いて構成することができる。この出願は、本発明の譲受人に譲渡され、引用により本明細書に組み込まれる。本発明の他の実施の形態では、フィルタ媒体を連続的に巻き付けてコイル状にするか、または貼り合わせるかして、例えば円形、正方形、長方形、または多角形等、他の断面形状のフィルタ媒体パック12を利用してもよい。同じく、本発明は、ひだ溝付き媒体製のフィルタ媒体パックに限定されないことは言うまでもない。当業者にとって、他の種類のフィルタ媒体を用いても本発明を効果的に実施できることは明らかである。
更に図1乃至図5を参照すると、シール支持フレーム14は、適切なプラスチック材料を用いて成形することが好ましい。流れ面格子15は、シール支持フレーム14と一体成形してもよい。図1乃至図5に示す第1の実施の形態のフィルタエレメント10において、シール支持フレーム14は流れ面格子15と一体成形され、流出面22に当接固定されている。しかし、代替の実施の形態においては、流れ面格子15をフレーム14から独立して形成してもよく、流れ面格子15を両方の流れ面に、または流入面20に対して、固定してもよい。
図1乃至図5に示す実施の形態は、環状シール支持部26を、中心軸線24に対して斜めの角度で流出面22から突出する傾斜環状延長部(canted annular extension)として示す。この傾斜延長部は複数の孔を有し、環状シール18はその一部がこれらの孔に入り込んで、環状シール18をシール支持部26に留め置く助けとなる。このことは米国特許出願10/979,876、発明の名称「傾斜シール支持部付きフィルタエレメント」に開示されており、同出願は本発明の譲受人に譲渡されており、引用により本明細書に組み込まれる。フレーム14はスペーサ部36と成形台部38とを含み、上記のように、面取り座面40が成形受け部領域34の一部分を画成している。
環状シール18は、環状キャビティ42を有する型32内で、シール支持フレーム14のシール支持部26の周りに成形することができる。成形工程において、環状シール用の未硬化流動性シール材料を、環状キャビティ42へ注入する。次にフレーム14を、図3と5に示すようにシール支持部26を下向きにした状態で、型32へ挿入する。シール支持フレーム14が型32へ挿入されると、成形台部38の面取り座面40は型の内壁46のテーパ領域50上を滑り下り、フレーム14が位置決めされ、その結果、シール支持部26が環状キャビティ42内に位置し、成形台部38の傾斜面40が連続した環状境界面に沿ってテーパ領域50に当接することにより、シール材料が未硬化状態にあるとき、その滲出を防止する。
環状キャビティ42内では、未硬化流動性シール材料が発泡可能になって、シール支持部26の周りに立ち上がる。シール支持部26は、そこから隆起する、図3に示すような、環状リブ60を含み、これが型32に接触してシールし、それにより環状シール18の支持部26に沿う範囲を制限することができる。未硬化流動性シール材料には、ポリウレタンのような種々の発泡性ポリマーがあるが、これらに限定されない。未硬化流動性シール材料は、シール支持部の周りで発泡して環状キャビティ42の内面形状になり、環状シール18を形成する。未硬化流動性シール材料は、硬化して、フィルタエレメント10のフィルタハウジングへの滑り込み、滑り出しに適した弾性特性を備え、またフィルタエレメント10とフィルタハウジングとの間のシール面を提供し、それによって未濾過流体がフィルタエレメント10とフィルタハウジングとの間を通過するのを防止することが望ましい。
環状シール18を成形するため、シール支持フレーム14を型32内に配置すると、上記のように、スペーサ部36と、成形台部38と、型の内壁46とによって成形受け部領域34が形成される。成形台部38の面取り座面40が型の内壁46のテーパ領域50に当接すると、シール支持フレーム14と型の内壁46との間の境界面が閉じられる。成形受け部領域34は、成形台部38によって環状キャビティ42から分離されるので、フィルタ媒体パックシール16を環状シール18とは別に形成することができる。
フィルタ媒体パックシール16の成形工程では、フィルタ媒体パックシール16用未硬化流動性シール材料を成形受け部領域34へ注入してからフィルタ媒体パック12を型32へ挿入する。型32の、角度方向に間隔をあけて配置された複数の位置決めリブ51(図3と15を参照)がフィルタ媒体パック12を案内し、フィルタ媒体パック12はフレーム14上で略心出しされ、フィルタ媒体パック12の最も外側の1つ以上の外被が成形受け部領域34内に位置するようにする。フィルタ媒体パック12は、フィルタ媒体パック12が型の内壁46から間隔を空け、フィルタ媒体パック12の外周と型32の内壁46との間にほぼ均等な環状空間62ができるように配置される。
複数の位置決めリブ51は、成形工程での重ね許容差効果をなくすことができる。すなわち、複数の位置決めリブなしでフィルタ媒体パック12をシール支持フレーム14へ挿入する場合、成形工程中に管理しなければならない2つの工程許容差がある。その一つは、フィルタ媒体パック12の外周と型32との間の許容差、もう一つはフィルタ媒体パック12とシール支持フレーム14との間の許容差である。従って、フィルタ媒体パック12に対する環状シール18の相対的な位置は、2つの許容差を介して管理され(調節され)、その結果、環状シール18とフィルタ媒体パック12との間の工程許容差が増加する。複数の位置決めリブ51は、フィルタ媒体パック12をシール支持フレーム14上へ、1つの許容差、すなわち位置決めリブ51とフィルタ媒体パック12の外周との間の許容差、を管理しながら配置することを可能にし、より良く管理された成形工程の実現のために重ね許容差効果を解消する。
成形受け部領域34で、未硬化流動性シール材料が発泡可能となり、フィルタ媒体パック12の外被に沿ういくつかのひだ溝が形成する開口内へ広がり、フィルタ媒体パック12とシール支持フレーム14との間の環状境界面の周りへ上昇し、更に境界面の近傍のフィルタ媒体パック12の外周13の一部分を包囲する。これら2つの領域は、フィルタ媒体パック12の周りに連続的に延びるシールを提供する。スペーサ部36は、未硬化シール材料がフィルタ媒体パック12の外被を越えて半径方向内側へ広がることを制限するバリアの役割を果たし、シール材料に、フィルタ媒体パック12の1つ以上の外被をアンダーカットして(下をえぐるようにして)シールすることを許す。
未硬化流動性フレーム材料が発泡して硬化すると、型32の隣接する内壁46の輪郭に従ってフィルタ媒体パックシール16が形成される。本実施の形態において、フィルタ媒体パックシール16の外周は、内壁46の大きい直径部分とテーパ領域50とによって画成される、大きい外周へ延びて行くテーパ領域を含む。好ましくは、フィルタ媒体パックシール16の半径方向の最小厚さ(例えば、フィルタ媒体パック12の外側と型32の内壁46の間の最小距離で、位置決めリブがあればそれを除く)は、適切な成形注入と発泡開口部のための十分な空間を確保するように、典型的には、最小0.03インチ(0.76mm)と0.2インチ(5.1mm)の間である。
他の実施の形態において、フィルタ媒体パックシール16の外周は、異なる内面形状の型とともに変えてもよい。図1乃至図5に示す実施の形態においては、スペーサ部36は、フィルタ媒体パック12の流出面22と成形台部38との間を垂直に延びている。しかし、他の実施の形態では、スペーサ部36が中心軸線24に近づくようにまたは遠ざかるように、斜めの角度で延びていてもよい。本実施の形態のフィルタ媒体パックシール16は、環状シール18から独立して形成され、成形台部38が両者間のバリアとなっている。
フィルタ媒体パックシール16用未硬化流動性フレーム材料は、環状シール材料用として先に述べた諸材料の一つであってもよい。フィルタ媒体パックシール16と環状シール18は、同一材料または2種類の異なる材料を用いて成形することができる。上記実施の形態において、フィルタ媒体パックシール16と環状シール18は同じ型32内で成形され、環状シール18が先に成形される。図15は、フィルタ媒体パックシール16と環状シール18を型32内で成形した後、型32から取外したフィルタエレメント10を示す。他の実施の形態において、フィルタ媒体パックシール16と環状シール18を2つの別々の型内で、2つの別々の工程で成形してもよい。
図6乃至図8は本発明の第2の実施の形態を示す。本実施の形態のフィルタエレメント110の構成部品は、第1の実施の形態で説明したものに類似しており、フィルタ媒体パック12、フレーム66、および環状シール18を含む。しかし、本実施の形態においては、フィルタ媒体パック12とフレーム66との間の環状シール境界面は、第1の実施の形態のフィルタ媒体パックシール16ではなく、プラスチック溶接工程を用いて、フィルタ媒体パック12をフレーム66に溶接して形成している。従ってプラスチック溶接は、フレームをひだ溝付きフィルタ媒体パックに取付けて固定するとともに、両者間に環状シールを形成するために用いられている。
本実施の形態のフレーム66はシール支持部68を含み、これは第1の実施の形態に関して説明したものと同じであり、またフィルタ媒体パック12の外被をプラスチック溶接する環状プラスチック部70も含む。従って、本実施の形態において、フレーム66は少なくとも部分的にプラスチック溶接工程に適したプラスチック材料を用いて形成されている。図6乃至図8に示すように、環状プラスチック部70はフレーム66の外周に形成され、プラスチック溶接工程に適した重合体(ポリマー)材料を用いて形成される溶接部72、および安全部74を含む。他の実施の形態において、フレーム66のプラスチック溶接部は、フィルタ媒体パック12の外側周りに連続的に取付けることができる。
図6に示すように、フィルタ媒体パック12の外被は、環状プラスチック部70の内径周りに位置する溶接部72内に埋め込まれており、残りの安全部74がフィルタ媒体パック12の外周13を越えて延びている。フィルタ媒体パック12が溶接部72内に埋め込まれるとともに、安全部74はそのままの状態でフィルタ媒体パック12の外周13を包囲する。フィルタ媒体パック12の流出面22を越える包囲安全部74の軸方向延長部は、フィルタ媒体パック12の埋め込まれた長さに等しい。フレーム66の溶接部72内に埋め込まれたフィルタ媒体パック12の外被は、フィルタ媒体パック12とフレーム66との間の環状シール境界面を画成する。
第2の実施の形態の他の全ての構成部品は、上記の第1の実施の形態の構成部品と同じである。
第2の実施の形態のフィルタエレメント110の製造方法は、フィルタ媒体パック12の形成、フレーム66の製造、シール支持部68上への環状シール18の成形、およびフレーム66へのフィルタ媒体パック12の当接と固定、の各工程を含むことができる。フィルタ媒体パック12の形成工程は、第1の実施の形態の製造方法で説明したものと同じである。フレーム66の製造工程も、大部分は同じである。ただし、本実施の形態のフレーム66は、第1の実施の形態の成形受け部領域34の代わりに、埋め込みを容易にするのに十分な厚さの環状プラスチック70を含む。第2の実施の形態のフレーム66は、上述のように環状プラスチック部70がプラスチック溶接に適したプラスチック材料から形成されるので、少なくとも部分的にプラスチック材料から形成される。
環状シール18の成形工程は、先に述べた第1の実施の形態の製造方法で説明した工程と同じである。しかし、本実施の形態における型76は、フィルタ媒体パックシール16を別に成形するための周壁44なしで、環状シール18を成形するためだけに構成してもよい。第1の実施の形態の型32を、本実施の形態も利用し、シール支持部68周りに環状シール18を成形してもよい。本実施の形態の環状シール18は、フィルタ媒体パック12とフレーム66との間の環状境界面の固定前または固定後に成形してもよい。
フィルタ媒体パック12とフレーム66の固定工程は、本実施の形態においては、フレ−ム66の環状プラスチック部70へフィルタ媒体パック12の外被を埋め込むプラスチック溶接工程を含む。フィルタ媒体パック12とフレーム66との間の境界面を固定する方法において、環状プラスチック部70を加熱して、フィルタ媒体パック12の外被を埋め込むのに十分なだけ溶接部72のプラスチック材料を軟化させる。次にフィルタ媒体パック12をフレーム66上で心出しし、フィルタ媒体パック12の外被が、加熱された溶接部72上に来るようにする。フィルタ媒体パック12をフレーム66上で心出しした後、軽い圧力を第1の流れ面20全体に均等に加え、フィルタ媒体パック12を歪ませたり損傷したりせずに、フィルタ媒体パックの外被を、加熱された溶接部72の中へ軸方向に押し込むことができる。
環状プラスチック部70の加熱は、任意の既存プラスチック溶接方法で行ってよい。例えば、ホットエアウェルダ(熱風溶接機)、別名ヒートガンを用いて環状プラスチック部70を加熱することができる。そのような熱ガス溶接工程においては、ヒートガンを用いて、溶接部72のプラスチックが、埋め込み工程にとって十分な程度に軟化するまで、熱風または熱ガスの噴流を環状プラスチック部70へ与える。代りに、誘導加熱として知られる電磁高周波を用いて環状プラスチック部70を加熱してもよい。
超音波溶接や他の類似の摩擦溶接工程を利用してもよい。超音波溶接工程では、フィルタ媒体パック12とフレーム66を超音波溶接装置内に置き、15kHz乃至40kHzの高周波、低振幅の振動に曝す。振動により発生する超音波エネルギーがフィルタ媒体パック12と環状プラスチック部70との間の接触領域を加熱し、フィルタ媒体パック12をフレーム66の溶接部72へ溶接する。
図9乃至図11は本発明の第3の実施の形態を示す。第3の実施の形態は、フレーム78を除き、上記第1の実施の形態と同じ構成要素を備える。本実施の形態において、フレーム78は、先と同じシール支持部86を含み、スペーサ部79と、成形台部82と、外壁84によって画成される成形受け部領域80とを形成する。
図9乃至図11に示すように、スペーサ部79は流出面22と成形台部82との間に垂直に延びている。しかし他の実施の形態においては、スペーサ部は中心軸線24に対して斜めの角度で延びてもよい。成形台部82は、半径方向でフィルタ媒体パック12の外周13を越えて延び、軸方向上向きに延びる外壁84につながっている。本実施の形態において、成形台部82は外壁84と直交し、その交点は丸められている。ただし他の実施の形態においては、成形台部82と外壁84のなす角度は鋭角でも鈍角でもよく、交点を丸めても丸めなくてもよい。
本実施の形態のフレーム78は、外壁84がフィルタ媒体パック12とフレーム78との間の環状境界面および境界面近傍のフィルタ媒体パック12の外周13の一部分を包囲するように構成されている。フィルタ媒体パックシール85は成形受け部領域80内に形成され、成形受け部領域80に包囲されている。
フィルタ媒体パック12は、フレーム78に対して固定され、フィルタ媒体パック12の最も外側の外被が成形受け部領域80内に位置し、そこではフィルタ媒体パックシール85が、外被に沿ういくつかのひだ溝が形成する開口内へ広がり、流体がフィルタ媒体パックの外被を通過しないようにする。本実施の形態の他の全ての構成部品は、先に説明した第1の実施の形態の構成部品と同じである。
本実施の形態のフィルタエレメント120の製造方法は、フィルタ媒体パック12の形成、フレーム78の製造、シール支持部86上への環状シール18の成形、およびフィルタ媒体パックシール85の別途成形、の各工程を含むことができる。フィルタエレメント120を製造する方法は、上記第1の実施の形態のフィルタエレメント10の製造方法に類似する。フィルタ媒体パック12の形成工程は、第1の実施の形態と同じである。フレーム78の製造工程も同じである。ただし、本実施の形態のフレーム78は成形受け部領域80を形成するが、これは第1の実施の形態の成形受け部領域34とは異なるように形成される。
環状シール18の成形工程は、第1の実施の形態での上記成形工程とほとんど同じである。ただし、本実施の形態の型88は、一段高い外周壁44なしで環状シール18の成形専用に構成してもよい。その理由は、フィルタ媒体パックシール85が、型88内ではなく、フレーム78の成形受け部領域80内で成形されるからである。本実施の形態において、第1の実施の形態における型32を、シール支持部86周りに環状シール18を成形するためにのみ利用してもよい。本実施の形態において、環状シール18は、フィルタ媒体パックシール85の成形前または成形後のどちらで成形してもよい。
フィルタ媒体パックシール85の成形工程では、未硬化流動性フレーム材料を、フレーム78によって形成された成形受け部領域80へ注入する。次にフィルタ媒体パック12を、フィルタ媒体パック12の外被が成形受け部領域80内に位置し、フィルタ媒体パック12の外周13が包囲外壁84に対して均等に間隔を空けるようにフレーム78内に配置する。外壁84は、フィルタ媒体パック12のフレーム78内での心出しを助ける一組の位置決めリブ(不図示)を含むことができる。成形受け部領域80では、未硬化流動性シール材料が発泡可能となり、外被に沿ういくつかのひだ溝が形成する開口内へ広がる。シール材料はまた、フィルタ媒体パックの外周13を包囲して発泡しながら上昇し、フィルタ媒体パック12とフレーム78との間の境界面をシールする。好ましくは、フィルタ媒体パックシール85の半径方向の最小厚さ(例えば、フィルタ媒体パック12の外面と外壁84の間の最小距離)は、適切な成形注入と発泡開口部のための十分な空間を確保するため、典型的には最小0.03インチ(0.76mm)と0.2インチ(5.1mm)の間である。未硬化流動性シール材料には、ポリウレタンのような種々の発泡性ポリマーがあるが、これに限定されない。フィルタ媒体パックシール85用シール材料は、環状シール18の成形に用いた材料と同じでよいが、環状シール材料とは異なるシール材料を用いて形成してもよい。
図12乃至図14は本発明の第4の実施の形態を示す。本実施の形態のフィルタエレメントは、フィルタ媒体パック12、フィルタフレーム98、および環状シール18を含む。フィルタフレーム98は、シール支持部100、座90、および面取り部104を有する環状壁92を有する。環状壁92は、フィルタ媒体パック12の外周13に沿って軸方向に延び、外周13の一部分を包囲する。代替として、環状壁92の長さは、フィルタ媒体パック12の外周13を完全に包囲するようにより長く構成してもよい。一実施の形態において、環状壁92の長さを4インチ(102mm))とし、フィルタ媒体パック12の対応する外周のみを包囲してもよい。
本実施の形態において、フィルタ媒体パック12は接着剤を用いてフレ−ム98に取付けられている。従来は、フィルタ媒体パック12の外面周りに接着剤ビードのリングを塗布した後、フィルタ媒体パックをフレ−ム98へ挿入していた。その理由は、フィルタ媒体パックの外面への接着剤塗布の管理の方が、フレーム98の内面よりも容易だからである。しかし、フレーム98へ入れるフィルタ媒体パック12の正確な心出しが困難である。従って、接着剤のビードがフィルタ媒体パック12の外面に塗布してあると、フレーム98の面取り部104がしばしば接着剤リングの一部分に時期尚早に接触(係合)し、かなりの量の接着剤が接着剤リングの当該部分から失われ、その結果、フィルタ媒体パック12とフレーム98の間の取付けおよび/またはシールが不十分になってしまう。
従って本実施の形態においては、接着剤ビード94は、フレーム98の環状壁92の内面の、座90から間隔を空けた位置に、塗布される。接着剤ビード94の塗布は、フィルタ媒体パック12が、面取り部104に案内されてフレーム98内に入り込み心出しされた後、接着剤ビード94に接触するように行う。接着剤の量と種類は、フィルタ媒体パック12がフレーム98へ確実に取付けられ、両者間の境界面が確実にシールされるように注意して選択する。接着剤ビード94は、座90の上方1/4インチから1インチの間に塗布することが望ましく、そこでは環状壁92とフィルタ媒体パック12の外周13との間の間隙が、接着剤ビード94の太さより十分に小さく、その結果、フィルタ媒体パック12が座90へ向かって下降するとともに、フィルタ媒体パック12は接着剤ビード94へ適切に接触し、それに剪断することができる。
図12は、環状接着剤ビード94が、上述のように座90から好ましい距離で環状壁92の内面周りに塗布された状態を示す。接着剤ビード94の塗布後、フィルタ媒体パック12が面取り部104に案内されてフレーム98内へ挿入される。図13に示すように、フィルタ媒体パック12は環状壁92に沿って座90に向かって滑り降り、接着剤ビード94に接触する。フィルタ媒体パック12の外周13が接着剤ビード94に接触し、引き続き滑り降りると、この外周13が、環状壁92に沿って座90に向けて接着剤ビード94を剪断する。フィルタ媒体パック12が最終的に座90に達すると、接着剤ビードは引伸ばされてフィルタ媒体パック12を環状壁92に対して取付けてシールするための、より広い接着面を提供する。
接着剤ビード94の表面積の変化を図12乃至図14に示す。図12は、接着剤ビード94を環状壁92の内面に塗布した状態を示す。図13に示す接着剤ビード94には、フィルタ媒体パック12の外周13が接触している。最後に、剪断作用の結果、表面積が引伸ばされた接着剤ビード94を図14に示す。また、図14に示すように、接着剤94は、フィルタ媒体パック12とフレーム98との間の境界面をシールし、流体がフィルタ媒体パック12と環状壁92の間を通過しないようにする。
図16乃至図19は本発明の第5の実施の形態を示す。第5の実施の形態は第1の実施の形態に類似する。ただし、フィルタ媒体パックシール16と環状シール18が、型アンダーカット(下をえぐるようにする部分)162を有する型32内で成形されるので、両者はより明確に分離する。すなわち、型アンダーカット162は、フィルタ媒体パックシール16用および/または環状シール18用未硬化流動性材料が、型32のテーパ領域50と面取り座面40の間にしみ出ることを防止し、これによってフィルタ媒体パックシール材料が環状シール材料に混じらないようにする。本実施の形態において、フィルタ媒体パックシール16の成形と環状シール18の成形は、それぞれの型キャビティ内に封じ込められるので、フィルタ媒体パックシール16と環状シール18は互いに明確に分離される。
本実施の形態は、フィルタ媒体パックシール16と環状シール18とが、異なる2種類のポリマーから形成される点で特に有利である。好ましくは、本発明のフィルタ媒体パックシール16は硬質ウレタンを用いて形成される一方、環状シール18は、より柔らかい発泡ウレタンを用いて形成される。硬質ウレタンは、フィルタ媒体パックシール16の成形に用いる場合、より柔らかい発泡ウレタンよりも有利である。その理由は、構造的支持を提供し、流出面22の外縁をよりよく保護するからである。他方、より柔らかい発泡ウレタンは、硬質ウレタンよりも弾力があり、フィルタエレメント10とフィルタハウジングの間のシール機能の提供に関して、環状シール18にとってより適している。
かかる実施の形態において、フィルタ媒体パックシール16は、デュロメータ測定値が60A超、好ましくは90Aと95Aの間、の硬質ウレタンを用いて形成することができる(本明細書における全てのデュロメータ測定値は、ASTM、D2240,タイプAスケール、ショアデュロメータ、タイプAテスト装置使用による)。他方、ハウジング用環状シール18は、デュロメータ測定値が25A未満、好ましくは5Aと8Aの間、とすることができる。フィルタ媒体パックシール16用硬質ウレタンは、硬化中の容積膨張率が40%未満のウレタン材料であり、環状シール18用の、より柔らかい発泡ウレタンは、硬化中の容積膨張率が40%を超えるウレタン材料である。普通、硬質ウレタン材料と、より柔らかい発泡ウレタン材料は、別々に処方され、それぞれ異なるポリオール(分子中に3つ以上の水酸基を有するアルコール)を含有する。このような方法で、フィルタ媒体パックシール16は、より厳しい管理工程で成形される一方、環状シール18はより緩やかな管理の工程で成形されるが、より弾力があり外側のハウジング面と共に使用することを可能とする。更に、フィルタ媒体パックシール16は出口端における保護ボーダーフレーム(protective border frame)であって、挿入時等での対衝突保護を行う。一実施の形態において、フィルタ媒体パックシール16は、デュロメータ測定値が約92Aの硬質ウレタンを用いて形成され、硬化中の容積膨張率は約25%であり、環状シール18は、デュロメータ測定値が約7Aで、より柔らかい発泡ウレタンを用いて形成され、硬化中の容積膨張率は約60%である。
他の実施の形態では、一つのフレーム構造でもあるフィルタ媒体パックシール16は、ハウジング用シールを支持することもできる。かかる実施の形態において、フレーム構造を、上述のボーダーフレーム150に対すると同様に、フィルタ媒体パック12に対して成形することができる(図20乃至図22)。そのようなフレーム構造は一つの型内で一体成形される媒体パックシール部と環状シール支持部とを有してもよい。ボーダーフレーム150においてそうであったように、このフレーム構造は、ある量の未硬化フレーム材料が、いくつかのひだ溝へ流入しフィルタ媒体パック12の周囲を包囲し硬化するとき、一体的に結合される。一旦硬化すれば、フレーム構造はフィルタ媒体パック12に一体的に固定され、次に環状シールを別の成形工程において、フレーム構造の環状シール支持部へ成形することができる。
図16乃至図19に示す実施の形態は、保護ラッパー(保護被覆)200付き状態で示してある。保護ラッパー200は、取扱い中のフィルタ媒体パック12の外面シート13への損傷または穿孔を防ぐことができる。保護ラッパー200はまた、製造工程に由来するフィルタ媒体パック12の外周上の斑紋、接着剤のスポット、などの不完全な箇所を隠すことによって、フィルタエレメント10の全体的な外観を良くすることができる。保護ラッパーは、任意の適当な材料を用いて形成することができ、材料としては、Reemay(日本及び米国、登録商標)製の不織布、ポリマー材料、プラスチック、金属化プラスチックフィルム等の不浸透性材料、および丈夫な建築用紙のようなチップボード(合成板)を含むが、これらに限定しない。
第1の実施の形態と同様に、フィルタ媒体パックシール16と環状シール18は型32内で成形される。しかし、本実施の形態の型32は、フィルタ媒体パックシール16用重合体材料が環状シール18用重合体材料と混合するのを確実に避けるために、型アンダーカット162を含む。本実施の形態では、型32のテーパ領域50がアンダーカット162へ接続されている。図16に示すように、この実施の形態の成形台部38の一部分は型アンダーカット162の上に載っている。その結果、環状シール18用の未硬化流動性シール材料が発泡し、シール支持部26周りで上昇し、型アンダーカット162と成形台部38によって覆われる。本実施の形態の他の全ての構成部品と態様は、第1の実施の形態と同じである。
本明細書に記載の実施の形態は、フィルタ媒体パック12の流れ面22に対して固定されるフレーム14、66、78、98を有する。流れ面22は、いくつかの実施の形態においてフィルタエレメントの上流端とすることができ、また他の実施の形態において下流端とすることができる。フレーム14、66、78、98の無い流れ面は、図1、2、19に示すようにボーダーフレーム19、150によって保護することができるが、いくつかの実施の形態においては支持しないままとなる。ボーダーフレーム19、150は、本発明の任意の実施の形態に追加することができ、フィルタ媒体パックシール16または環状シール18の形成に用いる材料と同じ材料から形成してもよいし、または他の適切な材料から形成してもよい。いくつかの実施の形態において、ボーダーフレーム19、150は、フィルタエレメント10とフィルタハウジングとの間に追加のシール面を提供することができる。
図23および図24は本発明の第6の実施の形態を示す。第6の実施の形態は第5の実施の形態に類似している。ただし、本実施の形態のスペーサ部302は、図16乃至図19に示した真直なスペーサ部36の代わりに、湾曲している。更に、型304は、フィルタ媒体パック310の外周308と型内壁312との間に、第5の実施の形態の環状スペース62ではなく、より小さい環状空間(環状スペース)306を有するように構成してもよい。更に、型304は、図示のように、複数の位置決めリブを含んでいない。
本実施の形態において、フィルタ媒体パック310は、型304の上端近傍に位置する傾斜面314に部分的に案内されて、型304内へほぼ心出し状態で挿入される。傾斜面314は、型304の中心方向へ傾斜しているので、型304の上端に向かって、より大きな開口を提供し、型開口部の寸法を小さくする。従って、フィルタ媒体パック310を型304へ挿入する際、フィルタ媒体パック310のいくつかの部分が傾斜面314に接触して滑り降りることができる。媒体パックの実際の周囲次第で(異なる媒体パックの製造による許容差のバラツキと、外被は典型的には外周上のある箇所で終端を成し、終端により不連続となることを認識して)、媒体パックのいくつかの部分も型の内壁312に接触またはほとんど接触する可能性がある。従って、型の壁は、フィルタ媒体パックの外周に接触できるように配置されている。その理由は、型への挿入の際、フレームが両者間に介入しないからである。更に、比較的小さい環状空間306は、型304周りの環状空間306のバラツキを低減することができ、このようにして、複数の位置決めリブなしで、フィルタ媒体パック310を型304へ、ほぼ心出しすることができる。このように、本実施の形態も、フィルタ媒体パックを、必要な時に直接接触によって位置決めし、媒体パックを型内へ入れるときの心ずれを矯正するように、および/または別の方法で、媒体パックを心出しするように機能する。
第5の実施の形態と同様に、フィルタ媒体パックシール316は、硬質発泡ウレタン材料で形成することができ、環状シール318は、より柔らかい発泡ウレタン材料で形成することができる。第1の実施の形態と第5の実施の形態に関して詳細に説明した成形方法と同様に、環状シール318を最初に成形する。次にフィルタ媒体パックシール316用未硬化硬質ウレタン材料を注入する。このとき、フィルタ媒体パック310はほぼ心出しされている。図23に示すように、フィルタ媒体パック310は、湾曲したスペーサ部302のほぼ最高点に置かれる。湾曲したスペーサ部302は、硬化工程中、アンダーカットの役割を果たすことができ、未硬化硬質ウレタン材料が発泡し立ち上がる。硬化工程中、ある量の未硬化硬質ウレタン材料が、型受け部領域320内のひだ溝によって形成される開口部に入る。この型受け部領域320は、湾曲したスペーサ部302、成形台部322、および型の内壁312によって画成されている。更に、ある量の未硬化硬質ウレタン材料が、フィルタ媒体パック310の外周308に沿って上昇し、環状スペース306において硬化する。硬化すると、フィルタ媒体パックシール316が形成され、フィルタ媒体パック310とフレーム324を確実に付着する。
本明細書中で引用する刊行物、特許出願および特許を含むすべての文献を、各文献を個々に具体的に示し、参照して組み込むのと、また、その内容のすべてをここで述べるのと同じ限度で、ここで参照して組み込む。
本発明の説明に関連して(特に以下の請求項に関連して)用いられる名詞及び同様な指示語の使用は、本明細書中で特に指摘したり、明らかに文脈と矛盾したりしない限り、単数および複数の両方に及ぶものと解釈される。語句「備える」、「有する」、「含む」および「包含する」は、特に断りのない限り、オープンエンドターム(すなわち「〜を含むが限らない」という意味)として解釈される。本明細書中の数値範囲の具陳は、本明細書中で特に指摘しない限り、単にその範囲内に該当する各値を個々に言及するための略記法としての役割を果たすことだけを意図しており、各値は、本明細書中で個々に列挙されたかのように、明細書に組み込まれる。本明細書中で説明されるすべての方法は、本明細書中で特に指摘したり、明らかに文脈と矛盾したりしない限り、あらゆる適切な順番で行うことができる。本明細書中で使用するあらゆる例または例示的な言い回し(例えば「など」)は、特に主張しない限り、単に本発明をよりよく説明することだけを意図し、本発明の範囲に対する制限を設けるものではない。明細書中のいかなる言い回しも、請求項に記載されていない要素を、本発明の実施に不可欠であるものとして示すものとは解釈されないものとする。
本明細書中では、本発明を実施するため本発明者が知っている最良の形態を含め、本発明の好ましい実施の形態について説明している。当業者にとっては、上記説明を読めば、これらの好ましい実施の形態の変形が明らかとなろう。本発明者は、熟練者が適宜このような変形を適用することを期待しており、本明細書中で具体的に説明される以外の方法で本発明が実施されることを予定している。従って本発明は、準拠法で許されているように、本明細書に添付された請求項に記載の内容の修正および均等物をすべて含む。さらに、本明細書中で特に指摘したり、明らかに文脈と矛盾したりしない限り、すべての変形における上記要素のいずれの組合せも本発明に包含される。
本発明の態様(1)は、 対向する流れ面を貫通する中心軸線を有するフィルタ媒体パックと; 前記フィルタ媒体パックに固定されるフレームであって、シール支持部を有し、成形受け部領域の少なくとも一部分を形成するフレームと; 前記シール支持部に坦持される環状シールと; 前記環状シールから独立して成形され、前記成形受け部領域をほぼ占有し、前記フィルタ媒体パックと前記フレームとの間の環状境界面をシールする、フィルタ媒体パックシールとを備える; フィルタエレメントである。
本発明の態様(2)は、 前記フレームが、スペーサ部と前記成形受け部領域の少なくとも一部分を画成する成形台部とを更に含み、前記成形台部は、面取り座面を有する自由終端エッジを含み、前記成形台部は前記フィルタ媒体パックの外周に対して相対的に半径方向外側へ延び、前記フィルタ媒体パックの下端を収容する、本発明の態様(1)に記載のフィルタエレメントである。
本発明の態様(3)は、前記フィルタ媒体パックシールがテーパ領域を含み、前記テーパ領域は拡大してより大きい外周となり前記フィルタ媒体パックと前記フレームとの間の境界面をシールし、更に前記環状境界面近傍の、フィルタ媒体パックの部分を包囲する、本発明の態様(1)に記載のフィルタエレメントである。
本発明の態様(4)は、前記フィルタ媒体パックが、複数のひだ溝を備えるひだ溝付きフィルタ媒体であり、前記複数のひだ溝から選ばれた第1群が第1の流れ面近傍で閉じられ、前記複数のひだ溝から選ばれた第2群が第2の流れ面近傍で閉じられ、前記ひだ溝付きフィルタ媒体が外被を含む、本発明の態様(1)に記載のフィルタエレメントである。
本発明の態様(5)は、前記フレームはスペーサ部と前記成形受け部領域の少なくとも一部分を画成する成形台部とを含み、前記スペーサ部は前記流れ面の一方と前記成形台部との間に延び、前記スペーサ部は、前記フィルタ媒体パックの外被に沿ういくつかのひだ溝が形成する開口部へのフィルタ媒体パックシール材料の流入を許容し、それにより前記フィルタ媒体パックの外被をシールする、本発明の態様(4)に記載のフィルタエレメントである。
本発明の態様(6)は、前記フィルタ媒体パックシールが発泡ウレタン材料を含む、
本発明の態様(1)のフィルタエレメントである。
本発明の態様(7)は、前記環状シールが発泡ウレタン材料を含み、前記環状シールを前記シール支持部へ鋳込んで成形される、本発明の態様(1)に記載のフィルタエレメントである。
本発明の態様(8)は、前記フレームがスペーサ部と、成形台部と、前記成形受け部領域を画成する外壁とを更に含み、前記成形受け部領域がフィルタ媒体パックシールを含む、本発明の態様(1)に記載のフィルタエレメントである。
本発明の態様(9)は、前記スペーサ部が前記流れ面の一方と前記成形台部との間に延び、前記成形台部が前記フィルタ媒体パックの外周を越えて半径方向に延び、前記外壁は前記成形台部から前記フィルタ媒体パックへ向かって軸方向に延び、前記成形台部と前記外壁は、前記環状境界面の近傍において前記フィルタ媒体パックの一部分を包囲するようになされている、本発明の態様(8)に記載のフィルタエレメントである。
本発明の態様(10)は、前記フィルタ媒体パックが、複数のひだ溝を備えるひだ溝付きフィルタ媒体であり、前記複数のひだ溝から選ばれた第1群が第1の流れ面近傍で閉じられ、前記複数のひだ溝から選ばれた第2群が第2の流れ面近傍で閉じられ、前記ひだ溝付きフィルタ媒体が外被を含む、本発明の態様(8)に記載のフィルタエレメントである。
本発明の態様(11)は、前記スペーサ部は、前記フィルタ媒体パックの外被に沿ういくつかのひだ溝が形成する開口部へのフィルタ媒体パックシール材料の流入を許容し、それによって前記フィルタ媒体パックの外被をシールする、本発明の態様(10)に記載のフィルタエレメントである。
本発明の態様(12)は、前記フィルタ媒体パックシールが発泡ウレタン材料を含み;
前記環状シールが発泡ウレタン材料を含み; 前記環状シールを前記シール支持部へ鋳込んで成形される; 本発明の態様(8)に記載のフィルタエレメントである。
本発明の態様(13)は、前記フィルタ媒体パックシールと前記環状シールは前記成形台部によって分離され、重なっていない、本発明の態様(1)に記載のフィルタエレメントである。
本発明の態様(14)は、前記フィルタ媒体パックシールは硬質ウレタンを含み、前記環状シールは硬質ウレタンより柔らかい発泡ウレタン材料を含む、本発明の態様(13)に記載のフィルタエレメントである。
本発明の態様(15)は、対向する流れ面を貫通する中心軸線を有するひだ溝付きフィルタ媒体パックであって、一緒に固定されて前記中心軸線の回りに巻かれて複数のひだ溝を画成する面シートと屈曲シートとを含み、前記複数のひだ溝は一方の流れ面近傍で閉じている複数の第1のひだ溝と他方の流れ面の近傍で閉じている複数の第2のひだ溝とを含み、前記ひだ溝付きフィルタ媒体パックは外被を含む、ひだ溝付きフィルタ媒体パックと; 少なくとも一部分がプラスチック材料から形成されて前記フィルタ媒体パックに固定されるフレームであって、前記フィルタ媒体パックは前記プラスチック材料を介して前記フレームへ溶接される、フレームとを備える; フィルタエレメントである。
本発明の態様(16)は、前記フレームは、前記フレームの外縁周りに環状プラスチック部を含み、前記プラスチック部は、前記フィルタ媒体パックがプラスチック溶接される溶接部を有する、本発明の態様(15)に記載のフィルタエレメントである。
本発明の態様(17)は、前記環状プラスチック部は、前記溶接部と安全部とを含む隆起プラスチック部であり、前記フィルタ媒体パックの外被が前記溶接部へ埋め込まれ、それによって前記フィルタ媒体パックと前記フレームとの間に連続環状シール境界面を画成し、前記安全部は前記連続環状シール境界面を越えて延び、前記連続環状シール境界面近傍において前記フィルタ媒体パックの外周を包囲する、本発明の態様(16)に記載のフィルタエレメントである。
本発明の態様(18)は、前記フレームは、環状シールを坦持するシール支持部を有するシール支持フレームである、本発明の態様(15)に記載のフィルタエレメント。
本発明の態様(19)は、前記環状シールは発泡ウレタン材料を含み、前記環状シールは前記シール支持部上に成形される、本発明の態様(18)に記載のフィルタエレメントである。
本発明の態様(20)は、フィルタエレメント製造方法であって: 外被を有するフィルタ媒体パックを形成する工程と; シール支持部を有するフレームを製造し、成形受け部領域の少なくとも一部分を形成する工程と; 前記フレームの前記シール支持部周りに環状シールを成形する工程と; 前記成形受け部領域をほぼ占有し、前記フィルタ媒体パックと前記フレームとの間の環状境界面をシールするフィルタ媒体パックシールを別途成形する工程とを備える;フィルタエレメント製造方法である。
本発明の態様(21)は、前記フレームが、スペーサ部と成形受け部領域の少なくとも一部分を形成する成形台部を更に含み、前記成形台部が型の内壁に当接するように適合した自由終端エッジを有する、本発明の態様(20)に記載のフィルタエレメント製造方法である。
本発明の態様(22)は、前記環状シールと前記フィルタ媒体パックシールとが、環状シール用未硬化流動体シール材料の受け入れに適する環状キャビティと、前記内壁および外壁を有する外周壁とを有する型内で成形され、前記内壁は前記成形受け部領域の少なくとも一部分を形成し、前記成形受け部領域は前記フィルタ媒体パックシール用未硬化流動性シール材料を受け入れるようになされている、本発明の態様(21)に記載のフィルタエレメント製造方法である。
本発明の態様(23)は、前記環状シールは、前記環状シール用未硬化流動性シール材料を前記環状キャビティへ注入し、そして前記シール支持部が前記環状キャビティ内に配置されるように前記フレームを前記型内へ挿入することによって成形され、前記環状キャビティ内では前記未硬化流動性シール材料が前記シール支持部周りに広がる、本発明の態様(22)に記載のフィルタエレメント製造方法である。
本発明の態様(24)は、前記型が、前記成形台部用の座面を提供するアンダーカットを更に含み、前記環状キャビティ内での未硬化流動性シール材料の広がりが、前記成形台部と前記アンダーカットによって上限が定められる、本発明の態様(23)に記載のフィルタエレメント製造方法である。
本発明の態様(25)は、前記フィルタ媒体パックシールを成形する工程は: 前記フレームの前記成形台部が前記型の内壁に当接するように、前記フレームを前記型内へ配置し、前記スペーサ部と、前記成形台部と、前記内壁とが前記成形受け部領域を画成する工程と; 前記フィルタ媒体パックシール用未硬化流動性シール材料を前記成形受け部領域内へ注入する工程と; 心出しした前記フィルタ媒体パックを前記フレーム上へ挿入し、前記フィルタ媒体パックシール用未硬化流動性シール材料が前記フィルタ媒体パックの外被内へ広がり、更に前記フィルタ媒体パックの外縁周りで上方へ広がり、それによって前記フィルタ媒体パックと前記フレームとの間の環状境界面をシールする工程とを含む;本発明の態様(23のフィルタエレメント製造方法である。
本発明の態様(26)は、前記環状シールおよび前記フィルタ媒体パックシール用未硬化流動性シール材料は、ウレタン発泡材料である、本発明の態様(20)に記載のフィルタエレメント製造方法である。
本発明の態様(27)は、前記フレームは成形受け部領域を画成するスペーサ部と、成形台部と、外壁とを更に含み、前記成形受け部領域はフィルタ媒体パックシール形成用未硬化流動性シール材料を受け入れるようになされている、本発明の態様(20)に記載のフィルタエレメント製造方法である。
本発明の態様(28)は、前記環状シールは、キャビティを有する型内において、環状シール用未硬化流動性シール材料を前記キャビティ内へ注入するとともに、前記フレームを型内へ、前記シール支持部が前記キャビティ内に配置されるように挿入し、そこで未硬化流動性シール材料が前記シール支持部周りに広がって前記環状シールを形成することにより成形される、本発明の態様(27)に記載のフィルタエレメント製造方法である。
本発明の態様(29)は、前記環状シール用未硬化流動性シール材料は発泡ウレタン材料を含む、本発明の態様(28)に記載のフィルタエレメント製造方法である。
本発明の態様(30)は、前記フィルタ媒体パック用未硬化流動性シール材料は硬質ウレタンを含み、前記環状シール用未硬化流動性シール材料は、前記硬質ウレタンより柔らかい発泡ウレタンを含む、本発明の態様(28)に記載のフィルタエレメント製造方法である。
本発明の態様(31)は、前記フィルタ媒体パックシールは、前記フィルタ媒体パックシール用未硬化流動性シール材料を前記成形受け部領域内へ注入し、心出しした前記フィルタ媒体パックを前記フレーム上へ挿入し、前記フィルタ媒体パックシール用未硬化流動性シール材料が、前記フィルタ媒体パックの外被に沿ういくつかのひだ溝によって形成された開口部内へ広がり、更に前記フィルタ媒体パックの外縁周りで上方へ広がり、前記フィルタ媒体パックと前記フレームとの間の環状境界面をシールすることによって成形される、本発明の態様(27)に記載のフィルタエレメント製造方法である。
本発明の態様(32)は、フィルタ媒体パックをフレームに固定する方法であって:
外被を有するひだ溝付きフィルタ媒体パックを形成する工程と; 前記フィルタ媒体パックの外被の溶接に適する環状プラスチック部を有するフレームを製造する工程と; 前記フィルタ媒体パックを前記環状プラスチック部へ溶接する工程とそ備える;フィルタ媒体パックをフレームに固定する方法である。
本発明の態様(33)は、前記フレームと前記フィルタ媒体パックとの間の連続環状シール境界面は、前記フィルタ媒体パックを前記環状プラスチック部へ溶接することによって形成される、本発明の態様(32)に記載のフィルタ媒体パックをフレームに固定する方法である。
本発明の態様(34)は、前記フィルタ媒体パックを溶接する工程が: 前記フレームの環状プラスチック部を加熱して軟化させる工程と; 前記フィルタ媒体パックの外被が、加熱された前記プラスチック部の上に来るように、心出しした前記フィルタ媒体パックを前記フレーム上へ配置する工程と; 前記フィルタ媒体パックの対向流れ面上へ均等に軽い圧力を与え、前記フィルタ媒体パックの外被を、加熱された前記プラスチック部へ埋め込み、前記フレームと前記フィルタ媒体パックとの間の環状境界面をシールする工程とを含む、本発明の態様(32)に記載のフィルタ媒体パックを固定する方法である。
本発明の態様(35)は、前記フレームの環状プラスチック部を熱ガスによって加熱して軟化させる、本発明の態様(33)に記載のフィルタ媒体パックを固定する方法である。
本発明の態様(36)は、前記フレームの環状プラスチック部を電磁高周波によって加熱する、本発明の態様(33)に記載のフィルタ媒体パックを固定する方法である。
本発明の態様(37)は、前記フィルタ媒体パックと前記フレームが超音波溶接装置において溶接合体され;前記フィルタ媒体パックと前記フレームの前記環状プラスチック部は、15kHz乃至40kHzの間の高周波小振幅振動である、前記環状プラスチック部を加熱溶融する振動に由来する超音波エネルギに曝され;前記フィルタ媒体パックは溶接されて、前記フィルタ媒体パックと前記フレームの間に連続環状シール境界面を形成する、本発明の態様(32)に記載のフィルタ媒体パックを固定する方法である。
本発明の態様(38)は、ひだ溝付きフィルタエレメント製造方法であって: 座と、前記座を包囲する環状壁とを含むフレームを形成する工程と; 接着剤ビードを前記環状壁周りに、前記座から間隔を空けた位置に配置する工程と; ひだ溝付きフィルタ媒体パックを前記環状壁内へ前記座に向けて挿入し、前記接着剤ビードに接触させ、前記接着剤ビードに、前記環状壁に沿って前記座に向けて剪断する工程とを備える; ひだ溝付きフィルタエレメント製造方法である。
本発明の態様(39)は、前記環状壁周りの前記接着剤ビードは、前記座から1/8インチ(3.2mm)乃至1インチ(25mm)隔てて塗布される、本発明の態様(38)に記載のひだ溝付きフィルタエレメント製造方法である。
本発明の態様(40)は、前記フィルタ媒体パックを前記環状壁に沿って滑り降ろして、前記座に向けて接着剤ビードを剪断することにより接着剤ビードを伸ばすとき、前記フィルタ媒体パックと前記環状壁とを結合するように、より大きな接着面が提供される、本発明の態様(38)に記載のひだ溝付きフィルタエレメント製造方法である。
本発明の態様(41)は、前記接着剤ビードが、前記フレームと前記ひだ溝付きフィルタ媒体パックとの間に連続環状シール境界面を形成する、本発明の態様(38)に記載のひだ溝付きフィルタエレメント製造方法である。

Claims (11)

  1. 対向する流れ面を貫通する中心軸線を有するフィルタ媒体パックと;
    前記フィルタ媒体パックに固定されるフレームであって、シール支持部を有し、成形受け部領域の少なくとも一部分を形成するフレームと;
    前記シール支持部に坦持される環状シールと;
    前記環状シールから独立して成形され、前記成形受け部領域をほぼ占有し、前記フィルタ媒体パックと前記フレームとの間の環状境界面をシールする、フィルタ媒体パックシールとを備える;
    フィルタエレメント。
  2. 前記フレームが、スペーサ部と前記成形受け部領域の少なくとも一部分を画成する成形台部とを更に含み、前記成形台部は、面取り座面を有する自由終端エッジを含み、前記成形台部は前記フィルタ媒体パックの外周に対して相対的に半径方向外側へ延び、前記フィルタ媒体パックの下端を収容する、
    請求項1に記載のフィルタエレメント。
  3. 前記フィルタ媒体パックシールがテーパ領域を含み、前記テーパ領域は拡大してより大きい外周となり前記フィルタ媒体パックと前記フレームとの間の境界面をシールし、更に前記環状境界面近傍の、フィルタ媒体パックの部分を包囲する、
    請求項1又は請求項2に記載のフィルタエレメント。
  4. 前記フレームがスペーサ部と、成形台部と、前記成形受け部領域を画成する外壁とを更に含み;
    前記成形受け部領域がフィルタ媒体パックシールを含み;
    前記スペーサ部が前記流れ面の一方と前記成形台部との間に延び、前記成形台部が前記フィルタ媒体パックの外周を越えて半径方向に延び、前記外壁は前記成形台部から前記フィルタ媒体パックへ向かって軸方向に延び、前記成形台部と前記外壁は、前記環状境界面の近傍において前記フィルタ媒体パックの一部分を包囲するようになされている;
    請求項1に記載のフィルタエレメント。
  5. 前記フィルタ媒体パックが、複数のひだ溝を備えるひだ溝付きフィルタ媒体であり、前記複数のひだ溝から選ばれた第1群が第1の流れ面近傍で閉じられ、前記複数のひだ溝から選ばれた第2群が第2の流れ面近傍で閉じられ、前記ひだ溝付きフィルタ媒体が外被を含み;
    前記スペーサ部は、前記フィルタ媒体パックの外被に沿ういくつかのひだ溝が形成する開口部へのフィルタ媒体パックシール材料の流入を許容し、それによって前記フィルタ媒体パックの外被をシールする;
    請求項2乃至請求項4のいずれか1項に記載のフィルタエレメント。
  6. 前記フィルタ媒体パックシールが発泡ウレタン材料を含み;
    前記環状シールが発泡ウレタン材料を含み;
    前記環状シールを前記シール支持部へ鋳込んで成形される;
    請求項1乃至請求項5のいずれか1項に記載のフィルタエレメント。
  7. フィルタエレメント製造方法であって:
    外被を有するフィルタ媒体パックを形成する工程と;
    シール支持部を有するフレームを製造し、成形受け部領域の少なくとも一部分を形成する工程と;
    前記フレームの前記シール支持部周りに環状シールを成形する工程と;
    前記成形受け部領域をほぼ占有し、前記フィルタ媒体パックと前記フレームとの間の環状境界面をシールするフィルタ媒体パックシールを別途成形する工程とを備える;
    フィルタエレメント製造方法。
  8. 前記フレームが、スペーサ部と成形受け部領域の少なくとも一部分を形成する成形台部を更に含み、前記成形台部が型の内壁に当接するように適合した自由終端エッジを有する、
    請求項7に記載のフィルタエレメント製造方法。
  9. 前記環状シールと前記フィルタ媒体パックシールとが、環状シール用未硬化流動体シール材料の受け入れに適する環状キャビティと、前記内壁および外壁を有する外周壁とを有する型内で成形され、前記内壁は前記成形受け部領域の少なくとも一部分を形成し、前記成形受け部領域は前記フィルタ媒体パックシール用未硬化流動性シール材料を受け入れるようになされており;
    前記環状シールは、前記環状シール用未硬化流動性シール材料を前記環状キャビティへ注入し、そして前記シール支持部が前記環状キャビティ内に配置されるように前記フレームを前記型内へ挿入することによって成形され、前記環状キャビティ内では前記未硬化流動性シール材料が前記シール支持部周りに広がるようになされ;
    前記型が、前記成形台部用の座面を提供するアンダーカットを更に含み、前記環状キャビティ内での未硬化流動性シール材料の広がりが、前記成形台部と前記アンダーカットによって上限が定められ;
    前記フィルタ媒体パックシールを成形する工程は:
    前記フレームの前記成形台部が前記型の内壁に当接するように、前記フレームを前記型内へ配置し、前記スペーサ部と、前記成形台部と、前記内壁とが前記成形受け部領域を画成する工程と;
    前記フィルタ媒体パックシール用未硬化流動性シール材料を前記成形受け部領域内へ注入する工程と;
    心出しした前記フィルタ媒体パックを前記フレーム上へ挿入し、前記フィルタ媒体パックシール用未硬化流動性シール材料が前記フィルタ媒体パックの外被内へ広がり、更に前記フィルタ媒体パックの外縁周りで上方へ広がり、それによって前記フィルタ媒体パックと前記フレームとの間の環状境界面をシールする工程とを含む;
    請求項8に記載のフィルタエレメント製造方法。
  10. 前記フレームは成形受け部領域を画成するスペーサ部と、成形台部と、外壁とを更に含み、前記成形受け部領域はフィルタ媒体パックシール形成用未硬化流動性シール材料を受け入れるようになされている、
    請求項7に記載のフィルタエレメント製造方法。
  11. 前記環状シールは、キャビティを有する型内において、環状シール用未硬化流動性シール材料を前記キャビティ内へ注入するとともに、前記フレームを型内へ、前記シール支持部が前記キャビティ内に配置されるように挿入し、そこで未硬化流動性シール材料が前記シール支持部周りに広がって前記環状シールを形成することにより成形され;
    前記フィルタ媒体パックシールは、前記フィルタ媒体パックシール用未硬化流動性シール材料を前記成形受け部領域内へ注入し、心出しした前記フィルタ媒体パックを前記フレーム上へ挿入し、前記フィルタ媒体パックシール用未硬化流動性シール材料が、前記フィルタ媒体パックの外被に沿ういくつかのひだ溝によって形成された開口部内へ広がり、更に前記フィルタ媒体パックの外縁周りで上方へ広がり、前記フィルタ媒体パックと前記フレームとの間の環状境界面をシールすることによって成形される;
    請求項10に記載のフィルタエレメント製造方法。
JP2009150504A 2008-06-30 2009-06-25 フィルタフレームおよびフィルタフレームを有するひだ溝付きフィルタ Active JP5690054B2 (ja)

Applications Claiming Priority (2)

Application Number Priority Date Filing Date Title
US12/164,987 2008-06-30
US12/164,987 US8048187B2 (en) 2008-06-30 2008-06-30 Filter frame attachment and fluted filter having same

Publications (2)

Publication Number Publication Date
JP2010012460A true JP2010012460A (ja) 2010-01-21
JP5690054B2 JP5690054B2 (ja) 2015-03-25

Family

ID=41138772

Family Applications (1)

Application Number Title Priority Date Filing Date
JP2009150504A Active JP5690054B2 (ja) 2008-06-30 2009-06-25 フィルタフレームおよびフィルタフレームを有するひだ溝付きフィルタ

Country Status (7)

Country Link
US (2) US8048187B2 (ja)
EP (1) EP2140922B1 (ja)
JP (1) JP5690054B2 (ja)
AU (1) AU2009202238B2 (ja)
BR (1) BRPI0902069B1 (ja)
CA (1) CA2670515C (ja)
MX (1) MX2009007027A (ja)

Cited By (7)

* Cited by examiner, † Cited by third party
Publication number Priority date Publication date Assignee Title
KR20160025563A (ko) * 2013-06-28 2016-03-08 도날드슨 컴파니, 인코포레이티드 에어 클리너 조립체를 위한 필터 카트리지
JP2018126733A (ja) * 2017-02-06 2018-08-16 淳靖股▲ふん▼有限公司 濾過芯の取り付け方法
JP2019502049A (ja) * 2015-11-20 2019-01-24 ボールドウィン・フィルターズ・インコーポレーテッドBaldwin Filters Inc 取り付けフレームを有するフィルタ要素
JP2019171386A (ja) * 2018-01-24 2019-10-10 淳靖股▲ふん▼有限公司 フィルタコーンフレーム及びフィルタコーン
JP2022541741A (ja) * 2019-07-26 2022-09-27 ドナルドソン カンパニー,インコーポレイティド フィルタエレメント及びフィルタエレメントの製造方法
JP2023516711A (ja) * 2020-03-02 2023-04-20 マン プラス フンメル フィルトレイション テクノロジー ユーエス リミテッド ライアビリティ カンパニー フィルタ組立体
JP2024503568A (ja) * 2021-01-27 2024-01-26 ドナルドソン カンパニー,インコーポレイティド フィルタエレメント及びフィルタエレメントを製造する方法

Families Citing this family (56)

* Cited by examiner, † Cited by third party
Publication number Priority date Publication date Assignee Title
KR20050098922A (ko) * 2003-02-11 2005-10-12 도널드선 컴파니 인코포레이티드 에어 크리너 배열과 서비스가능한 필터 구성 요소 및 방법
US7318851B2 (en) 2004-11-02 2008-01-15 Baldwin Filters, Inc. Filter element
US20110197556A1 (en) 2004-11-02 2011-08-18 Baldwin Filters, Inc. Filter element
US10040020B2 (en) 2006-12-06 2018-08-07 Baldwin Filters, Inc. Fluid filter apparatus having filter media wound about a winding frame
US9757676B2 (en) 2006-12-06 2017-09-12 Baldwin Filters, Inc. Method and apparatus for winding a filter element
JP2011502782A (ja) 2007-11-15 2011-01-27 ドナルドソン カンパニー,インコーポレイティド エアフィルタ構成物、アセンブリおよび方法
CN102015061B (zh) * 2008-02-25 2013-10-30 唐纳森公司 用于脉冲清洁的过滤元件和方法
US8048187B2 (en) 2008-06-30 2011-11-01 Baldwin Filters, Inc. Filter frame attachment and fluted filter having same
US7972402B2 (en) * 2008-07-17 2011-07-05 Mann + Hummel Gmbh Reinforced filter element
US8506668B2 (en) * 2009-03-30 2013-08-13 Baldwin Filters, Inc. Fluted filter with axial seal
US8061530B2 (en) 2009-04-09 2011-11-22 Cummins Filtration Ip, Inc. Filtration sealing system
US8128719B1 (en) * 2009-08-21 2012-03-06 Cummins Filtration Ip Inc. Filter element with percussion band
US20110210081A1 (en) * 2010-02-26 2011-09-01 Clarcor Inc. Fine fiber liquid particulate filter media
WO2011115979A2 (en) 2010-03-17 2011-09-22 Baldwin Filters, Inc. Fluid filter
WO2011115973A2 (en) 2010-03-17 2011-09-22 Baldwin Filters, Inc. Fluid filter
USD706831S1 (en) * 2011-02-11 2014-06-10 Briggs & Stratton Corporation Air filter
DE102012005530A1 (de) * 2012-03-21 2013-09-26 Mann+Hummel Gmbh Verfahren zur Herstellung eines mit einem Dichtungsteil versehenen Filterelements
EP2877267B1 (en) 2012-07-25 2022-04-13 Baldwin Filters, Inc. Filter housing, fluted filter and safety filter
USD690407S1 (en) * 2012-12-10 2013-09-24 K&N Engineering, Inc. Air filter
USD697191S1 (en) * 2012-12-11 2014-01-07 K&N Engineering, Inc. Air filter
JP5935681B2 (ja) * 2012-12-18 2016-06-15 トヨタ紡織株式会社 エアクリーナ
CN108412645B (zh) 2013-05-22 2020-10-16 唐纳森公司 空气滤清器和过滤元件
USD804004S1 (en) * 2013-09-04 2017-11-28 Mann+Hummel Gmbh Air filter element
USD775317S1 (en) * 2013-09-04 2016-12-27 Mann+Hummel Gmbh Air filter element
DE112015004116B4 (de) * 2014-09-09 2024-02-01 Cummins Filtration Ip, Inc. Axialströmungs-Luftfilterelement, Filtersystem sowie Verfahren zur Wartung des Filtersystems
EP3194048B1 (en) 2014-09-15 2020-07-08 Donaldson Company, Inc. Filter cartridge and air cleaner assembly
DE102016213814B4 (de) 2015-08-03 2024-12-05 Mahle International Gmbh Filterelement mit einem Rahmen und einem Filterkörper
USD786935S1 (en) * 2015-11-20 2017-05-16 Baldwin Filters, Inc. Filter element
EP4043717B1 (en) * 2015-11-20 2025-06-11 Baldwin Filters, Inc. Filter media pack with porous wrapper
JP6820925B2 (ja) * 2015-11-20 2021-01-27 ボールドウィン・フィルターズ・インコーポレーテッドBaldwin Filters Inc ひだ付きパック巻き取り中の接着剤ひだ支持体
USD798907S1 (en) 2015-11-20 2017-10-03 Baldwin Filters, Inc. Filter element
WO2017099984A1 (en) 2015-12-11 2017-06-15 Cummins Filtration Ip, Inc. Filter with variable cross-section axial seal
CN118203909A (zh) 2015-12-18 2024-06-18 唐纳森公司 过滤器滤芯和空气滤清器组件
EP3416734B1 (en) 2016-02-19 2020-10-28 Baldwin Filters, Inc. Surface coated filter and method
US11167234B2 (en) 2016-03-18 2021-11-09 Cummins Filtration Ip, Inc. Interlocked stable filter assembly
US10682597B2 (en) 2016-04-14 2020-06-16 Baldwin Filters, Inc. Filter system
MX2018013103A (es) 2016-05-02 2019-03-28 Cummins Filtration Ip Inc Filtro con interfaz de alojamiento de enclavamiento.
EP3311902B1 (en) * 2016-10-24 2020-06-24 Donaldson Company, Inc. Air filter element and method for producing same
WO2018102712A2 (en) 2016-12-01 2018-06-07 Donaldson Company, Inc. Filter elements, air cleaner assemblies, and methods of use and assembly
US11298640B2 (en) 2017-01-25 2022-04-12 Cummins Filtration Ip, Inc. Expandable threaded adaptor for threadless shell
CN110382075A (zh) 2017-02-21 2019-10-25 康明斯滤清系统知识产权公司 波状互锁壳体-端板界面几何结构
DE112018000692T5 (de) 2017-03-16 2019-10-17 Cummins Filtration Ip, Inc. Filtrationsabdichtungssystem
USD852345S1 (en) * 2017-04-07 2019-06-25 Champion Laboratories, Inc. Filter
US11198082B2 (en) 2017-08-31 2021-12-14 Donaldson Company, Inc. Filter cartridges; air cleaner assemblies; housings; features; components; and methods
WO2019104330A1 (en) * 2017-11-27 2019-05-31 Donaldson Company, Inc. Air cleaner assemblies and methods of use
WO2019156688A1 (en) * 2018-02-12 2019-08-15 Cummins Filtration Ip, Inc. Spray coated and molded polymeric layer wrappings for filter media
USD884866S1 (en) * 2018-05-08 2020-05-19 Cummins Filtration Ip, Inc. Filter element
WO2020021418A1 (en) 2018-07-23 2020-01-30 Cummins Filtration Sarl Radial seal for spin-on filter
US11773812B2 (en) 2018-11-28 2023-10-03 Cummins Filtration Ip, Inc. Curved seal on filter element and protective seal mold
CN113795321B (zh) 2019-05-14 2022-12-02 康明斯滤清系统知识产权公司 弯曲凸角密封锁定空气过滤器系统
CN114829751B (zh) * 2019-12-18 2024-10-29 康明斯滤清系统公司 利用底切的凸出的可压缩的过滤器密封设计
EP3881922B1 (en) 2020-03-19 2024-03-13 Donaldson Company, Inc. Filter element with seal receiver
DE102020117606A1 (de) * 2020-07-03 2022-01-05 Mann+Hummel Gmbh Verfahren zum anformen einer dichteinrichtung an eine endfalte eines faltenbalgs, giessschalenanordnung und filterelement
USD946733S1 (en) * 2020-07-05 2022-03-22 Champion Laboratories, Inc. Filter frame
DE102020128911A1 (de) 2020-11-03 2022-05-05 Mann+Hummel Gmbh Filtersystem und Filterelement
KR102826766B1 (ko) * 2023-11-22 2025-07-01 주식회사 에스컴텍 플라스틱 선체 외판부측 방현재 설치방법 및 구조

Citations (3)

* Cited by examiner, † Cited by third party
Publication number Priority date Publication date Assignee Title
JPH0952012A (ja) * 1995-08-15 1997-02-25 Nippon Muki Co Ltd フィルタ取付構造
JP2008518755A (ja) * 2004-11-02 2008-06-05 ボールドウィン・フィルターズ・インコーポレーテッド 斜めのシール支持部を有するフィルタエレメント
JP2010012461A (ja) * 2008-06-30 2010-01-21 Baldwin Filters Inc 一体のフレームを有するひだ溝付きフィルタ

Family Cites Families (154)

* Cited by examiner, † Cited by third party
Publication number Priority date Publication date Assignee Title
US1700126A (en) 1926-06-17 1929-01-29 American Kreuger & Toll Corp Filter medium for air and gases
US1947066A (en) 1932-12-14 1934-02-13 Samuel M Langston Co Corrugator
US1954881A (en) 1933-03-23 1934-04-17 Samuel M Langston Co Corrugator
US1943080A (en) 1933-04-21 1934-01-09 Samuel M Langston Corrugator
US3025963A (en) 1958-03-13 1962-03-20 Russell H Curtis Products useful as filtering devices and methods of making them
US3255889A (en) 1961-04-10 1966-06-14 American Mach & Foundry Wound filter
SE302235B (ja) 1966-02-08 1968-07-08 Svenska Flaektfabriken Ab
GB1121896A (en) 1966-07-21 1968-07-31 Gen Motors Ltd Air filters
US3676247A (en) 1969-02-03 1972-07-11 Australian Paper Manufacturers Corrugating paperboard
US3679057A (en) 1970-09-11 1972-07-25 Damasco Rodolfo Adelto Perez Screen filter pack and method for making same
SE409948B (sv) 1976-03-16 1979-09-17 Nederman Bill P Ph Filteranordning for avskiljning av fasta partiklar ur gaser, speciellt svetsgaser
US4253228A (en) 1978-09-14 1981-03-03 Filterspun, Inc. Apparatus and system for forming wound filters
US4252591A (en) 1979-05-02 1981-02-24 Pall Corporation Corrugating apparatus and process
US4257790A (en) 1979-10-10 1981-03-24 Henningsen Foods, Inc. Quick change filter bag arrangement
DE2947080A1 (de) 1979-11-22 1981-05-27 Delbag-Luftfilter Gmbh, 1000 Berlin Luftfilterzelle
EP0152513B1 (en) 1981-02-23 1991-01-09 Nippondenso Co., Ltd. Filter element for fluid cleaner systems
GB2103106B (en) 1981-04-28 1985-07-10 Kleen Air Maintenance Services Air filter
US4410427A (en) 1981-11-02 1983-10-18 Donaldson Company, Inc. Fluid filtering device
US4579698A (en) 1982-05-28 1986-04-01 Amf, Inc. Process for producing a microporous polymeric filter membrane with adjacent non-porous edge layers and a pleated filter element formed from the membrane
JPS60112320A (ja) 1983-11-24 1985-06-18 Hitachi Ltd トライステ−トゲ−トの保護方式
JPS60124622U (ja) 1984-01-31 1985-08-22 株式会社 土屋製作所 ハニカムエレメント内装のエアクリ−ナ
SE452598B (sv) 1985-06-20 1987-12-07 Flodins Filter Ab Forfarande och anordning for framstellning av filter
USH556H (en) 1985-12-02 1988-12-06 Method of manufacture and machine for manufacturing subterranean wall drain
US4747944A (en) 1986-04-29 1988-05-31 Midwest Conservation Specialties, Inc. Recirculating filter system
US4720292B1 (en) 1986-07-14 1991-09-10 Cylindrical air filter with lightweight housing and radially directed seal
GB8621660D0 (en) 1986-09-09 1986-10-15 Domnick Hunter Filters Ltd Filter element
SE455378B (sv) 1986-11-17 1988-07-11 Flodins Filter Ab Forfarande for framstellning av filter
DE8810295U1 (de) 1988-08-13 1988-10-13 Stanelle, Karl-Heinz, 7129 Güglingen Filterpatrone
US5346675A (en) 1988-12-16 1994-09-13 Usui Kokusai Sangyo Kabushiki Kaisha Exhaust gas cleaning apparatus
US4976857A (en) 1989-05-03 1990-12-11 Newport Filters, Inc. Filter element and fabrication methodology
US5238474A (en) 1990-10-19 1993-08-24 Donaldson Company, Inc. Filtration arrangement
US5213275A (en) 1991-07-17 1993-05-25 General Dynamics Corporation, Space Systems Division Reeding edge for securing in place fiber band during filament winding operation
US5245897A (en) 1991-11-25 1993-09-21 E. I. Du Pont De Nemours And Company System and method for advancing the leading edge of a corrugated web
DE59207005D1 (de) 1992-03-04 1996-10-02 Ciba Geigy Ag Verfahren und Vorrichtung zum Aufwickeln von wickelfähigen Substraten
JP3239517B2 (ja) 1992-06-17 2001-12-17 株式会社デンソー 濾過エレメントの製造方法
DE4223723C2 (de) 1992-07-18 1996-08-29 Mann & Hummel Filter Verfahren und Vorrichtung zur Herstellung eines zickzackförmig gefalteten Filters
DE9305767U1 (de) 1993-04-16 1993-06-17 Filterwerk Mann & Hummel Gmbh, 7140 Ludwigsburg Luftfilter für den Innenraum von Kraftfahrzeugen
JP3362453B2 (ja) 1993-05-21 2003-01-07 株式会社デンソー 濾過エレメント
US5484466A (en) 1994-02-14 1996-01-16 Baldwin Filters, Inc. Air filter element with radial seal sealing gasket
SE506017C2 (sv) 1994-05-10 1997-11-03 Volvo Ab Luftfilter
WO1995035202A1 (en) 1994-06-21 1995-12-28 Miller Ray R Method of bonding laminates and resulting laminates
US5588945A (en) 1995-02-21 1996-12-31 Corrugated Gear & Services, Inc. Method and device for spacing a corrugating finger relative to a corrugating roll
US5685985A (en) 1995-12-20 1997-11-11 Baldwin Filters, Inc. Environmentally friendly filter cartridge
DE19654188C5 (de) 1995-12-26 2010-09-23 Toyoda Boshoku Corp., Kariya-shi Filterelement und Verfahren für dessen Herstellung
US5792242A (en) 1996-02-26 1998-08-11 Minnesota Mining And Manufacturing Co. Electrostatic fibrous filter web
ZA973639B (en) 1996-04-26 1998-10-26 Donaldson Co Inc Fluted filter media
US5792247A (en) 1996-04-26 1998-08-11 Donaldson Company, Inc. Integrated resonator and filter apparatus
US5902364A (en) 1996-04-26 1999-05-11 Donaldson Company, Inc. Conical filter
US5772883A (en) 1996-04-26 1998-06-30 Donaldson Company, Inc. Slanted inline filter
US5895574A (en) 1996-04-26 1999-04-20 Donaldson Company, Inc. Rolled liquid filter using fluted media
US5820646A (en) 1996-04-26 1998-10-13 Donaldson Company, Inc. Inline filter apparatus
US6022305A (en) 1998-03-11 2000-02-08 Aaf International Pleating apparatus
EP0999200B1 (en) 1998-11-04 2002-07-17 Rohm And Haas Company Process for the high yield production of methyl methacrylate or methacrylic acid
USD450827S1 (en) 1999-02-26 2001-11-20 Donaldson Company, Inc. Filter element having sealing system
US6221122B1 (en) 1999-02-26 2001-04-24 Donaldson Company, Inc. Filter element and methods
US6210469B1 (en) 1999-02-26 2001-04-03 Donaldson Company, Inc. Air filter arrangement having first and second filter media dividing a housing and methods
US6179890B1 (en) 1999-02-26 2001-01-30 Donaldson Company, Inc. Air cleaner having sealing arrangement between media arrangement and housing
EP1159052B2 (en) 1999-02-26 2011-08-03 Donaldson Company, Inc. Sealing system for filter
USD461003S1 (en) 1999-02-26 2002-07-30 Donaldson Company, Inc. Filter element having sealing system
US6190432B1 (en) 1999-02-26 2001-02-20 Donaldson Company, Inc. Filter arrangement; sealing system; and methods
US6235195B1 (en) 1999-02-26 2001-05-22 Donaldson Company, Inc. Filter element incorporating a handle member
DE19935297A1 (de) 1999-07-27 2001-02-01 Mahle Filtersysteme Gmbh Filterkörper eines Fluidfilters, insbesondere Luftfilters
USD437402S1 (en) 1999-11-05 2001-02-06 Donaldson Company, Inc. Filter element with centerpiece
US6348084B1 (en) 1999-11-05 2002-02-19 Donaldson Company, Inc. Filter element, air cleaner, and methods
US6348085B1 (en) 1999-11-10 2002-02-19 Donaldson Company, Inc. Filter arrangement and methods
US6416605B1 (en) 1999-11-24 2002-07-09 Donaldson Company, Inc. Method for manufacturing fluted media
US6436162B1 (en) 2000-03-22 2002-08-20 Nelson Industries, Inc. Twist and lock filter housing with anti-rotation stop
DE10023427A1 (de) 2000-05-12 2001-11-15 Mann & Hummel Filter Flüssigkeitsfilter mit in Urformtechnik hergestelltem Gehäuse und Verfahren zu seiner Herstellung
US6946012B1 (en) 2000-05-18 2005-09-20 Fleetguard, Inc. Filter and forming system
USD450828S1 (en) 2000-06-13 2001-11-20 Donaldson Company, Inc. Fluted filter element having a handle
US6368374B1 (en) 2000-06-13 2002-04-09 Donaldson Company, Inc. Filter arrangement and methods
US6743273B2 (en) 2000-09-05 2004-06-01 Donaldson Company, Inc. Polymer, polymer microfiber, polymer nanofiber and applications including filter structures
US6673136B2 (en) 2000-09-05 2004-01-06 Donaldson Company, Inc. Air filtration arrangements having fluted media constructions and methods
US6402798B1 (en) 2000-09-19 2002-06-11 Nelson Industries, Inc. Twist and lock filter housing with nontorsional anti-rotation stop
US6511599B2 (en) 2000-12-18 2003-01-28 Nelson Industries, Inc. Multi-element cylindrical filter with equalized flow
US6743317B2 (en) 2000-12-19 2004-06-01 Robert M. Wydeven Method of sealing, housing and constructing honeycomb filters
US6447567B1 (en) 2001-05-14 2002-09-10 Baldwin Filters, Inc. Air filter element with integral radial seal gasket
RU2300543C2 (ru) 2001-05-31 2007-06-10 Дональдсон Компани, Инк. Составы тонкого волокна, способы их получения, способ изготовления тонковолокнистого материала
USD460169S1 (en) 2001-06-06 2002-07-09 Donaldson Company Inc. Filter element having an inlet grid
US6517598B2 (en) 2001-06-06 2003-02-11 Donaldson Company, Inc. Filter element having flange and methods
US6610126B2 (en) 2001-06-06 2003-08-26 Donaldson Company, Inc. Filter element having sealing members and methods
US6852141B2 (en) 2001-06-06 2005-02-08 Donaldson Company, Inc. Filter element having center piece and methods
DE10152552A1 (de) 2001-10-24 2003-05-08 Mann & Hummel Filter Filterelement, insbesondere für die Filtrierung von Flüssigkeiten
US7488365B2 (en) 2001-12-03 2009-02-10 Donaldson Company, Inc. Filter element using corrugated media sheet
USD473637S1 (en) 2001-12-03 2003-04-22 Donaldson Company, Inc. Fluted filter element
USD483459S1 (en) 2002-01-23 2003-12-09 Donaldson Company, Inc. Air filter element for engine
US6966940B2 (en) 2002-04-04 2005-11-22 Donaldson Company, Inc. Air filter cartridge
US6851569B2 (en) 2002-04-22 2005-02-08 Plastican, Inc. Reusable lid and container
EP1509311B2 (en) 2002-05-09 2008-12-17 Donaldson Company, Inc. Air filter having fluted filter media
GB2389323B (en) 2002-06-07 2005-08-17 Baldwin Filters Inc Environmentally friendly filter cartridge
DE10227050B3 (de) 2002-06-17 2004-01-29 Albert Frey Verpackungsentwicklungen Und Vertriebs-Gmbh Wellpappe mit Aufreißlinie
WO2004007054A1 (en) 2002-07-10 2004-01-22 Donaldson Company, Inc. Fluted filter medium and process for its manufacture
US6703675B1 (en) 2002-08-20 2004-03-09 Memx, Inc. Particle filter for partially enclosed microelectromechanical systems
US6959819B2 (en) 2002-10-08 2005-11-01 Pti Technologies, Inc. Fatigue rated glass filled plastic filter assembly incorporating a coreless plastic filter element with integral seal
DE60327890D1 (de) 2002-12-11 2009-07-16 Donaldson Co Inc Z-filtermedien mit gegenstromreinigungssystemen und -verfahren
US6887343B2 (en) 2002-12-20 2005-05-03 Fleetguard, Inc. Filter coating, winding, finishing and manufacturing system
USD484584S1 (en) 2003-01-22 2003-12-30 Donaldson Company, Inc. Filter element for engine
KR20050098922A (ko) 2003-02-11 2005-10-12 도널드선 컴파니 인코포레이티드 에어 크리너 배열과 서비스가능한 필터 구성 요소 및 방법
US8226786B2 (en) 2003-03-18 2012-07-24 Donaldson Company, Inc. Process and materials for coiling z-filter media, and/or closing flutes of filter media; and, products
US7300486B1 (en) * 2003-04-02 2007-11-27 Wix Filtration Corp Llc Filter elements having injection molded thermoplastic seals and methods of making same
US7008465B2 (en) 2003-06-19 2006-03-07 Donaldson Company, Inc. Cleanable high efficiency filter media structure and applications for use
US7458468B2 (en) 2003-08-05 2008-12-02 Purolator Filters Na Llc Fuel filter diverter
WO2005040593A1 (en) 2003-10-17 2005-05-06 Donaldson Company, Inc. Precleaner arrangement for use in air filtration, method of operation of precleaner and air cleaner comprising the precleaner arrangement
JP4528305B2 (ja) 2003-11-12 2010-08-18 ドナルドソン カンパニー,インコーポレイティド フィルタエレメント用のスライドマウントを有するエアフィルタ
WO2005058461A1 (en) 2003-12-16 2005-06-30 Donaldson Company, Inc. Air cleaner arrangement and methods
US20090266041A1 (en) * 2003-12-22 2009-10-29 Donaldson Company, Inc. Seal arrangement for filter element; Filter element assembly; and, methods
CN101693158B (zh) 2003-12-22 2013-02-20 唐纳森公司 包括密封结构的过滤元件及其生产方法
WO2005082484A1 (en) 2004-02-09 2005-09-09 Donaldson Company, Inc. Pleated corrugated filter media
WO2005077487A1 (en) 2004-02-10 2005-08-25 Donaldson Company, Inc. Media arrangement; filter constructions; and, methods
ATE477041T1 (de) 2004-02-17 2010-08-15 Donaldson Co Inc Luftreinigeranordnungen, wartungsfähige filterelemente und verfahren
JP4664969B2 (ja) 2004-03-24 2011-04-06 ドナルドソン カンパニー,インコーポレイティド フィルタエレメント、エアクリーナ、組立体および濾過方法
USD506539S1 (en) 2004-03-24 2005-06-21 Donaldson Company, Inc. Filter cartridge
US7905936B2 (en) 2004-04-30 2011-03-15 Donaldson Company, Inc. Filter arrangements; housing; assemblies; and, methods
JP4638495B2 (ja) 2004-06-08 2011-02-23 ドナルドソン カンパニー,インコーポレイティド Z型濾過媒体梱包体構造およびその製造方法
WO2005123222A1 (en) 2004-06-14 2005-12-29 Donaldson Company, Inc. Air filter arrangement; assembly; and, methods
EP1781397B1 (en) 2004-06-18 2013-06-12 Donaldson Company, Inc. Air cleaner arrangements and methods
EP1781398B1 (en) 2004-07-20 2010-02-17 Donaldson Company, Inc. Z-filter media pack arrangement, filter cartridge, air cleaner arrangement and methods
WO2006014941A2 (en) 2004-07-26 2006-02-09 Donaldson Company, Inc. Z-filter media pack arrangement; and, methods
EP1778384B2 (en) 2004-08-06 2017-10-11 Donaldson Company, Inc. Air filter assembly
US20070186528A1 (en) * 2006-02-15 2007-08-16 Baldwin Filters, Inc. Fluted filter apparatus
US20060091061A1 (en) 2004-11-02 2006-05-04 Baldwin Filters, Inc. Filter assembly with sealing system
US20060091064A1 (en) 2004-11-02 2006-05-04 Baldwin Filters, Inc. Filter apparatus with separable seal support frame
US8042694B2 (en) 2004-11-02 2011-10-25 Baldwin Filters, Inc. Gathered filter media for an air filter and method of making same
US20060091084A1 (en) 2004-11-02 2006-05-04 Baldwin Filters, Inc. Fluted filter media with intermediate flow restriction and method of making same
US7931725B2 (en) 2004-11-02 2011-04-26 Baldwin Filters, Inc. Fluted filter apparatus
US20060090431A1 (en) 2004-11-02 2006-05-04 Baldwin Filters, Inc. Filter assembly with combination filter element
US7255300B2 (en) 2004-11-03 2007-08-14 Baldwin Filters, Inc. Method and apparatus for winding a filter media pack
CA2728613C (en) 2004-12-29 2015-06-09 Baldwin Filters, Inc. Filter canister with locking base plate
US8496723B2 (en) 2005-01-13 2013-07-30 Donaldson Company, Inc. Air filter arrangement
US8292983B2 (en) 2005-01-13 2012-10-23 Donaldson Company, Inc. Air filter cartridge and air cleaner assembly
WO2006093960A2 (en) 2005-02-28 2006-09-08 Donaldson Company, Inc. Filter arrangement and methods
DE102005031058A1 (de) * 2005-07-02 2007-01-04 Mahle International Gmbh Filterelement und ein zu dessen Aufnahme geeignetes Filtergehäuse
WO2007009039A1 (en) 2005-07-13 2007-01-18 Donaldson Company, Inc. Air filter cartridge and air filter
EP1937961B1 (en) 2005-10-11 2012-07-11 Donaldson Company, Inc. Air filter cartridge and air cleaner
JP2009515096A (ja) 2005-11-09 2009-04-09 ドナルドソン カンパニー,インコーポレイティド フィルタエレメントのシール構造、フィルタエレメントアッセンブリ及び方法
WO2007084689A2 (en) 2006-01-20 2007-07-26 Donaldson Company, Inc. Air cleaner configured for receipt of various sized filter cartridges; components thereof; and, methods
US7959701B2 (en) 2006-01-23 2011-06-14 Baldwin Filters, Inc. Filter and method
US7753982B2 (en) 2006-02-17 2010-07-13 Baldwin Filters, Inc. Filter with drained jacket, seal indicator/lock means, and seal baffle
US7625419B2 (en) 2006-05-10 2009-12-01 Donaldson Company, Inc. Air filter arrangement; assembly; and, methods
WO2007145939A2 (en) 2006-06-12 2007-12-21 Donaldson Company, Inc. Rolled axial flow filter and methods
DE102006028161A1 (de) * 2006-06-16 2007-12-27 Mann + Hummel Gmbh Kompaktfilterelement mit Ausklopfschutz
WO2007149561A2 (en) 2006-06-22 2007-12-27 Donaldson Company, Inc. Air cleaner arrangements; components thereof; and, methods
US7713321B2 (en) 2006-06-22 2010-05-11 Donaldson Company, Inc. Air cleaner arrangements; components thereof; and, methods
WO2008045325A2 (en) 2006-10-06 2008-04-17 Donaldson Company, Inc. Air cleaner assembly, air cleaner filter cartridge, and method of servicing an air cleaner assembly
US9757676B2 (en) 2006-12-06 2017-09-12 Baldwin Filters, Inc. Method and apparatus for winding a filter element
JP5555493B2 (ja) 2007-02-02 2014-07-23 ドナルドソン カンパニー,インコーポレイティド 空気ろ過用の濾材積層体
WO2008098185A1 (en) 2007-02-09 2008-08-14 Donaldson Company, Inc. Combination filter element
EP2134444B1 (en) 2007-02-26 2018-06-20 Donaldson Company, Inc. Air filter cartridge
US9545593B2 (en) 2007-11-01 2017-01-17 Baldwin Filters, Inc. Winding core pressure relief for fluted filter
US8361181B2 (en) * 2008-06-06 2013-01-29 Donaldson Company, Inc. Air cleaner assemblies; filter cartridges therefor; features; and, methods
US8048187B2 (en) 2008-06-30 2011-11-01 Baldwin Filters, Inc. Filter frame attachment and fluted filter having same
US7972402B2 (en) 2008-07-17 2011-07-05 Mann + Hummel Gmbh Reinforced filter element
US8197687B2 (en) 2008-08-19 2012-06-12 Perry Equipment Corporation Contaminant adsorbent fluted filter element
US8506668B2 (en) 2009-03-30 2013-08-13 Baldwin Filters, Inc. Fluted filter with axial seal

Patent Citations (3)

* Cited by examiner, † Cited by third party
Publication number Priority date Publication date Assignee Title
JPH0952012A (ja) * 1995-08-15 1997-02-25 Nippon Muki Co Ltd フィルタ取付構造
JP2008518755A (ja) * 2004-11-02 2008-06-05 ボールドウィン・フィルターズ・インコーポレーテッド 斜めのシール支持部を有するフィルタエレメント
JP2010012461A (ja) * 2008-06-30 2010-01-21 Baldwin Filters Inc 一体のフレームを有するひだ溝付きフィルタ

Cited By (20)

* Cited by examiner, † Cited by third party
Publication number Priority date Publication date Assignee Title
JP7029485B2 (ja) 2013-06-28 2022-03-03 ドナルドソン カンパニー,インコーポレイティド エアクリーナアセンブリのフィルタカートリッジ
JP2016523705A (ja) * 2013-06-28 2016-08-12 ドナルドソン カンパニー,インコーポレイティド エアクリーナアセンブリのフィルタカートリッジ
JP2019048293A (ja) * 2013-06-28 2019-03-28 ドナルドソン カンパニー,インコーポレイティド フィルタカートリッジ及びエアクリーナアセンブリ
KR20160025563A (ko) * 2013-06-28 2016-03-08 도날드슨 컴파니, 인코포레이티드 에어 클리너 조립체를 위한 필터 카트리지
KR20200060788A (ko) * 2013-06-28 2020-06-01 도날드슨 컴파니, 인코포레이티드 에어 클리너 조립체를 위한 필터 카트리지
KR102116899B1 (ko) * 2013-06-28 2020-06-01 도날드슨 컴파니, 인코포레이티드 에어 클리너 조립체를 위한 필터 카트리지
JP2020127938A (ja) * 2013-06-28 2020-08-27 ドナルドソン カンパニー,インコーポレイティド エアクリーナアセンブリのフィルタカートリッジ
KR20210049955A (ko) * 2013-06-28 2021-05-06 도날드슨 컴파니, 인코포레이티드 에어 클리너 조립체를 위한 필터 카트리지
KR102249334B1 (ko) 2013-06-28 2021-05-10 도날드슨 컴파니, 인코포레이티드 에어 클리너 조립체를 위한 필터 카트리지
KR102299897B1 (ko) 2013-06-28 2021-09-09 도날드슨 컴파니, 인코포레이티드 에어 클리너 조립체를 위한 필터 카트리지
JP2019502049A (ja) * 2015-11-20 2019-01-24 ボールドウィン・フィルターズ・インコーポレーテッドBaldwin Filters Inc 取り付けフレームを有するフィルタ要素
JP2018126733A (ja) * 2017-02-06 2018-08-16 淳靖股▲ふん▼有限公司 濾過芯の取り付け方法
JP2019171386A (ja) * 2018-01-24 2019-10-10 淳靖股▲ふん▼有限公司 フィルタコーンフレーム及びフィルタコーン
JP2022541741A (ja) * 2019-07-26 2022-09-27 ドナルドソン カンパニー,インコーポレイティド フィルタエレメント及びフィルタエレメントの製造方法
JP7655894B2 (ja) 2019-07-26 2025-04-02 ドナルドソン カンパニー,インコーポレイティド フィルタエレメント及びフィルタエレメントの製造方法
US12337270B2 (en) 2019-07-26 2025-06-24 Donaldson Company, Inc. Filter elements and methods of manufacturing filter elements
JP2023516711A (ja) * 2020-03-02 2023-04-20 マン プラス フンメル フィルトレイション テクノロジー ユーエス リミテッド ライアビリティ カンパニー フィルタ組立体
US12036494B2 (en) 2020-03-02 2024-07-16 MANN+HUMMEL Filtration Technology US LLC Filter assembly
JP7592735B2 (ja) 2020-03-02 2024-12-02 マン プラス フンメル フィルトレイション テクノロジー ユーエス リミテッド ライアビリティ カンパニー フィルタ組立体
JP2024503568A (ja) * 2021-01-27 2024-01-26 ドナルドソン カンパニー,インコーポレイティド フィルタエレメント及びフィルタエレメントを製造する方法

Also Published As

Publication number Publication date
EP2140922B1 (en) 2019-10-23
EP2140922A3 (en) 2014-01-15
US8177877B2 (en) 2012-05-15
US20090320424A1 (en) 2009-12-31
BRPI0902069A2 (pt) 2010-04-13
US8048187B2 (en) 2011-11-01
CA2670515C (en) 2019-10-29
US20110226406A1 (en) 2011-09-22
MX2009007027A (es) 2010-01-15
AU2009202238B2 (en) 2013-07-04
CA2670515A1 (en) 2009-12-30
BRPI0902069B1 (pt) 2019-01-15
AU2009202238A1 (en) 2010-01-14
EP2140922A2 (en) 2010-01-06
JP5690054B2 (ja) 2015-03-25

Similar Documents

Publication Publication Date Title
JP5690054B2 (ja) フィルタフレームおよびフィルタフレームを有するひだ溝付きフィルタ
JP2010012461A (ja) 一体のフレームを有するひだ溝付きフィルタ
JP5624602B2 (ja) 軸方向のシールを有する溝付きのフィルタ
KR102253588B1 (ko) 필터 카트리지, 조립체의 특징과 방법, 필터 조립체, 및 필터 카트리지 결합물
EP3413994B1 (en) Panel filter with molded frame and integral seal
CA2585961C (en) Filter element with canted seal support
US9914084B2 (en) Filter arrangements; components; assemblies; and methods
EP4316628A1 (en) Embossed filter media packs
JP2002519169A (ja) フィルタエレメント及びその製造方法

Legal Events

Date Code Title Description
A621 Written request for application examination

Free format text: JAPANESE INTERMEDIATE CODE: A621

Effective date: 20120419

A977 Report on retrieval

Free format text: JAPANESE INTERMEDIATE CODE: A971007

Effective date: 20130307

A131 Notification of reasons for refusal

Free format text: JAPANESE INTERMEDIATE CODE: A131

Effective date: 20130319

A521 Request for written amendment filed

Free format text: JAPANESE INTERMEDIATE CODE: A523

Effective date: 20130611

A131 Notification of reasons for refusal

Free format text: JAPANESE INTERMEDIATE CODE: A131

Effective date: 20140325

A521 Request for written amendment filed

Free format text: JAPANESE INTERMEDIATE CODE: A523

Effective date: 20140611

TRDD Decision of grant or rejection written
A01 Written decision to grant a patent or to grant a registration (utility model)

Free format text: JAPANESE INTERMEDIATE CODE: A01

Effective date: 20150106

A61 First payment of annual fees (during grant procedure)

Free format text: JAPANESE INTERMEDIATE CODE: A61

Effective date: 20150130

R150 Certificate of patent or registration of utility model

Ref document number: 5690054

Country of ref document: JP

Free format text: JAPANESE INTERMEDIATE CODE: R150

R250 Receipt of annual fees

Free format text: JAPANESE INTERMEDIATE CODE: R250

R250 Receipt of annual fees

Free format text: JAPANESE INTERMEDIATE CODE: R250

R250 Receipt of annual fees

Free format text: JAPANESE INTERMEDIATE CODE: R250

R250 Receipt of annual fees

Free format text: JAPANESE INTERMEDIATE CODE: R250

R250 Receipt of annual fees

Free format text: JAPANESE INTERMEDIATE CODE: R250

R250 Receipt of annual fees

Free format text: JAPANESE INTERMEDIATE CODE: R250

R250 Receipt of annual fees

Free format text: JAPANESE INTERMEDIATE CODE: R250

R250 Receipt of annual fees

Free format text: JAPANESE INTERMEDIATE CODE: R250