JP2010009827A - ワイヤハーネス - Google Patents

ワイヤハーネス Download PDF

Info

Publication number
JP2010009827A
JP2010009827A JP2008165716A JP2008165716A JP2010009827A JP 2010009827 A JP2010009827 A JP 2010009827A JP 2008165716 A JP2008165716 A JP 2008165716A JP 2008165716 A JP2008165716 A JP 2008165716A JP 2010009827 A JP2010009827 A JP 2010009827A
Authority
JP
Japan
Prior art keywords
flat cable
press contact
wire
wire harness
slit
Prior art date
Legal status (The legal status is an assumption and is not a legal conclusion. Google has not performed a legal analysis and makes no representation as to the accuracy of the status listed.)
Granted
Application number
JP2008165716A
Other languages
English (en)
Other versions
JP5324840B2 (ja
Inventor
Masayuki Yamamoto
聖享 山本
Current Assignee (The listed assignees may be inaccurate. Google has not performed a legal analysis and makes no representation or warranty as to the accuracy of the list.)
Yazaki Corp
Original Assignee
Yazaki Corp
Priority date (The priority date is an assumption and is not a legal conclusion. Google has not performed a legal analysis and makes no representation as to the accuracy of the date listed.)
Filing date
Publication date
Application filed by Yazaki Corp filed Critical Yazaki Corp
Priority to JP2008165716A priority Critical patent/JP5324840B2/ja
Priority to US12/457,635 priority patent/US8022300B2/en
Publication of JP2010009827A publication Critical patent/JP2010009827A/ja
Application granted granted Critical
Publication of JP5324840B2 publication Critical patent/JP5324840B2/ja
Expired - Fee Related legal-status Critical Current
Anticipated expiration legal-status Critical

Links

Images

Classifications

    • HELECTRICITY
    • H01ELECTRIC ELEMENTS
    • H01RELECTRICALLY-CONDUCTIVE CONNECTIONS; STRUCTURAL ASSOCIATIONS OF A PLURALITY OF MUTUALLY-INSULATED ELECTRICAL CONNECTING ELEMENTS; COUPLING DEVICES; CURRENT COLLECTORS
    • H01R12/00Structural associations of a plurality of mutually-insulated electrical connecting elements, specially adapted for printed circuits, e.g. printed circuit boards [PCB], flat or ribbon cables, or like generally planar structures, e.g. terminal strips, terminal blocks; Coupling devices specially adapted for printed circuits, flat or ribbon cables, or like generally planar structures; Terminals specially adapted for contact with, or insertion into, printed circuits, flat or ribbon cables, or like generally planar structures
    • H01R12/50Fixed connections
    • H01R12/59Fixed connections for flexible printed circuits, flat or ribbon cables or like structures
    • H01R12/65Fixed connections for flexible printed circuits, flat or ribbon cables or like structures characterised by the terminal
    • H01R12/67Fixed connections for flexible printed circuits, flat or ribbon cables or like structures characterised by the terminal insulation penetrating terminals
    • H01R12/675Fixed connections for flexible printed circuits, flat or ribbon cables or like structures characterised by the terminal insulation penetrating terminals with contacts having at least a slotted plate for penetration of cable insulation, e.g. insulation displacement contacts for round conductor flat cables

Landscapes

  • Insulated Conductors (AREA)
  • Coupling Device And Connection With Printed Circuit (AREA)
  • Multi-Conductor Connections (AREA)
  • Connections By Means Of Piercing Elements, Nuts, Or Screws (AREA)

Abstract

【課題】電線ピッチと端子ピッチとが互いに異なるフラットケーブルと複数の圧接刃とを接続することが可能なワイヤハーネスを提供する。
【解決手段】ワイヤハーネス1は、複数の電線5と互いに隣り合う電線5同士を連結した連結部6とを有するフラットケーブル2と、フラットケーブル2の幅方向に沿って複数並べられ、フラットケーブル2の長手方向の中間部に突き刺さって電線5の芯線21に接触した複数の圧接刃30と、を有している。連結部6の前記中間部に位置する部分にはスリット7が設けられ、複数の電線5の前記中間部に位置する部分同士が、スリット7の幅を狭める格好で互いに近付けられることで圧接刃30に電気接続可能な位置に位置付けられている。
【選択図】図1

Description

本発明は、自動車などに配索されて各種電子機器に電力や信号を伝送するワイヤハーネスに関するものである。
種々の電子機器が搭載される自動車には、これら電子機器に電力や信号を伝送するワイヤハーネスが配索されている。このワイヤハーネスは、例えば、複数の電線と、複数の端子を有するコネクタなどを有している。前記端子は、前記電線と他の電線とを接続したり、前記電線と電子機器とを接続したりするためのものである。
また、前述した電線として、複数の電線同士が連結部により一体に形成されたフラットケーブルを用いることがある。そして、前記フラットケーブルの電線と他の電線とを接続する場合や、前記フラットケーブルの電線と電子機器とを接続する場合には、「圧接端子」と呼ばれる端子が用いられる(例えば、特許文献1を参照)。
図11は従来のワイヤハーネスのフラットケーブルに圧接刃が突き刺される前の状態を示す断面図である。図12は図11に示されたフラットケーブルに圧接刃が突き刺された状態を示す断面図である。
図11及び図12に示すワイヤハーネス301は、複数の電線305と互いに隣り合う電線305同士を連結した連結部306とを有するフラットケーブル302と、電子機器のハウジング304に取り付けられた複数の圧接端子303と、を有している。
前記フラットケーブル302の電線305は、導電性の芯線321と、芯線321を被覆した被覆部322と、を有している。また、前記被覆部322と前記連結部306とは、絶縁性の合成樹脂で構成され、互いに一体に形成されている。このようなフラットケーブル302は、帯状に形成されており、可撓性を有している。
前記複数の圧接端子303は、導電性の金属板にプレス加工が施されるなどして得られるものであり、前記電子機器の回路に接続された接続部(不図示)と、前記電子機器のハウジングから突出し、フラットケーブル302に突き刺さって前記芯線321に接触する圧接刃330と、を有している。この圧接刃330は、互いの間に芯線321を位置付けるための間隔が設けられた一対の刃部331と、これら刃部331のハウジング寄りの端部同士を連結した刃部連結部333と、を有している。また、これら複数の圧接刃330は、フラットケーブル302の幅方向に沿った間隔が変化することを規制された状態で前記幅方向に沿って並べられている。
また、前述したフラットケーブル302の、互いに隣り合う芯線321の中心間の間隔P6と、互いに隣り合う圧接刃330の中心間の間隔P5と、は、等しく形成されている。
上記構成のワイヤハーネス301は、図11に示すように、フラットケーブル302の長手方向の中間部における各芯線321の中心と各圧接刃330の中心とが位置合わせされ、そして、図12に示すように、フラットケーブル302と複数の圧接刃330とが互いに近付けられこれら圧接刃330がフラットケーブル302に突き刺されて各圧接刃330が各芯線321に接触することで、前記中間部における各電線305と各圧接端子303とが互いに電気接続される。
特開2008−53200号公報
前述したように、ワイヤハーネス301においては、互いに隣り合う芯線321の中心間の間隔P6、即ち電線ピッチ、と、互いに隣り合う圧接刃330の中心間の間隔P5、即ち端子ピッチ、とが等しくなるように設計するのが最も理想的であった。しかしながら、前記電子機器の小型化やフラットケーブル302の細線化により、前記電線ピッチと前記端子ピッチとを等しくすることが困難になってきているという問題があった。
また、圧接刃330をフラットケーブル302に突き刺す際には大きな力が必要であることから、前記電子機器の小型化やフラットケーブル302の細線化によって圧接刃330を小型化すると、この圧接刃330をフラットケーブル302に突き刺す際に圧接刃330が曲がってしまったり、圧接刃330と電線305とが位置ずれしてしまったりすることが起こり得るという問題があった。
また、前述した問題は、複数の圧接端子303がコネクタのハウジングに取り付けられている場合にも同様に生じる問題である。
したがって、本発明は、複数の電線が連結部によって一体に形成されたフラットケーブルと前記電線に接続される複数の圧接刃とを有するワイヤハーネスにおいて、電線ピッチと端子ピッチとが互いに異なるフラットケーブルと複数の圧接刃とを接続することが可能なワイヤハーネスを提供することを目的とする。
上記目的を達成するために、請求項1に記載された発明は、複数の電線と互いに隣り合う前記電線同士を連結した連結部とを有するフラットケーブルと、前記フラットケーブルの幅方向に沿った間隔が変化することを規制された状態で前記幅方向に沿って複数並べられ、前記フラットケーブルの長手方向の中間部に突き刺さって前記電線の芯線に接触した複数の圧接刃と、を有するワイヤハーネスであって、前記連結部の前記中間部に位置する部分にスリットが設けられ、そして、前記複数の電線の前記中間部に位置する部分同士が、前記スリットの幅を狭める格好で互いに近付けられることで前記圧接刃に電気接続可能な位置に位置付けられていることを特徴とするワイヤハーネスである。
請求項2に記載された発明は、請求項1に記載された発明において、前記圧接刃の一部が前記スリット内に位置付けられていることを特徴とするものである。
請求項3に記載された発明は、請求項1または請求項2に記載された発明において、前記圧接刃が、鋭角に形成され、前記中間部に突き刺さる際に前記スリット内を通される先端部を有していることを特徴とするものである。
請求項4に記載された発明は、請求項1ないし請求項3のうち1項に記載された発明において、前記フラットケーブルの幅方向に沿って互いに隣り合う前記圧接刃同士が、前記フラットケーブルの長手方向に沿って位置ずれした位置に配置されるとともに、これら互いに隣り合う圧接刃の中心間の間隔が当該圧接刃の幅よりも小さくなる位置に配置されていることを特徴とするものである。
請求項1に記載された発明によれば、前記連結部の前記中間部に位置する部分にスリットが設けられ、そして、前記複数の電線の前記中間部に位置する部分同士が、前記スリットの幅を狭める格好で互いに近付けられることで前記圧接刃に電気接続可能な位置に位置付けられているので、電線ピッチと端子ピッチとが互いに異なるフラットケーブルと圧接刃とを接続することが可能なワイヤハーネスを提供することができる。
請求項2に記載された発明によれば、前記圧接刃の一部が前記スリット内に位置付けられているので、圧接刃をフラットケーブルに突き刺す際に大きな力は必要なくなり、そのために、圧接刃を小型化しても、圧接刃をフラットケーブルに突き刺す際に圧接刃が曲がったり、圧接刃と電線とが位置ずれすることを防止できる。
請求項3に記載された発明によれば、前記圧接刃が、鋭角に形成され、前記中間部に突き刺さる際に前記スリット内を通される先端部を有しているので、圧接刃をフラットケーブルに突き刺す際に大きな力は必要なくなり、そのために、圧接刃を小型化しても、圧接刃をフラットケーブルに突き刺す際に圧接刃が曲がったり、圧接刃と電線とが位置ずれすることを防止できる。
請求項4に記載された発明によれば、前記フラットケーブルの幅方向に沿って互いに隣り合う前記圧接刃同士が、前記フラットケーブルの長手方向に沿って位置ずれした位置に配置されるとともに、これら互いに隣り合う圧接刃の中心間の間隔が当該圧接刃の幅よりも小さくなる位置に配置されているので、互いに隣り合う圧接刃の中心間の間隔、即ち端子ピッチ、を小さくすることができる。
(第1の実施形態)
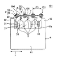
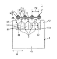
以下、本発明の第1の実施形態に係るワイヤハーネスを図1ないし図6を用いて説明する。図1は本発明の第1の実施形態に係るワイヤハーネスを示す斜視図である。図2は図1に示されたワイヤハーネスのフラットケーブルに圧接刃が突き刺される前の状態を示す斜視図である。図3は図2中のA−A線に沿った断面図である。図4は図2中のB−B線に沿った断面図である。図5は図4に示されたフラットケーブルの中間部の幅が狭められた状態を示す断面図である。図6は図1中のC−C線に沿った断面図である。
本発明のワイヤハーネス1は、自動車の車体に配索されて前記自動車に搭載された電子機器に電力供給や信号伝送を行うものである。このワイヤハーネス1は、図1及び図2に示すように、フラットケーブル2と、前記電子機器としてのルームランプのハウジング4に取り付けられ、前記フラットケーブル2の長手方向の中間部に接続された複数の圧接端子3と、を有している。また、図1ないし図6中の矢印Nは、フラットケーブル2の長手方向を示しており、矢印Hは、フラットケーブル2の幅方向を示している。
上記フラットケーブル2は、図3及び図4などに示すように、互いに平行かつ等間隔に配置された複数の電線5と、互いに隣り合う電線5同士を連結した連結部6と、を有している。前記電線5は、導電性の芯線21と、この芯線21を被覆した被覆部22と、を有している。また、前記被覆部22と前記連結部6とは、絶縁性の合成樹脂で構成され、互いに一体に形成されている。このようなフラットケーブル2は、帯状に形成されており、可撓性を有している。
上記フラットケーブル2は、互いに隣り合う電線5の芯線21の中心間の間隔(図3などにP2で示す。)が互いに等しく形成されている。また、各連結部6の前記中間部に位置する部分には、フラットケーブル2の長手方向に沿って延びたスリット7が設けられている。また、スリット7は、フラットケーブル2の厚み方向に沿って連結部6を貫通している。
上記複数の圧接端子3は、導電性の金属板にプレス加工が施されるなどして得られるものであり、それぞれ、前記ルームランプの回路に接続された接続部(不図示)と、前記ハウジング4の平らな外表面41aから突出し、フラットケーブル2に突き刺さって前記芯線21に接触する圧接刃30と、を有している。
上記圧接刃30は、前記中間部に突き刺さった状態で互いの間に芯線21を位置付けるための間隔が設けられた一対の刃部31と、これら刃部31の前記外表面41a寄りの一端部同士を連結した刃部連結部33と、を有している。また、各刃部31は、その他端部に、鋭角に形成され、前記中間部に突き刺さる際に前記スリット7内を通される先端部32を有している(図5を参照。)。このような圧接刃30は、図1及び図6に示すように前記中間部に突き刺された状態で、その一部がスリット7内に位置付けられる。
また、上記複数の圧接刃30は、フラットケーブル2の幅方向に沿った間隔が変化することを規制された状態で前記幅方向に沿って並べられている。即ち、複数の圧接刃30は、ハウジング4に固定されている。
さらに、上記複数の圧接刃30は、フラットケーブル2の幅方向に沿って互いに隣り合う圧接刃30同士が、フラットケーブル2の長手方向に沿って位置ずれした位置に配置されるとともに、これら互いに隣り合う圧接刃30の中心間の間隔(図3などにP1で示す。)が当該圧接刃30の幅よりも小さくなる位置に配置されている。即ち、前記幅方向に沿って互いに隣り合う圧接刃30同士は、刃部31同士がラップする位置に配置されている。また、複数の圧接刃30は、前記幅方向に沿って互いに隣り合う圧接刃30の中心間の間隔(図3などにP1で示す。)が互いに等しく形成されている。
さらに、前述したフラットケーブル2は、圧接端子3に接続される前の状態において、互いに隣り合う電線5の芯線21の中心間の間隔、即ち電線ピッチ、P2が、図3及び図4に示すように、複数の圧接端子3の互いに隣り合う圧接刃30の中心間の間隔、即ち端子ピッチ、P1よりも大きく形成されている。
上記ハウジング4は、絶縁性の合成樹脂で構成されており、ブロック状の本体部41と、本体部41の上面即ち前記外表面41aから立設した一対の立設壁42と、を有している。また、一対の立設壁42は、本体部41の矢印Hに沿った両端部それぞれから立設し、矢印Nに沿って延びている。前述したフラットケーブル2は、複数の圧接端子3が突き刺された状態で、前記中間部が外表面41a上に位置付けられかつ一対の立設壁42間に位置付けられる。
前述したフラットケーブル2の複数の電線5の前記中間部に位置する部分に各圧接端子3を接続させる際には、図5に示すように、複数の電線5の前記中間部に位置する部分同士を各スリット7の幅を狭める格好で互いに近付けて、即ち前記中間部を変形させて、各芯線21の中心を各圧接刃30の中心上に位置付ける。また、この状態で、各スリット7が各圧接刃30の先端部32上に位置付けられる。
そして、このフラットケーブル2と複数の圧接刃30とを互いに近付けて各圧接刃30を前記中間部に突き刺す。この際、圧接刃30は、初めに先端部32がスリット7内を通され、そして、フラットケーブル2が外表面41aに近付くにしたがって先端部32よりも刃部連結部33側の部分が、スリット7の外側の連結部6及び被覆部22に切り込んで芯線21に達する。
こうして、図6に示すように、圧接刃30の一対の刃部31の内縁部それぞれが、芯線21に接触して、各圧接刃30と各電線5の芯線21とが互いに電気接続される。また、特許請求の範囲に記載した、「電線5が圧接刃30に電気接続可能な位置に位置付けられる」とは、図6に示す状態であり、フラットケーブル2の中間部の電線ピッチが端子ピッチと等しくされた状態で、各電線5の芯線21が一対の刃部31間に位置付けられて該刃部31に接触した状態を言う。
本発明によれば、フラットケーブル2の連結部6の中間部に位置する部分にスリット7が設けられ、そして、複数の電線5の前記中間部に位置する部分同士が、スリット7の幅を狭める格好で互いに近付けられることで圧接刃30に電気接続可能な位置に位置付けられているので、電線ピッチと端子ピッチとが互いに異なるフラットケーブル2と圧接刃30とを接続することが可能になる。
また、圧接刃30が、鋭角に形成され、前記中間部に突き刺さる際にスリット7内を通される先端部32を有しているので、圧接刃30をフラットケーブル2に突き刺す際に大きな力は必要なくなり、そのために、圧接刃30を小型化しても、圧接刃30をフラットケーブル2に突き刺す際に圧接刃30が曲がったり、圧接刃30と電線5とが位置ずれすることを防止できる。
また、フラットケーブル2の幅方向に沿って互いに隣り合う圧接刃30同士が、フラットケーブル2の長手方向に沿って位置ずれした位置に配置されるとともに、これら互いに隣り合う圧接刃30の中心間の間隔P1が当該圧接刃30の幅よりも小さくなる位置に配置されているので、互いに隣り合う圧接刃30の中心間の間隔、即ち端子ピッチ、P1を小さくすることができる。
以上のことから、本発明では、小型化された電子機器に対応可能、即ち端子ピッチが小さい複数の圧接端子3に接続可能で、電線ピッチが小さく軽量なフラットケーブル2を有するワイヤハーネス1を提供することができる。
(第2の実施形態)
続いて、本発明の第2の実施形態に係るワイヤハーネスを図7ないし図10を用いて説明する。図7は本発明の第2の実施形態に係るワイヤハーネスを示す断面図であり、フラットケーブルの端部を示す断面図である。図8は図7に示されたワイヤハーネスを示す断面図であり、図7に示されたフラットケーブルの中間部を示す断面図である。図9は図8に示されたフラットケーブルの中間部の幅が狭められた状態を示す断面図である。図10は図9に示されたフラットケーブルの中間部に圧接刃が突き刺された状態を示す断面図である。また、図7ないし図10において、前述した第1の実施形態と同一構成部分には同一符号を付して説明を省略する。
本実施形態のワイヤハーネス101は、図7ないし図10に示すように、フラットケーブル102と、前記フラットケーブル102の長手方向の中間部に接続された複数の圧接端子3と、を有している。
上記フラットケーブル102は、互いに平行かつ等間隔に配置された複数の電線5と、互いに隣り合う電線5同士を連結した連結部106と、を有している。また、各連結部106の前記中間部に位置する部分には、フラットケーブル102の長手方向に沿って延びたスリット7が設けられている(図8を参照。)。また、フラットケーブル102は、互いに隣り合う電線5の芯線21の中心間の間隔(図7などにP3で示す。)が互いに等しく形成されている。また、フラットケーブル102の互いに隣り合う電線5の芯線21の中心間の間隔、即ち電線ピッチ、P3は、複数の圧接端子3の端子ピッチP1及び第1の実施形態で示したフラットケーブル2の電線ピッチP2よりも大きく形成されている。
前述したフラットケーブル102の複数の電線5の前記中間部に位置する部分に各圧接端子3を接続させる際には、図9に示すように、複数の電線5の前記中間部に位置する部分同士を各スリット7の幅を狭める格好で互いに近付けるとともに前記部分を矢印Hに対して傾けて、即ち前記中間部を変形させて、各芯線21の中心を各圧接刃30の中心上に位置付ける。この状態で、連結部106の互いの間にスリット7を位置付ける部分同士が重なる。
そして、このフラットケーブル102と複数の圧接刃30とを互いに近付けて各圧接刃30を前記中間部に突き刺す。こうして、図10に示すように、圧接刃30の一対の刃部31の内縁部それぞれが、芯線21に接触して、各圧接刃30と各電線5の芯線21とが互いに電気接続される。
前述したように、本実施形態では、複数の電線5の前記中間部に位置する部分同士を各スリット7の幅を狭める格好で互いに近付けるとともに前記部分を矢印Hに対して傾けて、連結部106の互いの間にスリット7を位置付ける部分同士を重ねることで、フラットケーブル102の中間部の幅、即ち中間部における電線ピッチ、を第1の実施形態よりもさらに多く詰めることができる。
また、前述した第1,第2の実施形態では、複数の圧接端子3が電子機器としてのルームランプのハウジング4に取り付けられていたが、本発明では、複数の圧接端子3が、コネクタのハウジングに取り付けられていても良い。
また、前述した第1,第2の実施形態では、ワイヤハーネス1,101が圧接刃30を有する圧接端子3を有していたが、本発明では、ワイヤハーネスが必ずしも圧接端子3を有していなくても良く、例えば、圧接刃30を有するバスバを有した構成であっても良い。
なお、前述した実施形態は本発明の代表的な形態を示したに過ぎず、本発明は、実施形態に限定されるものではない。即ち、本発明の骨子を逸脱しない範囲で種々変形して実施することができる。
本発明の第1の実施形態に係るワイヤハーネスを示す斜視図である。 図1に示されたワイヤハーネスのフラットケーブルに圧接刃が突き刺される前の状態を示す斜視図である。 図2中のA−A線に沿った断面図である。 図2中のB−B線に沿った断面図である。 図4に示されたフラットケーブルの中間部の幅が狭められた状態を示す断面図である。 図1中のC−C線に沿った断面図である。 本発明の第2の実施形態に係るワイヤハーネスを示す断面図であり、フラットケーブルの端部を示す断面図である。 図7に示されたワイヤハーネスを示す断面図であり、図7に示されたフラットケーブルの中間部を示す断面図である。 図8に示されたフラットケーブルの中間部の幅が狭められた状態を示す断面図である。 図9に示されたフラットケーブルの中間部に圧接刃が突き刺された状態を示す断面図である。 従来のワイヤハーネスのフラットケーブルに圧接刃が突き刺される前の状態を示す断面図である。 図11に示されたフラットケーブルに圧接刃が突き刺された状態を示す断面図である。
符号の説明
1,101 ワイヤハーネス
2,2,102 フラットケーブル
5 電線
6,106 連結部
7 スリット
21 芯線
30 圧接刃
32 先端部

Claims (4)

  1. 複数の電線と互いに隣り合う前記電線同士を連結した連結部とを有するフラットケーブルと、前記フラットケーブルの幅方向に沿った間隔が変化することを規制された状態で前記幅方向に沿って複数並べられ、前記フラットケーブルの長手方向の中間部に突き刺さって前記電線の芯線に接触した複数の圧接刃と、を有するワイヤハーネスであって、
    前記連結部の前記中間部に位置する部分にスリットが設けられ、そして、前記複数の電線の前記中間部に位置する部分同士が、前記スリットの幅を狭める格好で互いに近付けられることで前記圧接刃に電気接続可能な位置に位置付けられていることを特徴とするワイヤハーネス。
  2. 前記圧接刃の一部が前記スリット内に位置付けられていることを特徴とする請求項1に記載のワイヤハーネス。
  3. 前記圧接刃が、鋭角に形成され、前記中間部に突き刺さる際に前記スリット内を通される先端部を有していることを特徴とする請求項1または請求項2に記載のワイヤハーネス。
  4. 前記フラットケーブルの幅方向に沿って互いに隣り合う前記圧接刃同士が、前記フラットケーブルの長手方向に沿って位置ずれした位置に配置されるとともに、これら互いに隣り合う圧接刃の中心間の間隔が当該圧接刃の幅よりも小さくなる位置に配置されていることを特徴とする請求項1ないし請求項3のうち1項に記載のワイヤハーネス。
JP2008165716A 2008-06-25 2008-06-25 ワイヤハーネス Expired - Fee Related JP5324840B2 (ja)

Priority Applications (2)

Application Number Priority Date Filing Date Title
JP2008165716A JP5324840B2 (ja) 2008-06-25 2008-06-25 ワイヤハーネス
US12/457,635 US8022300B2 (en) 2008-06-25 2009-06-17 Wiring harness

Applications Claiming Priority (1)

Application Number Priority Date Filing Date Title
JP2008165716A JP5324840B2 (ja) 2008-06-25 2008-06-25 ワイヤハーネス

Publications (2)

Publication Number Publication Date
JP2010009827A true JP2010009827A (ja) 2010-01-14
JP5324840B2 JP5324840B2 (ja) 2013-10-23

Family

ID=41446040

Family Applications (1)

Application Number Title Priority Date Filing Date
JP2008165716A Expired - Fee Related JP5324840B2 (ja) 2008-06-25 2008-06-25 ワイヤハーネス

Country Status (2)

Country Link
US (1) US8022300B2 (ja)
JP (1) JP5324840B2 (ja)

Cited By (2)

* Cited by examiner, † Cited by third party
Publication number Priority date Publication date Assignee Title
WO2019044425A1 (ja) * 2017-08-30 2019-03-07 株式会社村田製作所 多層基板及びアンテナモジュール
CN109478738A (zh) * 2016-07-12 2019-03-15 株式会社自动网络技术研究所 连接器及具备该连接器的电连接组件

Families Citing this family (4)

* Cited by examiner, † Cited by third party
Publication number Priority date Publication date Assignee Title
US8701966B2 (en) * 2012-01-24 2014-04-22 Apple Inc. Induction bonding
US8946551B2 (en) * 2013-04-11 2015-02-03 Honda Motor Co., Ltd. Floor wire harness package assembly and installation methods
DE102013012251A1 (de) * 2013-07-24 2015-01-29 Erni Production Gmbh & Co. Kg Terminal zur Kontaktierung eines elektrischen Leiters
JP6251540B2 (ja) * 2013-10-23 2017-12-20 矢崎総業株式会社 圧接構造

Citations (6)

* Cited by examiner, † Cited by third party
Publication number Priority date Publication date Assignee Title
JPH02201881A (ja) * 1989-01-31 1990-08-10 Fujitsu Ltd コネクタ
JP2001250620A (ja) * 2000-03-02 2001-09-14 Yazaki Corp フラット回路体への分岐コネクタの取付構造及び取付方法
JP2002231064A (ja) * 2001-02-01 2002-08-16 Auto Network Gijutsu Kenkyusho:Kk フラットケーブルとそのスリットの形成方法
JP2004165133A (ja) * 2002-09-27 2004-06-10 Fujikura Ltd フラットハーネス
JP2004213966A (ja) * 2002-12-27 2004-07-29 Furukawa Electric Co Ltd:The フラットケーブルへの圧接端子接続用治具及びフラットケーブルと圧接端子との接続部
JP2008053200A (ja) * 2006-07-27 2008-03-06 Kotohira Kogyo Kk コネクタユニット及びその製造方法

Family Cites Families (12)

* Cited by examiner, † Cited by third party
Publication number Priority date Publication date Assignee Title
JPH1139953A (ja) 1997-07-25 1999-02-12 Advanced Display:Kk フレキシブルフラットケーブル
JPH11178174A (ja) * 1997-12-10 1999-07-02 Yazaki Corp 電線保持具
JP3346349B2 (ja) * 1999-08-23 2002-11-18 住友電装株式会社 プロテクタ内への長尺電線の収容構造
DE60334955D1 (de) * 2002-05-14 2010-12-30 Honda Motor Co Ltd Kabelbaumschutz
JP3966408B2 (ja) 2002-09-24 2007-08-29 矢崎総業株式会社 フラットケーブルの屈曲方法及び該屈曲方法によって屈曲させたフラットケーブル
US6972375B2 (en) * 2002-10-21 2005-12-06 Denso Corporation Wiring harness
JP2004206992A (ja) 2002-12-25 2004-07-22 Auto Network Gijutsu Kenkyusho:Kk フラットケーブル用コネクタ
JP4094567B2 (ja) 2004-02-23 2008-06-04 勝也 広繁 引き揃え導電線を用いた配線基板
JP2006066153A (ja) 2004-08-25 2006-03-09 Niles Co Ltd フラットケーブル
CA2597580C (en) * 2005-02-14 2014-11-18 Intier Automotive Inc. Trim panel with wiring harness and method of making the same
JP4776942B2 (ja) * 2005-02-21 2011-09-21 矢崎総業株式会社 ワイヤーハーネスおよびワイヤーハーネスの積層方法
US7514630B2 (en) * 2006-10-11 2009-04-07 Gary Anderson Removable harness for disentangling wires

Patent Citations (6)

* Cited by examiner, † Cited by third party
Publication number Priority date Publication date Assignee Title
JPH02201881A (ja) * 1989-01-31 1990-08-10 Fujitsu Ltd コネクタ
JP2001250620A (ja) * 2000-03-02 2001-09-14 Yazaki Corp フラット回路体への分岐コネクタの取付構造及び取付方法
JP2002231064A (ja) * 2001-02-01 2002-08-16 Auto Network Gijutsu Kenkyusho:Kk フラットケーブルとそのスリットの形成方法
JP2004165133A (ja) * 2002-09-27 2004-06-10 Fujikura Ltd フラットハーネス
JP2004213966A (ja) * 2002-12-27 2004-07-29 Furukawa Electric Co Ltd:The フラットケーブルへの圧接端子接続用治具及びフラットケーブルと圧接端子との接続部
JP2008053200A (ja) * 2006-07-27 2008-03-06 Kotohira Kogyo Kk コネクタユニット及びその製造方法

Cited By (2)

* Cited by examiner, † Cited by third party
Publication number Priority date Publication date Assignee Title
CN109478738A (zh) * 2016-07-12 2019-03-15 株式会社自动网络技术研究所 连接器及具备该连接器的电连接组件
WO2019044425A1 (ja) * 2017-08-30 2019-03-07 株式会社村田製作所 多層基板及びアンテナモジュール

Also Published As

Publication number Publication date
US8022300B2 (en) 2011-09-20
US20090321131A1 (en) 2009-12-31
JP5324840B2 (ja) 2013-10-23

Similar Documents

Publication Publication Date Title
US7442097B2 (en) Method for forming a terminal metal and terminal metal formed by the method
JP5324840B2 (ja) ワイヤハーネス
JP4440160B2 (ja) コネクタ
US7316581B2 (en) Terminal fitting and method of attaching the same
US20120149233A1 (en) Terminal structure and electrical connector using the same
JP4592460B2 (ja) 端子金具
CN104040793B (zh) 带端子电线
JP6062212B2 (ja) 端子付き電線、及び端子付き電線の製造方法
US6325657B1 (en) Contact element for connecting a ribbon cable with circular conductors and rotary connector with such contact element
JP4977768B2 (ja) 複数種の端子金具の製造方法
JP3875864B2 (ja) 端子金具
JP2002015788A (ja) 圧接ジョイントコネクタ
JP5979427B2 (ja) 導電体
JP2010067478A (ja) 端子金具及び端子金具付き電線
JP4963235B2 (ja) 制御回路内蔵ユニット
JP4509866B2 (ja) 端子金具
JP2006236873A (ja) 端子金具の製造方法及び該端子金具
JP5589957B2 (ja) 圧接端子
JP3852920B2 (ja) ピアシング端子の接続構造
JP2008048532A (ja) 電気接続箱へのフラットケーブル接続構造および接続方法
JP3875036B2 (ja) 配線材の端子構造
JP5041820B2 (ja) 端子付きフラットケーブル
JP4520921B2 (ja) 端子金具の製造方法及び該端子金具
JP5195191B2 (ja) 端子金具及び端子金具付き電線
JP4856256B2 (ja) 端子金具の製造方法

Legal Events

Date Code Title Description
A621 Written request for application examination

Free format text: JAPANESE INTERMEDIATE CODE: A621

Effective date: 20110428

A131 Notification of reasons for refusal

Free format text: JAPANESE INTERMEDIATE CODE: A131

Effective date: 20130423

A521 Request for written amendment filed

Free format text: JAPANESE INTERMEDIATE CODE: A523

Effective date: 20130605

TRDD Decision of grant or rejection written
A01 Written decision to grant a patent or to grant a registration (utility model)

Free format text: JAPANESE INTERMEDIATE CODE: A01

Effective date: 20130625

A61 First payment of annual fees (during grant procedure)

Free format text: JAPANESE INTERMEDIATE CODE: A61

Effective date: 20130719

R150 Certificate of patent or registration of utility model

Ref document number: 5324840

Country of ref document: JP

Free format text: JAPANESE INTERMEDIATE CODE: R150

Free format text: JAPANESE INTERMEDIATE CODE: R150

R250 Receipt of annual fees

Free format text: JAPANESE INTERMEDIATE CODE: R250

R250 Receipt of annual fees

Free format text: JAPANESE INTERMEDIATE CODE: R250

R250 Receipt of annual fees

Free format text: JAPANESE INTERMEDIATE CODE: R250

R250 Receipt of annual fees

Free format text: JAPANESE INTERMEDIATE CODE: R250

R250 Receipt of annual fees

Free format text: JAPANESE INTERMEDIATE CODE: R250

R250 Receipt of annual fees

Free format text: JAPANESE INTERMEDIATE CODE: R250

R250 Receipt of annual fees

Free format text: JAPANESE INTERMEDIATE CODE: R250

S531 Written request for registration of change of domicile

Free format text: JAPANESE INTERMEDIATE CODE: R313531

R350 Written notification of registration of transfer

Free format text: JAPANESE INTERMEDIATE CODE: R350

R250 Receipt of annual fees

Free format text: JAPANESE INTERMEDIATE CODE: R250

LAPS Cancellation because of no payment of annual fees