JP2010009142A - タッチパネル - Google Patents

タッチパネル Download PDF

Info

Publication number
JP2010009142A
JP2010009142A JP2008164971A JP2008164971A JP2010009142A JP 2010009142 A JP2010009142 A JP 2010009142A JP 2008164971 A JP2008164971 A JP 2008164971A JP 2008164971 A JP2008164971 A JP 2008164971A JP 2010009142 A JP2010009142 A JP 2010009142A
Authority
JP
Japan
Prior art keywords
transparent conductive
conductive film
axis
electrode pair
voltage
Prior art date
Legal status (The legal status is an assumption and is not a legal conclusion. Google has not performed a legal analysis and makes no representation as to the accuracy of the status listed.)
Granted
Application number
JP2008164971A
Other languages
English (en)
Other versions
JP5106268B2 (ja
JP2010009142A5 (ja
Inventor
Takashi Nakajima
孝 中島
Current Assignee (The listed assignees may be inaccurate. Google has not performed a legal analysis and makes no representation or warranty as to the accuracy of the list.)
FCL Components Ltd
Original Assignee
Fujitsu Component Ltd
Priority date (The priority date is an assumption and is not a legal conclusion. Google has not performed a legal analysis and makes no representation as to the accuracy of the date listed.)
Filing date
Publication date
Application filed by Fujitsu Component Ltd filed Critical Fujitsu Component Ltd
Priority to JP2008164971A priority Critical patent/JP5106268B2/ja
Priority to TW098112877A priority patent/TWI405115B/zh
Priority to US12/483,468 priority patent/US9547404B2/en
Publication of JP2010009142A publication Critical patent/JP2010009142A/ja
Publication of JP2010009142A5 publication Critical patent/JP2010009142A5/ja
Application granted granted Critical
Publication of JP5106268B2 publication Critical patent/JP5106268B2/ja
Expired - Fee Related legal-status Critical Current
Anticipated expiration legal-status Critical

Links

Images

Classifications

    • GPHYSICS
    • G06COMPUTING OR CALCULATING; COUNTING
    • G06FELECTRIC DIGITAL DATA PROCESSING
    • G06F3/00Input arrangements for transferring data to be processed into a form capable of being handled by the computer; Output arrangements for transferring data from processing unit to output unit, e.g. interface arrangements
    • G06F3/01Input arrangements or combined input and output arrangements for interaction between user and computer
    • G06F3/03Arrangements for converting the position or the displacement of a member into a coded form
    • G06F3/041Digitisers, e.g. for touch screens or touch pads, characterised by the transducing means
    • G06F3/045Digitisers, e.g. for touch screens or touch pads, characterised by the transducing means using resistive elements, e.g. a single continuous surface or two parallel surfaces put in contact

Landscapes

  • Engineering & Computer Science (AREA)
  • General Engineering & Computer Science (AREA)
  • Theoretical Computer Science (AREA)
  • Human Computer Interaction (AREA)
  • Physics & Mathematics (AREA)
  • General Physics & Mathematics (AREA)
  • Position Input By Displaying (AREA)

Abstract

【課題】マルチタッチ操作により生じる複数の押下位置情報を認識し識別することができるアナログ抵抗膜式のタッチパネルを実現する。
【解決手段】アナログ抵抗膜式のタッチパネル1は、第1の部材上において一方向に配列された複数の透明導電膜領域であって、各透明導電膜領域は第2の部材への対向面側にそれぞれ成膜され、隣接する透明導電膜領域間は電気的に絶縁される透明導電膜領域と、各透明導電膜領域にそれぞれ設けられる駆動用電極対と、第1の部材への対向面側に透明導電膜が成膜された第2の部材上に設けられる検出用電極対であって、検出用電極対を構成する各電極の向かい合う方向が、駆動用電極対を構成する各電極が向かい合う方向に直交するよう設けられる検出用電極対と、検出用電極対を介して検出された電圧値に基づいて、複数の透明導電膜領域のうちどの透明導電膜領域が第2の部材上の透明導電膜に接触したかを判別する判別手段と、を備える。
【選択図】図4

Description

本発明は、アナログ抵抗膜式のタッチパネルに関する。
タッチパネルは、代表例としてディスプレイへの直接入力に用いられる入力デバイスであり、座標検出機能とディスプレイ機能とが一体化されている。このタッチパネルによれば、相対座標入力によるマウスなどのようなポインティングデバイスとは異なり、絶対座標を簡単に入力することができるので、より多くの人の感覚にあった操作を実現することができる。タッチパネルは、押下検出の方式により、静電容量式、電磁誘導式、超音波式などに分類されるが、代表的なものとしてアナログ抵抗膜式がある(例えば、特許文献1参照)。アナログ抵抗膜式のタッチパネルは、面状の第1の部材および第2の部材の対向面側のそれぞれに透明導電膜が成膜され、透明導電膜に電位勾配が形成された一方の面と他方の面の透明導電膜とがタッチ操作により接触したときに該他方の面において検出した電圧値に基づいて、タッチ操作された面上の絶対座標を特定する。
図20は一般的なアナログ抵抗膜式のタッチパネルを例示する斜視図であり、図21は一般的なアナログ抵抗膜式のタッチパネルを例示する断面図である。以降、異なる図面において同じ参照符号が付されたものは同じ機能を有する構成要素であることを意味するものとする。
一般に、アナログ抵抗膜式のタッチパネル100は、フィルム111とガラス112との間の各々対面する面に、透明導電物質であるITO(インジウム錫酸化物)からなる透明導電膜114が成膜されている。フィルム111のガラス112への対面側とは反対側の面が、タッチパネル100のタッチ操作面となる。フィルム111とガラス112とは例えば両面テープによって貼着される。タッチパネル100は、ケーブル113を介してホスト(図示せず)に電気的に接続される。
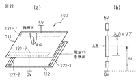
図22は、アナログ抵抗膜式のタッチパネルの一般的な座標検出原理を説明する図である。図22(a)に示すように、タッチパネル100のフィルム111のITO膜が成膜された面側には電極121−1および121−2からなる電極対が設けられており、ガラス112のITO膜が成膜された面側には電極122−1および122−2からなる電極対が設けられている。各電極対を構成する電極121−1および121−2と電極122−1および122−2とは、それらが向かい合う方向が互いに直交することになるよう、設けられている。
タッチパネル100のフィルム111を指でタッチ操作すると、フィルム111はほぼ垂直方向に撓み、フィルム111上に成膜された透明導電膜とガラス112上に成膜された透明導電膜とが接触する(図中、A点)。図示の例では、電極121−1および121−2間には駆動電圧として例えば5ボルトが印加されるが、ガラス112の面上に設けられた電極122−1および122−2を介して、図22(b)に示すように電圧値Vaを検出する。検出された電圧値Vaと、電極121−1および121−2間に印加された電圧の電圧値(すなわち5ボルト)との比から、電極121−1と電極121−2とが向かい合う方向上における、タッチ操作面上の絶対座標が算出できる。なお、このような比を用いた算出方法は、電極121−1および121−2間に印加される駆動電圧により形成される同一電位の電位勾配が線形変化していることが前提となるので、タッチパネル100をタッチ操作することができる入力エリアは、ある程度限られる。
特開2006−39667号公報
図23は、図22に例示されるアナログ抵抗膜式のタッチパネルを複数の指でタッチ操作したときに生じる問題点を説明する図である。図23(a)に示すように、タッチパネル100のフィルム111を複数の指(図示の例では2本の指)でタッチ操作すると、フィルム111はほぼ垂直方向に撓み、フィルム111上に成膜された透明導電膜とガラス112上に成膜された透明導電膜とが2点で接触する(図中、A点およびB点)。この結果、ガラス112の面上に設けられた電極122−1および122−2を介して、図23(b)に示すように、A点とB点との中間点の電圧の電圧値Vcが検出される。このことは、アナログ抵抗膜式のタッチパネルにおいては、複数の指でタッチ操作(いわゆるマルチタッチ操作)されたときは、タッチパネル面上における複数の押下位置を認識することができないことを意味する。
なお、静電容量式のタッチパネルにおいては、マルチタッチ操作可能なものは既に開発されている。しかしながら、静電容量式のタッチパネルは、その原理上、アナログ抵抗膜式のタッチパネルとは異なりペン入力には対応できない。また、静電容量式のタッチパネルは、静電気や湿気が発生しやすいような環境での使用には適していない。
従って本発明の目的は、上記問題に鑑み、マルチタッチ操作により生じる複数の押下位置情報を認識し識別することができるアナログ抵抗膜式のタッチパネルを提供することにある。
上記目的を実現するために、本発明の第1の態様においては、面状の第1の部材および第2の部材の対向面側のそれぞれに透明導電膜が成膜されるアナログ抵抗膜式のタッチパネルは、
第1の部材上においてある一定の方向に配列された複数の透明導電膜領域であって、これら各透明導電膜領域は、第2の部材への対向面側にそれぞれ成膜され、隣接する透明導電膜領域間は電気的に絶縁される透明導電膜領域と、
各透明導電膜領域にそれぞれ設けられる駆動用電極対であって、各駆動用電極対間では、それぞれ異なる電圧値を有する電圧を印加し、当該透明導電膜領域内においては、透明導電膜領域の配列方向については同一電位となるような電位勾配を形成する駆動用電極対と、
第1の部材への対向面側に透明導電膜が成膜された第2の部材上に設けられる検出用電極対であって、検出用電極対を構成する各電極の向かい合う方向が、駆動用電極対を構成する各電極が向かい合う方向に直交するよう設けられる検出用電極対と、
検出用電極対を介して検出された電圧値に基づいて、複数の透明導電膜領域のうちどの透明導電膜領域が第2の部材上の透明導電膜に接触したかを判別する判別手段と、
を備える。
上述の本発明の第1の態様によるタッチパネルを、XY両方向を跨ぐマルチタッチ操作による複数領域の認識を可能とするよう変形することもできる。
この変形例によれば、アナログ抵抗膜式のタッチパネルは、
複数の透明導電膜領域がX方向に配列され、各透明導電膜領域にX軸用電極対がそれぞれ設けられる第1の部材であって、この透明導電膜領域は、タッチ操作面とは反対側の面側に位置しており、隣接する透明導電膜領域間は電気的に絶縁されている第1の部材と、
複数の透明導電膜領域がX方向に直交するY方向に配列され、各透明導電膜領域にY軸用電極対がそれぞれ設けられる第2の部材であって、この透明導電膜領域は、第1の部材への対向面側に位置しており、隣接する透明導電膜領域間は電気的に絶縁されている第2の部材と、
X軸用電極対が、各X軸用電極対間ではそれぞれ異なる電圧値を有する電圧を印加するとともに、当該透明導電膜領域内においてはX方向については同一電位となるような電位勾配を形成するX軸領域検出モードにおいては、Y軸用電極対を介して検出された電圧値に基づいて、X軸方向に配列される複数の透明導電膜領域のうちどの透明導電膜領域が第2の部材上の透明導電膜領域に接触したかを判別し、Y軸用電極対が、各Y軸用電極対間ではそれぞれ異なる電圧値を有する電圧を印加するとともに、当該透明導電膜領域内においてはY方向については同一電位となるような電位勾配を形成するY軸領域検出モードにおいては、X軸用電極対を介して検出された電圧値に基づいて、Y軸方向に配列される複数の透明導電膜領域のうちどの透明導電膜領域が第1の部材上の透明導電膜領域に接触したかを判別する判別手段と、
を備える。
また、本発明の第2の態様においては、面状の第1の部材および第2の部材の対向面側のそれぞれに透明導電膜が成膜されるアナログ抵抗膜式のタッチパネルは、
第1の部材上においてある一定の方向に配列された複数の透明導電膜領域であって、各透明導電膜領域は、第2の部材への対向面側にそれぞれ成膜され、隣接する透明導電膜領域間は電気的に絶縁される透明導電膜領域と、
各透明導電膜領域にそれぞれ設けられる検出用電極対であって、検出用電極対を構成する各電極の向かい合う方向が、透明導電膜領域の配列方向に直交するよう設けられる検出用電極対と、
第1の部材への対向面側に透明導電膜が成膜された第2の部材上に設けられる駆動用電極対であって、この駆動用電極対を構成する各電極の向かい合う方向が、透明導電膜領域の配列方向に沿うように設けられ、検出用電極対を構成する各電極の向かい合う方向については同一電位となるような電位勾配を電圧印加により形成する駆動用電極対と、
検出用電極対を介して検出された電圧値に基づいて、複数の透明導電膜領域のうちどの透明導電膜領域が第2の部材上の透明導電膜に接触したかを判別する判別手段と、
を備える。
上述の本発明の第2の態様によるタッチパネルを、XY両方向を跨ぐマルチタッチ操作による複数領域の認識を可能とするよう変形することもできる。
この変形例によれば、アナログ抵抗膜式のタッチパネルは、
複数の透明導電膜領域がX方向に配列され、各透明導電膜領域にX軸用電極対がそれぞれ設けられる第1の部材であって、各透明導電膜領域は、タッチ操作面とは反対側の面側に位置しており、隣接する透明導電膜領域間は電気的に絶縁されている第1の部材と、
複数の透明導電膜領域がX方向に直交するY方向に配列され、各透明導電膜領域にY軸用電極対がそれぞれ設けられる第2の部材であって、各透明導電膜領域は、第1の部材への対向面側に位置しており、隣接する透明導電膜領域間は電気的に絶縁されている第2の部材と、
X軸用電極対が、X方向については同一電位となるような電位勾配を電圧印加により形成するX軸領域検出モードにおいては、Y軸用電極対を介して検出された電圧値に基づいて、X軸方向に配列される複数の透明導電膜領域のうちどの透明導電膜領域が第2の部材上の透明導電膜領域に接触したかを判別し、Y軸用電極対が、Y方向については同一電位となるような電位勾配を電圧印加により形成するY軸領域検出モードにおいては、X軸用電極対を介して検出された電圧値に基づいて、Y軸方向に配列される複数の透明導電膜領域のうちどの透明導電膜領域が第1の部材上の透明導電膜領域に接触したかを判別する判別手段と、
を備える。
また、本発明の第3の態様においては、面状の第1の部材および第2の部材の対向面側のそれぞれに透明導電膜が成膜されるアナログ抵抗膜式のタッチパネルは、
第1の部材上においてある一定の方向に配列された複数の透明導電膜領域であって、各透明導電膜領域は、第2の部材への対向面側にそれぞれ成膜され、隣接する透明導電膜領域間は電気的に絶縁される透明導電膜領域と、
各透明導電膜領域にそれぞれ設けられる駆動用電極対であって、各駆動用電極対間では、それぞれ異なるパルス特性を有する電圧パルスを印加する駆動用電極対と、
第1の部材への対向面側に透明導電膜が成膜された第2の部材上に設けられる検出用電極対であって、検出用電極対を構成する各電極の向かい合う方向が、駆動用電極対を構成する各電極が向かい合う方向に直交するよう設けられる検出用電極対と、
検出用電極対を介して検出された電圧パルスのパルス特性に基づいて、複数の透明導電膜領域のうちどの透明導電膜領域が第2の部材上の透明導電膜に接触したかを判別する判別手段と、
を備える。
上述の本発明の第3の態様によるタッチパネルを、XY両方向を跨ぐマルチタッチ操作による複数領域の認識を可能とするよう変形することもできる。
この変形例によれば、アナログ抵抗膜式のタッチパネルは、
複数の透明導電膜領域がX方向に配列され、各透明導電膜領域にX軸用電極対がそれぞれ設けられる第1の部材であって、各透明導電膜領域は、タッチ操作面とは反対側の面側に位置しており、隣接する透明導電膜領域間は電気的に絶縁されている第1の部材と、
複数の透明導電膜領域がX方向に直交するY方向に配列され、各透明導電膜領域にY軸用電極対がそれぞれ設けられる第2の部材であって、各透明導電膜領域は、第1の部材への対向面側に位置しており、隣接する透明導電膜領域間は電気的に絶縁されている第2の部材と、
X軸用電極対間ではそれぞれ異なるパルス特性を有する電圧パルスを印加するX軸領域検出モードにおいては、Y軸用電極対を介して検出された電圧パルスのパルス特性に基づいて、X軸方向に配列される複数の透明導電膜領域のうちどの透明導電膜領域が第2の部材上の透明導電膜領域に接触したかを判別し、Y軸用電極対間ではそれぞれ異なるパルス特性を有する電圧パルスを印加するY軸領域検出モードにおいては、X軸用電極対を介して検出された電圧パルスのパルス特性に基づいて、Y軸方向に配列される複数の透明導電膜領域のうちどの透明導電膜領域が第1の部材上の透明導電膜領域に接触したかを判別する判別手段と、
を備える。
本発明によれば、アナログ抵抗膜式のタッチパネルにおいて、マルチタッチ操作により生じる複数の押下位置情報を認識し識別することができるとともに、通常のタッチ操作による押下位置に関する絶対座標情報についても取得することができる。
アナログ抵抗膜式のタッチパネルは、静電容量式のタッチパネルとは異なり、指入力およびペン入力の双方に対応可能であるので、適用分野が広いという利点がある。例えば2本の指でマルチタッチ操作することもできるし、ペンを用いてサイン入力をすることもできる。また、静電気や湿気が発生しやすいような環境でも使用することができるという利点がある。
図1〜3は、本発明によるアナログ抵抗膜式のタッチパネルに設けられる複数の透明導電膜領域を説明する図である。本発明によるアナログ抵抗膜式のタッチパネル1は、面状の第1の部材11および第2の部材12の対向面側のそれぞれに、透明導電膜が成膜される。第1の部材は例えばフィルムであり、第2の部材は例えばガラスである。マルチタッチ操作により生じる複数の押下位置情報を認識し識別することができるようにするために、成膜された透明導電膜は、その面上において複数の領域に分割される。隣接する透明電極膜領域間は電気的に絶縁されており、その間隔は、ペン入力される場合を想定して一般的なペン先の幅よりも狭い例えば数ミリメートル以下である。なお、領域の数自体は本発明を限定するものではなく、タッチパネルが使用される環境や適用されるアプリケーションに応じて、適宜設計すればよい。以下、実施例として、3つの領域に分割される場合について説明する。
図1は、X方向に跨ってマルチタッチ操作される場合の複数の押下位置情報を認識し識別することができる透明導電膜領域の配列を示す。この場合、透明導電膜が成膜される第1の部材11を、X方向に分割する。すなわち、第1の部材11上において、X方向に透明導電膜領域X−1、X−2およびX−3が配列される。これら各透明導電膜領域X−1、X−2およびX−3は、第2の部材12への対向面側にそれぞれ成膜され、隣接する透明導電膜領域間は電気的に絶縁される。各透明導電膜領域X−1、X−2およびX−3には、駆動用電極対21−1、21−2および21−3がそれぞれ設けられる。第2の部材12の、第1の部材11への対向面側である透明導電膜が成膜される面側には、検出用電極対22が設けられる。検出用電極対22は、この検出用電極対22を構成する各電極の向かい合う方向が、駆動用電極対21−1、21−2および21−3を構成する各電極が向かい合う方向に直交するよう設けられる。
図2は、Y方向に跨ってマルチタッチ操作される場合の複数の押下位置情報を認識し識別することができる透明導電膜領域の配列を示す。この場合、透明導電膜が成膜される第2の部材12を、Y方向に分割する。すなわち、第2の部材12上において、Y方向に透明導電膜領域Y−1、Y−2およびY−3が配列される。これら各透明導電膜領域Y−1、Y−2およびY−3は、第1の部材11への対向面側にそれぞれ成膜され、隣接する透明導電膜領域間は電気的に絶縁される。各透明導電膜領域Y−1、Y−2およびY−3には、駆動用電極対22−1、22−2および22−3がそれぞれ設けられる。第1の部材11の、第2の部材12への対向面側である透明導電膜が成膜される面側には、検出用電極対21が設けられる。検出用電極対21は、この検出用電極対21を構成する各電極の向かい合う方向が、駆動用電極対22−1、22−2および22−3を構成する各電極が向かい合う方向に直交するよう設けられる。
図3は、X方向およびY方向のいずれの方向にも跨ってマルチタッチ操作される場合の複数の押下位置情報を認識し識別することができる透明導電膜領域の配列を示す。この場合、透明導電膜が成膜される第1の部材11をX方向に分割し、第2の部材12をY方向に分割する。すなわち、第1の部材11上において、X方向に透明導電膜領域X−1、X−2およびX−3が配列される。これら各透明導電膜領域X−1、X−2およびX−3は、第2の部材12への対向面側にそれぞれ成膜され、隣接する透明導電膜領域間は電気的に絶縁される。各透明導電膜領域X−1、X−2およびX−3には、電極対21−1、21−2および21−3がそれぞれ設けられる。また、第2の部材12上において、Y方向に透明導電膜領域Y−1、Y−2およびY−3が配列される。これら各透明導電膜領域Y−1、Y−2およびY−3は、第1の部材11への対向面側にそれぞれ成膜され、隣接する透明導電膜領域間は電気的に絶縁される。各透明導電膜領域Y−1、Y−2およびY−3には、電極対22−1、22−2および22−3がそれぞれ設けられる。これら電極対21−1、21−2および21−3を構成する各電極が向かい合う方向は、電極対22−1、22−2および22−3を構成する各電極が向かい合う方向と直交するようにする。これら電極対21−1、21−2および21−3ならびに電極対22−1、22−2および22−3は、それぞれ検出すべき領域の方向に応じて、駆動用電極および検出用電極の機能が切り換えられる。
図4は、本発明の第1の実施例によるタッチパネルを説明する図である。本発明の第1の実施例によるタッチパネル1は、図1を参照して説明した、X方向に跨ってマルチタッチ操作される場合に複数の押下位置情報を認識し識別することができるものである。
第1の部材11上において、X方向に透明導電膜領域X−1、X−2およびX−3が配列される。これら各透明導電膜領域X−1、X−2およびX−3は、第2の部材12への対向面側にそれぞれ成膜され、隣接する透明導電膜領域間は電気的に絶縁される。各透明導電膜領域X−1、X−2およびX−3には、駆動用電極対21−1、21−2および21−3がそれぞれ設けられる。第2の部材12の、第1の部材11への対向面側である透明導電膜が成膜される面側には、検出用電極対22が設けられる。検出用電極対22は、この検出用電極対22を構成する各電極の向かい合う方向が、駆動用電極対21−1、21−2および21−3を構成する各電極が向かい合う方向に直交するよう設けられる。
駆動用電極対21−1を構成する各電極には抵抗R1および抵抗R1’が接続され、駆動用電極対21−2を構成する各電極には抵抗R2および抵抗R2’が接続され、駆動用電極対21−3を構成する各電極には抵抗R3および抵抗R3’が接続される。各駆動用電極対21−1、21−2および21−3間においては、抵抗R1と抵抗R1’との合成抵抗、抵抗R2と抵抗R2’との合成抵抗、および抵抗R3と抵抗R3’との合成抵抗については等しい抵抗値を有する。また、抵抗R1、抵抗R2、および抵抗R3については、それぞれ異なる抵抗値を有する。したがって、抵抗R1’、抵抗R2’、および抵抗R3’についても、それぞれ異なる抵抗値を有することになる。
各駆動用電極対21−1、21−2および21−3を構成する電極には、スイッチSW1およびSWD1、スイッチSW2およびSWD2、ならびにスイッチSW3およびSWD3がそれぞれ接続される。抵抗R1、抵抗R2、および抵抗R3が接続された電極には、スイッチSW1、SW2、およびSW3を介して電源が接続される。電源は、同一電圧値(図示の例では5ボルト)を有する電圧を各駆動用電極対に印加するが、この電圧印加は、スイッチSW1およびSWD1、スイッチSW2およびSWD2、ならびにスイッチSW3およびSWD3のオンオフにより、各駆動用電極対21−1、21−2および21−3ごとに実行される。スイッチSW1およびSWD1、スイッチSW2およびSWD2、ならびにスイッチSW3およびSWD3のオンオフ動作は、MCU(参照符号30)によって制御される。
上述のように、抵抗R1と抵抗R1’との合成抵抗、抵抗R2と抵抗R2’との合成抵抗、および抵抗R3と抵抗R3’との合成抵抗については等しい抵抗値を有し、なおかつ抵抗R1、抵抗R2、および抵抗R3についてはそれぞれ異なる抵抗値を有するので、同一電圧値(図示の例では5ボルト)を有する電圧を各駆動用電極対21−1、21−2および21−3に印加すると、各駆動用電極対21−1、21−2および21−3間では、それぞれ異なる電圧値を有する電圧が印加されることになる。したがって、MCU30は、第1の部材11のタッチ操作面側のいずれかの位置がタッチ操作されて透明導電膜領域X1−1、X1−2もしくはX1−3のいずれかが、第2の部材12の透明導電膜と接触したとき、接触点がある透明導電膜領域に固有の電圧値を検出用電極対22を介して検出することができる。MCU30は、検出された電圧値をADポート29を介して取得する。
各駆動用電極対21−1、21−2および21−3には、スイッチSW1およびSWD1、スイッチSW2およびSWD2、ならびにスイッチSW3およびSWD3のオンオフにより、電源により順次、同一電圧値を有する電圧が印加される。ただし、各駆動用電極対21−1、21−2および21−3間では、同じタイミングで当該電圧が印加されることはない。例えば、電圧が印加される駆動用電極対を数十ミリ秒ごとに順次切り替えていく。
判別手段は、本実施例ではMCU30で構成され、検出用電極対22を介して検出された電圧値に基づいて、当該電圧値を有する電圧を印加した駆動用電極対がいずれであるかを判別し、当該駆動用電極対が設けられた透明導電膜領域の直上のタッチ操作面がタッチ操作されて第2の部材12上の透明導電膜に接触したことを示す信号をホストへ出力する。なお、この判別を実行する判別手段は、図示のようにタッチパネル1に付属して設けられる演算装置であるMCU30として実現してもよいし、タッチパネル1が接続されるコンピュータ内に別個独立に実現してもよい。
このように、上記判別手段(すなわちMCU30)は、電源によって各駆動用電極対ごとに電圧が印加される順番およびタイミングに対応して、検出用電極対22を介して検出された電圧値を順次取得する。したがって、マルチタッチ操作により、透明導電膜領域X−1、X−2およびX−3のうちのいずか2つもしくは3つが、第2の部材12の透明導電膜と接触すると、検出用電極22を介した1回のスキャンで、当該2つもしくは3つの透明導電膜領域に固有の電圧値が検出されることになる。判定手段は、当該検出された2つもしくは3つの電圧値に基づいて、透明導電膜領域X−1、X−2およびX−3のうち、どの2つもしくは3つの透明導電膜領域が第の部材12の透明導電膜と接触したかを認識することができる。つまり、本発明の第1の実施例によれば、X方向に跨ってマルチタッチ操作された場合に複数の押下位置情報を認識し識別することができる。
本発明の第1の実施例によるタッチパネルは、従来のアナログ抵抗膜式のタッチパネルと同様、ある一点がタッチ操作された場合の当該一点の絶対位置を特定することもできる。この場合は、まず、スイッチSW1およびSWD1、スイッチSW2およびSWD2、ならびにスイッチSW3およびSWD3を全てオフにして、全ての駆動用電極対による電圧印加を遮断する。そして、全ての駆動用電極対による電圧印加が遮断されているときに、検出用電極対22に電圧を印加する。なお、この電圧を印加するさらなる電源については図4では省略している。このように全ての駆動用電極対による電圧印加がスイッチSW1およびSWD1、スイッチSW2およびSWD2、ならびにスイッチSW3およびSWD3により遮断されているときに、各駆動用電極対21−1、21−2および21−3のうちのいずれかを介して電圧値を検出すれば、当該検出した電圧値に基づいて、第1の部材11上の透明導電膜領域と第2の部材12上の透明導電膜とがタッチ操作により接触した接触点の、検出用電極対22を構成する各電極の向かい合う方向(すなわちX方向)上における絶対座標を特定することができる。
次に、上述の本発明の第1の実施例によるタッチパネルを、XY両方向を跨ぐマルチタッチ操作による複数領域の認識を可能とする変形例について説明する。図5は、本発明の第1の実施例の変形例によるタッチパネルを説明する図である。本発明の第1の実施例の変形例によるタッチパネル1は、図3を参照して説明した、X方向およびY方向のいずれの方向に跨ってマルチタッチ操作される場合に複数の押下位置情報を認識し識別することができるものである。
第1の部材11上において、X方向に透明導電膜領域X−1、X−2およびX−3が配列される。これら各透明導電膜領域X−1、X−2およびX−3は、第2の部材12への対向面側にそれぞれ成膜され、隣接する透明導電膜領域間は電気的に絶縁される。各透明導電膜領域X−1、X−2およびX−3には、X軸用電極対21−1、21−2および21−3がそれぞれ設けられる。また、第2の部材12上において、Y方向に透明導電膜領域Y−1、Y−2およびY−3が配列される。これら各透明導電膜領域Y−1、Y−2およびY−3は、第1の部材11への対向面側にそれぞれ成膜され、隣接する透明導電膜領域間は電気的に絶縁される。各透明導電膜領域Y−1、Y−2およびY−3には、Y軸用電極対22−1、22−2および22−3がそれぞれ設けられる。これらX軸用電極対21−1、21−2および21−3を構成する各電極が向かい合う方向は、Y軸用電極対22−1、22−2および22−3を構成する各電極が向かい合う方向と直交するようにする。
X軸用電極対21−1を構成する各電極には抵抗Rx1および抵抗Rx1’が接続され、X軸用電極対21−2を構成する各電極には抵抗Rx2および抵抗Rx2’が接続され、X軸用電極対21−3を構成する各電極には抵抗Rx3および抵抗Rx3’が接続される。各X軸用電極対21−1、21−2および21−3間においては、抵抗Rx1と抵抗Rx1’との合成抵抗、抵抗Rx2と抵抗Rx2’との合成抵抗、および抵抗Rx3と抵抗Rx3’との合成抵抗については等しい抵抗値を有する。また、抵抗Rx1、抵抗Rx2、および抵抗Rx3については、それぞれ異なる抵抗値を有する。したがって、抵抗Rx1’、抵抗Rx2’、および抵抗Rx3’についても、それぞれ異なる抵抗値を有することになる。
各X軸用電極対21−1、21−2および21−3を構成する電極には、スイッチSW1およびSWD1、スイッチSW2およびSWD2、ならびにスイッチSW3およびSWD3がそれぞれ接続される。抵抗Rx1、抵抗Rx2、および抵抗Rx3に接続された電極には、スイッチSW1、SW2、およびSW3を介して電源が接続される。電源は、同一電圧値(図示の例では5ボルト)を有する電圧を各X軸用電極対に印加するが、この印加は、スイッチSW1およびSWD1、スイッチSW2およびSWD2、ならびにスイッチSW3およびSWD3のオンオフにより、各X軸用電極対21−1、21−2および21−3ごとに実行される。スイッチSW1およびSWD1、スイッチSW2およびSWD2、ならびにスイッチSW3およびSWD3のオンオフ動作はMCU(図示せず)によって制御される。
同一電圧値(図示の例では5ボルト)を有する電圧を各X軸用電極対21−1、21−2および21−3に印加すると、各X軸用電極対21−1、21−2および21−3間では、それぞれ異なる電圧値を有する電圧が印加されることになる。したがって、Y軸用電極対22−1、22−2もしくは22−3のいずれかは、第1の部材11のタッチ操作面側のいずれかの位置がタッチ操作されて透明導電膜領域X1−1、X1−2もしくはX1−3のいずれかが、第2の部材12の透明導電膜領域と接触したとき、接触点がある透明導電膜領域に固有の電圧値を検出することになる。
Y軸用電極対22−1を構成する各電極には抵抗Ry1および抵抗Ry1’が接続され、Y軸用電極対22−2を構成する各電極には抵抗Ry2および抵抗Ry2’が接続され、Y軸用電極対22−3を構成する各電極には抵抗Ry3および抵抗Ry3’が接続される。各Y軸用電極対22−1、22−2および22−3間においては、抵抗Ry1と抵抗Ry1’との合成抵抗、抵抗Ry2と抵抗Ry2’との合成抵抗、および抵抗y3と抵抗Ry3’との合成抵抗については等しい抵抗値を有する。また、抵抗Ry1、抵抗Ry2、および抵抗Ry3については、それぞれ異なる抵抗値を有する。したがって、抵抗Ry1’、抵抗Ry2’、および抵抗Ry3’についても、それぞれ異なる抵抗値を有することになる。
各Y軸用電極対22−1、22−2および22−3を構成する電極には、スイッチSWR1およびSWL1、スイッチSWR2およびSWL2、ならびにスイッチSWR3およびSWL3がそれぞれ接続される。抵抗Ry1、抵抗Ry2、および抵抗Ry3に接続された電極には、スイッチSWR1、SWR2、およびSWR3を介して電源が接続される。電源は、同一電圧値(図示の例では5ボルト)を有する電圧を各Y軸用電極対に印加するが、この印加は、スイッチSWR1およびSWL1、スイッチSWR2およびSWL2、ならびにスイッチSWR3およびSWL3のオンオフにより、各Y軸用電極対22−1、22−2および22−3ごとに実行される。
同一電圧値(図示の例では5ボルト)を有する電圧を各Y軸用電極対22−1、22−2および22−3に印加すると、各Y軸用電極対22−1、22−2および22−3間では、それぞれ異なる電圧値を有する電圧が印加されることになる。したがって、MCU(図示せず)は、第2の部材12のタッチ操作面側のいずれかの位置がタッチ操作されて透明導電膜領域Y1−1、Y1−2もしくはY1−3のいずれかが、第1の部材11の透明導電膜領域と接触したとき、接触点がある透明導電膜領域に固有の電圧値をX軸用電極対21−1、21−2もしくは21−3のいずれかを介して検出することになる。
上述の構成を有するタッチパネル1では、X軸用電極対21−1、21−2および21−3ならびにY軸用電極対22−1、22−2および22−3が、それぞれ検出すべき領域の方向に応じて、駆動用電極対として動作するかあるいは検出用電極対として動作するかが切り換えられる。
具体的には、まず、X軸方向の押下領域認識を行う場合(以下、「X軸領域検出モード」と称する。)には、各X軸用電極対21−1、21−2および21−3には、スイッチSW1およびSWD1、スイッチSW2およびSWD2、ならびにスイッチSW3およびSWD3のオンオフにより、電源により順次、同一電圧値を有する電圧が印加される。これにより、各X軸用電極対21−1、21−2および21−3は駆動用電極対として動作し、各X軸用電極対21−1、21−2および21−3間ではそれぞれ異なる電圧値を有する電圧が印加されるとともに、当該透明導電膜領域内においてはX方向については同一電位となるような電位勾配が形成されることになる。なお、既に説明したように、各X軸電極対21−1、21−2および21−3間では、同じタイミングで当該電圧が印加されることはない。例えば、電圧が印加されるX軸用電極対を数十ミリ秒ごとに順次切り替えていく。
判別手段はMCU(図示せず)で構成され、検出用電極対として動作するY軸用電極対22−1、22−2もしくは22−3のいずれかを介して検出された電圧値に基づいて、当該電圧値を有する電圧を印加したX軸用電極対がいずれであるかを判別し、当該X軸用電極対が設けられた透明導電膜領域の直上のタッチ操作面がタッチ操作されて第2の部材12上の透明導電膜領域に接触したことを示す信号をホストへ出力する。
このように、上記判別手段は、X軸領域検出モードにおいて、電源によって各X軸用電極対ごとに電圧が印加される順番およびタイミングに対応して、Y軸用電極対22−1、22−2もしくは22−3のいずれかを介して検出された電圧値を順次取得するので、Y軸用電極対22−1、22−2もしくは22−3を介した1回のスキャンで、透明導電膜領域X−1、X−2およびX−3のうち、どの2つもしくは3つの透明導電膜領域が第2の部材12の透明導電膜領域と接触したかを認識することができる。
また、Y軸方向の押下領域認識を行う場合(以下、「Y軸領域検出モード」と称する。)も原理は同じであり、すなわち、各Y軸用電極対22−1、22−2および22−3には、スイッチSWR1およびSWL1、スイッチSWR2およびSWL2、ならびにスイッチSWR3およびSWL3のオンオフにより、電源により順次、同一電圧値を有する電圧が印加される。これにより、各Y軸用電極対22−1、22−2および22−3は駆動用電極対として動作し、各Y軸用電極対22−1、22−2および22−3間ではそれぞれ異なる電圧値を有する電圧が印加されるとともに、当該透明導電膜領域内においてはY方向については同一電位となるような電位勾配が形成されることになる。なお、既に説明したように、各Y軸電極対22−1、22−2および22−3間では、同じタイミングで当該電圧が印加されることはない。例えば、電圧が印加されるY軸用電極対を数十ミリ秒ごとに順次切り替えていく。
判別手段は、検出用電極対として動作するX軸用電極対21−1、21−2もしくは21−3のいずれかを介して検出された電圧値に基づいて、当該電圧値を有する電圧を印加したY軸用電極対がいずれであるかを判別し、当該Y軸用電極対が設けられた透明導電膜領域の直上のタッチ操作面がタッチ操作されて第1の部材11上の透明導電膜領域に接触したことを示す信号をホストへ出力する。
このように、上記判別手段は、Y軸領域検出モードにおいて、電源によって各Y軸用電極対ごとに電圧が印加される順番およびタイミングに対応して、X軸用電極対21−1、21−2もしくは21−3のいずれかを介して検出された電圧値を順次取得するので、X軸用電極対21−1、21−2もしくは21−3を介した1回のスキャンで、透明導電膜領域Y−1、Y−2およびY−3のうち、どの2つもしくは3つの透明導電膜領域が第1の部材11の透明導電膜領域と接触したかを認識することができる。
図6は、本発明の第2の実施例によるタッチパネルを説明する図である。本発明の第2の実施例によるタッチパネル1は、図1を参照して説明した、X方向に跨ってマルチタッチ操作される場合に複数の押下位置情報を認識し識別することができるものである。
第1の部材11上において、X方向に透明導電膜領域X−1、X−2およびX−3が配列される。これら各透明導電膜領域X−1、X−2およびX−3は、第2の部材12への対向面側にそれぞれ成膜され、隣接する透明導電膜領域間は電気的に絶縁される。各透明導電膜領域X−1、X−2およびX−3には、検出用電極対22−1、22−2および22−3がそれぞれ設けられる。検出用電極対22−1、22−2および22−3を構成する各電極の向かい合う方向が、透明導電膜領域X−1、X−2およびX−3の配列方向に直交するよう設けられる。
第2の部材12の、第1の部材11への対向面側である透明導電膜が成膜される面側には、駆動用電極対21が設けられる。駆動用電極対21は、この駆動用電極対21を構成する各電極の向かい合う方向が、検出用電極対22−1、22−2および22−3を構成する各電極が向かい合う方向に直交するよう設けられる。駆動用電極対21は、駆動用電極対21を構成する各電極の向かい合う方向が、透明導電膜領域X−1、X−2およびX−3の配列方向に沿うように設けられ、検出用電極対22−1、22−2および22−3を構成する各電極の向かい合う方向については同一電位となるような電位勾配を電圧印加により形成する。
第1の部材11のタッチ操作面側のいずれかの位置がタッチ操作されて透明導電膜領域X1−1、X1−2もしくはX1−3のいずれかが、第2の部材12の透明導電膜と接触したとき、接触した透明導電膜領域X1−1、X1−2もしくはX1−3の検出用電極対22−1、22−2もしくは22−3を介して電圧が検出されることになる。
判別手段はMCU(図示せず)で構成され、検出用電極対22−1、22−2もしくは22−3を介して検出された電圧値に基づいて、複数の透明導電膜領域X1−1、X1−2もしくはX1−3のうちどの透明導電膜領域が第2の部材12上の透明導電膜に接触したかを判別する。すなわち、判別手段は、検出用電極対22−1、22−2もしくは22−3を介して検出された電圧値に基づいて、当該電圧値を有する電圧を検出した検出用電極対22−1、22−2もしくは22−3がいずれであるかを判別し、当該駆動用電極対が設けられた透明導電膜領域の直上のタッチ操作面がタッチ操作されて第2の部材12上の透明導電膜に接触したことを示す信号をホストへ出力する。なお、この判別を実行する判別手段は、タッチパネル1に付属して設けられる演算装置であるMCUとして実現する以外に、タッチパネル1が接続されるコンピュータ内に別個独立に実現してもよい。
このように、上記判別手段は、タッチ操作したタッチ操作面の直下に位置する透明導電膜領域に設けられた検出用電極対22−1、22−2もしくは22−3を介して検出された電圧値を取得する。したがって、マルチタッチ操作により、透明導電膜領域X−1、X−2およびX−3のうちのいずか2つもしくは3つが、第2の部材12の透明導電膜と接触すると、検出用電極対22−1、22−2もしくは22−3のうちの2つもしくは3つを介して、当該2つもしくは3つの電圧値が検出されることになる。判定手段は、当該検出された2つもしくは3つの電圧値に基づいて、透明導電膜領域X−1、X−2およびX−3のうち、どの2つもしくは3つの透明導電膜領域が第の部材12の透明導電膜と接触したかを認識することができる。つまり、本発明の第2の実施例によれば、X方向に跨ってマルチタッチ操作された場合に複数の押下位置情報を認識し識別することができる。
本発明の第2の実施例によるタッチパネルは、従来のアナログ抵抗膜式のタッチパネルと同様、ある一点がタッチ操作された場合の当該一点の絶対位置を特定することもできる。図7は、本発明の第2の実施例によるタッチパネルにおいて、ある一点がタッチ操作された場合の当該一点の絶対位置を特定する原理を説明する図である。
タッチパネル1は、駆動用電極対21による電圧印加を遮断するスイッチSW1およびSW2と、駆動用電極対21による電圧印加がスイッチSW1およびSW2により遮断されているときに、各検出用電極対22−1、22−2および22−3に同一電圧を同時に印加する電源回路とを備える。本実施例では、当該電源回路は、スイッチSWU1およびSWD1、スイッチSWU2およびSWD2ならびにスイッチSWU3およびSWD3と、電源(図示の例では5ボルト)とで構成される。
マルチタッチ操作されたときの複数の押下位置情報を認識する場合(領域検出モード)には、MCU(図示せず)の制御により、スイッチSW1およびSW2はオンされ、スイッチSWU1およびSWD1、スイッチSWU2およびSWD2ならびにスイッチSWU3およびSWD3はオフされ、上述した処理が実行される。
一方、ある一点がタッチ操作されたときの当該一点の絶対位置を特定する場合(座標検出モード)には、MCU(図示せず)の制御により、スイッチSW1およびSW2はオフ(遮断)され、スイッチSWU1およびSWD1、スイッチSWU2およびSWD2ならびにスイッチSWU3およびSWD3はオンされる。このとき、各検出用電極対22−1、22−2および22−3には同一電圧が同時に印加されることになる。
図8〜10は、本発明の第2の実施例によるタッチパネルにおける、各検出用電極対が形成する電位勾配を説明する図である。例えば、図8に示すように、第1の部材11上に設けられた電極対23に電圧を印加すると、電極対23に電位勾配が形成される。図8〜10においては、同一電位面を破線で示す。電極対23を形成する電極付近では同一電位面は、電極対23を構成する電極の向かい合う方向に直交する方向とは若干ずれたものになる。したがって、一般に当該付近はタッチパネルの入力エリアとしては使用せず、タッチパネルに係る配線を形成するエリアとして使用する。通常、配線エリアはタッチパネルを覆う化粧板(額縁)によって覆われる。一方、電極対23を形成する電極から離れた場所では、電極対23を構成する電極の向かい合う方向に直交する方向については同一電位となる。したがって、この部分をタッチパネルの入力エリアとして使用するのが一般的である。
図9に示すように、透明導電膜が複数の領域に分割され、各透明導電膜領域A−1、A−2およびA−3に電極23−1、23−2および23−3がそれぞれに設けられる場合において、電極23−1のみに電圧を印加すると、透明導電膜領域A−1のみに電位勾配が形成される。透明導電膜領域A−1と、透明導電膜領域A−2およびA−3とは電気的に絶縁されているので、電位勾配は形成されない。一方、図10に示すように、電極23−1、23−2および23−3全てについて電圧を印加すると、透明導電膜領域A−1、A−2およびA−3全てに電位勾配が形成される。したがって、本願発明のように透明導電膜が複数の領域に分割されていても、各透明導電膜領域A−1、A−2およびA−3に設けられた電極23−1、23−2および23−3に同一電圧を同時に印加すれば、図8の場合のように、電極対23−1、23−2および23−3を形成する電極から離れた場所では、電極対22−1、22−2および22−3を構成する電極の向かい合う方向に直交する方向については同一電位となるので、この部分をタッチパネルの入力エリアとして使用する。
したがって、図7に示すように、駆動用電極対21による電圧印加がスイッチSW1およびSW2により遮断されているとき(すなわち座標検出モード)において、駆動用電極対21を介して検出した電圧値に基づいて、第1の部材11上の透明導電膜領域X−1、X−2もしくはX−3と第2の部材12上の透明導電膜とがタッチ操作により接触した接触点の、検出用電極対23−1、23−2もしくは23−3を構成する各電極の向かい合う方向上における絶対座標を特定することができる。この絶対座標の算出は、従来一般の座標検出手段で実現することができる。
次に、上述の本発明の第2の実施例によるタッチパネルを、XY両方向を跨ぐマルチタッチ操作による複数領域の認識を可能とする変形例について説明する。図11は、本発明の第2の実施例の変形例によるタッチパネルを説明する図である。本発明の第2の実施例の変形例によるタッチパネル1は、図3を参照して説明した、X方向およびY方向のいずれの方向に跨ってマルチタッチ操作される場合に複数の押下位置情報を認識し識別することができるものである。
第1の部材11上において、X方向に透明導電膜領域X−1、X−2およびX−3が配列される。これら各透明導電膜領域X−1、X−2およびX−3は、第2の部材12への対向面側にそれぞれ成膜され、隣接する透明導電膜領域間は電気的に絶縁される。各透明導電膜領域X−1、X−2およびX−3には、X軸用電極対20X−1、20X−2および20X−3がそれぞれ設けられる。また、第2の部材12上において、Y方向に透明導電膜領域Y−1、Y−2およびY−3が配列される。これら各透明導電膜領域Y−1、Y−2およびY−3は、第1の部材11への対向面側にそれぞれ成膜され、隣接する透明導電膜領域間は電気的に絶縁される。各透明導電膜領域Y−1、Y−2およびY−3には、Y軸用電極対20Y−1、20Y−2および20Y−3がそれぞれ設けられる。これらX軸用電極対20X−1、20X−2および20X−3を構成する各電極が向かい合う方向は、Y軸用電極対20Y−1、20Y−2および20Y−3を構成する各電極が向かい合う方向と直交するようにする。
各X軸用電極対20X−1、20X−2および20X−3を構成する電極には、スイッチSW1およびSWD1、スイッチSW2およびSWD2、ならびにスイッチSW3およびSWD3がそれぞれ接続される。スイッチSW1およびSWD1、スイッチSW2およびSWD2、ならびにスイッチSW3およびSWD3のオンオフ動作は、MCU(図示せず)によって制御される。
また、各Y軸用電極対20Y−1、20Y−2および20Y−3を構成する電極には、スイッチSWR1およびSWL1、スイッチSWR2およびSWL2、ならびにスイッチSWR3およびSWL3がそれぞれ接続される。スイッチSWR1およびSWL1、スイッチSWR2およびSWL2、ならびにスイッチSWR3およびSWL3のオンオフ動作は、上記MCUによって制御される。
上述の構成を有するタッチパネル1では、X軸用電極対20X−1、20X−2および20X−3ならびにY軸用電極対20Y−1、20Y−2および20Y−3が、それぞれ検出すべき領域の方向に応じて、駆動用電極対として動作するかあるいは検出用電極対として動作するかが切り換えられる。
具体的には、X軸方向の押下領域認識を行うX軸領域検出モードにおいては、各X軸用電極対20X−1、20X−2および20X−3には、スイッチSW1およびSWD1、スイッチSW2およびSWD2、ならびにスイッチSW3およびSWD3のオンオフにより、電源により順次、同一電圧値を有する電圧が印加される。これにより、各X軸用電極対20X−1、20X−2および20X−3は駆動用電極対として動作し、各透明導電膜領域X−1、X−2およびX−3内においてはX方向については同一電位となるような電位勾配が順次形成されることになる。なお、各X軸電極対20X−1、20X−2および20X−3間では、同じタイミングで当該電圧が印加されることはない。例えば、電圧が印加されるX軸用電極対を数十ミリ秒ごとに順次切り替えていく。
判別手段はMCU(図示せず)で構成され、検出用電極対として動作するY軸用電極対20Y−1、20Y−2もしくは20Y−3のいずれかを介して検出された電圧値に基づいて、当該電圧値を有する電圧を印加したX軸用電極対がいずれであるかを判別し、当該X軸用電極対が設けられた透明導電膜領域の直上のタッチ操作面がタッチ操作されて第2の部材12上の透明導電膜領域に接触したことを示す信号をホストへ出力する。
このように、上記判別手段は、X軸領域検出モードにおいて、電源によって各X軸用電極対ごとに電圧が印加される順番およびタイミングに対応して、Y軸用電極対20Y−1、20Y−2もしくは20Y−3のいずれかを介して検出された電圧値を順次取得するので、Y軸用電極対20Y−1、20Y−2もしくは20Y−3を介した1回のスキャンで、透明導電膜領域X−1、X−2およびX−3のうち、どの2つもしくは3つの透明導電膜領域が第2の部材12の透明導電膜領域と接触したかを認識することができる。
また、Y軸方向の押下領域認識を行うY軸領域検出モードにおいては、各Y軸用電極対20Y−1、20Y−2および20Y−3には、スイッチSWR1およびSWL1、スイッチSWR2およびSWL2、ならびにスイッチSWR3およびSWL3のオンオフにより、電源により順次、同一電圧値を有する電圧が印加される。これにより、各Y軸用電極対20Y−1、20Y−2および20Y−3は駆動用電源として動作し、各透明導電膜領域内Y−1、Y−2およびY−3においてはY方向については同一電位となるような電位勾配が形成されることになる。なお、既に説明したように、各Y軸電極対20Y−1、20Y−2および20Y−3間では、同じタイミングで当該電圧が印加されることはない。例えば、電圧が印加されるY軸用電極対を数十ミリ秒ごとに順次切り替えていく。
判別手段は、検出用電極対としてX軸用電極対20X−1、20X−2もしくは20X−3のいずれかを介して検出された電圧値に基づいて、当該電圧値を有する電圧を印加したY軸用電極対がいずれであるかを判別し、当該Y軸用電極対が設けられた透明導電膜領域の直上のタッチ操作面がタッチ操作されて第1の部材11上の透明導電膜領域に接触したことを示す信号をホストへ出力する。
このように、上記判別手段は、Y軸領域検出モードにおいて、電源によって各Y軸用電極対ごとに電圧が印加される順番およびタイミングに対応して、X軸用電極対20X−1、20X−2もしくは20X−3のいずれかを介して検出された電圧値を順次取得するので、X軸用電極対20X−1、20X−2もしくは20X−3を介した1回のスキャンで、透明導電膜領域Y−1、Y−2およびY−3のうち、どの2つもしくは3つの透明導電膜領域が第1の部材11の透明導電膜領域と接触したかを認識することができる。
本発明の第2の実施例の変形例によるタッチパネルは、従来のアナログ抵抗膜式のタッチパネルと同様、ある一点がタッチ操作された場合の当該一点の絶対位置を特定することもできる。
すなわち、Y軸絶対座標検出モードにおいては、スイッチSW1およびSWD1、スイッチSW2およびSWD2、ならびにスイッチSW3およびSWD3を全て同時にオンして、各X軸用電極対20X−1、20X−2および20X−3に同一電圧(図示の例では5ボルト)を同時に印加する。このとき、スイッチSWR1およびSWL1、スイッチSWR2およびSWL2、ならびにスイッチSWR3およびSWL3は全てオフにする。
一方、X軸絶対座標検出モードにおいては、スイッチSWR1およびSWL1、スイッチSWR2およびSWL2、ならびにスイッチSWR3およびSWL3を全て同時にオンして、各Y軸用電極対20Y−1、20Y−2および20Y−3に同一電圧(図示の例では5ボルト)を同時に印加する。このとき、スイッチSW1およびSWD1、スイッチSW2およびSWD2、ならびにスイッチSW3およびSWD3は全てオフにする。
Y軸絶対座標検出モードにおいては、Y軸用電極対20Y−1、20Y−2もしくは20Y−3のうちのいずれかを介して検出した電圧値に基づいて、第1の部材11上の透明導電膜領域X−1、X−2もしくはX−3と第2の部材12上の透明導電膜領域とがタッチ操作により接触した接触点の、X軸用電極対20X−1、20X−2もしくは20X−3を構成する各電極の向かい合う方向上における絶対座標を特定することができる。
X軸絶対座標検出モードにおいては、X軸用電極対20X−1、20X−2もしくは20X−3のうちのいずれかを介して検出した電圧値に基づいて、第2の部材12上の透明導電膜領域Y−1、Y−2もしくはY−3と第1の部材11上の透明導電膜領域とがタッチ操作により接触した接触点の、Y軸用電極対20Y−1、20Y−2もしくは20Y−3を構成する各電極の向かい合う方向上における絶対座標を特定することができる。
上記絶対座標の算出は、従来一般の座標検出手段で実現することができる。
図12は、本発明の第3の実施例によるタッチパネルを説明する図である。本発明の第3の実施例によるタッチパネル1は、図1を参照して説明した、X方向に跨ってマルチタッチ操作される場合に複数の押下位置情報を認識し識別することができるものである。
第1の部材11上において、X方向に透明導電膜領域X−1、X−2およびX−3が配列される。これら各透明導電膜領域X−1、X−2およびX−3は、第2の部材12への対向面側にそれぞれ成膜され、隣接する透明導電膜領域間は電気的に絶縁される。各透明導電膜領域X−1、X−2およびX−3には、駆動用電極対21−1、21−2および21−3がそれぞれ設けられる。駆動用電極対21−1、21−2および21−3を構成する各電極の向かい合う方向が、透明導電膜領域X−1、X−2およびX−3の配列方向に直交するよう設けられる。
第2の部材12の、第1の部材11への対向面側である透明導電膜が成膜される面側には、検出用電極対22が設けられる。検出用電極対22は、この検出用電極対22を構成する電極の向かい合う方向が、駆動用電極対21−1、21−2および21−3を構成する各電極が向かい合う方向に直交するよう設けられる。すなわち、検出用電極対22は、検出用電極対22を構成する各電極の向かい合う方向は、透明導電膜領域X−1、X−2およびX−3の配列方向と同一になる。
各駆動用電極対21−1、21−2および21−3を構成する各電極には、スイッチSW1およびSWD1、スイッチSW2およびSWD2、ならびにスイッチSW3およびSWD3がそれぞれ接続される。スイッチSW1およびSWD1、スイッチSW2およびSWD2、ならびにスイッチSW3およびSWD3のオンオフ動作は、MCU(図示せず)によって制御される。
各透明導電膜領域X−1、X−2およびX−3にそれぞれ設けられる各駆動用電極対21−1、21−2および21−3間では、それぞれ異なるパルス特性を有する電圧パルスP−1、P−2およびP−3が印加される。例えば、各駆動用電極対21−1、21−2および21−3間では、それぞれ異なるパルス幅を有する電圧パルスP−1、P−2およびP−3が印加される。また例えば、各駆動用電極対21−1、21−2および21−3間では、それぞれ異なるパルス数を1周期内に有する電圧パルスP−1、P−2およびP−3が印加される。ただし、各駆動用電極対21−1、21−2および21−3間では、同じタイミングで電圧パルスが印加されることはない。例えば、電圧パルスが印加される駆動用電極対を、スイッチSW1およびSWD1、スイッチSW2およびSWD2、ならびにスイッチSW3およびSWD3のオンオフにより、数十ミリ秒ごとに順次切り替えていく。
検出用電極対22は、第1の部材11のタッチ操作面側のいずれかの位置がタッチ操作されて透明導電膜領域X1−1、X1−2もしくはX1−3のいずれかが、第2の部材12の透明導電膜と接触したとき、接触した透明導電膜領域X1−1、X1−2もしくはX1−3の検出用電極対22−1、22−2もしくは22−3を介して、当該透明導電膜領域に固有のパルス特性を有する電圧パルスが検出されることになる。
判別手段はMCU(図示せず)で構成され、検出用電極対22を介して検出された電圧パルスのパルス特性電圧値に基づいて、複数の透明導電膜領域X1−1、X1−2もしくはX1−3のうちどの透明導電膜領域が第2の部材12上の透明導電膜に接触したかを判別する。すなわち、判別手段は、検出用電極対22を介して検出された電圧パルスのパルス特性に基づいて、当該パルス特性を有する電圧パルスを印加した駆動用電極対を判別し、当該駆動用電極対が設けられた透明導電膜領域の直上のタッチ操作面がタッチ操作されて第2の部材12上の透明導電膜に接触したことを示す信号をホストへ出力する。なお、この判別を実行する判別手段は、タッチパネル1に付属して設けられる演算装置であるMCUとして実現する以外に、タッチパネル1が接続されるコンピュータ内に別個独立に実現してもよい。
このように、上記判別手段は、タッチ操作したタッチ操作面の直下に位置する透明導電膜領域に設けられた駆動用電極対21−1、21−2もしくは21−3を介して検出された電圧パルスのパルス特性を取得する。したがって、マルチタッチ操作により、透明導電膜領域X−1、X−2およびX−3のうちのいずか2つもしくは3つが、第2の部材12の透明導電膜と接触すると、駆動用電極対21−1、21−2もしくは21−3のうちの2つもしくは3つを介して、1回のスキャンで、当該2つもしくは3つのパルス特性が検出されることになる。判定手段は、当該検出された2つもしくは3つのパルス特性に基づいて、透明導電膜領域X−1、X−2およびX−3のうち、どの2つもしくは3つの透明導電膜領域が第の部材12の透明導電膜と接触したかを認識することができる。つまり、本発明の第3の実施例によれば、X方向に跨ってマルチタッチ操作された場合に複数の押下位置情報を認識し識別することができる。
本発明の第3の実施例によるタッチパネルは、従来のアナログ抵抗膜式のタッチパネルと同様、ある一点がタッチ操作された場合の当該一点の絶対位置を特定することもできる。図13は、本発明の第3の実施例によるタッチパネルにおいて、ある一点がタッチ操作された場合の当該一点の絶対位置を特定する原理を説明する図である。
タッチパネル1は、全ての駆動用電極対21−1、21−2および23−3に電圧パルスの印加を遮断するスイッチSWU1およびSWD1、スイッチSWU2およびSWD2ならびにスイッチSWU3およびSWD3と、全ての駆動用電極対21−1、21−2および23−3に電圧パルスの印加がスイッチSWU1およびSWD1、スイッチSWU2およびSWD2ならびにスイッチSWU3およびSWD3により遮断されているときに、検出用電極対22に電圧を印加する電源回路と、を備える。本実施例では、当該電源回路は、スイッチSW1およびSW2と、電源(図示の例では5ボルト)とで構成される。
マルチタッチ操作されたときの複数の押下位置情報を認識する場合(領域検出モード)には、MCU(図示せず)の制御により、スイッチSW1およびSW2はオフされ、スイッチSWU1およびSWD1、スイッチSWU2およびSWD2ならびにスイッチSWU3およびSWD3がオンオフ制御され、上述の処理が実行される。
一方、ある一点がタッチ操作されたときの当該一点の絶対位置を特定する場合(座標検出モード)には、MCU(図示せず)の制御により、スイッチSWU1およびSWD1、スイッチSWU2およびSWD2ならびにスイッチSWU3およびスイッチSWD3はオフ(遮断)され、スイッチSW1およびSW2はオンされる。このとき、検出用電極対22には電圧(図示の例では5ボルト)が印加されることになる。
駆動用電極対21−1、21−2および22−3による電圧印加がスイッチSWU1およびSWD1、スイッチSWU2およびSWD2ならびにスイッチSWU3およびSWD3により遮断されているとき(すなわち座標検出モード)において、駆動用電極対21−1、21−2および22−3のいずれかを介して検出した電圧値に基づいて、第1の部材11上の透明導電膜領域X−1、X−2もしくはX−3と第2の部材12上の透明導電膜とがタッチ操作により接触した接触点の、検出用電極対22を構成する電極の向かい合う方向上における絶対座標を特定することができる。この絶対座標の算出は、従来一般の座標検出手段で実現することができる。
次に、上述の本発明の第3の実施例によるタッチパネルを、XY両方向を跨ぐマルチタッチ操作による複数領域の認識を可能とする変形例について説明する。図14は、本発明の第3の実施例の変形例によるタッチパネルを説明する図である。本発明の第3の実施例の変形例によるタッチパネル1は、図3を参照して説明した、X方向およびY方向のいずれの方向に跨ってマルチタッチ操作される場合に複数の押下位置情報を認識し識別することができるものである。
第1の部材11上において、X方向に透明導電膜領域X−1、X−2およびX−3が配列される。これら各透明導電膜領域X−1、X−2およびX−3は、第2の部材12への対向面側にそれぞれ成膜され、隣接する透明導電膜領域間は電気的に絶縁される。各透明導電膜領域X−1、X−2およびX−3には、X軸用電極対20X−1、20X−2および20X−3がそれぞれ設けられる。また、第2の部材12上において、Y方向に透明導電膜領域Y−1、Y−2およびY−3が配列される。これら各透明導電膜領域Y−1、Y−2およびY−3は、第1の部材11への対向面側にそれぞれ成膜され、隣接する透明導電膜領域間は電気的に絶縁される。各透明導電膜領域Y−1、Y−2およびY−3には、Y軸用電極対20Y−1、20Y−2および20Y−3がそれぞれ設けられる。これらX軸用電極対20X−1、20X−2および20X−3を構成する各電極が向かい合う方向は、Y軸用電極対20Y−1、20Y−2および20Y−3を構成する各電極が向かい合う方向と直交するようにする。
各X軸用電極対20X−1、20X−2および20X−3を構成する電極には、スイッチSW1およびSWD1、スイッチSW2およびSWD2、ならびにスイッチSW3およびSWD3がそれぞれ接続される。スイッチSW1およびSWD1、スイッチSW2およびSWD2、ならびにスイッチSW3およびSWD3のオンオフ動作は、MCU(図示せず)によって制御される。
また、各Y軸用電極対20Y−1、20Y−2および20Y−3を構成する電極には、スイッチSWR1およびSWL1、スイッチSWR2およびSWL2、ならびにスイッチSWR3およびSWL3がそれぞれ接続される。スイッチSWR1およびSWL1、スイッチSWR2およびSWL2、ならびにスイッチSWR3およびSWL3のオンオフ動作は、上記MCUによって制御される。
上述の構成を有するタッチパネル1では、X軸用電極対20X−1、20X−2および20X−3ならびにY軸用電極対20Y−1、20Y−2および20Y−3が、それぞれ検出すべき領域の方向に応じて、駆動用電極対として動作するかあるいは検出用電極対として動作するかが切り換えられる。
具体的には、X軸方向の押下領域認識を行うX軸領域検出モードにおいては、駆動用電極対として動作する各X軸用電極対20X−1、20X−2および20X−3には、スイッチSW1およびSWD1、スイッチSW2およびSWD2、ならびにスイッチSW3およびSWD3のオンオフにより、電源により順次、X軸用電極対間ではそれぞれ異なるパルス特性を有するような電圧パルス電圧がそれぞれ印加される。各X軸電極対20X−1、20X−2および20X−3間では、同じタイミングで当該電圧パルスが印加されることはない。例えば、電圧パルスが印加されるX軸用電極対を数十ミリ秒ごとに順次切り替えていく。
Y軸方向の押下領域認識を行うY軸領域検出モードにおいては、駆動用電極対として動作する各Y軸用電極対20Y−1、20Y−2および20Y−3には、スイッチSWR1およびSWL1、スイッチSWR2およびSWL2、ならびにスイッチSWR3およびSWL3のオンオフにより、電源により順次、Y軸用電極対間ではそれぞれ異なるパルス特性を有するような電圧パルス電圧がそれぞれ印加される。各X軸電極対20Y−1、20Y−2および20Y−3間では、同じタイミングで当該電圧パルスが印加されることはない。例えば、電圧パルスが印加されるY軸用電極対を数十ミリ秒ごとに順次切り替えていく。
各X軸用電極対20X−1、20X−2および20X−3間、ならびに各Y軸用電極対20Y−1、20Y−2および20Y−3間では、例えば、それぞれ異なるパルス幅を有する電圧パルスP−1、P−2およびP−3、あるいはそれぞれ異なるパルス数を1周期内に有する電圧パルスP−1、P−2およびP−3が印加される。
判別手段はMCU(図示せず)で構成され、X軸領域検出モードにおいて、検出用電極対として動作するY軸用電極対20Y−1、20Y−2もしくは20Y−3のいずれかを介して検出された電圧パルスのパルス特性に基づいて、当該パルス特性を有する電圧パルスを印加したX軸用電極対がいずれであるかを判別し、当該X軸用電極対が設けられた透明導電膜領域の直上のタッチ操作面がタッチ操作されて第2の部材12上の透明導電膜領域に接触したことを示す信号をホストへ出力する。
また、判別手段は、Y軸領域検出モードにおいて、検出用電極対として動作するX軸用電極対20X−1、20X−2もしくは20X−3のいずれかを介して検出された電圧パルスのパルス特性に基づいて、当該パルス特性を有する電圧パルスを印加したY軸用電極対がいずれであるかを判別し、当該Y軸用電極対が設けられた透明導電膜領域の直上のタッチ操作面がタッチ操作されて第1の部材11上の透明導電膜領域に接触したことを示す信号をホストへ出力する。
本発明の第3の実施例の変形例によるタッチパネルは、従来のアナログ抵抗膜式のタッチパネルと同様、ある一点がタッチ操作された場合の当該一点の絶対位置を特定することもできる。
すなわち、Y軸絶対座標検出モードにおいては、スイッチSW1およびSWD1、スイッチSW2およびSWD2、ならびにスイッチSW3およびSWD3を全て同時にオンして、各X軸用電極対20X−1、20X−2および20X−3に同一電圧(図示の例では5ボルト)を同時に印加する。このとき、スイッチSWR1およびSWL1、スイッチSWR2およびSWL2、ならびにスイッチSWR3およびSWL3は全てオフにする。
一方、X軸絶対座標検出モードにおいては、スイッチSWR1およびSWL1、スイッチSWR2およびSWL2、ならびにスイッチSWR3およびSWL3を全て同時にオンして、各Y軸用電極対20Y−1、20Y−2および20Y−3に同一電圧(図示の例では5ボルト)を同時に印加する。このとき、スイッチSW1およびSWD1、スイッチSW2およびSWD2、ならびにスイッチSW3およびSWD3は全てオフにする。
Y軸絶対座標検出モードにおいては、Y軸用電極対20Y−1、20Y−2もしくは20Y−3のうちのいずれかを介して検出した電圧値に基づいて、第1の部材11上の透明導電膜領域X−1、X−2もしくはX−3と第2の部材12上の透明導電膜領域とがタッチ操作により接触した接触点の、X軸用電極対20X−1、20X−2もしくは20X−3を構成する各電極の向かい合う方向上における絶対座標を特定することができる。
X軸絶対座標検出モードにおいては、X軸用電極対20X−1、20X−2もしくは20X−3のうちのいずれかを介して検出した電圧値に基づいて、第2の部材12上の透明導電膜領域Y−1、Y−2もしくはY−3と第1の部材11上の透明導電膜領域とがタッチ操作により接触した接触点の、Y軸用電極対20Y−1、20Y−2もしくは20Y−3を構成する各電極の向かい合う方向上における絶対座標を特定することができる。
上記絶対座標の算出は、従来一般の座標検出手段で実現することができる。
図15および16は、本発明の実施例によるタッチパネルの動作フローを示すフローチャートである。ここでは、図15および16に示すフローチャートは、XY両方向を跨ぐマルチタッチ操作による複数領域の認識を可能とするタッチパネルの動作フローを示すものであり、この動作フローは本発明の第1〜第3の実施例の各変形例によるタッチパネルのいずれにも適用することができるものである。
まず、ステップS101において、タッチパネルがオンされているか否かが判定される。タッチパネルがオンされている場合、ステップS102において、タッチパネルがマルチタッチ操作されたか否かが判定される。ある一点のみがタッチ操作されたと判定された場合にはステップS103へ進み、マルチタッチ操作されたと判定された場合にはステップS108へ進む。
ステップS102においてある一点のみがタッチ操作されたと判定された場合には、座標検出モードに入り、従来のアナログ抵抗膜式のタッチパネルと同様、当該一点の絶対位置を特定する処理が実行される。すなわち、ステップS103において、X軸用電極対に電圧が印加され、ステップS104においてX軸方向の電圧値が読み取られ、ステップS105において、Y軸用電極対に電圧が印加され、ステップS106においてY軸方向の電圧値が読み取られ、そしてステップS107において、X方向およびY方向に関する座標情報が出力される。
一方、ステップS102においてマルチタッチ操作されたと判定された場合には、領域検出モードに入る。まず、ステップS108において、X軸方向にマルチタッチ操作されたか否かが判定される。YESの場合はステップS109へ進み、NOの場合はステップS112へ進む。
ステップS109においてX軸用電極対が駆動され、ステップS101においてタッチ操作されたX軸領域を認識する。そしてステップS111において、マルチタッチ操作によって指が操作された方向について認識するが、その詳細については図17〜19を参照して後述する。
ステップS112において、Y軸方向にマルチタッチ操作されたか否かが判定される。YESと判定された場合はステップS113へ進み、NOと判定された場合はステップS116へ進む。ステップS113においてY軸用電極対が駆動され、ステップS114においてタッチ操作されたY軸領域を認識する。そしてステップS115において、マルチタッチ操作によって指が操作された方向について認識する。
ステップS112において、NOと判定された場合は、X軸方向およびY軸方向の両方にマルチタッチ操作されたことにあたるので、ステップS116へ進む。ステップS116においてX軸用電極対が駆動され、ステップS117においてタッチ操作されたX軸領域を認識する。そしてステップS118において、マルチタッチ操作によって指が操作された方向について認識する。ステップS119においてY軸用電極対が駆動され、ステップS120においてタッチ操作されたY軸領域を認識する。そしてステップS121において、マルチタッチ操作によって指が操作された方向について認識する。
図17は、図16および17におけるマルチタッチ操作による指操作方向の認識の動作フローを示すフローチャートである。図17に示すステップS201は、図15に示すステップS111、ならびに図16に示すステップS115、S118およびS121に相当するものである。ステップS202においてマルチタッチ操作された複数の領域を認識し(認識1)、一定時間経過後、ステップS203においてマルチタッチ操作された複数の領域を認識する(認識2)。例えば2本の指がタッチパネルのタッチ操作面に押下されて、タッチ操作面を押下したまま、指をずらすと、ステップS202における認識1と、ステップS203における認識2との間では認識結果に変化が生じていることになる。ステップS204では、認識情報を分析し、ステップS205において分析結果をホストへ報告する。
図18および19は、マルチタッチ操作による指操作方向の認識の具体例を説明する図である。図18および19では、透明導電膜領域A〜Eのうち、いずれか2つの透明導電膜領域を指2本でタッチ操作された場合を示しており、タッチ操作された位置を図中、丸印(○)で示す。
図18に示すように、ステップS202の認識1の段階で、透明導電膜領域CおよびDがタッチ操作されている場合を考える。テップS203の認識2の段階で、透明導電膜領域BおよびCがタッチ操作されていると認識された場合は、2本の指が、これら指の間隔はそのままで左へ移動されたと分析され、ホストへこの分析結果が報告される。ホストでは、この分析結果を受けて、コンピュータの画面上に表示されている画像を左側へスクロールさせる処理を実行する。また、テップS203の認識2の段階で、透明導電膜領域AおよびCがタッチ操作されていると認識された場合は、2本の指が、これら指の間隔を広げながら左へ移動されたと分析され、ホストへこの分析結果が報告される。ホストでは、この分析結果を受けて、コンピュータの画面上に表示されている画像を拡大しながら左側へスクロールさせる処理を実行する。また、テップS203の認識2の段階で、透明導電膜領域CおよびEがタッチ操作されていると認識された場合は、2本の指が、これら指の間隔を広げながら右へ移動されたと分析され、ホストへこの分析結果が報告される。ホストでは、この分析結果を受けて、コンピュータの画面上に表示されている画像を拡大しながら右側へスクロールさせる処理を実行する。
図19に示すように、ステップS202の認識1の段階で、透明導電膜領域BおよびDがタッチ操作されている場合を考える。テップS203の認識2の段階で、透明導電膜領域CおよびEがタッチ操作されていると認識された場合は、2本の指が、これら指の間隔はそのままで右へ移動されたと分析され、ホストへこの分析結果が報告される。ホストでは、この分析結果を受けて、コンピュータの画面上に表示されている画像を右側へスクロールさせる処理を実行する。また、テップS203の認識2の段階で、透明導電膜領域BおよびCがタッチ操作されていると認識された場合は、2本の指が、これら指の間隔を狭めながら左へ移動されたと分析され、ホストへこの分析結果が報告される。ホストでは、この分析結果を受けて、コンピュータの画面上に表示されている画像を縮小しながら左側へスクロールさせる処理を実行する。また、テップS203の認識2の段階で、透明導電膜領域DおよびEがタッチ操作されていると認識された場合は、2本の指が、これら指の間隔を狭めながら右へ移動されたと分析され、ホストへこの分析結果が報告される。ホストでは、この分析結果を受けて、コンピュータの画面上に表示されている画像を縮小しながら右側へスクロールさせる処理を実行する。
本発明は、アナログ抵抗膜式のタッチパネルに適用することができる。本発明は、各種情報処理機器のディスプレイが、アナログ抵抗膜式のタッチパネルで構成される場合に有用である。情報処理機器の例としては、携帯電話、情報携帯端末(PDA)、携帯音楽プレイヤー、携帯画像プレイヤー、携帯ブラウザ、ワンセグチューナ、電子辞書、カーナビゲーションシステム、コンピュータ、POS端末、在庫管理端末、ATM、各種マルチメディア端末などがある。
本発明によるアナログ抵抗膜式のタッチパネルに設けられる複数の透明導電膜領域を説明する図(その1)である。 本発明によるアナログ抵抗膜式のタッチパネルに設けられる複数の透明導電膜領域を説明する図(その2)である。 本発明によるアナログ抵抗膜式のタッチパネルに設けられる複数の透明導電膜領域を説明する図(その3)である。 本発明の第1の実施例によるタッチパネルを説明する図である。 本発明の第1の実施例の変形例によるタッチパネルを説明する図である。 本発明の第2の実施例によるタッチパネルを説明する図である。 本発明の第2の実施例によるタッチパネルにおいて、ある一点がタッチ操作された場合の当該一点の絶対位置を特定する原理を説明する図である。 本発明の第2の実施例によるタッチパネルにおける、各検出用電極対が形成する電位勾配を説明する図(その1)である。 本発明の第2の実施例によるタッチパネルにおける、各検出用電極対が形成する電位勾配を説明する図(その2)である。 本発明の第2の実施例によるタッチパネルにおける、各検出用電極対が形成する電位勾配を説明する図(その3)である。 本発明の第2の実施例の変形例によるタッチパネルを説明する図である。 本発明の第3の実施例によるタッチパネルを説明する図である。 本発明の第3の実施例によるタッチパネルにおいて、ある一点がタッチ操作された場合の当該一点の絶対位置を特定する原理を説明する図である。 本発明の第3の実施例の変形例によるタッチパネルを説明する図である。 本発明の実施例によるタッチパネルの動作フローを示すフローチャート(その1)である。 本発明の実施例によるタッチパネルの動作フローを示すフローチャート(その2)である。 図16および17におけるマルチタッチ操作による指操作方向の認識の動作フローを示すフローチャートである。 図18および19は、マルチタッチ操作による指操作方向の認識の具体例を説明する図(その1)である。 図18および19は、マルチタッチ操作による指操作方向の認識の具体例を説明する図(その2)である。 一般的なアナログ抵抗膜式のタッチパネルを例示する斜視図である。 一般的なアナログ抵抗膜式のタッチパネルを例示する断面図である。 アナログ抵抗膜式のタッチパネルの一般的な座標検出原理を説明する図である。 図22に例示されるアナログ抵抗膜式のタッチパネルを複数の指でタッチ操作したときに生じる問題点を説明する図である。
符号の説明
1 タッチパネル
11 第1の部材
12 第2の部材
21、21−1、21−2、21−3 電極対
22、22−1、22−2、22−3 電極対
23、23−1、23−2、23−3 電極
20X−1、20X−2、20X−3 X軸用電極対
20Y−1、20Y−2、20Y−3 Y軸用電極対
X−1、X−2、X−3、Y−1、Y−2、Y−3 透明導電膜領域

Claims (25)

  1. 面状の第1の部材および第2の部材の対向面側のそれぞれに透明導電膜が成膜されるアナログ抵抗膜式のタッチパネルであって、
    前記第1の部材上においてある一定の方向に配列された複数の透明導電膜領域であって、各前記透明導電膜領域は、前記第2の部材への対向面側にそれぞれ成膜され、隣接する前記透明導電膜領域間は電気的に絶縁される透明導電膜領域と、
    各前記透明導電膜領域にそれぞれ設けられる駆動用電極対であって、各前記駆動用電極対間では、それぞれ異なる電圧値を有する電圧を印加し、当該透明導電膜領域内においては、前記透明導電膜領域の配列方向については同一電位となるような電位勾配を形成する駆動用電極対と、
    前記第1の部材への対向面側に前記透明導電膜が成膜された前記第2の部材上に設けられる検出用電極対であって、前記検出用電極対を構成する各電極の向かい合う方向が、前記駆動用電極対を構成する各電極が向かい合う方向に直交するよう設けられる検出用電極対と、
    前記検出用電極対を介して検出された電圧値に基づいて、前記複数の透明導電膜領域のうちどの透明導電膜領域が前記第2の部材上の前記透明導電膜に接触したかを判別する判別手段と、
    を備えることを特徴とするタッチパネル。
  2. 各前記駆動用電極対について、当該駆動用電極対を構成する各電極にそれぞれ接続される第1の抵抗および第2の抵抗であって、各前記駆動用電極対間において、前記第1の抵抗と前記第2の抵抗との合成抵抗については等しい抵抗値を有するとともに、前記第1の抵抗についてはそれぞれ異なる抵抗値を有する第1の抵抗および第2の抵抗と、
    各前記駆動用電極対について、当該駆動用電極対を構成する前記第1の抵抗に接続された前記電極に、該第1の抵抗を介して同一電圧値を有する電圧を順次印加する電源と、
    を備え、
    各前記駆動用電極対間では、それぞれ異なる電圧値を有する電圧が印加される請求項1に記載のタッチパネル。
  3. 前記判別手段は、前記検出用電極対を介して検出された電圧値に基づいて、当該電圧値を有する電圧を印加した駆動用電極対を判別し、当該駆動用電極対が設けられた透明導電膜領域が前記第2の部材上の前記透明導電膜に接触したことを示す信号を出力する請求項2に記載のタッチパネル。
  4. 前記判別手段は、前記電源によって各前記駆動用電極対ごとに電圧が印加される順番およびタイミングに対応して、前記検出用電極対を介して検出された電圧値を順次取得し、前記複数の透明導電膜領域のうちどの透明導電膜領域が前記第2の部材上の前記透明導電膜に接触したかを判別する請求項3に記載のタッチパネル。
  5. 全ての前記駆動用電極対による電圧印加を遮断するスイッチと、
    前記全ての駆動用電極対による電圧印加が前記スイッチにより遮断されているときに、前記検出用電極対に電圧を印加するさらなる電源と、
    前記全ての駆動用電極対による電圧印加が前記スイッチにより遮断されているときに、各前記駆動用電極対のうちのいずれかを介して検出した電圧値に基づいて、前記第1の部材上の前記透明導電膜領域と前記第2の部材上の前記透明導電膜とがタッチ操作により接触した接触点の、前記検出用電極対を構成する各電極の向かい合う方向上における絶対座標を特定する座標検出手段と、
    をさらに備える請求項1〜4のいずれか一項に記載のタッチパネル。
  6. 面状の第1の部材および第2の部材の対向面側のそれぞれに透明導電膜が成膜されるアナログ抵抗膜式のタッチパネルであって、
    前記第1の部材上においてある一定の方向に配列された複数の透明導電膜領域であって、各前記透明導電膜領域は、前記第2の部材への対向面側にそれぞれ成膜され、隣接する前記透明導電膜領域間は電気的に絶縁される透明導電膜領域と、
    各前記透明導電膜領域にそれぞれ設けられる検出用電極対であって、前記検出用電極対を構成する各電極の向かい合う方向が、前記透明導電膜領域の配列方向に直交するよう設けられる検出用電極対と、
    前記第1の部材への対向面側に前記透明導電膜が成膜された前記第2の部材上に設けられる駆動用電極対であって、前記駆動用電極対を構成する各電極の向かい合う方向が、前記透明導電膜領域の配列方向に沿うように設けられ、前記検出用電極対を構成する各電極の向かい合う方向については同一電位となるような電位勾配を電圧印加により形成する駆動用電極対と、
    前記検出用電極対を介して検出された電圧値に基づいて、前記複数の透明導電膜領域のうちどの透明導電膜領域が前記第2の部材上の前記透明導電膜に接触したかを判別する判別手段と、
    を備えることを特徴とするタッチパネル。
  7. 前記判別手段は、前記検出用電極対を介して検出された電圧値に基づいて、当該電圧値を有する電圧を検出した検出用電極対を判別し、当該検出用電極対が設けられた透明導電膜領域が前記第2の部材上の前記透明導電膜に接触したことを示す信号を出力する請求項6に記載のタッチパネル。
  8. 前記駆動用電極対による電圧印加を遮断するスイッチと、
    前記駆動用電極対による電圧印加が前記スイッチにより遮断されているときに、各前記検出用電極対に同一電圧を同時に印加する電源と、
    前記駆動用電極対による電圧印加が前記スイッチにより遮断されているときに、前記駆動用電極対を介して検出した電圧値に基づいて、前記第1の部材上の前記透明導電膜領域と前記第2の部材上の前記透明導電膜とがタッチ操作により接触した接触点の、前記検出用電極対を構成する各電極の向かい合う方向上における絶対座標を特定する座標検出手段と、
    をさらに備える請求項6または7に記載のタッチパネル。
  9. 面状の第1の部材および第2の部材の対向面側のそれぞれに透明導電膜が成膜されるアナログ抵抗膜式のタッチパネルであって、
    前記第1の部材上においてある一定の方向に配列された複数の透明導電膜領域であって、各前記透明導電膜領域は、前記第2の部材への対向面側にそれぞれ成膜され、隣接する前記透明導電膜領域間は電気的に絶縁される透明導電膜領域と、
    各前記透明導電膜領域にそれぞれ設けられる駆動用電極対であって、各前記駆動用電極対間では、それぞれ異なるパルス特性を有する電圧パルスを印加する駆動用電極対と、
    前記第1の部材への対向面側に前記透明導電膜が成膜された前記第2の部材上に設けられる検出用電極対であって、前記検出用電極対を構成する各電極の向かい合う方向が、前記駆動用電極対を構成する各電極が向かい合う方向に直交するよう設けられる検出用電極対と、
    前記検出用電極対を介して検出された前記電圧パルスのパルス特性に基づいて、前記複数の透明導電膜領域のうちどの透明導電膜領域が前記第2の部材上の前記透明導電膜に接触したかを判別する判別手段と、
    を備えることを特徴とするタッチパネル。
  10. 各前記駆動用電極対間では、それぞれ異なるパルス幅を有する電圧パルスが印加される請求項9に記載のタッチパネル。
  11. 各前記駆動用電極対間では、それぞれ異なるパルス数を1周期内に有する電圧パルスが印加される請求項9に記載のタッチパネル。
  12. 前記判別手段は、前記検出用電極対を介して検出された電圧パルスのパルス特性に基づいて、当該パルス特性を有する電圧パルスを印加した駆動用電極対を判別し、当該駆動用電極対が設けられた透明導電膜領域が前記第2の部材上の前記透明導電膜に接触したことを示す信号を出力する請求項10または11に記載のタッチパネル。
  13. 全ての前記駆動用電極対による電圧パルスの印加を遮断するスイッチと、
    前記全ての駆動用電極対による電圧パルスの印加が前記スイッチにより遮断されているときに、前記検出用電極対に電圧を印加する電源と、
    前記全ての駆動用電極対による電圧パルスの印加が前記スイッチにより遮断されているときに、各前記駆動用電極対のうちのいずれかを介して検出した電圧値に基づいて、前記第1の部材上の前記透明導電膜領域と前記第2の部材上の前記透明導電膜とがタッチ操作により接触した接触点の、前記検出用電極対を構成する各電極の向かい合う方向上における絶対座標を特定する座標検出手段と、
    をさらに備える請求項9〜12のいずれか一項に記載のタッチパネル。
  14. アナログ抵抗膜式のタッチパネルであって、
    複数の透明導電膜領域がX方向に配列され、各前記透明導電膜領域にX軸用電極対がそれぞれ設けられる第1の部材であって、各前記透明導電膜領域は、タッチ操作面とは反対側の面側に位置しており、隣接する前記透明導電膜領域間は電気的に絶縁されている第1の部材と、
    複数の透明導電膜領域が前記X方向に直交するY方向に配列され、各前記透明導電膜領域にY軸用電極対がそれぞれ設けられる第2の部材であって、各前記透明導電膜領域は、前記第1の部材への対向面側に位置しており、隣接する前記透明導電膜領域間は電気的に絶縁されている第2の部材と、
    前記X軸用電極対が、各前記X軸用電極対間ではそれぞれ異なる電圧値を有する電圧を印加するとともに、当該透明導電膜領域内においては前記X方向については同一電位となるような電位勾配を形成するX軸領域検出モードにおいては、前記Y軸用電極対を介して検出された電圧値に基づいて、前記X軸方向に配列される複数の透明導電膜領域のうちどの透明導電膜領域が前記第2の部材上の前記透明導電膜領域に接触したかを判別し、前記Y軸用電極対が、各前記Y軸用電極対間ではそれぞれ異なる電圧値を有する電圧を印加するとともに、当該透明導電膜領域内においては前記Y方向については同一電位となるような電位勾配を形成するY軸領域検出モードにおいては、前記X軸用電極対を介して検出された電圧値に基づいて、前記Y軸方向に配列される複数の透明導電膜領域のうちどの透明導電膜領域が前記第1の部材上の前記透明導電膜領域に接触したかを判別する判別手段と、
    を備えることを特徴とするタッチパネル。
  15. 各前記X軸用電極対および各前記Y軸用電極対について、当該X軸用電極対もしくは当該Y軸用電極対を構成する各電極にそれぞれ接続される第1の抵抗および第2の抵抗であって、各前記X軸用電極対および各前記Y軸用電極対間において、前記第1の抵抗と前記第2の抵抗との合成抵抗については等しい抵抗値を有するとともに、前記第1の抵抗についてはそれぞれ異なる抵抗値を有する第1の抵抗および第2の抵抗と、
    前記X軸領域検出モードにおいては、各前記X軸用電極対について、当該X軸用電極対を構成する前記第1の抵抗に接続された前記電極に、該第1の抵抗を介して同一電圧値を有する電圧を順次印加し、前記Y軸領域検出モードにおいては、各前記Y軸用電極対について、当該Y軸用電極対を構成する前記第1の抵抗に接続された前記電極に、該第1の抵抗を介して同一電圧値を有する電圧を順次印加する電源と、
    を備え、
    各前記X軸用電極対間および各前記Y軸用電極対間では、それぞれ異なる電圧値を有する電圧が印加される請求項14に記載のタッチパネル。
  16. 前記判別手段は、前記X軸領域検出モードにおいては、前記Y軸用電極対を介して検出された電圧値に基づいて、当該電圧値を有する電圧を印加したX軸用電極対を判別し、当該X軸用電極対が設けられた透明導電膜領域が前記第2の部材上の前記透明導電膜に接触したことを示す信号を出力し、前記Y軸領域検出モードにおいては、前記X軸用電極対を介して検出された電圧値に基づいて、当該電圧値を有する電圧を印加したY軸用電極対を判別し、当該Y軸用電極対が設けられた透明導電膜領域が前記第1の部材上の前記透明導電膜に接触したことを示す信号を出力する請求項15に記載のタッチパネル。
  17. 前記判別手段は、前記X軸領域検出モードにおいては、前記電源によって各前記X軸用電極対ごとに電圧が印加される順番およびタイミングに対応して、前記Y軸用電極対を介して検出された電圧値を順次取得し、前記X軸方向に配列される複数の透明導電膜領域のうちどの透明導電膜領域が前記第2の部材上の前記透明導電膜に接触したかを判別し、前記Y軸領域検出モードにおいては、前記電源によって各前記Y軸用電極対ごとに電圧が印加される順番およびタイミングに対応して、前記X軸用電極対を介して検出された電圧値を順次取得し、前記Y軸方向に配列される複数の透明導電膜領域のうちどの透明導電膜領域が前記第1の部材上の前記透明導電膜に接触したかを判別する請求項16に記載のタッチパネル。
  18. アナログ抵抗膜式のタッチパネルであって、
    複数の透明導電膜領域がX方向に配列され、各前記透明導電膜領域にX軸用電極対がそれぞれ設けられる第1の部材であって、各前記透明導電膜領域は、タッチ操作面とは反対側の面側に位置しており、隣接する前記透明導電膜領域間は電気的に絶縁されている第1の部材と、
    複数の透明導電膜領域が前記X方向に直交するY方向に配列され、各前記透明導電膜領域にY軸用電極対がそれぞれ設けられる第2の部材であって、前記透明導電膜領域は、前記第1の部材への対向面側に位置しており、隣接する前記透明導電膜領域間は電気的に絶縁されている第2の部材と、
    前記X軸用電極対が、前記X方向については同一電位となるような電位勾配を電圧印加により形成するX軸領域検出モードにおいては、前記Y軸用電極対を介して検出された電圧値に基づいて、前記X軸方向に配列される複数の透明導電膜領域のうちどの透明導電膜領域が前記第2の部材上の前記透明導電膜領域に接触したかを判別し、前記Y軸用電極対が、前記Y方向については同一電位となるような電位勾配を電圧印加により形成するY軸領域検出モードにおいては、前記X軸用電極対を介して検出された電圧値に基づいて、前記Y軸方向に配列される複数の透明導電膜領域のうちどの透明導電膜領域が前記第1の部材上の前記透明導電膜領域に接触したかを判別する判別手段と、
    を備えることを特徴とするタッチパネル。
  19. 前記判別手段は、前記X軸領域検出モードにおいては、前記Y軸用電極対を介して検出された電圧値に基づいて、当該電圧値を有する電圧を印加したX軸用電極対を判別し、当該X軸用電極対が設けられた透明導電膜領域が前記第2の部材上の前記透明導電膜領域に接触したことを示す信号を出力し、前記Y軸領域検出モードにおいては、前記X軸用電極対を介して検出された電圧値に基づいて、当該電圧値を有する電圧を印加したY軸用電極対を判別し、当該Y軸用電極対が設けられた透明導電膜領域が前記第1の部材上の前記透明導電膜領域に接触したことを示す信号を出力する請求項18に記載のタッチパネル。
  20. X軸絶対座標検出モードにおいては、各前記X軸用電極対に同一電圧を同時に印加し、Y軸絶対座標検出モードにおいては、各前記Y軸用電極対に同一電圧を同時に印加する電源と、
    前記X軸絶対座標検出モードにおいては、前記Y軸用電極対のうちのいずれかを介して検出した電圧値に基づいて、前記第1の部材上の前記透明導電膜領域と前記第2の部材上の前記透明導電膜領域とがタッチ操作により接触した接触点の、X軸方向上における絶対座標を特定し、前記Y軸絶対座標検出モードにおいては、前記X軸用電極対のうちのいずれかを介して検出した電圧値に基づいて、前記第1の部材上の前記透明導電膜領域と前記第2の部材上の前記透明導電膜領域とがタッチ操作により接触した接触点の、Y軸方向上における絶対座標を特定する座標検出手段と、
    をさらに備える請求項18または19に記載のタッチパネル。
  21. アナログ抵抗膜式のタッチパネルであって、
    複数の透明導電膜領域がX方向に配列され、各前記透明導電膜領域にX軸用電極対がそれぞれ設けられる第1の部材であって、各前記透明導電膜領域は、タッチ操作面とは反対側の面側に位置しており、隣接する前記透明導電膜領域間は電気的に絶縁されている第1の部材と、
    複数の透明導電膜領域が前記X方向に直交するY方向に配列され、各前記透明導電膜領域にY軸用電極対がそれぞれ設けられる第2の部材であって、各前記透明導電膜領域は、前記第1の部材への対向面側に位置しており、隣接する前記透明導電膜領域間は電気的に絶縁されている第2の部材と、
    前記X軸用電極対間ではそれぞれ異なるパルス特性を有する電圧パルスを印加するX軸領域検出モードにおいては、前記Y軸用電極対を介して検出された前記電圧パルスのパルス特性に基づいて、前記X軸方向に配列される複数の透明導電膜領域のうちどの透明導電膜領域が前記第2の部材上の前記透明導電膜領域に接触したかを判別し、前記Y軸用電極対間ではそれぞれ異なるパルス特性を有する電圧パルスを印加するY軸領域検出モードにおいては、前記X軸用電極対を介して検出された前記電圧パルスのパルス特性に基づいて、前記Y軸方向に配列される複数の透明導電膜領域のうちどの透明導電膜領域が前記第1の部材上の前記透明導電膜領域に接触したかを判別する判別手段と、
    を備えることを特徴とするタッチパネル。
  22. 各前記X軸用電極対間ではそれぞれ異なるパルス幅を有する電圧パルスが印加され、各前記Y軸用電極対間ではそれぞれ異なるパルス幅を有する電圧パルスが印加される請求項21に記載のタッチパネル。
  23. 各前記X軸用電極対間ではそれぞれ異なるパルス数を1周期内に有する電圧パルスが印加され、各前記Y軸用電極対間ではそれぞれ異なるパルス数を1周期内に有する電圧パルスが印加される請求項21に記載のタッチパネル。
  24. 前記判別手段は、前記X軸領域検出モードにおいては、前記Y軸用電極対を介して検出された電圧パルスのパルス特性に基づいて、当該パルス特性を有する電圧パルスを印加したX軸用電極対を判別し、当該X軸用電極対が設けられた透明導電膜領域が前記第2の部材上の前記透明導電膜領域に接触したことを示す信号を出力し、前記Y軸領域検出モードにおいては、前記X軸用電極対を介して検出された電圧パルスのパルス特性に基づいて、当該パルス特性を有する電圧パルスを印加したY軸用電極対を判別し、当該Y軸用電極対が設けられた透明導電膜領域が前記第1の部材上の前記透明導電膜領域に接触したことを示す信号を出力する請求項22または23に記載のタッチパネル。
  25. X軸絶対座標検出モードにおいては、各前記Y軸用電極対に同一電圧を同時に印加し、Y軸絶対座標検出モードにおいては、各前記X軸用電極対に同一電圧を同時に印加する電源と、
    前記X軸絶対座標検出モードにおいては、前記X軸用電極対のうちのいずれかを介して検出した電圧値に基づいて、前記第1の部材上の前記透明導電膜領域と前記第2の部材上の前記透明導電膜領域とがタッチ操作により接触した接触点の、Y軸方向上における絶対座標を特定し、前記Y軸絶対座標検出モードにおいては、前記X軸用電極対のうちのいずれかを介して検出した電圧値に基づいて、前記第1の部材上の前記透明導電膜領域と前記第2の部材上の前記透明導電膜領域とがタッチ操作により接触した接触点の、Y軸方向上における絶対座標を特定する座標検出手段と、
    をさらに備える請求項21〜24のいずれか一項に記載のタッチパネル。
JP2008164971A 2008-06-24 2008-06-24 タッチパネル Expired - Fee Related JP5106268B2 (ja)

Priority Applications (3)

Application Number Priority Date Filing Date Title
JP2008164971A JP5106268B2 (ja) 2008-06-24 2008-06-24 タッチパネル
TW098112877A TWI405115B (zh) 2008-06-24 2009-04-17 觸控面板
US12/483,468 US9547404B2 (en) 2008-06-24 2009-06-12 Touch panel

Applications Claiming Priority (1)

Application Number Priority Date Filing Date Title
JP2008164971A JP5106268B2 (ja) 2008-06-24 2008-06-24 タッチパネル

Publications (3)

Publication Number Publication Date
JP2010009142A true JP2010009142A (ja) 2010-01-14
JP2010009142A5 JP2010009142A5 (ja) 2011-07-07
JP5106268B2 JP5106268B2 (ja) 2012-12-26

Family

ID=41430086

Family Applications (1)

Application Number Title Priority Date Filing Date
JP2008164971A Expired - Fee Related JP5106268B2 (ja) 2008-06-24 2008-06-24 タッチパネル

Country Status (3)

Country Link
US (1) US9547404B2 (ja)
JP (1) JP5106268B2 (ja)
TW (1) TWI405115B (ja)

Cited By (5)

* Cited by examiner, † Cited by third party
Publication number Priority date Publication date Assignee Title
KR20120048855A (ko) * 2010-11-08 2012-05-16 삼성모바일디스플레이주식회사 저항막 방식의 터치 스크린 패널
JP2012094003A (ja) * 2010-07-22 2012-05-17 Fujitsu Component Ltd タッチパネルにおける位置検出方法、タッチパネル、タッチパネルの初期化方法
JP2014026582A (ja) * 2012-07-30 2014-02-06 Brother Ind Ltd 接触検出処理プログラム、接触検出処理方法、及びタッチパネル装置
JP2014142723A (ja) * 2013-01-22 2014-08-07 Brother Ind Ltd 接触検出処理プログラム、接触検出処理方法、及びタッチパネル装置
JP2019074989A (ja) * 2017-10-18 2019-05-16 株式会社ジャパンディスプレイ 表示装置、および、タッチパネル装置

Families Citing this family (27)

* Cited by examiner, † Cited by third party
Publication number Priority date Publication date Assignee Title
JP4968380B2 (ja) * 2010-03-03 2012-07-04 カシオ計算機株式会社 接触状態検出方法、タッチパネル装置、及び、表示装置
TWI410851B (zh) 2010-04-27 2013-10-01 Htc Corp 手持裝置及其觸控感測裝置
JP5029767B2 (ja) * 2010-04-27 2012-09-19 カシオ計算機株式会社 抵抗膜式タッチパネルの接触状態検出方法、タッチパネル装置、及び表示装置
CN102236495B (zh) * 2010-05-04 2013-06-05 宏达国际电子股份有限公司 手持装置及其触控感测装置
KR101274649B1 (ko) * 2010-05-27 2013-06-12 엘지디스플레이 주식회사 터치 패널 일체형 액정 표시 장치 및 이의 제조 방법
CN102402319B (zh) * 2010-09-09 2014-09-24 群康科技(深圳)有限公司 触控面板的驱动方法与装置
JP5458443B2 (ja) 2010-09-14 2014-04-02 株式会社ジャパンディスプレイ タッチ検出機能付き表示装置、および電子機器
TWI448951B (zh) 2011-07-07 2014-08-11 Cal Comp Electronics & Comm Co 電阻式觸控面板
KR101306287B1 (ko) * 2011-08-16 2013-09-09 주식회사 팬택 플렉서블 디스플레이의 변형 인지 장치
US9493342B2 (en) 2012-06-21 2016-11-15 Nextinput, Inc. Wafer level MEMS force dies
WO2014008377A1 (en) 2012-07-05 2014-01-09 Ian Campbell Microelectromechanical load sensor and methods of manufacturing the same
CN102937852B (zh) * 2012-10-19 2015-08-05 北京京东方光电科技有限公司 一种电容式内嵌触摸屏、其驱动方法及显示装置
CN104423768B (zh) * 2013-09-10 2018-04-17 宸鸿科技(厦门)有限公司 触控系统及其控制方法
CN105934661B (zh) 2014-01-13 2019-11-05 触控解决方案股份有限公司 微型强化圆片级mems力传感器
US10466119B2 (en) 2015-06-10 2019-11-05 Nextinput, Inc. Ruggedized wafer level MEMS force sensor with a tolerance trench
WO2018148510A1 (en) 2017-02-09 2018-08-16 Nextinput, Inc. Integrated piezoresistive and piezoelectric fusion force sensor
EP4701393A2 (en) 2017-02-09 2026-02-25 Nextinput, Inc. Integrated digital force sensors and related methods of manufacture
EP3655740A4 (en) 2017-07-19 2021-07-14 Nextinput, Inc. VOLTAGE TRANSFER STACKING IN A MEMS FORCE SENSOR
WO2019023309A1 (en) 2017-07-25 2019-01-31 Nextinput, Inc. FORCE SENSOR AND INTEGRATED FINGERPRINTS
WO2019023552A1 (en) 2017-07-27 2019-01-31 Nextinput, Inc. PIEZORESISTIVE AND PIEZOELECTRIC FORCE SENSOR ON WAFER AND METHODS OF MANUFACTURING THE SAME
JP6593932B2 (ja) * 2017-10-16 2019-10-23 株式会社ソディック 機械の操作盤
WO2019079420A1 (en) 2017-10-17 2019-04-25 Nextinput, Inc. SHIFT TEMPERATURE COEFFICIENT COMPENSATION FOR FORCE SENSOR AND STRAIN GAUGE
WO2019090057A1 (en) 2017-11-02 2019-05-09 Nextinput, Inc. Sealed force sensor with etch stop layer
WO2019099821A1 (en) 2017-11-16 2019-05-23 Nextinput, Inc. Force attenuator for force sensor
TWI673643B (zh) * 2018-09-28 2019-10-01 大陸商北京集創北方科技股份有限公司 可改善觸控屏遠近端驅動信號均勻性的驅動方法及利用其之觸控裝置
US10962427B2 (en) 2019-01-10 2021-03-30 Nextinput, Inc. Slotted MEMS force sensor
JP7698494B2 (ja) * 2020-11-02 2025-06-25 Fclコンポーネント株式会社 タッチパネル

Citations (6)

* Cited by examiner, † Cited by third party
Publication number Priority date Publication date Assignee Title
JPS63208923A (ja) * 1987-02-25 1988-08-30 Mitsubishi Electric Corp 手書き入力装置
JPH0945184A (ja) * 1995-08-01 1997-02-14 Gunze Ltd マトリックス型タッチパネルの検出装置
JP2000242429A (ja) * 1999-02-18 2000-09-08 Canon Inc タッチパネル装置及びその制御方法
JP2002287889A (ja) * 2001-03-23 2002-10-04 Sharp Corp ペン入力装置
JP2005049978A (ja) * 2003-07-30 2005-02-24 Toshiba Tec Corp 抵抗膜式タッチパネル
JP2006202006A (ja) * 2005-01-20 2006-08-03 Fujitsu Component Ltd 抵抗膜方式タッチパネル

Family Cites Families (12)

* Cited by examiner, † Cited by third party
Publication number Priority date Publication date Assignee Title
JP3310082B2 (ja) * 1993-12-24 2002-07-29 シャープ株式会社 液晶表示装置および液晶一体型タブレットにおける座標検出方法
JP3269596B2 (ja) * 1994-10-31 2002-03-25 シャープ株式会社 タッチパネル式入力装置
US5815141A (en) * 1996-04-12 1998-09-29 Elo Touch Systems, Inc. Resistive touchscreen having multiple selectable regions for pressure discrimination
JP3492493B2 (ja) * 1997-06-13 2004-02-03 日本電気株式会社 タッチパネル及びタッチパネル上の押圧位置検出方法
JP3221368B2 (ja) * 1997-09-17 2001-10-22 日本電気株式会社 抵抗膜方式タブレット及びその制御方法並びにその方法を実現するためのプログラムを記録した記録媒体
JP2001282454A (ja) * 2000-03-31 2001-10-12 Nissha Printing Co Ltd 周縁部に遮光性を有するタッチパネル
KR100698898B1 (ko) * 2000-08-03 2007-03-22 한국터치스크린(주) 터치판넬
WO2003019346A1 (fr) * 2001-08-22 2003-03-06 Sharp Kabushiki Kaisha Capteur tactile, affichage a capteur tactile et procede de generation de donnees de position
KR100847813B1 (ko) * 2001-12-27 2008-07-23 엘지디스플레이 주식회사 터치패널 구동장치 및 방법
JP2006039667A (ja) 2004-07-22 2006-02-09 Fujitsu Component Ltd エリア分割アナログ抵抗膜タッチパネル
TWI249708B (en) * 2004-09-09 2006-02-21 Ind Tech Res Inst Analog resistive touch panel without bias
TWI253584B (en) * 2004-11-23 2006-04-21 Ind Tech Res Inst Coordinate positioning system of touch panel

Patent Citations (6)

* Cited by examiner, † Cited by third party
Publication number Priority date Publication date Assignee Title
JPS63208923A (ja) * 1987-02-25 1988-08-30 Mitsubishi Electric Corp 手書き入力装置
JPH0945184A (ja) * 1995-08-01 1997-02-14 Gunze Ltd マトリックス型タッチパネルの検出装置
JP2000242429A (ja) * 1999-02-18 2000-09-08 Canon Inc タッチパネル装置及びその制御方法
JP2002287889A (ja) * 2001-03-23 2002-10-04 Sharp Corp ペン入力装置
JP2005049978A (ja) * 2003-07-30 2005-02-24 Toshiba Tec Corp 抵抗膜式タッチパネル
JP2006202006A (ja) * 2005-01-20 2006-08-03 Fujitsu Component Ltd 抵抗膜方式タッチパネル

Cited By (7)

* Cited by examiner, † Cited by third party
Publication number Priority date Publication date Assignee Title
JP2012094003A (ja) * 2010-07-22 2012-05-17 Fujitsu Component Ltd タッチパネルにおける位置検出方法、タッチパネル、タッチパネルの初期化方法
KR20120048855A (ko) * 2010-11-08 2012-05-16 삼성모바일디스플레이주식회사 저항막 방식의 터치 스크린 패널
KR101680256B1 (ko) 2010-11-08 2016-12-13 삼성디스플레이 주식회사 저항막 방식의 터치 스크린 패널
JP2014026582A (ja) * 2012-07-30 2014-02-06 Brother Ind Ltd 接触検出処理プログラム、接触検出処理方法、及びタッチパネル装置
JP2014142723A (ja) * 2013-01-22 2014-08-07 Brother Ind Ltd 接触検出処理プログラム、接触検出処理方法、及びタッチパネル装置
JP2019074989A (ja) * 2017-10-18 2019-05-16 株式会社ジャパンディスプレイ 表示装置、および、タッチパネル装置
JP6993168B2 (ja) 2017-10-18 2022-01-13 株式会社ジャパンディスプレイ 表示装置、および、タッチパネル装置

Also Published As

Publication number Publication date
TWI405115B (zh) 2013-08-11
JP5106268B2 (ja) 2012-12-26
TW201005621A (en) 2010-02-01
US20090314551A1 (en) 2009-12-24
US9547404B2 (en) 2017-01-17

Similar Documents

Publication Publication Date Title
JP5106268B2 (ja) タッチパネル
US8115744B2 (en) Multi-point touch-sensitive system
US8508492B2 (en) Touch panel and method of detecting press operation position thereon
US9459734B2 (en) Input device with deflectable electrode
US8106891B2 (en) Multi-point touch-sensitive device
US6970160B2 (en) Lattice touch-sensing system
US9019216B2 (en) Touch panel and method of detecting coordinate position
US8139040B2 (en) Method of operating a multi-point touch-sensitive system
CN102449583B (zh) 具有压敏层的输入装置和方法
CN107231814B (zh) 检测错误边界触摸输入的方法和设备
JP6074408B2 (ja) タッチセンシティブスクリーン
JP2008217784A (ja) タッチパネル
KR20150067569A (ko) 터치패널 제어장치 및 그의 제어 방법
CN110032300B (zh) 触摸面板及触摸面板装置
JP2012128676A (ja) タッチパネル
US20170255316A1 (en) Specified position detection unit
US11726609B2 (en) Touch-sensitive apparatus and method
JP5401295B2 (ja) タッチパネル及び座標位置検出方法
JP2011243049A (ja) センサシート、検出回路およびタッチパネル装置
KR20140112790A (ko) 위치 검출 장치 및 위치 검출 방법
JP2013186712A (ja) タッチパネル

Legal Events

Date Code Title Description
A521 Written amendment

Free format text: JAPANESE INTERMEDIATE CODE: A523

Effective date: 20110523

A621 Written request for application examination

Free format text: JAPANESE INTERMEDIATE CODE: A621

Effective date: 20110523

A977 Report on retrieval

Free format text: JAPANESE INTERMEDIATE CODE: A971007

Effective date: 20120419

A131 Notification of reasons for refusal

Free format text: JAPANESE INTERMEDIATE CODE: A131

Effective date: 20120508

A521 Written amendment

Free format text: JAPANESE INTERMEDIATE CODE: A523

Effective date: 20120709

TRDD Decision of grant or rejection written
A01 Written decision to grant a patent or to grant a registration (utility model)

Free format text: JAPANESE INTERMEDIATE CODE: A01

Effective date: 20120904

A01 Written decision to grant a patent or to grant a registration (utility model)

Free format text: JAPANESE INTERMEDIATE CODE: A01

A61 First payment of annual fees (during grant procedure)

Free format text: JAPANESE INTERMEDIATE CODE: A61

Effective date: 20121002

R150 Certificate of patent or registration of utility model

Free format text: JAPANESE INTERMEDIATE CODE: R150

FPAY Renewal fee payment (event date is renewal date of database)

Free format text: PAYMENT UNTIL: 20151012

Year of fee payment: 3

S531 Written request for registration of change of domicile

Free format text: JAPANESE INTERMEDIATE CODE: R313531

R350 Written notification of registration of transfer

Free format text: JAPANESE INTERMEDIATE CODE: R350

R250 Receipt of annual fees

Free format text: JAPANESE INTERMEDIATE CODE: R250

R250 Receipt of annual fees

Free format text: JAPANESE INTERMEDIATE CODE: R250

R250 Receipt of annual fees

Free format text: JAPANESE INTERMEDIATE CODE: R250

LAPS Cancellation because of no payment of annual fees