JP2010008992A - 光レセプタクル - Google Patents

光レセプタクル Download PDF

Info

Publication number
JP2010008992A
JP2010008992A JP2008241451A JP2008241451A JP2010008992A JP 2010008992 A JP2010008992 A JP 2010008992A JP 2008241451 A JP2008241451 A JP 2008241451A JP 2008241451 A JP2008241451 A JP 2008241451A JP 2010008992 A JP2010008992 A JP 2010008992A
Authority
JP
Japan
Prior art keywords
connection port
plug connection
plug
door body
housing
Prior art date
Legal status (The legal status is an assumption and is not a legal conclusion. Google has not performed a legal analysis and makes no representation as to the accuracy of the status listed.)
Granted
Application number
JP2008241451A
Other languages
English (en)
Other versions
JP5097068B2 (ja
Inventor
Hironobu Oe
広展 大江
Yukimasa Abe
幸政 阿部
Yasukazu Kinekawa
安一 杵川
Yoshiaki Kanbe
祥明 神戸
Current Assignee (The listed assignees may be inaccurate. Google has not performed a legal analysis and makes no representation or warranty as to the accuracy of the list.)
Panasonic Electric Works Co Ltd
Original Assignee
Panasonic Electric Works Co Ltd
Priority date (The priority date is an assumption and is not a legal conclusion. Google has not performed a legal analysis and makes no representation as to the accuracy of the date listed.)
Filing date
Publication date
Application filed by Panasonic Electric Works Co Ltd filed Critical Panasonic Electric Works Co Ltd
Priority to JP2008241451A priority Critical patent/JP5097068B2/ja
Publication of JP2010008992A publication Critical patent/JP2010008992A/ja
Application granted granted Critical
Publication of JP5097068B2 publication Critical patent/JP5097068B2/ja
Expired - Fee Related legal-status Critical Current
Anticipated expiration legal-status Critical

Links

Images

Landscapes

  • Mechanical Coupling Of Light Guides (AREA)

Abstract

【課題】光ファイバプラグを差し込む際に光ファイバプラグが接続できない不具合が発生する確率を低減することのできる光レセプタクルを提供する。
【解決手段】両端部に縦横の長さ寸法の異なる略矩形状の第1のプラグ接続口1a及び第2のプラグ接続口1bを有するハウジング1と、ハウジング1に収納されて第1のプラグ接続口1a及び第2のプラグ接続口1bに各々接続された光プラグの各フェルールを整列させた状態で保持する割りスリーブ22と、第1のプラグ接続口1aを閉塞する位置と開放する位置との間で揺動自在な一対の扉体3と、ハウジング1内の前側に設けられて光プラグAの先端部を係止する一対の係止片21とを備え、扉体3を、各々の先端縁を互いに突き合わせることで第1のプラグ接続口1aを閉塞するように構成し、且つその長手方向が第1のプラグ接続口1aの長手方向と一致するように設けた。
【選択図】図1

Description

本発明は、光ファイバのような光伝送媒体を備えた光プラグに接続される光レセプタクルに関する。
従来から、電子機器の間で高速のデータ通信を可能にするために光通信が導入されている。光通信において電子機器と外部との間の光配線を行うために、光ファイバのような光伝送媒体を備えた光ファイバプラグ(以下、「光プラグ」と呼ぶ)と、この光プラグに接続される光レセプタクルとで構成される光コネクタが用いられており、例えば特許文献1に開示されている。以下、特許文献1に開示されているような光レセプタクルの一例について図面を用いて説明する。尚、以下の説明では、図8(a)における上下左右を上下左右方向、紙面手前側を前方向、紙面奥側を後方向と定めるものとする。
この光レセプタクルは、例えばSC形光コネクタ(JIS C5973で規定されたF04形単心光ファイバコネクタ)を構成するものであって、図8(a),(b),(c)に示すように、一端側(前側)に通信機器(図示せず)から配線された光ケーブルの光プラグAが接続されるプラグ接続口1aを、他端側(後側)に先行配線された光ケーブルの光プラグ(図示せず)が接続されるプラグ接続口(図示せず)を有した略角筒状に形成されたハウジング1を備えており、ハウジング1の内部には光プラグAの先端側に設けられたフェルールA1の一端部が着脱自在に嵌入される第1のスリーブ11が一体に形成されている。また、ハウジング1の内部には、後側のプラグ接続口に接続された光プラグの先端側に設けられたフェルール(図示せず)の一端部が着脱自在に嵌入される第2のスリーブ(図示せず)を有するスリーブ保持部2が設けられている。
ハウジング1は、前部側の外周面が後部側の外周面より突出して形成され、前部側の外周面の後方における左右両側には、外側に突出するフランジ10が設けられている。第1のスリーブ11及び第2のスリーブは、それぞれスリーブ保持部2を挟んで前後に配設されており、その内部には前側のプラグ接続口1aに接続される光プラグAのフェルールA1と、後側のプラグ接続口に接続される光プラグのフェルールとを整列保持する割りスリーブ22が内装されている。スリーブ保持部2には、第1のスリーブ11及び第2のスリーブの各中心孔と連通するスリーブ孔20aが設けられており、スリーブ保持部2の前側には、先端に内側に突出する係止爪21aを有し撓み自在に突設された一対の係止片21が第1のスリーブ11を挟んで設けられている。
また、ハウジング1の前側のプラグ接続口1aの内側近傍には、プラグ接続口1aに光プラグAを接続していない場合に、後側のプラグ接続口に接続された光プラグから出力されるレーザ光が前側のプラグ接続口1aを介して外部に照射されるのを防ぐために一対の扉体3が設けられている。これらの扉体3は、前側のプラグ接続口1aを閉塞する位置と開放する位置との間で揺動自在となるように取り付けられており、ばね(図示せず)によってプラグ接続口1aを閉塞する方向に弾性付勢されている。
而して、光プラグAを前側のプラグ接続口1aに接続する場合には、扉体3をばねの付勢力に逆らって光プラグAで押圧することで扉体3が押し開かれ、更に光プラグAを差し込むとフェルールA1が第1のスリーブ11に嵌入されて割りスリーブ22内で後側のプラグ接続口に接続された光プラグのフェルールと当接し、光プラグAが一対の係止片21の各係止爪21aに係止することで光プラグAが接続される。光プラグAを前側のプラグ接続口1aから取り外す場合には、光プラグAを外側(前方向)に引っ張ることで光プラグAと係止爪21との係止状態が解除され、光プラグAが取り外される。この時、扉体3は、ばねの付勢力によって前方向に移動し、前側のプラグ接続口1aを閉塞する。
特開2008−83086号公報
ところで、上記従来例では、光プラグAを接続する際に扉体3がハウジング1の内方へと揺動するので、扉体3が係止爪21と接触しないように扉体3と係止爪21との間の長さ寸法L1を大きくする必要がある。しかしながら、図9に示すように、光プラグAはJIS C 5973で規定されたアダプタと嵌合できるように設定されているものの、光プラグAのつまみ部端面と機械的基準面との間の寸法L2によっては、光プラグAを差し込む際に光プラグA側のフェルールA1の先端部が後側のプラグ接続口に接続された光プラグのフェルールに届かず、光プラグAが正しく接続されないという不具合が発生する虞があった。
本発明は、上記の点に鑑みて為されたもので、光ファイバプラグを差し込む際に光ファイバプラグが接続できない不具合が発生する確率を低減することのできる光レセプタクルを提供することを目的とする。
請求項1の発明は、上記目的を達成するために、両端部にそれぞれ光ファイバプラグが接続される縦横の長さ寸法の異なる略矩形状の第1のプラグ接続口及び第2のプラグ接続口を有するハウジングと、ハウジングに収納されて第1のプラグ接続口及び第2のプラグ接続口に各々接続された光ファイバプラグの各フェルールを整列させた状態で保持するスリーブと、ハウジングの第1のプラグ接続口側に設けられてハウジングの内側に変位するとともに第1のプラグ接続口を閉塞する位置と開放する位置との間で揺動自在な一対の扉体と、光ファイバプラグの接続方向において第1のプラグ接続口と所定の間隔を空けて設けられて光ファイバプラグの先端部を係止する係止部とを備え、扉体は、各々の先端縁を互いに突き合わせることで第1のプラグ接続口を閉塞するように構成され、且つその長手方向が第1のプラグ接続口の長手方向と一致するように設けられたことを特徴とする。
請求項2の発明は、請求項1の発明において、扉体及び係止部は、少なくとも何れか一方に扉体の揺動する軌跡上において互いに重なる部位が切り欠かれたことを特徴とする。
請求項3の発明は、請求項1又は2の発明において、ハウジングには、第1のプラグ接続口側に取り付けられて扉体を保持するカバーが設けられ、扉体及びカバーは、何れも金属材料から形成されたことを特徴とする。
請求項4の発明は、請求項1乃至3の何れか1項の発明において、扉体は、少なくとも何れか一方に光ファイバプラグが第1のプラグ接続口に接続された状態で少なくともその先端部が光ファイバプラグの外側面と所定の間隔を空けるように曲げ加工を施されたことを特徴とする。
請求項5の発明は、請求項1乃至4の何れか1項の発明において、扉体は、ハウジングに貫設された一対の長孔状の軸受孔に両端部が軸支される揺動軸を軸として揺動自在であって、且つコイル部に揺動軸が挿通されるとともに一端部がハウジングに取り付けられ他端部が扉体に取り付けられる捩りコイルばねによって第1のプラグ接続口を閉塞する位置に揺動するように付勢され、軸受孔は、短手方向の長さ寸法が揺動軸の径寸法と略同一で且つ長手方向の長さ寸法が少なくとも揺動軸の径寸法よりも大きくなるように形成されたことを特徴とする。
請求項6の発明は、請求項5の発明において、扉体及び捩りコイルばねは、揺動軸に固定されたことを特徴とする。
請求項1の発明によれば、扉体の光ファイバプラグの接続方向における軌道が短くなるために第1のプラグ接続口と係止部との間の長さ寸法を短くすることができ、したがって光ファイバプラグを差し込む際に光ファイバプラグ側のフェルールの先端部が第2のプラグ接続口に接続された光プラグのフェルールに届かず、光ファイバプラグが正しく接続されないという不具合が発生する確率を低減することができる。
請求項2の発明によれば、扉体の光ファイバプラグの接続方向における軌道を短くすることなく第1のプラグ接続口と係止部との間の長さ寸法を更に短くすることができる。
請求項3の発明によれば、強度を低下させることなくカバーの厚み寸法を小さくできるので、第1のプラグ接続口と係止部との間の長さ寸法を更に短くすることができる。また、光ファイバプラグの先端部が扉体と接触することによって扉体が削られるのを防ぐことができるので、扉体が削れることに伴って生じる塵埃がハウジング内部に侵入することによって伝送性能が劣化するのを防止することができる。
請求項4の発明によれば、先端部に段差が設けられた光ファイバプラグを挿抜する際に、曲げ部によって扉体における曲げ部以外の部位と段差とが干渉するのを回避することができるので、段差に依らず光ファイバプラグを容易に挿抜することができる。
請求項5の発明によれば、扉体に外力が加わって移動したとしても、扉体の動きに揺動軸が追従するために扉体の揺動する中心と揺動軸の中心との位置関係がずれ難く、したがって捩りコイルばねの付勢力が扉体を揺動させる力に効率良く変換され、扉体の動作不良が発生するのを防ぐことができる。
請求項6の発明によれば、扉体の揺動する中心と揺動軸の中心との位置関係がよりずれ難くなり、したがって捩りコイルばねの付勢力が扉体を揺動させる力に効率良く変換され、扉体の動作不良が発生するのを防ぐことができる。
(実施形態1)
以下、本発明に係る光レセプタクルの実施形態1について図面を用いて説明する。但し、本実施形態の基本的な構成は従来例と共通であるので、共通する部位には同一の番号を付して説明を省略するものとする。尚、以下の説明では、図1(a)における上下左右を上下左右方向、紙面手前側を前方向、紙面奥側を後方向と定めるものとする。
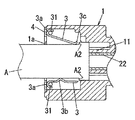
本実施形態は、図1(a)〜(e)に示すように、前後方向における両端部にそれぞれ光プラグAが接続される縦横の長さ寸法の異なる略矩形状の第1のプラグ接続口1a及び第2のプラグ接続口1bを有するハウジング1と、ハウジング1内に一体に形成されて第1のプラグ接続口1aに接続された光プラグAのフェルールA1を保持する第1のスリーブ11と、ハウジング1に収納されて第2のプラグ接続口1bに接続された光プラグ(図示せず)のフェルール(図示せず)を保持する第2のスリーブ20を有するスリーブ保持部2と、ハウジング1に収納されて第1のプラグ接続口1a及び第2のプラグ接続口1bに各々接続された光プラグの各フェルールを整列させた状態で保持するスリーブである割りスリーブ22と、ハウジング1の前側に設けられてハウジング1の内側に変位するとともに第1のプラグ接続口1aを閉塞する位置と開放する位置との間で揺動自在な一対の扉体3と、光プラグAの接続方向(前後方向)において第1のプラグ接続口1aと所定の間隔を空けて設けられて光プラグAの先端部を係止する係止部である一対の係止片21とを備える。
ハウジング1前端部の左右両側面には、それぞれ外方向に突出する嵌合片12が突設されており、後述するカバー4の嵌合孔41aに嵌合することでハウジング1にカバー4が取り付けられるようになっている(図1(e)参照)。カバー4は金属板を折曲して成り、ハウジング1の前面と対向するとともに第1のプラグ接続口1aと連通する略矩形状の挿通孔40aが貫設された主片40と、ハウジング1前端部の左右両側面とそれぞれ対向するとともに嵌合片12が嵌合する略矩形状の嵌合孔41aが貫設された一対の側片41とから構成される。該カバー4を上記のようにハウジング1前面に取り付けることで、カバー4とハウジング1との間で各扉体3を保持する。
スリーブ保持部2は、後方へ突出する第2のスリーブ20が一体に形成された略平板状の主部23と、主部23の後面から第2のスリーブ20を挟んだ形で後方へ突出する一対の係止片21と、主部23の前面から前方へ突出するとともにハウジング1に収納された状態において第1のスリーブ11を挟んだ形で配設される一対の係止片21とから成る。主部23の略中央部には、第1のスリーブ11及び第2のスリーブ20の各中心孔と連通するスリーブ孔20aが貫設されている。また、主部23の左右両側面には、それぞれ外方に突出する突部23aが一体に形成されている。
ところで、ハウジング1の上面略中央部には、下方向に窪んだ溝部14が左右方向に亘って設けられており、その左右両端部は上下方向に貫通している。この溝部14には、前記左右両端部に各々挿通される一対の立片15aを有する断面略コ字状の固定部15が配設される。固定部15は、スリーブ保持部2をハウジング1内部において固定するもので、図1(d)に示すように、スリーブ保持部2の主部23の前面を第1のスリーブ11の後部に当接させた状態で固定部15を溝部14に配設することで、第1のスリーブ11がスリーブ保持部2の前方への移動を規制するとともに立片15aが突部23aに当接してスリーブ保持部2の後方への移動を規制する。
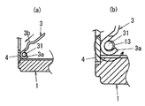
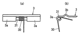
扉体3は、何れも金属材料から略平板状に形成され、一方の側端縁を互いに突き合わせることで第1のプラグ接続口1aを閉塞するように構成されている。各扉体3の他方の側端縁には、断面略半円形状の一対の取付部3aがそれぞれ一体に形成されており、該取付部1aに棒状の揺動軸31が嵌入するようになっている。また、ハウジング1前面の四隅には、それぞれ揺動軸31の端部が嵌入される断面略半円形状の軸受孔13が設けられている。而して、一対の揺動軸31をそれぞれ長尺方向が左右方向と一致するように各軸受孔13に嵌入するとともに、各扉体3の取付部3aに揺動軸31を嵌入することで、各扉体3が揺動軸31を軸として揺動自在にハウジング1に取り付けられる。また、各揺動軸31には捩りコイルばね30が配設されており、その一端部を扉体3に取り付けるとともに他端部をハウジング1に取り付けることで、各扉体3を第1のプラグ接続口1aを閉塞する位置に揺動するように付勢している。
ここで、本実施形態では、図2に示すように扉体3を自身の長手方向が第1のプラグ接続口1aの長手方向と一致するように設けている。このため、従来例では扉体3が自身の長辺を半径として揺動していたのに対し、本実施形態では扉体3が自身の短辺を半径として揺動することとなり、従来例と比較して第1のプラグ接続口1aと係止片21との間の必要な長さ寸法L1が短くなる(図1(e)参照)。而して、第1のプラグ接続口1aと係止片21との間の長さ寸法L1を短くすることができ、光プラグAを差し込む際に光プラグAのフェルールA1の先端部が第2のプラグ接続口1bに接続された光プラグのフェルールの先端部に届かず、光プラグAが正しく接続されないという不具合が発生する確率を低減することができる。具体的には、JIS C 5973に規定されたアダプタの寸法内に収まるように第1のプラグ接続口1aと係止片21との間の長さ寸法L1を設定するのが望ましい。
また、本実施形態では、図1(c)に示すように、係止片21の各扉体3が揺動する軌跡上において各扉体3と互いに重なる部位が切り欠いて形成されている。而して、扉体3の前後方向における軌道を短くすることなく第1のプラグ接続口1aと係止片21との間の長さ寸法L1を更に短くすることができる。尚、係止片21に上記切り欠きを形成するのではなく、各扉体3において係止片21と互いに重なる部位を切り欠いて形成しても構わない。この場合でも上記と同様の効果を奏することができる。
尚、本実施形態ではカバー4を金属板で形成しているので、樹脂材料で形成する場合と比較して強度を落とすことなく厚み寸法を小さくすることができる。したがって、第1のプラグ接続口1aと係止片21との間の長さ寸法L1を更に短くすることができる。また、各扉体3も金属材料で形成しているので、例えばセラミックスから成る光プラグAのフェルールA1が扉体3と接触することによって扉体3が削られるのを防ぐことができる。このため、扉体3が削れることに伴って生じる塵埃がハウジング1内部に侵入し、各光プラグの各フェルールの先端面に付着することで伝送性能が劣化するのを防止することができる。
ところで、本実施形態では図1(c)に示すように、一方の扉体3において略中央部に前方へ突出する断面略三角形状の曲げ部3bと、他方の扉体3においてその先端縁から略直角に後方へ突出する曲げ部3cとを曲げ加工によって形成している。而して、図3に示すように、例えば先端部に外方へ突出する段差A2を有する光プラグAを第1のプラグ接続口1aに接続した状態において、曲げ部3b,3cによって各扉体3の先端縁と光プラグAの側面との間に所定の間隔を空けることができる。このため、光プラグAを引き抜く際に各扉体3の先端縁が段差A2に引っ掛かるという不具合が生じることがなく、光プラグAを容易に引き抜くことができる。
(実施形態2)
以下、本発明に係る光レセプタクルの実施形態2について図面を用いて説明する。但し、本実施形態の基本的な構成は実施形態1と共通であるので、共通する部位には同一の番号を付して説明を省略するものとする。本実施形態は、図4(a)に示すように、何れの扉体3においても略中央部に前方へ突出する断面略三角形状の曲げ部3bを曲げ加工によって形成している。また、図4(b)に示すように、各軸受孔13をその幅寸法が揺動軸31の径寸法と略同一であって且つその長手方向の長さ寸法が揺動軸31の径寸法よりも大きくなるように長孔状に形成している。このため、各軸受孔13に揺動軸31を嵌入してカバー4で閉塞した状態において、揺動軸31が軸受孔13の内周壁とカバー4とで囲まれた空間を移動自在となる。
ここで、従来の軸受孔13では、図7(a)に示すように、ハウジング1の前面から後方にかけて幅狭となる略台形状の部位と、当該部位の短辺と連設された略円形状の部位とから成り、幅狭の部位が揺動軸31の径寸法よりも僅かに小さい長さ寸法で形成されていた。このため、揺動軸31をハウジング1の前面側から幅狭の部位に押し込むことで軸受孔13に嵌入していた。しかしながら、従来の構成では図7(b)に示すように、例えば光プラグAを引き抜く際に光プラグAによって扉体3の先端縁が図中矢印方向に押圧され、扉体3の揺動する中心と揺動軸31の中心との位置関係がずれてしまうことがあった。この場合、捩りコイルばね30の付勢力によって扉体3を揺動させる力のうち、一部が扉体3の取付部3aをカバー4とハウジング1の内壁とが成す角部に押し付ける力となってしまう。このため、扉体3を揺動させる力が弱くなり、図7(c)に示すように扉体3の取付部3aと前記角部との摩擦によって扉体3が揺動できなくなり、プラグ接続口1aを閉塞できない虞があった。
一方、本実施形態では、上述のように揺動軸31が軸受孔13の内周壁とカバー4とで囲まれた空間を移動自在となっているので、扉体3に上述のような外力が加わって移動したとしても、扉体3の動きに揺動軸31が追従するために扉体3の揺動する中心と揺動軸31の中心との位置関係がずれ難く、したがって捩りコイルばね30による付勢力が扉体3を揺動させる力に効率良く変換され、扉体3が揺動できずにプラグ接続口1aを閉塞できないといった動作不良が発生するのを防ぐことができる。
尚、図5(a),(b)に示すように、本実施形態では揺動軸31の長手方向における略中央部に捩りコイルばね30が配設されるとともに、取付部3aが捩りコイルばね30を挟む形で揺動軸31の両端部がそれぞれ取付部3aに嵌入されているが、この状態で捩りコイルばね30及び取付部3aを揺動軸31に固定しても構わない。このように構成することで、扉体3の揺動する中心と揺動軸31の中心との位置関係がよりずれ難くなり、したがって捩りコイルばね30による付勢力が扉体3を揺動させる力に効率良く変換され、扉体3の動作不良が発生するのをより好適に防ぐことができる。
本発明に係る光レセプタクルの実施形態1を示す図で、(a)は前面図で、(b)は左側面図で、(c)は右側から見た断面図で、(d)は上側から見た一部破断した側面図で、(e)は上側から見た一部省略した断面図である。 同上の分解斜視図である。 同上の光プラグが差し込まれた状態を示す右側から見た一部拡大した断面図である。 本発明に係る光レセプタクルの実施形態2を示す図で、(a)は右側から見た一部省略した断面図で、(b)は要部断面図である。 同上の扉体及び捩りコイルばねを示す図で、(a)は軸方向から見た図で、(b)は軸方向と直交する一方向から見た図である。 (a)は同上において扉体に外力が加わった場合の要部断面図で、(b)は(a)の拡大断面図である。 (a)は従来の揺動軸の固定方法を示す要部断面図で、(b)は(a)の固定方法において扉体に外力が加わった場合の要部断面図で、(c)は(b)の拡大断面図である。 従来の光レセプタクルを示す図で、(a)は前面図で、(b)は上側から見た一部省略した断面図で、(c)は右側から見た一部省略した断面図である。 同上の光プラグ及び光レセプタクルの上側から見た一部省略した断面図である。
符号の説明
1 ハウジング
11 第1のスリーブ
1a 第1のプラグ接続口
1b 第2のプラグ接続口
20 第2のスリーブ
21 係止片(係止部)
22 割りスリーブ(スリーブ)
3 扉体
A 光プラグ(光ファイバプラグ)
A1 フェルール

Claims (6)

  1. 両端部にそれぞれ光ファイバプラグが接続される縦横の長さ寸法の異なる略矩形状の第1のプラグ接続口及び第2のプラグ接続口を有するハウジングと、ハウジングに収納されて第1のプラグ接続口及び第2のプラグ接続口に各々接続された光ファイバプラグの各フェルールを整列させた状態で保持するスリーブと、ハウジングの第1のプラグ接続口側に設けられてハウジングの内側に変位するとともに第1のプラグ接続口を閉塞する位置と開放する位置との間で揺動自在な一対の扉体と、光ファイバプラグの接続方向において第1のプラグ接続口と所定の間隔を空けて設けられて光ファイバプラグの先端部を係止する係止部とを備え、扉体は、各々の先端縁を互いに突き合わせることで第1のプラグ接続口を閉塞するように構成され、且つその長手方向が第1のプラグ接続口の長手方向と一致するように設けられたことを特徴とする光レセプタクル。
  2. 前記扉体及び係止部は、少なくとも何れか一方に扉体の揺動する軌跡上において互いに重なる部位が切り欠かれたことを特徴とする請求項1記載の光レセプタクル。
  3. 前記ハウジングには、第1のプラグ接続口側に取り付けられて扉体を保持するカバーが設けられ、扉体及びカバーは、何れも金属材料から形成されたことを特徴とする請求項1又は2記載の光レセプタクル。
  4. 前記扉体は、少なくとも何れか一方に光ファイバプラグが第1のプラグ接続口に接続された状態で少なくともその先端部が光ファイバプラグの外側面と所定の間隔を空けるように曲げ加工を施されたことを特徴とする請求項1乃至3の何れか1項に記載の光レセプタクル。
  5. 前記扉体は、ハウジングに貫設された一対の長孔状の軸受孔に両端部が軸支される揺動軸を軸として揺動自在であって、且つコイル部に揺動軸が挿通されるとともに一端部がハウジングに取り付けられ他端部が扉体に取り付けられる捩りコイルばねによって第1のプラグ接続口を閉塞する位置に揺動するように付勢され、軸受孔は、短手方向の長さ寸法が揺動軸の径寸法と略同一で且つ長手方向の長さ寸法が少なくとも揺動軸の径寸法よりも大きくなるように形成されたことを特徴とする請求項1乃至4の何れか1項に記載の光レセプタクル。
  6. 前記扉体及び捩りコイルばねは、揺動軸に固定されたことを特徴とする請求項5記載の光レセプタクル。
JP2008241451A 2008-05-27 2008-09-19 光レセプタクル Expired - Fee Related JP5097068B2 (ja)

Priority Applications (1)

Application Number Priority Date Filing Date Title
JP2008241451A JP5097068B2 (ja) 2008-05-27 2008-09-19 光レセプタクル

Applications Claiming Priority (3)

Application Number Priority Date Filing Date Title
JP2008138685 2008-05-27
JP2008138685 2008-05-27
JP2008241451A JP5097068B2 (ja) 2008-05-27 2008-09-19 光レセプタクル

Publications (2)

Publication Number Publication Date
JP2010008992A true JP2010008992A (ja) 2010-01-14
JP5097068B2 JP5097068B2 (ja) 2012-12-12

Family

ID=41589519

Family Applications (1)

Application Number Title Priority Date Filing Date
JP2008241451A Expired - Fee Related JP5097068B2 (ja) 2008-05-27 2008-09-19 光レセプタクル

Country Status (1)

Country Link
JP (1) JP5097068B2 (ja)

Cited By (6)

* Cited by examiner, † Cited by third party
Publication number Priority date Publication date Assignee Title
JP2014533378A (ja) * 2011-11-10 2014-12-11 パンドウィット・コーポレーション シャッター式lcアダプタ
US9494746B2 (en) 2011-11-10 2016-11-15 Panduit Corp. Shuttered LC adapter
JP2018151560A (ja) * 2017-03-14 2018-09-27 三和電気工業株式会社 シャッタ付き光アダプタ
US10302875B1 (en) 2017-11-27 2019-05-28 Muh-Chyng Yang Optical fiber adapter
WO2021220750A1 (ja) * 2020-04-27 2021-11-04 株式会社フジクラ 清掃工具
JP2022015862A (ja) * 2020-07-10 2022-01-21 三和電気工業株式会社 シャッタ付きアダプタにおけるシャッタ軸の保持構造

Families Citing this family (1)

* Cited by examiner, † Cited by third party
Publication number Priority date Publication date Assignee Title
AU2016352929B2 (en) * 2015-11-13 2021-07-29 CommScope Connectivity Belgium BVBA Adapter shutter with integrated connector lock

Citations (8)

* Cited by examiner, † Cited by third party
Publication number Priority date Publication date Assignee Title
JPH11258458A (ja) * 1998-01-05 1999-09-24 Molex Inc 光ファイバコネクタの収容装置
JP2000131564A (ja) * 1998-04-20 2000-05-12 Hosiden Corp 光コネクタのソケット
JP2001296453A (ja) * 2000-03-24 2001-10-26 Tyco Electronics Corp アダプタ
JP2002055261A (ja) * 2000-08-09 2002-02-20 Nippon Telegr & Teleph Corp <Ntt> コネクタプラグ
JP2002243978A (ja) * 2001-02-19 2002-08-28 Honda Tsushin Kogyo Co Ltd 光コネクタ接続アダプタ及びそれに用いられる遮蔽部材
JP2004226664A (ja) * 2003-01-22 2004-08-12 Fujikura Ltd シャッター付き光コネクタ、シャッターユニット
JP2006003468A (ja) * 2004-06-15 2006-01-05 Matsushita Electric Works Ltd 光コンセント用コネクタ
JP2007121614A (ja) * 2005-10-27 2007-05-17 Japan Aviation Electronics Industry Ltd 光アダプター用シャッターとそれを用いた光コネクタ

Patent Citations (8)

* Cited by examiner, † Cited by third party
Publication number Priority date Publication date Assignee Title
JPH11258458A (ja) * 1998-01-05 1999-09-24 Molex Inc 光ファイバコネクタの収容装置
JP2000131564A (ja) * 1998-04-20 2000-05-12 Hosiden Corp 光コネクタのソケット
JP2001296453A (ja) * 2000-03-24 2001-10-26 Tyco Electronics Corp アダプタ
JP2002055261A (ja) * 2000-08-09 2002-02-20 Nippon Telegr & Teleph Corp <Ntt> コネクタプラグ
JP2002243978A (ja) * 2001-02-19 2002-08-28 Honda Tsushin Kogyo Co Ltd 光コネクタ接続アダプタ及びそれに用いられる遮蔽部材
JP2004226664A (ja) * 2003-01-22 2004-08-12 Fujikura Ltd シャッター付き光コネクタ、シャッターユニット
JP2006003468A (ja) * 2004-06-15 2006-01-05 Matsushita Electric Works Ltd 光コンセント用コネクタ
JP2007121614A (ja) * 2005-10-27 2007-05-17 Japan Aviation Electronics Industry Ltd 光アダプター用シャッターとそれを用いた光コネクタ

Cited By (16)

* Cited by examiner, † Cited by third party
Publication number Priority date Publication date Assignee Title
JP2014533378A (ja) * 2011-11-10 2014-12-11 パンドウィット・コーポレーション シャッター式lcアダプタ
KR101607906B1 (ko) 2011-11-10 2016-03-31 팬듀트 코포레이션 셔터 달린 lc 어댑터
US9494746B2 (en) 2011-11-10 2016-11-15 Panduit Corp. Shuttered LC adapter
US9709754B2 (en) 2011-11-10 2017-07-18 Panduit Corp. Shuttered LC adapter
US10012799B2 (en) 2011-11-10 2018-07-03 Panduit Corp. Shuttered LC adapter
JP2018151560A (ja) * 2017-03-14 2018-09-27 三和電気工業株式会社 シャッタ付き光アダプタ
US10302875B1 (en) 2017-11-27 2019-05-28 Muh-Chyng Yang Optical fiber adapter
JP2019095759A (ja) * 2017-11-27 2019-06-20 楊沐晴 光ファイバアダプタ
WO2021220750A1 (ja) * 2020-04-27 2021-11-04 株式会社フジクラ 清掃工具
JPWO2021220750A1 (ja) * 2020-04-27 2021-11-04
CN114746787A (zh) * 2020-04-27 2022-07-12 株式会社藤仓 清扫工具
US20220397724A1 (en) * 2020-04-27 2022-12-15 Fujikura Ltd. Cleaning tool
JP7252414B2 (ja) 2020-04-27 2023-04-04 株式会社フジクラ 清掃工具
US12353023B2 (en) * 2020-04-27 2025-07-08 Fujikura Ltd. Cleaning tool
JP2022015862A (ja) * 2020-07-10 2022-01-21 三和電気工業株式会社 シャッタ付きアダプタにおけるシャッタ軸の保持構造
JP7490477B2 (ja) 2020-07-10 2024-05-27 三和テクノロジーズ株式会社 シャッタ付きアダプタにおけるシャッタ軸の保持構造

Also Published As

Publication number Publication date
JP5097068B2 (ja) 2012-12-12

Similar Documents

Publication Publication Date Title
JP5097068B2 (ja) 光レセプタクル
JP4090067B2 (ja) 光アダプター用シャッターとそれを用いた光コネクタ
CN102099720B (zh) 光适配器
JP6400892B2 (ja) Lc形光コネクタの防塵シャッタ内蔵アダプタ
US7507032B2 (en) Optical connection component which has a shutter member and which can be reduced in size
JP4730092B2 (ja) ラッチ機構及びラッチ機構付き電子モジュール
JP2014139633A (ja) Lc形光コネクタ相互接続用アダプタ
EP3855226B1 (en) Optical connector system and shutter-equipped optical connector
JP2008225133A (ja) 光コネクタ用アダプタ
CN111433647B (zh) 光连接器
JP2006133335A (ja) シャッター付き光コネクタ
US20040223702A1 (en) Optical plug and optical connector provided with the optical plug
JP4616152B2 (ja) コネクタ
JP2010002931A (ja) 光コネクタアダプタ
JP4082703B2 (ja) 光コネクタ装置
JP2002318324A (ja) 光コネクタフェルール用ハウジング、ハウジング付き光コネクタフェルール、光コネクタ
JP6077797B2 (ja) 光コネクタ
JP4476901B2 (ja) 光コネクタアダプタ
JP5096967B2 (ja) 車室内照明装置用ケース
CN104126254A (zh) 杠杆连接器
JP5483580B2 (ja) 光コネクタ
CN110235037B (zh) 光连接器
JP2005221668A (ja) 光コネクタ用プラグ
JP2017116813A (ja) 光コネクタ用分解治具および光コネクタ
JP2007114313A (ja) 通線治具及び光ファイバコード

Legal Events

Date Code Title Description
A621 Written request for application examination

Free format text: JAPANESE INTERMEDIATE CODE: A621

Effective date: 20100310

RD04 Notification of resignation of power of attorney

Free format text: JAPANESE INTERMEDIATE CODE: A7424

Effective date: 20100716

A977 Report on retrieval

Free format text: JAPANESE INTERMEDIATE CODE: A971007

Effective date: 20110615

A131 Notification of reasons for refusal

Free format text: JAPANESE INTERMEDIATE CODE: A131

Effective date: 20110621

A521 Written amendment

Free format text: JAPANESE INTERMEDIATE CODE: A523

Effective date: 20110822

A711 Notification of change in applicant

Free format text: JAPANESE INTERMEDIATE CODE: A712

Effective date: 20120112

A131 Notification of reasons for refusal

Free format text: JAPANESE INTERMEDIATE CODE: A131

Effective date: 20120313

A521 Written amendment

Free format text: JAPANESE INTERMEDIATE CODE: A523

Effective date: 20120514

TRDD Decision of grant or rejection written
A01 Written decision to grant a patent or to grant a registration (utility model)

Free format text: JAPANESE INTERMEDIATE CODE: A01

Effective date: 20120828

A01 Written decision to grant a patent or to grant a registration (utility model)

Free format text: JAPANESE INTERMEDIATE CODE: A01

A61 First payment of annual fees (during grant procedure)

Free format text: JAPANESE INTERMEDIATE CODE: A61

Effective date: 20120921

R150 Certificate of patent or registration of utility model

Free format text: JAPANESE INTERMEDIATE CODE: R150

FPAY Renewal fee payment (event date is renewal date of database)

Free format text: PAYMENT UNTIL: 20150928

Year of fee payment: 3

LAPS Cancellation because of no payment of annual fees