JP2010004280A - 軟判定値補正方法、及び受信装置 - Google Patents

軟判定値補正方法、及び受信装置 Download PDF

Info

Publication number
JP2010004280A
JP2010004280A JP2008160749A JP2008160749A JP2010004280A JP 2010004280 A JP2010004280 A JP 2010004280A JP 2008160749 A JP2008160749 A JP 2008160749A JP 2008160749 A JP2008160749 A JP 2008160749A JP 2010004280 A JP2010004280 A JP 2010004280A
Authority
JP
Japan
Prior art keywords
soft decision
decision value
weighting factor
interference
band
Prior art date
Legal status (The legal status is an assumption and is not a legal conclusion. Google has not performed a legal analysis and makes no representation as to the accuracy of the status listed.)
Granted
Application number
JP2008160749A
Other languages
English (en)
Other versions
JP5024197B2 (ja
Inventor
Yasunobu Sugiura
泰伸 杉浦
Kenichi Koeda
賢一 小枝
Akikimi Igami
章公 伊神
Current Assignee (The listed assignees may be inaccurate. Google has not performed a legal analysis and makes no representation or warranty as to the accuracy of the list.)
Denso Corp
Original Assignee
Denso Corp
Priority date (The priority date is an assumption and is not a legal conclusion. Google has not performed a legal analysis and makes no representation as to the accuracy of the date listed.)
Filing date
Publication date
Application filed by Denso Corp filed Critical Denso Corp
Priority to JP2008160749A priority Critical patent/JP5024197B2/ja
Publication of JP2010004280A publication Critical patent/JP2010004280A/ja
Application granted granted Critical
Publication of JP5024197B2 publication Critical patent/JP5024197B2/ja
Expired - Fee Related legal-status Critical Current
Anticipated expiration legal-status Critical

Links

Images

Landscapes

  • Cable Transmission Systems, Equalization Of Radio And Reduction Of Echo (AREA)

Abstract

【課題】ノイズ環境下にあっても、簡易な手法によって通信効率を低下させずに精度よく復号を行うことが可能な受信装置等を提供する。
【解決手段】受信装置20では、OFDM復調器25が、受信信号をシンボル時間毎にFFTすることによって周波数スペクトルを算出し、デマッパ26が、OFDM復調器25を介してOFDM信号を復調して誤り訂正符号の復号に使用する軟判定値をサブキャリア毎に生成する。そして、被干渉量推定部27が、OFDM復調器25により算出された周波数スペクトルに基づき、無線通信システム1内の被干渉量を推定し、重み制御部28が、被干渉量推定部27により推定された被干渉量がノイズ閾値以上である場合、誤り訂正符号の復号への寄与度が低下するように重み係数を設定し、この重み係数をデマッパ26により生成された軟判定値の少なくとも一部に乗じることでその軟判定値を補正する。
【選択図】図1

Description

本発明は、誤り訂正符号の復号に使用する軟判定値の補正方法、及びその補正方法を適用した受信装置に関する。
従来より、無線通信により通信装置間でパケットデータを送受信する無線通信システムにおいて使用される伝送技術として、互いに直交した周波数からなる複数の搬送波(サブキャリア)のそれぞれに情報を乗せ、それらを多重化して伝送することで、大容量通信を実現するOFDM(Orthogonal Frequency Division Multiplex)方式が知られている。
一般的に、このOFDM方式では、通信に使用する周波数帯域(以下、自システム帯域という)に隣接した周波数帯域を使用する他の通信システム等からの干渉を低減するために、自システム帯域における隣接チャンネル側の周波数帯域(隣接側帯域)の数サブキャリアを予めヌルキャリアとして設定している(つまり、スペクトルマスクをかけて伝送する)。以下では、このように予めヌルキャリアとして設定される隣接側帯域をヌル帯域とよぶことにする。
また、無線通信システムにおいてOFDM方式と同様に重要な役割を演じる伝送技術として、伝送路に生じる干渉やフェージング等に起因するデータの誤りを訂正するための誤り訂正符号を用いる符号化技術がある。特に、誤り訂正符号として畳み込み符号を用い、ビタビ復号により最尤復号する方式は、誤り訂正能力が大きいため用いられることが多い。
このビタビ復号では、受信系列から、符号器の状態遷移を推定し、最も確からしい(最尤)状態遷移を選んで送信された情報系列を復号する。また、受信符号と候補符号とのユークリッド距離を用いて、状態遷移の確からしさ(尤度)を数量的に表すための軟判定値を求め、受信信号の信号強度(RSSI;Received Signal Strength Indicator)に応じた重み係数を軟判定値に乗じることで補正し、この補正した軟判定値を用いて復号する方式が、誤り訂正能力により優れているため通常採用されている。
ところで、この軟判定値を用いたビタビ復号では、RSSIが大きいときは、一律に受信信号の信頼度が高い(つまり、誤りを含む可能性が低い)ものとして、状態遷移の尤度が高い軟判定値が得られるように重み係数を設定している。このため、従来の無線通信システムでは、ノイズの影響を受けてRSSIが大きくなっている場合でも、その受信信号の信頼度が高いと判断されてしまい、受信信号を正確に復号できない可能性があることが懸念されている。
一方、OFDM方式において、スペクトルマスクをかけて伝送することに加えて、自システム帯域内で定常的に発生するノイズの周波数に対応するサブキャリアをさらにヌルキャリア化したり(例えば、特許文献1参照)、前述したヌル帯域を拡張したり(例えば、特許文献2参照)して符号列を伝送する方法が提案されている。このため、これらの方法とビタビ復号とを組み合わせることで、無線通信システムにおけるノイズの影響を低減する方法(以下、ノイズ低減方法という)が考えられる。
特開2001−285236号公報 特開2002−247004号公報
しかし、前述したノイズ低減方法では、ヌルキャリアの増加によって通信効率が低下してしまうという問題や、受信側のノイズ環境を送信側に伝達したり、送信側がヌルキャリアを追加したことを受信側に伝達したりするための通信規則を新たに構築する必要があるため、システム構成(つまり、個々の装置構成)が複雑化するという問題があった。
また、受信側の移動によって他の通信システムや電子機器などの干渉源が変わる場合や、干渉源から突発的にノイズが発生する場合といった急激なノイズ環境の変化にも対応しようとすると、通信規則がさらに複雑になって処理が煩雑化し、通信効率が余計に低下してしまうという問題があった。
本発明は、上記問題点を解決するために、ノイズ環境下にあっても、簡易な手法によって通信効率を低下させずに精度よく復号を行うことが可能な軟判定値補正方法、及びその方法を適用した受信装置を提供することを目的とする。
上記目的を達成するためになされた第一発明である請求項1に記載の軟判定値補正方法は、複数のサブキャリアからなる通信チャンネルを用いて、誤り訂正符号にて符号化されたOFDM信号の送受信を行う無線通信システム内の受信装置に適用される。但し、受信装置は、通信チャンネルを介して受信した受信信号をシンボル時間毎に高速フーリエ変換することによってその受信信号の周波数スペクトルを算出するFFT処理手段と、FFT処理手段を介してOFDM信号を復調して誤り訂正符号の復号に使用する軟判定値をサブキャリア毎に生成する軟判定値生成手段とを備える。
そして、FFT処理手段にて算出された周波数スペクトルに基づいて推定した無線通信システム内の被干渉量が、予め設定されたノイズ閾値以上である場合、軟判定値生成手段にて生成された軟判定値の少なくとも一部に、誤り訂正符号の復号への寄与度が低下するように設定された重み係数を乗じることによって、その軟判定値を補正する。
つまり、この軟判定値補正方法では、予め送信側でノイズの周波数にヌルキャリアを設定することなく、OFDM信号の受信CN比(キャリア信号電力と雑音電力との比)がある程度低い状態であっても、受信側が誤り訂正符号の復号に及ぼすノイズの影響を削減することによって通信品質を確保している。
したがって、本発明の軟判定値補正方法によれば、送信側と受信側との間で新たな通信規則を設ける必要もなく、ノイズ環境下にあっても、簡易な手法によって通信効率を低下させずに精度よく復号を行うことができる。
次に、第二発明である請求項2に記載の受信装置は、FFT処理手段が、通信チャンネルを介して受信した受信信号をシンボル時間毎に高速フーリエ変換することによってその受信信号の周波数スペクトルを算出し、軟判定値生成手段が、FFT処理手段を介してOFDM信号を復調して誤り訂正符号の復号に使用する軟判定値をサブキャリア毎に生成する。
そして、補正手段が、軟判定値生成手段により生成された軟判定値の少なくとも一部に予め設定された重み係数を乗じることで、その軟判定値を補正し、被干渉量推定手段が、FFT処理手段により算出された周波数スペクトルに基づいて、無線通信システム内の被干渉量を推定する。
ここで、重み係数設定手段が、被干渉量推定手段により推定された被干渉量が予め設定されたノイズ閾値以上である場合、補正手段による補正後の軟判定値において誤り訂正符号の復号への寄与度が低下するように重み係数を設定する。
つまり、本発明の受信装置は、第一発明の軟判定値補正方法を実現する装置であり、従って、この方法を実施した場合に得られる効果と同様の効果を得ることができる。
ところで、重み係数設定手段は、請求項3に記載のように、被干渉量と重み係数との対応関係を予め規定した対応テーブルに従って、重み係数を設定することが望ましい。
この場合、軟判定値をより細かく補正することができ、軟判定値に基づく誤り訂正復号の精度を向上させることができる。
次に、本発明の受信装置は、請求項4に記載のように、通信チャンネル内の周波数帯域のうち両側端部のサブキャリアが予めヌルキャリアとして設定された無線通信システムに適用される場合、被干渉量推定手段は、ヌルキャリアが設定された周波数帯域(以下、ヌル帯域という)の信号レベルに基づいて被干渉量を推定することが望ましい。
このように構成された受信装置によれば、通信チャンネル内のノイズレベルに近い推定値を簡易に得ることができる。
また、本発明の受信装置は、請求項5に記載のように、被干渉量推定手段が、シンボル時間毎にヌル帯域の信号レベルそのものを被干渉量として推定し、重み係数設定手段が、ヌル帯域の信号レベルがノイズ閾値以上である場合、被干渉量推定手段により被干渉量を推定したときのシンボル時間分の全サブキャリアに重み係数を設定してもよい。
このように構成された受信装置によれば、ノイズの発生時間に該当する軟判定値だけを重み付けするため、突発的にノイズが発生する等の受信環境の変化があった場合であっても、誤り訂正復号の精度を向上させることができる。
また、本発明の受信装置は、請求項6に記載のように、被干渉量推定手段が、高周波数側のヌル帯域をH側ヌル帯域、低周波数側のヌル帯域をL側ヌル帯域として、H側ヌル帯域の信号レベルとL側ヌル帯域の信号レベルとを個別に被干渉量として推定する。
そして、重み係数設定手段が、H側ヌル帯域の信号レベルがノイズ閾値以上である場合、H側ヌル帯域に隣接する予め設定された数のサブキャリアに重み係数を設定し、L側ヌル帯域の信号レベルがノイズ閾値以上である場合、L側ヌル帯域に隣接する予め設定された数のサブキャリアに重み係数を設定してもよい。
このように構成された受信装置によれば、干渉を受けた周波数側のサブキャリアに対応する軟判定値だけを重み付けするため、隣接チャンネルを用いた他の通信システム等からの影響が高周波数側(H側)と低周波数側(L側)で異なる場合に、より精度良く干渉の影響を推定でき、誤り訂正復号の精度を向上させることができる。
また、本発明の受信装置は、請求項7に記載のように、被干渉量推定手段が、周波数スペクトル上でH側ヌル帯域の信号レベルとL側ヌル帯域の信号レベルとに基づいて線形に近似されたサブキャリア毎の信号レベルを被干渉量として推定し、重み係数設定手段が、信号レベルがノイズ閾値以上であるサブキャリアに重み係数を設定してもよい。
このように構成された受信装置によれば、干渉を受けたサブキャリアに対応する軟判定値だけを重み付けするため、軟判定値をさらに細かく補正することができる。
或いは、本発明の受信装置は、請求項8に記載のように、被干渉量推定手段が、OFDM信号の受信前におけるサブキャリア毎の信号レベル(以下、待機信号レベルという)を被干渉量として推定し、重み係数設定手段は、待機信号レベルがノイズ閾値以上であるサブキャリアに重み係数を設定してもよい。
このように構成された受信装置によれば、例えば携帯電話やPC等から流出する電磁波(高調波)のように特定の周波数に対応する信号レベルのみが高いノイズであっても識別可能となり、ひいては被干渉量の推定精度を向上させることができる。
なお、待機信号レベルは、請求項9に記載のように、OFDM信号を受信した時点より予め設定された時間だけ前における一定期間分の平均値であることが望ましい。
この場合、OFDM信号の受信前に瞬間的に発生するだけで復号に影響しないノイズを省き、定常的に発生して復号に影響するノイズのみに対して干渉量を推定可能となり、ひいては軟判定値に対する過度な補正を抑制することができる。
以下に、本発明の実施形態を図面と共に説明する。
[第1実施形態]
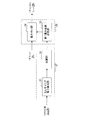
図1は、本発明が適用された第1実施形態としての無線通信システム1を構成する送信装置10及び受信装置20の概略構成を示すブロック図である。
<無線通信システムの構成>
図1に示すように、無線通信システム1は、一または複数の送信装置10及び受信装置20からなり、自システムに割り当てられた周波数帯域(以下、自システム帯域という)内に設定された複数のサブキャリアを用いてOFDM通信を行うことにより、各装置間で大容量のパケットデータを伝送するシステムである。
なお、ここで伝送されるパケットデータ(以下、OFDM信号ともいう)は、1パケットがL個(但し、Lは自然数)のOFDMシンボルで構成され、1OFDMシンボルあたりNビット(但し、Nは自然数)の符号化された情報をM本(但し、Mは2以上の整数)のサブキャリアに重畳して伝送されるものであり、1パケットあたりL×M×N個のビットの情報量を有している。
また、無線通信システム1では、自システムの通信チャンネルに隣接した周波数帯域を使用する他の通信システム等(いわゆる隣接チャンネル)からの干渉を緩和するために、自システム帯域内における両側端部のサブキャリアをヌルキャリアとして伝送するように規定されている。
<送信装置の構成>
送信装置10は、送信ビット列を、誤り訂正符号(ここでは畳み込み符号)に符号化(誤り符号化処理)するエンコーダ11と、エンコーダ11から出力される符号列の順番を並べ替え(インターリーブ処理)するインターリーバ12と、インターリーバ12の出力をNビット毎に2NQAMのシンボル点にマッピングするマッパ13と、マッパ13の出力(以下、一次変調シンボルという)を、直交周波数多重(OFDM)に使用するM本のサブキャリアに対応させて、逆高速フーリエ変換(IFFT)を実行することによりOFDMシンボル(以下、二次変調シンボルともいう)を表すデータ列を生成するOFDM変調器14とを備えている。
また、送信装置10は、OFDM変調器14が生成したデータ列(つまり、各OFDMシンボル)にガードインターバルを付加するGI付加部15と、GI付加部15から出力されるデータ列の先頭に後述するプリアンブルを付加するPA付加部16と、PA付加部16から出力されるデータ列をデジタル−アナログ変換することにより送信信号(即ち、OFDM信号)を生成するDA変換器17と、DA変換器17が生成したOFDM信号を予め設定された周波数帯(以下、RF周波数帯という)の信号にアップコンバートし、送信アンテナASを介して送信するRF送信部18とを備えている。
<受信装置の構成>
一方、受信装置20は、受信アンテナARを介してRF周波数帯の信号を受信して後段の信号処理に適した周波数帯の信号にダウンコンバートするRF受信部21と、RF受信部21から出力される信号(OFDM信号を含む)をアナログ−デジタル変換することでデータ列を生成するAD変換器22と、AD変換器22から出力されるデータ列の中からパケットの先頭を表すプリアンブルを検出するPA検出部23と、PA検出部23を介して入力したデータ列の中からガードインターバルを除去するGI除去部24とを備えている。
また、受信装置20は、GI除去部24を介して入力したデータ列をシンボル時間毎に高速フーリエ変換(FFT)することにより周波数スペクトルを算出し、M本のサブキャリアに対応させた一次シンボルに復調するOFDM復調器25と、OFDM復調器25にて復調された一次シンボルに基づいて軟判定値Wl, m, nを生成するデマッパ26と、OFDM復調器25にてFFTされた周波数スペクトルに基づいて、受信信号における被干渉量の推定値を算出する被干渉量推定部27とを備えている。なお、Wl, m, nは、l番目のOFDMシンボル,m番目のサブキャリア,n番目のビットに対応する軟判定値として表記している。
さらに、受信装置20は、被干渉量推定部27が算出した推定値に基づいて、デマッパ26が生成する軟判定値Wl, m, nに重み付けすることにより、補正された軟判定値Wl, m, nからなる符号列を生成する重み制御部28と、重み制御部28が生成した符号列の順番を元の順番に並べ替え(デインターリーブ処理)するデインターリーバ29と、デインターリーバ29の出力に基づいて最尤復号処理を行って受信ビット列を生成するビタビ復号器30とを備えている。なお、ここでの最尤復号処理とは、軟判定値Wl, m, nを用いて、受信したデータ列(受信系列)から最も尤度(信頼度)の高い符号系列を探索する復号を行う処理(軟判定ビタビ復号処理)をいう。
つまり、無線通信システム1では、送信装置10が誤り符号化処理とインターリーブ処理とを施して生成したデータ列(パケットデータ)を伝送することで、受信装置20が、デインターリーブ処理によってパケットデータ内の連続した誤りを分散し、軟判定ビタビ復号処理によって伝送中に発生した誤りを受信側で訂正することが可能となる。また、送信装置10がOFDMシンボルにガードインターバルを付加して伝送することで、受信装置20が、ガードインターバル長以内の遅延波であれば、電波の反射等によって生じるマルチパスの影響を防ぐことが可能となるように構成されている。
なお、本実施形態において、送信装置10のエンコーダ11,インターリーバ12,マッパ13,OFDM変調器14、及び受信装置20のOFDM復調器25,デマッパ26,被干渉量推定部27,重み制御部28,デインターリーバ29,ビタビ復号器30は、論理回路に従って実行する処理として実現されている。
<被干渉量推定部,重み制御部の構成>
ここで、図2は、本実施形態における被干渉量推定部27,重み制御部28の構成を示すブロック図である。
図2に示すように、被干渉量推定部27は、OFDM復調器25にてFFTされたシンボル時間分の周波数スペクトルからヌルキャリアを抽出し、その抽出したヌルキャリアの信号電力(以下、単に電力ともいう)を算出するヌルキャリア電力算出部31と、ヌルキャリア電力算出部31にて算出された電力を加算することにより、自システム帯域のうちヌルキャリアが設定された周波数帯域(以下、ヌル帯域という;図7(a)参照)の総電力Xlを求める加算部32とを備えている。なお、Xlは、l番目のOFDMシンボルに対応するヌル帯域の総電力として表記している。
一方、重み制御部28は、加算部32により求められたヌル帯域の総電力Xlと予め設定されたノイズ閾値thとを比較し、ヌル帯域の総電力Xlがノイズ閾値th以上である場合、全サブキャリアの軟判定値Wl, m, nにおいて誤り訂正符号の復号への寄与が低下するように重み係数αを設定する第1重み係数設定部33と、デマッパ26が生成した軟判定値Wl, m, nに、第1重み係数設定部33により設定された重み係数αを乗じることにより重み付けを行う重み付け部34とを備えている。なお、重み係数αは、予め設定された固定値であってもよいし、ヌル帯域の総電力Xl(即ち、被干渉量の推定値)が大きいほど尤度が小さくなるように規定した対応テーブルに従って設定される可変値であってもよい。
なお、本実施形態において、OFDM復調器25がFFT処理手段、デマッパ26が軟判定値生成手段、重み付け部34が補正手段、被干渉量推定部27が被干渉量推定手段、第1重み係数設定部33が重み係数設定手段に相当する。
<効果>
このように構成された受信装置20では、予め送信装置10側でノイズの周波数にヌルキャリアを別途設定することなく、OFDM信号の受信CN比(キャリア信号電力と雑音電力との比)がある程度低い状態であっても、軟判定ビタビ復号処理に及ぼすノイズの影響を削減することによって通信品質を確保している。
このため、本実施形態の受信装置20によれば、送信装置10との間で新たな通信規則を設ける必要もなく、ノイズ環境下にあっても、簡易な手法によって通信効率を低下させずに済むことができる。
また、受信装置20では、ヌル帯域の総電力Xlを被干渉量として推定し、その被干渉量がノイズ閾値th以上である場合、シンボル時間分の全サブキャリアに重み係数αを設定するため、突発的にノイズが発生する等の受信環境の変化があった場合であっても、誤り訂正復号の精度を向上させることができる。
[第2実施形態]
次に、本発明の第2実施形態について説明する。
なお、本実施形態の受信装置20は、第1実施形態と比較して、被干渉量推定部27及び重み制御部28(第1重み係数設定部33)の構成が異なるだけであるため、この相違する部分を中心に説明する。
図3は、本実施形態における被干渉量推定部27,重み制御部28の構成を示すブロック図である。
図3に示すように、被干渉量推定部27は、OFDM復調器25にてFFT変換されたシンボル時間分の周波数スペクトルからヌルキャリアを抽出し、その抽出したヌルキャリアの信号電力のうち、高周波数側の電力を算出するH側ヌルキャリア電力算出部41aと、低周波数側の電力を算出するL側ヌルキャリア電力算出部41bとを備えている。
また、被干渉量推定部27は、H側ヌルキャリア電力算出部41Aにて算出された電力を加算することにより、高周波数側のヌル帯域(以下、H側ヌル帯域という;図7(b)参照)の総電力X(H)lを求めるH側加算部42aと、L側ヌルキャリア電力算出部41Bにて算出された電力を加算することにより、低周波数側のヌル帯域(以下、L側ヌル帯域という;図7(b)参照)の総電力X(L)lを求めるL側加算部42bとを備えている。
一方、重み制御部28は、H側加算部42a,L側加算部42bにより求められたH側ヌル帯域の総電力X(H)l,L側ヌル帯域の総電力X(L)lと予め設定されたノイズ閾値thとを個別に比較し、H側ヌル帯域の総電力X(H)lがノイズ閾値th以上である場合、H側ヌル帯域に隣接する予め設定された数のサブキャリアに重み係数αを設定し、L側ヌル帯域の総電力X(L)lがノイズ閾値th以上である場合、L側ヌル帯域に隣接する予め設定された数のサブキャリアに重み係数αを設定する第2重み係数設定部43を備えている。ちなみに、ここでの予め設定された数のサブキャリアとは、高周波数側(或いは低周波数側)全てのサブキャリアであってもよい。
なお、本実施形態において、第2重み係数設定部43が重み係数設定手段に相当する。
<効果>
このように構成された受信装置20では、予め送信装置10側でノイズの周波数にヌルキャリアを別途設定することなく、OFDM信号の受信CN比(キャリア信号電力と雑音電力との比)がある程度低い状態であっても、軟判定ビタビ復号処理に及ぼすノイズの影響を削減することによって通信品質を確保している。
このため、本実施形態の受信装置20によれば、送信装置10との間で新たな通信規則を設ける必要もなく、ノイズ環境下にあっても、簡易な手法によって通信効率を低下させずに済むことができる。
また、受信装置20では、H側ヌル帯域の総電力X(H)lとL側ヌル帯域の総電力X(L)lとを個別に被干渉量として推定し、それぞれの被干渉量とノイズ閾値thとを比較するため、隣接チャンネルを用いた他の通信システム等からの干渉があった場合であっても、誤り訂正復号の精度を向上させることができる。
[第3実施形態]
次に、本発明の第3実施形態について説明する。
なお、本実施形態の受信装置20は、第2実施形態と比較して、被干渉量推定部27及び重み制御部28(第2重み係数設定部43)の構成が異なるだけであるため、この相違する部分を中心に説明する。但し、本実施形態の被干渉量推定部27は、第2実施形態と同様に、H側ヌルキャリア電力算出部41a,L側ヌルキャリア電力算出部41b,H側加算部42a,L側加算部42bを備えている。
図4は、本実施形態における被干渉量推定部27,重み制御部28の構成を示すブロック図である。
図4に示すように、被干渉量推定部27は、H側加算部42a,L側加算部42bにより求められたH側ヌル帯域の総電力X(H)l,L側ヌル帯域の総電力X(L)lのそれぞれの平均値に基づいて、周波数スペクトル上に線形近似されたサブキャリア毎の信号電力(図7(c)参照)Xl,mを算出する線形近似部45を備えている。
なお、ここでの線形近似は、例えば、高周波数側の隣接チャンネルを用いた他の通信システムからの干渉が支配的な場合、サブキャリア毎の干渉量は低周波数側になるほど小さくなり、反対に、低周波数側の隣接チャンネルを用いた他の通信システムからの干渉が支配的な場合、サブキャリア毎の干渉量は高周波数側になるほど小さくなることを利用している。
一方、重み制御部28は、線形近似部45により求められたサブキャリア毎の信号電力Xl,mと予め設定されたノイズ閾値thとを個別に比較し、信号電力Xl,mがノイズ閾値th以上であるサブキャリアに重み係数αを設定する第3重み係数設定部46を備えている。
なお、本実施形態において、第3重み係数設定部46が重み係数設定手段に相当する。
<効果>
このように構成された受信装置20では、予め送信装置10側でノイズの周波数にヌルキャリアを別途設定することなく、OFDM信号の受信CN比(キャリア信号電力と雑音電力との比)がある程度低い状態であっても、軟判定ビタビ復号処理に及ぼすノイズの影響を削減することによって通信品質を確保している。
このため、本実施形態の受信装置20によれば、送信装置10との間で新たな通信規則を設ける必要もなく、ノイズ環境下にあっても、簡易な手法によって通信効率を低下させずに済むことができる。
また、受信装置20では、H側ヌル帯域の総電力X(H)lとL側ヌル帯域の総電力X(L)lとに基づいて線形に近似されたサブキャリア毎の信号電力Xl,mを被干渉量として推定し、それぞれの被干渉量とノイズ閾値thとを比較するため、軟判定値をさらに細かく補正することができる。
[第4実施形態]
次に、本発明の第4実施形態について説明する。
なお、本実施形態の受信装置20は、第1実施形態と比較して、PA検出部23、被干渉量推定部27、及び、重み制御部28(第2重み係数設定部43)の構成が異なるだけであるため、この相違する部分を中心に説明する。このうち、PA検出部23は、図5に示すように、AD変換器22から出力されるデータ列の中からパケットの先頭を表すプリアンブルを検出すると、ハイレベルの信号(以下、Hレベル信号という)を被干渉量推定部27に出力し、プリアンブルを検出しない間はローレベルの信号(以下、Lレベル信号という)を被干渉量推定部27に出力する点が異なっている。
ここで、図6は、本実施形態における被干渉量推定部27,重み制御部28の構成を示すブロック図である。
図6に示すように、被干渉量推定部27は、PA検出部23からLレベル信号が入力されている間、OFDM復調器25にてFFT変換されたシンボル時間分の周波数スペクトルを表すデータをスペクトルデータとして、予め設定された個数のスペクトルデータを時系列的に順次更新することで、所定期間分のスペクトルデータを保持するメモリ部47を備えている。
また、被干渉量推定部27は、PA検出部23からの入力信号がHレベル信号に切り替わると、予め設定された時間だけ前の一定期間分のスペクトルデータをメモリ部47から読み出し、その読み出したスペクトルデータに基づいて、サブキャリア毎の電力の時間平均値Xm(図7(d)参照)を算出する電力算出部48を備えている。なお、Xmは、m番目のサブキャリアに対応する電力の時間平均値として表記している。
一方、重み制御部28は、電力算出部48により求められた電力の時間平均値Xmと予め設定されたノイズ閾値thとをサブキャリア毎に比較し、電力がノイズ閾値th以上であるサブキャリアに重み係数αを設定する第4重み係数設定部49を備えている。
なお、本実施形態において、第4重み係数設定部49が重み係数設定手段に相当する。
<効果>
このように構成された受信装置20では、予め送信装置10側でノイズの周波数にヌルキャリアを別途設定することなく、OFDM信号の受信CN比(キャリア信号電力と雑音電力との比)がある程度低い状態であっても、軟判定ビタビ復号処理に及ぼすノイズの影響を削減することによって通信品質を確保している。
このため、本実施形態の受信装置20によれば、送信装置10との間で新たな通信規則を設ける必要もなく、ノイズ環境下にあっても、簡易な手法によって通信効率を低下させずに済むことができる。
また、受信装置20では、OFDM信号の受信前におけるサブキャリア毎の電力の時間平均値Xmを被干渉量として推定し、その被干渉量がノイズ閾値th以上であるパケット時間分のサブキャリアに重み係数αを設定する。
このため、受信装置20によれば、例えば携帯電話やPC等から流出する電磁波(高調波)のように特定の周波数に対応する信号レベルのみが高いノイズであっても識別可能となり、ひいては被干渉量の推定精度を向上させることができる。
また、受信装置20によれば、OFDM信号を受信した時点より予め設定された時間だけ前における一定期間分の電力の時間平均値Xmを被干渉量の推定値としているため、OFDM信号の受信前に瞬間的に発生するだけで軟判定ビタビ復号処理に影響しないノイズを推定値から省き、軟判定値Wl, m, nに対する過度の補正を抑制することができる。
<他の実施形態>
以上、本発明の実施形態について説明したが、本発明は上記実施形態に限定されるものではなく、本発明の要旨を逸脱しない範囲において、様々な態様にて実施することが可能である。
例えば、上記実施形態の受信装置20では、OFDM復調器25,デマッパ26,被干渉量推定部27,重み制御部28,デインターリーバ29,ビタビ復号器30が、論理回路に従って実行する処理として実現されているが、これに限定されるものではなく、マイクロコンピュータが予め用意されたプログラムに従って実行する処理として実現されていてもよい。
なお、上記実施形態の無線通信システム1は、プリアンブルを用いてパケットを検出するように構成されているが、これに限らず、ガードインターバルやRSSIを用いて検出するように構成されてもよい。
また、上記実施形態の無線通信システム1は、2NQAMで変調するように構成されているが、これに限るものではなく、2NPSK等で変調するように構成されてもよい。
ところで、第1実施形態のヌルキャリア電力算出部31の構成を、OFDM復調器25にてFFTされたシンボル時間分の周波数スペクトルからヌルキャリアを抽出するヌルキャリア抽出部と、そのヌルキャリア抽出部が抽出したヌルキャリアの信号電力を算出する第1電力算出部とに分けてもよいし、第2,第3実施形態のH側,L側のヌルキャリア電力算出部41a,41bの構成も同様にして分けてもよい。
また、第4実施形態の電力算出部48は、OFDM信号を受信した時点より予め設定された時間だけ前における一定期間分の電力の時間平均値Xmを算出しているが、これに限定されるものではなく、メモリ部47が保持する最新のスペクトルデータに基づく電力(即ち、OFDM信号を受信した時点の直前の電力)を算出するようにしてもよい。
第1実施形態における無線通信システム1を構成する送信装置10及び受信装置20の概略構成を示すブロック図。 第1実施形態における被干渉量推定部27及び重み制御部28の構成を示すブロック図。 第2実施形態における被干渉量推定部27及び重み制御部28の構成を示すブロック図。 第3実施形態における被干渉量推定部27及び重み制御部28の構成を示すブロック図。 第4実施形態における受信装置20の概略構成を示すブロック図 第4実施形態における被干渉量推定部27及び重み制御部28の構成を示すブロック図。 被干渉量推定部27が算出する推定値を説明するための周波数スペクトル図。
符号の説明
1…無線通信システム、10…送信装置、11…エンコーダ、12…インターリーバ、13…マッパ、14…OFDM変調器、15…GI付加部、16…PA付加部、20…受信装置、23…PA検出部、24…GI除去部、25…OFDM復調器、26…デマッパ、27…被干渉量推定部、28…重み制御部、29…デインターリーバ、30…ビタビ復号器、31…ヌルキャリア電力算出部、32…加算部、33…第1重み係数設定部、34…重み付け部、41a…H側ヌルキャリア電力算出部、41b…L側ヌルキャリア電力算出部、42a…H側加算部、42b…L側加算部、43…第2重み係数設定部、45…線形近似部、46…第3重み係数設定部、47…メモリ部、48…電力算出部、49…第4重み係数設定部。

Claims (9)

  1. 複数のサブキャリアからなる通信チャンネルを用いて、誤り訂正符号にて符号化されたOFDM信号の送受信を行う無線通信システムに使用され、
    前記通信チャンネルを介して受信した受信信号をシンボル時間毎に高速フーリエ変換することによって該受信信号の周波数スペクトルを算出するFFT処理手段と、
    前記FFT処理手段を介して前記OFDM信号を復調して誤り訂正符号の復号に使用する軟判定値を前記サブキャリア毎に生成する軟判定値生成手段と、
    を備えた受信装置において、前記軟判定値生成手段が生成した軟判定値を補正する軟判定値補正方法であって、
    前記FFT処理手段にて算出された周波数スペクトルに基づいて推定した前記無線通信システム内の被干渉量が、予め設定されたノイズ閾値以上である場合、前記軟判定値生成手段にて生成された軟判定値の少なくとも一部に、前記誤り訂正符号の復号への寄与度が低下するように設定された重み係数を乗じることによって、該軟判定値を補正することを特徴とする軟判定値補正方法。
  2. 複数のサブキャリアからなる通信チャンネルを用いて、誤り訂正符号にて符号化されたOFDM信号の送受信を行う無線通信システムに使用され、
    前記通信チャンネルを介して受信した受信信号をシンボル時間毎に高速フーリエ変換することによって該受信信号の周波数スペクトルを算出するFFT処理手段と、
    前記FFT処理手段を介して前記OFDM信号を復調して誤り訂正符号の復号に使用する軟判定値を前記サブキャリア毎に生成する軟判定値生成手段と、
    を備えた受信装置において、
    前記軟判定値生成手段により生成された軟判定値の少なくとも一部に予め設定された重み係数を乗じることで、該軟判定値を補正する補正手段と、
    前記FFT処理手段により算出された周波数スペクトルに基づいて、前記無線通信システム内の被干渉量を推定する被干渉量推定手段と、
    前記被干渉量推定手段により推定された被干渉量が予め設定されたノイズ閾値以上である場合、前記補正手段による補正後の軟判定値において前記誤り訂正符号の復号への寄与度が低下するように前記重み係数を設定する重み係数設定手段と、
    を備えることを特徴とする受信装置。
  3. 前記重み係数設定手段は、前記被干渉量と前記重み係数との対応関係を予め規定した対応テーブルに従って、前記重み係数を設定することを特徴とする請求項2に記載の受信装置。
  4. 前記通信チャンネル内の周波数帯域のうち両側端部のサブキャリアが予めヌルキャリアとして設定され、
    前記被干渉量推定手段は、前記ヌルキャリアが設定された周波数帯域であるヌル帯域の信号レベルに基づいて前記被干渉量を推定することを特徴とする請求項2または請求項3に記載の受信装置。
  5. 前記被干渉量推定手段は、前記シンボル時間毎に前記ヌル帯域の信号レベルそのものを前記被干渉量として推定し、
    前記重み係数設定手段は、前記ヌル帯域の信号レベルが前記ノイズ閾値以上である場合、前記被干渉量推定手段が前記被干渉量を推定したときのシンボル時間分の全サブキャリアに前記重み係数を設定することを特徴とする請求項4に記載の受信装置。
  6. 前記被干渉量推定手段は、高周波数側の前記ヌル帯域をH側ヌル帯域、低周波数側の前記ヌル帯域をL側ヌル帯域として、前記H側ヌル帯域の信号レベルと前記L側ヌル帯域の信号レベルとを個別に前記被干渉量として推定し、
    前記重み係数設定手段は、前記H側ヌル帯域の信号レベルが前記ノイズ閾値以上である場合、前記H側ヌル帯域に隣接する予め設定された数のサブキャリアに前記重み係数を設定し、前記L側ヌル帯域の信号レベルが前記ノイズ閾値以上である場合、前記L側ヌル帯域に隣接する予め設定された数のサブキャリアに前記重み係数を設定することを特徴とする請求項4に記載の受信装置。
  7. 前記被干渉量推定手段は、高周波数側の前記ヌル帯域をH側ヌル帯域、低周波数側の前記ヌル帯域をL側ヌル帯域として、前記周波数スペクトル上で前記H側ヌル帯域の信号レベルと前記L側ヌル帯域の信号レベルとに基づいて線形に近似されたサブキャリア毎の信号レベルを前記被干渉量として推定し、
    前記重み係数設定手段は、前記信号レベルが前記ノイズ閾値以上であるサブキャリアに前記重み係数を設定することを特徴とする請求項4に記載の受信装置。
  8. 前記被干渉量推定手段は、前記OFDM信号の受信前におけるサブキャリア毎の信号レベルである待機信号レベルを前記被干渉量として推定し、
    前記重み係数設定手段は、前記待機信号レベルが前記ノイズ閾値以上であるサブキャリアに前記重み係数を設定することを特徴とする請求項2または請求項3に記載の受信装置。
  9. 前記待機信号レベルは、前記OFDM信号を受信した時点より予め設定された時間だけ前における一定期間分の平均値であることを特徴とする請求項8に記載の受信装置。
JP2008160749A 2008-06-19 2008-06-19 軟判定値補正方法、及び受信装置 Expired - Fee Related JP5024197B2 (ja)

Priority Applications (1)

Application Number Priority Date Filing Date Title
JP2008160749A JP5024197B2 (ja) 2008-06-19 2008-06-19 軟判定値補正方法、及び受信装置

Applications Claiming Priority (1)

Application Number Priority Date Filing Date Title
JP2008160749A JP5024197B2 (ja) 2008-06-19 2008-06-19 軟判定値補正方法、及び受信装置

Publications (2)

Publication Number Publication Date
JP2010004280A true JP2010004280A (ja) 2010-01-07
JP5024197B2 JP5024197B2 (ja) 2012-09-12

Family

ID=41585612

Family Applications (1)

Application Number Title Priority Date Filing Date
JP2008160749A Expired - Fee Related JP5024197B2 (ja) 2008-06-19 2008-06-19 軟判定値補正方法、及び受信装置

Country Status (1)

Country Link
JP (1) JP5024197B2 (ja)

Cited By (6)

* Cited by examiner, † Cited by third party
Publication number Priority date Publication date Assignee Title
WO2012140893A1 (ja) * 2011-04-15 2012-10-18 三洋電機株式会社 判定装置
JP2015027069A (ja) * 2013-07-29 2015-02-05 エフシーアイ インク Ofdm受信信号の処理方法及びこれを用いたofdm受信装置
WO2015045585A1 (ja) * 2013-09-24 2015-04-02 三菱電機株式会社 無線通信装置、送信装置および受信装置
JP2015139140A (ja) * 2014-01-23 2015-07-30 株式会社国際電気通信基礎技術研究所 無線通信システム、無線通信装置および無線通信方法
WO2016111238A1 (ja) * 2015-01-09 2016-07-14 パナソニックIpマネジメント株式会社 通信システム、親機、及び子機
JP6501987B1 (ja) * 2018-06-08 2019-04-17 三菱電機株式会社 無線送信装置、無線受信装置、無線通信装置、無線通信システムおよび無線送信方法

Families Citing this family (1)

* Cited by examiner, † Cited by third party
Publication number Priority date Publication date Assignee Title
JP5977666B2 (ja) 2012-12-26 2016-08-24 パナソニック株式会社 受信装置及び周波数選択性妨害訂正方法

Citations (6)

* Cited by examiner, † Cited by third party
Publication number Priority date Publication date Assignee Title
JPH104391A (ja) * 1996-06-14 1998-01-06 Kokusai Electric Co Ltd マルチキャリア伝送方式
JP2003069468A (ja) * 2001-08-23 2003-03-07 Omron Corp 車両制御装置、車両制御方法、車両制御プログラム、これを記録したコンピュータ読み取り可能な記録媒体
JP2005086408A (ja) * 2003-09-08 2005-03-31 Sony Corp 無線通信システム、無線通信装置及び無線通信方法、並びにコンピュータ・プログラム
JP2007142832A (ja) * 2005-11-18 2007-06-07 Denso Corp 軟判定値補正方法,受信装置,プログラム
JP2008017144A (ja) * 2006-07-05 2008-01-24 Toshiba Corp 無線受信装置および方法
JP2008131364A (ja) * 2006-11-21 2008-06-05 Denso Corp 軟判定補正方法、受信装置、プログラム

Patent Citations (6)

* Cited by examiner, † Cited by third party
Publication number Priority date Publication date Assignee Title
JPH104391A (ja) * 1996-06-14 1998-01-06 Kokusai Electric Co Ltd マルチキャリア伝送方式
JP2003069468A (ja) * 2001-08-23 2003-03-07 Omron Corp 車両制御装置、車両制御方法、車両制御プログラム、これを記録したコンピュータ読み取り可能な記録媒体
JP2005086408A (ja) * 2003-09-08 2005-03-31 Sony Corp 無線通信システム、無線通信装置及び無線通信方法、並びにコンピュータ・プログラム
JP2007142832A (ja) * 2005-11-18 2007-06-07 Denso Corp 軟判定値補正方法,受信装置,プログラム
JP2008017144A (ja) * 2006-07-05 2008-01-24 Toshiba Corp 無線受信装置および方法
JP2008131364A (ja) * 2006-11-21 2008-06-05 Denso Corp 軟判定補正方法、受信装置、プログラム

Cited By (12)

* Cited by examiner, † Cited by third party
Publication number Priority date Publication date Assignee Title
WO2012140893A1 (ja) * 2011-04-15 2012-10-18 三洋電機株式会社 判定装置
JP5919540B2 (ja) * 2011-04-15 2016-05-18 パナソニックIpマネジメント株式会社 判定装置
JP2015027069A (ja) * 2013-07-29 2015-02-05 エフシーアイ インク Ofdm受信信号の処理方法及びこれを用いたofdm受信装置
WO2015045585A1 (ja) * 2013-09-24 2015-04-02 三菱電機株式会社 無線通信装置、送信装置および受信装置
JP6022071B2 (ja) * 2013-09-24 2016-11-09 三菱電機株式会社 無線通信装置および受信装置
US9780899B2 (en) 2013-09-24 2017-10-03 Mitsubishi Electric Corporation Radio communication apparatus, transmission apparatus, and reception apparatus
JP2015139140A (ja) * 2014-01-23 2015-07-30 株式会社国際電気通信基礎技術研究所 無線通信システム、無線通信装置および無線通信方法
WO2016111238A1 (ja) * 2015-01-09 2016-07-14 パナソニックIpマネジメント株式会社 通信システム、親機、及び子機
JP2016129321A (ja) * 2015-01-09 2016-07-14 パナソニックIpマネジメント株式会社 通信システム及び親機、子機
JP6501987B1 (ja) * 2018-06-08 2019-04-17 三菱電機株式会社 無線送信装置、無線受信装置、無線通信装置、無線通信システムおよび無線送信方法
WO2019234932A1 (ja) * 2018-06-08 2019-12-12 三菱電機株式会社 無線送信装置、無線受信装置、無線通信装置、無線通信システムおよび無線送信方法
US11343132B2 (en) 2018-06-08 2022-05-24 Mitsubishi Electric Corporation Radio transmission device, radio reception device, radio communication device, radio communication system, radio transmission method, control circuit, and recording medium

Also Published As

Publication number Publication date
JP5024197B2 (ja) 2012-09-12

Similar Documents

Publication Publication Date Title
KR100434473B1 (ko) 직교주파수 분할 다중 시스템에서 채널 복호 장치 및 방법
US7277498B2 (en) Mapping method of code word with QAM modulation
US8201063B2 (en) Transmitter and receiver
US7418042B2 (en) Repetition coding for a wireless system
US20050157639A1 (en) Apparatus and method for controlling adaptive modulation and coding in an orthogonal frequency division multiplexing communication system
JP5024197B2 (ja) 軟判定値補正方法、及び受信装置
WO2005053260A1 (ja) 受信装置及び送信装置
JP4008915B2 (ja) 多重アンテナを使用する直交周波数分割多重システムでの干渉信号を除去する装置及び方法
US20090122890A1 (en) Ofdm dcm demodulation method
JP4130821B2 (ja) 多重アンテナを使用する直交周波数分割多重システムでの干渉信号を除去する装置及び方法
EP2041887B1 (en) Enabling mobile switched antennas
KR20060106223A (ko) 직교 주파수 분할 다중 시스템에서 비트 삽입 및 코드 변조방식의 송신 장치 및 방법
JP4857330B2 (ja) マルチキャリア無線通信システム及びマルチキャリア無線通信方法
US20100189092A1 (en) Transmitter, transmitting method, receiver, and receiving method
KR100897660B1 (ko) 전송 데이터를 수신하는데 사용하기 위한 복수의 채널로부터 하나의 채널을 선택하는 방법, 디바이스 및 수신기
CN109274630A (zh) 抗频率选择性衰落的多载波信号矢量分集合并方法
JP4000067B2 (ja) 受信方法および装置
CN101800721B (zh) 正交频分复用通信系统中的干扰估计的方法和装置
CN1667987B (zh) 自适应通信方法和装置
US7324608B1 (en) Efficient subcarrier weighting to enhance receiver performance
JP5740252B2 (ja) ワイヤレスマイク用ofdm送信装置及び受信装置
JP2008010987A (ja) 受信装置及び無線通信システム
CN101340258A (zh) 软判量化器的步长决定方法
JP4962412B2 (ja) キャリアセンス回路
US20080159445A1 (en) Viterbi-input auto scaling for packet-based system

Legal Events

Date Code Title Description
A621 Written request for application examination

Free format text: JAPANESE INTERMEDIATE CODE: A621

Effective date: 20100831

A977 Report on retrieval

Free format text: JAPANESE INTERMEDIATE CODE: A971007

Effective date: 20120319

A131 Notification of reasons for refusal

Free format text: JAPANESE INTERMEDIATE CODE: A131

Effective date: 20120327

A521 Written amendment

Free format text: JAPANESE INTERMEDIATE CODE: A523

Effective date: 20120426

TRDD Decision of grant or rejection written
A01 Written decision to grant a patent or to grant a registration (utility model)

Free format text: JAPANESE INTERMEDIATE CODE: A01

Effective date: 20120522

A01 Written decision to grant a patent or to grant a registration (utility model)

Free format text: JAPANESE INTERMEDIATE CODE: A01

A61 First payment of annual fees (during grant procedure)

Free format text: JAPANESE INTERMEDIATE CODE: A61

Effective date: 20120604

FPAY Renewal fee payment (event date is renewal date of database)

Free format text: PAYMENT UNTIL: 20150629

Year of fee payment: 3

R250 Receipt of annual fees

Free format text: JAPANESE INTERMEDIATE CODE: R250

LAPS Cancellation because of no payment of annual fees