JP2010004249A - 画像読取装置および画像形成装置 - Google Patents

画像読取装置および画像形成装置 Download PDF

Info

Publication number
JP2010004249A
JP2010004249A JP2008160472A JP2008160472A JP2010004249A JP 2010004249 A JP2010004249 A JP 2010004249A JP 2008160472 A JP2008160472 A JP 2008160472A JP 2008160472 A JP2008160472 A JP 2008160472A JP 2010004249 A JP2010004249 A JP 2010004249A
Authority
JP
Japan
Prior art keywords
light
document
amount
reading
image
Prior art date
Legal status (The legal status is an assumption and is not a legal conclusion. Google has not performed a legal analysis and makes no representation as to the accuracy of the status listed.)
Granted
Application number
JP2008160472A
Other languages
English (en)
Other versions
JP4655114B2 (ja
Inventor
Tetsuya Sakai
哲也 酒井
Masahiro Mitsuzaki
雅弘 光崎
Shigeki Uchiki
繁喜 内貴
Current Assignee (The listed assignees may be inaccurate. Google has not performed a legal analysis and makes no representation or warranty as to the accuracy of the list.)
Konica Minolta Business Technologies Inc
Original Assignee
Konica Minolta Business Technologies Inc
Priority date (The priority date is an assumption and is not a legal conclusion. Google has not performed a legal analysis and makes no representation as to the accuracy of the date listed.)
Filing date
Publication date
Application filed by Konica Minolta Business Technologies Inc filed Critical Konica Minolta Business Technologies Inc
Priority to JP2008160472A priority Critical patent/JP4655114B2/ja
Priority to US12/488,109 priority patent/US8422085B2/en
Publication of JP2010004249A publication Critical patent/JP2010004249A/ja
Application granted granted Critical
Publication of JP4655114B2 publication Critical patent/JP4655114B2/ja
Expired - Fee Related legal-status Critical Current
Anticipated expiration legal-status Critical

Links

Images

Classifications

    • HELECTRICITY
    • H04ELECTRIC COMMUNICATION TECHNIQUE
    • H04NPICTORIAL COMMUNICATION, e.g. TELEVISION
    • H04N1/00Scanning, transmission or reproduction of documents or the like, e.g. facsimile transmission; Details thereof
    • H04N1/00681Detecting the presence, position or size of a sheet or correcting its position before scanning
    • HELECTRICITY
    • H04ELECTRIC COMMUNICATION TECHNIQUE
    • H04NPICTORIAL COMMUNICATION, e.g. TELEVISION
    • H04N1/00Scanning, transmission or reproduction of documents or the like, e.g. facsimile transmission; Details thereof
    • H04N1/00681Detecting the presence, position or size of a sheet or correcting its position before scanning
    • H04N1/00684Object of the detection
    • H04N1/00724Type of sheet, e.g. colour of paper or transparency
    • HELECTRICITY
    • H04ELECTRIC COMMUNICATION TECHNIQUE
    • H04NPICTORIAL COMMUNICATION, e.g. TELEVISION
    • H04N1/00Scanning, transmission or reproduction of documents or the like, e.g. facsimile transmission; Details thereof
    • H04N1/04Scanning arrangements, i.e. arrangements for the displacement of active reading or reproducing elements relative to the original or reproducing medium, or vice versa
    • H04N1/10Scanning arrangements, i.e. arrangements for the displacement of active reading or reproducing elements relative to the original or reproducing medium, or vice versa using flat picture-bearing surfaces
    • H04N1/1013Scanning arrangements, i.e. arrangements for the displacement of active reading or reproducing elements relative to the original or reproducing medium, or vice versa using flat picture-bearing surfaces with sub-scanning by translatory movement of at least a part of the main-scanning components
    • H04N1/1017Scanning arrangements, i.e. arrangements for the displacement of active reading or reproducing elements relative to the original or reproducing medium, or vice versa using flat picture-bearing surfaces with sub-scanning by translatory movement of at least a part of the main-scanning components the main-scanning components remaining positionally invariant with respect to one another in the sub-scanning direction
    • HELECTRICITY
    • H04ELECTRIC COMMUNICATION TECHNIQUE
    • H04NPICTORIAL COMMUNICATION, e.g. TELEVISION
    • H04N1/00Scanning, transmission or reproduction of documents or the like, e.g. facsimile transmission; Details thereof
    • H04N1/04Scanning arrangements, i.e. arrangements for the displacement of active reading or reproducing elements relative to the original or reproducing medium, or vice versa
    • H04N1/19Scanning arrangements, i.e. arrangements for the displacement of active reading or reproducing elements relative to the original or reproducing medium, or vice versa using multi-element arrays
    • H04N1/191Scanning arrangements, i.e. arrangements for the displacement of active reading or reproducing elements relative to the original or reproducing medium, or vice versa using multi-element arrays the array comprising a one-dimensional array, or a combination of one-dimensional arrays, or a substantially one-dimensional array, e.g. an array of staggered elements
    • H04N1/192Simultaneously or substantially simultaneously scanning picture elements on one main scanning line
    • H04N1/193Simultaneously or substantially simultaneously scanning picture elements on one main scanning line using electrically scanned linear arrays, e.g. linear CCD arrays
    • HELECTRICITY
    • H04ELECTRIC COMMUNICATION TECHNIQUE
    • H04NPICTORIAL COMMUNICATION, e.g. TELEVISION
    • H04N2201/00Indexing scheme relating to scanning, transmission or reproduction of documents or the like, and to details thereof
    • H04N2201/04Scanning arrangements
    • H04N2201/0402Arrangements not specific to a particular one of the scanning methods covered by groups H04N1/04 - H04N1/207
    • H04N2201/0418Arrangements not specific to a particular one of the scanning methods covered by groups H04N1/04 - H04N1/207 capable of scanning transmissive and reflective originals at a single scanning station

Landscapes

  • Engineering & Computer Science (AREA)
  • Multimedia (AREA)
  • Signal Processing (AREA)
  • Facsimile Scanning Arrangements (AREA)

Abstract

【課題】高濃度域の画像の階調の分解能の高い画像読み取り装置、および、画像形成装置を提供する。
【解決手段】画像読取装置2は、原稿の読取面に光を照射して反射光の光量を読み取る反射光読取手段(11,12,13,14,10)と、原稿に光を照射して透過光の光量を読み取る透過光読取手段(15,12,13,14,10)とを有し、反射光読取手段が読み取った反射光の光量と、透過光読取手段が読み取った透過光の光量とに基づいて、原稿の画像の濃度を算出する。
【選択図】図1

Description

本発明は、画像読取装置および画像読取機能を備える画像形成装置に関する。
画像読取装置では、原稿に投稿し、読み取る画素毎に、反射光の光量を検出して、画像の濃度(階調)を決定する。画像の読み取りにおいては、様々な要因によって読み取り濃度に誤差が生じる。
特許文献1には、原稿の光沢による誤差を補正するため、乱反射光の光量を検出する技術が開示されている。特許文献2には、原稿の両面を読み取り可能とするために、2つの読取手段を設ける技術、および、2つの面の読取感度の差を補正する技術が開示されている。特許文献3にも、原稿の裏面を読み取るためにCISを設ける技術が開示されている。
これらの反射光を読み取る画像読取装置では、高濃度域で反射光の光量変化が小さくなるので、高濃度の画像の階調分解能が低いという問題がある。
特開平10−322555号公報 特開2002−192815号公報 特開2005−33465号公報
前記問題点に鑑みて、本発明は、高濃度域の画像の階調の分解能の高い画像読み取り装置、および、画像形成装置を提供することを課題とする。
前記課題を解決するために、本発明による画像読取装置は、原稿の読取面に光を照射して反射光の光量を読み取る反射光読取手段と、前記原稿に光を照射して透過光の光量を読み取る透過光読取手段とを有し、前記反射光読取手段が読み取った反射光の光量と、前記透過光読取手段が読み取った透過光の光量とに基づいて、前記原稿の画像の濃度を算出するものとする。
この構成によれば、原稿の画像濃度が低い場合に高い分解能を得られる反射光の光量と、原稿の画像濃度高い場合に高い分解能を得られる透過光とを用いて、原稿の画像濃度を算出するので、画像濃度にかかわらず高い分解能で画像を読み取ることができる。
また、上述の画像読取装置において、前記反射光読取手段が読み取った反射光の光量に基づいて算出した画素の濃度が高い場合は、当該画素について、前記透過光読取手段が読み取った透過光の光量に基づいて算出した濃度を前記原稿の画像の濃度であると判断してもよい。
この構成によれば、原稿の画像濃度に応じて、反射光の光量と透過光の光量とのうち分解能が高い方を用いて画像濃度を算出するので、画像濃度にかかわらず高い分解能で画像を読み取ることができる。
また、上述の画像読取装置において、前記反射光読取手段は、前記原稿の読取面に投光する反射投光器を有し、前記透過光読取手段は、前記原稿の読み取り面の裏面に投光する透過投光器を有し、前記反射光読取手段と前記透過光読取手段とは、前記原稿の反射光の光量および前記原稿の透過光の光量を検出する光量検出器を共有してもよい。
この構成によれば、光量検出器が1つでよいので、受光のための光学系および信号処理回路が1系統でよく、コスト高にならない。
また、上述の画像読取装置において、前記反射光読取手段と前記透過光読取手段とは、前記原稿の読み取り面に投光する投光器を共有し、前記反射光読取手段は、前記原稿の反射光の光量を検出する反射光量検出器とを有し、前記透過光読取手段は、前記原稿の前記読取面と反対側に配設され、前記原稿の透過光の光量を検出する透過光量検出器を有してもよい。
この構成によれば、反射光の光量と透過光の光量とを同時に検出できるので、読み取りに要する時間を短縮できる。
また、本発明による画像形成装置は、上述の画像読取装置のいずれかを有するものとする。
この構成によれば、原稿の画像を階調を正確に再現して複写できる。
上記構成によれば、原稿の画像濃度が高い場合にも、透過光の光量に基づいて画像濃度を高分解能に算出できるので、画像の濃度にかかわらず高分解能の読み取りができる。
これより、本発明の実施形態について、図面を参照しながら説明する。
図1に、本発明の第1実施形態の画像形成装置1を示す。画像形成装置1は、画像読取装置部2と、本体部3とからなる。
画像読取装置部2は、原稿を自動給紙および反転給紙可能な自動原稿搬送部4と、スキャナ部5とを有する。スキャナ部5は、自動原稿搬送部4が搬送中の原稿の読取面を望むスリットガラス6と、その上に原稿を載置する板ガラスからなる原稿台7と、スリットガラス6および原稿台7の下方を水平移動する走査ユニット8および反射ユニット9と、例えばCCDからなる受光センサ(光量検出器)10とを有する。
走査ユニット8は、原稿の読取面に投光する発光体である反射投光器11と、反射投光器11が投光し、原稿によって反射された反射光を折り曲げる第1反射鏡12とを備える。反射ユニット9は、第1反射鏡12が折り曲げた原稿の反射光をさらに折り返して受光センサ10に導く第2反射鏡13および第3反射鏡14を備える。反射ユニット9は、走査ユニット8の位置に応じて、原稿の読取面から受光センサ10までの反射光の経路が一定の距離になるように移動する。これにより、受光センサ10は、原稿の読取面の反射光の光量を正確に検出することができる(反射光量検出手段)。
また、自動原稿搬送部4は、スリットガラス6に対向する原稿に裏面から投光する発光体である透過投光器15を備える。受光センサ10は、透過投光器15が投光し、原稿を透過した透過光を、第1乃至第3反射鏡12,13,14を介して受光し、その光量を検出することもできる(透過光量検出手段)。さらに、自動原稿搬送部4は、受光センサ10が検出した光量を処理して原稿の画像濃度を算出する演算装置16を有する。
このように、画像読取装置部2では、反射投光器11を備える反射光読取手段と、透過投光器15を備える透過光読取手段とが、第1乃至第3反射鏡12,13,14および受光センサ10を共有している。
本体部3は、作像部17Y,17M,17C,17Kが、それぞれ、イエロー、マゼンタ、シアンまたはブラックのトナーによって記録紙の上に画像を形成し、定着装置18が記録紙にトナー画像を定着させる公知の静電写真方式の画像形成装置である。
本実施形態では、画像読取装置部2において、受光センサ10により、読取画素毎に原稿の反射光の光量と透過光の光量とを走査しながら検出し、反射光の光量と透過光の光量とを基に、原稿の画像濃度を算出することができる。さらに算出された原稿の画像濃度を用いて作像部17Y,17M,17C,17Kにおけるトナー画像の形成に反映させることもできる。
反射投光器11と透過投光器15とが同時に投光すると、受光センサ10は、反射光の光量と透過光の光量との和を検出してしまう。そこで、画像読取装置部2は、先ず、原稿の読取面をスリットガラス6に対向させて搬送しながら反射透光手段11によって原稿に投光し、その反射光の光量を受光センサ10で検出する。続いて、画像読取装置部2は、原稿を反転給紙し、透過投光器15によって原稿の読取面に投光し、その透過光の光量を受光センサ10で検出する。
図2に、反射光の光量と原稿の濃度との関係を示す。尚、図示する反射光の光量データの値は、原稿の余白部分において反射光の光量が「255」になるように、キャリブレーションしたものである。つまり、このキャリブレーションは、反射光の光量が原稿の地色(用紙の色味)の違いによる反射光の光量のばらつきを補正する操作である。図示するように、原稿濃度が高い場合、反射光の光量は殆ど差がなく、反射光の光量データからは、原稿の濃度を細かく判断できない。
同様に、図3に、透過光の光量と原稿の濃度との関係を示す。尚、透過光の光量は、画像濃度と負の相関関係にあるため、原稿の余白部分の透過光の光量から検出値を引いた値(補数)を、検出光量が「0」のときにデータ値が「255」になるようにキャリブレーションしたものである。つまり、このキャリブレーションは、原稿の厚さや材質の違いによる透過光の光量のばらつきを補正する操作である。図示するように、原稿濃度が低い場合、透過光の光量データからは、原稿濃度を細かく判断できないが、原稿濃度が高い場合は、その濃度を細かく判断できる。
よって、本実施形態では、反射光の光量データから算出した原稿濃度が、1.1以上である場合には、透過光の光量データから算出した原稿濃度の濃度を、原稿の画像濃度として認識する。
図4に、以上の原稿読み取りの動作手順を示す。先ず、ステップS1で、反射投光器11のみが点灯し、自動原稿搬送部4が、スリットガラス6上に読取面を下にして原稿を供給し、受光センサ10が反射光の光量を読み取る。こうして読み取られた原稿1枚分の光量のデータは、一旦、演算装置16の内部メモリに格納される。そして、ステップS2において、演算装置16は、このデータの中から原稿の余白部分のデータを抽出し、原稿全体の光量データをキャリブレーションして、メモリに記憶する。そして、ステップS3において、反射光の光量データを、図2の関係を数値で現した参照テーブルを参照することによって、画素毎に濃度データに変換する。
ステップS4では、透過投光器15のみが点灯し、自動原稿搬送部4が、ステップS1で搬送された原稿を反転給紙し、受光センサ10で透過光の光量を検出して、原稿1枚分の光量のデータを、一旦、メモリに格納する。ステップS5で、演算装置16は、このデータの中から原稿の余白部分のデータを抽出し、原稿全体の光量データをキャリブレーションして、キャリブレーションした光量データの補数データをメモリに記憶する。ステップS6では、透過光の光量補数データを、図3の関係を数値で現した参照テーブルを参照して、画素毎に濃度データに変換する。
最後に、ステップS7において、反射光による画像濃度のデータを画素毎に確認し、その値が1.1以上であれば、透過光による画像濃度の対応する画素位置のデータに置き換える。
こうして得られた読み取り画像データは、低濃度から高濃度まで高い分解能を有する。特に、原稿がシャドー領域を含む写真画像を含む場合、反射光だけでは当該シャドー領域を高い分解能で読み取ることは難しいが、シャドー部分については透過光を用いることで、原稿全体を高い分解能で読み取ることを可能とする。また、画像形成装置1は、本体部3において、この画像データを基に画像を形成することで、原稿の画像を正確な階調で複写できる。
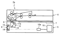
続いて、図5に、本発明の第2実施形態の画像読取装置2aを示す。本実施形態は、独立した画像読取装置として示すが、第1実施形態と同様に、コピー機やファクシミリなどの画像形成装置に組み込まれてもよい。尚、本実施形態以降の説明では、先に説明した構成要素と同じ構成要素には同じ符号を付して、重複する説明を省略する。
本実施形態では、自動原稿搬送部4は、投光器11aによって投光され、原稿を透過した透過光の光量を検出するために、例えば、CIS(Contact image sensor)からなる透過光量検出器19が、原稿の読取面の反対側に設けられている。画像読取装置2aでは、受光センサ10aは、反射光の光量のみを検出する反射光量検出器である。
つまり、画像読取装置部2aでは、反射光量検出器10aを備える反射光読取手段と、透過光量検出器19を備える透過光読取手段とが、1つの投光器11aを共有している。
本実施形態では、原稿を1度通紙するだけで、反射光の光量と透過光の光量とを同時に検出することが可能であり、高速に画像を読み取れる。
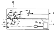
また、本発明では、図6に示す第3実施形態の画像読取装置2bのように、反射投光器11bと透過投光器15とを別々に設け、さらに、反射光量検出器10bと透過光量検出器19とを別々に設けてもよい。
反射光および透過光を得るための投光器および光量検出器の配置は、上記実施形態の具体的配置に制限されず、任意である。
本発明の第1実施形態の画像形成装置の概略図。 図1の画像形成装置における、原稿濃度と反射光の光量との関係を示す図。 図1の画像形成装置における、原稿濃度と透過光の光量との関係を示す図。 図1の画像形成装置の画像読取の動作手順を示す流れ図。 本発明の第2実施形態の画像読取装置の概略図。 本発明の第3実施形態の画像読取装置の概略図。
符号の説明
1…画像形成装置
2…画像読取装置部
4…自動原稿搬送部4
5…スキャナ部
6…スリットガラス
7…原稿台
10…受光センサ(光量検出器)
10a…反射光量検出器
10b…反射光量検出器
11…反射投光器
11a…投光器
11b…反射投光器
15…透過投光器
19…透過光量検出器

Claims (5)

  1. 原稿の読取面に光を照射して反射光の光量を読み取る反射光読取手段と、
    前記原稿に光を照射して透過光の光量を読み取る透過光読取手段とを有し、
    前記反射光読取手段が読み取った反射光の光量と、前記透過光読取手段が読み取った透過光の光量とに基づいて、前記原稿の画像の濃度を算出することを特徴とする画像読取装置。
  2. 前記反射光読取手段が読み取った反射光の光量に基づいて算出した画素の濃度が高い場合は、当該画素について、前記透過光読取手段が読み取った透過光の光量に基づいて算出した濃度を前記原稿の画像の濃度であると判断することを特徴とする請求項1に記載画像読取装置。
  3. 前記反射光読取手段は、前記原稿の読取面に投光する反射投光器を有し、
    前記透過光読取手段は、前記原稿の読み取り面の裏面に投光する透過投光器を有し、
    前記反射光読取手段と前記透過光読取手段とは、前記原稿の反射光の光量および前記原稿の透過光の光量を検出する光量検出器を共有することを特徴とする請求項1または2に記載の画像読取装置。
  4. 前記反射光読取手段と前記透過光読取手段とは、前記原稿の読み取り面に投光する投光器を共有し、
    前記反射光読取手段は、前記原稿の反射光の光量を検出する反射光量検出器とを有し、
    前記透過光読取手段は、前記原稿の前記読取面と反対側に配設され、前記原稿の透過光の光量を検出する透過光量検出器を有することを特徴とする請求項1または2に記載の画像読取装置。
  5. 請求項1から4のいずれかに記載の画像読取装置を有することを特徴とする画像形成装置。
JP2008160472A 2008-06-19 2008-06-19 画像読取装置および画像形成装置 Expired - Fee Related JP4655114B2 (ja)

Priority Applications (2)

Application Number Priority Date Filing Date Title
JP2008160472A JP4655114B2 (ja) 2008-06-19 2008-06-19 画像読取装置および画像形成装置
US12/488,109 US8422085B2 (en) 2008-06-19 2009-06-19 Image reader and image forming apparatus

Applications Claiming Priority (1)

Application Number Priority Date Filing Date Title
JP2008160472A JP4655114B2 (ja) 2008-06-19 2008-06-19 画像読取装置および画像形成装置

Publications (2)

Publication Number Publication Date
JP2010004249A true JP2010004249A (ja) 2010-01-07
JP4655114B2 JP4655114B2 (ja) 2011-03-23

Family

ID=41430962

Family Applications (1)

Application Number Title Priority Date Filing Date
JP2008160472A Expired - Fee Related JP4655114B2 (ja) 2008-06-19 2008-06-19 画像読取装置および画像形成装置

Country Status (2)

Country Link
US (1) US8422085B2 (ja)
JP (1) JP4655114B2 (ja)

Families Citing this family (4)

* Cited by examiner, † Cited by third party
Publication number Priority date Publication date Assignee Title
JP5126279B2 (ja) * 2010-04-26 2013-01-23 コニカミノルタビジネステクノロジーズ株式会社 画像読取装置
JP6060532B2 (ja) * 2012-06-18 2017-01-18 株式会社リコー 画像読取装置及び画像形成装置
JP5775864B2 (ja) * 2012-12-12 2015-09-09 京セラドキュメントソリューションズ株式会社 スキャナー装置及び画像形成装置
JP2020095116A (ja) * 2018-12-11 2020-06-18 コニカミノルタ株式会社 画像形成装置、画像形成システム、画像形成システムの制御方法及びプログラム

Citations (4)

* Cited by examiner, † Cited by third party
Publication number Priority date Publication date Assignee Title
JPH01143557A (ja) * 1987-11-30 1989-06-06 Ricoh Co Ltd 画像読取装置
JPH114326A (ja) * 1997-06-11 1999-01-06 Minolta Co Ltd 撮像装置
JP2005311952A (ja) * 2004-04-26 2005-11-04 Sharp Corp 画像読取装置
JP2007214944A (ja) * 2006-02-10 2007-08-23 Seiko Epson Corp 画像形成装置

Family Cites Families (11)

* Cited by examiner, † Cited by third party
Publication number Priority date Publication date Assignee Title
US6023532A (en) * 1994-03-25 2000-02-08 Seiko Epson Corporation Image reading apparatus, method and system
JPH09224127A (ja) * 1996-02-15 1997-08-26 Canon Inc 原稿濃度検知装置
JPH10322555A (ja) 1997-05-20 1998-12-04 Ricoh Co Ltd 画像形成装置
US6690837B1 (en) * 1998-11-03 2004-02-10 Agfa-Gevaert Screening method for overlapping sub-images
US6862117B1 (en) * 1999-12-30 2005-03-01 Eastman Kodak Company Method and apparatus for reducing the effect of bleed-through on captured images
JP2002192815A (ja) 2000-12-27 2002-07-10 Canon Inc キャリブレーションデータ作成方法、キャリブレーション方法および情報処理装置
JP4465997B2 (ja) 2003-07-11 2010-05-26 富士ゼロックス株式会社 画像読み取り装置、画像処理装置、および画像処理方法
JP2005070117A (ja) * 2003-08-26 2005-03-17 Sharp Corp 画像形成装置、および、画像形成装置の色ずれ補正方法
JP4476711B2 (ja) * 2004-06-21 2010-06-09 株式会社リコー 異常判定装置及び画像形成装置
US7945096B2 (en) * 2006-08-29 2011-05-17 Canon Kabushiki Kaisha Apparatus for discriminating the types of recording material and an apparatus for forming image
JP5016939B2 (ja) * 2007-02-07 2012-09-05 キヤノン株式会社 画像形成装置

Patent Citations (4)

* Cited by examiner, † Cited by third party
Publication number Priority date Publication date Assignee Title
JPH01143557A (ja) * 1987-11-30 1989-06-06 Ricoh Co Ltd 画像読取装置
JPH114326A (ja) * 1997-06-11 1999-01-06 Minolta Co Ltd 撮像装置
JP2005311952A (ja) * 2004-04-26 2005-11-04 Sharp Corp 画像読取装置
JP2007214944A (ja) * 2006-02-10 2007-08-23 Seiko Epson Corp 画像形成装置

Also Published As

Publication number Publication date
JP4655114B2 (ja) 2011-03-23
US8422085B2 (en) 2013-04-16
US20090316229A1 (en) 2009-12-24

Similar Documents

Publication Publication Date Title
US6853393B2 (en) Picture reading device and image forming apparatus
US7502147B2 (en) Image position correcting method, image position correcting jig, and image formation device
US8867107B1 (en) Image reading apparatus and reading apparatus
US11825037B2 (en) Multi-mode scanning device performing invisible light reflection
CN104301581A (zh) 图像读取装置及图像形成装置
JP4655114B2 (ja) 画像読取装置および画像形成装置
JP2018026655A (ja) 画像形成システム、画像読取装置、及び画像形成装置
US8447196B2 (en) Recording material determination apparatus and image forming apparatus having a determining unit that determines an attribute of a recording material
JP2019103122A (ja) 読取装置、画像形成装置、位置検出方法およびプログラム
US9310744B1 (en) Image forming apparatus and method for correcting color misregistration by the same
JP7040055B2 (ja) 検査装置、画像読取装置、画像形成装置および検査装置における濃度補正方法
JP2018157448A (ja) シート端部検知装置及びシート搬送装置
US9106773B2 (en) Multifunction apparatus and reading device
JP6135350B2 (ja) 原稿読取装置及び画像形成装置
JP5831040B2 (ja) 画像形成装置及びプログラム
JP2006126326A (ja) 画像形成装置
JP4412906B2 (ja) 光走査装置、および画像形成装置
JP2004025579A (ja) 画像形成装置
US20090226192A1 (en) Image forming apparatus
JP6885076B2 (ja) 画像読取装置、画像形成装置、画像処理装置、及び画像処理方法
JP5129215B2 (ja) 画像形成装置
JP2025096064A (ja) 読取装置、画像処理装置、読取方法およびプログラム
JP2003259089A (ja) 画像読み取り装置及び画像形成装置
JP3929921B2 (ja) 原稿検出装置
JP2017011322A (ja) 画像読取装置、及び画像形成装置

Legal Events

Date Code Title Description
A977 Report on retrieval

Free format text: JAPANESE INTERMEDIATE CODE: A971007

Effective date: 20100427

A131 Notification of reasons for refusal

Free format text: JAPANESE INTERMEDIATE CODE: A131

Effective date: 20100511

A521 Written amendment

Free format text: JAPANESE INTERMEDIATE CODE: A523

Effective date: 20100709

A131 Notification of reasons for refusal

Free format text: JAPANESE INTERMEDIATE CODE: A131

Effective date: 20100907

A521 Written amendment

Free format text: JAPANESE INTERMEDIATE CODE: A523

Effective date: 20101105

TRDD Decision of grant or rejection written
A01 Written decision to grant a patent or to grant a registration (utility model)

Free format text: JAPANESE INTERMEDIATE CODE: A01

Effective date: 20101124

A01 Written decision to grant a patent or to grant a registration (utility model)

Free format text: JAPANESE INTERMEDIATE CODE: A01

A61 First payment of annual fees (during grant procedure)

Free format text: JAPANESE INTERMEDIATE CODE: A61

Effective date: 20101207

FPAY Renewal fee payment (event date is renewal date of database)

Free format text: PAYMENT UNTIL: 20140107

Year of fee payment: 3

R150 Certificate of patent or registration of utility model

Free format text: JAPANESE INTERMEDIATE CODE: R150

LAPS Cancellation because of no payment of annual fees