JP2010004062A - 超小形電子集成体の封入 - Google Patents

超小形電子集成体の封入 Download PDF

Info

Publication number
JP2010004062A
JP2010004062A JP2009188707A JP2009188707A JP2010004062A JP 2010004062 A JP2010004062 A JP 2010004062A JP 2009188707 A JP2009188707 A JP 2009188707A JP 2009188707 A JP2009188707 A JP 2009188707A JP 2010004062 A JP2010004062 A JP 2010004062A
Authority
JP
Japan
Prior art keywords
frame
tape
fixture
assembly
chip
Prior art date
Legal status (The legal status is an assumption and is not a legal conclusion. Google has not performed a legal analysis and makes no representation as to the accuracy of the status listed.)
Granted
Application number
JP2009188707A
Other languages
English (en)
Other versions
JP5345472B2 (ja
Inventor
Tan Nguyen
グェン,タン
Craig S Mitchell
ミッチェル,クレイグ,エス.
Thomas H Distefano
ディステファノ,トーマス,エイチ.
Current Assignee (The listed assignees may be inaccurate. Google has not performed a legal analysis and makes no representation or warranty as to the accuracy of the list.)
Adeia Semiconductor Solutions LLC
Original Assignee
Tessera LLC
Priority date (The priority date is an assumption and is not a legal conclusion. Google has not performed a legal analysis and makes no representation as to the accuracy of the date listed.)
Filing date
Publication date
Application filed by Tessera LLC filed Critical Tessera LLC
Publication of JP2010004062A publication Critical patent/JP2010004062A/ja
Application granted granted Critical
Publication of JP5345472B2 publication Critical patent/JP5345472B2/ja
Anticipated expiration legal-status Critical
Expired - Lifetime legal-status Critical Current

Links

Images

Classifications

    • H10W76/10
    • H10W74/016
    • H10W74/01
    • H10W72/0198
    • H10W72/884
    • H10W90/724
    • H10W90/734
    • H10W90/754

Landscapes

  • Encapsulation Of And Coatings For Semiconductor Or Solid State Devices (AREA)
  • Injection Moulding Of Plastics Or The Like (AREA)
  • Electrodes Of Semiconductors (AREA)

Abstract

【課題】超小形電子集成体の製造において封入材による汚染を防止する。
【解決手段】半導体チップ集成体の製造方法は、(a)複数の半導体チップをフレーム72に保持された一体テープ86の底面に取着し、テープ86の上面に露出した端子にチップを電気的に接続することで半導体チップ集成体104を提供し、半導体チップ集成体104は1つ以上のチップと連係するテープの領域とを有し、該チップはフレーム72により取り囲まれる孔に配置され、(b)テープ86及びフレーム72の上面に上部シール層を被着し、(c)テープ86から離れた方を向くチップ及びフレームの底面に底部シール層を被着し、(d)液体封入材がチップ及びテープ86と接触するように該封入材をチップの周囲に注入し、(e)封入材を硬化させ、フレーム72とシール層は硬化の際に封入材を保持するとともに封入材がチップの底面及びテープの上面と接触するのを防止する各工程を備える。
【選択図】図1

Description

本発明は、超小形電子集成体の封入に関する。
例えば、米国特許第5,659,652号、同第5,766,987号及び同第5,776,796号に記載されているように、接点を有する半導体チップ、端子がチップの接点に電気的に接続されたシート状誘電素子のような超小形電子素子を有する超小形電子集成体をつくることができる。本明細書においては、これらの特許を引用してその説明に代える。柔軟な誘電素子は、集成体の上面を形成し、一方、柔軟な誘電素子から離れたチップの面は、集成体の底面を形成する。例えば、誘電シートがチップの前面即ち接点担持面を覆う場合には、チップの後面は集成体の底面を形成する。集成体はまた、誘電シートとチップとの間に配置されて、シートと端子をチップから機械的に脱合させるエラストマまたはゲルのような順応性のある(compliant)層を有することができる。
上記した特許に開示されているように、かかる順応性のある層は、チップとシートとの間に複数の順応性のあるパッドのような多孔質の層を配設し、端子をチップの接点に電気的に接続し、次いで、硬化性の封入材が多孔質の層を透通するとともにチップの接点の接続体を覆うように、得られた集成体を液体封入材を用いて封入することにより形成することができる。封入材が硬化して順応性のある材料を形成すると、多孔質層の封入材は順応性のある層の一部を形成する。このような構成の集成体を形成する場合には、集成体の上面と底面に封着材が被着するのを避けるのが望ましい。即ち、封入材を誘電シートの上面と端子または集成体の後面を画成するチップの面とに被着するのをなくすのが望ましい。更に、封入材が多孔質層を完全に満たして、最終集成体に実質上空隙のない順応性のある層を提供するのが望ましい。
超小形電子集成体において封入材を被着して硬化させる幾つかの有用な方法が、同じ譲受人に譲渡された同時係属の米国特許出願及び特許に提案されている。例えば、上記した米国特許第5,766,987号に記載されているように、集成体に組み込まれている誘電シートは、一般に、端子をチップに電気的に接続する工程の際にチップの接点にアクセスすることができるようにする孔、即ち、「ボンドウインド(bond window)」を有している。これらの接続部が形成されてから、上部カバーの層が誘電シートの上面に被着される。一般的には、幾つかの集成体は、同じ上部カバー層が幾つかの集成体の上面に位置するように並列して配置される。上部カバー層は、ボンドウインドをシールするとともに、隣接する集成体の誘電層間のスペースもシールする。底部カバー層が集成体の底面に配設されている。カバー層と集成体は、取り付け具に保持される。取り付け具のポケットが、硬化性の液体封入材を保持している。取り付け具を真空源に接続することによりカバー層間のスペースが減圧されてから、取り付け具が傾斜され、液体封入材がカバー層間のスペースに注入され、これにより、封入材が硬化するとともに構成要素は取り付け具の所定の位置に保持される。上部及び底部カバー層は封入材を保持するとともに、封入材がチップの底面または誘電層の上面を汚染するのを防止する。
上記した米国特許第5,659,952号及び同第5,776,796号に記載されているように、封入材は各副集成体の周辺にノズルまたはシリンジを使用して被着することができる。例えば、’796号特許に記載されているように、幾つかの副集成体の誘電シートを組み込む、広く「テープ」と呼ばれている1つの一体誘電シート素子を使用して、複数の集成体を形成することができる。チップは、テープに取着するとともに、テープの端子に電気的に接続することができる。この状態で、封入材ディスペンサに接続されたニードルを使用して、個々のチップの周辺にパターンをトレースすることにより、封入材は各チップと誘電層との間のスペースに流れ込む。この処理の際にテープのボンドウインドを閉じるのに、カバー層を使用することができる。更に、この処理の際に、テープは、多くの場合、フレームに保持される。この処理の別の変更態様においては、フレームとテープを、真空室に配置し、集成体を真空状態に保持した状態で封入材分配動作を室内で行う。真空が解除され、室が大気圧または過圧下に置かれると、この圧力により、封入材はチップとテープとの間にある多孔質層に押し込まれる。更に、集成処理の際には、フレームを使用してテープを保持するのが好都合である。例えば、多孔質の層を形成するのに使用される順応性のあるパッドを、テープをフレームに取着した状態で、テープに被着するとともに、テープをフレームに取着した状態でチップをパッドに機械的に取着しかつ端子に電気的に接続することができる。
超小形電子集成体の製造においては、上記したような改善がなされているが、更なる改良が所望されている。
本発明の一の観点によれば、超小形集成体を封入する方法が提供されている。本発明のこの観点に係る方法は、上面及び底面を有するフレームの開口内に集成体を配設するとともに、フレームの開口を介して延びるようにフレームに封止接続された上部及び底部シール層を配設する工程を有するのが望ましい。上部及び底部シール層は、フレームと協働して、集成体を収納する閉鎖空間即ち閉鎖スペースを画成する。かくして、上部及び底部シール層は、集成体の表面を延びることができ、あるいはシール層の一方または双方は集成体の面を画成することができる。例えば、集成体がフレキシブルテープ即ち可撓性テープに取着された半導体チップから形成される場合には、シール層の一方はテープから構成することができ、あるいはテープを、テープを覆う別体のカバー層とともに含むことができる。フレーム、シール層及び集成体は、例えば、フレームとシール層を取り付け具(fixture)の上部要素と底部要素との間にクランプすることによるなどして、取り付け具内に係合させることができる。フレームが取り付け具に係合されると、液体の封入材がシール層間と集成体の周囲の閉鎖空間に注入される。次に、封入材が硬化される。硬化後に、集成体は、フレームから取り出され、互いに切り離される。典型的には、フレームは使い捨てユニットであり、重合(polymeric)材料、繊維材料またはこれらの材料の組み合わせから形成され、フレームは、集成体をフレームから取り出す工程の際に破壊される。例えば、フレームは、種々の集成体を互いに切り離すのに使用される同じ操作において切り離される。
フレームとシール層は、協働して液体封入材を閉じ込める即ち保持するので、フレームとシール層は、封入材が注入された後に取り付け具から取り出すことができる。かくして、既に封入材が注入された幾つかのフレームは、別のフレームに封入材が注入されているときに硬化させることができる。これにより、封入材を硬化するのに必要な長時間に亘って封入取り付け具を占有する必要性をなくすことができる。典型的には、閉鎖空間は、封入材が導入される前に排気される。これにより、空隙を形成することなく、封入材を充填することができる。例えば、シール層の1つは、孔を有することができるとともに、フレームが封入取り付け具にあるときに真空をこの孔を介して印加することができる。真空が印加された後に、ニードルを孔に進入することができるとともに、封入材をニードルを介して注入することができる。次に、ニードルを引き出し、フレームを封入取り付け具から取り出す。
以下において更に説明するように、シール層の一方が、導電構成素子を有するテープを含む場合には、超小形電子集成体とシール層を配設する工程は、テープがフレームに保持されているときに幾つかの半導体チップをテープに取着する工程を含むことができる。即ち、集成処理において使用される同じフレームを、封入処理においても使用することができるので、取り扱いを更に簡素化することができる。シール層は全体をあるいは一部を除去することができ、完成超小形電子集成体の一部を形成する構成を含むことができる。例えば、シール層は、完成された超小形電子集成体において熱スプレッダを形成する熱伝導構造体、完成された集成体において保護構造体を形成するパッケージ形成要素またはこれらの双方を含むことができる。更に、超小形電子集成体が発光体または受光体のような光学活性素子を含む場合には、シール層は、完成集成体において光ウインドとして作用する光伝達素子を含むことができる。かかる透明素子は、レンズのような屈折素子とすることができる。
本発明の別の観点にかかる封入取り付け具(encapsulation fixture)は、上部要素面を画成する上部取り付け具要素と、上部要素面に臨む即ち開口する通路とを有することができ、真空接続体が通路と連通している。この取り付け具はまた、先端部が通路内にある退却位置と、先端部が面を越えて突出する前進位置との間で動くことができるように先端部が通路内に摺動自在に配置されている中空のニードルを有することができる。更に、取り付け具は、中空ニードルに接続された封入材ディスペンサと、上部要素面の方を向く底面を画成する底部取り付け具要素と、取り付け具要素を同時に付勢するように取り付け具要素と係合自在のクランプとを有することができる。かかる取り付け具は、上記した方法において使用することができる。封入取り付け具は、中央領域及び該中央領域を包囲する周辺領域を有する底部取り付け具を有することができる。周辺領域は、底部要素面を画成し、凹部が中央領域に配設される。浮動プレート(floating plate)が、底部取り付け具の凹部に取着される。クランプが、取り付け具要素を互いに向けて付勢して、フレームとシール層を取り付け具要素間にクランプするように配置されている。取り付け具にはまた、底部取り付け具要素の浮動プレートを上部取り付け具要素へ向けて上方に付勢する手段が配設されている。以下において更に説明するように、浮動プレートは、超小形電子集成体の圧力を保持するとともに、封入材の注入の際にシール層の所望の平面形状を確保し易くする。
本発明の更に別の観点によれば、以下において説明するような複数のフレームと、フレームと連続して交互に係合するように配置される上記したような取り付け具とを含む封入取り付け具が提供されている。取り付け具は、フレームが取り付け具の要素間に係合しているときに、封入材を各フレームの孔に注入するように配設された封入材ディスペンサを有している。封入装置は、封入材の注入後にフレームを保持する硬化炉のような硬化ステーションを有するのが望ましい。本発明の更に別の観点によれば、上面及び底面と、透通孔とを有する上記したようなフレームと、フレームに封止接続即ちシール接続され、かつ、閉鎖空間を画成する上部及び底部シール層とを、閉鎖空間に配置される複数の超小形電子集成体とともに備える半完成装置が提供されている。この装置は更に、硬化したまたは未硬化の封入材含むことができる。かかる半完成装置は、上記したような操作において使用することができる。
本発明の一の実施例に係る射出取り付け具と構成要素を示す分解図である。 図1に示す構成要素及び取り付け具の断面図である。 図2に示す構成要素及び取り付け具の一部を示す部分拡大図である。 図3の4−4線部分断面図である。 図1ないし3に示す構成要素及び取り付け具を使用する本発明の一の実施例に係る方法を示すブロック図である。 本発明の別の実施例に係る方法の一部を示す図3と同様の部分断面図である。 本発明の更に別の実施例に係る方法における構成要素を示す概略断面図である。 本発明の更に別の実施例に係る方法における構成要素を示す概略断面図である。 本発明の更に別の実施例に係る方法における構成要素を示す概略断面図である。 本発明の別の実施例に係る構成要素を示す別の概略断面図である。 本発明の別の実施例に係る構成要素を示す別の概略断面図である。 図11の構成要素からつくられた完成集成体を示す概略断面図である。 本発明の一の実施例に係る部分フレームを示す概略平面図である。 図13の14−14線断面図である。 図13の15−15線概略断面図である。 図13ないし15の部分フレームを別の構成要素とともに示す概略断面図である。 本発明の方法における後の段階にある構成要素を示す図16と同様の図である。 本発明の方法における更に後の段階にある構成要素を示す図17と同様の図である。
本発明の一の実施の形態に係る取り付け具は、上部取り付け具要素20と底部取り付け具要素22とを備えている。底部取り付け具要素は、上方を向く底部要素面24を有し、一方、上部取り付け具要素は下方を向く上部要素面26を有している。底部取り付け具要素は、底部要素面24から上方へ突出する1対の整合ピン28及び30を有している。上部取り付け具要素は、整合孔32及び34を有している(図2)。ピンは、取り付け具要素を水平方向の所定の整合位置に保持するが、取り付け具要素が互いに対して垂直方向に動くことができるように、整合孔と係合自在となっている。図2において概略示されているクランプ36が、双方の取り付け具要素と係合し、かつ、取り付け具要素を互いの方向に付勢するように配設されている。クランプ36は、例えば、アーバープレスまたはねじプレスのような機械作動または液圧作動のプレスのごとき従来のいずれかのタイプのクランプとすることができる。あるいは、クランプ36は、上部取り付け具要素の孔を透通しかつ底部取り付け具要素22の孔41と螺合するねじ37を有することができる。図1及び図2には、ねじ37は1つだけが図示されているが、実際には、複数のねじとねじ穴が、取り付け具要素の周囲に配分されている。
底部取り付け具要素22は、面24に臨み、かつ、面24から底部取り付け具要素の中へ下方に延びる凹部即ち室38を有している。通路40が、凹部38から底部取り付け具要素の側部へ延びるように配設されている。通路40には、空気入口バルブ44を介して圧縮空気源42に通じる管用ねじのような標準的なねじが設けられている。ブリード(bleed)バルブ46が同様に、通路40と大気との間に接続されている。ダイ支持プレートとも呼ばれる浮動プレート48が、凹部38に密に嵌合されている。ダイ支持プレート即ち浮動プレート48は、上面50を有している。空気源42から通路40を介して入ってくる空気を利用することができる。別の付勢装置も使用することができる。例えば、ばねをダイ支持プレートと底部取り付け具要素との間に配置することができる。ダイ支持プレートを上方付勢することができる他の任意の装置も使用することができ、これには、例えば、電磁付勢装置あるいは重力作動付勢装置がある。略矩形のO−リング52の形態をなす底部ガスケットが、底部要素面24の溝に着座されている。
上部取り付け具要素20は、下方を向く上部要素面26の溝に着座する同様の上部ガスケット54を有している。ニードル通路56が、上部取り付け具要素20を介して垂直方向に延びるように配設され、上部取り付け具要素面26に臨む先端部を有している。先端のO−リング58が、通路56の先端部で通路を包囲している。O−リング58は、ゴムのような弾性材料から形成され、圧縮されていない状態にあるときには上部取り付け具要素面26をわずかに越えて突出するように配設されている。略同様の基部O−リング60が、上部要素面26から離隔し、従って、通路56の先端部から離隔した位置で通路56を包囲するように配設されている。真空ポート62が、基部O−リングと先端部O−リングとの間で通路56と交差しかつ連通している。真空源63が、真空ポート62に接続されている。真空源63は、プラント真空ラインあるいは従来のタイプの専用真空ポンプ及びレシーバとすることができる。真空源63は、制御バルブ65を介してポート62に接続することができる。制御バルブは、ポートを真空源または大気に選択的に接続するように配置することができ、これにより、真空を選択的に印加しまたは解除することができる。
先端部66を有する中空ニードル64が、O−リング58及び60と摺動係合するように配設されており、これにより、ニードルは、図3において実線で示す前進位置と、ニードルの先端が上部取り付け具要素面26からへこんで位置する、図3において66’で示す退却位置との間で動くことができるようになっている。ニードル64は、10ゲージ乃至18ゲージニードルのような従来の大型の皮下針とすることができる。ニードルは、封入材ディスペンサ67に接続されている。ディスペンサは、ニードルに接続された室と、圧力を封入材に印加しあるいはかかる圧力を解除する制御自在の圧力源68とを有している。移動装置70が、ディスペンサ67、従って、ニードル64に結合されている。移動装置は、ニードルを取り付け具に対して上下に摺動させるように配設された電気、液圧、機械その他の動力駆動リンク機構を有することができる。あるいは、移動装置は、オペレータがディスペンサ及びニードルを図3に示す退却位置と前進位置との間で動かすことができるように、ディスペンサまたはニードルに取着され、あるいはディスペンサまたはニードルと一体に形成されたハンドグリップとすることができる。
本発明の装置はまた、多数の使い捨てフレーム72を有している。このフレームは、図1ないし3においては1つだけが図示されているが、実際には、フレームは多数採用されている。本発明の方法に関して以下において更に詳細に説明するように、超小形電子集成体の各バッチは、1つのフレームにおいて装置を介して処理され、このフレームはこの処理操作の最後に破壊される。これらのフレームは、種々の処理操作を介して連続して処理される。各フレーム72は、上面76、底面78(図3)及び上面と底面との間を延びる略矩形の孔80を画成する構造体を有している。各フレームはまた、底部取り付け具要素の整合ピン28及び30の位置に対応する位置においてフレームを介して延びる整合孔75を有している。各フレーム72の構造体はまた、孔80の一端に隣接して構造体74の上面の中に延びるニードル整合孔82を画成している。ニードル整合孔は、ゲートチャンネル84を介して孔80と連通している。図3及び図4に明瞭に示すように、ニードル整合孔は、上面から構造体の中に延びる円形の孔である。ゲートチャンネルは、ニードル整合孔の直径と等しい幅を有するように形成されているので、ニードル整合孔とゲートチャンネルは協働してU字状の開口を形成する。例えば、ニードル整合孔82は、直径を約2.54mmとすることができる。フレームは、紙−フェノール樹脂複合体のような比較的剛性のある安価な材料から形成するのが望ましい。例えば、繊維強化エポキシのような他の重合及び繊維材料も使用することができる。フレームは、比較的小さい質量及び比較的低い比熱を有するとともに、容易に加熱することができるのが望ましい。フレームは、スタンピング、打ち抜きまたは射出成形のような大量生産方法により低コストで形成するのが望ましい。
本発明の一の実施の形態に係る方法においては、上記した多数の使い捨てフレーム72は、「テープ」86とも呼ばれる誘電シートとともに集成される。各テープは、直線状に配列された多数の結合部位を有している。各結合部位においては、テープは、テープの上面90に露出する1組の導電金属端子88を有している。かくして、端子88は、上面に配置することができ、あるいは端子が上面で露出するように孔(図示せず)が設けられる場合には、テープ内に納めまたはテープの底面に配置することもできる。各テープはまた、端子88に接続された多数の導電性のフレキシブル金属リード92と、テープの上面90と底面96との間でテープを介して延びる1組のボンドウインド94とを有している。テープはまた、テープの面に沿ってあるいはテープ内の1つ以上の層内を延びる金属トレースのような別の導電体を有することができ、これにより、端子及び/またはリード、更には接地面または電源面を相互に接続することができる。同じ譲受人に譲渡された米国特許第5,679,977号及び第5,518,964号に記載されているように、結合部位は種々の形状を有することができる。本明細書においては、これらの米国特許を引用してその説明に代える。例えば、図3に示す特定の結合部位は、端子がテープの中央部に配置され、かつ、リード92がこの中央部から外方に突出している「ファンイン(fan-in)」構造を有している。リードが端子から内方に突出するいわゆる「ファンアウト(fan-out)」構造あるいはこれらの構造の組み合わせも使用することができる。好ましくは、テープが形成されるときに、各リードはテープに固着接続される第1の端部と、ボンドウインドの反対側でテープに解放自在に接続される第2の端部とを有する。
各テープ86は、適宜の態様でフレーム72に取着され、例えば、テープをフレームに接着テープ(図示せず)を用いて取着することができる。フレームに対するテープのこの位置決めにおいては、極度の精確さは必要とされない。各テープ86の縁部は、フレーム72の一部とオーバーラップする。この方法の次の段階においては、エラストマパッド即ち弾性パッド98のような順応性のあるパッドが、各結合部位においてテープの底面96に被着されるが、この被着は、硬化性エラストマ組成物をスクリーン印刷し、この組成物を部分または完全硬化させることにより行うことができる。これらのパッド98は、各結合部位において多孔質の構造体即ち層を形成し、パッド間のチャンネルにより多孔性が得られる。ダイ取着工程においては、半導体チップ100が、各結合部位において弾性パッド98に取着される。チップは、接点102を有する前面がテープ側を向き、後面がテープから離隔した状態で結合される。
次に、各結合部位のリード92は、該結合部位のチップの接点102に結合される。結合操作即ちボンディング操作においては、従来のTAB結合または従来のワイヤボンディングを使用して、接点まで延びるリードの部分を形成することができる。しかしながら、好ましくは、ボンディング動作は、上記した、同じ譲受人に譲渡された特許及び特許公報に記載のように行うことができる。例えば、ボンディング操作は、各リードの一端をテープから取り外し、この取り外した端部をチップの接点に結合するように、ツールをボンドウインド94に挿通することにより行うことができる。得られる半完成品は、並列して配置された多数の半導体チップ集成体104を有する。各集成体は、1つのチップ100及びテープ86の領域を有する。チップは、フレーム72の孔80内に配置される。各チップの後面106は、各チップの集成体の底面を形成し、一方、テープの上面はこの集成体の上面を形成する。集成体の上面は、フレームの上面76において上方を向き、フレームの上面と共面をなし、あるいは略共面をなす。集成体の底面は下方を向き、フレームの底面78と共面をなし、あるいは略共面をなす。
リードが結合されると、上部カバー層110は、各テープの上面と、テープを担持するテープフレームの上面76に被着される。かくして、上部カバー層は、種々の全ての集成体の上面を覆う。上部カバー層は、はんだマスク層として広く使用されているタイプの重合シートとすることができる。上部カバー層は、多くの場合、テープ及びフレームの上面に結合することができる接着剤を有する。上部カバー層は、端子のアクセス性を確保するように端子88と位置合わせされる孔(図示せず)を有することができる。あるいは、孔は、層の被着後に、写真画像処理またはレーザ融除などにより上部カバー層に形成することができる。しかしながら、上部カバー層は、各ボンドウインド94にシールを形成するとともに、テープの縁部の周囲及び孔80の縁部の周囲においてフレームに封着する。上部カバー層はまた、フレームのニードル整合孔82と整合して透通するニードル孔91を有している。同様の底部カバー層112が、超小形電子集成体の底面、即ち、チップ100の後面106に被着されるとともに、かかる集成体と連係するテープフレーム構造体の底面78に被着されている。底部カバー層は、孔を有していない。かくして、上部及び底部カバー層は、上部及び底部シール層として作用する。テープはまた、上部シール層の一部を形成している。上部及び底部シール層は、フレームとともに、超小形電子集成体を包含する閉止空間を画成している。
上記した操作は、多数のフレーム及びこれに連係するテープに関して連続して行われるので、フレームは次々に処理される。かくして、上記した1組の超小形電子集成体とカバー層をそれぞれが有する一連のフレーム72が、封入取り付け具に提供される。封入取り付け具は、サイクル動作を行う。動作の各サイクルにおいては、各フレームは、連係する集成体、テープ及びカバー層とともに、封入取り付け具に提供され、封入取り付け具により処理される。各フレームは、封入取り付け具内に配置されるとともに、上部及び底部取り付け具要素20と22は、互いに分離される。フレームの整合孔75は、底部取り付け具要素のピン28及び30と整合され、フレームは、フレームの底面78が底部取り付け具要素を向くように底部取り付け具要素に載置される。かくして、底部カバー層112は、底部取り付け具要素の底部要素24及びガスケット52と係合する。次に、上部取り付け具要素がフレームに配置されるとともに、上部要素面26及び上部要素ガスケット54が上部カバー層110と係合するように位置決めピン30及び28に対して下方に動かされる。クランプ36(図2)は、取り付け具要素を互いの方向へ付勢するように作動される。これにより、ガスケット52及び54はカバー層と強制的に係合され、かつ、フレームとカバー層は取り付け具要素間に押し込められる。これにより、カバー層とフレームとのシール係合を確保し易くなる。上部取り付け具要素が底部取り付け具要素に向けて下方に動かされると、通路56の周囲の先端部O−リング58は、上部カバー層110と封止係合する。ニードル整合孔82は、通路56と整合される。しかしながら、ニードル整合孔82は、直径が比較的小さいので、フレームは、基端部O−リング58が係合する領域に上部カバー層を依然として支持している。空気源42と、バルブ44及び46は、圧縮空気を凹部38内に向けることにより、浮動プレート即ち底部ダイ支持プレート48を底部カバー層に対して上方に付勢するように作動される。かくして、浮動プレートはチップ100を上方に付勢し、かつ、順応性のあるパッド98を圧縮状態にすることにより、テープ86、端子88及びカバー層100を、実質上平面状態で、上部要素面26対して位置させることができる。
取り付け具が互いに係合している状態にあるときには、ニードル64は、退却位置に保持され、先端は66’で示す位置に配置される(図3)。取り付け具が係合され、かつ、カバー層とフレームが取り付け具とガスケットとの間で圧縮状態にされると、真空が、真空装置63及び65によりポート62に印加される。このとき、ポートは、通路56と連通するとともに、カバー層間のスペースと、上部カバー層の孔91を介して連通している。このようにして、空気は、カバー層間のスペースからニードルにより形成される孔を介して排出される。この動作により、空気は、多孔質の層、即ち、半導体チップ集成体の個々の順応性のあるパッド98間のスペースから除去される。この方法の変形態様においては、上部カバー層は、孔91を形成することなく設けることができる。排気工程に先立ち、ニードルは、前進位置まで動かされる。先端部66は、先端部O−リング58の内側の上部カバー層を透通して孔91を形成し、その後直ちにニードルは退却され、真空が上記したように印加される。
スペース即ち空間が排気されると、ニードルは再び前進位置に動かされ、ニードルの先端66は、図3において実線で示すように位置決めされる。孔91の直径は、ニードルの外径よりもわずかに小さいので、ニードルは孔91においてカバー層と締まり嵌めを行う。ディスペンサ67(図1)は、液体の封入材をニードルを介してニードルの先端部から押し出すように作動される。流動する封入材は、ニードル整合孔及びゲートチャンネル84を介して、フレームの孔80内の、カバー層間のスペースに移動する。封入材は、超小形電子素子間のスペースを満たすとともに、各集成体の多孔質層内のスペースも充填する。種々の封入材を使用することができるが、封入材は、硬化して誘電エラストマまたはゲルを形成するように構成された液体組成物であるのが望ましい。シリコン組成物が、特に好ましい。好ましいシリコン封入材には、ミシガン州、ミッドランドに所在するダウ・コーニング・カンパニ(Dow Corning Company)からDC−577、DC−6820及びDC−7010の表示が付されて販売されている封入材がある。好ましい組成物には、熱への暴露により活性化することができる硬化剤が含まれる。組成物は、硬化されていない状態では、ある程度のチキソトロピを有するのが望ましい。即ち、組成物は、短時間ではかき乱されないように、非ニュートン性の時間依存流動特性を有するのが望ましい。組成物に再度流動性を付与するためには、大きな応力を組成物に加えなければならない。チキソトロープ特性は、シリカのような微細固形充填剤をゲル組成物に添加することにより得ることができる。多くの場合、約689KPa以上の圧力、典型的には1034KPaの圧力が、ディスペンサにより封入材に印加される。この圧力は、ニードルを介して伝わり、十分な剪断応力を材料に加えて、チキソトロープ「固化」("set")を壊す。かくして、材料が被着されている間は、材料は、カバー層間のスペースに自由に流れ込むとともに、各超小形電子集成体の中と周囲に自由に流れ込む。次いで、ディスペンサにより印加される圧力が解除され、ニードルは退却位置66’に引き込まれる。
この時点で、浮動プレート48に印加されるバイアスは解除され、取り付け具要素はクランプを解かれて互いに分離され、フレームは取り付け具から取り出される。フレームが封入取り付け具から取り外されると、カバー層とフレームが封入材を閉じ込める。ニードルにより形成される孔は、理論的には、封入材をリークするための通路を提供する。しかしながら、封入材のチキソトロープ特性により、封入材は孔からの漏れに抗するのに十分な程度まで硬化する。更に、カバー層は、はね戻る傾向があるとともに、ニードルが取り外された後に時間とともにカバー層自体を少なくとも部分的にシールする。封入材の漏れに対する更なる保証が所望される場合には、ニードルにより残された孔を、釘形重合部材(polymeric part)のような使い捨てプラグにより塞ぐことができ、あるいは接着テープ片で覆うことができる。更に別の変形態様においては、ニードルにより残された孔は、孔以外の封入材を硬化させる前に、集束赤外線ランプなどによる強い局部加熱に供して、孔の封入材を硬化させるとともに、孔を一時的に封止することができる。既に封入材処理したフレームが硬化している間に、別のフレームを、封入取り付け具を用いて上記工程により処理する。
各フレームは、封入取り付け具から取り外してすぐに硬化炉に入れる。次いで、フレームは硬化炉において封入材を硬化するのに十分な温度、典型的には、約80−150℃の温度に加熱され、かつ、封入材を硬化させるのに十分な時間硬化炉に保持する。典型的には、各フレームは、約30分乃至120分間硬化炉に入れておかなければならない。しかしながら、各フレームは封入取り付け具から取り外して封入取り付け具とは別に硬化されるので、既に封入処理したフレームが硬化されている間に、封入取り付け具を使用して次のフレームを封入材処理することができる。更にまた、フレームは、比較的低い熱質量を有している。従って、封入取り付け具のないフレームは、封入取り付け具全体を加熱するよりも遥かに素早く、硬化炉の温度と平衡にしなければならない。封入材は、カバー層とフレームの中に閉じ込められるので、封入取り付け具は、容易にあるいは完全に封入材から解放される。これにより、封入取り付け具の費用のかかる面倒な清掃の必要性を大幅に減らすことができる。
各フレームが硬化炉に十分な時間保持されると、フレームは取り出されて、切り出し工程に移される。切り出し工程においては、フレーム、カバー層及びテープは切り離され、これにより個々のユニット120が得られる。多くの場合、各ユニットは、1つのチップとテープの連係領域とを有し、かかる領域の端子は、チップに接続される。しかしながら、チップの特性とテープを介して形成される相互接続とにより、各ユニットは、同じまたは異なるタイプの2つ以上のチップを含むことができる。各ユニットは、パッケージ化された完全な半導体チップを提供する。ユニットは、回路板その他の基板に装着することができ、端子88は基板の接点パッドに結合される。底部カバー層は、チップの後面を露出して熱伝達を一層良好にするように除去することができる。従来のヒートシンクその他の熱伝達装置をチップの後面に取着することができる。あるいは、底部カバー層は、所定の位置に残しておくことができる。上部カバー層は、集成体の上面のはんだマスク層として所定の位置に残しておくことができる。フレームと封入材層の一部は、切り出し処理の際に切り離され、廃棄されるスクラップ片となる。
本発明から逸脱することなく、上記した構成に関して数多くの変更と組み合わせを利用することができる。単なる一例として、各フレーム72には、フレームの縁部とフレームの孔80との間でフレームを透通する1つ以上の孔を配設することができる。真空をかかる孔を介して印加することができるとともに、封入材をかかる孔を介して孔80に注入することができる。あるいは、ニードル整合孔82とゲートチャンネル84をなくすことができる。図6に示すように、ニードル64’を、カバー層の孔57を介してカバー層間のスペースに入り込むとともに、2つの隣接する超小形電子集成体間のフレームの孔内においてテープ86’の整合孔69に入り込むように配置することができる。孔67と69は、テープとカバー層に予め形成することができ、この場合には、ずんどうの(blunt)ニードル64を使用することができる。カバー層に予備成形孔が設けられる場合には、同様のずんどうニードルを、図1ないし5の実施の形態において使用することができる。
図7に示すように、底部シール層は、切り出し工程の後に超小形電子集成体とともに残留する金属プレート112’のような熱伝導性のシートまたはプレートを含むことができる。集成体の底面、即ち、チップ100’の後面106’は、例えば、シリコーン−シリカ組成物あるいは金属充填エポキシ(図示せず)のような伝熱性ダイ取着接着剤を使用して、伝熱シール層112’に結合される。接着剤は、カバー層の被着前は、シール層にまたはチップの表面に被着することができる。更に、各集成体104’は、チップ100’を包囲するリング101即ち支持構造体を有している。順応性のあるパッド即ち多孔質層98’は、チップと誘電層即ちテープ86’との間に配設されるとともに、リングとテープとの間にも配設される。かくして、チップと誘電層との間で封入材により形成される順応性のある層はまた、リングと誘電層との間を延びている。封入後は、切り出し工程は、各チップを、連係するリングとチップ及びリングを覆うテープの部分とともに残すように行われる。テープのこの一層大きい部分が、ファンアウト構造体またはファンイン/ファンアウト構造体と同様に、別の端子用の空間を提供する。リングは、シリコンまたはモリブデンのような比較適合性のある材料あるいは剛性ポリマから形成することができるとともに、電気的に不活性とすることができる。あるいは、リングは、コンデンサ、抵抗あるいは別の半導体素子のような1つ以上の電気構成素子を含むことができる。
図8に示すように、底部シール層は、個々のチップを収容するポケット113を組み込んだ比較的厚い層112”とすることができる。底部シール層はまた、各超小形電子パッケージと連係する領域間を延びる溝115を含むことができる。この場合における底部シール層は、溝に沿って切り出すことができる。切り出し後は、底部シール層の残りの部分は、テープへ向けてチップの縁部と並んで延びるとともに、保護パッケージの一部として作用するようにチップを包囲している。かかる底部シール層は、誘電ポリマから形成することができる。あるいは、この構成の底部シール層は、金属材料から形成することができ、かかる材料は著しく高い熱伝導性を有するので、シール層の残りの部分は、金属「缶」として、即ち、パッケージと熱スプレッダ(spreader)の双方として作用することができる。
別の変更態様においては、底部シール層は、フレームと一体的に形成することができる。かくして、底部カバー層は、ダイ取り付け工程の際にチップを所定の位置に保持するのに使用することができる。底部シール層は、超小形電子集成体の完成前の集成体の形成の際に集成体の底面に被着することができる。同様に、集成体が、製造の際に上面からのアクセスを必要としない場合には、上部カバー層またはシール層をシールする他の形態物は、製造における初期の段階において、テープあるいは個々の集成体の上面を画成するその他の要素に被着することができる。
本発明の別の実施に形態に係る方法においては、底部シール層212(図9)は、フレーム272と一体的に形成されている。更に、テープ286は、注入と封入に使用される孔291を除いて、実質上無孔(inperfurate)となっている。かくして、テープ286自体が、上部シール層全体を構成する。図9に示す特定の構成においては、テープ286の上面に形成された端子288は、テープを介してテープの底面(図9において下方を向く面)まで延びる金属構造体(図示せず)に電気的に接続されている。次に、これらの構造体は、はんだボール282のような金属導電素子によりチップ280の接点に接続される。はんだボールは、鉛−錫はんだから全体が形成されている従来のはんだ素材、あるいは同じ譲受人に譲渡された国際公開WO97/40958号に記載されているタイプのコアに被着したはんだのコーティング即ち低融点合金を含むソリッドコアはんだボールとすることができる。本明細書においては、この公報を引用してその説明に代える。テープが取り付け具(図示せず)と係合した状態で、チップをテープに結合することができるとともに、底部シール層212とフレーム272との組み合わせを、チップが取着された後にテープに被着することができる。
底部シール層212は、チップ280の後面281(テープ286から離れる方向を向く面)を延びるが、このシール層はチップの後面から離隔している。従って、封入材が注入されると、封入材は後面とシール層との間を流れる。封入材が、テープ即ち上部シール層286と、フレーム272と、底部シール層212とにより画成される閉鎖空間に注入された後に、集成体は硬化ステーションに移送され、上記した態様で硬化される。次に、集成体は、底部シール層の溝213に沿ってのこ引きすることにより切り出される。底部シール層がチップの後面から離隔して配置されているこの構成体は、図9に示すような比較的厚い重合底部シール層とともに、あるいは図1ないし5に示す比較的薄い底部シール層とともに使用することができる。この構成体は、チップの後面を覆う封入材の形態をなす別の保護体を提供することが所望される場合に使用することができる。
図10に示すように、チップとテープの配置方向は逆にされているので、各チップの後面381は、テープ386の面に接続される。各チップの前面即ち接点担持面383は、テープから離れた方向を向いている。チップの接点は、テープを介して端子388に延びる金属バイア387まで延びるワイヤボンド385のような金属リードによりテープの端子388に接続されている。この構成においては、テープ386は、フレーム372に封止接続されているので、テープは底部シール層全体を形成する。上記した実施の形態においては、底部シール層は、図面において下方を向くように図示されている。しかしながら、「上部」("top")及び「底部」("bottom")という表現は、対向する位置及び方向を示すために便宜上使用されている。通常の重力基準構造に対する特定の配向は重要ではない。かくして、通常の重力基準構造における底部シール層は、底部にあるのではなく、上部にあるようにすることができ、あるいは側方を向いたものとすることができる。上部シール層302は、チップの上面383を延びているが、該面から離隔している。封入の際には、孔391に注入された封入材は、チップの前面を覆うとともに、ワイヤボンド385を包囲する。
図10に示す特定のチップは、前面に光学活性素子393を有している。本明細書において使用されている「光学活性素子」("optically active element")とは、例えば、光に応答して電気信号を発生するようになっている光検出器あるいは、電気信号に応答して光を発生するようになっているLEDまたはレーザ発光素子のごとき、光と電気信号を相互変換することことができるチップの部分を云う。チップの光学活性素子は、特定の波長帯域内の光を検出しあるいは発生するように配置される。上部シール層302は、この波長帯域にある光を伝送するように配置される。例えば、チップの光学活性素子が、可視波長帯域で動作するように配置される場合には、上部シール層は、可視光に対して透明または半透明のポリマとすることができる。図示の特定の上部シール層は、光学活性素子の帯域の光に対して透明であり、上部シール層に一体的に形成されるレンズの形態をなす屈折素子303を有している。上部シール層は、屈折素子即ちレンズがチップの光学活性素子と整合するようにフレームに取着される。この部材の集成体は、上記した集成体と同じようにして封入、硬化及び切り出しにより処理される。しかしながら、使用される封入材は、上記した波長帯域の光を伝送するようにすべきである。レンズまたは屈折素子は、集成体がチップを互いに分離するように切断された後に、チップとともに残される。
図11に示すように、上部シール層402は、金属その他の熱伝導性の層とすることができる。また、底部シール層404は、PCT国際公開WO97/39482号に開示されているタイプの犠牲層(sacrificial layer)とすることができる。本明細書においては、この公報を引用してその説明に代える。端子488が、層404の上面即ち内方を向く面、即ち、フレームの開口内を向く層の面に形成されている。これらの端子は、ワイヤボンディングその他の柔軟なリードを利用した処理などによりチップに接続される。封入及び硬化の後に、底部シール層404は、上記した’482号公報に記載のように除去され、端子488を、図12に示すように、得られるパッケージ化された半導体チップユニットの面で露出させる。チップ400の面もまた、図11ないし12の特定の構成においては、露出されている。シール層の内方を向く側に端子を設けるこの処理は、他の配向状態にあるチップと使用することができるとともに、上部層即ち底部シール層に端子を配設するように使用することができる。
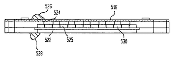
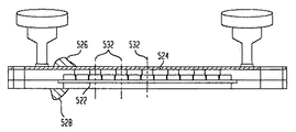
図13の実施の形態においては、フレームは、中央にくぼみ領域502を有する第1の重合性の部分500を含み、くぼみ領域は該くぼみ領域においてフレーム全体を介して延びる1組のポケット504を有している。1対のチャンネル506が、くぼみ領域502とともに延びるように配設されている。1組の流れ誘導体即ちバッフル508が、くぼみ領域502の面から突出するように配置され、これにより、チャンネル506と連通するギャップ510が突起510間に画成されている。孔512が、各チャンネルの両端においてフレーム500を透通している。整合孔514と516もまた、フレーム要素を介して延びるように形成されている。金属シール層518が、フレーム要素500の後面、即ち、くぼみ領域502とは反対側のフレーム要素の面に設けられている。図14に明瞭に示すように、金属シール層は、孔504の全てを覆って閉止している。しかしながら、金属シール層は、孔512または整合孔514及び516は閉塞していない。補助フレーム要素520(図16)が、テープ522が補助フレーム要素と封止係合するように、テープ522とともに集成される。上記した多孔質層と同様の多孔質層525が、チップとテープとの間に設けられている。上記した態様では、半導体チップ524が、テープ522に取着され、かつ、テープの端子(図示せず)に電気的に接続されている。次に、チップ524がフレーム要素500の開口504内に位置するように、フレーム要素が互いに組み立てられる。チップの後面が、熱伝導性のダイ取着接着剤などを用いて熱伝導層518に結合される。フレーム要素は、互いに封止係合される。かくして、金属シール層518とテープ即ちシール層522は、チップを収容する閉鎖空間を形成する。フレーム要素は、取り付け具要素526と528との間に係合される。フレーム要素がこのように互いに係合状態にあるときには、閉鎖空間530は、排気され、次いで、孔512を介しての注入により封入材が充填される。図18に示すように、封入材は、チャンネル506に沿って、種々の超小形電子集成体を包囲する領域の中へ進む。封入材は、チャンネルを移動し、バッフル508により誘導される。封入材は、種々の集成体の多孔質層525に浸透する。封入と硬化後に、集成体はライン532(図18)に沿って切断するなどして、切り出しに供され、複数の別体をなすユニットを得ることができる。各ユニットは、金属層518の一部と接触するチップ524を含むとともに、チップを包囲するリングとしてフレーム500の一部を含む。更に別の変形例においては、封入材の注入は、孔512の幾つかを使用して行うことができ、一方、他の孔512は注入の際には真空系に接続された状態に保持することができる。真空系に接続された状態にある孔には、空気を透過させるが封入材の逆流は阻止する多孔質のプラグその他の構造体を設けることができる。
上記した各実施の形態においては、フレームは、使い捨てであり、封入及び硬化処理後に個々のユニットを切り出す際に片に切断される。これは、フレームを掃除する必要がなくなるという点で特に有利である。更に、フレームの構成要素は、最終の集成体に含めることができる。しかしながら、更なる変更態様においては、フレームは、金属のような耐久性のある再使用可能な材料から形成することができる。このフレームは使用後に掃除しなければならないが、封入取り付け具自体は、封入材による汚染から守ることができる。この方法においては、フレームは、掃除が容易な比較的単純な形状に形成することができる。更に、フレームを耐高温材料から形成する場合には、付着している封入材を灰に変えるのに十分な高温でフレームを焼くことにより掃除することができる。
上記した方法においては、封入材は、個々の集成体に入り込んで、順応性のある層の一部を形成する。しかしながら、本発明は、封入材が各集成体に外側コーティングまたはカバーを形成するが集成体自体には入り込まないように、封入前にそれぞれシールされる集成体に関して適用することができる。上記した構成についてのこれらの及び他の変更と組み合わせを、特許請求の範囲に記載の本発明から逸脱することなく利用することができるので、好ましい実施例に関する上記説明は、特許請求の範囲に記載の本発明を限定するのではなく例示するものとして理解されるべきである。
産業上の利用可能性 本発明は、半導体チップ集成体の製造に利用することができる。
20 上部取り付け具要素 22 下部取り付け具要素 24底部要素面 26 上部要素面 28 整合ピン 30 整合ピン 32整合孔 34 整合孔 36 クランプ 37 ねじ 38 凹部 39 孔 40 通路 41 孔 42 圧縮空気源 44 空気入口バルブ 46ブリードバルブ 48 浮動プレート 50 上面 52 O−リング 54ガスケット 56 ニードル通路 58 先端部O−リング 60 基部O−リング 62真空ポート 63 真空源 64 中空ニードル 64’ ニードル 65 制御バルブ 66先端部 66’ 退却位置 67ディスペンサ 68 圧力源 70 駆動装置 72 フレーム 74構造体 75 整合孔 76 上面 78 底面 82 ニードル整合孔 84 ゲートチャンネル 86 テープ 86’ 誘電層 88金属端子 90 上面 91 ニードル孔 94 ボンドウインド 96底面 98 弾性パッド 98’ 順応性パッド 100 半導体チップ100’ チップ 101 リング102 接点 104 半導体チップ集成体 104’ 超小形電子集成体 106後面 106’ 後面 110 上部カバー層 112 底部カバー層112’ 金属プレート 112” 比較的厚い層 113 ポケット212 底部シール層 272 フレーム 280チップ 281 後面 282 はんだボール286 テープ 288 端子 291 孔 302 上部シール面303 屈折素子 372 フレーム 381後面 383 前面即ち接点担持面 385 ワイヤボンド386 テープ 388 端子 391 孔 400 チップ402 上部シール層 404 底部シール層 488端子 502 くぼみ領域 504 ポケット506 チャンネル 508 流れ誘導体即ちバッフル 510 ギャップ 512孔 514 整合孔 516 整合孔518 金属シール層 520 補助フレーム要素 522テープ 524 半導体チップ 525 多孔質層526 取り付け具要素 528 取り付け具要素 530閉鎖空間

Claims (58)

  1. 互いに逆を向く上面と底面とを有する複数の超小形電子集成体を封入する方法であって、(a)上面及び底面を有するフレームの開口内に前記集成体を配設するとともに、フレームの開口を介して延びるようにフレームに封止接続され、前記集成体を含む閉鎖空間を画成する上部及び底部シール層を配設する工程と、(b)上部取り付け具要素と底部取り付け具要素との間にフレーム、シール層及び集成体を係合させる工程と、(c)フレーム、シール層及び集成体が上部取り付け具要素と底部取り付け具要素との間に係合している状態でシール層の間及び集成体の周囲に液体封入材を注入する工程とを備え、前記シール層とフレームは液体封入材を含み、更に(d)液体封入材を硬化する工程を備えることを特徴とする方法。
  2. 集成体をフレームから取り出す工程を更に備えることを特徴とする請求項1に記載の方法。
  3. フレームは集成体をフレームから取り出すときに破壊されることを特徴とする請求項2に記載の方法。
  4. 新しいフレームと集成体を各繰り返しごとに使用して前記工程を繰り返す工程を更に備えることを特徴とする請求項3に記載の方法。
  5. 前記硬化工程の前に前記フレーム、シール層及び集成体を取り付け具から取り出す工程を更に備え、前記シール層及びフレームは前記硬化工程において前記封入材を保持することを特徴とする請求項1に記載の方法。
  6. 前記硬化工程は高温で行われることを特徴とする請求項5に記載の方法。
  7. 前記フレームは重合材料、繊維材料及びこれらの組み合わせよりなる群から選ばれる材料から形成されることを特徴とする請求項6に記載の方法。
  8. 前記封入材を注入する工程に先だって前記集成体の周囲及び前記シール層の間の空間を排気する工程を更に備えることを特徴とする請求項1に記載の方法。
  9. 前記注入工程は、前記シール層のうちの1つのシール層の孔を介して中空のニードルを前進させることにより前記ニードルを前記シール層間の前記閉鎖空間と連通させるとともに、封入材を前記中空ニードルを介して前記閉鎖空間に導く工程を含むことを特徴とする請求項8に記載の方法。
  10. 前記排気工程は真空を前記孔を介して印加することにより行われることを特徴とする請求項9に記載の方法。
  11. 前記孔を介して真空を印加する前記工程は前記ニードルが前記孔にないときに前記孔と連通する前記取り付け具要素のうちの1つの取り付け具要素の通路に真空を印加することにより行うことを特徴とする請求項10に記載の方法。
  12. シール層と前記取り付け具要素の前記1つとの間に前記孔を包囲する弾性ガスケットを押し込むことにより前記孔を有するシール層に前記取り付け具要素の前記1つをシールする工程を更に備えることを特徴とする請求項11に記載の方法。
  13. 前記フレームは前記孔を有するシール層を前記孔に近接して支持することを特徴とする請求項12に記載の方法。
  14. ニードルを前進させる前記工程は前記取り付け具要素のうちの前記1つの取り付け具要素の前記通路を介してニードルを前進させることにより行うことを特徴とする請求項11に記載の方法。
  15. 前記シール層は封入材を前記中空ニードルを介して空間に通す前記工程の際に前記孔においてニードルと封止係合することを特徴とする請求項14に記載の方法。
  16. 前記集成体は多孔質領域を有し、前記封入材は前記注入工程において前記多孔質領域に浸透することを特徴とする請求項1に記載の方法。
  17. 前記集成体、フレーム及びシール層を配設する前記工程は複数の半導体チップを一体テープに取着するとともに、それぞれが1つ以上の前記チップと連係するテープの領域とを有する複数の半導体チップ集成体を得るように前記テープの表面に露出した端子に前記チップを電気的に接続する工程と含むことを特徴とする請求項1に記載の方法。
  18. 前記集成体、フレーム及びシール層を配設する前記工程は前記テープとは別体をなすカバー層を配設するとともに、前記テープとカバー層とが協働して前記1つの前記シール層を構成するように該カバー層を前記テープの前記面に被着する工程を含むことを特徴とする請求項17に記載の方法。
  19. 前記シール層は前記テープを含み、前記集成体、フレーム及びシール層を配設する前記工程はテープをフレームに対してシールする工程を含むことを特徴とする請求項17に記載の方法。
  20. チップをテープに取着する前記工程は前記接点を担持する前記チップの前面が前記テープの方を向くように行われ、前記テープは前記集成体の上面を形成することを特徴とする請求項17に記載の方法。
  21. 前記集成体、フレーム及びシール層を配設する工程は前記底部シール層を前記チップの後面に被着する工程を含むことを特徴とする請求項20に記載の方法。
  22. 前記集成体、フレーム及びシール層を配設する前記工程は、前記封入材が前記封入材を注入する前記工程の際に前記チップの後面を覆うように前記チップの後面から離隔して底部シール層を被着することを特徴とする請求項20に記載の方法。
  23. チップをテープに取着する前記工程は、前記接点を担持する前記チップの前記前面が前記チップから離れた方を向くとともにチップの後面がテープの方を向くように行われ、前記テープは前記集成体の底面を形成し、前記上部シール層は前記チップの前記前面を覆うことを特徴とする請求項17に記載の方法。
  24. 前記上部シール層は、前記封入材が前記封入材を注入する前記工程の際に前記チップの前記前面と前記上部シール層との間を流れるように前記チップの前記前面の上方へ離隔していることを特徴とする請求項23に記載の方法。
  25. 前記チップは波長帯域の光と相互作用を行う光学活性素子を含み、前記上部シール層はかかる波長帯域の光に透明であり、前記方法は前記上部シール層の一部が前記各集成体とともに残るように前記集成体を前記フレームから取り出す工程を更に備えることを特徴とする請求項23に記載の方法。
  26. 前記上部シール層は前記波長帯域の光を屈折させる屈折素子を含むことを特徴とする請求項25に記載の方法。
  27. 前記上部シール層は熱伝導性であり、前記方法は前記上部シール層の一部が前記各集成体とともに残るように前記集成体を前記フレームから取り出す工程を更に備えることを特徴とする請求項23に記載の方法。
  28. 前記チップを取着しかつ前記チップを電気的に接続する前記工程は前記テープが前記フレームに取着されている状態で行われることを特徴とする請求項17に記載の方法。
  29. 前記チップと前記テープとの間に多孔質構造体を配設する工程を更に備え、前記封入材は前記注入工程の際に前記多孔質構造体を充填することを特徴とする請求項28に記載の方法。
  30. 前記多孔質構造体を配設する前記工程は前記テープが前記フレームに取着されている状態で柔軟性のあるパッドを前記テープに被着する工程を含むことを特徴とする請求項29に記載の方法。
  31. 前記テープは内部に開口を有し、前記チップを前記端子に電気的に接続する前記工程は前記開口を介して操作を行う工程を含み、前記上部シール層は前記開口をシールすることを特徴とする請求項28に記載の方法。
  32. 前記集成体、フレーム及びシール層を配設する前記工程は、複数の垂直方向に延びる壁が内部に形成されている底部シール層に複数の半導体チップを取着し、かつ、前記チップが配置されるポケットを画成する工程を含み、前記壁はチップの保護パッケージとして作用するように方法の終了後に各チップを少なくとも一部包囲することを特徴とする請求項1に記載の方法。
  33. フレーム、シール層及び集成体を取り付け具の上部要素と底部要素との間に係合させる前記工程は、取り付け具の上部要素とフレームを覆う上部シール層の部分との間に弾性のある上部ガスケットを押し込めとともに取り付け具の底部要素とフレームを覆う底部シール層の部分との間に弾性のある底部ガスケットを押し込める工程を含むことを特徴とする請求項1に記載の方法。
  34. 前記要素の一方にある浮動プレートを前記要素の他方に向けて付勢することにより、前記集成体と該集成体を覆うフレームの孔内にあるシール層の領域とを、浮動プレートと前記要素の前記他方の要素との間に押し込める工程を更に備えることを特徴とする請求項1に記載の方法。
  35. 前記浮動プレートを前記要素の他方へ向けて付勢する前記工程は封入材を注入する工程の際に行われることを特徴とする請求項34に記載の方法。
  36. 一方の前記シール層は金属材料から形成され、金属シール層の一部は超小形電子集成体の封入プロセス終了後に前記各集成体に取着保持されることによりシール層の前記部分が完成された集成体の熱伝導要素として作用することを特徴とする請求項1に記載の方法。
  37. 複数の半導体チップ集成体を製造する方法であって、 (a)複数の半導体チップを一体テープの底面に取着しかつテープがフレームに保持された状態で前記テープの上面に露出した端子に前記チップを電気的に接続することにより複数の半導体チップ集成体を提供する工程を備え、各半導体チップ集成体は1つ以上の前記チップと該チップと連係するテープの領域とを有し、前記チップは前記フレームにより取り囲まれる孔に配置され、更に(b)前記テープの前記上面及びフレームの上面に上部シール層を被着する工程と、 (c)前記テープから離れた方を向く前記チップの底面及び前記フレームの底面に底部シール層を被着する工程と、 (d)液体封入材がチップ及びテープと接触するように該封入材を前記チップの周囲に注入する工程と、 (e)封入材を硬化させる工程とを備え、前記フレームと前記シール層は前記硬化工程の際に前記封入材を保持するとともに前記封入材がチップの底面及びテープの上面と接触するのを防止する工程とを備えることを特徴とする方法。
  38. 前記注入工程に先立ち前記チップの周囲の前記シール層間のスペースを排気する工程を更に備えることを特徴とする請求項37に記載の方法。
  39. 構造体を備え、該構造体は上面及び底面と、前記上面から前記底面まで構造体を透通する孔とを有し、前記構造体は更に前記上面から構造体の中へ延びるニードル整合孔及び前記ニードル孔と前記孔との間を延びるゲートチャンネルを画成することを特徴とする封入フレーム。
  40. 前記ゲートチャンネルは前記上面に臨んでいることを特徴とする請求項39に記載の封入フレーム。
  41. 前記構造体は重合材料、繊維材料及びこれらの組み合わせよりなる群から選ばれる材料から形成されることを特徴とする請求項39に記載の封入フレーム。
  42. 前記構造体は紙及びフェノール樹脂よりなる群から選ばれる材料から形成されることを特徴とする請求項41に記載の封入フレーム。
  43. (a)上部要素面、該上部要素面に臨む通路及び該通路と連通する真空接続体を有する上部取り付け具要素と、(b)先端部を有し、該先端部は該先端部が通路内にある退却位置と前記先端部が前記上部要素面を越えて突出する前進位置との間を動くように前記通路内に摺動自在に取着されている中空ニードルと、(c)該中空ニードルに接続された封入材ディスペンサと、 (d)上部要素面の方を向く底部要素面を有する底部取り付け具要素と、 (e)取り付け具要素と係合自在であり、かつ、取り付け具要素を互いに向けて付勢するように配設されたクランプとを備えることを特徴とする封入取り付け具。
  44. 前記上部取り付け具要素に取着され、かつ、前記上部要素面において前記通路を囲む先端O−リングを更に備えることを特徴とする請求項43に記載の取り付け具。
  45. 前記上部取り付け具要素に取着され、かつ、前記上部要素面から離隔して通路を囲む基端部O−リングを更に備え、前記真空接続体は前記O−リング間で前記通路と連通することを特徴とする請求項43に記載の取り付け具。
  46. 前記先端部O−リングは前記要素間に係合されるシール層及びフレーム集成体と封止係合するように前記上部要素面から突出することを特徴とする請求項43に記載の取り付け具。
  47. 前記取り付け具要素は前記面と平衡する水平方向に前記取り付け具要素を互いに対して位置決めする相互に係合自在の構成を有することを特徴とする請求項43に記載の取り付け具。
  48. 前記取り付け具要素の少なくとも1つは、フレームが取り付け具要素間に係合されているときにフレームと係合して該フレームを前記水平方向に配置するよう前記要素の面から突出する位置決め要素を有することを特徴とする請求項47に記載の取り付け具。
  49. (a)上部要素面を有する上部取り付け具要素と、 (b)中央領域及び該中央領域を包囲する周辺領域を有する底部取り付け具要素とを備え、前記周辺領域は上部要素面の方を向く底部要素面を有し、前記底部取り付け具要素は前記底部要素面に臨む前記中央領域に凹部を画成し、更に(c)底部取り付け具に対して上下に動くように前記底部取り付け具の前記凹部に取着された浮動プレートと、(d)取り付け具要素と係合自在であり、かつ、取り付け具要素を互いに向けて付勢するように配設されたクランプとを備え、取り付け具要素は底部プレートの中央領域及び浮動プレートと整合する孔内でフレーム担持超小形電子集成体と係合することができ、更に(e)孔内の超小形電子素子と係合しかつ上部プレートと係合するように超小形電子集成体を上方へ付勢するように前記浮動プレートを上部取り付け具要素へ向けて上方へ付勢する手段を備えることを特徴とする封入取り付け具。
  50. 前記付勢手段は前記凹部と連通する流体圧接続体を含むことを特徴とする請求項49に記載の取り付け具。
  51. 封入材ディスペンサを更に備えることを特徴とする請求項50に記載の取り付け具。
  52. (a)上面、底面及びこれらの面間を延びる孔をそれぞれ有する複数のフレームと、(b)上部及び底部取り付け具要素と、取り付け具要素を互いに向けて付勢するように配設されたクランプと、封入材ディスペンサとを有する取り付け具を備え、前記上部及び底部取り付け具要素は該要素間で前記フレームと連続して交互に係合するようになっており、前記封入材ディスペンサはフレームが取り付け具要素間に係合している状態で各フレームの孔に封入材を注入することを特徴とする封入装置。
  53. 前記封入材の注入後にフレームを保持するように取り付け具とは別体をなす硬化ステーションを更に備えることを特徴とする請求項52に記載の封入装置。
  54. 前記取り付け具は、フレームに封入材を充填する前に取り付け具要素間に係合する各フレームの孔に真空を印加する真空装置を有することを特徴とする請求項52に記載の封入装置。
  55. (a)上面及び底面と、該面間を延びる孔とを有するフレームと、(b)該フレームに封止接続され、前記フレームと協働して閉鎖空間を画成する上部及び底部シール層と、(c)前記閉鎖空間に配置された複数の超小形電子集成体とを備えることを特徴とする装置。
  56. 前記シール層の一方は一体テープを有し、前記各超小形電子集成体は前記テープの領域を含むことを特徴とする請求項55に記載の装置。
  57. 前記フレームは重合材料、繊維材料及びこれらの組み合わせよりなる群から選ばれる材料から形成されることを特徴とする請求項55に記載の装置。
  58. 未硬化の封入材を更に備え、前記シール層と前記フレームは協働して前記封入材を保持することを特徴とする請求項55に記載の装置。
JP2009188707A 1998-04-28 2009-08-17 超小形電子集成体の封入 Expired - Lifetime JP5345472B2 (ja)

Applications Claiming Priority (2)

Application Number Priority Date Filing Date Title
US09/067,698 1998-04-28
US09/067,698 US6329224B1 (en) 1998-04-28 1998-04-28 Encapsulation of microelectronic assemblies

Related Parent Applications (1)

Application Number Title Priority Date Filing Date
JP2000546394A Division JP4567189B2 (ja) 1998-04-28 1999-04-26 超小形電子集成体を封入する方法、並びに、該方法で使用するための封入フレーム、封入取り付け具及び封入装置

Publications (2)

Publication Number Publication Date
JP2010004062A true JP2010004062A (ja) 2010-01-07
JP5345472B2 JP5345472B2 (ja) 2013-11-20

Family

ID=22077773

Family Applications (2)

Application Number Title Priority Date Filing Date
JP2000546394A Expired - Lifetime JP4567189B2 (ja) 1998-04-28 1999-04-26 超小形電子集成体を封入する方法、並びに、該方法で使用するための封入フレーム、封入取り付け具及び封入装置
JP2009188707A Expired - Lifetime JP5345472B2 (ja) 1998-04-28 2009-08-17 超小形電子集成体の封入

Family Applications Before (1)

Application Number Title Priority Date Filing Date
JP2000546394A Expired - Lifetime JP4567189B2 (ja) 1998-04-28 1999-04-26 超小形電子集成体を封入する方法、並びに、該方法で使用するための封入フレーム、封入取り付け具及び封入装置

Country Status (5)

Country Link
US (2) US6329224B1 (ja)
JP (2) JP4567189B2 (ja)
KR (1) KR100602462B1 (ja)
TW (1) TW460988B (ja)
WO (1) WO1999056316A1 (ja)

Families Citing this family (182)

* Cited by examiner, † Cited by third party
Publication number Priority date Publication date Assignee Title
US7005326B1 (en) 1998-06-24 2006-02-28 Amkor Technology, Inc. Method of making an integrated circuit package
US7112474B1 (en) 1998-06-24 2006-09-26 Amkor Technology, Inc. Method of making an integrated circuit package
US7030474B1 (en) 1998-06-24 2006-04-18 Amkor Technology, Inc. Plastic integrated circuit package and method and leadframe for making the package
US7071541B1 (en) 1998-06-24 2006-07-04 Amkor Technology, Inc. Plastic integrated circuit package and method and leadframe for making the package
US7332375B1 (en) 1998-06-24 2008-02-19 Amkor Technology, Inc. Method of making an integrated circuit package
US6143981A (en) 1998-06-24 2000-11-07 Amkor Technology, Inc. Plastic integrated circuit package and method and leadframe for making the package
US6893900B1 (en) 1998-06-24 2005-05-17 Amkor Technology, Inc. Method of making an integrated circuit package
US6448633B1 (en) 1998-11-20 2002-09-10 Amkor Technology, Inc. Semiconductor package and method of making using leadframe having lead locks to secure leads to encapsulant
JP3653417B2 (ja) * 1999-06-09 2005-05-25 株式会社日立製作所 マルチチップモジュールの封止構造
JP3417879B2 (ja) * 1999-07-05 2003-06-16 沖電気工業株式会社 モールド金型
KR100379089B1 (ko) 1999-10-15 2003-04-08 앰코 테크놀로지 코리아 주식회사 리드프레임 및 이를 이용한 반도체패키지
KR20010037247A (ko) 1999-10-15 2001-05-07 마이클 디. 오브라이언 반도체패키지
KR100403142B1 (ko) 1999-10-15 2003-10-30 앰코 테크놀로지 코리아 주식회사 반도체패키지
US6580159B1 (en) 1999-11-05 2003-06-17 Amkor Technology, Inc. Integrated circuit device packages and substrates for making the packages
US6847103B1 (en) 1999-11-09 2005-01-25 Amkor Technology, Inc. Semiconductor package with exposed die pad and body-locking leadframe
US6602740B1 (en) * 1999-11-24 2003-08-05 Tessera, Inc. Encapsulation of microelectronic assemblies
KR100421774B1 (ko) 1999-12-16 2004-03-10 앰코 테크놀로지 코리아 주식회사 반도체패키지 및 그 제조 방법
US6444035B1 (en) 2000-01-28 2002-09-03 Speedline Technologies, Inc. Conveyorized vacuum injection system
US6644238B2 (en) 2000-01-28 2003-11-11 Speedline Technologies, Inc. Conveyorized vacuum injection system
DE10006738C2 (de) * 2000-02-15 2002-01-17 Osram Opto Semiconductors Gmbh Lichtemittierendes Bauelement mit verbesserter Lichtauskopplung und Verfahren zu seiner Herstellung
US7205578B2 (en) * 2000-02-15 2007-04-17 Osram Gmbh Semiconductor component which emits radiation, and method for producing the same
KR100583494B1 (ko) 2000-03-25 2006-05-24 앰코 테크놀로지 코리아 주식회사 반도체패키지
KR100559664B1 (ko) * 2000-03-25 2006-03-10 앰코 테크놀로지 코리아 주식회사 반도체패키지
US7042068B2 (en) 2000-04-27 2006-05-09 Amkor Technology, Inc. Leadframe and semiconductor package made using the leadframe
DE20111659U1 (de) * 2000-05-23 2001-12-13 OSRAM Opto Semiconductors GmbH & Co. oHG, 93049 Regensburg Bauelement für die Optoelektronik
US20020020898A1 (en) 2000-08-16 2002-02-21 Vu Quat T. Microelectronic substrates with integrated devices
KR20020058209A (ko) 2000-12-29 2002-07-12 마이클 디. 오브라이언 반도체패키지
US6967395B1 (en) 2001-03-20 2005-11-22 Amkor Technology, Inc. Mounting for a package containing a chip
US6706553B2 (en) 2001-03-26 2004-03-16 Intel Corporation Dispensing process for fabrication of microelectronic packages
KR100369393B1 (ko) 2001-03-27 2003-02-05 앰코 테크놀로지 코리아 주식회사 리드프레임 및 이를 이용한 반도체패키지와 그 제조 방법
KR100393448B1 (ko) 2001-03-27 2003-08-02 앰코 테크놀로지 코리아 주식회사 반도체 패키지 및 그 제조 방법
US7498196B2 (en) 2001-03-30 2009-03-03 Megica Corporation Structure and manufacturing method of chip scale package
US7064009B1 (en) 2001-04-04 2006-06-20 Amkor Technology, Inc. Thermally enhanced chip scale lead on chip semiconductor package and method of making same
US6597059B1 (en) 2001-04-04 2003-07-22 Amkor Technology, Inc. Thermally enhanced chip scale lead on chip semiconductor package
US7045883B1 (en) 2001-04-04 2006-05-16 Amkor Technology, Inc. Thermally enhanced chip scale lead on chip semiconductor package and method of making same
US6601753B2 (en) * 2001-05-17 2003-08-05 Visteon Global Technologies, Inc. Void-free die attachment method with low melting metal
DE10133151B4 (de) * 2001-07-07 2004-07-29 Robert Bosch Gmbh Bauteil mit einem Gehäuse umgebenen Bauelement und Vorrichtung und Verfahren, die bei seiner Herstellung einsetzbar sind
US6555486B2 (en) * 2001-07-12 2003-04-29 Cool Shield, Inc. Thermally conductive silk-screenable interface material
US7485952B1 (en) 2001-09-19 2009-02-03 Amkor Technology, Inc. Drop resistant bumpers for fully molded memory cards
US6900527B1 (en) 2001-09-19 2005-05-31 Amkor Technology, Inc. Lead-frame method and assembly for interconnecting circuits within a circuit module
US6608391B1 (en) * 2001-12-19 2003-08-19 Orient Semiconductor Electronics Limited Preparation method of underfill for flip chip package and the device
TW584950B (en) 2001-12-31 2004-04-21 Megic Corp Chip packaging structure and process thereof
TW544882B (en) 2001-12-31 2003-08-01 Megic Corp Chip package structure and process thereof
US6673698B1 (en) * 2002-01-19 2004-01-06 Megic Corporation Thin film semiconductor package utilizing a glass substrate with composite polymer/metal interconnect layers
TW517361B (en) 2001-12-31 2003-01-11 Megic Corp Chip package structure and its manufacture process
TW503496B (en) 2001-12-31 2002-09-21 Megic Corp Chip packaging structure and manufacturing process of the same
US7723162B2 (en) * 2002-03-22 2010-05-25 White Electronic Designs Corporation Method for producing shock and tamper resistant microelectronic devices
US6608366B1 (en) 2002-04-15 2003-08-19 Harry J. Fogelson Lead frame with plated end leads
US6984545B2 (en) * 2002-07-22 2006-01-10 Micron Technology, Inc. Methods of encapsulating selected locations of a semiconductor die assembly using a thick solder mask
US6818973B1 (en) 2002-09-09 2004-11-16 Amkor Technology, Inc. Exposed lead QFP package fabricated through the use of a partial saw process
US6919620B1 (en) 2002-09-17 2005-07-19 Amkor Technology, Inc. Compact flash memory card with clamshell leadframe
US7265045B2 (en) * 2002-10-24 2007-09-04 Megica Corporation Method for fabricating thermal compliant semiconductor chip wiring structure for chip scale packaging
US7190062B1 (en) 2004-06-15 2007-03-13 Amkor Technology, Inc. Embedded leadframe semiconductor package
US7361533B1 (en) 2002-11-08 2008-04-22 Amkor Technology, Inc. Stacked embedded leadframe
US6905914B1 (en) 2002-11-08 2005-06-14 Amkor Technology, Inc. Wafer level package and fabrication method
US6847099B1 (en) 2003-02-05 2005-01-25 Amkor Technology Inc. Offset etched corner leads for semiconductor package
US6879028B2 (en) * 2003-02-21 2005-04-12 Freescale Semiconductor, Inc. Multi-die semiconductor package
US6927483B1 (en) 2003-03-07 2005-08-09 Amkor Technology, Inc. Semiconductor package exhibiting efficient lead placement
US6815254B2 (en) * 2003-03-10 2004-11-09 Freescale Semiconductor, Inc. Semiconductor package with multiple sides having package contacts
US7001799B1 (en) 2003-03-13 2006-02-21 Amkor Technology, Inc. Method of making a leadframe for semiconductor devices
US6794740B1 (en) 2003-03-13 2004-09-21 Amkor Technology, Inc. Leadframe package for semiconductor devices
US7095103B1 (en) 2003-05-01 2006-08-22 Amkor Technology, Inc. Leadframe based memory card
US6879034B1 (en) 2003-05-01 2005-04-12 Amkor Technology, Inc. Semiconductor package including low temperature co-fired ceramic substrate
US7008825B1 (en) 2003-05-27 2006-03-07 Amkor Technology, Inc. Leadframe strip having enhanced testability
US6897550B1 (en) 2003-06-11 2005-05-24 Amkor Technology, Inc. Fully-molded leadframe stand-off feature
FR2856517B1 (fr) * 2003-06-17 2005-09-23 St Microelectronics Sa Procede de fabrication de composant semi-conducteur et composant semi-conducteur
US7245007B1 (en) 2003-09-18 2007-07-17 Amkor Technology, Inc. Exposed lead interposer leadframe package
US7915085B2 (en) * 2003-09-18 2011-03-29 Cree, Inc. Molded chip fabrication method
US6921967B2 (en) 2003-09-24 2005-07-26 Amkor Technology, Inc. Reinforced die pad support structure
US7138707B1 (en) 2003-10-21 2006-11-21 Amkor Technology, Inc. Semiconductor package including leads and conductive posts for providing increased functionality
US7144517B1 (en) 2003-11-07 2006-12-05 Amkor Technology, Inc. Manufacturing method for leadframe and for semiconductor package using the leadframe
US7211879B1 (en) 2003-11-12 2007-05-01 Amkor Technology, Inc. Semiconductor package with chamfered corners and method of manufacturing the same
US7087465B2 (en) * 2003-12-15 2006-08-08 Philips Lumileds Lighting Company, Llc Method of packaging a semiconductor light emitting device
KR100572207B1 (ko) * 2003-12-18 2006-04-19 주식회사 디지탈바이오테크놀러지 플라스틱 마이크로 칩의 접합 방법
US7057268B1 (en) 2004-01-27 2006-06-06 Amkor Technology, Inc. Cavity case with clip/plug for use on multi-media card
US7091594B1 (en) 2004-01-28 2006-08-15 Amkor Technology, Inc. Leadframe type semiconductor package having reduced inductance and its manufacturing method
US6970360B2 (en) * 2004-03-18 2005-11-29 International Business Machines Corporation Tamper-proof enclosure for a circuit card
US7153462B2 (en) * 2004-04-23 2006-12-26 Vishay Infrared Components, Inc. Injection casting system for encapsulating semiconductor devices and method of use
US20050242425A1 (en) * 2004-04-30 2005-11-03 Leal George R Semiconductor device with a protected active die region and method therefor
US7202554B1 (en) 2004-08-19 2007-04-10 Amkor Technology, Inc. Semiconductor package and its manufacturing method
US7217583B2 (en) * 2004-09-21 2007-05-15 Cree, Inc. Methods of coating semiconductor light emitting elements by evaporating solvent from a suspension
US7217991B1 (en) 2004-10-22 2007-05-15 Amkor Technology, Inc. Fan-in leadframe semiconductor package
CN101053079A (zh) 2004-11-03 2007-10-10 德塞拉股份有限公司 堆叠式封装的改进
US7288847B2 (en) * 2005-01-25 2007-10-30 Medtronic, Inc. Assembly including a circuit and an encapsulation frame, and method of making the same
US7160798B2 (en) * 2005-02-24 2007-01-09 Freescale Semiconductor, Inc. Method of making reinforced semiconductor package
JP4588506B2 (ja) * 2005-03-25 2010-12-01 大日本印刷株式会社 塗布液の塗布装置および塗布方法
US20070096345A1 (en) * 2005-11-03 2007-05-03 Vishay Vitramon Inc. Frame packaged array electronic component
US7507603B1 (en) 2005-12-02 2009-03-24 Amkor Technology, Inc. Etch singulated semiconductor package
US7572681B1 (en) 2005-12-08 2009-08-11 Amkor Technology, Inc. Embedded electronic component package
US8337071B2 (en) 2005-12-21 2012-12-25 Cree, Inc. Lighting device
US8058101B2 (en) 2005-12-23 2011-11-15 Tessera, Inc. Microelectronic packages and methods therefor
US8969908B2 (en) 2006-04-04 2015-03-03 Cree, Inc. Uniform emission LED package
US7943952B2 (en) * 2006-07-31 2011-05-17 Cree, Inc. Method of uniform phosphor chip coating and LED package fabricated using method
US7569422B2 (en) 2006-08-11 2009-08-04 Megica Corporation Chip package and method for fabricating the same
US10295147B2 (en) 2006-11-09 2019-05-21 Cree, Inc. LED array and method for fabricating same
US9024349B2 (en) 2007-01-22 2015-05-05 Cree, Inc. Wafer level phosphor coating method and devices fabricated utilizing method
US8232564B2 (en) * 2007-01-22 2012-07-31 Cree, Inc. Wafer level phosphor coating technique for warm light emitting diodes
US9159888B2 (en) 2007-01-22 2015-10-13 Cree, Inc. Wafer level phosphor coating method and devices fabricated utilizing method
US7776746B2 (en) * 2007-02-28 2010-08-17 Alpha And Omega Semiconductor Incorporated Method and apparatus for ultra thin wafer backside processing
KR101391925B1 (ko) * 2007-02-28 2014-05-07 페어차일드코리아반도체 주식회사 반도체 패키지 및 이를 제조하기 위한 반도체 패키지 금형
US20080251908A1 (en) * 2007-04-11 2008-10-16 Advanced Chip Engineering Technology Inc. Semiconductor device package having multi-chips with side-by-side configuration and method of the same
US20080265402A1 (en) * 2007-04-30 2008-10-30 International Business Machines Corporation Rework process and method for lead-free capped multi-core modules with organic substrates
US10505083B2 (en) 2007-07-11 2019-12-10 Cree, Inc. Coating method utilizing phosphor containment structure and devices fabricated using same
US7687899B1 (en) 2007-08-07 2010-03-30 Amkor Technology, Inc. Dual laminate package structure with embedded elements
US9041285B2 (en) 2007-12-14 2015-05-26 Cree, Inc. Phosphor distribution in LED lamps using centrifugal force
US8167674B2 (en) * 2007-12-14 2012-05-01 Cree, Inc. Phosphor distribution in LED lamps using centrifugal force
US8878219B2 (en) * 2008-01-11 2014-11-04 Cree, Inc. Flip-chip phosphor coating method and devices fabricated utilizing method
US7723852B1 (en) 2008-01-21 2010-05-25 Amkor Technology, Inc. Stacked semiconductor package and method of making same
CN101241874B (zh) * 2008-02-21 2010-09-15 日月光半导体制造股份有限公司 封装设备及其基板载具
US8637883B2 (en) 2008-03-19 2014-01-28 Cree, Inc. Low index spacer layer in LED devices
US8240875B2 (en) 2008-06-25 2012-08-14 Cree, Inc. Solid state linear array modules for general illumination
US7971347B2 (en) * 2008-06-27 2011-07-05 Intel Corporation Method of interconnecting workpieces
US8072050B1 (en) 2008-11-18 2011-12-06 Amkor Technology, Inc. Semiconductor device with increased I/O leadframe including passive device
US20170117214A1 (en) 2009-01-05 2017-04-27 Amkor Technology, Inc. Semiconductor device with through-mold via
JP2011100718A (ja) * 2009-10-05 2011-05-19 Yazaki Corp コネクタ
US8639373B2 (en) * 2009-10-14 2014-01-28 Stmicroelectronics, Inc. Modular low stress package technology
US8937381B1 (en) 2009-12-03 2015-01-20 Amkor Technology, Inc. Thin stackable package and method
US9691734B1 (en) 2009-12-07 2017-06-27 Amkor Technology, Inc. Method of forming a plurality of electronic component packages
US8324511B1 (en) 2010-04-06 2012-12-04 Amkor Technology, Inc. Through via nub reveal method and structure
US9159708B2 (en) 2010-07-19 2015-10-13 Tessera, Inc. Stackable molded microelectronic packages with area array unit connectors
US8482111B2 (en) 2010-07-19 2013-07-09 Tessera, Inc. Stackable molded microelectronic packages
US10546846B2 (en) 2010-07-23 2020-01-28 Cree, Inc. Light transmission control for masking appearance of solid state light sources
US8440554B1 (en) 2010-08-02 2013-05-14 Amkor Technology, Inc. Through via connected backside embedded circuit features structure and method
US8487445B1 (en) 2010-10-05 2013-07-16 Amkor Technology, Inc. Semiconductor device having through electrodes protruding from dielectric layer
US9088226B2 (en) 2010-10-19 2015-07-21 Electronics Motion Systems Holding Limited Power module for converting DC to AC
US8390130B1 (en) 2011-01-06 2013-03-05 Amkor Technology, Inc. Through via recessed reveal structure and method
US8648450B1 (en) 2011-01-27 2014-02-11 Amkor Technology, Inc. Semiconductor device including leadframe with a combination of leads and lands
TWI557183B (zh) 2015-12-16 2016-11-11 財團法人工業技術研究院 矽氧烷組成物、以及包含其之光電裝置
US9166126B2 (en) 2011-01-31 2015-10-20 Cree, Inc. Conformally coated light emitting devices and methods for providing the same
KR101128063B1 (ko) 2011-05-03 2012-04-23 테세라, 인코포레이티드 캡슐화 층의 표면에 와이어 본드를 구비하는 패키지 적층형 어셈블리
EP2659172B1 (en) * 2011-05-13 2019-06-26 Siemens Healthcare Diagnostics Inc. Rotary shear valve with tree-point stator seating
DE102011112476A1 (de) * 2011-09-05 2013-03-07 Epcos Ag Bauelement und Verfahren zum Herstellen eines Bauelements
US8866278B1 (en) 2011-10-10 2014-10-21 Amkor Technology, Inc. Semiconductor device with increased I/O configuration
US9105483B2 (en) 2011-10-17 2015-08-11 Invensas Corporation Package-on-package assembly with wire bond vias
US8552548B1 (en) 2011-11-29 2013-10-08 Amkor Technology, Inc. Conductive pad on protruding through electrode semiconductor device
US8946757B2 (en) 2012-02-17 2015-02-03 Invensas Corporation Heat spreading substrate with embedded interconnects
US8372741B1 (en) 2012-02-24 2013-02-12 Invensas Corporation Method for package-on-package assembly with wire bonds to encapsulation surface
US9704725B1 (en) 2012-03-06 2017-07-11 Amkor Technology, Inc. Semiconductor device with leadframe configured to facilitate reduced burr formation
US9129943B1 (en) 2012-03-29 2015-09-08 Amkor Technology, Inc. Embedded component package and fabrication method
US9048298B1 (en) 2012-03-29 2015-06-02 Amkor Technology, Inc. Backside warpage control structure and fabrication method
US8835228B2 (en) 2012-05-22 2014-09-16 Invensas Corporation Substrate-less stackable package with wire-bond interconnect
US9391008B2 (en) 2012-07-31 2016-07-12 Invensas Corporation Reconstituted wafer-level package DRAM
US9502390B2 (en) 2012-08-03 2016-11-22 Invensas Corporation BVA interposer
US8878353B2 (en) 2012-12-20 2014-11-04 Invensas Corporation Structure for microelectronic packaging with bond elements to encapsulation surface
US9136254B2 (en) 2013-02-01 2015-09-15 Invensas Corporation Microelectronic package having wire bond vias and stiffening layer
KR101486790B1 (ko) 2013-05-02 2015-01-28 앰코 테크놀로지 코리아 주식회사 강성보강부를 갖는 마이크로 리드프레임
US9167710B2 (en) 2013-08-07 2015-10-20 Invensas Corporation Embedded packaging with preformed vias
US9685365B2 (en) 2013-08-08 2017-06-20 Invensas Corporation Method of forming a wire bond having a free end
US20150076714A1 (en) 2013-09-16 2015-03-19 Invensas Corporation Microelectronic element with bond elements to encapsulation surface
KR101563911B1 (ko) 2013-10-24 2015-10-28 앰코 테크놀로지 코리아 주식회사 반도체 패키지
US9379074B2 (en) 2013-11-22 2016-06-28 Invensas Corporation Die stacks with one or more bond via arrays of wire bond wires and with one or more arrays of bump interconnects
US9263394B2 (en) 2013-11-22 2016-02-16 Invensas Corporation Multiple bond via arrays of different wire heights on a same substrate
US9583456B2 (en) 2013-11-22 2017-02-28 Invensas Corporation Multiple bond via arrays of different wire heights on a same substrate
US9583411B2 (en) 2014-01-17 2017-02-28 Invensas Corporation Fine pitch BVA using reconstituted wafer with area array accessible for testing
US9673122B2 (en) 2014-05-02 2017-06-06 Amkor Technology, Inc. Micro lead frame structure having reinforcing portions and method
US10381326B2 (en) 2014-05-28 2019-08-13 Invensas Corporation Structure and method for integrated circuits packaging with increased density
US9412714B2 (en) 2014-05-30 2016-08-09 Invensas Corporation Wire bond support structure and microelectronic package including wire bonds therefrom
CN104022145B (zh) * 2014-06-23 2017-01-25 深圳市华星光电技术有限公司 基板的封装方法及封装结构
US9484228B2 (en) * 2014-10-01 2016-11-01 Apple Inc. Simultaneous independently controlled dual side PCB molding technique
US9735084B2 (en) 2014-12-11 2017-08-15 Invensas Corporation Bond via array for thermal conductivity
US9888579B2 (en) 2015-03-05 2018-02-06 Invensas Corporation Pressing of wire bond wire tips to provide bent-over tips
US9502372B1 (en) 2015-04-30 2016-11-22 Invensas Corporation Wafer-level packaging using wire bond wires in place of a redistribution layer
US9761554B2 (en) 2015-05-07 2017-09-12 Invensas Corporation Ball bonding metal wire bond wires to metal pads
US9683278B2 (en) * 2015-06-08 2017-06-20 Infineon Technologies Ag Diffusion solder bonding using solder preforms
US10490528B2 (en) 2015-10-12 2019-11-26 Invensas Corporation Embedded wire bond wires
US9490222B1 (en) 2015-10-12 2016-11-08 Invensas Corporation Wire bond wires for interference shielding
US10332854B2 (en) 2015-10-23 2019-06-25 Invensas Corporation Anchoring structure of fine pitch bva
US10181457B2 (en) 2015-10-26 2019-01-15 Invensas Corporation Microelectronic package for wafer-level chip scale packaging with fan-out
US10043779B2 (en) 2015-11-17 2018-08-07 Invensas Corporation Packaged microelectronic device for a package-on-package device
US9659848B1 (en) 2015-11-18 2017-05-23 Invensas Corporation Stiffened wires for offset BVA
US9984992B2 (en) 2015-12-30 2018-05-29 Invensas Corporation Embedded wire bond wires for vertical integration with separate surface mount and wire bond mounting surfaces
US9935075B2 (en) 2016-07-29 2018-04-03 Invensas Corporation Wire bonding method and apparatus for electromagnetic interference shielding
US20180117813A1 (en) * 2016-11-02 2018-05-03 Asm Technology Singapore Pte Ltd Molding apparatus including a compressible structure
US10299368B2 (en) 2016-12-21 2019-05-21 Invensas Corporation Surface integrated waveguides and circuit structures therefor
DE102017131110B4 (de) * 2017-12-22 2025-01-02 OSRAM Opto Semiconductors Gesellschaft mit beschränkter Haftung Verfahren und formwerkzeug zum einbetten von optoelektronischen bauelementen in eine schicht
DE102019132314B4 (de) * 2019-11-28 2022-03-03 Infineon Technologies Ag Package mit Einkapselung unter Kompressionsbelastung
WO2022025160A1 (ja) * 2020-07-31 2022-02-03 ボンドテック株式会社 チップ接合システムおよびチップ接合方法
KR102484243B1 (ko) * 2020-11-06 2023-01-04 양해춘 정밀 간격 배치용 포켓을 구비한 반도체 패키지의 마운팅 테이블 및 이 마운팅 테이블을 구비한 반도체 패키지 마운팅 시스템
KR102569629B1 (ko) * 2020-12-10 2023-08-22 봅스트 맥스 에스에이 평평한 가요성 부품을 유지하기 위한 포지셔닝 디바이스및 포지셔닝 조립체, 및 시트 재료 처리 기계
USD1094325S1 (en) 2021-08-24 2025-09-23 Vishay Dale Electronics, Llc Electro-magnetic device
CN116253577B (zh) 2023-03-10 2024-03-29 合肥圣达电子科技实业有限公司 一种量子计算用陶瓷外壳及其制备方法
CN119495607A (zh) * 2024-11-12 2025-02-21 山东享视科技有限公司 一种芯片封装装置及封装方法

Citations (1)

* Cited by examiner, † Cited by third party
Publication number Priority date Publication date Assignee Title
WO1997011486A1 (en) * 1995-09-22 1997-03-27 Tessera, Inc. Connecting multiple microelectronic elements with lead deformation

Family Cites Families (26)

* Cited by examiner, † Cited by third party
Publication number Priority date Publication date Assignee Title
JPS5681957A (en) * 1979-12-07 1981-07-04 Hitachi Ltd Semiconductor package using thermoplastic resin and manufacture thereof
JPS60193365A (ja) * 1984-03-15 1985-10-01 Nec Corp リ−ドフレ−ム
JPS622592A (ja) * 1985-06-28 1987-01-08 株式会社東芝 平滑型回路モジユ−ルの製造方法
JPS62244139A (ja) * 1986-04-17 1987-10-24 Citizen Watch Co Ltd 樹脂封止型ピングリツドアレイ及びその製造方法
US4890383A (en) 1988-01-15 1990-01-02 Simens Corporate Research & Support, Inc. Method for producing displays and modular components
JPH0225057A (ja) 1988-07-13 1990-01-26 Mitsubishi Electric Corp 半導体装置の製造方法
GB8911607D0 (en) * 1989-05-19 1989-07-05 Emi Plc Thorn A method of encapsulation for electronic devices and devices so encapsulated
JPH03108745A (ja) * 1989-09-22 1991-05-08 Seiko Epson Corp 半導体装置
US4996170A (en) 1990-07-30 1991-02-26 Motorola, Inc. Molding process for encapsulating semiconductor devices using a thixotropic compound
US5679977A (en) 1990-09-24 1997-10-21 Tessera, Inc. Semiconductor chip assemblies, methods of making same and components for same
JPH04312965A (ja) * 1991-03-29 1992-11-04 Mitsubishi Electric Corp メモリic
US5158912A (en) * 1991-04-09 1992-10-27 Digital Equipment Corporation Integral heatsink semiconductor package
US5258650A (en) 1991-08-26 1993-11-02 Motorola, Inc. Semiconductor device having encapsulation comprising of a thixotropic fluorosiloxane material
US5349234A (en) 1992-05-29 1994-09-20 Eastman Kodak Company Package and method for assembly of infra-red imaging devices
US5468994A (en) 1992-12-10 1995-11-21 Hewlett-Packard Company High pin count package for semiconductor device
US5369056A (en) 1993-03-29 1994-11-29 Staktek Corporation Warp-resistent ultra-thin integrated circuit package fabrication method
US5477611A (en) * 1993-09-20 1995-12-26 Tessera, Inc. Method of forming interface between die and chip carrier
US5518964A (en) 1994-07-07 1996-05-21 Tessera, Inc. Microelectronic mounting with multiple lead deformation and bonding
US5554821A (en) * 1994-07-15 1996-09-10 National Semiconductor Corporation Removable computer peripheral cards having a solid one-piece housing
US5659952A (en) 1994-09-20 1997-08-26 Tessera, Inc. Method of fabricating compliant interface for semiconductor chip
US5607882A (en) * 1994-12-20 1997-03-04 Lucent Technologies Inc. Multi-component electronic devices and methods for making them
US5766987A (en) * 1995-09-22 1998-06-16 Tessera, Inc. Microelectronic encapsulation methods and equipment
US5765692A (en) * 1995-11-13 1998-06-16 Minnesota Mining And Manufacturing Company Carrier tape with adhesive and protective walls
US5700723A (en) * 1996-05-15 1997-12-23 Lsi Logic Corporation Method of packaging an integrated circuit
KR100251859B1 (ko) * 1997-01-28 2000-04-15 마이클 디. 오브라이언 가요성 회로 기판 스트립을 이용하여 제조되는 볼그리드 어레이반도체 패키지의 싱귤레이션 방법
US5923959A (en) * 1997-07-23 1999-07-13 Micron Technology, Inc. Ball grid array (BGA) encapsulation mold

Patent Citations (2)

* Cited by examiner, † Cited by third party
Publication number Priority date Publication date Assignee Title
WO1997011486A1 (en) * 1995-09-22 1997-03-27 Tessera, Inc. Connecting multiple microelectronic elements with lead deformation
JPH11512875A (ja) * 1995-09-22 1999-11-02 テセラ,インコーポレイテッド リード変形を有する接続多重超小形電子素子

Also Published As

Publication number Publication date
US6329224B1 (en) 2001-12-11
US20010023995A1 (en) 2001-09-27
JP4567189B2 (ja) 2010-10-20
JP5345472B2 (ja) 2013-11-20
TW460988B (en) 2001-10-21
WO1999056316A1 (en) 1999-11-04
US6541874B2 (en) 2003-04-01
KR100602462B1 (ko) 2006-07-19
JP2002513209A (ja) 2002-05-08
KR20010043140A (ko) 2001-05-25

Similar Documents

Publication Publication Date Title
JP4567189B2 (ja) 超小形電子集成体を封入する方法、並びに、該方法で使用するための封入フレーム、封入取り付け具及び封入装置
US6602740B1 (en) Encapsulation of microelectronic assemblies
KR101162404B1 (ko) 수지 밀봉 발광체 및 그 제조 방법
KR100384255B1 (ko) 반도체칩용컴플리언트인터페이스
US6521480B1 (en) Method for making a semiconductor chip package
US6458628B1 (en) Methods of encapsulating a semiconductor chip using a settable encapsulant
US6503780B1 (en) Wafer scale image sensor package fabrication method
CN101261985B (zh) 形成封装的具有多个光学元件的半导体发光器件的方法
US5172213A (en) Molded circuit package having heat dissipating post
KR100343413B1 (ko) 충진불량부 밀봉제의 웨이퍼 레벨 몰딩 기술
US5650915A (en) Thermally enhanced molded cavity package having a parallel lid
US5304512A (en) Process for manufacturing semiconductor integrated circuit device, and molding apparatus and molding material for the process
KR100293138B1 (ko) 열저항력이 뛰어난 고체 촬상 장치 및 그 제조 방법
EP2883428A1 (en) Panelized process for smt sensor devices
TWI414028B (zh) 注射封膠系統及其方法
US8399296B2 (en) Airgap micro-spring interconnect with bonded underfill seal
WO2002011966A1 (en) Mold cleaning sheet and method of producing semiconductor devices using the same
CN100377359C (zh) 光器件的制造方法
EP1503412A2 (en) Semiconductor device and manufacturing method of the same
JP2007311416A (ja) 固体撮像装置
US6608725B2 (en) Optical module
JP2008047665A (ja) 固体撮像装置の製造方法、及び固体撮像装置
JP3415468B2 (ja) 光半導体装置
JPH1168254A (ja) 光モジュール及び光モジュールの製造方法
JPH07226420A (ja) 半導体装置の製造方法

Legal Events

Date Code Title Description
A977 Report on retrieval

Free format text: JAPANESE INTERMEDIATE CODE: A971007

Effective date: 20120914

A131 Notification of reasons for refusal

Free format text: JAPANESE INTERMEDIATE CODE: A131

Effective date: 20120921

A601 Written request for extension of time

Free format text: JAPANESE INTERMEDIATE CODE: A601

Effective date: 20121221

A602 Written permission of extension of time

Free format text: JAPANESE INTERMEDIATE CODE: A602

Effective date: 20121227

A601 Written request for extension of time

Free format text: JAPANESE INTERMEDIATE CODE: A601

Effective date: 20130121

A602 Written permission of extension of time

Free format text: JAPANESE INTERMEDIATE CODE: A602

Effective date: 20130124

A601 Written request for extension of time

Free format text: JAPANESE INTERMEDIATE CODE: A601

Effective date: 20130221

A602 Written permission of extension of time

Free format text: JAPANESE INTERMEDIATE CODE: A602

Effective date: 20130226

A521 Request for written amendment filed

Free format text: JAPANESE INTERMEDIATE CODE: A523

Effective date: 20130321

TRDD Decision of grant or rejection written
A01 Written decision to grant a patent or to grant a registration (utility model)

Free format text: JAPANESE INTERMEDIATE CODE: A01

Effective date: 20130722

A61 First payment of annual fees (during grant procedure)

Free format text: JAPANESE INTERMEDIATE CODE: A61

Effective date: 20130814

R150 Certificate of patent or registration of utility model

Free format text: JAPANESE INTERMEDIATE CODE: R150

R250 Receipt of annual fees

Free format text: JAPANESE INTERMEDIATE CODE: R250

R250 Receipt of annual fees

Free format text: JAPANESE INTERMEDIATE CODE: R250

R250 Receipt of annual fees

Free format text: JAPANESE INTERMEDIATE CODE: R250

EXPY Cancellation because of completion of term