JP2010003919A - 静止誘導機器 - Google Patents

静止誘導機器 Download PDF

Info

Publication number
JP2010003919A
JP2010003919A JP2008162029A JP2008162029A JP2010003919A JP 2010003919 A JP2010003919 A JP 2010003919A JP 2008162029 A JP2008162029 A JP 2008162029A JP 2008162029 A JP2008162029 A JP 2008162029A JP 2010003919 A JP2010003919 A JP 2010003919A
Authority
JP
Japan
Prior art keywords
tank
bottom plate
skirt
vibration
concrete foundation
Prior art date
Legal status (The legal status is an assumption and is not a legal conclusion. Google has not performed a legal analysis and makes no representation as to the accuracy of the status listed.)
Granted
Application number
JP2008162029A
Other languages
English (en)
Other versions
JP5444644B2 (ja
Inventor
Kentaro Mori
健太郎 森
Sei Wakimoto
聖 脇本
Current Assignee (The listed assignees may be inaccurate. Google has not performed a legal analysis and makes no representation or warranty as to the accuracy of the list.)
Japan AE Power Systems Corp
Original Assignee
Japan AE Power Systems Corp
Priority date (The priority date is an assumption and is not a legal conclusion. Google has not performed a legal analysis and makes no representation as to the accuracy of the date listed.)
Filing date
Publication date
Application filed by Japan AE Power Systems Corp filed Critical Japan AE Power Systems Corp
Priority to JP2008162029A priority Critical patent/JP5444644B2/ja
Publication of JP2010003919A publication Critical patent/JP2010003919A/ja
Application granted granted Critical
Publication of JP5444644B2 publication Critical patent/JP5444644B2/ja
Active legal-status Critical Current
Anticipated expiration legal-status Critical

Links

Images

Landscapes

  • Regulation Of General Use Transformers (AREA)
  • Housings And Mounting Of Transformers (AREA)

Abstract

【課題】安価で設置が容易で、防音効果の高い防音構造を有した静止誘導機器を提供する。
【解決手段】タンク2の下部には底板2bを全周にわたって包囲するように板状部材をスカート状に形成したスカート状遮蔽部材10を配置し、このスカート状遮蔽部材10の上端部は側板2aに溶接などによって取り付け、また下端部はコンクリート基礎11に接する程度に成し、底板2bとコンクリート基礎11間にはほぼ封じられた空間部12を形成し、底板2bを通してコンクリート基礎11側に伝播された振動を空間部12に閉じ込め、また、この空間部12内に配置した吸音材9で空気の振動を吸収する。
【選択図】図2

Description

本発明は、タンク内に絶縁媒体と共に機器本体を配置して構成した変圧器やリアクトル等の静止誘導機器に関する。
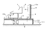
一般的な静止誘導機器は、図4に示したように巻線と鉄心からなる機器本体1をタンク2内に配置すると共に、タンク2内に絶縁性能を高めるために絶縁油などの絶縁媒体3を充填して構成されており、その運転中に、タンク2に収納された機器本体1に電圧が加えられると、鉄心に磁気ひずみ(鉄心に磁束が通ると磁束の通る方向に伸びる現象)により振動が発生する。この振動は図中に矢印で示すように、機器本体1とタンク2との接触部より伝わる固体伝達振動aや、タンク2内に充填した絶縁媒体3を介して伝わる油中伝播振動bによってタンク2に伝わり、この振動によって騒音が発生する。
従来の静止誘導機器におけるこの種の騒音対策としては、固体伝播振動aによるタンク底面への振動伝播を低減するためにタンク2の下部に配置したべース鋼材8とコンクリート基礎11との間に防振ゴム6を設けた構造(例えば、特許文献1を参照)が知られている。また油中伝播振動bによりタンク2の振動を低減するためにタンク2の側板外周に制振鋼板5を取り付けた構造(例えば、特許文献2を参照)や、また固体伝達振動aおよび油中伝播振動bにより発生する騒音を低減するためにタンク2全体を防音壁4で囲った構造(例えば、特許文献3を参照)なども知られている。
特開平8−8122号公報 特開昭58−75820号公報 特開平4−96207号公報
しかしながら、上述した従来の静止誘導機器において、特許文献1の記載の構造では、タンク2の底面からべース鋼材8に伝播した固体伝播振動aがコンクリート基礎11に伝わる振動を抑制することはできるが、油中伝播振動bの影響に対しては効果が低い。また特許文献2に記載したようにタンク2の側部外周に制振鋼板5を直接取り付ける構造では、タンク2の側部の振動を抑制する効果を期待できるが、この制振鋼板5の切断や溶接、折り曲げといった加工が難しいため、高価なタンク2となってしまう。さらに、特許文献3に記載の構造では、静止誘導器全体を鉄板に吸音材を敷き詰めた防音壁4やコンクリートの建屋で覆うために、設置工事が大掛かりになり非常に高価なものになってしまう。
そこで本発明の目的は、安価で設置が容易で、防音効果の高い防音構造を有した静止誘導機器を提供することにある。
本発明は上記目的を達成するために、コンクリート基礎上にべース材を介在してタンクを設置し、このタンク内に絶縁媒体と共に機器本体を配置して構成した静止誘導機器において、前記タンクは前記ベース材上に載置した底板を有し、この底板の全周を取り囲んで配置すると共に、前記底板と前記コンクリート基礎との間に位置する空間部を形成するスカート状遮蔽部材を設け、このスカート状遮蔽部材によって形成した空間部に吸音材を配置したことを特徴とする。
請求項2に記載の本発明は、請求項1に記載の静止誘導機器において、前記スカート状遮蔽部材は鋼材で構成し、前記吸音材は、グラスウールで構成したことを特徴とする。
また請求項3に記載の本発明は、請求項1に記載の静止誘導機器において、前記タンクの側板の板厚を、前記底板の板厚より大きくしたことを特徴とする。
本発明の静止誘導機器によれば、静止誘導機器のタンク底面から伝播する振動を比較的簡単な構成のスカート状遮蔽部材によって、タンク底面に形成した空間部に効果的に閉じ込めることができ、しかも、この空間部内に配置した吸音材によって吸収して減衰させることができ、従来の防音壁のような大がかりな付設工事が必要でなくなり、加工容易で防音効果の高い防音構造を有した静止誘導機器とすることができる。
請求項2に記載の本発明の静止誘導機器によれば、静止誘導機器のタンク底面から伝播する振動を鋼材から成る比較的簡単な構成のスカート状遮蔽部材によって、タンク底面に形成した空間部に効果的に閉じこめることができ、しかも、この空間部内に配置したグラスウールから成る吸音材によって吸収して減衰させることができ、従来の防音壁のような大がかりな付設工事が必要でなくなり、入手の容易な部材を追加するだけで防音効果の高い防音構造を有した静止誘導機器とすることができる。
請求項3に記載の本発明の静止誘導機器によれば、タンクの側板の板厚を底板の板厚よりも大きくすると、絶縁媒体中を伝播する油中伝播振動がタンクの最も剛性の低い部分に集まる特性によって底板に集中させることになり、固体電波振動だけでなく油中伝播振動をも空間部に導いて閉じこめて、吸音材で吸音することができるようになり、一層効果的に騒音低減を図ることができる。
以下、本発明の実施の形態を図面に基づいて説明する。
図1は、本発明の一実施の形態による静止誘導機器を示す縦断面図である。
コンクリート基礎11上には複数のH型鋼やI型鋼等で構成したベース材8を配置し、このベース材8上にタンク2を搭載させ、タンク2内に巻線と鉄心等からなる機器本体1を配置すると共に、絶縁油などの絶縁媒体3を充填している。タンク2は側板2aと、底板2bおよび上板2cとから密閉構造に成されている。タンク2の下部には底板2bを全周にわたって包囲するように板状部材をスカート状に形成した鋼材から成るスカート状遮蔽部材10を配置し、このスカート状遮蔽部材10の上端部位はタンク2の側板2aに溶接などによって取り付けられ、またスカート状遮蔽部材10の下端部はコンクリート基礎11に接する程度に成されている。
このスカート状遮蔽部材10の付設によって、タンク2の底板2bとコンクリート基礎11間にはほぼ封じられた空間部12が形成されており、タンク2の底板2bを通してコンクリート基礎11側に伝播される振動は、この空間部12に閉じ込められることになる。また、この空間部12内には、この空間部12からさらに外周方向へ伝播する振動漏洩を遮蔽制限するために、空間部12内の空気の振動を吸収するグラスウールなどの吸音材9が配置されている。
上述したようにスカート状遮蔽部材10は、タンク2の底板2bとコンクリート基礎11間にほぼ封じられた空間部12を形成するものであるが、タンク2の下部に配置したベース材8の形状や長さによって配置状の制約を受けることも考えられる。そこで、ベース材8の形状や長さを制限してタンク2の底板2bよりも外側に突出しないようにすると、スカート状遮蔽部材10としては簡単な形状で空間部12を形成することができ、タンク2の側板2aへの溶接も容易になる。
また、上述したスカート状遮蔽部材10の下端は、コンクリート基礎11にほぼ接する位置までに達しているが、このスカート状遮蔽部材10は、上述したようにタンク2の底板2bとコンクリート基礎11間に形成された空間部12からさらに外周方向への振動漏洩を遮蔽するものであるから、その下端とコンクリート基礎11との間は期待される遮蔽効果に応じて決定すれば良い。このようにしてタンク2の底板2bとコンクリート基礎11間の空間部12は、スカート状遮蔽部材10によって振動漏洩に対して実質的に閉じられ、この制限された空間内部に空気の振動を吸収するように吸音材9を配置している。
変圧器等の静止誘導機器では、要部拡大図である図2に示すようにコンクリート基礎11の上にべース材8を適当な間隔で並べ、その上にタンク2を設置しているため、コンクリート基礎11とタンク2の底板2bとの間にはベース鋼材8の高さに相当する空間部12が形成されている。一方、タンク2の底板2bには、機器本体1の巻線や鉄心から発生して絶縁媒体3を介して伝わる油中伝播振動bと、機器本体1とタンク2との接触部より伝わる固体伝播振動aとの二系統の振動が伝わるため、タンク2の中では最も騒音エネルギーが発生する部分である。
従って、タンク2の底板2bに対して振動対策を施さない場合、機器本体1からタンク2の底板2bに伝わった固体伝播振動aは、やがてタンク2の底板2bからコンクリート基礎11側に伝播され主要な騒音源となってしまう。しかしながら、上述した静止誘導機器では、タンク2の底板2bとコンクリート基礎11との間の空間部12をスカート状遮蔽部材10によってほぼ遮蔽しているため、底板2bから伝播された二系統の振動はスカート状遮蔽部材10によって同空間部12に閉じ込めることができ、従来のように空気の振動が外部へ直接的に漏れることがない。また、スカート状遮蔽部材10によって制限された空間部12だけでは、底板2bから発する空気の振動がコンクリート基礎11などで反響し無限に膨れ上がってしまう現象が生じてしまうが、この空間部12内に吸音材9が配置されているため、この吸音材9で空気の振動を吸収することができる。
このような静止誘導機器によれば、タンク2の底板2bとコンクリート基礎11との間の空間部12をスカート状遮蔽部材10によって制限し、この制限された空間部12に底板2bから伝播した振動を閉じ込め、吸音材9で振動を吸収することができるので、主要な騒音源からの騒音発生を抑制することができる。しかも、タンク2の底板2bとコンクリート基礎11との間の空間部12を利用しているので、見掛け上新たな装置を追加した構成にはならず、据付面積を増大させることもなく、従来とほぼ同様のすっきりした構成で騒音を効果的に抑制することができる。
また、従来の防振ゴムを設置した静止誘導機器では、直接、機器自重による負荷が常時防振ゴムに加わる構造であったが、上述したスカート状遮蔽部材10および吸音材9には機器自重による負荷が常時加わることがないから、経過劣化により耐久性が失われたり減音効果が弱まることがなく、寿命による交換作業も必要なくなる。さらに、騒音を大きく低減する効果がある従来の防音壁に比べて、タンク2全体を覆う必要がないため、最良の実施の形態では従来の場合と同じ据付面積で済み、輸送も容易であり、新たな鉄鋼材や吸音材の使用量を少なくしてコストを低減したり、工事期間の短縮を図ることができる。
さらに望ましい実施の形態では、タンク2の底板2bとコンクリート基礎11との間の空間部12を制限するために設けたスカート状遮蔽部材10は、タンク2の側板2aの下端部外周を包囲するように配置しているため、このスカート状遮蔽部材10によってベース材8や吸音材9がほぼ覆われて隠されることになり、見掛け上、外観をすっきりとすることもできる。
図3は、本発明の他の実施の形態による静止誘導機器を示す要部拡大断面図である。
この実施の形態における静止誘導機器でも、先の実施の形態の場合と同様にタンク2の側板2aにおける下部全周にスカート状遮蔽部材10を取り付け、このスカート状遮蔽部材10によってタンク2の底板2bとコンクリート基礎11との間にほぼ閉じられた空間部12を形成し、この空間部12内に空気の振動を吸収する吸音材9を配置している。上述したようにこの騒音抑制構成によって、タンク2の底板2bから伝播された振動を空間部12に閉じ込め、吸音材9で空気振動を吸収することができるので、主要な騒音発生を抑制することができる。このような騒音抑制効果は、タンク2の底板2bから伝播して空間部12に至る振動、特に、固体伝播振動aに対して有効に作用する。
しかし、この実施の形態における静止誘導機器では、タンク2の底板2bから伝播してタンク2の底板2bとコンクリート基礎11との間に形成された空間部12に至る振動として、固体伝播振動aだけでなく、油中伝播振動bに対しても一層有効に作用するようにしている。つまり、要部拡大図である図3に示すように、タンク2の側板2aの板厚αを底板2bの板厚βよりも大きくしている。このα>βの関係により、側板2aの剛性が上げられ、これに対して底板2bの剛性が最も低くなっている。側板2aの高さ方向全体に厚みを増して剛性を高めてもよいし、側板2aに補強部材を溶接することにより剛性を高めてもよい。
側板2aの剛性を底板2bの剛性よりも大きくすると、振動がタンク2の最も剛性の低い部分に集まる特性によって、油中伝播振動bによる振動が先の実施の形態の場合よりも底板2bに集中するようになる。従って、先の実施の形態の場合のように固体伝播振動aによる振動を空間部12に伝播して閉じ込めるだけでなく、さらに油中伝播振動bによる振動も底板2bに集中させて同じく空間部12に伝播して閉じ込めることができるようになり、吸音材9で吸音することによって、一層効果的に騒音低減効果を向上させることができる。
本発明は、図示の静止誘導機器に限らず、その他の構成のものにも適用することができる。
本発明の一実施の形態による静止誘導機器の縦断面図である。 図1に示した静止誘導機器の要部拡大図である。 本発明の他の実施の形態による静止誘導機器の要部拡大断面図である。 従来の静止誘導機器を示す縦断面図である。
符号の説明
1 機器本体
2 タンク
2a 側板
2b 底板
3 絶縁媒体
8 べース材
9 吸音材
10 スカート状遮蔽部材
11 コンクリート基礎
12 空間部

Claims (3)

  1. コンクリート基礎上にべース材を介在してタンクを設置し、このタンク内に絶縁媒体と共に機器本体を配置して構成した静止誘導機器において、前記タンクは前記ベース材上に載置した底板を有し、この底板の全周を取り囲んで配置すると共に、前記底板と前記コンクリート基礎との間に位置する空間部を形成するスカート状遮蔽部材を設け、このスカート状遮蔽部材によって形成した空間部に吸音材を配置したことを特徴とする静止誘導機器。
  2. 請求項1に記載の静止誘導機器において、前記スカート状遮蔽部材は、鋼材で構成し、前記吸音材は、グラスウールで構成したことを特徴とする静止誘導機器。
  3. 請求項1に記載の静止誘導機器において、前記タンクの側板の板厚を、前記底板の板厚より大きくしたことを特徴とする静止誘導機器。
JP2008162029A 2008-06-20 2008-06-20 静止誘導機器 Active JP5444644B2 (ja)

Priority Applications (1)

Application Number Priority Date Filing Date Title
JP2008162029A JP5444644B2 (ja) 2008-06-20 2008-06-20 静止誘導機器

Applications Claiming Priority (1)

Application Number Priority Date Filing Date Title
JP2008162029A JP5444644B2 (ja) 2008-06-20 2008-06-20 静止誘導機器

Publications (2)

Publication Number Publication Date
JP2010003919A true JP2010003919A (ja) 2010-01-07
JP5444644B2 JP5444644B2 (ja) 2014-03-19

Family

ID=41585382

Family Applications (1)

Application Number Title Priority Date Filing Date
JP2008162029A Active JP5444644B2 (ja) 2008-06-20 2008-06-20 静止誘導機器

Country Status (1)

Country Link
JP (1) JP5444644B2 (ja)

Cited By (2)

* Cited by examiner, † Cited by third party
Publication number Priority date Publication date Assignee Title
JP2020057728A (ja) * 2018-10-04 2020-04-09 株式会社日立製作所 静止誘導電器
KR102131131B1 (ko) * 2020-04-17 2020-07-08 주식회사 케이피일렉트릭 소음저감 주상변압기

Citations (10)

* Cited by examiner, † Cited by third party
Publication number Priority date Publication date Assignee Title
JPS5226423A (en) * 1975-08-25 1977-02-28 Toshiba Corp Low noise automatic cooling dry type transformer
JPS5854616A (ja) * 1981-09-07 1983-03-31 トランス・フオルマト−レン・ウニオン・アクチエンゲゼルシヤフト 変圧器
JPS6267806A (ja) * 1985-09-20 1987-03-27 Mitsubishi Electric Corp 静止誘導機器
JPS62112123U (ja) * 1986-01-07 1987-07-17
JPH01220809A (ja) * 1988-02-29 1989-09-04 Mitsubishi Electric Corp 電磁誘導機器の減音装置
JPH0250407A (ja) * 1988-08-12 1990-02-20 Toshiba Corp 静止誘導電器
JPH0375522U (ja) * 1989-11-24 1991-07-29
JPH09260149A (ja) * 1996-03-22 1997-10-03 Daihen Corp アモルファス鉄心変圧器
JPH10284328A (ja) * 1997-04-07 1998-10-23 Meidensha Corp 防音油入静止誘導機器
JPH1145810A (ja) * 1997-07-28 1999-02-16 Hokuriku Denki Seizo Kk 変圧器用担荷台と変圧器

Patent Citations (10)

* Cited by examiner, † Cited by third party
Publication number Priority date Publication date Assignee Title
JPS5226423A (en) * 1975-08-25 1977-02-28 Toshiba Corp Low noise automatic cooling dry type transformer
JPS5854616A (ja) * 1981-09-07 1983-03-31 トランス・フオルマト−レン・ウニオン・アクチエンゲゼルシヤフト 変圧器
JPS6267806A (ja) * 1985-09-20 1987-03-27 Mitsubishi Electric Corp 静止誘導機器
JPS62112123U (ja) * 1986-01-07 1987-07-17
JPH01220809A (ja) * 1988-02-29 1989-09-04 Mitsubishi Electric Corp 電磁誘導機器の減音装置
JPH0250407A (ja) * 1988-08-12 1990-02-20 Toshiba Corp 静止誘導電器
JPH0375522U (ja) * 1989-11-24 1991-07-29
JPH09260149A (ja) * 1996-03-22 1997-10-03 Daihen Corp アモルファス鉄心変圧器
JPH10284328A (ja) * 1997-04-07 1998-10-23 Meidensha Corp 防音油入静止誘導機器
JPH1145810A (ja) * 1997-07-28 1999-02-16 Hokuriku Denki Seizo Kk 変圧器用担荷台と変圧器

Cited By (3)

* Cited by examiner, † Cited by third party
Publication number Priority date Publication date Assignee Title
JP2020057728A (ja) * 2018-10-04 2020-04-09 株式会社日立製作所 静止誘導電器
JP7232608B2 (ja) 2018-10-04 2023-03-03 株式会社日立製作所 静止誘導電器
KR102131131B1 (ko) * 2020-04-17 2020-07-08 주식회사 케이피일렉트릭 소음저감 주상변압기

Also Published As

Publication number Publication date
JP5444644B2 (ja) 2014-03-19

Similar Documents

Publication Publication Date Title
KR102692228B1 (ko) 진동감쇠장치
JP5444644B2 (ja) 静止誘導機器
JP2010212350A (ja) 静止誘導電器アセンブリ
JP2014107442A (ja) 電機機器
JP2013200426A (ja) 吸音構造体および吸音構造体を備えた電気機器
JP6423688B2 (ja) 静止誘導電器
JP7215827B2 (ja) 静止誘導電気機器の防音装置
KR20140128036A (ko) 변압기 외함의 차음구조
JP6417189B2 (ja) 静止誘導電器
KR102782542B1 (ko) 변압기
JP2013254881A (ja) 電気機器
CN111864595A (zh) 一种降噪消声型箱式变电站外壳
JP2000133524A (ja) 静止誘導電磁機器
JP7232608B2 (ja) 静止誘導電器
JP2009076523A (ja) 防音パネルおよび防音壁
JP3658909B2 (ja) 電力用静止機器の防振構造
JP2012146776A (ja) 静止誘導電器
KR20210003348A (ko) 흡음장치를 구비하는 변압기
JPH1140442A (ja) 静止誘導電器の防音装置
JP2015070182A (ja) 静止誘導電器
JP6173237B2 (ja) 静止誘導機器
JP2007120152A (ja) クリーンルームの防振架構構造
JPH088124A (ja) 静止誘導電器
JPH10284328A (ja) 防音油入静止誘導機器
JPH09306745A (ja) 静止誘導電器

Legal Events

Date Code Title Description
A621 Written request for application examination

Free format text: JAPANESE INTERMEDIATE CODE: A621

Effective date: 20110217

A977 Report on retrieval

Free format text: JAPANESE INTERMEDIATE CODE: A971007

Effective date: 20121031

A131 Notification of reasons for refusal

Free format text: JAPANESE INTERMEDIATE CODE: A131

Effective date: 20121106

A711 Notification of change in applicant

Free format text: JAPANESE INTERMEDIATE CODE: A712

Effective date: 20121101

RD03 Notification of appointment of power of attorney

Free format text: JAPANESE INTERMEDIATE CODE: A7423

Effective date: 20121213

A521 Written amendment

Free format text: JAPANESE INTERMEDIATE CODE: A523

Effective date: 20121214

A521 Written amendment

Free format text: JAPANESE INTERMEDIATE CODE: A821

Effective date: 20121213

A711 Notification of change in applicant

Free format text: JAPANESE INTERMEDIATE CODE: A712

Effective date: 20130513

A02 Decision of refusal

Free format text: JAPANESE INTERMEDIATE CODE: A02

Effective date: 20130625

A521 Written amendment

Free format text: JAPANESE INTERMEDIATE CODE: A523

Effective date: 20130910

A911 Transfer of reconsideration by examiner before appeal (zenchi)

Free format text: JAPANESE INTERMEDIATE CODE: A911

Effective date: 20130924

TRDD Decision of grant or rejection written
A01 Written decision to grant a patent or to grant a registration (utility model)

Free format text: JAPANESE INTERMEDIATE CODE: A01

Effective date: 20131126

A61 First payment of annual fees (during grant procedure)

Free format text: JAPANESE INTERMEDIATE CODE: A61

Effective date: 20131209

R150 Certificate of patent or registration of utility model

Ref document number: 5444644

Country of ref document: JP

Free format text: JAPANESE INTERMEDIATE CODE: R150

Free format text: JAPANESE INTERMEDIATE CODE: R150