JP2010003901A - 光電変換素子及び固体撮像素子 - Google Patents
光電変換素子及び固体撮像素子 Download PDFInfo
- Publication number
- JP2010003901A JP2010003901A JP2008161770A JP2008161770A JP2010003901A JP 2010003901 A JP2010003901 A JP 2010003901A JP 2008161770 A JP2008161770 A JP 2008161770A JP 2008161770 A JP2008161770 A JP 2008161770A JP 2010003901 A JP2010003901 A JP 2010003901A
- Authority
- JP
- Japan
- Prior art keywords
- photoelectric conversion
- layer
- conversion element
- region
- light
- Prior art date
- Legal status (The legal status is an assumption and is not a legal conclusion. Google has not performed a legal analysis and makes no representation as to the accuracy of the status listed.)
- Granted
Links
Images
Classifications
-
- H—ELECTRICITY
- H10—SEMICONDUCTOR DEVICES; ELECTRIC SOLID-STATE DEVICES NOT OTHERWISE PROVIDED FOR
- H10F—INORGANIC SEMICONDUCTOR DEVICES SENSITIVE TO INFRARED RADIATION, LIGHT, ELECTROMAGNETIC RADIATION OF SHORTER WAVELENGTH OR CORPUSCULAR RADIATION
- H10F39/00—Integrated devices, or assemblies of multiple devices, comprising at least one element covered by group H10F30/00, e.g. radiation detectors comprising photodiode arrays
- H10F39/011—Manufacture or treatment of image sensors covered by group H10F39/12
- H10F39/016—Manufacture or treatment of image sensors covered by group H10F39/12 of thin-film-based image sensors
-
- H—ELECTRICITY
- H10—SEMICONDUCTOR DEVICES; ELECTRIC SOLID-STATE DEVICES NOT OTHERWISE PROVIDED FOR
- H10F—INORGANIC SEMICONDUCTOR DEVICES SENSITIVE TO INFRARED RADIATION, LIGHT, ELECTROMAGNETIC RADIATION OF SHORTER WAVELENGTH OR CORPUSCULAR RADIATION
- H10F39/00—Integrated devices, or assemblies of multiple devices, comprising at least one element covered by group H10F30/00, e.g. radiation detectors comprising photodiode arrays
- H10F39/10—Integrated devices
- H10F39/12—Image sensors
- H10F39/18—Complementary metal-oxide-semiconductor [CMOS] image sensors; Photodiode array image sensors
- H10F39/182—Colour image sensors
- H10F39/1825—Multicolour image sensors having stacked structure, e.g. NPN, NPNPN or multiple quantum well [MQW] structures
-
- H—ELECTRICITY
- H10—SEMICONDUCTOR DEVICES; ELECTRIC SOLID-STATE DEVICES NOT OTHERWISE PROVIDED FOR
- H10K—ORGANIC ELECTRIC SOLID-STATE DEVICES
- H10K30/00—Organic devices sensitive to infrared radiation, light, electromagnetic radiation of shorter wavelength or corpuscular radiation
- H10K30/10—Organic devices sensitive to infrared radiation, light, electromagnetic radiation of shorter wavelength or corpuscular radiation comprising heterojunctions between organic semiconductors and inorganic semiconductors
-
- H—ELECTRICITY
- H10—SEMICONDUCTOR DEVICES; ELECTRIC SOLID-STATE DEVICES NOT OTHERWISE PROVIDED FOR
- H10K—ORGANIC ELECTRIC SOLID-STATE DEVICES
- H10K39/00—Integrated devices, or assemblies of multiple devices, comprising at least one organic radiation-sensitive element covered by group H10K30/00
- H10K39/30—Devices controlled by radiation
-
- H—ELECTRICITY
- H10—SEMICONDUCTOR DEVICES; ELECTRIC SOLID-STATE DEVICES NOT OTHERWISE PROVIDED FOR
- H10K—ORGANIC ELECTRIC SOLID-STATE DEVICES
- H10K39/00—Integrated devices, or assemblies of multiple devices, comprising at least one organic radiation-sensitive element covered by group H10K30/00
- H10K39/30—Devices controlled by radiation
- H10K39/32—Organic image sensors
-
- H—ELECTRICITY
- H10—SEMICONDUCTOR DEVICES; ELECTRIC SOLID-STATE DEVICES NOT OTHERWISE PROVIDED FOR
- H10F—INORGANIC SEMICONDUCTOR DEVICES SENSITIVE TO INFRARED RADIATION, LIGHT, ELECTROMAGNETIC RADIATION OF SHORTER WAVELENGTH OR CORPUSCULAR RADIATION
- H10F39/00—Integrated devices, or assemblies of multiple devices, comprising at least one element covered by group H10F30/00, e.g. radiation detectors comprising photodiode arrays
- H10F39/80—Constructional details of image sensors
- H10F39/805—Coatings
- H10F39/8057—Optical shielding
-
- H—ELECTRICITY
- H10—SEMICONDUCTOR DEVICES; ELECTRIC SOLID-STATE DEVICES NOT OTHERWISE PROVIDED FOR
- H10K—ORGANIC ELECTRIC SOLID-STATE DEVICES
- H10K2102/00—Constructional details relating to the organic devices covered by this subclass
- H10K2102/10—Transparent electrodes, e.g. using graphene
- H10K2102/101—Transparent electrodes, e.g. using graphene comprising transparent conductive oxides [TCO]
- H10K2102/103—Transparent electrodes, e.g. using graphene comprising transparent conductive oxides [TCO] comprising indium oxides, e.g. ITO
-
- H—ELECTRICITY
- H10—SEMICONDUCTOR DEVICES; ELECTRIC SOLID-STATE DEVICES NOT OTHERWISE PROVIDED FOR
- H10K—ORGANIC ELECTRIC SOLID-STATE DEVICES
- H10K85/00—Organic materials used in the body or electrodes of devices covered by this subclass
- H10K85/60—Organic compounds having low molecular weight
- H10K85/615—Polycyclic condensed aromatic hydrocarbons, e.g. anthracene
- H10K85/621—Aromatic anhydride or imide compounds, e.g. perylene tetra-carboxylic dianhydride or perylene tetracarboxylic di-imide
-
- H—ELECTRICITY
- H10—SEMICONDUCTOR DEVICES; ELECTRIC SOLID-STATE DEVICES NOT OTHERWISE PROVIDED FOR
- H10K—ORGANIC ELECTRIC SOLID-STATE DEVICES
- H10K85/00—Organic materials used in the body or electrodes of devices covered by this subclass
- H10K85/60—Organic compounds having low molecular weight
- H10K85/631—Amine compounds having at least two aryl rest on at least one amine-nitrogen atom, e.g. triphenylamine
- H10K85/633—Amine compounds having at least two aryl rest on at least one amine-nitrogen atom, e.g. triphenylamine comprising polycyclic condensed aromatic hydrocarbons as substituents on the nitrogen atom
-
- H—ELECTRICITY
- H10—SEMICONDUCTOR DEVICES; ELECTRIC SOLID-STATE DEVICES NOT OTHERWISE PROVIDED FOR
- H10K—ORGANIC ELECTRIC SOLID-STATE DEVICES
- H10K85/00—Organic materials used in the body or electrodes of devices covered by this subclass
- H10K85/60—Organic compounds having low molecular weight
- H10K85/649—Aromatic compounds comprising a hetero atom
- H10K85/653—Aromatic compounds comprising a hetero atom comprising only oxygen as heteroatom
-
- Y—GENERAL TAGGING OF NEW TECHNOLOGICAL DEVELOPMENTS; GENERAL TAGGING OF CROSS-SECTIONAL TECHNOLOGIES SPANNING OVER SEVERAL SECTIONS OF THE IPC; TECHNICAL SUBJECTS COVERED BY FORMER USPC CROSS-REFERENCE ART COLLECTIONS [XRACs] AND DIGESTS
- Y02—TECHNOLOGIES OR APPLICATIONS FOR MITIGATION OR ADAPTATION AGAINST CLIMATE CHANGE
- Y02E—REDUCTION OF GREENHOUSE GAS [GHG] EMISSIONS, RELATED TO ENERGY GENERATION, TRANSMISSION OR DISTRIBUTION
- Y02E10/00—Energy generation through renewable energy sources
- Y02E10/50—Photovoltaic [PV] energy
- Y02E10/549—Organic PV cells
Landscapes
- Chemical & Material Sciences (AREA)
- Inorganic Chemistry (AREA)
- Physics & Mathematics (AREA)
- Electromagnetism (AREA)
- Solid State Image Pick-Up Elements (AREA)
- Light Receiving Elements (AREA)
- Electroluminescent Light Sources (AREA)
Abstract
【解決手段】一対の電極101,104と、一対の電極101,104の間に配置された光電変換層102と、一対の電極101,104のうち一方と光電変換層102とに挟まれた少なくとも一つの応力緩衝層を備え、応力緩衝層の少なくとも一部が結晶層108を含む積層構造である。
【選択図】図1
Description
また、光電変換素子には、電極からのキャリア注入(暗電流)に対して障壁となるブロッキング層や結晶化防止層などの機能層を、該電極と光電変換層との間に設けた構成のものも知られている。一対の電極間に光電変換層が設けられた構成の光電変換素子としては、例えば下記特許文献に示すものがある。
(1)一対の電極と、
前記一対の電極の間に配置された光電変換層と、
前記一対の電極のうち一方と前記光電変換層とに挟まれた少なくとも一つの応力緩衝層を備えた光電変換素子であって、
前記応力緩衝層の少なくとも一部が結晶層を含む積層構造である光電変換素子。
(2)上記(1)に記載の光電変換素子であって、
前記応力緩衝層が結晶層とアモルファス層が交互に配置された構成である光電変換素子。
(3)上記(2)に記載の光電変換素子であって、
前記応力緩衝層が結晶層とアモルファス層とを交互に2つづつ積層した構造を含む光電変換素子。
(4)上記(2)又は(3)に記載の光電変換素子であって、
前記応力緩衝層の前記結晶層と前記アモルファス層の厚みがそれぞれ0.5〜200nmである光電変換素子。
(5)上記(1)から(4)のいずれか1つに記載の光電変換素子であって、
前記応力緩衝層が、前記一対の電極への電圧印加時に前記一対の電極の一方から前記光電変換層に電荷が注入されるのを抑制する電荷ブロッキング層を兼ねる光電変換素子。
(6)上記(1)から(5)のいずれか1つに記載の光電変換素子であって、
前記一対の電極に外部から印加される電圧を前記一対の電極間の距離で割った値が1.0×105V/cm〜1.0×107V/cmである光電変換素子。
(7)上記(1)から(6)のいずれか1つに記載の光電変換素子であって、
少なくとも1つの前記光電変換層が上方に積層された半導体基板と、
前記半導体基板内に形成され、前記光電変換層で発生した電荷を蓄積するための電荷蓄積部と、
前記一対の電極のうちの前記電荷を取り出すための電極と、前記電荷蓄積部とを電気的に接続する接続部とを備える光電変換素子。
(8)上記(7)に記載の光電変換素子であって、
前記半導体基板内に、前記光電変換層を透過した光を吸収し、該光に応じた電荷を発生してこれを蓄積する基板内光電変換部を備える光電変換素子。
(9)上記(8)に記載の光電変換素子であって、
前記基板内光電変換部が、前記半導体基板内に積層されたそれぞれ異なる色の光を吸収する複数のフォトダイオードである光電変換素子。
(10)上記(8)に記載の光電変換素子であって、
前記基板内光電変換部が、前記半導体基板内の入射光の入射方向に対して垂直な方向に配列されたそれぞれ異なる色の光を吸収する複数のフォトダイオードである光電変換素子。
(11)上記(9)記載の光電変換素子であって、
前記半導体基板上方に積層された前記光電変換層が1つであり、
前記複数のフォトダイオードが、青色の光を吸収可能な位置にpn接合部が形成された青色用フォトダイオードと、赤色の光を吸収可能な位置にpn接合部が形成された赤色用フォトダイオードであり、
前記光電変換層が緑色の光を吸収するものである光電変換素子。
(12)上記(7)から(11)のいずれか1つに記載の光電変換素子をアレイ状に多数配置した固体撮像素子であって、
前記多数の光電変換素子の各々の前記電荷蓄積部に蓄積された前記電荷に応じた信号を読み出す信号読み出し部を備える固体撮像素子。
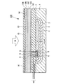
図1は、本発明の光電変換素子の第1実施形態を示す断面模式図である。また、図2は、第1実施形態の光電変換素子の変形例を示す断面模式図である。
図1に示す光電変換素子は、基板Sと、該基板S上に形成された下部電極(画素電極)101と、下部電極101上に形成された光電変換層102と、光電変換層102上に形成された電子ブロッキング層105と、電子ブロッキング層105上に形成された上部電極(対向電極)104とを備える。
図3は、本発明の第2実施形態を説明するための固体撮像素子の1画素分の断面模式図である。図3において図1及び図2と同等の構成には同一符号を付してある。
固体撮像素子100は、図3に示す1画素が同一平面上でアレイ状に多数配置されたものであり、この1画素から得られる信号によって画像データの1つの画素データを生成することができる。
本実施形態では、図3のシリコン基板1内に2つのフォトダイオードを積層するのではなく、入射光の入射方向に対して垂直な方向に2つのフォトダイオードを配列して、p型シリコン基板内で2色の光を検出するようにしたものである。
図4に示す固体撮像素子200の1画素は、p型シリコン基板17と、p型シリコン基板17上方に形成された下部電極101、下部電極101上に形成された正孔ブロッキング層103と、該正孔ブロッキング層103上に形成された光電変換層102と、該光電変換層102上に形成された電子ブロッキング層105と、電子ブロッキング層105上に形成された上部電極104とを備えた構成の光電変換素子とを含んで構成され、光電変換素子上には開口の設けられた遮光膜34が形成されている。また、上部電極104上には透明な絶縁膜33が形成されている。ここで、電子ブロッキング層105及び正孔ブロッキング層103のうち少なくとも一方に、結晶層を含む積層構造である応力緩衝層が設けられている。
なお、信号読出し部は、MOS回路ではなくCCDとアンプによって構成してもよい。つまり、n領域18、n領域20、及びn+領域23に蓄積された電子をp型シリコン基板17内に形成したCCDに読み出し、これをCCDでアンプまで転送して、アンプからその電子に応じた信号を出力させるような信号読出し部であってもよい。
本実施形態の固体撮像素子は、シリコン基板内にフォトダイオードを設けず、シリコン基板上方に複数(ここでは3つ)の光電変換素子を積層した構成である。
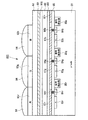
図5は、本発明の第4実施形態を説明するための固体撮像素子の1画素分の断面模式図である。
図5に示す固体撮像素子300は、R光電変換素子と、B光電変換素子と、G光電変換素子とをシリコン基板41の上方に順に積層した構成である。
R光電変換素子は、シリコン基板41上方に、下部電極101r、下部電極101r上に形成された正孔ブロッキング層103r,該正孔ブロッキング層103上に積層された光電変換層102r、該光電変換層102r上に形成された電子ブロッキング層105r、該電子ブロッキング層105r上に積層された上部電極104rを含む。正孔ブロッキング層103r及び電子ブロッキング層105rのうち少なくとも一方を応力緩衝層とする。
図6は、本発明の第5実施形態を説明するための固体撮像素子の断面模式図である。
p型シリコン基板81上方の同一面上の行方向とこれに直交する列方向には、主としてRの波長域の光を透過するカラーフィルタ93rと、主としてGの波長域の光を透過するカラーフィルタ93gと、主としてBの波長域の光を透過するカラーフィルタ93bとの3種類のカラーフィルタがそれぞれ多数配列されている。
25mm角のITO電極付ガラス基板を、アセトン、セミコクリーン、イソプロピルアルコール(IPA)でそれぞれ15分超音波洗浄した。最後にIPA煮沸洗浄を行った後、UV/O3洗浄を行った。その基板を蒸着装置の無機成膜室に搬送し、1×10−4Pa以下に真空引きした後、基板ホルダーを回転させながら、ITO電極上に正孔ブロッキング層として、純度99.99%(フルウチ化学)のCeO2(酸化セリウム)を蒸着速度1.0Å/secに保ちながら、500Åとなるように蒸着した。このとき、CeO2の蒸着には高温が必要となるため、ルツボ中のCeO2粉末を直接タングステンフィラメントで加熱することにより蒸着を行った。この基板ホルダーを、真空中で有機成膜室に移動し、十分な昇華精製を施した4-dicyanomethylene-2-methyl-6-(p-dimethylaminostyryl)-4H-pyran(DCM)を蒸着速度3.0Å/secに保ちながら、1000Åとなるように蒸着して光電変換層を形成した。
このとき、最下層のITO電極と、ITO対向電極とが形成する光電変換領域の面積は2mm×2mmとした。この基板を大気に曝すことなく、水分、酸素をそれぞれ1ppm以下に保ったグローブボックスに搬送し、UV硬化性樹脂を用いて、吸湿剤を張ったガラスで封止を行った。
実施例1において、応力緩衝層として、NiOとEBM−1を交互にそれぞれ5回ずつ蒸着により積層し、各層の膜厚は20nmとし、合計200nmの応力緩衝層を成膜したこと以外は実施例1と同様にしてS/N比等を算出した。
実施例1において、応力緩衝層として、NiOとEBM−1を交互にそれぞれ10回ずつ蒸着により積層し、各層の膜厚は10nmとし、合計200nmの応力緩衝層を成膜したこと以外は実施例1と同様にしてS/N比等を算出した。
実施例1と同様に洗浄した基板を蒸着装置の有機成膜室に移動し1×10−4Pa以下に真空引きした後、基板ホルダーを回転させながら、電子ブロッキング層として、昇華精製を施したEBM−1を蒸着速度1.0Å/secに保ちながら、1000Åとなるように蒸着した。続いて十分な昇華精製を施した4-dicyanomethylene-2-methyl-6-(p-dimethylaminostyryl)-4H-pyran(DCM)を蒸着速度3.0Å/secに保ちながら、1000Åとなるように蒸着して光電変換層を形成した。
このようにして作製した素子について、実施例1と同様にしてS/N比等を算出した。
実施例1において、応力緩衝層の代わりに電子ブロッキング層としてEBM−1を200nm成膜したこと以外は実施例1と同様にしてS/N比等を算出した。
実施例1において、応力緩衝層の代わりに電子ブロッキング層としてNiOを200nm成膜したこと以外は実施例1と同様にしてS/N比等を算出した。
102 光電変換層
103 正孔ブロッキング層
104 対向電極(上部電極)
105 電子ブロッキング層
106 アモルファス層
108 結晶層
Claims (12)
- 一対の電極と、
前記一対の電極の間に配置された光電変換層と、
前記一対の電極のうち一方と前記光電変換層とに挟まれた少なくとも一つの応力緩衝層を備えた光電変換素子であって、
前記応力緩衝層が結晶層を含む積層構造である光電変換素子。 - 請求項1に記載の光電変換素子であって、
前記応力緩衝層の少なくとも一部が結晶層とアモルファス層が交互に配置された構成である光電変換素子。 - 請求項2に記載の光電変換素子であって、
前記応力緩衝層が結晶層とアモルファス層とを交互に2つづつ積層した構造を含む光電変換素子。 - 請求項2又は3に記載の光電変換素子であって、
前記応力緩衝層の前記結晶層と前記アモルファス層の厚みがそれぞれ0.5〜200nmである光電変換素子。 - 請求項1から4のいずれか1つに記載の光電変換素子であって、
前記応力緩衝層が、前記一対の電極への電圧印加時に前記一対の電極の一方から前記光電変換層に電荷が注入されるのを抑制する電荷ブロッキング層を兼ねる光電変換素子。 - 請求項1から5のいずれか1つに記載の光電変換素子であって、
前記一対の電極に外部から印加される電圧を前記一対の電極間の距離で割った値が1.0×105V/cm〜1.0×107V/cmである光電変換素子。 - 請求項1から6のいずれか1つに記載の光電変換素子であって、
少なくとも1つの前記光電変換層が上方に積層された半導体基板と、
前記半導体基板内に形成され、前記光電変換層で発生した電荷を蓄積するための電荷蓄積部と、
前記一対の電極のうちの前記電荷を取り出すための電極と、前記電荷蓄積部とを電気的に接続する接続部とを備える光電変換素子。 - 請求項7に記載の光電変換素子であって、
前記半導体基板内に、前記光電変換層を透過した光を吸収し、該光に応じた電荷を発生してこれを蓄積する基板内光電変換部を備える光電変換素子。 - 請求項8に記載の光電変換素子であって、
前記基板内光電変換部が、前記半導体基板内に積層されたそれぞれ異なる色の光を吸収する複数のフォトダイオードである光電変換素子。 - 請求項8に記載の光電変換素子であって、
前記基板内光電変換部が、前記半導体基板内の入射光の入射方向に対して垂直な方向に配列されたそれぞれ異なる色の光を吸収する複数のフォトダイオードである光電変換素子。 - 請求項9記載の光電変換素子であって、
前記半導体基板上方に積層された前記光電変換層が1つであり、
前記複数のフォトダイオードが、青色の光を吸収可能な位置にpn接合部が形成された青色用フォトダイオードと、赤色の光を吸収可能な位置にpn接合部が形成された赤色用フォトダイオードであり、
前記光電変換層が緑色の光を吸収するものである光電変換素子。 - 請求項7から11のいずれか1つに記載の光電変換素子をアレイ状に多数配置した固体撮像素子であって、
前記多数の光電変換素子の各々の前記電荷蓄積部に蓄積された前記電荷に応じた信号を読み出す信号読み出し部を備える固体撮像素子。
Priority Applications (2)
| Application Number | Priority Date | Filing Date | Title |
|---|---|---|---|
| JP2008161770A JP5325473B2 (ja) | 2008-06-20 | 2008-06-20 | 光電変換素子及び固体撮像素子 |
| US12/487,704 US20090315136A1 (en) | 2008-06-20 | 2009-06-19 | Photoelectric conversion element and solid-state imaging device |
Applications Claiming Priority (1)
| Application Number | Priority Date | Filing Date | Title |
|---|---|---|---|
| JP2008161770A JP5325473B2 (ja) | 2008-06-20 | 2008-06-20 | 光電変換素子及び固体撮像素子 |
Publications (2)
| Publication Number | Publication Date |
|---|---|
| JP2010003901A true JP2010003901A (ja) | 2010-01-07 |
| JP5325473B2 JP5325473B2 (ja) | 2013-10-23 |
Family
ID=41430341
Family Applications (1)
| Application Number | Title | Priority Date | Filing Date |
|---|---|---|---|
| JP2008161770A Active JP5325473B2 (ja) | 2008-06-20 | 2008-06-20 | 光電変換素子及び固体撮像素子 |
Country Status (2)
| Country | Link |
|---|---|
| US (1) | US20090315136A1 (ja) |
| JP (1) | JP5325473B2 (ja) |
Cited By (15)
| Publication number | Priority date | Publication date | Assignee | Title |
|---|---|---|---|---|
| JP2011176305A (ja) * | 2010-01-29 | 2011-09-08 | Mitsubishi Chemicals Corp | 光電変換素子、太陽電池及び太陽電池モジュール |
| JP2011181608A (ja) * | 2010-02-26 | 2011-09-15 | Mitsubishi Electric Corp | 光電変換装置および光電変換装置の製造方法 |
| WO2011111589A1 (en) * | 2010-03-08 | 2011-09-15 | Fujifilm Corporation | Photoelectric conversion device and imaging device |
| WO2013099509A1 (ja) * | 2011-12-29 | 2013-07-04 | ソニー株式会社 | 信号処理装置、および信号処理方法 |
| US8809847B2 (en) | 2010-03-24 | 2014-08-19 | Fujifilm Corporation | Photoelectric conversion device and imaging device |
| JP2015056554A (ja) * | 2013-09-12 | 2015-03-23 | ソニー株式会社 | 固体撮像素子および製造方法、並びに電子機器 |
| KR101777534B1 (ko) | 2014-01-31 | 2017-09-11 | 후지필름 가부시키가이샤 | 광전 변환 소자, 촬상 소자, 광 센서 |
| WO2018084047A1 (en) | 2016-11-02 | 2018-05-11 | Sony Corporation | Imaging element, solid state imaging device, and electronic device |
| JP2020523784A (ja) * | 2017-06-06 | 2020-08-06 | フラウンホーファー−ゲゼルシャフト・ツール・フェルデルング・デル・アンゲヴァンテン・フォルシュング・アインゲトラーゲネル・フェライン | センサデバイス及びその製造方法 |
| JP2020127033A (ja) * | 2014-08-21 | 2020-08-20 | ソニー株式会社 | 撮像素子及び固体撮像装置 |
| WO2020184015A1 (ja) * | 2019-03-12 | 2020-09-17 | パナソニックIpマネジメント株式会社 | 撮像素子、撮像素子の製造方法及び撮像装置 |
| WO2020184016A1 (ja) * | 2019-03-12 | 2020-09-17 | パナソニックIpマネジメント株式会社 | 撮像素子、撮像素子の製造方法及び撮像装置 |
| JP2020191471A (ja) * | 2014-10-24 | 2020-11-26 | 株式会社半導体エネルギー研究所 | 撮像装置 |
| JP2021093534A (ja) * | 2021-02-03 | 2021-06-17 | ソニーグループ株式会社 | 撮像素子、積層型撮像素子、撮像装置及び電子装置 |
| WO2021200509A1 (ja) * | 2020-03-31 | 2021-10-07 | ソニーセミコンダクタソリューションズ株式会社 | 撮像素子および撮像装置 |
Families Citing this family (7)
| Publication number | Priority date | Publication date | Assignee | Title |
|---|---|---|---|---|
| US9123653B2 (en) * | 2009-07-23 | 2015-09-01 | Sony Corporation | Solid-state imaging device, method of manufacturing the same, and electronic apparatus |
| KR20140147376A (ko) * | 2013-06-19 | 2014-12-30 | 삼성전자주식회사 | 적층형 컬러-깊이 센서 및 이를 채용한 3차원 영상 획득 장치 |
| US10020331B1 (en) * | 2016-07-21 | 2018-07-10 | Hrl Laboratories, Llc | Dual-band lateral-effect position sensor |
| US12009379B2 (en) * | 2017-05-01 | 2024-06-11 | Visera Technologies Company Limited | Image sensor |
| KR102673640B1 (ko) | 2017-07-04 | 2024-06-10 | 삼성전자주식회사 | 근적외선 유기 광 센서가 임베디드된 유기 발광 다이오드 패널 및 이를 포함하는 표시 장치 |
| KR102656300B1 (ko) | 2017-12-05 | 2024-04-11 | 소니그룹주식회사 | 촬상 소자, 적층형 촬상 소자 및 고체 촬상 장치 |
| EP3783654B1 (en) * | 2018-04-20 | 2022-10-26 | Sony Group Corporation | Image-capture element, stacked image-capture element, and solid image-capture device |
Citations (6)
| Publication number | Priority date | Publication date | Assignee | Title |
|---|---|---|---|---|
| JPH03112175A (ja) * | 1989-09-26 | 1991-05-13 | Canon Inc | 光センサ |
| JPH04261071A (ja) * | 1991-01-11 | 1992-09-17 | Canon Inc | 光電変換装置 |
| JPH05291607A (ja) * | 1992-04-14 | 1993-11-05 | Nippon Steel Corp | pinダイオード及びこれを用いた密着型イメージセンサ |
| JPH0936406A (ja) * | 1995-07-21 | 1997-02-07 | Fuji Electric Co Ltd | 光電変換装置およびその製造方法 |
| JP2003338382A (ja) * | 2002-03-13 | 2003-11-28 | Denso Corp | 有機el素子 |
| JP2008072090A (ja) * | 2006-08-14 | 2008-03-27 | Fujifilm Corp | 光電変換素子及び固体撮像素子 |
Family Cites Families (5)
| Publication number | Priority date | Publication date | Assignee | Title |
|---|---|---|---|---|
| JPH0794431A (ja) * | 1993-04-23 | 1995-04-07 | Canon Inc | アモルファス半導体用基板、該基板を有するアモルファス半導体基板、及び該アモルファス半導体基板の製造方法 |
| EP1347518A3 (en) * | 1995-11-28 | 2005-11-09 | International Business Machines Corporation | Organic/inorganic alloys used to improve organic electroluminescent devices |
| US6639249B2 (en) * | 2001-08-06 | 2003-10-28 | Motorola, Inc. | Structure and method for fabrication for a solid-state lighting device |
| JP3859155B2 (ja) * | 2003-03-06 | 2006-12-20 | 富士電機ホールディングス株式会社 | 有機el素子およびその製造方法 |
| JP2007227574A (ja) * | 2006-02-22 | 2007-09-06 | Fujifilm Corp | 光電変換素子、固体撮像素子 |
-
2008
- 2008-06-20 JP JP2008161770A patent/JP5325473B2/ja active Active
-
2009
- 2009-06-19 US US12/487,704 patent/US20090315136A1/en not_active Abandoned
Patent Citations (6)
| Publication number | Priority date | Publication date | Assignee | Title |
|---|---|---|---|---|
| JPH03112175A (ja) * | 1989-09-26 | 1991-05-13 | Canon Inc | 光センサ |
| JPH04261071A (ja) * | 1991-01-11 | 1992-09-17 | Canon Inc | 光電変換装置 |
| JPH05291607A (ja) * | 1992-04-14 | 1993-11-05 | Nippon Steel Corp | pinダイオード及びこれを用いた密着型イメージセンサ |
| JPH0936406A (ja) * | 1995-07-21 | 1997-02-07 | Fuji Electric Co Ltd | 光電変換装置およびその製造方法 |
| JP2003338382A (ja) * | 2002-03-13 | 2003-11-28 | Denso Corp | 有機el素子 |
| JP2008072090A (ja) * | 2006-08-14 | 2008-03-27 | Fujifilm Corp | 光電変換素子及び固体撮像素子 |
Cited By (30)
| Publication number | Priority date | Publication date | Assignee | Title |
|---|---|---|---|---|
| JP2011176305A (ja) * | 2010-01-29 | 2011-09-08 | Mitsubishi Chemicals Corp | 光電変換素子、太陽電池及び太陽電池モジュール |
| JP2011181608A (ja) * | 2010-02-26 | 2011-09-15 | Mitsubishi Electric Corp | 光電変換装置および光電変換装置の製造方法 |
| WO2011111589A1 (en) * | 2010-03-08 | 2011-09-15 | Fujifilm Corporation | Photoelectric conversion device and imaging device |
| JP2011187663A (ja) * | 2010-03-08 | 2011-09-22 | Fujifilm Corp | 光電変換素子及び撮像素子 |
| US8809847B2 (en) | 2010-03-24 | 2014-08-19 | Fujifilm Corporation | Photoelectric conversion device and imaging device |
| WO2013099509A1 (ja) * | 2011-12-29 | 2013-07-04 | ソニー株式会社 | 信号処理装置、および信号処理方法 |
| US12035549B2 (en) | 2013-09-12 | 2024-07-09 | Sony Semiconductor Solutions Corporation | Solid state image sensor, production method thereof and electronic device |
| JP2015056554A (ja) * | 2013-09-12 | 2015-03-23 | ソニー株式会社 | 固体撮像素子および製造方法、並びに電子機器 |
| US9666643B2 (en) | 2013-09-12 | 2017-05-30 | Sony Semiconductor Solutions Corporation | Solid state image sensor, production method thereof and electronic device |
| KR101777534B1 (ko) | 2014-01-31 | 2017-09-11 | 후지필름 가부시키가이샤 | 광전 변환 소자, 촬상 소자, 광 센서 |
| JP2020127033A (ja) * | 2014-08-21 | 2020-08-20 | ソニー株式会社 | 撮像素子及び固体撮像装置 |
| JP7163938B2 (ja) | 2014-08-21 | 2022-11-01 | ソニーグループ株式会社 | 撮像素子及び固体撮像装置 |
| JP7705984B2 (ja) | 2014-10-24 | 2025-07-10 | 株式会社半導体エネルギー研究所 | 撮像装置及び電子機器 |
| JP2024103708A (ja) * | 2014-10-24 | 2024-08-01 | 株式会社半導体エネルギー研究所 | 撮像装置及び電子機器 |
| JP2020191471A (ja) * | 2014-10-24 | 2020-11-26 | 株式会社半導体エネルギー研究所 | 撮像装置 |
| KR20190076965A (ko) | 2016-11-02 | 2019-07-02 | 소니 주식회사 | 촬상 소자, 고체 촬상 장치 및 전자 디바이스 |
| WO2018084047A1 (en) | 2016-11-02 | 2018-05-11 | Sony Corporation | Imaging element, solid state imaging device, and electronic device |
| US10937913B2 (en) | 2016-11-02 | 2021-03-02 | Sony Corporation | Imaging element, solid state imaging device, and electronic device |
| JP7058291B2 (ja) | 2017-06-06 | 2022-04-21 | フラウンホーファー-ゲゼルシャフト・ツール・フェルデルング・デル・アンゲヴァンテン・フォルシュング・アインゲトラーゲネル・フェライン | センサデバイス及びその製造方法 |
| JP2020523784A (ja) * | 2017-06-06 | 2020-08-06 | フラウンホーファー−ゲゼルシャフト・ツール・フェルデルング・デル・アンゲヴァンテン・フォルシュング・アインゲトラーゲネル・フェライン | センサデバイス及びその製造方法 |
| JPWO2020184016A1 (ja) * | 2019-03-12 | 2020-09-17 | ||
| JPWO2020184015A1 (ja) * | 2019-03-12 | 2020-09-17 | ||
| WO2020184016A1 (ja) * | 2019-03-12 | 2020-09-17 | パナソニックIpマネジメント株式会社 | 撮像素子、撮像素子の製造方法及び撮像装置 |
| WO2020184015A1 (ja) * | 2019-03-12 | 2020-09-17 | パナソニックIpマネジメント株式会社 | 撮像素子、撮像素子の製造方法及び撮像装置 |
| JP7531162B2 (ja) | 2019-03-12 | 2024-08-09 | パナソニックIpマネジメント株式会社 | 撮像素子、撮像素子の製造方法及び撮像装置 |
| US12082427B2 (en) | 2019-03-12 | 2024-09-03 | Panasonic Intellectual Property Management Co., Ltd. | Imaging device, method for manufacturing imaging device, and imaging apparatus |
| WO2021200509A1 (ja) * | 2020-03-31 | 2021-10-07 | ソニーセミコンダクタソリューションズ株式会社 | 撮像素子および撮像装置 |
| US12464829B2 (en) | 2020-03-31 | 2025-11-04 | Sony Group Corporation | Imaging element and imaging device |
| JP2021093534A (ja) * | 2021-02-03 | 2021-06-17 | ソニーグループ株式会社 | 撮像素子、積層型撮像素子、撮像装置及び電子装置 |
| JP7264182B2 (ja) | 2021-02-03 | 2023-04-25 | ソニーグループ株式会社 | 撮像素子、積層型撮像素子、撮像装置及び電子装置 |
Also Published As
| Publication number | Publication date |
|---|---|
| US20090315136A1 (en) | 2009-12-24 |
| JP5325473B2 (ja) | 2013-10-23 |
Similar Documents
| Publication | Publication Date | Title |
|---|---|---|
| JP5325473B2 (ja) | 光電変換素子及び固体撮像素子 | |
| JP5427349B2 (ja) | 固体撮像素子 | |
| JP2009049278A (ja) | 光電変換素子、光電変換素子の製造方法、固体撮像素子 | |
| JP5108339B2 (ja) | 固体撮像素子 | |
| JP5087304B2 (ja) | 固体撮像素子の製造方法 | |
| JP2009272528A (ja) | 光電変換素子,光電変換素子の製造方法及び固体撮像素子 | |
| JP4911445B2 (ja) | 有機と無機のハイブリッド光電変換素子 | |
| JP4802286B2 (ja) | 光電変換素子及び撮像素子 | |
| JP2005303266A (ja) | 撮像素子、その電場印加方法および印加した素子 | |
| JP2009182095A (ja) | 光電変換素子及び固体撮像素子 | |
| JP2008072090A (ja) | 光電変換素子及び固体撮像素子 | |
| JP4905762B2 (ja) | 光電変換素子、撮像素子、および該光電変換素子の製造方法 | |
| JP2007067194A (ja) | 有機光電変換素子、および積層型光電変換素子 | |
| JP2007081137A (ja) | 光電変換素子及び固体撮像素子 | |
| JP4719597B2 (ja) | 光電変換素子及び固体撮像素子 | |
| JP2007088033A (ja) | 有機光電変換素子、および撮像素子 | |
| JP2012169676A (ja) | 固体撮像素子 | |
| JP2012019235A (ja) | 固体撮像素子 | |
| JP2008258421A (ja) | 有機光電変換素子及びその製造方法 | |
| JP2007227574A (ja) | 光電変換素子、固体撮像素子 | |
| JP5525890B2 (ja) | 光電変換素子及び撮像素子 | |
| JP2009267169A (ja) | 光電変換素子及び固体撮像素子 | |
| JP2011233908A (ja) | 光電変換素子及び撮像素子 | |
| JP5449270B2 (ja) | 固体撮像素子、固体撮像素子の製造方法 | |
| JP5492939B2 (ja) | 固体撮像素子の製造方法 |
Legal Events
| Date | Code | Title | Description |
|---|---|---|---|
| A621 | Written request for application examination |
Free format text: JAPANESE INTERMEDIATE CODE: A621 Effective date: 20110208 |
|
| RD04 | Notification of resignation of power of attorney |
Free format text: JAPANESE INTERMEDIATE CODE: A7424 Effective date: 20111216 |
|
| A977 | Report on retrieval |
Free format text: JAPANESE INTERMEDIATE CODE: A971007 Effective date: 20120531 |
|
| RD03 | Notification of appointment of power of attorney |
Free format text: JAPANESE INTERMEDIATE CODE: A7423 Effective date: 20120914 |
|
| RD04 | Notification of resignation of power of attorney |
Free format text: JAPANESE INTERMEDIATE CODE: A7424 Effective date: 20121004 |
|
| A131 | Notification of reasons for refusal |
Free format text: JAPANESE INTERMEDIATE CODE: A131 Effective date: 20130305 |
|
| A521 | Request for written amendment filed |
Free format text: JAPANESE INTERMEDIATE CODE: A523 Effective date: 20130426 |
|
| TRDD | Decision of grant or rejection written | ||
| A01 | Written decision to grant a patent or to grant a registration (utility model) |
Free format text: JAPANESE INTERMEDIATE CODE: A01 Effective date: 20130625 |
|
| A61 | First payment of annual fees (during grant procedure) |
Free format text: JAPANESE INTERMEDIATE CODE: A61 Effective date: 20130722 |
|
| R150 | Certificate of patent or registration of utility model |
Ref document number: 5325473 Country of ref document: JP Free format text: JAPANESE INTERMEDIATE CODE: R150 Free format text: JAPANESE INTERMEDIATE CODE: R150 |
|
| R250 | Receipt of annual fees |
Free format text: JAPANESE INTERMEDIATE CODE: R250 |
|
| R250 | Receipt of annual fees |
Free format text: JAPANESE INTERMEDIATE CODE: R250 |
|
| R250 | Receipt of annual fees |
Free format text: JAPANESE INTERMEDIATE CODE: R250 |
|
| R250 | Receipt of annual fees |
Free format text: JAPANESE INTERMEDIATE CODE: R250 |
|
| R250 | Receipt of annual fees |
Free format text: JAPANESE INTERMEDIATE CODE: R250 |
|
| R250 | Receipt of annual fees |
Free format text: JAPANESE INTERMEDIATE CODE: R250 |
|
| R250 | Receipt of annual fees |
Free format text: JAPANESE INTERMEDIATE CODE: R250 |
|
| R250 | Receipt of annual fees |
Free format text: JAPANESE INTERMEDIATE CODE: R250 |
|
| R250 | Receipt of annual fees |
Free format text: JAPANESE INTERMEDIATE CODE: R250 |
|
| R250 | Receipt of annual fees |
Free format text: JAPANESE INTERMEDIATE CODE: R250 |
