JP2010003741A - 半導体装置及び半導体装置の製造方法 - Google Patents

半導体装置及び半導体装置の製造方法 Download PDF

Info

Publication number
JP2010003741A
JP2010003741A JP2008159043A JP2008159043A JP2010003741A JP 2010003741 A JP2010003741 A JP 2010003741A JP 2008159043 A JP2008159043 A JP 2008159043A JP 2008159043 A JP2008159043 A JP 2008159043A JP 2010003741 A JP2010003741 A JP 2010003741A
Authority
JP
Japan
Prior art keywords
film
protective film
ferroelectric
capacitor
semiconductor device
Prior art date
Legal status (The legal status is an assumption and is not a legal conclusion. Google has not performed a legal analysis and makes no representation as to the accuracy of the status listed.)
Granted
Application number
JP2008159043A
Other languages
English (en)
Other versions
JP5412754B2 (ja
Inventor
Fumio O
文生 王
Current Assignee (The listed assignees may be inaccurate. Google has not performed a legal analysis and makes no representation or warranty as to the accuracy of the list.)
Fujitsu Semiconductor Ltd
Original Assignee
Fujitsu Semiconductor Ltd
Priority date (The priority date is an assumption and is not a legal conclusion. Google has not performed a legal analysis and makes no representation as to the accuracy of the date listed.)
Filing date
Publication date
Application filed by Fujitsu Semiconductor Ltd filed Critical Fujitsu Semiconductor Ltd
Priority to JP2008159043A priority Critical patent/JP5412754B2/ja
Publication of JP2010003741A publication Critical patent/JP2010003741A/ja
Application granted granted Critical
Publication of JP5412754B2 publication Critical patent/JP5412754B2/ja
Expired - Fee Related legal-status Critical Current
Anticipated expiration legal-status Critical

Links

Images

Landscapes

  • Semiconductor Memories (AREA)

Abstract

【課題】信頼性の高い半導体装置を効率良く製造すること。
【解決手段】シリコン基板1上に強誘電体キャパシタ31を形成する際、第2電極膜25
上にハードマスクとして第1保護膜27を形成する。第1保護膜27をマスクにして第2
電極膜25をエッチングして上部電極28を形成する。この後、第1保護膜27を除去せ
ずに、第1保護膜27を膜表面側から酸化させる。これによって、第1保護膜27は、積
層方向上側の上部領域の酸素濃度が他の領域に比べて高くなり、水素や水などの還元性物
質が強誘電体キャパシタ31に透過することを防止する拡散防止膜となる。
【選択図】図1F

Description

本発明は、強誘電体キャパシタを有する半導体装置及びその製造方法に関し、特に強誘
電体キャパシタとメモリセルトランジスタとを備えた半導体装置及びその製造方法に関す
る。
近年、デジタル技術の進展に伴って大容量のデータを高速に処理したり、保存したりす
ることが行われており、電子機器等に使用される半導体装置の高集積化及び高性能化が要
求されている。例えば、半導体装置の一例である半導体記憶装置においては、DRAM(
Dynamic Random Access Memory)を高集積化することが行われている。このようなDRA
Mに使用されるキャパシタの容量絶縁膜としては、従来の珪素酸化物又は珪素窒化物に代
えて、強誘電体材料又は高誘電率材料が用いられている。また、より低電圧、且つ高速で
の書き込み動作及び読み出し動作が可能な不揮発性RAMを実現するため、自発分極特性
を有する強誘電体膜を容量絶縁膜に用いている。このような半導体記憶装置は、一般に強
誘電体メモリ(FeRAM)と呼ばれている。
FeRAMは、一対の電極間のキャパシタ誘電体として強誘電体膜を配した強誘電体キ
ャパシタを有し、強誘電体膜のヒステリシス特性を利用して情報を記憶する。強誘電体膜
は、電極間の印加電圧に応じて分極を生じ、印加電圧を取り去っても自発分極を有する性
質を持つ。印加電圧の極性を反転させれば自発分極の極性も反転するので、自発分極を検
出すれば情報を読み出すことが出来る。このようなFeRAMは、高速動作が可能で、消
費電力が小さく、書き込み/読み出しの耐久性に優れている等の特徴を有し、今後の更な
る発展が見込まれている。
しかしながら、従来の強誘電体キャパシタは、水素ガスや水分によって特性が変化し易
かった。ここで、標準的な強誘電体キャパシタの場合、例えば、Pt膜からなる下部電極
と、PZT膜(PbZr1−XTiXO膜)よりなる強誘電体膜と、Pt膜からなる上
部電極とを順次積層した構成を有する。このような標準的な強誘電体キャパシタは、水素
分圧が40Pa程度の雰囲気中で200℃程度に加熱すると、PZT膜の強誘電性はほぼ
失われてしまうことが知られている。
また、強誘電体キャパシタに水分が吸着した状態、或いは水分が強誘電体キャパシタの
近傍に存在する状態で熱処理を行うと、強誘電体キャパシタの強誘電体膜の強誘電性が著
しく劣化してしまうことが知られている。
このため、従来のFeRAMの製造工程で強誘電体膜を形成した後のプロセスは、可能
な限り水分の発生が少なく、且つ低温のプロセスが選択されている。また、層間絶縁膜を
成膜するプロセスには、例えば、水素の発生量が比較的少ない原料ガスを用いたCVD(
Chemical Vapor Deposition)法等が選択されている。
さらに、水素や水分による強誘電体膜の劣化を防止する技術として、強誘電体キャパシ
タを覆うように酸化アルミニウム膜を形成する技術や、強誘電体キャパシタ上に形成され
た層間絶縁膜上に酸化アルミニウム膜を形成する技術が提案されている。酸化アルミニウ
ム膜は、水素や水分の拡散を防止する機能を有している。このため、酸化アルミニウム膜
を形成することで水素や水分が強誘電体膜に達することが防止され、水素や水分による強
誘電体膜の劣化を防止できる。また、強誘電体メモリでは、強誘電体キャパシタを直接覆
う酸化アルミニウム膜を水素拡散防止膜として形成させて強誘電体キャパシタへの水素拡
散を防止していた。
一方、強誘電体キャパシタの上部電極を成膜するとき、或いは強誘電体キャパシタを形
成するときには、強誘電体膜が主として高エネルギのスパッタリング粒子による物理的ダ
メージを受ける。このような物理的ダメージによって強誘電体膜の結晶構造の一部が破壊
されてしまうと、強誘電体キャパシタの特性が劣化してしまう。
そこで、従来では、このような強誘電体キャパシタの特性劣化を元の状態に回復させる
ために、以下に説明するような種々の処理を実施していた。
例えば、上部電極膜をパターニングした後、酸素雰囲気中で熱処理を行い、その後に強
誘電体膜をパターニングしてから酸素雰囲気中で熱処理を再度行う。さらに、下部電極を
パターニングした後にも酸素雰囲気中で熱処理を行う。その後、水素拡散防止膜、例えば
、酸化アルミニウム、酸化チタン、PLZT、PZTを形成する。このような従来技術に
ついては、例えば特許文献1に開示されている。その他にも、上部電極膜及び強誘電体膜
をパターニングした後、或いは、パターニングにより強誘電体キャパシタを形成した後に
酸素雰囲気中で熱処理を行うことが知られている。これらの処理では、酸素によって強誘
電体膜の結晶性が回復させられる。
また、キャパシタの上面および側面に水素バリア膜として酸化アルミニウムを形成する
ことが知られている。より詳細には、誘電体膜を加工した後、誘電体膜の全面に酸化アル
ミニウムを形成する。さらに、酸化アルミニウムと下部電極をエッチングしてから全面に
酸化アルミニウムを形成してキャパシタを保護する。このような従来技術については、例
えば特許文献2や、特許文献3、特許文献4に開示されている。
水素雰囲気中で熱処理をしたときに強誘電体膜が水素と反応して劣化することを防ぐた
めに、キャパシタにパターンを形成した後、層間膜を堆積させ、その上に水素バリア膜と
してTiN膜を形成してからさらに層間膜を堆積させることが知られている。このような
従来技術については、例えば特許文献5に開示されている。
誘電体キャパシタの側壁部の水素バリア膜が薄く、バリア性能が低下したり、膜が剥が
れたりすることを防止するためには、誘電体キャパシタを形成した後、Ta、Y
、CeO又はHfOの絶縁膜で被覆することが知られている。この場合、さらに
その上にAl膜を形成して、被覆させることも知られている。このような従来技術
については、例えば特許文献6に開示されている。
また、誘電体キャパシタが水素や汚染物によって劣化しないようにするために、誘電体
キャパシタを形成した後、酸化アルミニウムの保護膜を形成した上から窒化シリコン膜を
形成することが知られている。このような従来技術については、例えば特許文献7に開示
されている。しかしながら、この方法では、誘電体キャパシタの側壁の傾斜度が低いとき
には、集積度が低減してしまう。傾斜度が高い場合は、側壁の水素バリア膜が薄くなるの
で、水素バリア性能が低下する。
さらに、強誘電体膜の劣化を高い効率で回復することを目的として強誘電体キャパシタ
を形成した後、酸化アルミニウム保護膜を形成してから回復アニールを行い、さらに第2
層の酸化アルミニウム保護膜を形成する方法が検討されている。このような従来技術につ
いては、例えば特許文献8に開示されている。
同様の目的を実現するための従来技術としては、PZT強誘電体キャパシタを炭素含有
量が異なる酸化アルミニウムで二重に覆う方法も知られている。このような従来技術につ
いては、例えば特許文献9に開示されている。
また、集積回路素子においては、下部電極、誘電体膜、上部電極を含むキャパシタの誘
電体膜の露出部に、第1の密度を有する金属酸化膜と、第1の密度より大きい第2密度を
有する第2の金属酸化膜とを配した構成が知られている。このような集積回路素子の製造
工程では、キャパシタを形成した後、酸素と反応性があるアルミニウム前駆ガス及び不活
性ガスを各々パルシングガス及びパージガスとして原子層蒸着を行う。これにより、誘電
体膜の側面には酸化アルミニウムのみが形成される。この酸化アルミニウムは水素バリア
膜となる。この後、熱処理を行って強誘電体膜の劣化を回復させると、キャパシタと水素
バリア膜の上にカプセル膜酸化アルミニウムが形成される。このような従来技術について
は、例えば特許文献10に開示されている。
また、半導体装置においては、下部水素バリア膜上に形成したキャパシタを覆い、かつ
キャパシタの周縁部で下部水素バリア膜を露出させるように第1層間絶縁膜を形成し、下
部水素バリア膜の露出部分を上部水素バリア膜で覆う構成が知られている。なお、上部水
素バリア膜は下部水素バリア膜に接触するように形成され、上部水素バリア膜の側面は下
部水素バリア膜の上面と鈍角をなすように配置される。このような従来技術については、
例えば特許文献11や、特許文献12に開示されている。
また、強誘電体膜の劣化を防止する従来技術としては、強誘電体キャパシタの上に拡散
バリア膜を形成し、さらに拡散バリア膜で被覆することが知られている。水素バリア膜と
しては、Alの酸化物、Alの窒化物、Alの窒化酸化物、Taの酸化物、Taの酸化窒
化物、Tiの酸化物、Zrの酸化物のうちの少なくともいずれか一つが使用される。この
ような従来技術については、例えば特許文献13に開示されている。
不純物拡散によるキャパシタ誘電体の劣化を防止する従来技術としては、キャパシタの
全表面にブロッキング膜とキャパシタ保護膜を積層させることが知れている。キャパシタ
保護膜は、水素がキャパシタ誘電膜に拡散することを防止する。ブロッキング膜はキャパ
シタ保護膜下部に形成されて、ブロッキング膜の下部に形成された物質膜とキャパシタ保
護膜とが相互反応することを防止、及び/又はキャパシタ誘電膜の揮発を防止する。例え
ば、ALD(Atomic LayerDeposition)法で成膜した酸化アルミニウム膜はカバレッジが
非常に良くなるが、成膜時にキャパシタの強誘電体膜にダメージを与えたり、誘電体膜と
反応したりしてキャパシタの性能を劣化させることがある。これを防ぐために、キャパシ
タの直上にブロッキング膜が成膜されていた。このような従来技術については、例えば特
許文献14に開示されている。
また、エッチング工程には、高温一括エッチング方法を採用することが知られている。
このような従来技術については、例えば特許文献15や、引用文献16に開示されている
さらに、貴金属電極等の難エッチング材料をエッチングした後、エッチングマスク層の
側壁に再付着する不揮発性の反応生成物を除去する方法としては、Ir層上に、有機物質
膜、ハードマスクとなるTiN層を順に積層し、フォトレジスト膜をマスクとしてこの積
層膜をドライエッチングすることが知られている。この場合、Ir層のドライエッチング
は酸素を含んだガスを用いて行われる。エッチング時に有機物質膜がサイドエッチされる
ため、反応生成物からなる側壁再付着層は有機物質膜層の側壁には生じない。この後、ア
ッシング処理を行えば、有機物質膜層のみがエッチングされ、マスクの役割を果たしたT
iN層は容易に除去され、パターニングされた被エッチング材だけが残される。このよう
な従来技術については、例えば特許文献17に開示されている。
なお、ハードマスクの表面及びその付近においてAlや、Tiが幾分酸化してAlO
(たとえば、Al)やTiO(たとえば、TiO)を形成するが、O中にお
いて450℃でアニールすると除去されることが知られている。このような従来技術につ
いては、例えば特許文献18に開示されている。
また、キャパシタの保護膜をAl、ZrO、HfO、TiO、TaO
SiN及びAlNから成る群から選択される材料で作製し、下部電極及び強誘電体層の側
壁、上部電極の側壁の下部をその保護膜で被覆することが知られている。このような従来
技術については、例えば特許文献19に開示されている。
そして、シリコン基板上に絶縁膜を介して第1水素バリア膜、下部電極膜、強誘電体膜
、上部電極膜及び第2水素バリア膜を順次堆積させることで水素還元作用による劣化を抑
制することが試みられている。上部電極をパターニングするときには、マスクを用いて水
素バリア膜及び上部電極膜を順次エッチングする。さらに、露出した強誘電体膜を覆う第
3の水素バリア膜を堆積させ、この上に形成したマスクを用いて強誘電体膜及び下部電極
膜を順次エッチングする。これによって、強誘電体膜とこれに自己整合された下部電極の
パターンが形成される。このような従来技術については、例えば特許文献20,21,2
2,23,24,25,26に開示されている。
特開2003−332536号公報 特開2005−116756号公報 特開2004−349474号公報 特開2004−95861号公報 特開平9−293868号公報 特開2003−115545号公報 特開2001−210798号公報 特開2005−183843号公報 特開2003−273332号公報 特開2002−93797号公報 特開2004−282041号公報 特開2005−129875号公報 特開2002−176149号公報 特開2001−111007号公報 特開平9−162311号公報 特開2002−94016号公報 特開2001−313282号公報 特開2000−133633号公報 特開2004−186518号公報 特開2001−36026号公報 特開2001−168290号公報 特開2001−358309号公報 特開2002−43540号公報 特開2002−280528号公報 特開2003−324157号公報 特許第3276351号公報
強誘電体キャパシタを備えた半導体装置において、強誘電体キャパシタの特性劣化を抑
制するために上記した種々の構造或いは工程が採用されているが、特定劣化をさらに防止
する必要がある。
本発明は、このような事情を鑑みてなされたものであり、信頼性の高い半導体装置を効
率良く製造できるようにすることを主な目的とする。
本願の一観点によれば、半導体基板と、半導体基板の上方に下部導電膜、強誘電体膜、
上部導電膜を積層する工程と、前記上部電極の上に還元性物質の透過を防ぐ第1保護膜を
形成する工程と、前記第1保護膜及び前記上部導電膜をパターニングすることにより上部
電極を形成する工程と、前記強誘電体膜及び前記第1保護膜を酸素雰囲気中で加熱する熱
処理工程と、前記強誘電体膜及び前記下部導電膜をパターニングして強誘電体キャパシタ
を形成する工程と、前記第1保護膜及び前記強誘電体キャパシタを覆う第2保護膜を形成
する工程と、を有し、前記熱処理は、前記第1保護膜中の酸素濃度が異なる部分を形成す
る工程を含むことを特徴とする半導体装置の製造方法とした。
また、本発明の別の観点によれば、半導体基板の上方に下部導電膜、強誘電体膜、上部
導電膜を積層する工程と、前記上部電極の上に第1保護膜を形成する工程と、前記第1保
護膜及び前記上部導電膜をパターニングすることにより、前記導電膜からキャパシタの上
部電極を形成する工程と、前記強誘電体膜及び前記第1保護膜を酸素雰囲気中で加熱する
ことにより、前記第1保護膜中で酸素濃度が膜厚方向に異なる部分を形成する熱処理工程
と、前記強誘電体膜及び前記下部導電膜をパターニングすることにより、前記下部導電膜
から前記キャパシタの下部電極を形成する工程と、前記第1保護膜及び前記キャパシタを
覆う第2保護膜を形成する工程と、を有する工程を含むことを特徴とする半導体装置の製
造方法が提供される。
本発明のさらに別の観点によれば、半導体基板の上方に下部導電膜、強誘電体膜、及び
上部導電膜を順に積層する工程と、前記上部導電膜の上に第1のハードマスク及び第2の
ハードマスクを順番に形成する工程と、前記第1及び第2のハードマスクを用いて、前記
下部導電膜、前記強誘電体膜、及び前記上部導電膜をパターニングして強誘電体キャパシ
タを形成する工程と、前記強誘電体キャパシタを形成した後に、前記第1のハードマスク
を残して前記第2のハードマスクを除去する工程と、前記強誘電体キャパシタ及び前記第
1のハードマスクを酸素雰囲気中で加熱し、前記第1のマスクの少なくとも一部を酸化さ
せ膜厚方向で酸素濃度の分布が異なる部分を有する第1保護膜を形成する熱処理工程と、
前記第1保護膜及び前記強誘電体キャパシタを覆う第2保護膜を形成する工程と、を有す
ることを特徴とする半導体装置の製造方法が提供される。
本発明によれば、膜厚方向で酸素濃度が異なる部分を有する第1保護膜をキャパシタ上
部電極の上に設けたので、第1保護膜により強誘電体キャパシタ内への還元性物質の透過
を防止することができ、強誘電体キャパシタの性能劣化を防止できる。
また、第1保護膜をマスクに使用して強誘電体キャパシタの上部電極をパターニングし
た後に、第1保護膜を除去することなく、強誘電体キャパシタに還元性物質の透過を防止
する膜として残すようにしたので、従来のようにマスクを除去する工程が不要になり、微
小異物の発生を防止できる。これにより工程劣化が防止され、しかも半導体装置の歩留ま
りを向上できる。
(第1実施の形態)
本発明の第1実施の形態について図面を参照して詳細に説明する。
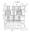
図1A〜図1Lは、本発明の第1実施形態に係る半導体装置の製造途中の断面図である
半導体装置は、プレーナ型のFeRAMであって、以下のようにして作製される。
最初に、図1Aに示す断面構造を得るまでの工程について説明する。
まず、半導体基板であるn型又はp型のシリコン基板1の表面に、トランジスタの活性
領域を画定する素子分離絶縁膜2を形成する。この実施の形態では素子分離絶縁層2とし
て、シャロートレンチアイソレーション(STI)を形成する。STIは、シリコン基板
1の素子分離領域に溝を形成し、その中に酸化シリコン等の絶縁膜を埋め込むことにより
形成される。なお、素子分離絶縁層2は、STIに限られず、LOCOS(Local Oxidat
ion of Silicon)法で形成した絶縁膜であってもよい。
次いで、シリコン基板1のメモリセル領域Aにおけるトランジスタ活性領域にp型不純
物、例えばボロンを導入してpウェル3を形成する。また、周辺回路領域Bにおける所定
の活性領域にn型不純物を選択的に導入してnウェル4を形成する。この後、活性領域の
表面にゲート絶縁膜5を形成する。ゲート絶縁膜5は、熱酸化によるシリコン酸化膜が用
いられ、その厚さは約6〜7nmとする。
さらに、シリコン基板1の全面に、非晶質シリコン膜とタングステンシリサイド膜とを
順番に形成し、フォトリソグラフィ技術を用いてパターニングしてゲート電極6A,6B
,6Cを形成する。ゲート電極6A,6Bはメモリセル領域Aに形成される。ゲート電極
6Cは周辺回路領域Bに形成される。非晶質シリコン膜は例えば厚さ約50nmとし、タ
ングステンシリサイド膜の厚さは約150nmとする。なお、非晶質シリコン膜の代わり
にポリシリコン膜を形成しても良い。
ゲート電極6A,6Bは、pウェル3上に互いに平行に二つ形成され、その各々がワー
ド線の一部を構成する。さらに、ゲート電極6A,6Bをマスクにしたイオン注入により
、ゲート電極6A,6Bの両側のシリコン基板1の表層にn型不純物、例えばリンを導入
し、第1、第2ソース/ドレインエクステンション8A,8Bを形成する。
なお、これと同時に、周辺回路領域Bのpウェル4において、ゲート電極6Cの両側の
シリコン基板1にp型不純物を導入し、ソース/ドレインエクステンション9を形成する
。n型不純物とp型不純物の打ち分けはレジストパターンを使用して行われる。
この後に、ゲート電極6A〜6Cを含むシリコン基板1の上側全面に絶縁膜を形成し、
その絶縁膜をエッチバックしてゲート電極6A〜6Cの両側部分のみを残して、絶縁性サ
イドウォール10を形成する。絶縁膜には、例えばCVD法により形成された酸化シリコ
ン膜が用いられる。
続いて、絶縁性サイドウォール10とゲート電極6A,6Bをマスクにしてシリコン基
板1の表層に砒素等のn型不純物を再びイオン注入し、各ゲート電極6A,6Bの側方の
シリコン基板1に第1、第2ソース/ドレイン領域11A,11Bを形成する。
同様に、周辺回路領域Bにおいてもイオン注入によってゲート電極6Cの側方のシリコ
ン基板1に第1、第2ソース/ドレイン領域13A,13Bを形成する。
さらに、ゲート電極6A〜6Cを含むシリコン基板1の上側全面に金属膜をスパッタ法
により形成する。金属膜は、例えば、コバルト膜等の高融点金属が好ましいが、比較的に
融点が低い金属であっても良い。そして、この金属膜を加熱してシリコンと反応させるこ
とにより、ゲート電極6A〜6Cの上面と、第1、第2ソース/ドレイン領域11A,1
1B,13A,13Bにおけるシリコン基板1上にそれぞれにコバルトシリサイド層等の
金属シリサイド層12を形成する。この熱処理によって、各ソース/ドレイン領域11A
,11B,13A,13Bが活性化されて低抵抗化する。
その後に、素子分離絶縁膜2上などで未反応となっている高融点金属膜をウエットエッ
チングによって除去する。
ここまでの工程で、シリコン基板1の活性領域にゲート絶縁膜5、ゲート電極6A,6
B、第1、第2ソース/ドレイン領域11A,11B等によって構成されるMOSトラン
ジスタT1,T2が形成される。また、周辺回路領域BにもトランジスタT3が形成され
る。
次に、ゲート電極6A〜6Cを含むシリコン基板1の上側全面に、酸化防止絶縁膜15
(カバー膜)としてプラズマCVD法で酸窒化シリコン(SiON)膜を厚さ約200nm
に形成する。さらに、TEOS(tetra ethoxy silane)ガスを使用するプラズマCVD法
により、酸化防止絶縁膜15の上に第1層間絶縁膜16として酸化シリコン(SiO)膜
を厚さ約1000nmに形成する。なお、TEOSを用いてプラズマCVD法によって形
成されるSiO2膜を以下TEOS膜という。
そして、第1層間絶縁膜16の表面をCMP(Chemical Mechanical Polishing:化学的
機械研磨)法で研磨して平坦化させ、シリコン基板1の表面から第1層間絶縁膜16の表
面までの膜厚を所定値、例えば、約785nmに調整する。
次に、図1Bに示す断面構造を得るまでの工程について説明する。
まず、酸化防止絶縁膜15と第1層間絶縁膜16とをフォトリソグラフィ法によってパ
ターニングして、第1コンタクトホール17A,17B,17Cを形成する。第1コンタ
クトホール17A〜17Cの深さは第1ソース/ドレイン領域10A〜10Dのそれぞれ
の高融点金属シリサイド層11に到達するまでとし、その径は例えば0.25μmにする
そして、第1コンタクトホール17A〜17Cを用いて第1ソース/ドレイン領域11
A,11B,13A,13Bに電気的に接続される導電性プラグ18A〜18Eを形成す
る。具体的には、第1コンタクトホール17A〜17Cの内面に厚さが30nmのTi膜
と、厚さが20nmのTiN膜とを順番にスパッタ法等により形成し、2層の積層構造を
有する密着膜(グルー膜)19Aを作製する。さらに、密着膜19A上にタングステン(
W)膜19BをCVD法により成長させる。この膜厚は、第1層間絶縁膜16上で、例え
ば300nmとし、W膜19Bで第1コンタクトホール17A〜17Cの空隙を埋める。
第1層間絶縁膜16の上面上に成長した余分なW膜19Bは、CMP法で除去する。これ
により、コンタクトホール17A〜17Cには、それぞれ導電性プラグ18A〜18Cが
形成される。
なお、周辺回路領域Bにも同様にして第1コンタクトホール17D,17Eを作製し、
それぞれに導電性プラグ18D,18Eを形成する。
次に、後の工程の熱アニール時に導電性プラグ18A〜18Eが酸化されないように、
第1層間絶縁膜16上及び導電性プラグ18A〜18E上に第2層間絶縁膜20を形成す
る。第2層間絶縁膜20は、例えば、SiON膜を約100nmの膜厚に形成し、さらに
TEOS膜を約130nmの膜厚で堆積させた構成を有する。第2層間絶縁膜20を形成
した後に、窒素雰囲気中で約650℃の温度で30分間程度アニールして第2層間絶縁膜
20の脱ガスを行う。
次に、図1Cに示す断面構造を得るまでの工程について説明する。
まず、第2層間絶縁膜20の上に、下部電極密着膜21として酸化アルミニウム(Al
)膜をスパッタ法で20nm程度の厚さに形成する。その後、急速加熱処理(RT
A)により650℃の酸素雰囲気中で下部電極密着膜21を酸化させる。
次に、下部電極密着膜21の上に、下部電極となる第1導電膜22(下部導電膜)を形
成する。第1導電膜22には、例えば、スパッタ法で形成したプラチナ膜が用いられ、そ
の厚さは約150nmとする。なお、第1導電膜22は、プラチナ膜の代りにイリジウム
膜、ルテニウム膜、酸化ルテニウム(RuO)膜、SrRuO膜のいずれかの単層膜
、或いはこれらの積層膜でも良い。なお、第1導電膜22を形成する前に下部電極密着膜
21を形成しているので、第1導電膜22と第2層間絶縁膜20との密着力が高められる
次に、第1導電膜22の上に第1強誘電体膜23を形成する。第1強誘電体膜23とし
ては、例えばPZT(Pb(Zrx, Ti1-x)O(0≦x≦1))膜が用いられ、PZTターゲットを
用いるRF(Radio Frequency)スパッタ法により厚さ約90nmに形成される。
なお、第1強誘電体膜23はPZTに限定されない。PZTにCa、Sr、La、Nb
、Ta、Ir、Wのいずれかを添加した材料から第1強誘電体膜23を形成しても良い。
さらに、(Bi1−xRx)Ti12(Rは希土類元素で0<x<1)、SrBi
Ta(SBT)、SrBiTi15等のBi層状化合物から第1強誘電体膜
23を形成しても良い。また、第1強誘電体膜23の成膜方法もスパッタ法に限定されず
、ゾル・ゲル法、MOD(Metal Organic Deposition)法、MOCVD(Metal Organic C
VD)法を採用しても良い。
ところで、第1強誘電体膜23をスパッタ法で形成すると膜質が非晶質になり、強誘電
体特性が結晶質の場合に比べて劣ることが知られている。そこで、成膜後に結晶化アニー
ルを実施して第1強誘電体膜23を結晶化させる。
結晶化アニールは、酸素含有雰囲気、例えば酸素濃度が1.25流量%となるように調
整された酸素+アルゴンの雰囲気で、RTA(Rapid Thermal Anneal)により行われる。基
板温度は例えば600℃で、処理時間は90秒とする。これにより、第1強誘電体膜23
が結晶化して膜中にPZT結晶粒が多数形成される。なお、MOCVD法を採用した場合
、第1強誘電体膜23は成膜の時点で結晶化しているので結晶化アニールは不要になる。
次に、第1強誘電体膜23の上に、第2強誘電体膜24として非晶質のPZT膜をRF
スパッタ法で例えば厚さ10nm〜30nmに形成する。なお、第2強誘電体膜24はP
ZT膜に限定されず、PZTにCa、Sr、La、Nb、Ta、Ir、Wのいずれかを添
加した材料から第2強誘電体膜24を形成してもよい。さらに、(Bi1-xRx)Ti
12(Rは希土類元素で0<x<1)、SrBiTa(SBT)や、SrB
Ti15等のBi層状化合物で第2強誘電体膜24を形成しても良い。なお、第
2強誘電体膜24は、第1強誘電体膜23と同じ材料で形成することが好ましい。
次に、第2強誘電体膜24の上に第2導電膜25(上部導電膜)として第1酸化イリジ
ウム膜25Aをスパッタ法により、例えば、厚さ約50nmに形成する。その後に、酸素
含有雰囲気中において第2強誘電体膜24に対する結晶化アニールを行って非晶質の第2
強誘電体膜24を結晶化させると共に、第2強誘電体膜24の下の第1強誘電体膜23の
結晶性をさらに高める。アニールの条件は、例えば、基板温度710℃、処理時間を12
0秒とする。アニールを行う酸素含有雰囲気には、酸素濃度が1流量%に調整された酸素
ガスとアルゴンガスとの混合雰囲気が用いられる。
第1酸化イリジウム膜25Aを形成した後に第2強誘電体膜24を結晶化することによ
り、膜を構成する酸化イリジウムが第2強誘電体膜24の結晶粒界に入り込むのを防止で
きる。これによって、酸化イリジウムによって第2強誘電体膜24にリークパスが形成さ
れることを抑制できる。また、このアニールにより、第1酸化イリジウム膜25Aを透過
して酸素が第2強誘電体膜24に供給され、第2強誘電体膜24の酸素欠損が補われると
いう利点も有する。
このような利点を得るために、第1酸化イリジウム膜25Aの厚さは酸素が透過し易い
ように薄く、例えば10nm〜100nmとするのが好ましい。しかしながら、このよう
に薄い第2導電膜25を第2強誘電体膜24上に形成しただけでは、後のエッチング工程
等において第2導電膜25で吸収しきれなかったダメージが第1、2強誘電体膜23,2
4に影響を及ぼす可能性がある。
そこで、次の工程で第1、第2強誘電体膜23,24を保護するための導電性保護膜と
して、第2酸化イリジウム膜25Bを第1酸化イリジウム膜25Aの上にスパッタ法で厚
さ約200nmに形成する。この第2酸化イリジウム膜25B及び第1酸化イリジウム膜
25Aとで第2導電膜25が形成される。
シリコン基板1の背面洗浄を行った後、第2酸化イリジウム膜25Bの上に、水素や水
などの還元性物質の透過を防止する拡散防止膜として機能する第1保護膜27を形成する
。第1保護膜27としては、例えばTiN膜が用いられ、スパッタ法で30〜100nm
の膜厚に形成される。TiN膜は、基板温度を200℃、Arを50sccm、Nを9
0sccmの混合ガス雰囲気中でTiのターゲットを用いて成膜する。
第1保護膜27は、第2導電膜25をエッチングして上部電極を形成する際のハードマ
スク(第1のマスク)としても使用される。本実施の形態ではTIN膜の膜厚を50nm
とした。なお、第1保護膜27はTiN膜に限定されず、Ti、TiN、Ta、TaN、
TiAl、TaAl、TiAlN、TaAlN、TiSiN、TaSiN、TiSi、T
aSiのいずれかから形成しても良い。
次に、第1保護膜27の全面にレジストを塗布してから露光、現像する。これにより、
図1Dに示すように、第2のマスクであるフォトレジスト膜38を所定の平面形状、即ち
強誘電体キャパシタの上部電極の平面形状にパターニングする。そして、フォトレジスト
膜38のパターンを利用して第2導電膜25、酸化イリジウム膜26及び第1保護膜27
をエッチングする。この際、第1保護膜27はハードマスク(第1のハードマスク)とし
ても機能し、第2導電膜25及び第1保護膜27が確実にエッチングされる。なお、フォ
トレジスト膜38の代わりに、第2のハードマスクを形成してエッチングを行っても良い
これにより、図1Eに示すように第2導電膜25からなる上部電極28が形成される。
エッチング後、フォトレジスト膜38は除去する。一方、ハードマスクとして使用した第
1保護膜27は除去せずに残しておく。
なお、ハードマスクとしても機能する第1保護膜27の側部はある程度にエッチングさ
れるので、上部領域27Aの積層方向に平行な断面積は下部領域27Bの段面積より小さ
くなる。つまり、第1保護膜27は上面の面積が下面より狭くなっている。
さらに、レジスト除去したシリコン基板1を酸素含有雰囲気中で熱処理する。熱処理の
温度は600〜700℃とする。本実施の形態では、その一例として650℃で40分間
熱処理を行った。この熱処理は、プロセス中に強誘電体膜23,24が受けたダメージを
回復させるもので、このようなアニールは回復アニールとも呼ばれる。
このとき、第1保護膜27も表面及び側面から酸化され、第1保護膜27の表層(上部
領域及び側部領域)のTiNは殆ど酸化される。TiNの酸化度は膜厚方向、且つ基板方
向に徐々に低くなる。一方、第2酸化イリジウム膜25A中の酸素はその真上にある第1
保護膜27の下部領域のTiNへ拡散する。つまり、第1保護膜27が上下方向及び側方
のそれぞれから酸化されて、酸素が膜中心へ拡散する。これにより、酸化されたTiN膜
の上部領域及び下部領域並びに側部領域のそれぞれの酸化度が中心より高くなる。
つまり、図2(a)に拡大して断面で示すように、第1保護膜27には、酸素含量が多
い上部領域27A及び下部領域27Bと、積層方向で上部領域27A及び下部領域27B
に挟まれ、これら2つの領域27A,27Bよりも酸素濃度が相対的に低い膜中心領域2
7Cとが形成される。つまり、第1保護膜27は、膜厚方向(積層方向)に酸素濃度が異
なる部分を有する。膜厚方向の酸素濃度プロファイルは、例えば、図2(b)に示すよう
に上側が最も高く、次いで下側が高くなっており、中央部分が最も低くなっている。
なお、第1保護膜27の外周側の表面領域である側部領域は、上部領域27Aと一体に
形成され、略同じ酸素濃度になる。即ち、第1保護膜27は、膜中心領域27Cの酸素濃
度が上部領域27A及び下部領域27B及び側部領域27Dのそれぞれの酸素濃度より低
くなっている。例えば、第1保護膜27の厚さが約50nmのとき、上部領域27Aの厚
さは約30nm、側部領域27Dの幅は約30nm、下部領域27Bの厚さは5〜10n
m程度になっている。特に上部領域27Aを最も厚くすることで還元物質の透過を効率的
に防止することが可能になる。
ここで、第1保護膜27を構成するTiNの酸化度は熱処理雰囲気中の酸素含量で調整
できる。さらに、第1保護膜27の表面が貴金属膜である場合、第1保護膜27を表面側
から酸化させたときの酸化度、即ち酸素の組成比は上部領域27Aから下部領域27Bに
向かって徐々に低くなる。したがって、この熱処理により、第1保護膜27が下から順に
(又は上から順に)TiO、TiON、TiO(x>y)の層構造、又はTiO
TiO、TiON(x>y)の層構造、又はTiO、TiON、TiOの層構造を
持つようになる。一般に、TiNよりもTiOの方が水分や水素を透過し難いことが知ら
れているので、このような構成にすることで、確実に水分等の透過を防止できるようにな
り、強誘電体膜23,24の還元が防止される。
なお、酸化処理後の第1保護膜27はTiOやTiONに限定されず、TaN、TaO
、TaON、TiAlO、TaAlO、TiAlON、TaAlON、TiSiO
N、TaSiON、TiSiO、TaSiO、AlO、ZrOなどでも良い。
次に、図1Fに示す断面構造を得るまでの工程について説明する。
まず、第1保護膜27及び第2強誘電体膜24の全面に、図示を省略するフォトレジス
ト膜を例えばスピンコート法によって形成し、フォトリソグラフィ法によってフォトレジ
スト膜を強誘電体膜23,24の平面形状にパターニングする。続いて、パターニングさ
れたフォトレジストマスクを使用して強誘電体膜23,24をエッチングする。その後、
フォトレジスト膜を除去する。次いで、酸素雰囲気で例えば300℃〜400℃、30分
間〜120分間、熱処理を行う。なお、強誘電体膜23,24は、複数の上部電極28の
下を通る長方形の平面形状を有している。
この後、第1保護膜27、上部電極28、強誘電体膜23,24、及び第1導電膜22
の上に第2保護膜30を例えばスパッタ法又はCVD法、或いはALD法により形成する
。第2保護膜30としては、例えば膜厚が20nm〜50nmの酸化アルミニウム膜が用
いられる。第2保護膜30の形成後は酸素雰囲気で熱処理を行う。熱処理条件は、例えば
400℃〜600℃、30分〜120分間である。
なお、第2保護膜30は第1保護膜27と構成材料が異なるが、第1保護膜27と同様
に水素又は水が強誘電キャパシタ31に拡散することを防止する拡散防止膜である。また
、第2保護膜30は、酸化アルミニウム膜に限定されず、TiO、TaO、AlO
、ZrO、HfO、NbO、VO、ZnO膜や、PZTからなる群から選択さ
れる材料から形成された膜であっても良い。
さらに、図1Gに示す断面構造を得るまでの工程について説明する。
第2保護膜30の全面にフォトレジスト膜を例えばスピンコート法によって形成する。
フォトリソグラフィ法でフォトレジスト膜を所定の平面形状、即ち強誘電体キャパシタの
下部電極の平面形状にパターニングする。続いて、フォトレジスト膜をマスクにして第2
保護膜30及び第1導電膜22及び下部電極密着膜21をエッチングすることによって第
1導電膜22からなる下部電極29を形成する。下部電極29の平面形状は、複数の上部
電極28を含む略長方形であり、その端部は誘電体膜23,24からはみ出す大きさであ
る。
このようにしてパターニングされた上部電極28、強誘電体膜23,24及び下部電極
29によって、強誘電体キャパシタ31が構成される。
第2保護膜30は、上部電極膜である第2導電膜25と、強誘電体膜23,24を覆う
ように残存する。エッチングが終了したら残ったフォトレジスト膜(不図示)を除去する
。次いで、例えば300℃〜400℃の酸素雰囲気で、30分間〜120分間の熱処理を
行う。
強誘電体キャパシタ31及び第2層間絶縁膜20の上面に第3保護膜32を例えばスパ
ッタ法又はCVD法、或いはALD法により形成する。第3保護膜32は、例えば膜厚が
20nmの酸化アルミニウム膜からなる。
第3保護膜32を形成した後、例えば500℃〜700℃の酸素雰囲気にて、30分間
〜120分間の熱処理を行う。この結果、強誘電体膜23,24に酸素が供給され、強誘
電体キャパシタ31の電気的特性が回復する
次に、図1Hに示す断面構造を得るまでの工程について説明する。
第3保護膜32の全面に第3層間絶縁膜33として、例えばTEOSを用いるプラズマ
CVD法により膜厚が1400nmのシリコン酸化物を形成する。この後、例えばCMP
法により、第3層間絶縁膜33の表面を平坦化する。
次いで、NOガス又はNガスを用いて発生させたプラズマ雰囲気にて、例えば35
0℃、2分間の熱処理を行う。熱処理の結果、第3層間絶縁膜33中の水分が除去される
と共に、第3層間絶縁膜33の膜質が変化して膜中に水分が入り難くなる。この熱処理に
よって、第3層間絶縁膜33の表面が窒化されてSiON膜が形成される。
さらに、第3層間絶縁膜33の全面に、第4保護膜34を形成する。第4保護膜34は
、例えばスパッタ法又はCVD法で成膜した膜厚20nm〜50nmの酸化アルミニウム
膜からなる。さらに、第4保護膜34の全面に、第4層間絶縁膜35として例えば膜厚が
300nmのシリコン酸化物をTEOSを用いるプラズマCVD法で形成する。
次に、図1Iに示す断面構造を得るまでの工程について説明する。
まず、第4層間絶縁膜35の上面に図示を省略するフォトレジスト膜を形成し、フォト
レジスト膜をマスクにしてエッチングを行い、第4保護膜34、第3層間絶縁膜33、第
3保護膜32を経て強誘電体キャパシタ31の上部電極28まで達する第2コンタクトホ
ール41を形成する。
この実施の形態では第1保護膜27が導電性を有しないので、第2コンタクトホール4
1は第1保護膜27を貫通して上部電極28に至る深さにしている。しかしながら、第1
保護膜27が導電性を有する材料から形成され、第1保護膜27を介して上部電極28と
電気的な接続が可能な場合には、第2コンタクトホール41は第1保護膜27に至る深さ
にすれば良い。
同様に、第4層間絶縁膜35上に形成したフォトレジスト膜を用いてエッチングを実施
し、強誘電体キャパシタ31の下部電極29まで達する第2コンタクトホール42を形成
する。
次いで、例えば400℃〜600℃の酸素雰囲気で、30分間〜120分間の熱処理を
行う。この結果、強誘電体膜23,24に酸素が供給され、強誘電体キャパシタ31の電
気的特性が回復する。なお、この熱処理を、酸素雰囲気中ではなく、オゾン雰囲気中で行
っても良い。オゾン雰囲気中で熱処理を行った場合にも、強誘電体膜23,24に酸素が
供給されて強誘電体キャパシタ31の電気的特性が回復する。
次いで、第3及び第4層間絶縁膜33,34、第3保護膜32、第1及び第2層間絶縁
膜16,20を貫通し、導電性プラグ18A〜18Eまで達するビアホール43A〜43
Eをフォトリソグラフィ及びエッチングにより形成する。
次に、図1Jに示す断面構造を得るまでの工程について説明する。
第2コンタクトホール41内に例えば膜厚が20nmのTi膜と、膜厚が50nmのT
iN膜と順番に例えばスパッタ法により形成する。これらのTi膜及びTiN膜によって
、第2コンタクトホール41に密着膜44Aが形成される。さらに、密着膜44A上にW
膜44BをCVD法により成長させ、W膜44Bで第2コンタクトホール41,42、ビ
アホール43A〜43Eの空隙を埋めて導電性プラグ45A〜44Gを形成する。第4層
間絶縁膜35上に形成された余分な密着膜44A及びW膜44BはCMP法により除去す
る。これにより、各導電性プラグ45C〜45Gがその下の導電性プラグ18A〜18E
を介してソース/ドレイン領域11A,11B,13A,13Bに電気的に接続される。
次いで、プラズマ洗浄を行って導電性プラグ45A〜45Gの表面の自然酸化膜等を除
去する。プラズマ洗浄には、例えばアルゴンガスが用いられる。
そして、導電性プラグ45及び第4層間絶縁膜34の上面に、導体膜46を形成する。
導体膜46は、例えば膜厚が150nmのTiN膜と、膜厚が550nmのAlCu合金
膜と、膜厚が5nmのTi膜と、膜厚が150nmのTiN膜とを順次積層することによ
って形成される。
図1Kに示すように、フォトリソグラフィ及びドライエッチングにより、導体膜46を
パターニングして第1層目の金属配線層を形成する。これにより、導電体プラグ45Aを
介して上部電極28に電気的に接続された配線47Aと、導電体プラグ45Bを介して下
部電極29に電気的に接続された配線47Bと導電体プラグ18A〜18E,45C〜4
5Gを介してソース/ドレイン領域11A,11B,13A,13Bに電気的に接続され
る配線47Cとが形成される。
図示を省略するが、この後に第1層目の金属配線層の形成とほぼ同様な成膜方法や、パ
ターニング方法によって3層配線や5層配線を行うと、この実施の形態に係る半導体装置
の基本構造が完成する。
以上、説明したように、この実施の形態における第1保護膜27は、強誘電体キャパシ
タ31の回復アニールによって上部領域27A及び下部領域27Bの酸素濃度が膜中心領
域27Cに比べて高くなるような構造を有する。このような第1保護膜27は、上部電極
28をパターニングする際のメタルマスクになると共に、還元性物質の透過を防止する機
能を備える。即ち、強誘電体キャパシタ31をパターニングした後に、除去されることな
く上部電極28上に残されて、還元性物質が強誘電体キャパシタ31に透過することを防
止する還元元素バリア膜として機能する。上部電極28をパターニングするときの第1保
護膜27は、酸化前の金属膜の状態であるので、酸化膜に比べてエッチングレートが大き
く、エッチングプロセスに要する時間を短縮できる。
なお、従来では、ハードマスクを使用して上部電極を形成し、上部電極の上に形成した
ハードマスクをパターニング後に除去していた。ハードマスクの除去はウェットやドライ
エッチングの二種類の方法があるが、ウェット方法で除去する場合、シリコン基板の周辺
やベベル部分に膜剥がれが発生し易くなり、剥がれた膜がシリコン基板に再付着して、コ
ンタクト不良の原因となっていた。
一方、ドライエッチング方法では、ハードマスクをうまく除去できるが、ドライエッチ
ングすると同時に、微小異物(0.2μm以下)が上部電極の表面に残される。上部電極
28の上に微小異物が残ったままで第2保護膜30を形成すると、図6の破線で囲まれた
部分に例示するように、微小異物が介在する第2保護膜30と上部電極29の密着性が悪
くなったり、膜に欠陥が生じたりしていた。これにより、導電性プラグ45Aを形成する
際に、WFを含む反応ガスを構成するタングステン、フッ素、水素が第2保護膜30の
欠陥を通ってキャパシタに侵入し、強誘電体膜23,24を劣化するおそれがある。
この実施の形態では、強誘電体キャパシタ31のパターニング後に第1保護膜27を除
去する必要がなくなるので、従来のような微小異物が発生することがない。したがって、
膜剥がれや強誘電体膜の劣化を防止でき、高品質の半導体装置が得られる。さらに、第1
保護膜27の除去工程が不要になることで、プロセスを簡略化することができ、作業効率
を向上できる。
ここで、この実施の形態の変形例について説明する。
図3(a)に示すように、第1保護膜27は、膜厚方向で上側の上部領域27Aから中
間領域、下部領域27の順に徐々に酸素濃度が低下する構成であっても良い。つまり、図
3(b)に膜厚方向の酸素濃度プロファイルの一例を示すように、上部流域27から下部
領域27Bに向かって酸素濃度が漸次低下するような構成であっても同様の効果が得られ
る。なお、この場合も側部は酸化によって酸素濃度が高められている。
また、図4Aに示すように、第2保護膜30は、第1層30Aと第2層30Bと順番に
積層した二層構造でも良い。第2保護膜30を構成する材料としては、例えばTiO
TaO、AlO、ZrO、HfO、NbO、VO、ZnOや、PZTなど
があげられる。第1層30Aと第2層30Bとは、同一成分から構成しても良いし、異な
る成分にしても良い。いずれの場合でも水素や水が強誘電体キャパシタ31に拡散するこ
とを防止する拡散防止膜として機能する。そして、2層の積層構造を有することから、よ
り確実に水素等の拡散を防止できる。また、第1層30Aを第2層30Bより薄くするこ
とにより、第1層30Aを形成した後に回復アニールを行えば強誘電体膜23,24への
酸素添加が容易になる。
図4Bに示すように、第1保護膜51は、積層方向に2層構造を有し、上部電極28に
接する下部領域となる下層保護膜51Aと、上部領域になる上層保護膜51Bとからなる
。上層保護膜51Bは酸素含有量が略均一で、下層保護膜51Aより高い。下層保護膜5
1Aは、膜内の酸素含有量の分布が積層方向で異なり、より具体的には上部から下部にか
けて漸次酸素含有量が低下している。このような第1保護膜51であっても前記と同様の
効果が得られる。なお、上層保護膜51Bは、成膜時に金属酸化膜として形成される。下
層保護膜51Aの側部も酸化によって酸素濃度を高められる。また、第1保護膜51を1
層構造とし、成膜後の熱処理で酸化させることによって下層保護膜51A及び上層保護膜
51Bを形成しても良い。
さらに、図5に示すように、上部電極28の上には、還元性物質の透過を防止する機能
を有する第1保護膜52が3層構造になっている。具体的には、第1保護膜52は、積層
方向に順番に積層された下層保護膜52Aと、中間保護膜52Bと、上層保護膜52Cと
を有する。下層保護膜52Aは下部領域に相当し、中間保護膜52Bは膜中心領域に相当
する。上層保護膜52Cは上部領域に相当する。さらに、第2保護膜53が第1保護膜5
2の上面及び側面を覆うと共に、上部電極27を含む強誘電体キャパシタ31の側面を覆
うように設けられている。
下層保護膜52Aと上層保護膜52Cとは、第1保護膜27と同様の材料、例えばTi
や、TiON、TaO、TaON、TiAlO、TaAlO、TiAlON、
TaAlON、TiSiON、TaSiON、TiSiO、TaSiO、AlO
ZrOなどから形成される。保護膜52Aと上層保護膜52Cとは同じ材料から構成し
ても良い。中間保護膜52Bは、例えば、TiONや、TaON、TiAlON、TaA
lON、TiSiON、TaSiONなどから形成される。中間保護膜52Bは、その直
下の下層保護膜52A及び直上に上層保護膜52Cのそれぞれより酸素含有量が低い。こ
の第1保護膜52を作製するときは、下層保護膜52A、中間保護膜52B、上層保護膜
52Cの順番に膜を形成する。中間保護膜52Bの酸素量を相対的に少なくしている理由
は、酸素が少ないほどパターニング時のエッチングレートを速くできるからである。
このように膜質が異なる保護膜積の積層構造を採用することで水素に対する耐性がさら
に向上される。なお、積層構造を有する第1保護膜52は、4層以上、でも良い。そのよ
うな場合でも中間保護膜の酸素含有量を下部領域の保護膜及び上部領域の保護膜より低く
することが好ましい。
(第2実施の形態)
本発明の第2実施の形態について図面を参照して詳細に説明する。なお、第1実施の形
態と同じ構成要素には同じ符号を付し、重複する説明は省略する。
本実施の形態に係る半導体装置は、スタック構造を有する半導体記憶装置(強誘電体メ
モリ)である。
図7Aに示す断面構造を得るまでの工程について説明する。
まず、シリコン基板1の表面に素子分離絶縁膜2によってメモリ領域A内の活性領域同
士、即ちpウェル3同士を区画し、トランジスタT1,T2を形成する。さらに、各ソー
ス/ドレイン領域11A,11Bの位置に対応して第1層間絶縁膜16にコンタクトホー
ル17A〜17Eを利用した導電性プラグ18A〜18Cを形成する。ここまでの工程の
詳細は、第1実施の形態と同様である。
次に、導電性プラグ18〜18Cを含む第1層間絶縁膜16の全面に第1酸化防止膜6
1として、SiON膜を例えばプラズマCVD法により130nmの膜厚に形成する。さ
らに、第1酸化防止膜61の上に第2層間絶縁膜62として、シリコン酸化膜を例えばT
EOSを原料とするプラズマCVD法によって300nmの膜厚で形成する。なお、Si
ON膜の代わりにSiN膜やAlO膜を形成しても良い。
第2層間絶縁膜62上にレジストパターンを形成する。レジストパターンはpウェル3
の両側寄りの導電性プラグ18A,18Cの上に開口を有している。そして、レジストパ
ターンをマスクに用いて第2層間絶縁膜62及び第1酸化防止膜61をドライエッチング
し、第2ソース/ドレイン領域11A,11Bに達するビアホール63を形成する。ビア
ホール63には、導電性プラグ64A,64Bが埋め込まれる。導電性プラグ64A,6
4Bは、第1の実施の形態と同様のプロセスで作製される密着層65AとW層65Bとか
ら形成される。
第2層間絶縁膜62の上に形成された余分な密着層65A及びW層65Bは、CMP法
による研磨で除去される。CMP法では、研磨対象である密着層65A及びW層65Bの
研磨速度が下地の第1絶縁膜よりも速くなるようなスラリ、例えばキャボット・マイクロ
エレクトロニクス社製のSSW2000を使用することができる。そして、第1層間絶縁
膜16上に研磨残を残さないために、このCMPの研磨量は密着層65A及びW層65B
の合計膜厚よりも厚く設定する。即ち、ここでのCMP研磨はオーバー研磨となる。
その結果、導電性プラグ64A,64Bの上面高さが第2層間絶縁膜62の上面よりも
低くなってリセスが発生する。このリセスの深さは20〜50nmであり、典型的には約
50nm程度である。
このリセスを解消するために、第2層間絶縁膜62の表面をNHプラズマで処理する
ことにより、表面の酸素原子にNH基を結合させる。これによって、第2層間絶縁膜62
上にTi原子をさらに堆積させてもTi原子が酸素原子に捕獲されてしまうことがなく、
第2層間絶縁膜62の表面を自在に移動できるようになる。このようにして第2層間絶縁
膜62上に(002)配向に自己組織化されたTi膜は、その上面の平坦性が改善される
なお、アンモニアプラズマ処理は、例えばシリコン基板1に対して約9mm(350m
ils)離間した位置に対向電極を有する平行平板型のプラズマ処理装置を使いて実施す
る。処理条件は、例えば、266Pa(2Torr)の圧力下、400℃の基板温度に保
持された処理容器中にアンモニアガスを350sccmの流量で供給し、シリコン基板1
側に13.56MHzの高周波を100Wのパワーで、また対向電極に350kHzの高
周波を55Wのパワーで、60秒間供給することにより実行する。
次に、図7Bに示す断面構造を得るまでの工程について説明する。
例えばシリコン基板1とターゲットの間の距離を60mmに設定したスパッタ装置中で
、0.15PaのAr雰囲気下、20℃の基板温度で2.6kWのスパッタDCパワーを
35秒間供給する。これによって、強い(002)配向のTi膜が約100nmの厚さに
形成される。
さらに、窒素の雰囲気中において基板温度650℃で60秒のRTAを行い、(111
)配向のTiN膜からなる下地導電膜70を形成する。この下地導電膜70の厚さは10
0nm〜300nmで、より好ましくは約100nmである。下地導電膜70は窒化チタ
ン膜に限定されず、タングステン膜、シリコン膜、及び銅膜のいずれかを下地導電膜70
として形成しても良い。但し、結晶性を向上するために、下地導電膜70はTi膜をアン
モニアプラズマ処理することにより作製したTiN膜であることが好ましい。
導電性プラグ64A,64Bのリセスの影響によって、下地導電膜70の上面には凹部
が形成されるので、CMP法で下地導電膜70の上面を研磨して平坦化されることで凹部
を除去する。CMPで使用されるスラリは特に限定されないが、例えば、キャボット・マ
イクロエレクトロニクス社製のSSW2000を使用できる。ところで、CMP後の下地
導電膜70の厚さは、研磨誤差に起因して、シリコン基板1の面内や、複数のシリコン基
板1間でばらつきが生じる。そのようなばらつきを考慮して研磨時間を制御すれば、CM
P後の下地導電膜70の厚さの目標値を50nm〜100nm、より好ましくは50nm
にする。
ところで、下地導電膜70に対してCMPを行った後では、下地導電膜70の上面付近
の結晶が研磨によって歪んだ状態となっている。このように結晶に歪を有する下地導電膜
70の上方にキャパシタの下部電極を形成すると、その歪みの影響が下部電極に及んで下
部電極の結晶性が劣化し、下地導電膜70の上の強誘電体膜の強誘電体特性が劣化するこ
とがある。
このような不都合を回避するために、下地導電膜70の上面を前記したNHプラズマ
に曝すことで、下地導電膜70の結晶の歪みを解消させ、これ以降に堆積させる膜に影響
を与えないようにする。
そして、NHプラズマ処理を行って結晶の歪みを解消した下地導電膜70の上に結晶
性導電密着膜71としてTi膜をスパッタ法により厚さ約20nmに形成する。結晶性導
電密着膜71を形成した後、窒素雰囲気中で650℃、60秒間の処理条件でRTAを行
い、(111)配向のTiN膜を形成する。結晶性導電密着膜71は、自身の配向の作用
によって、その上に後に堆積される膜の配向を高める機能に加え、密着膜としての機能も
有する。
なお、結晶性導電密着膜71は、TiNに限定されない。例えば、薄い(20nmが望
ましい)貴金属Ir、Ptなどでも良い。
次に、結晶性導電密着膜71上に導電性酸素バリア膜72AとしてTiAlN膜を形成
する。
導電性酸素バリア膜72Aは、TiとAlを合金化させたターゲットを使った反応性ス
パッタにより100nmの厚さに形成される。成膜条件は、例えばArを40SCCM及
び窒素を10SCCMの流量で供給した混合雰囲気において、253.3Paの圧力、4
00℃の基板温度、1.0kWのスパッタパワーに設定する。
さらに、導電性酸素バリア膜72A上に下部電極膜72BしてIr膜をAr雰囲気中、
0.11Paの圧力下、500℃の基板温度、0.5kWのスパッタパワーで100nm
の厚さに形成する。
なお、下部電極膜72Bは、Ir膜の代わりにPtなどの白金族の金属、あるいはPt
Oや、IrO、SrRuOなどの導電性酸化物を用いることもできる。さらに、これ
らの金属あるいは金属酸化物の積層膜でも良い。
次に、第1強誘電体膜74としてPZT膜をMOCVD法により形成する。より具体的
には、Pb(DPM)、Zr(dmhd)およびTi(O−iOr)(DPM)
をTHF溶媒中に、いずれも0.3mol/lの濃度で溶解し、Pb,ZrおよびTiの
各液体原料を形成する。さらにこれらの液体原料を、MOCVD装置の気化器に、流量が
0.474ml/分のTHF溶媒と共に、それぞれ0.326ml/分、0.200ml
/分、及び0.200ml/分の流量で供給する。
このような液体が気化することでPb,Zr及びTiの原料ガスが形成される。さらに
、MOCVD装置中に、665Pa(5Torr)の圧力下、620℃の基板温度で、P
b,Zr及びTiの原料ガスをMOCVD装置に620秒間供給する。これにより、第2
の下部電極膜72B上に所望のPZT膜が、例えば100nmの厚さに形成される。
次に、図7Cに示す断面構造を得るまでの工程について説明する。
まず、第1強誘電体膜74の全面に、アモルファス状の第2強誘電体膜75を例えばス
パッタ法により形成する。第2強誘電体膜75は、例えば膜厚が1nm〜30nm(より
好ましくは20nm)とする。MOCVDで成膜する場合、鉛(Pb)供給用の有機ソー
スとしては、Pb(DPM)(Pb(C1119)をTHF(tetrahydrofu
ran:CO)液に溶かした材が用いられる。また、ジルコニウム(Zr)供給用の
有機ソースとしては、Zr(DMHD)(Zr((C15)をTHF液に
溶かした材料が用いられる。チタン(Ti)供給用の有機ソースとしては、Ti(O−i
Pr)(DPM)(Ti(CO)(C1119)をTHF液に溶
かした材料が用いられる。
次いで、第2強誘電体膜75上に第1上部電極膜76Aを形成する。第1上部電極膜7
6Aの形成に当たっては、先ず、第2強誘電体膜75上に、厚さが50nmで成膜の時点
で結晶化したIrO膜をスパッタ法により形成する。例えば、このときの成膜温度を3
00℃とし、成膜ガスとしてAr及びOを用い、これらの流量をいずれも100scc
mとする。また、スパッタパワーは、例えば1kW〜2kW程度とする。
ついで、RTA法で725℃、20sccmの酸素と2000sccmのArを供給し
た雰囲気中で60秒間熱処理を行う。この熱処理によって第2強誘電体膜75が完全に結
晶化すると共に、第1上部電極膜76Aのプラズマダメージが回復し、第1強誘電体膜7
4中の酸素欠損が補償される。
さらに、膜厚が100nm〜300nmの第2上部電極膜76Bとして、IrO膜を
例えば200nm形成する。IrO膜は、例えば、Ar雰囲気中、且つ0.8Paの圧
力下、1.0kWのスパッタパワーで79秒間堆積させる。
この際、工程劣化を抑えるために酸化イリジウム膜をIrOの化学量論組成に近い組
成にすると、水素に対して触媒作用を生じることがなく、第2強誘電体膜75が水素ラジ
カルにより還元される問題が抑制され、キャパシタの水素耐性が向上する。
なお、第2上部電極76Bの材料として、IrOの代わりにIr、Ru、Rh、Re
、Os、Pd、これらの酸化物、SrRuOなどの導電性酸化物や、これらの積層構造
を用いても良い。
次に、図7Dに示す断面構造を得るまでの工程について説明する。
まず、第2上部電極膜76上に水素バリア膜77として、Ir膜をスパッタにより、A
r雰囲気中、1Paの圧力下、1.0kWのスパッタパワーで100nmの厚さに堆積す
る。なお、水素バリア膜77は、Ir膜に限定されず、Pt膜やSrRuO膜を使用し
ても良い。
そして、シリコン基板1の背面を洗浄した後、第1、第2上部電極膜76A,76Bや
、第1、第2強誘電体膜74,75、第1、第2下部電極膜72A,72Bなどをパター
ニングする際にハードマスクとして用いる第1保護膜78とマスク材料層79とを順次形
成する。
第1保護膜78は、水素バリア膜77の上に形成され、スパッタ法により成膜されたT
iNからなる。第1保護膜78は、TiAlNや、TaAlN、TaN膜及びこれらの積
層膜でも良い。
マスク材料層79は、第1保護膜78の上に形成され、例えばTEOSガスを使用する
CVD法で成膜された酸化シリコン膜からなる。
この後、マスク材料層79の上にフォトレジストを塗布し、次いでフォトレジストを露
光、現像してキャパシタ平面形状のレジストパターンを形成する。
次に、図7Eに示すように、エッチングの際には、最初にレジストパターンをマスクに
使用してマスク材料層79を島状にパターニングし、マスク材料層79をマスクにして第
1保護膜78をエッチングする。これにより、マスク材料層79(第2のマスク)と、第
1保護膜78(第1のマスク)とからなるハードマスクがキャパシタ形成領域に島状に形
成される。その後、マスク材料層79上のレジストパターンを除去する。
次に、図7Fに示す断面構造を得るまでの工程について説明する。
HBr、O、Ar、及びCの混合ガスをエッチングガスとするプラズマエッチ
ングにより、ハードマスクで覆われていない部分の第1、第2上部電極膜76A,76B
、第1、第2強誘電体膜74、75、第2下部電極膜72A、72Bをドライエッチング
する。
これによって、上部電極膜76A,76Bがパターニングされてキャパシタ用の上部電
極80が形成され、同様に下部電極膜72A、72Bがパターニングされてキャパシタ用
の下部電極73が形成される。
上部電極80、強誘電体膜74,75、及び下部電極73を有する強誘電体キャパシタ
81が形成される。
次に、強誘電体キャパシタ81で覆われていない部分の結晶性導電密着膜71、下地導
電膜70をエッチングにより除去し、これらの膜を強誘電体キャパシタ81の下のみに島
状に残す。
なお、エッチング後にハードマスクの内、マスク材料層79を除去する。その一方で、
第1保護膜78は除去せずに残される。
下地導電膜70及び結晶性導電密着膜71のエッチングは、例えば、ダウンフロー型プ
ラズマエッチングにより行われる。その条件として、チャンバ内に流量比で5%のCF
ガスと95%のOガスとの混合ガスをエッチングガスとして供給すると共に、チャンバ
の上部電極に周波数2.45GHzでパワーが1400Wの高周波電力を供給して、基板
温度を200℃にする。
図8に拡大して示すように、第1保護膜78には、酸素含量が多い上部領域78A及び
下部領域78Bと、積層方向で上部領域78A及び下部領域78Bに挟まれ、これら2つ
の領域78A,78Bよりも酸素濃度が相対的に低い膜中心領域78Cとが形成される。
つまり、第1保護膜78は、積層方向に酸素濃度が異なる部分を有する。
なお、第1保護膜78の外周側の表面領域である側部領域78Dは、上部領域78Aと
一体に形成され、略同じ酸素濃度になる。即ち、第1保護膜78は、側部領域78Dを除
いて、酸素濃度が積層方向に異なる。より詳細には、側部領域78Dを除いて、膜中心領
域78Cの酸素濃度が上部領域78A及び下部領域78Bのそれぞれの酸素濃度より低く
なっている。各領域の膜厚の割合は第1の実施の形態と同様であることが好ましい。
これにより、第1保護膜78が下から順にTiO、TiON、TiO(x>y)の
層構造、又はTiO、TiO、TiON(x>y)の層構造、又はTiO、TiO
N、TiOの層構造を持つようになる。
なお、第1保護膜78はTiN膜に限定されず、Ti、TiN、Ta、TaN、TiA
l、TaAl、TiAlN、TaAlN、TiSiN、TaSiN、TiSi、TaSi
のいずれかから形成しても良い。つまり、酸化後の第1保護膜78は、TaN、TiON
、TiO、TaO、TaON、TiAlO、TaAlO、TiAlON、TaA
lON、TiSiON、TaSiON、TiSiO、TaSiO、AlO、ZrO
などの材料から形成しても良い。
また、ハードマスクとしても機能する第1保護膜78の側部はある程度にエッチングさ
れるので、膜厚方向の上部領域の面積が下部領域の面積より小さくなる。
次に、図7Gに示す断面構造を得るまでの工程について説明する。
強誘電体キャパシタ81及び第2層間絶縁膜62を覆う第2保護膜82としてAl
をスパッタ法により20nmの膜厚に形成する。或いは、MOCVD法又はALD法で
2nm〜5nmのAlOを形成する。
ここで、強誘電体膜74,75のダメージを回復させる目的で、酸素含有雰囲気中で回
復アニールを施す。回復アニールの条件は特に限定されないが、例えば炉内において基板
温度550℃〜700℃で実施する。また、強誘電体膜74,75がPZTの場合、60
0℃酸素の雰囲気中で60分アニールを行うことが好ましい。この熱処理により、ハード
マスクである第1保護膜78中のTiNが酸化する。酸化されたTiN膜の酸素含有量は
、膜の縦方向(積層方向)における上部領域の方が下部領域より多くなる。
次に、第1保護膜78及び強誘電体キャパシタ81を覆うように、第3保護膜83とし
てAlをCVD法により約38nmの膜厚に形成する。
第3保護膜83を構成する酸化アルミニウム膜は、水素や水分等の還元性物質が透過す
ることを阻止する機能に優れている。このため、強誘電体膜74,75の強誘電体特性が
還元性物質により劣化されるのを防止する。
なお、第2、第3絶縁保護膜82,83の膜剥がれを防止するために、第3保護膜83
の形成前に酸素を含む炉内でアニールを行っても良い。アニール条件としては、例えば基
板温度350℃、処理時間1時間とする。第3保護膜83は、酸化アルミニウム以外に、
チタン酸化膜、タンタル酸化膜、ジルコニウム酸化膜、アルミニウム窒化膜、タンタル窒
化膜及びアルミニウム酸窒化膜でも良い。なお、第2、第3保護膜82,83は、第1実
施の形態の第2保護膜30に相当し、同様の材料から形成しても良い。
次に、第3保護膜83の全面に、第3層間絶縁膜85としてシリコン酸化物を例えばプ
ラズマTEOSCVD法により膜厚1500nmで形成する。第3層間絶縁膜85として
シリコン酸化膜を形成する場合には、原料ガスとして、例えば、TEOSガスと酸素ガス
とヘリウムガスとの混合ガスを用いる。なお、第3層間絶縁膜85として、例えば、絶縁
性を有する無機膜等を形成しても良い。第3層間絶縁膜85を形成したら、その表面を例
えばCMPで平坦化する。
続いて、NOガス又はNガス等を用いて発生させたプラズマ雰囲気で、熱処理を行
って第3層間絶縁膜85中の水分を除去する。この際、第3層間絶縁膜85の膜質が改善
されて膜中に水分が入り難くなる。
次に、図7Hに示す断面構造を得るまでの工程について説明する。
まず、第3層間絶縁膜85の全面に、バリア膜86を例えばスパッタ法又はCVD法に
より形成する。バリア膜86としては、例えば、膜厚が20nm〜100nmの酸化アル
ミニウム膜が用いられる。平坦化された第3層間絶縁膜85上にバリア膜86が形成され
るため、バリア膜86の表面は平坦になる。
さらに、バリア膜86の全面に第4層間絶縁膜87を例えばプラズマTEOSCVD法
により形成する。第4層間絶縁膜87としては、例えば膜厚が800nm〜1000nm
のシリコン酸化膜が用いられる。なお、第4層間絶縁膜87として、SiON膜又はシリ
コン窒化膜等を形成しても良い。第4層間絶縁膜87を形成したら、その表面を例えばC
MPで平坦化する。
続いて、レジストマスクを用いて第4層間絶縁膜87中にビアホール88A,88Bを
形成する。ビアホール88A,88Bを形成する際には、キャパタ81の上部電極80を
覆う水素バリア膜77を露出させた後、550℃で酸素雰囲気中において熱処理を行う。
これによって、ビアホール88A,88Bの形成時に第1強誘電体膜74中に生じた酸素
欠損が回復される。また、この後に、pウェル3の中央の導電性プラグ18Bの上にビア
ホール89を形成する。
次に、図7Iに示す断面構造を得るまでの工程について説明する。
ビアホール88,89に導電性プラグ90A,90B,90Cを形成する。まず、ビア
ホール88,89の内面にTiN膜を単層で密着層として形成することが好ましい。なお
、密着層は、Ti膜をスパッタにより形成し、その上にTiN膜をMOCVD法により形
成した積層構造でも良い。この場合、TiN膜から炭素除去を行うため、窒素と水素の混
合ガスプラズマ中での処理が必要になるが、上部電極80にIrよりなる水素バリア膜7
7をそれぞれ形成しているため、上部電極80の還元は防止される。
なお、ビアホール88A,88Bは、第1保護膜78を貫通して導電性の水素バリア膜
77に至るまで形成されているが、水素バリア膜77を絶縁材から形成する場合には、ビ
アホール88A,88Bは上部電極80に達する深さに形成する。
次に、図7Jに示す断面構造を得るまでの工程について説明する。
第4層間絶縁膜87上に導電性プラグ90A,90B,90Cに対応して配線パターン
を形成する。即ち、例えばスパッタ法により、膜厚が60nmのTi膜と、膜厚が30n
mのTiN膜と、膜厚が360nmのAlCu合金膜と、膜厚が5nmのTi膜と、膜厚
が70nmのTiN膜とを順次形成する。これにより、Ti膜、TiN膜、AlCu合金
膜、Ti膜及びTiN膜からなる積層膜を形成する。
次に、フォトリソグラフィ技術を用い、積層膜をパターニングする。この結果、積層膜
からなる配線(第1金属配線層)92A,92Bが形成される。これにより、導電性プラ
グ90A,90Bを介して強誘電体キャパシタ81の上部電極膜80と配線92Aとが電
気的に接続される。同様に、導電性プラグ18B,90Cを介して第1ソース/ドレイン
領域11Aと配線92Bとが電気的に接続される。
その後、図示を省略するが層間絶縁膜を形成した後、導電性プラグの形成及び下から第
2〜5層目以降の配線の形成等を行う。そして、例えばTEOS酸化膜及びSiN膜から
なるカバー膜を形成すると、強誘電体キャパシタを有する強誘電体メモリが完成する。
以上、述べたように、この実施の形態における第1保護膜78は、強誘電体キャパシタ
81の回復アニールによって上部領域78A及び下部領域78Bの酸素濃度が膜中心領域
78Cに比べて高くなるような構造を有する。このような第1保護膜78は、上部電極8
0をパターニングする際のメタルマスクになると共に、還元性物質の透過を防止する機能
を備える。即ち、強誘電体キャパシタ81のパターニングを行った後に、除去されること
なく上部電極80上に残されて、還元性物質が強誘電体キャパシタ81に透過することを
防止するバリア膜として機能する。これにより、半導体装置の製造工程を簡略化できると
共に、不良の発生が抑制されて生産効率が向上する。さらに、強誘電体メモリ(半導体装
置)の信頼性を向上できる。
なお、強誘電体膜74,75の形成方法としては、スパッタ法及びMOCVD法の他に
、ゾル−ゲル法や、有機金属分解(MOD)法、CSD(Chemical Solution Deposition
)法、化学気相蒸着(CVD)法、エピタキシャル成長法等があげられる。
また、強誘電体膜74,75としては、例えば、熱処理により結晶構造がBi層状構造
又はペロブスカイト構造となる膜を形成することができる。このような膜としては、PZ
T膜の他、La、Ca、Sr及び/又はSi等を微量ドープしたPZT、SBT、BLT
並びにBi系層状化合物などの一般式ABOで表される膜が挙げられる。
また、第1上部電極膜76Aを形成する際には、例えば、白金、イリジウム、ルテニウ
ム、ロジウム、レニウム、オスミウム及び/又はパラジウムを含むターゲットを用いたス
パッタリングを、これらの貴金属元素の酸化が生じる条件下で行うことができる。特に、
Ir酸化膜を形成する場合には、成膜温度を20℃乃至400℃、例えば300℃とする
ことが好ましい。また、スパッタガスを構成する酸素ガス及び不活性ガスの圧力に対する
酸素ガスの分圧は10%乃至60%が好ましい。膜厚さは10nm乃至75nmとするこ
とが好ましい。
また、第1上部電極膜76Aを成膜した後の熱処理温度は、650℃乃至750℃、例
えば700℃とすることが好ましく、熱処理雰囲気は酸素含有量を1%乃至50%とする
ことが好ましい。
さらに、第1上部電極76A上に形成される導電膜はIrO膜に限定されるものでは
なく、白金(Pt)、イリジウム(Ir)、ルテニウム(Ru)、ロジウム(Rh)、レ
ニウム(Re)、オスミウム(Os)及び/又はパラジウム(Pd)等の貴金属元素を含
有する金属膜を形成しても良い。さらに、これらの酸化膜、例えばSrRuO膜を形成
しても良い。また、導電膜として、2層構造以上、の膜を形成しても良い。
なお、第1保護膜78の構成を第1の実施の形態と同様、例えば図3、図4A、図4B
、図5に示すような構造にしても良い。
以下に、本発明の実施形態についてさらに付記する。
(付記1) 半導体基板と、
前記半導体基板上に絶縁膜を介して順次積層された下部電極、強誘電体膜及び上部電極
を有する強誘電体キャパシタと、
前記強誘電体キャパシタの積層方向において前記上部電極の上方に設けられ、膜厚方向
に酸素濃度の分布が異なる部分を有する第1保護膜と、
前記第1保護膜の上方、及び前記強誘電体キャパシタの側壁を含む領域に設けられる第
2保護膜と、
を有することを特徴とする半導体装置。(請求項1)
(付記2) 前記第1保護膜は、膜厚方向の上部領域より下部領域の前記酸素濃度が低い
部分を有することを特徴とする付記1に記載の半導体装置。(請求項2)
(付記3) 前記第1保護膜は、膜厚方向の上部領域及び下部領域より膜中心となる部分
の前記酸素濃度が低い部分を有することを特徴とする付記1に記載の半導体装置。(請求
項3)
(付記4) 前記第1保護膜は、前記上部領域の少なくとも一部が膜厚方向に均一な高い
前記酸素濃度を有し、前記下部領域が下方へ向かうほど前記酸素濃度が低くなっている部
分を有することを特徴とする付記1乃至付記3のいずれか一項に記載の半導体装置。
(付記5) 前記第1保護膜は、複数の膜を積層させた構成を有し、積層方向で最も下層
に配置される下層保護膜と、最も上側に配置される上層保護膜と、これら2つの膜に挟ま
れる中間保護膜を有し、前記中間保護膜の前記酸素濃度は、前記上層保護膜及び前記下層
保護膜のそれぞれの前記酸素濃度より低いことを特徴とする付記1に記載の半導体装置。
(付記6) 前記第1及び第2保護膜は異なる材料から形成されていることを特徴とする
付記1乃至付記5のいずれか一項に記載の半導体装置。
(付記7) 前記第2保護膜は、同一成分或いは異なる成分を有する複数の膜の積層体で
あることを特徴とする付記1乃至付記6のいずれか一項に記載の半導体装置。
(付記8) 前記第1保護膜は、TiO、TiON、TaO、TaON、TiAlO
、TaAlO、TiAlON、TaAlON、TiSiON、TaSiON、TiS
iO、TaSiO、AlO、ZrO膜からなる群から選択された1種であること
を特徴とする付記5に記載の半導体装置。
(付記9) 前記中間保護膜は、TiON、TaON、TiAlON、TaAlON、T
iSiON、TaSiON膜からなる群から選択された1種であることを特徴とする付記
5に記載の半導体装置。
(付記10) 前記第1保護膜は、上面が下面よりの面積が狭いことを特徴とする付記1
乃至付記9のいずれか一項に記載の半導体装置。
(付記11) 半導体基板の上方に下部導電膜、強誘電体膜、上部導電膜を積層する工程
と、
前記上部電極の上に第1保護膜を形成する工程と、
前記第1保護膜及び前記上部導電膜をパターニングすることにより、前記導電膜からキ
ャパシタの上部電極を形成する工程と、
前記強誘電体膜及び前記第1保護膜を酸素雰囲気中で加熱することにより、前記第1保
護膜中で酸素濃度が膜厚方向に異なる部分を形成する熱処理工程と、
前記強誘電体膜及び前記下部導電膜をパターニングすることにより、前記下部導電膜か
ら前記キャパシタの下部電極を形成する工程と、
前記第1保護膜及び前記キャパシタを覆う第2保護膜を形成する工程と、
を有する工程を含むことを特徴とする半導体装置の製造方法。(請求項4)
(付記12) 半導体基板の上方に下部導電膜、強誘電体膜、及び上部導電膜を順に積層
する工程と、
前記上部導電膜の上に第1のハードマスク及び第2のハードマスクを順番に形成する工
程と、
前記第1及び第2のハードマスクを用いて、前記下部導電膜、前記強誘電体膜、及び前
記上部導電膜をパターニングして強誘電体キャパシタを形成する工程と、
前記強誘電体キャパシタを形成した後に、前記第1のハードマスクを残して前記第2の
ハードマスクを除去する工程と、
前記強誘電体キャパシタ及び前記第1のハードマスクを酸素雰囲気中で加熱し、前記第
1のマスクの少なくとも一部を酸化させ膜厚方向で酸素濃度の分布が異なる部分を有する
第1保護膜を形成する熱処理工程と、
前記第1保護膜及び前記強誘電体キャパシタを覆う第2保護膜を形成する工程と、
を有することを特徴とする半導体装置の製造方法。(請求項5)
(付記13) 前記熱処理を行う工程を、550℃乃至700℃の温度条件下で行うこと
を特徴とする付記12に記載の半導体装置の製造方法。
(付記14) 前記上部導電膜として、貴金属の酸化物を含有する膜を形成することを特
徴とする付記12又は付記13に記載の半導体装置の製造方法。
(付記15) 前記熱処理は、前記第1のハードマスク中の前記酸素濃度を上部領域より
下部領域が低くなる部分を形成する工程を含むことを特徴とする付記12に記載の半導体
装置の製造方法。
(付記16) 前記熱処理は、前記第1のハードマスク中の前記酸素濃度を上部領域及び
下部領域よりも膜中心の方が低くなる部分を形成する工程を含むことを特徴とする付記1
2乃至付記15のいずれか一項に記載の半導体装置の製造方法。
(付記17) 前記上部導電膜と前記第1保護膜をパターニングする工程は、前記第1保
護膜の上面を下面の面積より狭くする工程を含むことを特徴とする付記12乃至付記16
のいずれか一つに記載の半導体装置の製造方法。
(付記18) 前記第1保護膜を形成する工程は、Ti、TiN、Ta、TaN、TiA
l、TaAl、TiAlN、TaAlN、TiSiN、TaSiN、TiSi、TaSi
膜からなる群から選択された1種の膜を形成する工程であることを特徴とする付記12乃
至付記17のいずれか一項に記載の半導体装置の製造方法。
(付記19) 前記第1保護膜を形成する工程は、積層方向で最も下層に配置される下層
保護膜と、前記下層保護膜上に形成される中間保護膜と、最も上側に配置される上層保護
膜とを順番に積層させる工程を含み、
前記中間保護膜は、前記上層保護膜及び前記下層保護膜のそれぞれより前記酸素濃度が
低くなるように形成することを特徴とする付記12乃至付記17に記載の半導体装置の製
造方法。
図1Aは、本発明の第1の実施の形態に係る半導体装置の製造工程を示す断面図(その1)である。 図1Bは、本発明の第1の実施の形態に係る半導体装置の製造工程を示す断面図(その2)である。 図1Cは、本発明の第1の実施の形態に係る半導体装置の製造工程を示す断面図(その3)である。 図1Dは、本発明の第1の実施の形態に係る半導体装置の製造工程を示す断面図(その4)である。 図1Eは、本発明の第1の実施の形態に係る半導体装置の製造工程を示す断面図(その5)である。 図1Fは、本発明の第1の実施の形態に係る半導体装置の製造工程を示す断面図(その6)である。 図1Gは、本発明の第1の実施の形態に係る半導体装置の製造工程を示す断面図(その7)である。 図1Hは、本発明の第1の実施の形態に係る半導体装置の製造工程を示す断面図(その8)である。 図1Iは、本発明の第1の実施の形態に係る半導体装置の製造工程を示す断面図(その9)である。 図1Jは、本発明の第1の実施の形態に係る半導体装置の製造工程を示す断面図(その10)である。 図1Kは、本発明の第1の実施の形態に係る半導体装置の製造工程を示す断面図(その11)である。 図2(a)は第1保護膜の構成を説明する断面図を示し、図2(b)は膜厚方向の酸素濃度の変化の一例を示すグラフである。 図3(a)は第1保護膜の構成の変形例を説明する断面図を示し、図3(b)は膜厚方向の酸素濃度の変化の一例を示すグラフである。 図4Aは、本発明の第1の実施の形態に係る半導体装置におけるキャパシタ上の第1保護膜の構成の第1変形例を説明する断面図である。 図4Bは、本発明の第1の実施の形態に係る半導体装置におけるキャパシタ上の第1保護膜の構成の第2変形例を説明する断面図である。 図5は、本発明の第1の実施の形態に係る半導体装置におけるキャパシタ上の第1保護膜の構成の第3変形例を説明する断面図である。 図6は、リファレンスに係る半導体装置のキャパシタを示す断面図である。 図7Aは、本発明の第2の実施の形態に係る半導体装置の製造工程を示す断面図(その1)である。 図7Bは、本発明の第2の実施の形態に係る半導体装置の製造工程を示す断面図(その2)である。 図7Cは、本発明の第2の実施の形態に係る半導体装置の製造工程を示す断面図(その3)である。 図7Dは、本発明の第2の実施の形態に係る半導体装置の製造工程を示す断面図(その4)である。 図7Eは、本発明の第2の実施の形態に係る半導体装置の製造工程を示す断面図(その5)である。 図7Fは、本発明の第2の実施の形態に係る半導体装置の製造工程を示す断面図(その6)である。 図7Gは、本発明の第2の実施の形態に係る半導体装置の製造工程を示す断面図(その7)である。 図7Hは、本発明の第2の実施の形態に係る半導体装置の製造工程を示す断面図(その8)である。 図7Iは、本発明の第2の実施の形態に係る半導体装置の製造工程を示す断面図(その9)である。 図7Jは、本発明の第2の実施の形態に係る半導体装置の製造工程を示す断面図(その10)である。 図8は、本発明の第2の実施の形態に係る半導体装置におけるキャパシタ上の第1保護膜の構成を説明する断面図である。
符号の説明
1 シリコン基板
16 第1層間絶縁膜
11A 第1ソース/ドレイン領域
11B 第2ソース/ドレイン領域
17A,17B,17C 第1コンタクトホール
18A,18B,18C,18D,18E,44A,45B,45C,45D,45E
,64A,64B,90A,90B,90C 導電性プラグ
20,62 第2層間絶縁膜
22 第1導電膜
23,75 第1強誘電体膜
24,75 第2強誘電体膜
25 第2導電膜
26 酸化イリジウム膜
27,51,52,78 第1保護膜(第1のマスク)
27A,51B,52C,78A 上部領域
27B,51A,52A,78B 下部領域
27C,52B,78C 膜中心領域
28,80 上部電極
29,73 下部電極
30 第2保護膜
30A 第1層
30B 第2層
31,81 強誘電体キャパシタ
33,85 第3層間絶縁膜
35,87 第4層間絶縁膜
38 フォトレジスト膜
41,42,43,88,89 コンタクトホール
72A 第1下部電極膜
72B 第2下部電極膜
76A 第1上部電極膜
76B 第2上部電極膜
79 マスク材料層(第2のマスク)

Claims (5)

  1. 半導体基板と、
    前記半導体基板上に絶縁膜を介して順次積層された下部電極、強誘電体膜及び上部電極
    を有する強誘電体キャパシタと、
    前記強誘電体キャパシタの積層方向において前記上部電極の上方に設けられ、膜厚方向
    に酸素濃度の分布が異なる部分を有する第1保護膜と、
    前記第1保護膜の上方、及び前記強誘電体キャパシタの側壁を含む領域に設けられる第
    2保護膜と、
    を有することを特徴とする半導体装置。
  2. 前記第1保護膜は、膜厚方向の上部領域より下部領域の前記酸素濃度が低い部分を有す
    ることを特徴とする請求項1に記載の半導体装置。
  3. 前記第1保護膜は、膜厚方向の上部領域及び下部領域より膜中心となる部分の前記酸素
    濃度が低い部分を有することを特徴とする請求項1に記載の半導体装置。
  4. 半導体基板の上方に下部導電膜、強誘電体膜、上部導電膜を積層する工程と、
    前記上部電極の上に第1保護膜を形成する工程と、
    前記第1保護膜及び前記上部導電膜をパターニングすることにより、前記導電膜からキ
    ャパシタの上部電極を形成する工程と、
    前記強誘電体膜及び前記第1保護膜を酸素雰囲気中で加熱することにより、前記第1保
    護膜中で酸素濃度が膜厚方向に異なる部分を形成する熱処理工程と、
    前記強誘電体膜及び前記下部導電膜をパターニングすることにより、前記下部導電膜か
    ら前記キャパシタの下部電極を形成する工程と、
    前記第1保護膜及び前記キャパシタを覆う第2保護膜を形成する工程と、
    を有する工程を含むことを特徴とする半導体装置の製造方法。
  5. 半導体基板の上方に下部導電膜、強誘電体膜、及び上部導電膜を順に積層する工程と、
    前記上部導電膜の上に第1のハードマスク及び第2のハードマスクを順番に形成する工
    程と、
    前記第1及び第2のハードマスクを用いて、前記下部導電膜、前記強誘電体膜、及び前
    記上部導電膜をパターニングして強誘電体キャパシタを形成する工程と、
    前記強誘電体キャパシタを形成した後に、前記第1のハードマスクを残して前記第2の
    ハードマスクを除去する工程と、
    前記強誘電体キャパシタ及び前記第1のハードマスクを酸素雰囲気中で加熱し、前記第
    1のマスクの少なくとも一部を酸化させ膜厚方向で酸素濃度の分布が異なる部分を有する
    第1保護膜を形成する熱処理工程と、
    前記第1保護膜及び前記強誘電体キャパシタを覆う第2保護膜を形成する工程と、
    を有することを特徴とする半導体装置の製造方法。
JP2008159043A 2008-06-18 2008-06-18 半導体装置及び半導体装置の製造方法 Expired - Fee Related JP5412754B2 (ja)

Priority Applications (1)

Application Number Priority Date Filing Date Title
JP2008159043A JP5412754B2 (ja) 2008-06-18 2008-06-18 半導体装置及び半導体装置の製造方法

Applications Claiming Priority (1)

Application Number Priority Date Filing Date Title
JP2008159043A JP5412754B2 (ja) 2008-06-18 2008-06-18 半導体装置及び半導体装置の製造方法

Publications (2)

Publication Number Publication Date
JP2010003741A true JP2010003741A (ja) 2010-01-07
JP5412754B2 JP5412754B2 (ja) 2014-02-12

Family

ID=41585241

Family Applications (1)

Application Number Title Priority Date Filing Date
JP2008159043A Expired - Fee Related JP5412754B2 (ja) 2008-06-18 2008-06-18 半導体装置及び半導体装置の製造方法

Country Status (1)

Country Link
JP (1) JP5412754B2 (ja)

Cited By (4)

* Cited by examiner, † Cited by third party
Publication number Priority date Publication date Assignee Title
JP2012004448A (ja) * 2010-06-18 2012-01-05 Fujitsu Semiconductor Ltd 半導体装置の製造方法
JP2016033937A (ja) * 2014-07-31 2016-03-10 セイコーエプソン株式会社 圧電デバイスおよび超音波デバイス並びにプローブおよび電子機器
JP2016134518A (ja) * 2015-01-20 2016-07-25 富士通セミコンダクター株式会社 半導体装置とその製造方法
JP2022099038A (ja) * 2020-12-22 2022-07-04 富士通セミコンダクターメモリソリューション株式会社 半導体装置及び半導体装置の製造方法

Citations (2)

* Cited by examiner, † Cited by third party
Publication number Priority date Publication date Assignee Title
JP2000174215A (ja) * 1998-12-01 2000-06-23 Nec Corp 強誘電体集積回路及びその製造方法
WO2007116440A1 (ja) * 2006-03-30 2007-10-18 Fujitsu Limited 半導体装置の製造方法

Patent Citations (2)

* Cited by examiner, † Cited by third party
Publication number Priority date Publication date Assignee Title
JP2000174215A (ja) * 1998-12-01 2000-06-23 Nec Corp 強誘電体集積回路及びその製造方法
WO2007116440A1 (ja) * 2006-03-30 2007-10-18 Fujitsu Limited 半導体装置の製造方法

Cited By (8)

* Cited by examiner, † Cited by third party
Publication number Priority date Publication date Assignee Title
JP2012004448A (ja) * 2010-06-18 2012-01-05 Fujitsu Semiconductor Ltd 半導体装置の製造方法
JP2016033937A (ja) * 2014-07-31 2016-03-10 セイコーエプソン株式会社 圧電デバイスおよび超音波デバイス並びにプローブおよび電子機器
JP2016134518A (ja) * 2015-01-20 2016-07-25 富士通セミコンダクター株式会社 半導体装置とその製造方法
CN109166852A (zh) * 2015-01-20 2019-01-08 富士通半导体股份有限公司 半导体器件及其制造方法
US10269813B2 (en) 2015-01-20 2019-04-23 Fujitsu Semiconductor Limited Semiconductor device and method of manufacturing the same
CN109166852B (zh) * 2015-01-20 2023-06-23 富士通半导体存储方案股份有限公司 半导体器件及其制造方法
JP2022099038A (ja) * 2020-12-22 2022-07-04 富士通セミコンダクターメモリソリューション株式会社 半導体装置及び半導体装置の製造方法
JP7560010B2 (ja) 2020-12-22 2024-10-02 富士通セミコンダクターメモリソリューション株式会社 半導体装置及び半導体装置の製造方法

Also Published As

Publication number Publication date
JP5412754B2 (ja) 2014-02-12

Similar Documents

Publication Publication Date Title
US7405121B2 (en) Semiconductor device with capacitors and its manufacture method
US8236643B2 (en) Method of manufacturing semiconductor device including ferroelectric capacitor
JP5251864B2 (ja) 半導体装置及びその製造方法
US8778756B2 (en) Semiconductor device and method of manufacturing the same
JP5092461B2 (ja) 半導体装置及びその製造方法
JP5211558B2 (ja) 半導体装置の製造方法
JP5347381B2 (ja) 半導体装置の製造方法
JP5205741B2 (ja) 半導体装置の製造方法
JP5412754B2 (ja) 半導体装置及び半導体装置の製造方法
KR101262432B1 (ko) 반도체 장치의 제조 방법
JP4882548B2 (ja) 半導体装置及びその製造方法
JP2004193280A (ja) 半導体装置及びその製造方法
JP4845624B2 (ja) 半導体装置とその製造方法
JP5326256B2 (ja) 半導体装置の製造方法
JP5007723B2 (ja) キャパシタを含む半導体装置及びその製造方法
JP4716938B2 (ja) 半導体装置の製造方法
JP2007266023A (ja) 半導体装置、及び半導体装置の製造方法

Legal Events

Date Code Title Description
A621 Written request for application examination

Free format text: JAPANESE INTERMEDIATE CODE: A621

Effective date: 20101228

A131 Notification of reasons for refusal

Free format text: JAPANESE INTERMEDIATE CODE: A131

Effective date: 20130226

A977 Report on retrieval

Free format text: JAPANESE INTERMEDIATE CODE: A971007

Effective date: 20130228

A521 Request for written amendment filed

Free format text: JAPANESE INTERMEDIATE CODE: A523

Effective date: 20130430

A131 Notification of reasons for refusal

Free format text: JAPANESE INTERMEDIATE CODE: A131

Effective date: 20130723

A521 Request for written amendment filed

Free format text: JAPANESE INTERMEDIATE CODE: A523

Effective date: 20130924

TRDD Decision of grant or rejection written
A01 Written decision to grant a patent or to grant a registration (utility model)

Free format text: JAPANESE INTERMEDIATE CODE: A01

Effective date: 20131015

A61 First payment of annual fees (during grant procedure)

Free format text: JAPANESE INTERMEDIATE CODE: A61

Effective date: 20131028

R150 Certificate of patent or registration of utility model

Ref document number: 5412754

Country of ref document: JP

Free format text: JAPANESE INTERMEDIATE CODE: R150

S531 Written request for registration of change of domicile

Free format text: JAPANESE INTERMEDIATE CODE: R313531

R350 Written notification of registration of transfer

Free format text: JAPANESE INTERMEDIATE CODE: R350

LAPS Cancellation because of no payment of annual fees