JP2010002022A - 樹脂管用ワンタッチ継手 - Google Patents

樹脂管用ワンタッチ継手 Download PDF

Info

Publication number
JP2010002022A
JP2010002022A JP2008162932A JP2008162932A JP2010002022A JP 2010002022 A JP2010002022 A JP 2010002022A JP 2008162932 A JP2008162932 A JP 2008162932A JP 2008162932 A JP2008162932 A JP 2008162932A JP 2010002022 A JP2010002022 A JP 2010002022A
Authority
JP
Japan
Prior art keywords
ring
pipe
joint
insertion guide
joining pipe
Prior art date
Legal status (The legal status is an assumption and is not a legal conclusion. Google has not performed a legal analysis and makes no representation as to the accuracy of the status listed.)
Granted
Application number
JP2008162932A
Other languages
English (en)
Other versions
JP5179269B2 (ja
JP2010002022A5 (ja
Inventor
Yoichi Iijima
陽一 飯島
Keiichi Nakai
敬一 中井
Yoshio Hashioka
由男 橋岡
Current Assignee (The listed assignees may be inaccurate. Google has not performed a legal analysis and makes no representation or warranty as to the accuracy of the list.)
Kitz Corp
Original Assignee
Kitz Corp
Priority date (The priority date is an assumption and is not a legal conclusion. Google has not performed a legal analysis and makes no representation as to the accuracy of the date listed.)
Filing date
Publication date
Application filed by Kitz Corp filed Critical Kitz Corp
Priority to JP2008162932A priority Critical patent/JP5179269B2/ja
Publication of JP2010002022A publication Critical patent/JP2010002022A/ja
Publication of JP2010002022A5 publication Critical patent/JP2010002022A5/ja
Application granted granted Critical
Publication of JP5179269B2 publication Critical patent/JP5179269B2/ja
Active legal-status Critical Current
Anticipated expiration legal-status Critical

Links

Images

Landscapes

  • Joints With Sleeves (AREA)
  • Quick-Acting Or Multi-Walled Pipe Joints (AREA)
  • Joints With Pressure Members (AREA)

Abstract

【課題】高いシール性を確保しながら簡単に樹脂製の接合パイプを接続できる継手であり、接合パイプの挿入時にシール部材等の部品を傷付けることなく挿入時にかかる荷重を低減し、スムーズに接続できる樹脂管用ワンタッチ継手を提供する。
【解決手段】継手本体10内に設けた内筒部11の外周面11aに装着溝14を形成し、この装着溝14に内周シール部材3を装着し、内筒部11には軸方向に変形可能で接合パイプ1の挿入をガイドする樹脂製挿入ガイド5を外嵌した樹脂管用ワンタッチ継手である。挿入ガイド5は、継手本体10内に装着されて接合パイプ1を抜け止めするロックリング6の保持爪6aが仮着する段部20を有している。
【選択図】 図1

Description

本発明は、例えば、住宅設備の給水や給湯用の配管に、架橋ポリエチレン管やポリブテン管等の樹脂管をワンタッチで接続できる樹脂管用ワンタッチ継手に関する。
住宅設備の給水・給湯用の配管には、上記のような樹脂管が多く用いられている。ワンタッチ式の継手は、施工が容易であり、かつ、施工時間も短いという利点から樹脂管接続用の継手として広く利用されている。
ワンタッチ式継手は、シール部材にOリングを用いることが多く、このシール方式としては、外周Oリング方式(以下、「外周式」という)と内周Oリング方式(以下、「内周式という」)と呼ばれる方式がある。
外周式は、配管施工時に管の取り扱いが粗雑であったり、配管作業中にカッター等で管外周側表面に線傷が付いた場合に十分なシール効果が得られなくなることがあり、管外周面と外周Oリングとの間に隙間が生じて漏水に至る場合がある。
これに比較して、内周式は、管外周側表面に付く傷に影響を受けることがなく、シール性の点において信頼性が高い。この利点から、近年においては内周式の継手の需要が増えてきている。
内周式のワンタッチ継手としては、例えば、特許文献1の樹脂管用ワンタッチ継手がある。同文献1のワンタッチ継手は、内部に管挿入用のゴム製ガイドリング、内周シール部材、外周シール部材、ロックリング、保持リングを有している。
ガイドリングは、接合パイプ端面によりシール部材が傷付くことを防ぎ、パイプ接続後にシール性を維持している。このガイドリングは、内周・外周シール部材に挟まれるように配置され、外周側の係合凸部が外周シール部材に係止することで継手本体内部に仮固定されている。更に、ガイドリングは、後端が保持リングに係合されることで飛び出しが防止されている。このため、ガイドリングの後端外径は、接合パイプの外径よりも大きくなっている。
ロックリングは、接合パイプ抜け止め用として設けられ、接合パイプ外周側に食い込んで抜け止めするロック用の保持爪を有している。ロックリングは、ガイドリングよりも接合パイプを挿入する側に、ガイドリングと離間した状態で取付けられている。
このワンタッチ継手に接合パイプを挿入すると、先ず、接合パイプ端面が2つのロックリングの保持爪を乗り越え、続いて、ガイドリング端面に当接してこのガイドリングを挿入方向に押圧する。
この押圧によりガイドリングが移動し、シール部材を通過する。このとき、ガイドリング外周に形成されたテーパ部が外周シール部材によって押さえつけられ、ガイドリングの端面が接合パイプの端面に密着する。そのため、接合パイプ端面とガイドリング端面との間に隙間が生じることが防がれ、接合パイプは内周シール部材の外周側をスムーズに通過して接続される。このとき、ガイドリングがゴム製であることにより、接合パイプ端面が斜めに切断されている場合でも、このガイドリングが軸方向(流れ方向)に変形・追随して接合パイプ端面に密着し、内周シール部材がパイプ端面に引っ掛かって傷付くことが防がれる。
一方、特許文献2、3の差込み式管継手は、樹脂製の挿入ガイドリング、弾性シールリング、抜止めリング、抜止めリング保持筒を有している。
挿入ガイドリングは、内周面がテーパ形状となっており、内周側の弾性シールリング、外周側の抜止めリングにより挟まれ、更に、抜止めリング保持筒の縁部位に係止した状態で本体内に仮固定されている。挿入ガイドリングは、断面V字形状に形成され、その外径が接続管の外径よりも大きく形成されている。また、抜止めリングは、挿入ガイドリングよりも接続管を挿入する側に配設されている。
この管継手に対して接続管を挿入すると、接続管端面が挿入ガイドリング端面に当接し、この挿入ガイドリングを押圧しながら弾性シールリングを通過する。このとき、挿入ガイドリングは、弾性シールリングと抜止めリングとの間をほぼ全長に亘って通過し、弾性シールリングを内周方向に押付けるように変形しながら通過する。
また、端面が斜めに切断された接続管が挿入された場合には、挿入ガイドリングは、変形することなくそのまま挿入方向に進む。このため、この管継手では、弾性シールリングを予め接着して接続管端面による弾性シールリングの切断や巻き込みを防ごうとしている。
特開2007−198585号公報 特開2005−76853号公報 特開2006−183732号公報
しかしながら、特許文献1のワンタッチ継手は、ガイドリングがロックリングと離間した状態で配設されているため、接合パイプの挿入時に接合パイプ端面が保持爪に接触した状態から乗り越える必要が生じて接触抵抗が大きくなっていた。しかも、このとき、パイプ端面の外周角部が保持爪の付け根に近い部分を押圧するため、保持爪を変形させるために、より強い力が必要になっていた。
また、ゴム製のガイドリングがゴム製の内周・外周シール部材に挟まれた状態で装着されているため、ゴム同士の接触により摩擦係数が増加してガイドリングが内周・外周シール部材を通過するときの荷重が大きくなっていた。このとき、ガイドリングの後端外径が接合パイプの外径よりも大きいことから、ガイドリングが内周・外周シール部材の間を進むときの荷重がより大きくなっていた。
更に、ガイドリングが内周・外周シール部材に挟まれることにより先方側に密閉部分が生じるが、接合パイプの挿入時には、この密閉部分に閉じ込められた空気が圧縮されるため、この空気によるガイドリングを押し戻そうとする力によって挿入荷重がより大きくなっていた。これらの理由により、同文献1のワンタッチ継手は、パイプ接続時の挿入荷重がより小さくなることが要望されていた。
一方、同文献2、3の管継手においては、接続管の接続時に、挿入ガイドリングが弾性シールリングと抜止めリングとの間をほぼ全長に亘って通過し、この挿入ガイドリングが断面V字形状であるため挿入時の荷重が大きくなっていた。
しかも、これらの管継手は、同文献1と同様に挿入ガイドリングの外径が接続管の外径よりも大きいため、挿入ガイドリングが弾性シールリングと抜止めリングとの間を通過するときの荷重がより大きくなっていた。
また、この挿入ガイドリングは、柔軟性が低いため軸方向にほとんど変形することがなく、端面が斜めに切断された接続管に対する追随性が全く無い。このため、接続管の端面が弾性シールリングに直接接触して傷付けやすくなっていた。
更に、特許文献3においては、弾性シールリングが接着剤で接着固定されているが、この場合、接着するための工数が増えることになる。
本発明は、従来の課題点を解決するために開発したものであり、その目的とするところは、高いシール性を確保しながら簡単に樹脂製の接合パイプを接続できる継手であり、接合パイプの挿入時にシール部材等の部品を傷付けることなく挿入時にかかる荷重を低減し、スムーズに接続できる樹脂管用ワンタッチ継手を提供することにある。
上記目的を達成するため、請求項1に係る発明は、継手本体内に設けた内筒部の外周面に装着溝を形成し、この装着溝に内周シール部材を装着し、内筒部には軸方向に変形可能で接合パイプの挿入をガイドする樹脂製挿入ガイドを外嵌し、この挿入ガイドは、継手本体内に装着されて接合パイプを抜け止めするロックリングの保持爪が仮着する段部を有する樹脂管用ワンタッチ継手である。
請求項2に係る発明は、挿入ガイドは、段部から接合リングが当接する後端面にかけて接合パイプの外径と略同径に拡径するテーパ面を有する樹脂管用ワンタッチ継手である。
請求項3に係る発明は、挿入ガイドの段部よりも先端側にテーパ面部を形成し、このテーパ面部の角度をテーパ面の角度よりも急勾配に設けた樹脂管用ワンタッチ継手である。
請求項4に係る発明は、挿入ガイドの先端側及び後端側に複数のスリットを交互に形成した樹脂管用ワンタッチ継手である。
請求項5に係る発明は、スリットを、内筒部と外筒部との間の接合パイプ挿入用の挿入間隙部内の内封空気を抜き出す位置に形成した樹脂管用ワンタッチ継手である。
請求項1に係る発明によると、高いシール性を確保しながら簡単に接合パイプを接続できる継手であり、接合パイプを挿入する際にはシール部材等の部品を傷付けることなく挿入時にかかる荷重を低減しながらスムーズに挿入して接続できる樹脂管用ワンタッチ継手である。
請求項2に係る発明によると、テーパ面によりロックリングの保持爪を緩やかに押し広げて挿入荷重を減少することができ、挿入ガイドがロックリングを通過するときの抵抗を最小限に抑えることができる樹脂管用ワンタッチ継手である。
請求項3に係る発明によると、挿入ガイド先端側を肉厚状にできることで剛性を確保し、以って、斜め切りの接合パイプ端面への挿入ガイドの過剰な追随を抑制して内周シールリングの持ち上がりを防いだ樹脂管用ワンタッチ継手である。
請求項4に係る発明によると、接合パイプの先端面の形状に応じて挿入ガイドが変形し、斜め切りの接合パイプであっても内周シールリングのずれを防止してシール性を確保しながら接合パイプを接合できる樹脂管用ワンタッチ継手である。
請求項5に係る発明によると、内封空気を逃すことにより接合パイプ挿入時の抵抗を減少し、少ない挿入荷重により接合パイプを接合できる樹脂管用ワンタッチ継手である。
以下、本発明における樹脂管用ワンタッチ継手の実施形態を図面に基づいて詳細に説明する。
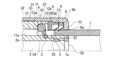
図1において、本発明の樹脂管用ワンタッチ継手は、例えば、給水・給湯用の接合パイプ1を接合可能であり、本実施形態における接合パイプ1は、架橋ポリエチレン管やポリブテン管などの樹脂管である。また、これ以外にも、金属強化ポリエチレン管等の各種の樹脂管、あるいは銅管等の金属管を接合することもできる。
ワンタッチ継手は、筒状インジケータ2、内周シール部材(内周Oリング)3、外周シール部材(外周Oリング)4、挿入ガイド5、ロックリング6、7、保持リング8、スペーサリング9を有し、これらは継手本体10に装着されている。
筒状インジケータ2は、例えば、ポリフェニルサルフォン(PPSU)等の透明又は半透明の樹脂などによって一体形成され、外部から内部を透視可能に設けられている。この材料は、耐圧強度、耐冷熱性、耐加水分解性、耐塩素性、耐衝撃性、耐薬品性、耐長期熱間内圧クリープ性を有するのが望ましい。
筒状インジケータ2は、内筒部11と、この内筒部11の奥側から一体に形成された外筒部12とを有する二重筒形状になっている。この構成により、内筒部11と外筒部12との間には挿入間隙部13が設けられ、この挿入間隙部13に挿入ガイド5と接合パイプ1とが挿入されるようになっている。
内筒部11は、適宜の外径に設定し、例えば、継手の呼び径16Aにおいて筒状インジケータ2を架橋ポリエチレン管用とした場合、図示しない外径を架橋ポリエチレン管の内径と略同じφ16.2mmとし、また、ボリブテン管用とした場合、外径をポリブテン管の内径と略同じφ16.8mmに形成している。内筒部11の外周側には装着溝14が形成され、この装着溝14に内周Oリング3が装着されている。装着溝14は、小径の内周Oリング3を用いることにより浅く形成でき、この場合には内筒部11内の流路口径が大きくなる。内周Oリング3は、例えば、EPDM等のゴムにより成形され、ゴムの硬度は、例えば、硬さ(デューロメータA)HA70程度とすることが望ましいが、この硬さよりも上或は下の硬度であってもよい。また、内筒部11の外周面11aは、略フラット面状に形成されており、この外周面11aに挿入ガイド5が外嵌される。
一方、外筒部12の内周面12aには装着凹部15が形成され、この装着凹部15に外周Oリング4が装着される。装着凹部15は、外周Oリング4の断面径よりも軸方向において長く形成されており、この装着凹部15内において外周Oリング4が移動自在になっている。外周Oリング4は、内周Oリング3と同材料により形成され、例えば、EPDM等のゴム製より成っている。
筒状インジケータ2の装着側の端部には突設部16が形成され、この突設部16は後述する継手本体10の継手部30に挿入されて固定される。また、突設部16に続いて環状凹部17が形成され、この環状凹部17にOリングからなるシールリング18が装着されている。
また、本実施形態における筒状インジケータ2は、本実施形態においては第1部材2aと第2部材2bとに分割して形成され、これらをスナップ嵌合によって一体化することで装着溝14が形成されるようにしている。第1部材2aと第2部材2bは、螺着や接着、融着、プレスフィット(しまりばめ)等の手段による固着も可能であり、また、筒状インジケータ2全体を射出成形によって一体形成して、装着溝14を設けるようにしてもよい。
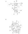
挿入ガイド5は、例えば、ポリエチレン等の樹脂で形成され、特に、Oリングよりも硬度が高く、ある程度の弾性を有する高密度ポリエチレンを用いるのがよい。この場合、この挿入ガイド5が内外周Oリング3、4の間を通過するときに徐々にOリング3、4が押し広げられることにより、挿入荷重が増加することが防がれる。挿入ガイド5は適宜の大きさに形成され、本実施形態においては、内径が略φ16.2mmの大きさになるように設けている。
挿入ガイド5は、軸方向に変形して接合パイプ1の挿入をガイドすることができ、図2に示すように、段部20、テーパ面21、後端面22、テーパ面部23、先端アール面24、スリット25を有している。
段部20は、テーパ面21と先端アール面24との間に設けられ、ロックリング6の保持爪6aを仮着可能にしている。テーパ面21は、段部20から後端面22にかけて接合パイプ1の外径と略同径に拡径するように形成され、本実施形態においては、このテーパ面21の角度θは、水平方向から7°になっている。後端面22は、接合パイプ1の端面1aが当接可能に設けられる。テーパ面部23は、段部20よりも先端側に設けられ、このテーパ面部23の角度θは、テーパ面21の角度θよりも急勾配に設けられている。本実施形態において、このテーパ面部23の角度θは、水平方向から15°になっている。
先端アール面24は、テーパ面部23よりも先端側の挿入ガイド5の内周側から外周側にかけて形成される。この先端アール面24は、内周側に内側アール面26、外周側に外側アール面27を有し、挿入ガイド5が継手本体10内を進んだときに内側アール面26に内周Oリング3、外側アール面27に外周Oリング4が当接するようになっている。これにより、各Oリング3、4に荷重が集中することが防がれ、各Oリング3、4が傷付くことが防止される。
スリット25は、挿入ガイド5の先端側及び後端側から軸方向に交互に複数形成されている。このスリット25は、挿入間隙部13内の内封空気を抜き出し可能な位置に形成される。また、スリット25は、外周Oリング4よりも軸方向において長く形成され、かつ、適宜の幅に形成されている。
ロックリング6は、ステンレス鋼等で略環状に形成され、継手本体10内に装着される。このロックリング6は、環状のリング部6bとこのリング部6の内径側に前記保持爪6aを有している。保持爪6aは、所定の傾斜角度によってリング部6bから屈曲形成されている。これにより、接合パイプ1の挿入が容易になり、且つ、接合パイプ1の表面に係止してこの接合パイプ1に対して引抜阻止力を発揮する。保持爪6aの先端側の内径は、前述した挿入リング5の段部20の外径と略同一径に形成されている。
一方、リング部6bは、継手本体10の図示しない中心軸の直交方向に対して約3〜5度程度傾斜させ、本実施形態においては、約5度の角度で保持リング8側に傾斜させて屈曲形成している。このように、リング部6bを傾斜させるとこのリング部6bと接触する部品との接触面積が少なくなって摩擦抵抗が小さくなることから、ロックリング6が回転し易くなる。また、ロックリングは、接合パイプ1の挿入後にこの接合パイプ1と共回りするように構成してもよい。
本実施形態におけるロックリング6は、リング部6bの傾斜角度、及び、保持爪6aの形状・傾斜角度が同一のものを2個用いているが、互いに異なる傾斜角度や形状のものを用いるようにしてもよい。
保持リング8は、略円筒形状を呈しており、その内周側には突設部8a、外周側には突状段部8bが形成されている。保持リング8は、突設部8aで環状凹部17を塞ぐようにしながら筒状インジケータ2の後端側に配設される。
スペーサリング9は、リング形状を呈しており、ロックリング6、6の間に装着される。このスペーサリング9は、例えば、0.5mm以下の厚さに設けると、接合パイプ1挿入時のロックリング6、6が同じ挙動になって全ての保持爪6a、6aが一度に起立し、接合パイプ1が破断することがあるため、0.7〜1.5mmの厚さとすることがよい。また、本実施形態においては、接合パイプ1を保持するために、前述したように2枚のロックリング6、6の間にスペーサリング9を挟んだ態様としたが、これに限ることなく公知の抜け止めリング等を用いてもよい。
継手本体10は、継手部30と被覆筒31とから成り、この継手部30と被覆筒31には互いに螺着可能なおねじ30a、めねじ31aがそれぞれ設けられている。本実施形態においては、継手本体10は、被覆筒31のめねじ31aを継手部30のおねじ30aに被せるように螺合した、いわゆるキャップ構造に設けて一体化しているが、この螺合構造は逆であってもよい。
図1に示すように、継手部30は、黄銅または青銅等の金属によって略筒状に形成され、おねじ30aと反対側の端部には、図示しないヘッダーや接続部材或は他の配管と連結可能な雄ネジ部(又は雌ネジ部或はその他の接続部)30bが設けられている。継手部30は、図のような通常の直線形状以外にも、例えば、チーズ形状やエルボ形状に形成してもよく、また、継手部30は図示しないバルブの一部に組み込むことも可能になっている。
被覆筒31は、黄銅または青銅等の金属によって略筒状に形成され、内部に、筒状インジケータ2、内外周Oリング3、4、挿入ガイド5、ロックリング6、6、保持リング8、スペーサリング9、シールリング18が収納される。なお、この被覆筒31と、上記の継手部30は、樹脂製であってもよい。
被覆筒31の外部には確認窓32が穿孔して形成され、この確認窓32から筒状インジケータ2の内部を視認可能になっている。また、被覆筒31の端部には、内周方向に環状縁部33が形成され、この環状縁部33によりロックリング6等の抜け出しを防いでいる。更に、この環状縁部33の挿入側には、保持リング8の突状段部8bが係止可能な係合段部34が形成されている、
また、被覆筒31の外周側には、図示しない透明フィルムをシュリンク包装することが可能になっている。その場合、予め材質や文字・図形等の識別記号が印刷されたフィルムを包装するとよい。シュリンク包装は、確認窓32を介して外部に露出している筒状インジケータ2を保護する役割も果たしている。
続いて、上記の樹脂管用ワンタッチ継手を一体に組み込む場合について説明する。
図1、図3において、先ず、筒状インジケータ2の装着溝14に内筒Oリング3、装着凹部15に外周Oリング4、環状凹部17にシールリング18を装着すると共に、筒状インジケータ2と継手部30とを一体化する。これらの一体化の際には、突設部16を継手部30に形成した嵌合穴35に嵌合することにより装着時のガタつきが防止され、かつ、シールリング18により継手部30と筒状インジケータ2との隙間が塞がれてシール性が確保される。
一方、ロックリング6、6の間にスペーサリング9を挟んだ状態で被覆筒31内に装入し、更に、この上から保持リング8を装入する。このとき、被覆筒31の係合段部34に保持リング8の突状段部8bが係合して、この保持リング8と、ロックリング6、6、及びスペーサリング9が所定位置に保持される。
次に、継手部30のおねじ30aと被覆筒31のめねじ31aを螺着して一体化することにより継手本体10が構成される。このとき、保持リング8、ロックリング6、6、スペーサリング9は、筒状インジケータ2の外筒部12の端面部12bと被覆筒31の環状縁部33との間に挟まれて適切な位置に装着される。また、このとき突設部8aが筒状インジケータ2の開口側に位置することで、外周Oリング4の装着凹部15からの抜け出しが防がれる。一方、おねじ30aとめねじ31aの螺着により、継手部30と筒状インジケータ2との間にシールリング18が挟着されて、これらの間のシール性が確保される。
最後に、挿入ガイド5を継手本体10の開口側から装入する。挿入ガイド5は、そのままの径が確保されるか、又は、スリット25により拡径されながら装入されるため、ロックリング6、6に負荷を与えること無く組立てできる。また、挿入ガイド5は、継手本体10に装入するだけで、図1に示すように開口側のロックリング6の保持爪6aが段部20に係止して継手本体10内の所定位置に仮着される。このため、挿入ガイド5は、手ごたえや図示しない取付け治具のストロークを確認するだけで容易に取付けされ、更に、自動化も可能となる。
また、挿入ガイド5の装着後には、この挿入ガイド5のずれや抜け出しが防止されるため保管も容易になっている。更に、例えば、工場等の現場において、予めワンタッチ継手に対して挿入ガイド5を組み込んだ状態での出荷が可能になる。
しかも、前記のように保持爪6a先端側の内径が段部20の外径と略同一径であるため、挿入リング5は、ロックリング6から圧力を受けることの無い状態で仮着され、ロックリング6の奥側の保持爪6aは、挿入リング5のテーパ面部23に対して軽く当接した状態になっている。このため、挿入時においては、挿入荷重が増加することも防がれる。
また、前記のように、筒状インジケータ2を架橋ポリエチレン管用とした場合には、挿入ガイド5は、その内径が内筒部11の外径と同径になるため、軽く挿入することで継手本体10に装着される。一方、筒状インジケータ2をポリブテン管用とした場合には、挿入ガイド5の内径が内筒部11の外径よりも小径になるものの、スリット25により挿入ガイド5が拡径することにより、挿入ガイド5は容易に装着される。このように、挿入ガイド5を異径の筒状インジケータ2に対しても共用化することができる。なお、挿入ガイド5の内径を内筒部11の外径よりも大径に設定しておき、スリット25により挿入ガイド5を縮径して装着するようにしてもよい。
次に、本発明の樹脂管用ワンタッチ継手の上記実施形態における作用を説明する。
図4ないし図13においては、上記実施形態におけるワンタッチ継手に接合パイプ1を接続する場合の過程を示している。一方、図14と図15は、本実施形態のワンタッチ継手と対比するために示したものであり、図14は、特許文献1の樹脂管用ワンタッチ継手40に接合パイプ1を接合する場合を示しており、これを比較例1とする。また、図15においては、特許文献2の差込み式管継手50に接合パイプ1を接合する場合を示しており、これを比較例2とする。また、図17においては、接合パイプ1の挿入時における挿入荷重の変化を相対比較により示している。図17のグラフ上にプロットした点は、接合パイプ1の挿入過程において、挿入荷重が急激に変化したときの荷重を示している。
先ず、本発明のワンタッチ継手に接合パイプ1を接続する場合を述べる。
図4においては、接合パイプ1が上記実施形態の継手本体10にセットされた状態を示している。この接合パイプの端面1aは、垂直面にて正しく切断されている。
この状態から、挿入ガイド5の後端面22に端面1aを当接しながら接合パイプ1を挿入すると、図4から図5の状態まで接合パイプ1を挿入したときの挿入荷重は、図17の原点0からA点の値まで推移する。このとき、挿入ガイド5のテーパ面部23にロックリング6の保持爪6aが当接しているが、この保持爪6aとテーパ面部23との接触径は、接合パイプ1の図示しない外径よりも小さく設定されているため、A点の荷重は低減される。
続いて、図6の状態まで接合パイプ1を挿入すると、各ロックリング6、6に対して挿入ガイド5が通過する。このとき、挿入ガイド5には外側アール面27が形成され、更に、この外側アール面27に続けてテーパ面部23があるので、奥側のロックリング6の保持爪6aは、当所は外側アール面27に当接した状態からテーパ面部23に沿って穏やかに変形する。このため、挿入ガイド5の挿入開始段階において、奥側のロックリング6にかかる荷重は軽くなっている。
また、挿入ガイド5は、段部20において開口側のロックリング6に仮着されているため、挿入ガイド5を挿入するに従って保持爪6aがこの段部20から後端面22側に拡径するテーパ面21を移動し、しかも、後端面22の外径が接合パイプ1の外径と略同径であるため、挿入ガイド5挿入時における保持爪6aは、テーパ面21の傾斜に沿って緩やかに変形する。しかも、保持爪6aは、接合パイプ1の端面1aに当たることがないため負荷が抑えられる。続いて、挿入ガイド5が挿入されると、奥側のロックリング6も同様に変形する。このようにして、図6におけるパイプ挿入荷重は、B点の値のように低減される。
次いで、図7の状態においては、挿入ガイド5の内側アール面26が内周Oリング3を乗り越え、かつ、外側アール面27が外周Oリング4に接触して乗り越えを開始した状態を示している。このときのパイプ挿入荷重は、図17のC点の値となる。図7において、内周Oリング3や外周Oリング4の形状は、説明の便宜のため、潰れた状態ではなく、原形で示している。ここで、図11〜図13までにおいては、図7における内側アール面26が内周Oリング3に接触した状態から完全に乗り越えるまでのより詳しい過程を示している。
図11及び図12は、内側アール面26が内周Oリング3を乗り越える際の状態を示している。挿入ガイド5は、内外周Oリング3、4よりも硬質な樹脂製であることと、外周Oリング4により外周側がガイドされた状態で内周アール面26が内周Oリング3の乗り越えを開始するため、C点における挿入荷重の値が低減される。また、挿入ガイド5は、テーパ面部23が外周Oリング4により押圧されることにより、内周側には内周Oリング3を押圧する力、いわゆる、くさび効果が発揮された状態となる。
この場合、仮に、後端面22に対する端面1aの接触が一部分であったとしても、くさび効果が発揮され、このくさび効果により、樹脂製であることと複数のスリットが形成されていることにより、挿入ガイド5が端面1aの形状に沿って軸方向に変形し、端面1aに対して面接触するようになっている。このように、接合パイプ1による挿入ガイド5の押圧時には、挿入ガイド5は、内側アール面26がくさび効果により内周Oリング3及び内筒部外周面11aに押圧接触し、かつ、端面1aと後端面22とが密接しながら挿入される。そのため、挿入ガイド5と接合パイプ1との間に内周Oリング3が入り込むことが防がれ、接合パイプ1は、内周Oリング3のずれや脱落を防ぎながらスムーズに摺動して図13の状態まで挿入される。
また、テーパ面部23の角度θをテーパ面21の角度θよりも急勾配に設けていることにより、挿入ガイド5の先端部位が肉厚状になって剛性が確保され、テーパ面部23が外周Oリング4に接触して乗り越える際の強度が確保される。
図16に示すように、接合パイプ1の端面1aが斜め切りされている場合でも、スリット25により挿入ガイド5が軸方向に変形してこの斜め切り形状にも追随できるようになっている。その際、挿入ガイド5は、前述のようにテーパ面部23を急勾配に設けることとスリット25の幅や長さを適切に設けることで剛性が確保されているため、挿入ガイド5が端面1aに過剰に追随することが避けられる。よって、挿入ガイド5は大きく変形することがなく、内側アール面26が内周Oリング3に引っ掛かることが防止されて、この内周Oリング3が持ち上がることが防がれる。この場合、テーパ面部23の角度θが小さいと(例えば、12°)、挿入ガイド5の先端部位の剛性が低くなって追随しやすくなって内周Oリング3を噛み込みやすくなるため、本実施形態のようにテーパ面部23の角度を15°程度とすることが好ましい。
ここで、仮に挿入ガイド5の後方部側において剛性を確保しようとしても、後端面22は、接合パイプ1を案内し、かつ接合パイプ1に追随するために接合パイプ1と略同径に形成されているため、この後端面22側の形状を変えることは難しくなっている。この理由により、本実施形態では、挿入ガイド5の先端側にテーパ面部23を設けることで、斜め切りされた接合パイプ1の挿入に対応しながら全体の剛性を確保している。
図8においては、外周Oリング4がテーパ面部23の最大外径部分を乗り越えた状態を示している。この場合、図7の状態から外周Oリング4による荷重が減少し、パイプ挿入荷重はD点の値となる。
続いて、図9の状態まで接合パイプ1を挿入すると、挿入ガイド5のテーパ面21の最大外径部分が外周Oリング4に達し、この外周Oリング4は、押し広げられてつぶれ量が最大になる。このときのパイプ挿入荷重は、E点の値となる。
次いで、図10の状態まで接合パイプ1を挿入すると、挿入間隙部13が内筒部11と外筒部12により一体に形成されていることにより、挿入ガイド5の挿入に従って接合パイプ1と外周Oリング4と挿入間隙部13との間に挟まれた図示しない密閉領域内の空気が圧縮される。このため、圧縮空気が接合パイプ1の挿入の邪魔をするおそれがある。
しかし、本発明のワンタッチ継手は、前述のように挿入ガイド5にスリット25を設け、このスリット25を外周Oリング4よりも軸方向に長く設けているので、接合パイプ1が内周Oリング3、外周Oリング4によりシールされるまで、すなわち、E点のパイプ挿入荷重になるまで空気の出入りが自由になっている。このため、接合パイプ1の挿入時には、挿入ガイド5の体積に該当する内封空気がスリット25から抜け、内周Oリング3、外周Oリング4の乗り越え後の挿入荷重の上昇を抑えている。
その結果、図17における接合パイプ1の接合完了時には、パイプ挿入荷重がF点の値になる。
また、本実施形態においては、スリット25を介して圧縮空気を抜くようにしているが、これ以外にも、例えば、挿入ガイド5の軸方向に図示しない単数又は複数の貫通孔を設けるようにしてもよい。この場合、接合パイプ1の挿入時にこの貫通孔から圧縮空気を抜くことが可能になる。また、貫通孔以外にも、図示しない空気抜き用の溝部を軸方向に形成したり、又は、軸方向に図示しない分割部分を設けて空気抜き用としての機能を発揮させるようにしてもよい。以上のように、挿入ガイド5及び接合パイプ1の接合完了前に挿入間隙部13内の圧縮空気を抜くことができるので、接合パイプ1の接合完了時には、挿入荷重を図17のF点の値に示すように低減することができる。
この接合パイプ1の接続後には、それまで挿入間隙部13内にあった挿入ガイド5・接合パイプ1の容積分の空気は外周Oリング4の装着側に移動し、この外周Oリング4を継手本体10における開口部側に押圧する。このとき、外周Oリング4の移動側に保持リング8を設けているため、外周Oリング4は、この保持リング8の端部側に接触して停止する。このため、外周Oリング4は、装着凹部15内の所定位置まで移動することが可能になっている。
外周Oリング4が移動すると、接合パイプ1の図示しない外周面及び内周面に内周Oリング3、外周Oリング4がそれぞれ挟圧される。これにより、この内周・外周Oリング3、4が接合パイプ1を確実にシールし、しかも、継手本体10内の圧力によって接合パイプ1に生じる応力緩和を原因とする内周Oリング3の緩みを防ぎつつ、この内周Oリング3によるつぶし代を長期的に維持して安定したシール性が確保される。
また、図示しないが、接合パイプ1の接続後には、内周Oリング3と外周Oリング4とが略同心円上に配置される。従って、例えば、シール力を発揮させるために筒状インジケータ2の外周側に挟圧用のクランプ部材を装着したり、予め接合パイプにシール用の別部材を装着したりする必要がない。
更に、図示しないが、接合パイプ1の接続後には、挿入ガイド5の後端部付近が確認窓32より1mm程度の幅で視認可能になっている。これにより、接合パイプ1の挿入を確認窓32から確認しながら行なうことができ、接合パイプ1を確実に所定の挿入位置まで挿入できる。更に、スリット25を視認することによっても接合パイプ1の挿入位置を確認することができる。また、挿入ガイド5は、接合パイプ1と異なる色(例えば、赤色等)の材料を用いて成形するか、又は着色することにより、確認窓32からの視認がより容易となる。
なお、接合パイプ1の接合後には、ロックリング6、6がこの接合パイプ1の外周面に係止して接合パイプ1の抜け止めが図られる。
次に、比較例1の樹脂管用ワンタッチ継手40に接合パイプ1を接合する場合を説明する。
図14(a)においては、このワンタッチ継手40に接合パイプ1がセットされた状態を示している。前記と同様に、接合パイプ1の端面1aは垂直面になっている。図14(a)のように、接合パイプ1を挿入すると、先ず、端面1aがロックリング41の保持爪41aに当接する。更に接合パイプ1を挿入すると、図14(b)に示すように、開口側のロックリング41の保持爪41aを端面1aが乗り越える。このとき、保持爪41aの付け根部分が接合パイプ1により押し広げられるため挿入荷重が大きくなり、図14(b)における挿入荷重は、図17のA´点の値になり、本発明のワンタッチ継手のA点における挿入荷重に比較して大きくなっている。
続けて接合パイプ1を挿入すると、図14(c)に示すように、奥側のロックリング41の保持爪41aを端面1aが乗り越える。このときの挿入荷重は、図17のB´点の値となる。このように、端面1aがロックリング41を乗り越える際の最大値であるB´点の挿入荷重も、本発明のワンタッチ継手のB点における挿入荷重に比較して大きくなっている。
図14(d)は、ワンタッチ継手40内に装着されたガイドリング42の端面42aに接合パイプ端面1aが当接し、ガイドリング42が内周シール部材43と外周シール部材44とを乗り越える際の状態を示している。このときの挿入荷重は、C´点の値となり、挿入荷重全体における値がピークになっている。これは、ゴム製のガイドリング42が内周シール部材43と外周シール部材44との間に挟まれて大きく変形しながら乗り越えるためである。
図14(e)においては、パイプ端面1aが内周シール部材43を完全に乗り越えた状態を示している。このとき、接合パイプ1の内径がガイドリング42の内径よりも大きいことから、挿入荷重は、D´点に示すようにC´点の値よりもやや下がった状態となるが、本発明のワンタッチ継手の最大の挿入荷重の値であるC点よりも大きくなる。
更に挿入を続けると、図14(f)に示すように、ガイドリング42の最大径部分が外周シール部材44に達してこの外周シール部材44のつぶし量が最大となり、挿入荷重が図17におけるE´点の値となる。このときの挿入荷重E´点の値も、本発明のワンタッチ継手におけるE点の値に比較して大きくなっている。
図14(g)に示すように、ガイドリング42と端面1が内外周シール部材43、44を乗り越えた後には、ガイドリング42がこの内外周シール部材43、44によりシールされていることからこのガイドリングを収納する部分が密閉状態になる。さらに接合パイプ1の挿入が進むと、この収納部分の容積が小さくなり、密閉状態の空気が圧縮されてガイドリング42と接合パイプ1を押し出そうとする力が発生する。よって、内外周シール部材43、44を乗り越えた後にも挿入荷重は徐々に上昇し、挿入完了時には、図17におけるF´点の値になり、本発明のF点における荷重に比較して大きくなっている。
引き続き、比較例2の差込み式管継手50に接合パイプ1を接合する場合を説明する。この接合パイプ1も前記と同様に端面1aが垂直面になっている。
図15(a)においては、接合パイプ1がこの管継手50にセットされた状態を示している。この状態から接合パイプ1を挿入すると、図15(b)に示すように、管継手50内に装着されたテーパ状の挿入ガイドリング51の最大径部分が開口側の弾性シールリング52に到達する。図17のA″点は、開口側の弾性シールリング52のつぶし量が最大になったときの挿入荷重のピーク値である。このとき、接合パイプ1が外周側に装着されたストッパリング53も乗り越えるため、より挿入荷重が大きくなる。
図15(c)は、挿入ガイドリング51の最大径部分が奥側の弾性シールリング52に到達し、この弾性シールリング52のつぶし量が最大になった状態を示している。図17のB″点は、このときの挿入荷重のピーク値である。このB″点の挿入荷重の値は、比較例2における挿入荷重の最大値であり、しかも、本発明におけるワンタッチ継手と比較例1を含んだ挿入荷重のうち最も大きな値となっている。
更に挿入を続けると、図15(d)に示した状態となる。このとき、この管継手50には外周Oリングが無いため、空気の密閉部分は発生しない。よって、圧縮された空気による挿入荷重の上昇はない。しかし、図17のC″点に示すように、乗り越え後の挿入荷重は、本発明のワンタッチ継手よりも大きくなっている。
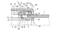
図18、図19においては、本発明の樹脂管用ワンタッチ継手の他の実施形態を示している。なお、この実施形態において、上記実施形態と同一部分は同一符号によって表し、その説明を省略する。
図に示すように、この実施形態では、挿入ガイド60の先端側に一対の突出片61を設け、この突出片61を図示しないパーツフィーダのレールに係合させることによって挿入ガイド60の方向性を定めるようにしている。突出片61は、スリット25を挟んで交互に一対に形成されている。この実施形態におけるワンタッチ継手は、突出片61を利用することにより挿入ガイド60を適正な方向性により画一的に供給できるため、組立て時の自動化を図ることができる。この樹脂管用ワンタッチ継手は、前記と同様の機能性を発揮し、内外周Oリングを傷付けることなく挿入時の荷重を低減しながら容易に接合パイプを接合できる。
本発明における樹脂管用ワンタッチ継手を示した半截断面図である。 挿入ガイドを示した説明図である。(a)は、挿入ガイドの中央断面図である。(b)は、挿入ガイドの斜視図である。 図1の分解斜視図である。 本発明の樹脂管用ワンタッチ継手に接合パイプをセットした状態を示す要部断面図である。 接合パイプの挿入を開始した状態を示す要部断面図である。 ロックリングの保持爪がテーパ面にある状態を示す要部断面図である。 挿入ガイドの外側アール面が外周Oリングに接触した状態を示す要部断面図である。 外周Oリングがテーパ面部の最大外径部分を乗り越えた状態を示す要部断面図である。 外周Oリングがテーパ面を乗り越える途中の状態を示す要部断面図である。 挿入ガイドが内外周Oリングを乗り越えた状態を示す要部断面図である。 内側アール面が内周Oリングに接触した状態を示す要部断面図である。 図11における挿入ガイドの内側アール面が内周シールリングを乗り越える途中の状態を示す要部断面図である。 図11における内側アール面が内周シールリングを乗り越えた状態を示す要部断面図である。 比較例1の樹脂管用ワンタッチ継手に接合パイプを接合する際の手順を示す説明図である。 比較例2の差込み式管継手に接合パイプを接合する際の手順を示す説明図である。 図1の樹脂管用ワンタッチ継手に斜め切りの接合パイプを接合する状態を示した中央断面図である。 接合パイプの挿入時における挿入荷重の変化を示すグラフである。 本発明の樹脂管用ワンタッチ継手の他の実施形態を示す要部断面図である。 図18における挿入ガイドを示す中央断面図である。
符号の説明
1 接合パイプ
3 内周シール部材
5 挿入ガイド
6 ロックリング
6a 保持爪
10 継手本体
11 内筒部
11a 外周面
13 挿入間隙部
14 装着溝
20 段部
21 テーパ面
22 後端面
23 テーパ面部
25 スリット
θ、θ 角度

Claims (5)

  1. 継手本体内に設けた内筒部の外周面に装着溝を形成し、この装着溝に内周シール部材を装着し、前記内筒部には軸方向に変形可能で接合パイプの挿入をガイドする樹脂製挿入ガイドを外嵌し、この挿入ガイドは、前記継手本体内に装着されて前記接合パイプを抜け止めするロックリングの保持爪が仮着する段部を有することを特徴とする樹脂管用ワンタッチ継手。
  2. 前記挿入ガイドは、前記段部から前記接合リングが当接する後端面にかけて前記接合パイプの外径と略同径に拡径するテーパ面を有する請求項1に記載の樹脂管用ワンタッチ継手。
  3. 前記挿入ガイドの段部よりも先端側にテーパ面部を形成し、このテーパ面部の角度を前記テーパ面の角度よりも急勾配に設けた請求項2に記載の樹脂管用ワンタッチ継手。
  4. 前記挿入ガイドの先端側及び後端側に複数のスリットを交互に形成した請求項1乃至3の何れか1項に記載の樹脂管用ワンタッチ継手。
  5. 前記スリットを、前記内筒部と外筒部との間の接合パイプ挿入用の挿入間隙部内の内封空気を抜き出す位置に形成した請求項4に記載の樹脂管用ワンタッチ継手。
JP2008162932A 2008-06-23 2008-06-23 樹脂管用ワンタッチ継手 Active JP5179269B2 (ja)

Priority Applications (1)

Application Number Priority Date Filing Date Title
JP2008162932A JP5179269B2 (ja) 2008-06-23 2008-06-23 樹脂管用ワンタッチ継手

Applications Claiming Priority (1)

Application Number Priority Date Filing Date Title
JP2008162932A JP5179269B2 (ja) 2008-06-23 2008-06-23 樹脂管用ワンタッチ継手

Publications (3)

Publication Number Publication Date
JP2010002022A true JP2010002022A (ja) 2010-01-07
JP2010002022A5 JP2010002022A5 (ja) 2011-08-04
JP5179269B2 JP5179269B2 (ja) 2013-04-10

Family

ID=41583897

Family Applications (1)

Application Number Title Priority Date Filing Date
JP2008162932A Active JP5179269B2 (ja) 2008-06-23 2008-06-23 樹脂管用ワンタッチ継手

Country Status (1)

Country Link
JP (1) JP5179269B2 (ja)

Cited By (9)

* Cited by examiner, † Cited by third party
Publication number Priority date Publication date Assignee Title
JP2010007803A (ja) * 2008-06-30 2010-01-14 Kitz Corp 継手用挿入ガイドと挿入ガイド自動供給方法とワンタッチ継手
JP2012107672A (ja) * 2010-11-16 2012-06-07 Bridgestone Corp 管継手
JP2012167882A (ja) * 2011-02-15 2012-09-06 Onda Seisakusho:Kk 浴槽用循環具
JP2014062566A (ja) * 2012-09-20 2014-04-10 Sekisui Chem Co Ltd 管継手
JP2014070720A (ja) * 2012-10-01 2014-04-21 Tabuchi Corp 管継手
JP2017025939A (ja) * 2015-07-16 2017-02-02 Jfe継手株式会社 管ユニット
JP2019120404A (ja) * 2017-12-27 2019-07-22 積水化学工業株式会社 管継手
CN111336336A (zh) * 2020-03-04 2020-06-26 泰州长力树脂管有限公司 即插式快插接头
JP2022029434A (ja) * 2020-08-04 2022-02-17 Njt銅管株式会社 耐圧型管継手及びそれを用いた管接続方法

Citations (6)

* Cited by examiner, † Cited by third party
Publication number Priority date Publication date Assignee Title
JPH1163347A (ja) * 1997-08-08 1999-03-05 Nok Corp 配管用継手
JPH1172190A (ja) * 1997-06-24 1999-03-16 Bridgestone Corp 樹脂パイプ用継手
JP2001254884A (ja) * 2000-03-09 2001-09-21 Onda Seisakusho:Kk 継 手
JP2006336712A (ja) * 2005-05-31 2006-12-14 Idea Link:Kk 差込み型管継手
JP2007127265A (ja) * 2005-10-07 2007-05-24 Nifco Inc 流体供給システム及び流体継手
JP2007198585A (ja) * 2005-12-28 2007-08-09 Kitz Corp 樹脂管用ワンタッチ継手

Patent Citations (6)

* Cited by examiner, † Cited by third party
Publication number Priority date Publication date Assignee Title
JPH1172190A (ja) * 1997-06-24 1999-03-16 Bridgestone Corp 樹脂パイプ用継手
JPH1163347A (ja) * 1997-08-08 1999-03-05 Nok Corp 配管用継手
JP2001254884A (ja) * 2000-03-09 2001-09-21 Onda Seisakusho:Kk 継 手
JP2006336712A (ja) * 2005-05-31 2006-12-14 Idea Link:Kk 差込み型管継手
JP2007127265A (ja) * 2005-10-07 2007-05-24 Nifco Inc 流体供給システム及び流体継手
JP2007198585A (ja) * 2005-12-28 2007-08-09 Kitz Corp 樹脂管用ワンタッチ継手

Cited By (11)

* Cited by examiner, † Cited by third party
Publication number Priority date Publication date Assignee Title
JP2010007803A (ja) * 2008-06-30 2010-01-14 Kitz Corp 継手用挿入ガイドと挿入ガイド自動供給方法とワンタッチ継手
JP2012107672A (ja) * 2010-11-16 2012-06-07 Bridgestone Corp 管継手
JP2012167882A (ja) * 2011-02-15 2012-09-06 Onda Seisakusho:Kk 浴槽用循環具
JP2014062566A (ja) * 2012-09-20 2014-04-10 Sekisui Chem Co Ltd 管継手
JP2014070720A (ja) * 2012-10-01 2014-04-21 Tabuchi Corp 管継手
JP2017025939A (ja) * 2015-07-16 2017-02-02 Jfe継手株式会社 管ユニット
JP2019120404A (ja) * 2017-12-27 2019-07-22 積水化学工業株式会社 管継手
JP7323288B2 (ja) 2017-12-27 2023-08-08 積水化学工業株式会社 管継手
CN111336336A (zh) * 2020-03-04 2020-06-26 泰州长力树脂管有限公司 即插式快插接头
JP2022029434A (ja) * 2020-08-04 2022-02-17 Njt銅管株式会社 耐圧型管継手及びそれを用いた管接続方法
WO2023007771A1 (ja) * 2020-08-04 2023-02-02 Njt銅管株式会社 耐圧型管継手及びそれを用いた管接続方法

Also Published As

Publication number Publication date
JP5179269B2 (ja) 2013-04-10

Similar Documents

Publication Publication Date Title
JP5179269B2 (ja) 樹脂管用ワンタッチ継手
JP5758640B2 (ja) チューブ継手
EP1995506A2 (en) Pipe joint
JP4653562B2 (ja) 差込み型管継手
JP2006118704A (ja) 差込み型継手
JP3600764B2 (ja) 管継手
JP2012077804A (ja) 管継手
JP5322679B2 (ja) 継手に用いられるインサート部材及び継手
KR101267647B1 (ko) 플라스틱수지 파이프용의 관이음매
JP4890130B2 (ja) 樹脂管用ワンタッチ継手
JP4947706B2 (ja) 管継手
JP4719176B2 (ja) 管継手
JP2012072910A (ja) 管継手の組立て方法
JP2009144740A (ja) アダプターを備えた継手
JP4789999B2 (ja) 樹脂管継手
JP4227081B2 (ja) 管継手
JP5124523B2 (ja) 樹脂管継手
JP4842019B2 (ja) 配管接続構造
JP4972422B2 (ja) 管継手
JP2011080522A (ja) 管継手
JP4885202B2 (ja) 樹脂管継手
JP2000266252A (ja) 管継手
JP4982201B2 (ja) 管継手
JP2011185443A (ja) 差込み型継手
JP2010133449A (ja) 樹脂管継手

Legal Events

Date Code Title Description
A521 Request for written amendment filed

Free format text: JAPANESE INTERMEDIATE CODE: A523

Effective date: 20110622

A621 Written request for application examination

Free format text: JAPANESE INTERMEDIATE CODE: A621

Effective date: 20110622

A977 Report on retrieval

Free format text: JAPANESE INTERMEDIATE CODE: A971007

Effective date: 20121122

TRDD Decision of grant or rejection written
A01 Written decision to grant a patent or to grant a registration (utility model)

Free format text: JAPANESE INTERMEDIATE CODE: A01

Effective date: 20121211

A61 First payment of annual fees (during grant procedure)

Free format text: JAPANESE INTERMEDIATE CODE: A61

Effective date: 20130109

R150 Certificate of patent or registration of utility model

Ref document number: 5179269

Country of ref document: JP

Free format text: JAPANESE INTERMEDIATE CODE: R150

R250 Receipt of annual fees

Free format text: JAPANESE INTERMEDIATE CODE: R250

R250 Receipt of annual fees

Free format text: JAPANESE INTERMEDIATE CODE: R250

R250 Receipt of annual fees

Free format text: JAPANESE INTERMEDIATE CODE: R250

R250 Receipt of annual fees

Free format text: JAPANESE INTERMEDIATE CODE: R250

R250 Receipt of annual fees

Free format text: JAPANESE INTERMEDIATE CODE: R250

R250 Receipt of annual fees

Free format text: JAPANESE INTERMEDIATE CODE: R250

R250 Receipt of annual fees

Free format text: JAPANESE INTERMEDIATE CODE: R250

R250 Receipt of annual fees

Free format text: JAPANESE INTERMEDIATE CODE: R250

R250 Receipt of annual fees

Free format text: JAPANESE INTERMEDIATE CODE: R250

S531 Written request for registration of change of domicile

Free format text: JAPANESE INTERMEDIATE CODE: R313531

R350 Written notification of registration of transfer

Free format text: JAPANESE INTERMEDIATE CODE: R350

R250 Receipt of annual fees

Free format text: JAPANESE INTERMEDIATE CODE: R250

R250 Receipt of annual fees

Free format text: JAPANESE INTERMEDIATE CODE: R250