JP2010000944A - クローラ走行装置 - Google Patents

クローラ走行装置 Download PDF

Info

Publication number
JP2010000944A
JP2010000944A JP2008162171A JP2008162171A JP2010000944A JP 2010000944 A JP2010000944 A JP 2010000944A JP 2008162171 A JP2008162171 A JP 2008162171A JP 2008162171 A JP2008162171 A JP 2008162171A JP 2010000944 A JP2010000944 A JP 2010000944A
Authority
JP
Japan
Prior art keywords
tooth
belt
teeth
crawler
wheel
Prior art date
Legal status (The legal status is an assumption and is not a legal conclusion. Google has not performed a legal analysis and makes no representation as to the accuracy of the status listed.)
Granted
Application number
JP2008162171A
Other languages
English (en)
Other versions
JP5144391B2 (ja
Inventor
Ryutaro Morizono
竜太郎 森園
Naoto Koizumi
直人 小泉
Yoshizo Iwamoto
佳三 岩本
Current Assignee (The listed assignees may be inaccurate. Google has not performed a legal analysis and makes no representation or warranty as to the accuracy of the list.)
Mitsubishi Electric Tokki Systems Corp
Original Assignee
Mitsubishi Electric Tokki Systems Corp
Priority date (The priority date is an assumption and is not a legal conclusion. Google has not performed a legal analysis and makes no representation as to the accuracy of the date listed.)
Filing date
Publication date
Application filed by Mitsubishi Electric Tokki Systems Corp filed Critical Mitsubishi Electric Tokki Systems Corp
Priority to JP2008162171A priority Critical patent/JP5144391B2/ja
Publication of JP2010000944A publication Critical patent/JP2010000944A/ja
Application granted granted Critical
Publication of JP5144391B2 publication Critical patent/JP5144391B2/ja
Expired - Fee Related legal-status Critical Current
Anticipated expiration legal-status Critical

Links

Images

Landscapes

  • Handcart (AREA)

Abstract

【課題】簡単な構成で、クローラ走行と四輪走行の併用を可能にするクローラ走行装置を得る。
【解決手段】車台1と、車台1の前後の両側に設けられた4個の車輪2と、前後の車輪2に巻き掛けられ車輪2の駆動力により駆動するクローラ3とを備えたクローラ走行装置において、各車輪2には、車輪の幅方向の外側の外周部の周方向に、所定の間隔で複数の突出部2aを設け、内側に突出部2aと噛合するベルト内歯4bが形成され外側に接地面10と接するベルト外歯4aが形成された環状ベルト4を、車輪2の突出部2aの周りに装着し、環状ベルト4の中心から最外部までの半径を、車輪2の中心からクローラ3の最外部までの半径よりも大きくした。
【選択図】図1

Description

この発明は、クローラを用いて走行するクローラ走行装置に関し、特に走行状況に応じてクローラ走行と四輪走行とを変換、又は併用して走行を行なうクローラ走行装置に関するものである。
従来のクローラ走行装置として、走行条件に合わせて効果的に走行できるように工夫された技術が種々提案されている。例えば、平坦地ではタイヤ走行を行い、軟弱地では前後のタイヤにまたがって履帯(クローラ)を掛け渡してクローラ走行を可能とするもの(例えば、特許文献1参照)や、車体の前後左右の4隅に回動自在に設けられた回動クローラのフレームに車輪を設け、回動クローラを車輪走行位置に回動することにより、クローラ走行から車輪走行に切替可能としたもの(例えば、特許文献2参照)や、四輪走行用タイミングベルトを車輪接地面と車体底面との間に定位させ、例えばぬかるみ等で四輪が沈み込んだ場合に前記四輪走行用タイミングベルトをクローラとして使用可能とするもの(例えば、特許文献3参照)等がある。
特開2005−081447号公報(第9頁、図9) 特開2006−341710号公報(第3−4頁、図5) 特開2004−232702号公報(第6頁、図6)
従来のクローラ走行装置は以上のように構成されているので、次のような課題があった。
一般に、クローラ走行装置は、四輪走行装置と比べて不整地で安定走行が可能という利点と、接地面積が大きい分トルクが増大し旋回性能が劣るという欠点がある。一方、四輪走行装置は、クローラ走行装置に比べて接地面積が少ない分だけ少ないトルクで駆動可能なため旋回能力に優れる利点と、不整地での走行が不利という欠点がある。
このため、特許文献1又は2のような整地・不整地に合わせてクローラ走行と四輪走行の何れかに切替える構成では、整地・不整地が混合する状況になった場合に切替える手間が増大するという課題があった。
また、四輪走行用タイミングベルトを車輪接地面と車体底面との間に定位させ、前記四輪走行用タイミングベルトをクローラとして使用する特許文献3のクローラ・四輪併用構成では、整地・不整地が混合する状況において、四輪のみでの接地で走行可能な整地箇所での四輪走行と、四輪が沈み込むような不整地箇所でのクローラ走行とを、切替えなしで行えるという利点を有する。しかしながら、特許文献2の構成では、上記利点を実現するための構成が複雑で部品点数が増大するという課題があった。
この発明は上記のような課題を解消するためになされたもので、簡単な構成で、クローラ走行と四輪走行の併用を可能にすると共に、場合によっては接地面を更に増大させたクローラ走行装置を得ることを目的とする。
この発明に係わるクローラ走行装置は、車台と、車台の前後の両側に設けられた4個の車輪と、前後の車輪に巻き掛けられ車輪の駆動力により駆動されるクローラとを備えたクローラ走行装置において、各車輪には、車輪の幅方向外側の外周部の周方向に、所定の間
隔を空けて複数の突出部が設けられ、内側に突出部と噛合するベルト内歯が形成され外側に接地面と接するベルト外歯が形成された環状ベルトが車輪の突出部の周りに装着され、環状ベルトの中心から最外部までの半径R1が、車輪の中心からクローラの最外部までの半径R2よりも大きく構成されているものである。
また、環状ベルトの中心から最外部までの半径R1が、車輪の中心からクローラの最外部までの半径R2と同一に構成されているものである。
更にまた、前後の車輪の内の一方側は、環状ベルトの中心から最外部までの半径R1が、車輪中心からクローラの最外部までの半径R2よりも大きく構成され、他方側は半径R1が、半径R2と同一に構成されているものである。
この発明のクローラ走行装置によれば、各車輪には、車輪の幅方向外側の外周部の周方向に、所定の間隔で複数の突出部が設けられ、内側に突出部と噛合するベルト内歯が形成され外側に接地面と接するベルト外歯が形成された環状ベルトが車輪の突出部の周りに装着され、環状ベルトの中心から最外部までの半径R1を、車輪の中心からクローラの最外部までの半径R2よりも大きく構成したので、少ない部品点数と簡単な構成で、不整地で有利なクローラ走行と整地で有利な四輪走行とが併用できるクローラ走行装置を実現できる。
また、環状ベルトの中心から最外部までの半径R1を、車輪の中心からクローラの最外部までの半径R2と同一に構成したので、クローラ走行における接地面積が、環状ベルトの幅分大きくなり、クローラ走行の特徴である不整地での安定走行の効果をより増大させることができる。
更に、前後の車輪の内の一方側は、環状ベルトの中心から最外部までの半径R1を、車輪中心からクローラの最外部までの半径R2よりも大きくし、他方側は、半径R1を、半径R2と同一に構成したので、整地走行において、一方側が環状ベルトの外歯部による接地となり、他方側がクローラ最外部及び環状ベルトの外歯部による接地となるので、クローラ走行装置の一方側は接地しないため、実質的に四輪走行の形態をとることができる。また、一方側の環状ベルトの外歯部が沈み込むような不整地走行では、クローラによるクローラ走行が可能となる。
実施の形態1.
以下、この発明の実施形態1について図面を参照しながら説明する。図1はこの発明の実施の形態1に示すクローラ走行装置の全体構成図であり、図2は図1の下面図、図3は図1のクローラ走行装置が使用する車輪の斜視図、図4は図1の側面略図である。
先ず、図1及び図2により全体構成を説明する。クローラ走行装置は、車台1の前後の両側に4個の車輪2(詳細は後述する)が設けられている。車台1の内部には、車輪2を回転させるモータ(図示せず)等の駆動体が内蔵されているが、本発明の主要部ではないので詳細な説明は省略する。
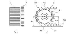
前後の車輪2にまたがってクローラ3が巻き掛けられており、車輪2の駆動力により循環回走するようになっている。車輪2の幅方向でクローラ3が巻き掛けられた部分の外側の外周部の周方向に、所定の間隔を空けて突出部2aが形成されており、この突出部2aの外周に突出部2aと噛合して環状ベルト4が装着されている。
また、車輪2の側面には、環状ベルト4の脱落防止用のキャップ2bが設けられている。
図3により車輪2の詳細について説明する。図はキャップ2b側から見た斜視図であり、キャップ2bのすぐ内側(すなわち、車台1に取り付けられたとき外側となる側)の外周に、先に説明した環状ベルト4と噛み合う突出部2aが形成されている。突出部2aより内側となる側に、突出部2aと同じように、クローラ3と噛み合うクローラ取付部2cが形成されている。
なお、図3では突出部2aが車輪2の一部として一体に構成されているが、車輪2と突出部2aとの関係は、車輪2の回転を突出部2aに伝達できれば一体でも別体でも構わない。
次に、図4の側面略図により、車輪2の突出部2aと環状ベルト4とクローラ3の関係について説明する。環状ベルト4は、ベルト内歯4b部において車輪2の突起部2aと噛み合わされており、ベルト外歯4a部はクローラ走行装置の接地面10と接地している。これに対し、クローラ3も内歯部によって車輪2のクローラ取付部2cと噛み合って回転するが、クローラ3の最外部3a(最外部とは、厳密には車輪2と噛合したクローラ3の最外部を指すが、図では分かりやすいように同等部分に符号を付している。以下、同様。)は環状ベルト4のベルト外歯4aよりも内側に位置しており、クローラ3の最外部3aは接地面10に接触しないように構成されている。
図5は、図4のA部の拡大図であり、図に基づいて、クローラ3と環状ベルト4との関係を更に詳しく説明する。
環状ベルト4は、その表裏に形成された歯のうちの一方を第1の歯、他方を第2の歯とすれば、第1の歯の歯高を第2の歯の歯高より高くし、且つ、第1の歯と第2の歯それぞれが突出部2aと噛合可能に形成されている。そして、第1の歯を環状ベルト4の外周側にしてベルト外歯4aとして使用している状態から、環状ベルト4を裏返し表裏を逆にして、第1の歯をベルト内歯4bとして使用することも可能なようになっている。
図5は、第1の歯をベルト外歯4aとして車輪2の突出部2aに装着した場合であり、この状態では、環状ベルト4の中心から最外部までの半径R1が、車輪中心からクローラ3の最外部3aまでの半径R2よりも大きくなるように、第1の歯の歯高が決められている。もし表裏逆にして第2の歯をベルト外歯としたときは、上記R1が、上記R2と同一なるように構成されている。
次に、クローラ走行装置の動作を説明する。クローラ走行装置は、車台1に内蔵する駆動体が車輪2を回転させ、クローラ3が車輪の回転に合わせて回転することでクローラ走行が可能となる。また、各車輪2の外側に所定の間隔で形成した突出部2aが車輪2の回転を伝達する。これにより、突出部2aと噛合する環状ベルト4が車輪2の回転に合わせて回転する。
クローラ3の最外部3aと環状ベルト4の最外部(ベルト外歯4aの歯末)までの寸法関係を上述のようしたことにより、クローラ走行装置は、整地・不整地が混合する状況において、
(1)整地では車台1の前後両側の車輪2の各々に装着した環状ベルト4のベルト外歯4a部が接地面10と接触してクローラ3を浮かせるため、環状ベルト4による四輪走行が行える。
(2)不整地でベルト外歯4a部が沈み込む、又は障害物を乗り越える等で、環状ベルト4のベルト外歯4a部では接地面10との対応ができない場合は、クローラ3によってクローラ走行が行える。
このように、クローラ走行と四輪走行との併用を、少ない部品による簡単な構成で実現できる。また、環状ベルト4がクローラ3の外側側面を支持するのでクローラ3の脱輪を防止できる。
なお、図1では車輪2の最外部にキャップ2bを設けて環状ベルト4の脱輪を防止しているが、突出部2aとベルト内歯4b部との噛合力により環状ベルト4の脱輪が防止できればキャップ2bは無くてもよい。
上記までは、クローラ走行と四輪走行との併用の場合について説明したが、一部の部品を組み替えることにより、クローラ走行を効果的に行える構成について、図6により説明する。
図6は、環状ベルト4を上記で説明したように、図5の状態から裏返して突出部2aと噛合させた場合の、クローラ3と環状ベルトとの関係の説明図である。環状ベルトそのものは、図1〜図5で説明した環状ベルト4と同じものであるが、裏返して使用する場合を環状ベルト41として符号をかえて説明する。ベルト外歯41aは第2の歯であり、ベルト内歯41bは第1の歯である。
この構成においては、先に説明したように、環状ベルト41の中心から最外部(ベルト外歯41aの歯末)までの半径R1が、車輪中心からクローラ3の最外部3aまでの半径R2と同一なる。これにより、図6(b)に示すように、環状ベルト41の最外部であるベルト外歯41aの歯末と、クローラ3の最外部3aとが共に接地面10に接触する。図6(a)から分かるように、クローラ走行としての接地面積が環状ベルト41の幅分大きくなり、クローラ走行の特徴である不整地での安定走行の効果をより増大させることができる。
なお、このような裏返す構成によらずに、図6の環状ベルト41の外歯部41aと同じ外径寸法の環状ベルトを別に用意しておき、走行状況に応じて取り替えるような構成にしても、部品点数は若干増えるが同様の走行効果を得ることができる。
また、突出部2aが環状ベルト4又は41を支持する場合は、環状ベルトの基礎円部を突出部2aに接触させて支持するようにすれば、環状ベルトに掛かる接地面からの応力を支持できると共に、環状ベルトを突出部2aに取り付ける際のがたつきを防止することができる。
以上のように、実施の形態1のクローラ走行装置によれば、各車輪には、車輪の幅方向外側の外周部の周方向に、所定の間隔を空けて複数の突出部が設けられ、内側に突出部と噛合するベルト内歯が形成され外側に接地面と接するベルト外歯が形成された環状ベルトが車輪の突出部の周りに装着され、環状ベルトの中心から最外部までの半径R1を、車輪の中心からクローラの最外部までの半径R2よりも大きく構成したので、少ない部品点数と簡単な構成で、不整地で有利なクローラ走行と整地で有利な四輪走行とが併用できるクローラ走行装置を実現できる。
また、環状ベルトの中心から最外部までの半径R1を、車輪の中心からクローラの最外部までの半径R2と同一に構成したので、クローラ走行における接地面積が、環状ベルトの幅分大きくなり、クローラ走行の特徴である不整地での安定走行の効果をより増大させることができる。
更にまた、環状ベルトの表裏に形成された歯のうちの一方を第1の歯、他方を第2の歯とするとき、第1の歯の歯高を第2の歯の歯高より高くし、第1の歯と第2の歯がそれぞれ突出部と噛合可能に形成され、第1の歯をベルト外歯として車輪の突出部に装着したときは、環状ベルトの中心から最外部までの半径R1が、車輪中心からクローラの最外部までの半径R2よりも大きくなり、表裏を逆にして第2の歯を外歯としたときは、半径R1が半径R2と同一なるような環状ベルトを用いて、上記のそれぞれの構成を実現したので、1つの環状ベルトで上記2形態を実現でき、部品点数の更なる削減を図ることができる。
実施の形態2.
以下、この発明の実施形態2について図面を参照しながら説明する。図7はこの発明の実施の形態2に示すクローラ走行装置の下面図であり、図8は図7の矢示B方向から見た側面略図である。実施の形態1の図1〜図6と同等部分は同一符号で示して説明を省略し、相違点を中心に説明する。
図7において、クローラ走行装置は、紙面の上下方向に走行するので、図の上方を前部、下方を後部と称することにする。図8では右が前部、左が後部である。また、本実施の形態の環状ベルトは、基本的に実施の形態1のものと同じであり、図5のように使用する環状ベルト4と図6のように裏返して使用する環状ベルト41とを備えている。
図7、図8に示すように、後部の車輪2の突出部2aには環状ベルト4の第2の歯をベルト内歯4bとして噛合させ、第1の歯をベルト外歯4aとしている。一方、前部側は環状ベルトを裏返して、車輪2の突出部2aには、環状ベルト41のベルト内歯41b(第1の歯)を噛合させている。
このような状態において、後部側は、環状ベルト4の中心から最外部までの半径R1が、車輪中心からクローラ3の最外部3aまでの半径R2よりも大きくなり、前部側は、上記R1が、上記R2と同一なる。すなわち、後部は実施の形態1の図5と、前部は実施の形態1の図6と同等に構成している。
このような構成により、本実施の形態のクローラ走行装置では、整地走行において、後部側が環状ベルト4のベルト外歯4a部による接地、前部側がクローラ3の最外部3a及び環状ベルト41のベルト外歯41a部による接地となり、クローラ走行装置の前部以外のクローラ3は接地しないため、実質的に四輪走行の形態をとることができる。なお、このような構成では、クローラ走行装置の前部はクローラ3の最外部3aの接地面積分だけ旋回力が後部に比べて低下するが、代わりに旋回によるブレが少なくなる。また、クローラ3の最外部3aの接地面積分だけ前部の駆動力が向上するため、前部からの登坂力が向上する。
また、クローラ走行装置の後部の環状ベルト4のベルト外歯4a部が沈み込むような不整地走行では、クローラ3によるクローラ走行が可能となるため、本実施の形態でも、実質的にクローラ走行と四輪走行の併用の形態をとることができる。
このように、本実施の形態のような構成では、前後一方の環状ベルトの交換だけでクローラ走行と四輪走行との併用の形態をとることができ、交換すべき部品点数の削減及び部品交換回数の減少を図ることができる。
なお、前部の環状ベルト41と後部の環状ベルト4を、予め外径の異なる別形状の部品で構成しておけば、部品点数は若干増えるが同様の走行を行えることは言うまでもない。
また、上記の説明では、後部を環状ベルト4、前部を環状ベルト41としたが、状況に応じて前後を入れ替えても構わない。
以上のように、本実施の形態のクローラ走行装置によれば、前後の車輪の内の一方側は、環状ベルトの中心から最外部までの半径R1を、車輪中心からクローラの最外部までの半径R2よりも大きくし、他方側は半径R1を半径R2と同一に構成したので、整地走行において、一方側が環状ベルトの外歯部による接地となり、他方側がクローラ最外部及び環状ベルトの外歯部による接地となるので、クローラ走行装置の前部以外のクローラは接地しないため、実質的に四輪走行の形態をとることができる。また、一方側の環状ベルトの外歯部が沈み込むような不整地走行では、クローラによるクローラ走行が可能となる。
また、環状ベルトの表裏の一方に第1の歯を形成し、他方に第1の歯より歯高の低い第
2の歯を形成した環状ベルトを用いて、前後の車輪の内の一方側は第1の歯が外歯となり、他方側は第2の歯が外歯となるように、環状ベルトを車輪の突出部に装着して上記の構成を実現したので、1つの環状ベルトで四輪走行とクローラ走行の2形態を実現でき、部品点数の更なる削減を図ることができる。
この発明の実施の形態1に示すクローラ走行装置の全体構成図である。 図1の下面図である。 図1のクローラ走行装置が使用する車輪の斜視図である。 図1の側面略図である。 図4のA部拡大図で、クローラと環状ベルトとの関係を説明する説明図である。 実施の形態1に示すクローラ走行装置の、環状ベルトを裏返して使用する場合のクローラと環状ベルトとの関係を説明する説明図である。 この発明の実施の形態2に示すクローラ走行装置の下面図である。 図7の矢示B方向から見た側面略図である。
符号の説明
1 車台 2 車輪
2a 突出部 2b キャップ
2c クローラ取付部 3 クローラ
3a 最外部 4 環状ベルト
4a ベルト外歯(第1の歯) 4b ベルト内歯(第2の歯)
10 接地面 41 環状ベルト
41a ベルト外歯(第2の歯) 41b ベルト内歯(第1の歯)。

Claims (6)

  1. 車台と、前記車台の前後の両側に設けられた4個の車輪と、前後の前記車輪に巻き掛けられ前記車輪の駆動力により駆動されるクローラとを備えたクローラ走行装置において、前記各車輪には、前記車輪の幅方向外側の外周部の周方向に、所定の間隔を空けて複数の突出部が設けられ、
    内側に前記突出部と噛合するベルト内歯が形成され外側に接地面と接するベルト外歯が形成された環状ベルトが前記車輪の前記突出部の周りに装着され、
    前記環状ベルトの中心から最外部までの半径R1が、前記車輪の中心から前記クローラの最外部までの半径R2よりも大きく構成されていることを特徴とするクローラ走行装置。
  2. 請求項1記載のクローラ走行装置において、前記環状ベルトは、表裏に形成された歯のうちの一方を第1の歯、他方を第2の歯とするとき、前記第1の歯の歯高を前記第2の歯の歯高より高くし、前記第1の歯及び前記第2の歯がそれぞれ前記突出部と噛合可能に形成され、前記第1の歯を前記ベルト外歯として前記車輪の前記突出部に装着したときは、前記半径R1が前記半径R2よりも大きくなり、表裏を逆にして前記第2の歯を前記ベルト外歯としたときは、前記半径R1が前記径R2と同一になるように構成されており、
    前記第1の歯が前記ベルト外歯となるように前記環状ベルトが前記車輪の前記突出部に装着されていることを特徴とするクローラ走行装置。
  3. 車台と、前記車台の前後の両側に設けられた4個の車輪と、前後の前記車輪に巻き掛けられ前記車輪の駆動力により駆動されるクローラとを備えたクローラ走行装置において、前記各車輪には、前記車輪の幅方向外側の外周部の周方向に、所定の間隔を空けて複数の突出部が設けられ、
    内側に前記突出部と噛合するベルト内歯が形成され外側に接地面と接するベルト外歯が形成された環状ベルトが前記車輪の前記突出部の周りに装着され、
    前記環状ベルトの中心から最外部までの半径R1が、前記車輪の中心から前記クローラの最外部までの半径R2と同一に構成されていることを特徴とするクローラ走行装置。
  4. 請求項3記載のクローラ走行装置において、前記環状ベルトは、表裏に形成された歯のうちの一方を第1の歯、他方を第2の歯とするとき、前記第1の歯の歯高を前記第2の歯の歯高より高くし、前記第1の歯及び前記第2の歯がそれぞれ前記突出部と噛合可能に形成され、前記第1の歯を前記ベルト外歯として前記車輪の前記突出部に装着したときは、前記半径R1が前記半径R2よりも大きくなり、表裏を逆にして前記第2の歯を前記ベルト外歯としたときは、前記半径R1が前記径R2と同一になるように構成されており、
    前記第2の歯が前記ベルト外歯となるように前記環状ベルトが前記車輪の前記突出部に装着されていることを特徴とするクローラ走行装置。
  5. 車台と、前記車台の前後の両側に設けられた4個の車輪と、前後の前記車輪に巻き掛けられ前記車輪の駆動力により駆動されるクローラとを備えたクローラ走行装置において、前記各車輪には、前記車輪の幅方向外側の外周部の周方向に、所定の間隔を空けて複数の突出部が設けられ、
    内側に前記突出部と噛合するベルト内歯が形成され外側に接地面と接するベルト外歯が形成された環状ベルトが前記車輪の前記突出部の周りに装着され、
    前後の前記車輪の内の一方側は、前記環状ベルトの中心から最外部までの半径R1が、前記車輪の中心から前記クローラの最外部までの半径R2よりも大きく構成され、他方側は、前記半径R1が、前記半径R2と同一に構成されていることを特徴とするクローラ走行装置。
  6. 請求項5記載のクローラ走行装置において、前記環状ベルトは、表裏に形成された歯の
    うちの一方を第1の歯、他方を第2の歯とするとき、前記第1の歯の歯高を前記第2の歯の歯高より高くし、前記第1の歯及び前記第2の歯がそれぞれ前記突出部と噛合可能に形成され、前記第1の歯を前記ベルト外歯として前記車輪の前記突出部に装着したときは、前記半径R1が前記半径R2よりも大きくなり、表裏を逆にして前記第2の歯を前記ベルト外歯としたときは、前記半径R1が前記径R2と同一になるように構成されており、
    前後の前記車輪の内の前記一方側は前記第1の歯が前記ベルト外歯となり、前記他方側は前記第2の歯が前記ベルト外歯となるように、前記環状ベルトが前記車輪の前記突出部に装着されていることを特徴とするクローラ走行装置。
JP2008162171A 2008-06-20 2008-06-20 クローラ走行装置 Expired - Fee Related JP5144391B2 (ja)

Priority Applications (1)

Application Number Priority Date Filing Date Title
JP2008162171A JP5144391B2 (ja) 2008-06-20 2008-06-20 クローラ走行装置

Applications Claiming Priority (1)

Application Number Priority Date Filing Date Title
JP2008162171A JP5144391B2 (ja) 2008-06-20 2008-06-20 クローラ走行装置

Publications (2)

Publication Number Publication Date
JP2010000944A true JP2010000944A (ja) 2010-01-07
JP5144391B2 JP5144391B2 (ja) 2013-02-13

Family

ID=41583020

Family Applications (1)

Application Number Title Priority Date Filing Date
JP2008162171A Expired - Fee Related JP5144391B2 (ja) 2008-06-20 2008-06-20 クローラ走行装置

Country Status (1)

Country Link
JP (1) JP5144391B2 (ja)

Cited By (1)

* Cited by examiner, † Cited by third party
Publication number Priority date Publication date Assignee Title
WO2018145419A1 (zh) * 2017-02-08 2018-08-16 郑东振 一种无支撑轮的防缠绕履带轮

Citations (6)

* Cited by examiner, † Cited by third party
Publication number Priority date Publication date Assignee Title
JPS50113201U (ja) * 1974-02-25 1975-09-16
JPS60110566A (ja) * 1983-11-18 1985-06-17 サンワ車輌株式会社 階段昇降用弾性履帯及び無限走行装置
JPS62165184U (ja) * 1986-04-09 1987-10-20
JPS63222982A (ja) * 1987-03-12 1988-09-16 Mitsubishi Electric Corp 移動機械
JPH04244489A (ja) * 1991-01-31 1992-09-01 Suzuki Motor Corp クローラー走行装置
JP2004232702A (ja) * 2003-01-29 2004-08-19 Tostem Corp ロボットの走行装置

Patent Citations (6)

* Cited by examiner, † Cited by third party
Publication number Priority date Publication date Assignee Title
JPS50113201U (ja) * 1974-02-25 1975-09-16
JPS60110566A (ja) * 1983-11-18 1985-06-17 サンワ車輌株式会社 階段昇降用弾性履帯及び無限走行装置
JPS62165184U (ja) * 1986-04-09 1987-10-20
JPS63222982A (ja) * 1987-03-12 1988-09-16 Mitsubishi Electric Corp 移動機械
JPH04244489A (ja) * 1991-01-31 1992-09-01 Suzuki Motor Corp クローラー走行装置
JP2004232702A (ja) * 2003-01-29 2004-08-19 Tostem Corp ロボットの走行装置

Cited By (1)

* Cited by examiner, † Cited by third party
Publication number Priority date Publication date Assignee Title
WO2018145419A1 (zh) * 2017-02-08 2018-08-16 郑东振 一种无支撑轮的防缠绕履带轮

Also Published As

Publication number Publication date
JP5144391B2 (ja) 2013-02-13

Similar Documents

Publication Publication Date Title
CN1285843C (zh) 链传动装置
JP5666119B2 (ja) 走行ロボット
JP2010047040A (ja) ゴムクローラ
CN101312872B (zh) 无芯骨橡胶履带
JP5144391B2 (ja) クローラ走行装置
JP2013208953A (ja) セミクローラ
JP4371691B2 (ja) 弾性クローラとこれを用いたクローラ走行装置
CN217100238U (zh) 橡胶履带定位装置及其支撑架总成
JP2020514166A (ja) 多段変速自転車
JP2010132249A (ja) 自転車
JP3163635B2 (ja) クローラー走行装置
JP2008018751A (ja) ラグ付き走行体
JP2003081144A (ja) 農用トラクタ
CN103909987A (zh) 履带式滑移转向装载机橡胶履带驱动轮
CN104648662B (zh) 飞机轮
JP2014108686A (ja) 耐久性向上型駆動装置
CN106286730B (zh) 一种输送链轮观测用传动调试装置
JPWO2016013455A1 (ja) クローラ装置
JP2003267276A (ja) 弾性クローラ及びクローラ式走行装置
JP2002255065A (ja) クローラ走行装置
JP2009061859A (ja) ゴムクローラ用芯金、及びこれを用いたゴムクローラ
JP3708895B2 (ja) クローラの転輪装置
JP2019094967A (ja) 回転伝達機構及びそれを備えた車椅子
JP2007145044A (ja) キャスタ
JP2004017866A (ja) ゴムクローラ

Legal Events

Date Code Title Description
A621 Written request for application examination

Free format text: JAPANESE INTERMEDIATE CODE: A621

Effective date: 20110304

A977 Report on retrieval

Free format text: JAPANESE INTERMEDIATE CODE: A971007

Effective date: 20120726

A131 Notification of reasons for refusal

Free format text: JAPANESE INTERMEDIATE CODE: A131

Effective date: 20120801

A521 Request for written amendment filed

Free format text: JAPANESE INTERMEDIATE CODE: A523

Effective date: 20120831

TRDD Decision of grant or rejection written
A01 Written decision to grant a patent or to grant a registration (utility model)

Free format text: JAPANESE INTERMEDIATE CODE: A01

Effective date: 20121030

A01 Written decision to grant a patent or to grant a registration (utility model)

Free format text: JAPANESE INTERMEDIATE CODE: A01

A61 First payment of annual fees (during grant procedure)

Free format text: JAPANESE INTERMEDIATE CODE: A61

Effective date: 20121122

FPAY Renewal fee payment (event date is renewal date of database)

Free format text: PAYMENT UNTIL: 20151130

Year of fee payment: 3

R150 Certificate of patent or registration of utility model

Ref document number: 5144391

Country of ref document: JP

Free format text: JAPANESE INTERMEDIATE CODE: R150

Free format text: JAPANESE INTERMEDIATE CODE: R150

R250 Receipt of annual fees

Free format text: JAPANESE INTERMEDIATE CODE: R250

R250 Receipt of annual fees

Free format text: JAPANESE INTERMEDIATE CODE: R250

R250 Receipt of annual fees

Free format text: JAPANESE INTERMEDIATE CODE: R250

R250 Receipt of annual fees

Free format text: JAPANESE INTERMEDIATE CODE: R250

R250 Receipt of annual fees

Free format text: JAPANESE INTERMEDIATE CODE: R250

R250 Receipt of annual fees

Free format text: JAPANESE INTERMEDIATE CODE: R250

R250 Receipt of annual fees

Free format text: JAPANESE INTERMEDIATE CODE: R250

R250 Receipt of annual fees

Free format text: JAPANESE INTERMEDIATE CODE: R250

S533 Written request for registration of change of name

Free format text: JAPANESE INTERMEDIATE CODE: R313533

R350 Written notification of registration of transfer

Free format text: JAPANESE INTERMEDIATE CODE: R350

LAPS Cancellation because of no payment of annual fees