JP2008148564A - 耕耘爪取り付け構造 - Google Patents
耕耘爪取り付け構造 Download PDFInfo
- Publication number
- JP2008148564A JP2008148564A JP2006336698A JP2006336698A JP2008148564A JP 2008148564 A JP2008148564 A JP 2008148564A JP 2006336698 A JP2006336698 A JP 2006336698A JP 2006336698 A JP2006336698 A JP 2006336698A JP 2008148564 A JP2008148564 A JP 2008148564A
- Authority
- JP
- Japan
- Prior art keywords
- claw
- tilling
- holder
- tillage
- nail
- Prior art date
- Legal status (The legal status is an assumption and is not a legal conclusion. Google has not performed a legal analysis and makes no representation as to the accuracy of the status listed.)
- Pending
Links
- 238000003971 tillage Methods 0.000 title claims abstract description 40
- 210000000078 claw Anatomy 0.000 claims description 130
- 238000003780 insertion Methods 0.000 claims description 15
- 230000037431 insertion Effects 0.000 claims description 15
- 238000003466 welding Methods 0.000 description 6
- 230000007423 decrease Effects 0.000 description 5
- 239000002689 soil Substances 0.000 description 5
- 238000006243 chemical reaction Methods 0.000 description 4
- 230000005489 elastic deformation Effects 0.000 description 4
- 238000000034 method Methods 0.000 description 4
- 239000011248 coating agent Substances 0.000 description 3
- 238000000576 coating method Methods 0.000 description 3
- 238000012423 maintenance Methods 0.000 description 3
- 239000000463 material Substances 0.000 description 3
- 239000002184 metal Substances 0.000 description 3
- 230000002093 peripheral effect Effects 0.000 description 3
- 229910000831 Steel Inorganic materials 0.000 description 2
- 230000000694 effects Effects 0.000 description 2
- 238000005304 joining Methods 0.000 description 2
- 239000010959 steel Substances 0.000 description 2
- 229910001209 Low-carbon steel Inorganic materials 0.000 description 1
- 229910000639 Spring steel Inorganic materials 0.000 description 1
- 230000001133 acceleration Effects 0.000 description 1
- 230000002411 adverse Effects 0.000 description 1
- 230000002238 attenuated effect Effects 0.000 description 1
- 230000006835 compression Effects 0.000 description 1
- 238000007906 compression Methods 0.000 description 1
- 238000006073 displacement reaction Methods 0.000 description 1
- 230000009021 linear effect Effects 0.000 description 1
- 238000004519 manufacturing process Methods 0.000 description 1
- 230000004048 modification Effects 0.000 description 1
- 238000012986 modification Methods 0.000 description 1
- 239000002994 raw material Substances 0.000 description 1
- 238000010008 shearing Methods 0.000 description 1
- 230000000087 stabilizing effect Effects 0.000 description 1
- 239000004575 stone Substances 0.000 description 1
Images
Landscapes
- Soil Working Implements (AREA)
Abstract
【課題】耐久性があり、安定した接合状態を保つことが可能で、しかも、耕耘爪の取り付けや取り外しの作業が容易な耕耘爪取り付け構造を提供すること。
【解決手段】この発明の耕耘爪取り付け構造は、耕耘爪1の基部1aをホルダ2の穴3に挿入して耕耘爪1を保持するようにした耕耘爪取り付け構造であって、ホルダ2は左右両側にそれぞれ左右方向に延びるブラケット部4,5を有しており、両側のブラケット部4,5間に耕耘爪1の基部1aが位置するようにしたものとしている。
【選択図】 図1
【解決手段】この発明の耕耘爪取り付け構造は、耕耘爪1の基部1aをホルダ2の穴3に挿入して耕耘爪1を保持するようにした耕耘爪取り付け構造であって、ホルダ2は左右両側にそれぞれ左右方向に延びるブラケット部4,5を有しており、両側のブラケット部4,5間に耕耘爪1の基部1aが位置するようにしたものとしている。
【選択図】 図1
Description
この発明は、耕耘用作業機の耕耘軸における耕耘爪取り付け構造に関するものである。
従来、ロータリ耕耘機の耕耘軸における耕耘爪取り付け構造として、特許文献1に記載のようなホルダ方式がある。このホルダ方式では、図9、図10に示したように、耕耘爪25を耕耘軸26に溶接された前壁側の爪保持体と背壁側の爪カバー体からなるホルダ27の穴に挿入し、耕耘爪25とホルダ27それぞれに設けたボルト挿通孔に通した1組のボルト28とナット29により締め付け固定するようにしたものが一般的である。
このホルダ方式では、前記ボルト28とナット29の締め付けにより、耕耘爪25とホルダ27とが摩擦接合されるのであるが、耕耘軸26の回転や外力により大きな負荷がかかると、ホルダ27が変形したり、耕耘軸26が陥没変形したりすることがある。
また、別の従来の耕耘爪取り付け構造として、フランジ方式がある。図11に示したように、フランジ方式では、耕耘軸26の周囲に設けたフランジ30に、複数の耕耘爪25をそれぞれボルト28とナット29により締め付け固定する。
このフランジ方式では、耕耘爪25を一枚の平鋼板であるフランジ30に直接締結するため製造が容易である。しかし、図12に示すように、当初、耕耘爪25は摩擦接合によりフランジ30に強く保持されていても、急激な負荷の変動や振動、あるいは耕耘爪25やフランジ30にかかる図中左右方向の負荷W1,W2、これらと直角に働く負荷、及び捩り負荷によって生じるボルト28・ナット29の緩め作用によって、接合面の摩擦力は次第に減少する。この場合、ボルト28のせん断応力Cによって摩擦力を補填するはずであるが、実際には、せん断応力によって摩擦力を十分に補填できる程度に、耕耘爪25、フランジ30ともに面仕上げすることや、ボルト孔とボルト軸部の嵌合精度を良くすることは不可能である。そのため、この部位にはせん断応力の代わりに、圧縮や引張の複雑な応力が発生して塑性変形が始まり、締結力が減衰し、これによって疲労破壊が起こることになる。
また、フランジ方式では、フランジ30の厚みに関する中心線31と、耕耘爪25の同中心線32が大きく離れており、耕耘爪25とフランジ30の各ボルト孔とボルト28との嵌合における接合点が、上記中心線31,32の間隔以上に離れる可能性が高い。この場合には、前記左右方向の負荷W1,W2によってボルト28に折り曲げ作用が働き、せん断応力C以外の応力が増加することになり、耐久性を向上させるような合理的な応力を発生させることは難しく、耐久性に悪影響をもたらす。このために各部材の強度を上げざるを得なくなり、これによって重量が嵩むものとなってしまう。
さらに、フランジ方式では、1つの耕耘爪25の取り付けのために少なくとも2組のボルトとナットが必要で、全体では多くのボルトとナットが必要になるため、耕耘爪25の取り付けや取り外しの作業に多くの時間と労力が必要であり、作業者に大きな負担となっていた。
実開平1−60606号公報
そこで、この発明は、従来よりも、耐久性があり、安定した接合状態を保つことが可能で、しかも、耕耘爪の取り付けや取り外しの作業が容易な耕耘爪取り付け構造を提供することを課題とする。
前記課題を解決するため、この発明は次のような技術的手段を講じている。
この発明の耕耘爪取り付け構造は、耕耘爪1の基部1aをホルダ2の穴3に挿入して耕耘爪1を保持するようにした耕耘爪取り付け構造であって、ホルダ2は左右両側にそれぞれ左右方向に延びるブラケット部4,5を有しており、両側のブラケット部4,5間に耕耘爪1の基部1aが位置するようにしたものとしている。
耕耘爪1の基部1aの厚みの中心線6と、両側のブラケット部4,5の厚みの中心線7が、略一直線状となるようにしたものとすることができる。
耕耘爪1の基部1aとホルダ2にそれぞれボルト挿通孔8,9,10を設け、1組のボルト11とナット12で締め付け固定するようにしたものとすることができる。
また、ブラケット部4,5が、耕耘軸13の周囲に設けられた板14の一部として構成されているものとすることができる。
この発明の耕耘爪取り付け構造は、上述のような構成を有しており、ホルダ2の両側のブラケット部4,5間に耕耘爪1の基部1aが位置するようになっているが、耕耘爪1にかかる主たる負荷は、耕耘爪1の回転による耕耘作業時に加わる土壌からの耕耘抵抗であるから、この抵抗力は、耕耘爪1の基部1aからストレートにこれと接触する受圧側のホルダ2の側部、さらにブラケット部4,5に伝わることとなり、そしてホルダ2の側部に発生する耐圧力や、ブラケット部4,5が側部を支える力と均衡するため、耕耘爪1とホルダ2との安定した接合状態を保つことが可能である。
しかも、1組のボルト11とナット12で締め付け固定するようにすれば、耕耘爪1の取り付けや取り外しの作業を容易にすることも可能である。
以下、この発明の好適な実施形態を、図面を参照して説明する。
図1はこの発明の実施形態の耕耘爪取り付け構造の要部の断面図、図2はこの取り付け構造の説明図である。
この耕耘爪取り付け構造は、耕耘爪1の基部1aをホルダ2の穴3に挿入して耕耘爪1を保持するようにした耕耘爪取り付け構造であって、ホルダ2は左右両側にそれぞれ左右方向に延びるブラケット部4,5を有しており、両側のブラケット部4,5間に耕耘爪1の基部1aが位置するようにしている。
以下、この耕耘爪取り付け構造をブラケット方式と呼ぶことにする。また、耕耘爪1の基部1aの幅方向を左右方向とする。両側のブラケット部4,5間に耕耘爪1の基部1aが位置することは、両側のブラケット部4,5を結ぶ直線を観念した場合、耕耘爪1の基部1aが前記直線をさえぎるように位置することとなる関係にあることを意味する。耕耘爪1の基部1aは、その厚みに関する中心線6が、図1に示したように、両側のブラケット部4,5の同中心線7と一直線状になることが望ましいが、特にその態様に限定されず、前後方向にずれていても良い。
ブラケット方式において、耕耘爪1は従来のものと同様とすることができる。具体的には、耕耘爪1は、適材に熱処理を施して高強度の弾性体に仕上げられており、基部1aと刃部1bとから構成され、基部1aの中央部にはボルト挿通孔8が設けられたものとすることができる。基部1aは、図1に示したように、断面が左右方向に長い長方形状としている。
ホルダ2は、爪保持体2aと爪カバー体2bとから構成され、爪保持体2aと爪カバー体2bの内側にできた穴3に耕耘爪1の基部1aが挿入されるようにしている。
爪保持体2aは、略正方形の板状の中央部15とその両側の側部16,17からなる断面略コ字状で、上端の開口部から耕耘爪1の基部1aが挿入され、円弧状に凹んだ底部が耕耘軸13の外周面に固着されるようにしている。爪保持体2aの中央部15には、ボルト挿通孔9が設けられている。爪保持体2aは、高い弾性を有する適材(例えば、ばね鋼)で形成されており、耕耘軸13の外周面に放射状となるように適宜間隔で複数個、溶接等の手段により固着される。
爪カバー体2bは、1枚の平鋼板の一部を断面略コ字状とすることにより凹部19を形成し、これに爪保持体2aを嵌合させるようにしたものである。凹部19の左右両側の側部20,21は、爪保持体2aの両側の側部16,17に外側から接するようにしている。凹部19の外側に張り出した部分がホルダ2のブラケット部4,5となる。
爪カバー体2bの材質は、低炭素鋼でよいが、必要に応じて爪保持体2aと同じものとすることができる。また、爪保持体2aと爪カバー体2bとの間に溶接箇所18を設けて両者を固定し、一体化したホルダとすることができる。
ブラケット部4,5は、それぞれ前後方向に関して同じ位置から、左右方向に直線的に一様の厚みで延びたものとしており、両ブラケット4,5の互いの前面、後面がそれぞれ同一平面上に位置するような関係となっている。爪カバー体2bは、ブラケット部4,5を、溶接等により耕耘軸13に設けた板状の固定部に固着することができる。
凹部19の中央部には、前記爪保持体2aのボルト挿通孔9に対応するボルト挿通孔10が設けられている。凹部19と爪保持体2aとは、互いの内面が向き合うように組み合わされてホルダ2を構成し、このホルダ2内に耕耘爪1の基部1aを挿入し、そして、各ボルト挿通孔8,9,10に通したボルト11と、爪保持体2aの外面側に配置されたナット12とにより、締め付けるようにしている。
前記爪保持体2aと爪カバー体2bとの溶接箇所18や、爪保持体2a、爪カバー体2bやブラケット部4,5と耕耘軸13との溶接箇所は、強度や耐久性の観点から必要な部位に設ければよい。溶接熱による硬度や強度の低下を招くと具合の悪い部位(例えば、ホルダ2の弾性強度を必要とする部位)には、レーザ溶接を行うとよい。
爪カバー体2bは、図3、図4に示したように、耕耘軸13の周面に取り付けられたドーナツ状の板14の一部を構成するものとすることができる。図示した例では、前記板14の片面に、4つの凹部19が等間隔で形成され、各凹部19に爪保持体2aが取り付けられることにより、4つのホルダ2が構成されるようになっている。各凹部19と爪保持体2aは略扇形となっているが、図示した通りの形状に限定されず、矩形や扇形が変形した形状(例えば、耕耘軸13側に長方形や上下反転した小さな扇形を付け足したような形状)等とすることもできる。ボルト挿通孔9,10の位置は、凹部19と爪保持体2aの形状や大きさに応じて、適宜設定することができる。
また、板14の両側の面を利用して、4つの凹部19が、交互に表裏反対に構成されたものとすることもできる。なお、凹部19を設けた板14の形状は、図3に示したような円板状に限らず、多角形でもよく、凹部19の数も適宜とすることができる。さらに、耕耘爪1は、基部1aが耕耘軸13の半径方向と一致する向きに取り付けられるだけでなく、耕耘爪1の基部1aや爪保持体2aの形状を変更して、耕耘爪1の基部1aが斜めに倒れた向き(耕耘軸13の半径方向に対して傾斜した向き)に取り付けられるようにすることもできる。
このブラケット方式の耕耘爪の取り付け構造では、左右両側のブラケット部4,5間に耕耘爪1の基部1aが位置しており、耕耘爪1の基部1aと両側のブラケット4,5とは、厚み方向(図1の前後方向)に関し、前記基部1aの全部又は一部が、両側のブラケット4,5の互いの前面どうし、後面どうしを結ぶ直線の間に入るような位置関係となっている。
そのため、接合状態にある耕耘爪1とホルダ2との間には、次の3段階での外力の大きさに応じた安定化機能が働くようになっている。まず第1に、耕耘爪1に負荷がかかると、耕耘爪1の基部1aは、爪保持体2aとの摩擦接合により保持される。第2に、前記摩擦接合の摩擦力を超える外力が加わった場合には、耕耘爪1の基部1aは、爪保持体2aの側部16又は17の内面に接触した状態で保持される。この場合、ホルダ2の側部16,20又は17,21の耐圧力(圧縮応力による反力)で力のバランスが保たれる。そして、第3に、前記耐圧力を超える外力が加わった場合でも、ブラケット4,5のホルダ2の側部に対する強力な支えにより、ホルダ2の破壊が防止される。ここで、特に重要な点は、この力関係は、加圧、受圧の直線的な作用・反作用の関係であり、また、ブラケット4,5の強力な支えも受けていることである。
すなわち、耕耘爪1に爪保持体2aとの摩擦力を超える大きな外力が加わったとしても、耕耘爪1の基部1a、ホルダ2の側部16,20,17,21、及びブラケット4,5が、同一直線上に位置するようになっており、この同一直線上において力のバランスが保たれることとなり、各部材に複雑な応力が発生しないため、耕耘爪1とホルダ2とは、耐久性のある、安定した接合状態を保つことが可能である。この効果は、耕耘爪1の厚みに関する中心線6と、ブラケット部4,5の同中心線7が、一直線状(図1)に近い状態であるほど大きくなる。
また、このブラケット方式では、1組のボルト11・ナット12で固定できるため、従来のフランジ方式のものに比べ、耕耘爪1の取り付けや取り外しの作業を容易にすることが可能である。すなわち、図11に示した従来のフランジ方式のものは、強固な固定状態を得るため、耕耘爪とフランジとを2組のボルト・ナットで固定する必要があった。これに対し、このブラケット方式の耕耘爪取り付け構造は、耕耘爪1とホルダ2とを一組のボルト11・ナット12で強固に固定することが可能である。したがって、従来のものに比べて、作業者にかかる労働負荷が著しく軽減されることになる。しかも、ホルダ2は箱型になっているため、フランジ方式に比べ、横方向の負荷や捩り負荷に対しても高い強度が得られる。
このブラケット方式は、従来のホルダ方式の特徴を取り入れつつ、さらにフランジ方式の欠点を改良したものであり、35馬力以上の大馬力の作業機にも拡大活用することができる。しかも、耐久性に優れた作業機となるばかりでなく、耕耘爪の取り付け部分のトラブルを著しく減少させることができ、耕耘爪そのものの故障も少なくなり、交換作業も楽になる。また、このブラケット方式の採用拡大により、作業機及び耕耘爪のシリーズ化、軽量化を図ることが容易になり、標準化が総合的に推進できる。
なお、このブラケット方式では、爪保持体2aを図5〜8に示すような構成とすることにより、上記の作用効果に加えて、以下に説明するように、ボルト11の軸力の低下によるホルダ2と耕耘爪1の接合状態のゆるみが防止されるようにすることができる。
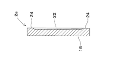
図5は爪保持体2aの正面図(内面側)、図6は図5のA−A断面図、図7は図5のB−B断面図、図8は図5のC−C断面図である。爪保持体2aの中央部15は、外側に膨らむように緩やかに湾曲した形状であり、その内面(耕耘爪1と接触する側)には開口部(上)と底部(下)との間に前記湾曲よりややきつい曲面となった窪み22を形成している。また、中央部15には、前記耕耘爪1のボルト挿通孔8に対応するボルト挿通孔9が形成されており、外面側においてボルト挿通孔9の周囲には、少し隆起した突出部23が形成されている。
開口部側と底部側の縁部は、前記窪み22と段差を有する接触部24となっている。接触部24は、内面において左右両側の側部16,17と直角の方向に、この両側部16,17間にわたって形成されている。図8に示したように、接触部24はゆるい曲線状に形成されており、ボルト挿通孔9の中心線から離れるにしたがって傾斜がきつくなるようにしている。
なお、爪保持体2aの内面は、中央部15の中心付近において耕耘爪1との間に空隙が生じる部分を有するとともに、その外に耕耘爪1と接触する接触部24(ランド部)を有するものとした構成であればよい。したがって、接触部24は、内面に形成した窪み22の周囲に生じる部分であればよく、内面に意図的に形成した隆起部分として構成する必要はない。また、爪保持体2aの内面を起伏のない平坦な面とし、代わりに耕耘爪1において前記内面に面する部分に窪みや隆起部分を設けることにより、前記内面が耕耘爪1と接触する部分(接触部24)を有するようにした構成とすることもできる。
耕耘用作業機の使用時においては、耕耘爪1に作用する外力等により、耕耘爪1の基部1aが傾いたり位置がずれたりし、ボルトの軸力を低下させるような作用が働く。また、ボルトの軸力が低下する原因としては、耕耘爪1に直接的に働く外力の他に、二次的に発生する反動的な力等が関与していることが考えられる。
外力としては、耕耘爪1にかかる耕耘抵抗が主なものである。耕耘抵抗とは、土壌への打ち込み、土壌の反転や粉砕、放てき時に摩擦や衝撃を反力として受ける抵抗力のことである。そして、この力に強い影響を与えるのは、作業機の進行速度、牽引力、耕耘軸の重量、回転速度、耕耘爪1の形状や取付本数等の作業機全体の条件や、その他、耕耘する圃場の条件、すなわち土壌の土質、土性、含水率等である。
二次的に発生する反動的な力としては、耕耘軸に取り付けられた耕耘爪1が、他の耕耘爪1に与えるものが考えられる。耕耘爪1は、1本の耕耘軸に多数本取り付けられており、各耕耘爪1は負荷の変動を受けながらも、一見、等速回転しているように見える。しかし、作業中において、いずれかの耕耘爪1が土壌中に埋没している障害物(石礫、木根等)に衝突した場合には、急激な負の加速が他の耕耘爪1に働くことになる。
このように、耕耘爪1は、他の耕耘爪1の影響によって、二次的に慣性や反動を絶えず繰り返し受けていることになり、これによって耕耘爪1と爪保持体2aとの摩擦力が減少し、ボルトの軸力が低下する可能性がある。
その他、ボルトの軸力の低下の原因としては、耕耘軸に発生する前後、上下、左右の振動、さらにこれに加えて回転ムラによる回転振動が考えられる。また、回転する耕耘軸を中心とする耕耘爪1の遠心力がボルト軸を中心とするゆるめトルクの働きをすると考えられる。
ところで、ボルトの軸力は、ボルトの長手方向の弾性変形量によって定まる。したがって、ボルトの長さが短いと、耕耘爪1と爪保持体2aとの接触面に直角に働く力が低下し、摩擦力を維持するためにきわめて不利となる。ボルトの長さは構造上制限があり、一定以上に長くすることはできないが、図5〜8に示した爪保持体2aを利用した耕耘爪取り付け構造では、耕耘爪1又は爪保持体2a(いずれか一方のみ、あるいは双方でもよい)が弾性変形することにより、ボルトの軸力の低下が補償され、耕耘爪1と爪保持体2aとの摩擦力を維持できるようになっている。
さらには、外力によって変位する耕耘爪1と爪保持体2aとの接触により、それぞれの表面の塗膜が破壊されると、両者の塗膜に覆われていた部分が露出し、金属面同士の接触が生じるが、金属面同士の接触が進行すると、塗膜同士の接触に比べて摩擦係数が増大し、より大きな摩擦力が発生することになる。
つまり、図5〜8に示した爪保持体2aを利用した耕耘爪取り付け構造においては、ボルトの弾性変形量と耕耘爪1、爪保持体2aの弾性変形量とを合わせた締結体の総弾性変形量を大きくし、外力によって耕耘爪1が変位する量を利用する構造にして、耕耘爪1と爪保持体2aとの摩擦力の減少を補うとともに、早期に金属面同士の接触を進行させることにより摩擦力が増大するようになっている。そのため、初期ゆるみ(非回転ゆるみ)段階における軸力低下が外力を利用して自動的に補償されるのであり、また、外力を利用するということは、耕耘爪1に加わる衝撃を緩衝する働きもある。
なお、爪保持体2aは湾曲した形状であるため、より大きな弾性が得られるようになっている。また、接触部24は、開口部付近と底部側付近に形成されており、回転の中心となるボルト挿通孔9の中心から遠い位置にあるため、耕耘爪1をゆるめようとするトルクに対抗し得る大きな摩擦トルクが得られるようになっている。
以上、この発明は、上述の実施形態の構成に限定されるものではなく、素材、形状、寸法等を適宜変更して実施することができる。
1 耕耘爪
1a 基部
2 ホルダ
3 穴
4,5 ブラケット部
6 耕耘爪の基部の厚みの中心線
7 ブラケット部の厚みの中心線
8,9,10 ボルト挿通孔
11 ボルト
12 ナット
13 耕耘軸
14 板
1a 基部
2 ホルダ
3 穴
4,5 ブラケット部
6 耕耘爪の基部の厚みの中心線
7 ブラケット部の厚みの中心線
8,9,10 ボルト挿通孔
11 ボルト
12 ナット
13 耕耘軸
14 板
Claims (4)
- 耕耘爪(1)の基部(1a)をホルダ(2)の穴(3)に挿入して耕耘爪(1)を保持するようにした耕耘爪取り付け構造であって、ホルダ(2)は左右両側にそれぞれ左右方向に延びるブラケット部(4)(5)を有しており、両側のブラケット部(4)(5)間に耕耘爪(1)の基部(1a)が位置するようにしていることを特徴とする耕耘爪取り付け構造。
- 耕耘爪(1)の基部(1a)の厚みの中心線(6)と、両側のブラケット部(4)(5)の厚みの中心線(7)が、略一直線状となるようにした請求項1記載の耕耘爪取り付け構造。
- 耕耘爪(1)の基部(1a)とホルダ(2)にそれぞれボルト挿通孔(8)(9)(10)を設け、1組のボルト(11)とナット(12)で締め付け固定するようにした請求項1又は2記載の耕耘爪取り付け構造。
- ブラケット部(4)(5)が、耕耘軸(13)の周囲に設けられた板(14)の一部として構成されている請求項1、2又は3記載の耕耘爪取り付け構造。
Priority Applications (1)
| Application Number | Priority Date | Filing Date | Title |
|---|---|---|---|
| JP2006336698A JP2008148564A (ja) | 2006-12-14 | 2006-12-14 | 耕耘爪取り付け構造 |
Applications Claiming Priority (1)
| Application Number | Priority Date | Filing Date | Title |
|---|---|---|---|
| JP2006336698A JP2008148564A (ja) | 2006-12-14 | 2006-12-14 | 耕耘爪取り付け構造 |
Publications (1)
| Publication Number | Publication Date |
|---|---|
| JP2008148564A true JP2008148564A (ja) | 2008-07-03 |
Family
ID=39651483
Family Applications (1)
| Application Number | Title | Priority Date | Filing Date |
|---|---|---|---|
| JP2006336698A Pending JP2008148564A (ja) | 2006-12-14 | 2006-12-14 | 耕耘爪取り付け構造 |
Country Status (1)
| Country | Link |
|---|---|
| JP (1) | JP2008148564A (ja) |
Citations (4)
| Publication number | Priority date | Publication date | Assignee | Title |
|---|---|---|---|---|
| JPS5223903U (ja) * | 1975-08-09 | 1977-02-19 | ||
| JPS59187906U (ja) * | 1983-06-01 | 1984-12-13 | 太陽鍛工株式会社 | 耕耘爪の支持手段 |
| JPH0160606U (ja) * | 1987-10-12 | 1989-04-18 | ||
| JPH035305U (ja) * | 1989-05-31 | 1991-01-18 |
-
2006
- 2006-12-14 JP JP2006336698A patent/JP2008148564A/ja active Pending
Patent Citations (4)
| Publication number | Priority date | Publication date | Assignee | Title |
|---|---|---|---|---|
| JPS5223903U (ja) * | 1975-08-09 | 1977-02-19 | ||
| JPS59187906U (ja) * | 1983-06-01 | 1984-12-13 | 太陽鍛工株式会社 | 耕耘爪の支持手段 |
| JPH0160606U (ja) * | 1987-10-12 | 1989-04-18 | ||
| JPH035305U (ja) * | 1989-05-31 | 1991-01-18 |
Similar Documents
| Publication | Publication Date | Title |
|---|---|---|
| SE533207C2 (sv) | Slitdel till en skopa för en last-eller grävmaskin,fästenhet där för jämte slitdelssystem, skopa och last-eller grävmaskin | |
| JPH09298903A (ja) | 耕耘爪 | |
| AU2006319766B2 (en) | Fastening assembly | |
| JP2008148564A (ja) | 耕耘爪取り付け構造 | |
| JPH0525014U (ja) | ボルト、リベツト等の締結部品 | |
| CA2541022A1 (en) | Recessed disc opener and mounting assembly method and apparatus | |
| JP5273413B2 (ja) | 耕耘爪取り付け構造 | |
| JP4505844B2 (ja) | 耕耘爪取り付け構造 | |
| JPH0893178A (ja) | 壁材の乾式施工用取付け支持構造 | |
| JPH051210Y2 (ja) | ||
| JP3201474U (ja) | 鉄骨材角部保護用治具 | |
| KR101551130B1 (ko) | 복합말뚝의 연결부 | |
| JP5737542B1 (ja) | 耕耘爪取り付け構造 | |
| JPH0737442Y2 (ja) | 耕耘爪の支持手段 | |
| JPH05196176A (ja) | 建設機械の配管固定用ねじ座 | |
| JP2015193977A (ja) | 鋼管杭の打ち込み補助具 | |
| JP2016013143A (ja) | ロータリ作業機 | |
| JPH0748001Y2 (ja) | 耕耘爪支持構造 | |
| US20240375240A1 (en) | Profile structure for a component of a power tool, and power tool having a profile structure | |
| JP2535561Y2 (ja) | 耕うん爪の支持装置 | |
| JP3249414U (ja) | 電動ドライバー保護カバー | |
| JPH0737443Y2 (ja) | 耕耘爪の保持手段 | |
| JP5936308B2 (ja) | エプロン部材 | |
| EP1164225A1 (en) | Earthquake-proofing reinforcing metal fitting | |
| JPH08807Y2 (ja) | 耕耘爪の支持手段 |
Legal Events
| Date | Code | Title | Description |
|---|---|---|---|
| A621 | Written request for application examination |
Effective date: 20081003 Free format text: JAPANESE INTERMEDIATE CODE: A621 |
|
| A977 | Report on retrieval |
Free format text: JAPANESE INTERMEDIATE CODE: A971007 Effective date: 20091026 |
|
| A131 | Notification of reasons for refusal |
Free format text: JAPANESE INTERMEDIATE CODE: A131 Effective date: 20091028 |
|
| A02 | Decision of refusal |
Effective date: 20100325 Free format text: JAPANESE INTERMEDIATE CODE: A02 |