JP2007282195A - カメラレンズモジュールおよびその製造方法 - Google Patents

カメラレンズモジュールおよびその製造方法 Download PDF

Info

Publication number
JP2007282195A
JP2007282195A JP2007042616A JP2007042616A JP2007282195A JP 2007282195 A JP2007282195 A JP 2007282195A JP 2007042616 A JP2007042616 A JP 2007042616A JP 2007042616 A JP2007042616 A JP 2007042616A JP 2007282195 A JP2007282195 A JP 2007282195A
Authority
JP
Japan
Prior art keywords
substrate
camera lens
lens module
image sensor
sensor chip
Prior art date
Legal status (The legal status is an assumption and is not a legal conclusion. Google has not performed a legal analysis and makes no representation as to the accuracy of the status listed.)
Pending
Application number
JP2007042616A
Other languages
English (en)
Inventor
Jen-Hoi Yan
ヤン,ジェン−ホイ
Gan-Yan Chen
チェン,ガン−ヤン
Sen-Fa Yan
ヤン,セン−ファ
Shin-Hon Tou
トゥ,シン−ホン
Current Assignee (The listed assignees may be inaccurate. Google has not performed a legal analysis and makes no representation or warranty as to the accuracy of the list.)
Chicony Electronics Co Ltd
Original Assignee
Chicony Electronics Co Ltd
Priority date (The priority date is an assumption and is not a legal conclusion. Google has not performed a legal analysis and makes no representation as to the accuracy of the date listed.)
Filing date
Publication date
Application filed by Chicony Electronics Co Ltd filed Critical Chicony Electronics Co Ltd
Publication of JP2007282195A publication Critical patent/JP2007282195A/ja
Pending legal-status Critical Current

Links

Images

Classifications

    • HELECTRICITY
    • H10SEMICONDUCTOR DEVICES; ELECTRIC SOLID-STATE DEVICES NOT OTHERWISE PROVIDED FOR
    • H10FINORGANIC SEMICONDUCTOR DEVICES SENSITIVE TO INFRARED RADIATION, LIGHT, ELECTROMAGNETIC RADIATION OF SHORTER WAVELENGTH OR CORPUSCULAR RADIATION
    • H10F39/00Integrated devices, or assemblies of multiple devices, comprising at least one element covered by group H10F30/00, e.g. radiation detectors comprising photodiode arrays
    • H10F39/011Manufacture or treatment of image sensors covered by group H10F39/12
    • HELECTRICITY
    • H05ELECTRIC TECHNIQUES NOT OTHERWISE PROVIDED FOR
    • H05KPRINTED CIRCUITS; CASINGS OR CONSTRUCTIONAL DETAILS OF ELECTRIC APPARATUS; MANUFACTURE OF ASSEMBLAGES OF ELECTRICAL COMPONENTS
    • H05K13/00Apparatus or processes specially adapted for manufacturing or adjusting assemblages of electric components
    • HELECTRICITY
    • H05ELECTRIC TECHNIQUES NOT OTHERWISE PROVIDED FOR
    • H05KPRINTED CIRCUITS; CASINGS OR CONSTRUCTIONAL DETAILS OF ELECTRIC APPARATUS; MANUFACTURE OF ASSEMBLAGES OF ELECTRICAL COMPONENTS
    • H05K3/00Apparatus or processes for manufacturing printed circuits
    • H05K3/30Assembling printed circuits with electric components, e.g. with resistor
    • H05K3/303Surface mounted components, e.g. affixing before soldering, aligning means, spacing means
    • H05K3/305Affixing by adhesive
    • HELECTRICITY
    • H10SEMICONDUCTOR DEVICES; ELECTRIC SOLID-STATE DEVICES NOT OTHERWISE PROVIDED FOR
    • H10FINORGANIC SEMICONDUCTOR DEVICES SENSITIVE TO INFRARED RADIATION, LIGHT, ELECTROMAGNETIC RADIATION OF SHORTER WAVELENGTH OR CORPUSCULAR RADIATION
    • H10F39/00Integrated devices, or assemblies of multiple devices, comprising at least one element covered by group H10F30/00, e.g. radiation detectors comprising photodiode arrays
    • H10F39/80Constructional details of image sensors
    • H10F39/806Optical elements or arrangements associated with the image sensors
    • HELECTRICITY
    • H05ELECTRIC TECHNIQUES NOT OTHERWISE PROVIDED FOR
    • H05KPRINTED CIRCUITS; CASINGS OR CONSTRUCTIONAL DETAILS OF ELECTRIC APPARATUS; MANUFACTURE OF ASSEMBLAGES OF ELECTRICAL COMPONENTS
    • H05K2201/00Indexing scheme relating to printed circuits covered by H05K1/00
    • H05K2201/10Details of components or other objects attached to or integrated in a printed circuit board
    • H05K2201/10613Details of electrical connections of non-printed components, e.g. special leads
    • H05K2201/10621Components characterised by their electrical contacts
    • H05K2201/10674Flip chip
    • HELECTRICITY
    • H05ELECTRIC TECHNIQUES NOT OTHERWISE PROVIDED FOR
    • H05KPRINTED CIRCUITS; CASINGS OR CONSTRUCTIONAL DETAILS OF ELECTRIC APPARATUS; MANUFACTURE OF ASSEMBLAGES OF ELECTRICAL COMPONENTS
    • H05K2203/00Indexing scheme relating to apparatus or processes for manufacturing printed circuits covered by H05K3/00
    • H05K2203/04Soldering or other types of metallurgic bonding
    • H05K2203/049Wire bonding

Landscapes

  • Engineering & Computer Science (AREA)
  • Manufacturing & Machinery (AREA)
  • Microelectronics & Electronic Packaging (AREA)
  • Studio Devices (AREA)
  • Solid State Image Pick-Up Elements (AREA)
  • Transforming Light Signals Into Electric Signals (AREA)
  • Lens Barrels (AREA)

Abstract

【課題】イメージセンサチップ(CCDデバイス)を使用するコンパクトなデジタルカメラ等に好適な低背構造のカメラレンズモジュールおよびその製造方法を提供する。
【解決手段】開口17が形成されたサブストレート16の一面に光学系(レンズ群)を収容するホルダ11を配置し、サブストレート16の他面にイメージセンサチップ18を配置する。ホルダ16およびイメージセンサチップ18は、サブストレート16の開口17と位置合わせされる。サブストレート16およびイメージセンサチップ18は、異方導電性フィルム20により相互接続される。
【選択図】図1

Description

本発明はカメラレンズモジュールおよびその製造方法に関し、特にフリップチップ構造を有する低背構造のカメラレンズモジュールおよびその製造方法に関する。
チップオンボード(COB)パッケージ法は、集積回路(IC)パッケージ技法の一種であり、裸のICチップを回路基板又はサブストレート上に直接マウントする。これは、(1)チップマウンティング、(2)ワイヤ接続および(3)シール(封止)の3つの基本技術を組み合わせ、回路基板組立工程のIC製造のパッケージおよびテスト工程へ送る。このCOBパッケージ法は、コンピュータ、携帯電話、時計、電子玩具やカルキュレータ等の最近の各種電子デバイスに応用されている。
図5を参照して従来技術について説明する。図5は、従来のカメラレンズモジュールの断面図を示す。図示する従来のカメラレンズモジュール5は、COBパケージ法を採用し、ホルダ51、ガラス板(プレート)55、イメージセンサチップ58およびサブストレート56を含んでいる。
ここで、ホルダ51は、チャンバ(部屋)52およびレンズグループ用の内ねじ54が形成された内周壁を有する。ガラス板55は、ホルダ51の内ねじ54の下方に配置され且つホルダ51に接合されている。イメージセンサチップ58は、ホルダ51のチャンバ52の下方にガラス板55とコリメート(位置合わせ)されて配置されている。サブストレート56は、ホルダ51の底面511に配置されている。イメージセンサチップ58は、導電性又は非導電性接着剤によりサブストレート56に接続され、その後ベーキング(加熱)して固着されている。導電性ワイヤ57を採用して、イメージセンサチップ58とサブストレート56を接続し、その後接着剤を使用してサブストレート56をホルダ51の底面511に固着する。その後、サブストレート56は熱工程により固定される。更に、フレキシブルサブストレート61およびサブストレート56を半田59により相互に固着される。
上述の如き従来のカメラレンズモジュール5は、比較的大きい高さを有するので、斯かるカメラレンズモジュール5は小型又は超小型の電子装置には使用不可能である。更に、イメージセンサチップ58は放熱特性が制限され且つ埃や不純物等の粒子状の異物がガラス板55の表面551に沈着すると、清掃不能であるので撮影特性を低化させることになる。従って、従来のカメラレンズモジュールは、上述の如き点において改善改良の余地がある。
本発明によるカメラレンズモジュールおよびその製造方法は、上述した課題に鑑みなされたものであり、上述の如き課題を解消又は低減する新たなカメラレンズモジュールおよびその製造方法を提供することを目的とする。
即ち、本発明の1つの目的は、サブストレートをイメージセンサチップ上に配置することにより高さを効果的に抑えると共に(組立製造時又はその後の使用時に)埃やその他の粒子状異物が侵入することによる上述した課題を軽減し且つサブストレートに開口を設けて放熱特性を改善するカメラレンズモジュールを提供することである。また、本発明の他の目的は、斯かるカメラレンズモジュールの製造方法を提供することである。
本発明によるカメラレンズモジュールおよびその製造方法は、次の如き特徴的な構成を採用している。
(1)レンズを収容するチャンバを有するホルダ、前記レンズから入射するイメージを検出するイメージセンサチップおよび該イメージセンサチップに電気的に接続されるサブストレートを含むカメラレンズモジュールにおいて、
前記サブストレートは開口を有し、前記ホルダは前記開口と位置合わせして前記サブストレートの一面に配置され、前記イメージセンサチップは前記開口と位置合わせして前記サブストレートの前記ホルダと反対面に配置されるカメラレンズモジュール。
(2)前記サブストレートの前記ホルダが配置された面側にガラス板を配置して前記ホルダの前記開口を覆う上記(1)のカメラレンズモジュール。
(3)前記イメージセンサチップは前記サブストレートに異方導電性フィルムを介して加熱および加圧して接続される上記(1)又は(2)のカメラレンズモジュール。
(4)前記サブストレートには受動部品が配置される上記(1)、(2)又は(3)のカメラレンズモジュール。
(5)前記イメージセンサチップを覆うように前記サブストレートの前記反対面に固定され、開口を有するカバーを更に備える上記(1)、(2)、(3)又は(4)のカメラレンズモジュール。
(6)前記ホルダの内周壁の前記サブストレート側近傍には両面接着テープが設けられる上記(1)乃至(5)の何れかのカメラレンズモジュール。
(7)前記サブストレートはフレキシブルサブストレートである上記(1)乃至(6)の何れかのカメラレンズモジュール。
(8)前記ホルダおよび前記イメージセンサチップを収容するスロット手段を更に備える上記(1)乃至(4)の何れかのカメラレンズモジュール。
(9)前記スロット手段および前記サブストレートを接続する導電性部材を更に備える上記(8)のカメラレンズモジュール。
(10)前記ホルダの内周壁には内ねじが形成されている上記(1)乃至(9)の何れかのカメラレンズモジュール。
(11)サブストレートに開口を形成するステップと、
前記サブストレートの一面に前記開口に位置合わせしてレンズを収容するホルダを固定するステップと、
前記サブストレートの他面に前記開口に位置合わせしてイメージセンサチップを配置するステップと、
前記サブストレートおよび前記イメージセンサチップを異方導電性フィルムにより電気的接続するステップと、
を備えるカメラレンズモジュールの製造方法。
(12)前記サブストレートの前記一面に前記開口を覆うガラス板を配置するステップを更に備える上記(11)のカメラレンズモジュールの製造方法。
(13)前記サブストレートの前記他面にカバーを配置して前記イメージセンサチップを覆うステップを更に備える上記(11)又は(12)のカメラレンズモジュールの製造方法。
(14)スロット手段により前記ホルダおよび前記イメージセンサチップを収容するステップを更に備える上記(11)又は(12)のカメラレンズモジュールの製造方法。
(15)前記サブストレートの前記他面の前記イメージセンサチップの外周部に受動部品を配置するステップを更に備える上記(11)乃至(14)の何れかのカメラレンズモジュールの製造方法。
本発明のカメラレンズモジュールおよびその製造方法によると、次の如き実用上の特有の効果を奏する。即ち、全体の高さを抑えた低背構造のカメラレンズモジュールが得られる。その理由は、サブストレートの一面(上面)にホルダを配置し、他面(下面)にイメージセンサチップを配置し、サブストレートおよびイメージセンサチップ間を密着接続するからである。また、ガラス板とイメージセンサチップ間のサブストレートは、イメージセンサチップに対応位置に開口を有するので、イメージセンサチップの発熱を効果的に放熱可能である。更に、チャンバを形成する内周壁の下部に両面接着テープを使用して埃や不純物を付着させることにより、ガラス板の上面を清潔に維持し、撮像性能の低下(劣化)を防止可能である。従って、小型(又は薄型)デジタルカメラや撮影機能を有する携帯電話等の小型薄形化が要求されるカメラレンズモジュールに好適である。
一方、本発明のカメラレンズモジュールの製造方法によると、複雑、時間を要し且つ高価な設備を必要とする加工や処理を不要として、簡単な加熱等の熱処理によりカメラレンズモジュールを安価に製造することが可能である。サブストレートとイメージセンサチップ間を例えば異方導電性フィルム等により相互接続することが可能である。
以下、本発明によるカメラレンズモジュールおよびその製造方法の好適実施の形態の構成および動作を、添付図面を参照して詳細に説明する。
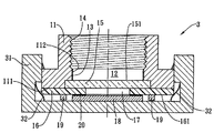
先ず、図1は、本発明によるカメラレンズモジュールの第1実施の形態の構成を示す断面図である。このカメラレンズモジュール1は、ホルダ11、ガラス板15、サブストレート(基板)16およびイメージセンサチップ(CCD等の撮像素子)18により構成されている。そして、ホルダ11はチャンバ12を有し、ホルダ11の内周壁112の下部には両面接着テープ13が設けられ、ホルダ11の内周壁112の上部にはレンズ群又は光学系(図示せず)用の内ねじ14が形成されている。ガラス板15は、ホルダ11のチャンバ12の下方に配置される。サブストレート16は、ホルダ11の下面111に配置され且つホルダ11のチャンバ12と位置合わせされた開口17を有し、サブストレート16の下面161には受動部品19が配置されている。イメージセンサチップ18は、サブストレート16の下面161に接続され且つサブストレート16の開口17と位置合わせされている。両面接着テープ13は、ガラス板15上の埃や不純物等を付着させて捕獲し、ガラス板15の上面151を清潔に維持する。
尚、ここで上面および下面等の表現は、図面に関する位置関係を述べるに過ぎず、カメラレンズモジュールの使用状態により上下関係が反転することに留意されたい。これは、後述するカメラレンズモジュールの他の実施の形態についても同様である。
イメージセンサチップ18は、異方導電性フィルム20を加熱してサブストレート16の低面161に接続され、イメージセンサチップ18の入出力デバイス(又はパッド)およびサブストレート16の入出力デバイス間を相互接続する。次に、サブストレート16は接着剤によりホルダ11の低面111に接合され、加熱工程により固着される。
次に、図2の断面図を参照して本発明によるカメラレンズモジュールの第2実施の形態を説明する。図2に示す第2実施の形態のカメラレンズモジュール2において、上述した第1実施の形態のカメラレンズモジュール1と対応する構成要素には、説明の便宜上同様の参照符号を使用する(尚、後述する他の実施の形態についても同様である)。本発明によるカメラレンズモジュール2は、ホルダ11、ガラス板15、フレキシブル(可撓性)サブストレート21、イメージセンサチップ18およびカバー23により構成される。
カメラレンズモジュール2において、ホルダ11はチャンバ12を有し、ホルダ11の内周壁112の下部には両面接着テープ13が設けられ、内周壁112の上部にはレンズ群(図示せず)用の内ねじ14が形成されている。ガラス板15は、ホルダ11のチャンバ12の下に配置されている。フレキシブルサブストレート21は、ホルダ11の底面111には位置され且つホルダ11のチャンバ12と位置合わせされた開口212を有し、フレキシブルサブストレート21の底面211には受動部品19が設けられている。イメージセンサチップ18は、フレキシブルサブストレート21の底面211に接続され且つフレキシブルサブストレート21の開口212と位置合わせされている。カバー23は、開口22を有し且つフレキシブルサブストレート21の底面211に固定されている。両面接着テープ13は、ガラス板15上の埃や不純物を付着させてガラス板15の上面151を清潔に維持する。
イメージセンサチップ18は、異方導電性フィルム20を加熱および加圧してフレキシブルサブストレート21の底面211に接続され、イメージセンサチップ18の入出力デバイスおよびフレキシブルサブストレートの入出力デバイス間を相互接続する。次に、フレキシブルサブストレート21は、接着剤によりホルダ11の底面111に接合され且つ加熱して固着される。カバー23は、接着剤によりフレキシブルサブストレート21の底面に固定され、カバー23の開口22はイメージセンサチップ18の下に位置し、外力が加えられることによりイメージセンサチップ18が破損するのを防止する。また、カバー23の開口22は、イメージセンサチップ18の放熱に有効である。
次に、図3の断面図を参照して、本発明による第3実施の形態のカメラレンズモジュール3について説明する。このカメラレンズモジュール3は、ホルダ11、ガラス板15、サブストレート16、イメージセンサチップ18およびスロット手段31により構成される。
第3実施の形態のカメラレンズモジュール3において、ホルダ11は、チャンバ12を有し、ホルダ11の内周壁112の下部には両面接着テープ13が設けられ、ホルダ11の内周壁112の上部にはレンズ群(図示せず)用の内ねじ14が形成されている。ガラス板15はホルダ11のチャンバ12の下に配置されている。サブストレート16は、ホルダ11のチャンバ12と位置合わせされた開口17を有する。また、サブストレート16は、ホルダ11の底面111に固定され且つサブストレート16の底面161には、受動部品19が設けられる。イメージセンサチップ18は、サブストレート16の底面161にサブストレート16の開口17と位置合わせされて接続されている。スロット手段31は、ホルダ11およびイメージセンサチップ18を収容し且つ導電部材32を有し、スロット手段31およびサブストレート16を接続する。両面接着テープ13は、ガラス板15上の埃や不純物を付着させてこのガラス板15の上面151を清潔に維持するために使用される。
イメージセンサチップ18は、異方導電性フィルム20を加熱してサブストレート16の底面161に接続され、イメージセンサチップ18の入出力デバイスおよびサブストレート16の入出力デバイス間を相互接続する。次に、サブストレート16は接着剤によりホルダ11の底面111に接合され、加熱して固着される。
次に、図4の断面図を参照して、本発明による第4実施の形態のカメラレンズモジュール4について説明する。このカメラレンズモジュール4は、ホルダ11、ガラス板45、フレキシブルサブストレート21、イメージセンサチップ18およびカバー23により構成される。
この第4実施の形態のカメラレンズモジュール4において、ホルダ11は、チャンバ12を有し、ホルダ11の内周壁112の下部には両面接着テープ13が設けられ、チャンバ12の上方にはレンズ群(図示せず)用の内ねじ14が形成されている。ガラス板45は、ホルダ11の底面111の下に配置されている。フレキシブルサブストレート21は、ホルダ11のチャンバ12と位置合わせされた開口22を有する。また、フレキシブルサブストレート21は、ガラス板45の底面451に配置され且つフレキシブルサブストレート21の底面211には受動部品19が設けられている。イメージセンサチップ18は、フレキシブルサブストレート21の底面211にフレキシブルサブストレート21の開口212と位置合わせされて接続されている。カバー23は開口22を有し、フレキシブルサブストレート21の底面211の下に固定されている。両面接着テープ13は、ガラス板45の上面の埃や不純物等を付着させ、ガラス板45の上面452を清潔に維持するために使用される。
イメージセンサチップ18は、異方導電性フィルム20を加熱してフレキシブルサブストレート21の下面211に接続され、イメージセンサチップ18の入出力デバイスおよびフレキシブルサブストレート21の入出力デバイス間を相互接続する。次に、フレキシブルサブストレート21は、接着剤にてガラス板45の下面451に接合され、加熱して固着される。カバー23は、接着剤にてフレキシブルサブストレート21の下面211に固定され且つカバー23の開口22は、イメージセンサチップ18の下に位置し、外力が加えられてイメージセンサチップ18が破損するのを防止すると共に開口22はイメージセンサチップ18の放熱に有効である。
以上、本発明によるカメラレンズモジュールおよびその製造方法の幾つかの好適な実施の形態について詳述した。しかし、斯かる実施の形態は、本発明の単なる例示に過ぎず、何ら本発明を限定するものではないことに留意されたい。本発明の要旨や精神を逸脱することなく、特定用途に応じて種々の変形変更が可能であること、当業者には容易に理解できよう。
本発明によるカメラレンズモジュールの第1実施の形態を示す断面図である。 本発明によるカメラレンズモジュールの第2実施の形態を示す断面図である。 本発明によるカメラレンズモジュールの第3実施の形態を示す断面図である。 本発明によるカメラレンズモジュールの第4実施の形態を示す断面図である。 従来のカメラレンズモジュールを示す断面図である。
符号の説明
1、2、3、4 カメラレンズモジュール
11 ホルダ
12 チャンバ
13 両面接着テープ
14 レンズ群用内ねじ
15、45 ガラス板
16 サブストレート
17、22 開口
18 イメージセンサチップ
20 異方導電性フィルム
21 フレキシブルサブストレート
23 カバー
31 スロット手段

Claims (15)

  1. レンズを収容するチャンバを有するホルダ、前記レンズから入射するイメージを検出するイメージセンサチップおよび該イメージセンサチップに電気的に接続されるサブストレートを含むカメラレンズモジュールにおいて、
    前記サブストレートは開口を有し、前記ホルダは前記開口と位置合わせして前記サブストレートの一面に配置され、前記イメージセンサチップは前記開口と位置合わせして前記サブストレートの前記ホルダと反対面に配置されることを特徴とするカメラレンズモジュール。
  2. 前記サブストレートの前記ホルダが配置された面側にガラス板を配置して前記ホルダの前記開口を覆うことを特徴とする請求項1に記載のカメラレンズモジュール。
  3. 前記イメージセンサチップは前記サブストレートに異方導電性フィルムを介して加熱および加圧して接続されることを特徴とする請求項1又は2に記載のカメラレンズモジュール。
  4. 前記サブストレートには受動部品が配置されることを特徴とする請求項1、2又は3に記載のカメラレンズモジュール。
  5. 前記イメージセンサチップを覆うように前記サブストレートの前記反対面に固定され、開口を有するカバーを更に備えることを特徴とする請求項1、2、3又は4に記載のカメラレンズモジュール。
  6. 前記ホルダの内周壁の前記サブストレート側近傍には両面接着テープが設けられることを特徴とする請求項1乃至5何れかに記載のカメラレンズモジュール。
  7. 前記サブストレートはフレキシブルサブストレートであることを特徴とする請求項1乃至6の何れかに記載のカメラレンズモジュール。
  8. 前記ホルダおよび前記イメージセンサチップを収容するスロット手段を更に備えることを特徴とする請求項1乃至4の何れかに記載のカメラレンズモジュール。
  9. 前記スロット手段および前記サブストレートを接続する導電性部材を更に備えることを特徴とする請求項8に記載のカメラレンズモジュール。
  10. 前記ホルダの内周壁には内ねじが形成されていることを特徴とする請求項1乃至9の何れかに記載のカメラレンズモジュール。
  11. サブストレートに開口を形成するステップと、
    前記サブストレートの一面に前記開口に位置合わせしてレンズを収容するホルダを固定するステップと、
    前記サブストレートの他面に前記開口に位置合わせしてイメージセンサチップを配置するステップと、
    前記サブストレートおよび前記イメージセンサチップを異方導電性フィルムにより電気的接続するステップと、
    を備えることを特徴とするカメラレンズモジュールの製造方法。
  12. 前記サブストレートの前記一面に前記開口を覆うガラス板を配置するステップを更に備えることを特徴とする請求項11に記載のカメラレンズモジュールの製造方法。
  13. 前記サブストレートの前記他面にカバーを配置して前記イメージセンサチップを覆うステップを更に備えることを特徴とする請求項11又は12に記載のカメラレンズモジュールの製造方法。
  14. スロット手段により前記ホルダおよび前記イメージセンサチップを収容するステップを更に備えることを特徴とする請求項11又は12に記載のカメラレンズモジュールの製造方法。
  15. 前記サブストレートの前記他面の前記イメージセンサチップの外周部に受動部品を配置するステップを更に備えることを特徴とする請求項11乃至14の何れかに記載のカメラレンズモジュールの製造方法。

JP2007042616A 2006-04-11 2007-02-22 カメラレンズモジュールおよびその製造方法 Pending JP2007282195A (ja)

Applications Claiming Priority (1)

Application Number Priority Date Filing Date Title
TW095112761A TW200739165A (en) 2006-04-11 2006-04-11 Lens module of camera and its fabricating method

Publications (1)

Publication Number Publication Date
JP2007282195A true JP2007282195A (ja) 2007-10-25

Family

ID=38683140

Family Applications (1)

Application Number Title Priority Date Filing Date
JP2007042616A Pending JP2007282195A (ja) 2006-04-11 2007-02-22 カメラレンズモジュールおよびその製造方法

Country Status (3)

Country Link
JP (1) JP2007282195A (ja)
KR (1) KR20070101125A (ja)
TW (1) TW200739165A (ja)

Cited By (4)

* Cited by examiner, † Cited by third party
Publication number Priority date Publication date Assignee Title
TWI416193B (zh) * 2007-12-31 2013-11-21 Hon Hai Prec Ind Co Ltd 測試鏡頭模組組裝元件之方法
CN106817522A (zh) * 2015-12-01 2017-06-09 安徽昌硕光电子科技有限公司 摄像模块的结构
JP2020092399A (ja) * 2018-12-05 2020-06-11 海華科技股▲分▼有限公司 撮像モジュール及び携帯電子機器
EP2838252B1 (en) * 2013-08-16 2022-05-04 Azurewave Technologies, Inc. Image sensing module and method of manufacturing the same

Families Citing this family (3)

* Cited by examiner, † Cited by third party
Publication number Priority date Publication date Assignee Title
CN102313959B (zh) * 2007-11-21 2014-11-12 Lg伊诺特有限公司 摄像模块
KR102033313B1 (ko) * 2016-03-02 2019-10-18 주식회사 탑 엔지니어링 카메라 모듈 제조 설비
WO2021128178A1 (zh) * 2019-12-26 2021-07-01 诚瑞光学(常州)股份有限公司 一种镜头模组及终端设备

Citations (11)

* Cited by examiner, † Cited by third party
Publication number Priority date Publication date Assignee Title
JPH065726A (ja) * 1992-06-23 1994-01-14 Sony Corp 樹脂製中空パッケージを用いた半導体装置
JP2001186420A (ja) * 2000-10-12 2001-07-06 Sanyo Electric Co Ltd 固体撮像素子の実装方法
JP2001250889A (ja) * 2000-03-06 2001-09-14 Matsushita Electric Ind Co Ltd 光素子の実装構造体およびその製造方法
JP2003059952A (ja) * 2001-08-16 2003-02-28 Sony Corp 半導体装置、半導体素子チップ及びその製造方法
JP2004080704A (ja) * 2002-08-22 2004-03-11 Toshiba Corp 撮像装置及びその製造方法
JP2004173028A (ja) * 2002-11-21 2004-06-17 Olympus Corp 固体撮像装置
JP2004221875A (ja) * 2003-01-14 2004-08-05 Seiko Epson Corp 光モジュール及びその製造方法並びに電子機器
JP2004274165A (ja) * 2003-03-05 2004-09-30 Seiko Epson Corp 光モジュール及びその製造方法並びに電子機器
JP2005316127A (ja) * 2004-04-28 2005-11-10 Matsushita Electric Ind Co Ltd カメラモジュール
JP2005353810A (ja) * 2004-06-10 2005-12-22 Seiko Precision Inc 受光装置、測距装置及びカメラモジュール並びにこれらの製造方法
JP2006074464A (ja) * 2004-09-02 2006-03-16 Seiko Epson Corp 光モジュール及びその製造方法

Patent Citations (11)

* Cited by examiner, † Cited by third party
Publication number Priority date Publication date Assignee Title
JPH065726A (ja) * 1992-06-23 1994-01-14 Sony Corp 樹脂製中空パッケージを用いた半導体装置
JP2001250889A (ja) * 2000-03-06 2001-09-14 Matsushita Electric Ind Co Ltd 光素子の実装構造体およびその製造方法
JP2001186420A (ja) * 2000-10-12 2001-07-06 Sanyo Electric Co Ltd 固体撮像素子の実装方法
JP2003059952A (ja) * 2001-08-16 2003-02-28 Sony Corp 半導体装置、半導体素子チップ及びその製造方法
JP2004080704A (ja) * 2002-08-22 2004-03-11 Toshiba Corp 撮像装置及びその製造方法
JP2004173028A (ja) * 2002-11-21 2004-06-17 Olympus Corp 固体撮像装置
JP2004221875A (ja) * 2003-01-14 2004-08-05 Seiko Epson Corp 光モジュール及びその製造方法並びに電子機器
JP2004274165A (ja) * 2003-03-05 2004-09-30 Seiko Epson Corp 光モジュール及びその製造方法並びに電子機器
JP2005316127A (ja) * 2004-04-28 2005-11-10 Matsushita Electric Ind Co Ltd カメラモジュール
JP2005353810A (ja) * 2004-06-10 2005-12-22 Seiko Precision Inc 受光装置、測距装置及びカメラモジュール並びにこれらの製造方法
JP2006074464A (ja) * 2004-09-02 2006-03-16 Seiko Epson Corp 光モジュール及びその製造方法

Cited By (4)

* Cited by examiner, † Cited by third party
Publication number Priority date Publication date Assignee Title
TWI416193B (zh) * 2007-12-31 2013-11-21 Hon Hai Prec Ind Co Ltd 測試鏡頭模組組裝元件之方法
EP2838252B1 (en) * 2013-08-16 2022-05-04 Azurewave Technologies, Inc. Image sensing module and method of manufacturing the same
CN106817522A (zh) * 2015-12-01 2017-06-09 安徽昌硕光电子科技有限公司 摄像模块的结构
JP2020092399A (ja) * 2018-12-05 2020-06-11 海華科技股▲分▼有限公司 撮像モジュール及び携帯電子機器

Also Published As

Publication number Publication date
TW200739165A (en) 2007-10-16
KR20070101125A (ko) 2007-10-16

Similar Documents

Publication Publication Date Title
JP4724145B2 (ja) カメラモジュール
US20130077257A1 (en) Electronic device and image sensor heat dissipation structure
JP5277105B2 (ja) カメラモジュール
JP2011015392A (ja) カメラモジュール
CN101448079A (zh) 相机模组
US10388685B2 (en) Portable electronic device and image-capturing module thereof, and image-sensing assembly thereof
JP2007282195A (ja) カメラレンズモジュールおよびその製造方法
TW201008259A (en) Assembly for image sensing chip and assembling method thereof
KR101632343B1 (ko) 이중 인쇄회로기판을 이용한 카메라 모듈
KR20080094231A (ko) 이미지 센서 모듈과 이를 구비한 카메라 모듈 및 그 제조방법
KR101661660B1 (ko) 카메라 모듈
US12557411B2 (en) Solid-state imaging device and electronic apparatus
JP4174664B2 (ja) 光モジュール及びその製造方法並びに電子機器
KR101012700B1 (ko) 이미지 센서용 모듈과 그것을 구비한 카메라 모듈 및,그것의 제조 방법
JP4145619B2 (ja) 光モジュール及びその製造方法、回路基板並びに電子機器
CN100517700C (zh) 影像感应器封装结构
US7429783B2 (en) Image sensor package
KR20080005733A (ko) 이미지 센서 모듈과 카메라 모듈
JP2004221876A (ja) 光モジュール及びその製造方法並びに電子機器
JP2004214788A (ja) 光モジュール及びその製造方法並びに電子機器
JP2005210409A (ja) カメラモジュール
KR100947967B1 (ko) 카메라 모듈 및 그 제조방법
KR100716788B1 (ko) 이미지 센서 모듈용 기판 및 이를 이용한 이미지 센서 모듈
JP2004282227A (ja) 光モジュール及びその製造方法並びに電子機器
TWI411863B (zh) 相機模組

Legal Events

Date Code Title Description
A621 Written request for application examination

Free format text: JAPANESE INTERMEDIATE CODE: A621

Effective date: 20091203

RD02 Notification of acceptance of power of attorney

Free format text: JAPANESE INTERMEDIATE CODE: A7422

Effective date: 20091203

A521 Request for written amendment filed

Free format text: JAPANESE INTERMEDIATE CODE: A821

Effective date: 20091203

A977 Report on retrieval

Free format text: JAPANESE INTERMEDIATE CODE: A971007

Effective date: 20110726

A131 Notification of reasons for refusal

Free format text: JAPANESE INTERMEDIATE CODE: A131

Effective date: 20110802

A02 Decision of refusal

Free format text: JAPANESE INTERMEDIATE CODE: A02

Effective date: 20120110