JP2007162049A - カルーセル型スパッタリング装置 - Google Patents
カルーセル型スパッタリング装置 Download PDFInfo
- Publication number
- JP2007162049A JP2007162049A JP2005357590A JP2005357590A JP2007162049A JP 2007162049 A JP2007162049 A JP 2007162049A JP 2005357590 A JP2005357590 A JP 2005357590A JP 2005357590 A JP2005357590 A JP 2005357590A JP 2007162049 A JP2007162049 A JP 2007162049A
- Authority
- JP
- Japan
- Prior art keywords
- substrate
- substrate holder
- target
- film formation
- film
- Prior art date
- Legal status (The legal status is an assumption and is not a legal conclusion. Google has not performed a legal analysis and makes no representation as to the accuracy of the status listed.)
- Withdrawn
Links
- 238000004544 sputter deposition Methods 0.000 title claims abstract description 17
- 239000000758 substrate Substances 0.000 claims abstract description 163
- 239000010408 film Substances 0.000 claims description 70
- 230000015572 biosynthetic process Effects 0.000 claims description 45
- 239000010409 thin film Substances 0.000 claims description 3
- 238000004140 cleaning Methods 0.000 abstract description 5
- 238000012423 maintenance Methods 0.000 abstract description 5
- 238000000151 deposition Methods 0.000 abstract description 3
- 238000005096 rolling process Methods 0.000 abstract 3
- 230000008021 deposition Effects 0.000 abstract 2
- 238000001514 detection method Methods 0.000 description 6
- 239000000203 mixture Substances 0.000 description 5
- 230000002093 peripheral effect Effects 0.000 description 4
- 238000000034 method Methods 0.000 description 3
- 239000011521 glass Substances 0.000 description 2
- 239000000470 constituent Substances 0.000 description 1
- 230000008878 coupling Effects 0.000 description 1
- 238000010168 coupling process Methods 0.000 description 1
- 238000005859 coupling reaction Methods 0.000 description 1
- 239000000428 dust Substances 0.000 description 1
- 230000000694 effects Effects 0.000 description 1
- -1 first Substances 0.000 description 1
- 239000000463 material Substances 0.000 description 1
- 239000002245 particle Substances 0.000 description 1
Images
Landscapes
- Physical Vapour Deposition (AREA)
Abstract
【課題】成膜の条件設定や制御が複雑でなく、また装置構成が簡単で高価とならず、清掃やメンテナンス等に手間がかからないカルーセル型スパッタリング装置を提供する。
【解決手段】所定真空状態のチャンバ2内のターゲット3の前方に回転可能に基板ホルダ4を設け、基板ホルダ4に保持した平板状基板29の成膜面に、基板ホルダ4を回転させターゲット3の前方を横断させて、所定膜を成膜する装置で、基板ホルダ4の外周部には、基板29を保持する複数の基板保持具23が、該基板ホルダ4の回転軸に平行な回動軸24a,24bを備え、保持した基板29を正逆方向に半回転させることが可能となっており、またチャンバ2には、基板保持具23の回動機構31が設けられていて、基板ホルダ4を所定位置に停止させた後、回動機構31により基板保持具23を半回転させ、基板29の成膜面を一方面から他方面に切替えられるようにしている。
【選択図】図1
【解決手段】所定真空状態のチャンバ2内のターゲット3の前方に回転可能に基板ホルダ4を設け、基板ホルダ4に保持した平板状基板29の成膜面に、基板ホルダ4を回転させターゲット3の前方を横断させて、所定膜を成膜する装置で、基板ホルダ4の外周部には、基板29を保持する複数の基板保持具23が、該基板ホルダ4の回転軸に平行な回動軸24a,24bを備え、保持した基板29を正逆方向に半回転させることが可能となっており、またチャンバ2には、基板保持具23の回動機構31が設けられていて、基板ホルダ4を所定位置に停止させた後、回動機構31により基板保持具23を半回転させ、基板29の成膜面を一方面から他方面に切替えられるようにしている。
【選択図】図1
Description
本発明は、基板の両面に成膜することが可能なカルーセル型スパッタリング装置に関する。
周知の通り、カルーセル型スパッタリング装置は、ガラス板等の基板の表面に薄膜を形成する装置で、所定真空状態のチャンバ内にターゲットとを設けると共に、この前方に複数の基板を保持する基板ホルダを回転可能に設け、さらにターゲットと基板との間に高電圧を印加し、プラズマ化したイオンを衝突させ、これによってターゲットの構成材料を弾き飛ばし堆積させることにより基板表面への成膜を行うものである。そして、基板の両面に成膜を行おうとした場合には、先ず真空状態のチャンバ内で基板の片方面への成膜を行った後に、チャンバ内を常圧状態に戻し、例えば人手を使う等して基板を反転させてから、再びチャンバ内を真空状態にし、基板の他方面への成膜が行われる。
こうした過程によって基板両面に成膜を行った場合、基板片方面への成膜後、一旦チャンバ内の真空状態を解除して反転作業を行うため、大気に晒され、基板表面に塵埃等が付着する虞がある。また、基板を反転させた後に再度チャンバ内を真空状態に戻さなければならず、成膜作業の効率が悪いものとなっていた。
こうした状況に対し、基板の表裏両面に同時に成膜を行うものとして、回転可能に設けられた筒状の基板ホルダーの外周側面と内周側面に対向するよう2つのターゲットをそれぞれ配置し、一方のターゲットにより基板ホルダーの側壁部分に保持された基板の表面に成膜を行い、基板の裏面には他方のターゲットにより成膜を行うものが有る(例えば、特許文献1参照)。
しかし、上記の特許文献1に示されたものでは、次のような問題が考えられる。すなわち、基板の表裏両面に同じ組成の膜を同時に成膜しようとした場合、基板の外側成膜面(表面)への成膜は基板ホルダーの外側に配置されたターゲットで行われ、この場合には、ターゲットに対向する位置以外では成膜面がターゲット方向に向いておらず、ターゲット方向からの入射角が小さい。一方、基板の内側成膜面(裏面)への成膜は基板ホルダーの内側に配置されたターゲットで行われ、この場合には、ターゲットに対向する位置以外でも成膜面がターゲット方向に向いており、ターゲット方向からの入射角が大きい。そのため、一定時間成膜を行った後での膜質(膜の密着性、膜厚等)が、基板の表面と裏面で異なることになり、例えば表裏両面に同じ組成、同じ膜厚の膜を形成する場合の成膜条件の設定や成膜時の制御が非常に複雑なものとなる。
また、基板ホルダーの外側と内側にそれぞれターゲットを配置するため、装置構成が複雑で高価なものとなり、さらに清掃やメンテナンス等に手間と時間が多く必要となる。
特開昭60−211068号公報
上記のような状況に鑑みて本発明はなされたもので、その目的とするところは、成膜条件の設定や成膜時の制御が複雑なものとならず、また、装置構成が複雑なものでなく、高価なものとならず、清掃やメンテナンス等に手間と時間を多く必要としないカルーセル型スパッタリング装置を提供することにある。
本発明のカルーセル型スパッタリング装置は、
所定の真空状態に保たれたチャンバ内に、ターゲットと、このターゲットの前方に回転可能に基板ホルダを設け、前記基板ホルダの外周部に保持した平板状基板の成膜面に、前記基板ホルダを回転させ前記ターゲットの前方を横断させて、所定の薄膜を成膜するカルーセル型スパッタリング装置であって、
前記基板ホルダには、その外周部に前記基板を保持する複数の基板保持具が、該基板ホルダの回転軸に平行な回動軸を備え、保持した前記基板を正逆方向にそれぞれ半回転させることが可能であるように設けられていると共に、前記チャンバには、前記基板保持具の回動機構が設けられており、回転する前記基板ホルダを所定位置に停止させた後、前記回動機構によって前記基板保持具を半回転させることで、前記基板の成膜面を一方面から他方面に反転するようにしたものであることを特徴とするものであり、
さらに、前記基板保持具は、前記回動軸に前記基板の厚み方向の中心線が一致するように前記基板を保持するものであることを特徴とするものであり、
さらに、前記基板は、前記ターゲットの前方を横断する際に、前記成膜面が前記ターゲットに対し平行となるよう前記基板ホルダに保持されることを特徴とするものであり、
さらに、前記回動機構は、前記基板保持具を上方に押し上げ半回転させることによって、前記基板の成膜面を一方面から他方面に反転させるものであることを特徴とするものである。
所定の真空状態に保たれたチャンバ内に、ターゲットと、このターゲットの前方に回転可能に基板ホルダを設け、前記基板ホルダの外周部に保持した平板状基板の成膜面に、前記基板ホルダを回転させ前記ターゲットの前方を横断させて、所定の薄膜を成膜するカルーセル型スパッタリング装置であって、
前記基板ホルダには、その外周部に前記基板を保持する複数の基板保持具が、該基板ホルダの回転軸に平行な回動軸を備え、保持した前記基板を正逆方向にそれぞれ半回転させることが可能であるように設けられていると共に、前記チャンバには、前記基板保持具の回動機構が設けられており、回転する前記基板ホルダを所定位置に停止させた後、前記回動機構によって前記基板保持具を半回転させることで、前記基板の成膜面を一方面から他方面に反転するようにしたものであることを特徴とするものであり、
さらに、前記基板保持具は、前記回動軸に前記基板の厚み方向の中心線が一致するように前記基板を保持するものであることを特徴とするものであり、
さらに、前記基板は、前記ターゲットの前方を横断する際に、前記成膜面が前記ターゲットに対し平行となるよう前記基板ホルダに保持されることを特徴とするものであり、
さらに、前記回動機構は、前記基板保持具を上方に押し上げ半回転させることによって、前記基板の成膜面を一方面から他方面に反転させるものであることを特徴とするものである。
本発明によれば、装置構成が簡単で、高価なものでなく、成膜に際しての取り扱いが容易で、成膜条件の設定や成膜時の制御が容易であり、清掃やメンテナンス等に多くの手間や時間を要することのない等の効果を有する。
以下本発明の一実施形態を、図1乃至図4を参照して説明する。図1は縦断面図であり、図2は横断面図であり、図3は基板保持具を示す図で、図3(a)は正面図、図3(b)は縦断面図であり、図4は図3(a)における基板保持具のA−A矢視方向の断面図である。
図1乃至図4において、カルーセル型スパッタリング装置1は、直方体状のチャンバ2内に、チャンバ2の内壁面に沿って配置した1つの厚板状のターゲット3と、このターゲット3の前面に直交する方向前方に回転中心軸を設けて回転する基板ホルダ4とを備えて構成されている。チャンバ2は、その天板5の外方側にステッピングモータ6やブレーキ付き電磁式クラッチ7等を取付フレーム8に取り付けてなる駆動部9が設けられている。さらに、駆動部9のステッピングモータ6により駆動される軸方向が鉛直方向の回転軸10は、その先端部分が真空シール軸受やスラストベアリング等でなる軸受部11を介してチャンバ2内に延出しており、回転軸10の先端部分には、基板ホルダ4を吊り下げ回転させるためのフランジ部材12が固定されている。なお、13はフランジ部材12が回転軸10から脱落するのを防止する抜け止め部材である。
また、基板ホルダ4は、円筒状の連結部材14の両端部を、連結部材14の外径より大径に形成された円板状の上板15、下板16で閉塞した略筒状の形態をなしており、上板15をフランジ部材12に固定することによって、回転軸10の先端部分に吊り下げられる。さらに基板ホルダ4には、下板16の中央部分に、回転軸10と回転中心軸を同じくする中空軸17が下方に突出するように設けられており、中空軸17の突出部分をチャンバ2の底板18の内底面中央部に設けられたラジアルベアリング19に軸支されることで、基板ホルダ4の回転振れが抑制されるようになっている。
また、基板ホルダ4の上板15、下板16の連結部材14が固定されている部分よりも外方となる外周部には、それぞれ外周方向に沿って、複数の取付孔20が、上板15、下板16の対応するもの同士間の孔中心方向が回転軸10の中心軸方向に平行となるようにして、等間隔に形成されている。さらに、取付孔20にはブッシュ21が挿着され、上板15の取付孔20近傍の上面には、回り止めガイド22が固定されている。そして、上板15、下板16の対応する取付孔20の間には、それぞれ基板保持具23が、その上下方向に延出する回動軸24a,24bを取付孔20のブッシュ21に挿入するようにして、回動可能に設けられている。
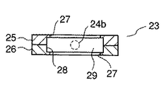
基板ホルダ4に複数設けられる基板保持具23は、保持枠25と押え枠26とで形成された縦長の額縁状のもので、保持枠25と押え枠26とには同形状の方形の開口27が形成されており、また両枠25,26を組み合せることで、開口27の縁に形成された段形状部位によって両側部分に縦方向の凹所28が形成されるようになっている。これにより、保持枠25と押え枠26との間に成膜を行う例えば複数のガラス板等の平板状基板29を、その両側部分を凹所28に係合させるようにして挟持し、基板29が表裏の両成膜面を開口27に露出されるようにして基板保持具23に保持される。
また回動軸24a,24bは、保持枠25の上下端からそれぞれ上下方向に延出しており、先端部分がT字形状部30a,30bとなっている。さらに、回動軸24a,24bの回動中心軸は、基板保持具23の横断面の中心を縦方向に通るもので、凹所28に基板29を挟持した状態では、基板29の厚み方向の中心軸と同軸となっている。
そして、基板保持具23を基板ホルダ4の上板15、下板16の間に取り付けた状態では、保持枠25の上端から延出する回動軸24aは、上板15の取付孔20を貫通し、先端のT字形状部30aが上板15の上面に位置し、上板15からの抜け止めがなされ、さらに回り止めガイド22にT字形状部30aが当接することよって回動しないよう規制されている。このため、回り止めガイド22により回動が規制された状態の基板保持具23は、開口27の開口面の指向方向が基板ホルダ4の回転中心軸方向となっており、基板ホルダ4が回転し、基板保持具23がターゲット3の前方を横断する際には、ターゲット3と開口27に露出する基板29の成膜面とが平行となる。なお、保持枠25の下端から延出する回動軸24bについては、下板16の取付孔20を貫通し、先端のT字形状部30bが下板15の下面の下方に位置する。
また、基板29は表裏両面に成膜面を有するため、一方の面の成膜時に成膜粒子が他方の面に回り込んで付着するのを最小限にすべく、基板保持具23同士の間や基板ホルダ4の上板15、下板16と基板保持具23との間の隙間は、基板保持具23の回動等を制限しない範囲で最少のものとなっている。
また、チャンバ2には、底板18の所定の位置、すなわち、基板ホルダ4に設けられた基板保持具23の回動軸24bが、基板ホルダ4の回転に伴って直上を横断する位置に回動機構31が設けられている。この底板18に設けられた回動機構31は、底板18の外面に取付枠32によって取り付けられたアクチュエータ33と、このアクチュエータ33に設けられた上方に向け進退動すると共に正逆方向にそれぞれ回動する駆動軸34と、この駆動軸34の上端にカップリング35を間に設けて下端が連接された操作軸36と、この操作軸36をチャンバ2の外方から内方に貫通させるため底板18に設けられた真空シール軸受37とを備えて構成されている。さらに操作軸36の上端部分には、基板保持具23の下端から延出する回動軸24bのT字形状部30bが係合可能な溝38が形成された係合片39が設けられている。
一方、チャンバ2の天板5には、その内面の所定位置に、例えば基板ホルダ4の上板15に設けられた図示しない所定の識別マークを検出し、この検出結果に基づき基板ホルダ4の回転位置が所要の位置となっているか否かを判断するためのセンサ40が設けられている。またセンサ40の検出結果については、センサ信号線41を介して装置制御部42に入力される。そして、装置制御部42でセンサ40の検出結果が所要の回転位置を検出したものであると判断されると、装置制御部42から駆動部9のステッピングモータ6やブレーキ付き電磁式クラッチ7と、アクチュエータ33等に、それぞれモータ制御信号線43、クラッチ制御信号線44、ブレーキ制御信号線45、アクチュエータ制御信号線46を介し、それぞれを制御するための信号が入力されるようになっている。
そして、このように構成されたものでは、スパッタリングの各工程が、装置制御部42の制御のもとに行われることになる。例えば所定圧力に減圧して所定真空状態に保持したチャンバ2内で、基板保持具23に複数の基板29を保持し、センサ40による識別マークの検出結果に基づいて所定回転速度で所定回数だけ基板ホルダ4を回転させ、ターゲット3による基板29の一方の成膜面(外側となっている面)へのスパッタリングを行う。
その後、回動機構31の操作軸36の上端部分に設けられた係合片39の直上に、所定の基板保持具23の下端に設けられた回動軸24bのT字形状部30bが位置することが、センサ40によって検出されると、その検出結果に基づき、ステッピングモータ6やブレーキ付き電磁式クラッチ7が、装置制御部42によって制御され、基板ホルダ4の回転が停止する。
この基板ホルダ4の停止に伴いアクチュエータ33が作動し、先ず操作軸36が上方に向け進出動する。この進出動によって、操作軸36上端の係合片39の溝38に、基板保持具23から下方に延出する回動軸24bのT字形状部30bが係合する。さらに、係合片39の溝38にT字形状部30bが係合した後も、操作軸36は上方に進出動し、基板保持具23の上端に設けられた回動軸24aのT字形状部30aが、基板ホルダ4の上板15上面に設けた回り止めガイド22の高さを越える高さとなった時点で進出動を停止する。
続いてアクチュエータ33の操作軸36を例えば正方向に半回転だけ回動させる。これにより、基板保持具23は半回転し、保持した基板29の反転が行われる。この反転によって、基板29のスパッタリングが行われた一方の成膜面は内側面(連結部材14に対向する面)となり、他方の成膜面が外側面となる。
この基板保持具23の半回転が行われた後、操作軸36は後退動し、基板保持具23は、上端の回動軸24aのT字形状部30aが上板15上面で停止し、回り止めガイド22によって回動しないよう規制され、半回転後における開口27の開口面の指向方向が基板ホルダ4の回転中心軸方向となっている状態が保持される。さらに操作軸36の後退動は継続され、基板保持具23の下端に設けられた回動軸24bのT字形状部30bと、係合片39の溝38との係合が外れ、操作軸36が初期位置まで後退動してアクチュエータ33の作動は停止する。
アクチュエータ33が停止した後、装置制御部42の制御のもとに、再びステッピングモータ6を回転させて基板ホルダ4を回転させ、次の基板保持具23に設けられた回動軸24bのT字形状部30bが、回動機構31の操作軸36に設けられた係合片39の直上に位置する所で、基板ホルダ4の回転を停止する。その後、上記各過程を順次行い基板保持具23を半回転させ、基板29を反転させる。こうした基板29を反転させる過程を基板ホルダ4に保持された基板29の全部について行う。
全部の基板29の反転が終了した後、ステッピングモータ6を回転させ、またセンサ38による識別マークの検出結果に基づいて基板ホルダ4を所定回転速度で所定回数回転させることによって、ターゲット3による基板29の他方の成膜面へのスパッタリングを行う。この際、基板29を反転する前後での基板ホルダ4の回転回数を異なる適正数とすることで、基板29の表裏の成膜面に成膜される膜の膜厚を、それぞれ所望のものとすることができる。
なお、上記では主に基板29の表裏の成膜面に同じ組成、同じ膜厚の膜を形成する場合を説明したが、組成や膜厚等の異なる膜の成膜を行う場合には、基板29の一方面の成膜を終えた後、回動機構31を用いて全ての基板保持具23を回動させ、基板29の反転を行う。これと同時に、必要に応じてチャンバ2内のスパッタガスや反応性ガスを入れ替え、チャンバ2内の真空度を調整する。そして、チャンバ2内に予め配置しておいた基板29の一方面の成膜に用いたターゲット3と異なる別のターゲットを用い、基板ホルダ4を所定回転速度で所定回数回転させることにより、基板29の他方面の成膜を行う。このように、基板29の表裏の成膜面に異なる膜を成膜する場合においても、その成膜条件の設定や成膜時の制御が容易なものとなる。
以上のようにして基板29に成膜を行うため、基板ホルダ4に保持された各基板29の成膜条件が等しく、またそれぞれの基板29においても、表裏両成膜面に対し、複雑な制御を行う必要もなく、同じ条件の成膜を行うことができるので、基板29の表裏両成膜面に形成された膜は、同じ膜質(同じ組成、同じ膜厚等)を有するものとなる。また基板29の反転を、チャンバ2の外に取り出すことなく、チャンバ2内の条件を乱さずに簡単かつ容易に行うことができる。またそのための構成も簡単で、清掃やメンテナンス等に手間と時間を要することがなく、装置コストも高価のものとならない。
2…チャンバ
3…ターゲット
4…基板ホルダ
9…駆動部
23…基板保持具
24a,24b…回動軸
29…基板
31…回動機構
33…アクチュエータ
40…センサ
3…ターゲット
4…基板ホルダ
9…駆動部
23…基板保持具
24a,24b…回動軸
29…基板
31…回動機構
33…アクチュエータ
40…センサ
Claims (4)
- 所定の真空状態に保たれたチャンバ内に、ターゲットと、このターゲットの前方に回転可能に基板ホルダを設け、前記基板ホルダの外周部に保持した平板状基板の成膜面に、前記基板ホルダを回転させ前記ターゲットの前方を横断させて、所定の薄膜を成膜するカルーセル型スパッタリング装置であって、
前記基板ホルダには、その外周部に前記基板を保持する複数の基板保持具が、該基板ホルダの回転軸に平行な回動軸を備え、保持した前記基板を正逆方向にそれぞれ半回転させることが可能であるように設けられていると共に、前記チャンバには、前記基板保持具の回動機構が設けられており、回転する前記基板ホルダを所定位置に停止させた後、前記回動機構によって前記基板保持具を半回転させることで、前記基板の成膜面を一方面から他方面に反転するようにしたものであることを特徴とするカルーセル型スパッタリング装置。 - 前記基板保持具は、前記回動軸に前記基板の厚み方向の中心線が一致するように前記基板を保持するものであることを特徴とする請求項1記載のカルーセル型スパッタリング装置。
- 前記基板は、前記ターゲットの前方を横断する際に、前記成膜面が前記ターゲットに対し平行となるよう前記基板ホルダに保持されることを特徴とする請求項1記載のカルーセル型スパッタリング装置。
- 前記回動機構は、前記基板保持具を上方に押し上げ半回転させることによって、前記基板の成膜面を一方面から他方面に反転させるものであることを特徴とする請求項1記載のカルーセル型スパッタリング装置。
Priority Applications (1)
| Application Number | Priority Date | Filing Date | Title |
|---|---|---|---|
| JP2005357590A JP2007162049A (ja) | 2005-12-12 | 2005-12-12 | カルーセル型スパッタリング装置 |
Applications Claiming Priority (1)
| Application Number | Priority Date | Filing Date | Title |
|---|---|---|---|
| JP2005357590A JP2007162049A (ja) | 2005-12-12 | 2005-12-12 | カルーセル型スパッタリング装置 |
Publications (1)
| Publication Number | Publication Date |
|---|---|
| JP2007162049A true JP2007162049A (ja) | 2007-06-28 |
Family
ID=38245302
Family Applications (1)
| Application Number | Title | Priority Date | Filing Date |
|---|---|---|---|
| JP2005357590A Withdrawn JP2007162049A (ja) | 2005-12-12 | 2005-12-12 | カルーセル型スパッタリング装置 |
Country Status (1)
| Country | Link |
|---|---|
| JP (1) | JP2007162049A (ja) |
Cited By (7)
| Publication number | Priority date | Publication date | Assignee | Title |
|---|---|---|---|---|
| WO2009063789A1 (ja) * | 2007-11-13 | 2009-05-22 | Ebara-Udylite Co., Ltd. | 三次元形状のワークへのスパッタリング成膜方法およびそれに用いる装置 |
| WO2009063788A1 (ja) * | 2007-11-13 | 2009-05-22 | Ebara-Udylite Co., Ltd. | スパッタリング装置およびスパッタリング成膜方法 |
| JP2014207638A (ja) * | 2013-04-16 | 2014-10-30 | 京セラクリスタルデバイス株式会社 | ウェハ保持冶具及びこれを用いた耐食膜形成方法 |
| JP2016172886A (ja) * | 2015-03-16 | 2016-09-29 | 日本電気硝子株式会社 | 板ガラス保持具及び板ガラスの製造方法 |
| CN114717531A (zh) * | 2022-04-18 | 2022-07-08 | 浙江水晶光电科技股份有限公司 | 一种立式镀膜装置 |
| JP7520437B1 (ja) * | 2023-06-20 | 2024-07-23 | 株式会社シンクロン | 成膜装置 |
| CN118582957A (zh) * | 2024-08-07 | 2024-09-03 | 洛阳晶联光电材料有限责任公司 | 一种用于靶材绑定的加热炉及靶材绑定工艺 |
-
2005
- 2005-12-12 JP JP2005357590A patent/JP2007162049A/ja not_active Withdrawn
Cited By (11)
| Publication number | Priority date | Publication date | Assignee | Title |
|---|---|---|---|---|
| WO2009063789A1 (ja) * | 2007-11-13 | 2009-05-22 | Ebara-Udylite Co., Ltd. | 三次元形状のワークへのスパッタリング成膜方法およびそれに用いる装置 |
| WO2009063788A1 (ja) * | 2007-11-13 | 2009-05-22 | Ebara-Udylite Co., Ltd. | スパッタリング装置およびスパッタリング成膜方法 |
| KR101254988B1 (ko) * | 2007-11-13 | 2013-04-16 | 가부시끼가이샤 제이씨유 | 스퍼터링 장치 및 스퍼터링 성막 방법 |
| JP5307723B2 (ja) * | 2007-11-13 | 2013-10-02 | 株式会社Jcu | 三次元形状のワークへのスパッタリング成膜方法およびそれに用いる装置 |
| JP5364590B2 (ja) * | 2007-11-13 | 2013-12-11 | 株式会社Jcu | スパッタリング装置およびスパッタリング成膜方法 |
| JP2014207638A (ja) * | 2013-04-16 | 2014-10-30 | 京セラクリスタルデバイス株式会社 | ウェハ保持冶具及びこれを用いた耐食膜形成方法 |
| JP2016172886A (ja) * | 2015-03-16 | 2016-09-29 | 日本電気硝子株式会社 | 板ガラス保持具及び板ガラスの製造方法 |
| CN114717531A (zh) * | 2022-04-18 | 2022-07-08 | 浙江水晶光电科技股份有限公司 | 一种立式镀膜装置 |
| JP7520437B1 (ja) * | 2023-06-20 | 2024-07-23 | 株式会社シンクロン | 成膜装置 |
| WO2024261883A1 (ja) * | 2023-06-20 | 2024-12-26 | 株式会社シンクロン | 成膜装置 |
| CN118582957A (zh) * | 2024-08-07 | 2024-09-03 | 洛阳晶联光电材料有限责任公司 | 一种用于靶材绑定的加热炉及靶材绑定工艺 |
Similar Documents
| Publication | Publication Date | Title |
|---|---|---|
| CN101750639B (zh) | 光学镀膜装置 | |
| JP2007162049A (ja) | カルーセル型スパッタリング装置 | |
| JP2011105983A (ja) | ワーク連続反転装置 | |
| CN103849843B (zh) | 一种具有五靶头的磁控共溅射设备 | |
| WO2007148536A1 (ja) | 成膜装置及び成膜方法 | |
| JPH0578830A (ja) | カソードスパツタリング装置 | |
| JP6500084B2 (ja) | 薄膜形成装置 | |
| CN203768449U (zh) | 具有五靶头的磁控共溅射设备 | |
| US20030075102A1 (en) | System for inverting substrates | |
| JPH0382762A (ja) | 基板の反転装置 | |
| US6632282B2 (en) | Planetary multi-substrate holder system for material deposition | |
| JPH0826455B2 (ja) | スパツタリング装置 | |
| JPS58107484A (ja) | 薄膜形成装置における反転式蒸着装置 | |
| JPH02277770A (ja) | 成膜装置 | |
| JP5005205B2 (ja) | 真空蒸着装置 | |
| JPS642188B2 (ja) | ||
| KR101678893B1 (ko) | 원통형 스퍼터링 캐소드 장치 및 이를 이용한 박막 증착 방법 | |
| JPS63290271A (ja) | スパッタ装置のタ−ゲット部シャッタ | |
| JP2000038663A (ja) | マグネトロンスパッタ装置 | |
| JPWO2020044872A1 (ja) | スパッタリング装置及び成膜方法 | |
| JPH0832956B2 (ja) | 薄膜処理装置 | |
| JP2004091845A (ja) | 磁性薄膜の形成装置 | |
| JP2006176867A (ja) | 成膜装置及び蒸着装置 | |
| JP2000219964A (ja) | 成膜方法及び成膜装置 | |
| JPS6396268A (ja) | スパツタ装置 |
Legal Events
| Date | Code | Title | Description |
|---|---|---|---|
| A300 | Withdrawal of application because of no request for examination |
Free format text: JAPANESE INTERMEDIATE CODE: A300 Effective date: 20090303 |