JP2007123780A - 緩衝部を有する回路基板および製造方法 - Google Patents

緩衝部を有する回路基板および製造方法 Download PDF

Info

Publication number
JP2007123780A
JP2007123780A JP2005317617A JP2005317617A JP2007123780A JP 2007123780 A JP2007123780 A JP 2007123780A JP 2005317617 A JP2005317617 A JP 2005317617A JP 2005317617 A JP2005317617 A JP 2005317617A JP 2007123780 A JP2007123780 A JP 2007123780A
Authority
JP
Japan
Prior art keywords
circuit board
printed wiring
buffer
wiring board
mounting hole
Prior art date
Legal status (The legal status is an assumption and is not a legal conclusion. Google has not performed a legal analysis and makes no representation as to the accuracy of the status listed.)
Granted
Application number
JP2005317617A
Other languages
English (en)
Other versions
JP4664802B2 (ja
Inventor
Nobuhiro Yamamoto
展大 山本
Jun Karasawa
純 唐沢
Current Assignee (The listed assignees may be inaccurate. Google has not performed a legal analysis and makes no representation or warranty as to the accuracy of the list.)
Toshiba Corp
Original Assignee
Toshiba Corp
Priority date (The priority date is an assumption and is not a legal conclusion. Google has not performed a legal analysis and makes no representation as to the accuracy of the date listed.)
Filing date
Publication date
Application filed by Toshiba Corp filed Critical Toshiba Corp
Priority to JP2005317617A priority Critical patent/JP4664802B2/ja
Publication of JP2007123780A publication Critical patent/JP2007123780A/ja
Application granted granted Critical
Publication of JP4664802B2 publication Critical patent/JP4664802B2/ja
Anticipated expiration legal-status Critical
Expired - Fee Related legal-status Critical Current

Links

Images

Classifications

    • HELECTRICITY
    • H05ELECTRIC TECHNIQUES NOT OTHERWISE PROVIDED FOR
    • H05KPRINTED CIRCUITS; CASINGS OR CONSTRUCTIONAL DETAILS OF ELECTRIC APPARATUS; MANUFACTURE OF ASSEMBLAGES OF ELECTRICAL COMPONENTS
    • H05K2201/00Indexing scheme relating to printed circuits covered by H05K1/00
    • H05K2201/09Shape and layout
    • H05K2201/09818Shape or layout details not covered by a single group of H05K2201/09009 - H05K2201/09809
    • H05K2201/09909Special local insulating pattern, e.g. as dam around component
    • HELECTRICITY
    • H05ELECTRIC TECHNIQUES NOT OTHERWISE PROVIDED FOR
    • H05KPRINTED CIRCUITS; CASINGS OR CONSTRUCTIONAL DETAILS OF ELECTRIC APPARATUS; MANUFACTURE OF ASSEMBLAGES OF ELECTRICAL COMPONENTS
    • H05K2201/00Indexing scheme relating to printed circuits covered by H05K1/00
    • H05K2201/10Details of components or other objects attached to or integrated in a printed circuit board
    • H05K2201/10227Other objects, e.g. metallic pieces
    • H05K2201/10409Screws

Landscapes

  • Electric Connection Of Electric Components To Printed Circuits (AREA)
  • Structure Of Printed Boards (AREA)

Abstract

【課題】 取付け穴の周辺に緩衝部を有する回路基板において、専用の金型や別の成型工程等を必要としないで、取付け穴の周辺に緩衝部を形成した回路基板およびその製造方法を提供する。
【解決手段】 プリント配線板に部品を実装しハンダ付けして回路基板を製造する工程内において、ソルダペーストの印刷工程の後に緩衝材塗布工程を設け、熱硬化する液状の材料をプリント配線板の取付け穴の周辺に塗布し、ハンダを加熱しハンダ付けする製造工程にて液状の材料を熱硬化させることによって緩衝部を形成する。
【選択図】 図1

Description

本発明は、装置等に取り付けられたプリント配線板に加わる衝撃を小さくするための緩衝部を有する回路基板に関する。
電子部品を実装された回路基板が、モバイル機器や自動車等に搭載されているが、モバイル機器や自動車に加わった衝撃が回路基板に直接伝達すると、回路基板に実装された部品とプリント配線板のハンダ接合部に亀裂が入ったりして、誤動作や故障を引き起こす原因となる恐れがある。そのため回路基板に衝撃が直接伝達されないように、回路基板を装置に取り付ける部分に緩衝部品を介在させて固定されることが多い。回路基板に伝達される衝撃を小さくするため、緩衝部品には弾性材料または粘弾性材料が用いられている。
緩衝部品は、回路基板や回路基板が取付けられる装置とは別の部品であることが多く、回路基板と装置を組み立てるときに、回路基板と装置との間に挟むような形式で装着されるため、組み立てが面倒である。
上記の組み立てをより簡便化する目的で予め回路基板に緩衝部品を成型して設ける例が考えられている。(例えば特許文献1参照)。
しかしながら、回路基板に成型にて緩衝部品を設けるためには、緩衝部品用の専用金型が必要であり、全く別工程にてその金型に回路基板を装着する手間が発生し、たいへん面倒である。
特開平11−54963号公報
回路基板の取付け穴に別部品の緩衝部品を介在させながら回路基板と装置を組み当てるのは面倒である。また予め回路基板に緩衝部品を設けるためには、専用の金型や別の成型工程が必要となり、一長一短がある。
本発明は上記問題点を解決するためになされたもので、専用の金型等を必要としないで、回路基板の取付け穴の周辺に緩衝部品を形成した回路基板およびその製造方法を提供することを目的とする。
上記目的を達成するために、本発明の回路基板は、取付け穴を有するプリント配線板と、前記プリント配線板に実装される部品と、前記取付け穴の周辺に塗布された液状の材料が前記プリント配線板に前記部品を実装する際の加熱工程において熱硬化されて形成された緩衝部とを有することを特徴とする。
本発明によれば、専用の金型等を必要としないで、回路基板の取付け穴の周辺等に予め緩衝部を設けることができる。
以下本発明の実施例の形態による情報処理装置について図を参照しながら説明する。
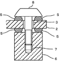
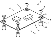
本発明による情報処理装置の実施例を図1乃至図7を参照して説明する。図1は本発明の実施例1の形態における回路基板の構成を示す概要図である。回路基板1はプリント配線板2、プリント配線板2に実装される部品4、緩衝部5により構成されている。本実施例にけるプリント配線板2は、実装される部品4をハンダ付けする前の状態を指す。
プリント配線板2は略長方形をしており、四隅等に取付け穴3が設けられている。取付け穴3の周辺には取付け穴3を囲むように緩衝部5が設けられている。装置側には回路基板1を支持するための支持部6が取付け穴3と同数設けられている。支持部6にはねじ穴7があり、回路基板1は取付け穴3にねじ8を通して支持部6に支持される。
図2は、取付け穴3と緩衝部5の拡大斜視図である。緩衝部5は、複数個(図では6個)の半球状の緩衝部5a、5b、5c、5d、5e、5fより構成されており、複数の緩衝部5a、5b、5c、5d、5e、5fは取付け穴3の周辺を取付け穴3を囲むように配置されてプリント配線板2に接着されている。この緩衝部5は回路基板1の反対側の面にも同様に設けられている。
図3は、図1において回路基板をA方向から見た図である。6個の緩衝部5a、5b、5c、5d、5e、5fの位置はそれぞれの緩衝部5a、5b、5c、5d、5e、5fの頂上部がねじ8の頭部の外径より内側になるように配置されている。回路基板1は緩衝部5を介して支持部6とねじ8の頭部に挟まれて支持されている。
図4は回路基板1を支持部6に支持した部分の断面図である。ねじ8を支持部6のねじ穴7に締め付けていくと、ねじ8の頭部が緩衝突部9の頂上部をつぶし始める。そしてねじ8の頭部とプリント配線板2の距離が所定の大きさになったところでねじの締め付けを止めるようにして、またはねじ8を締めるときに回転させるためのトルクが所定のトルクになったところで締め付けを止めるようにして、緩衝部5に所定の反発力を発生させる。
このような状態で回路基板1が支持されているときには、装置に衝撃が加わり支持部6に伝わっても、緩衝部5が衝撃を吸収し、回路基板1には衝撃が減衰されて伝わる。
図5はプリント配線板2に部品4を実装しハンダ付けする製造工程を示す図である。本実施例においては例えば表面実装方式を用いて製造された回路基板とする。表面実装方式とは、プリント配線板2の表面にLSIチップなどの部品を直接ハンダ付けする技術である。表面実装方式では、LSIチップなど表面実装部品を装着するためにペースト状のハンダをあらかじめ塗布したプリント配線板2を用意し、チップマウンターという専用の射出機でチップ等を装着する。その後、高温炉内で摂氏250度程度に加熱することでハンダを溶融させ、LSIチップ等をプリント配線板2上にハンダ付けさせる方式である。
表面実装方式に対して、リード線やLSIチップの足などをスルーホール(部品穴)により基板を貫通させた上で裏面にハンダ付けするピン挿入方式を用いた回路基板でも構わない。
プリント配線板2に部品4を実装しハンダ付けし、回路基板1を製造する工程は、図5の左から右の方向へ進む。
印刷工程9は、ソルダペースト印刷工程であり、印刷機10によってプリント配線板2上にソルダペーストをスクリーン印刷する工程である。
緩衝材塗布工程11は、熱硬化する液状の材料をプリント配線板2の取付け穴3の周辺に塗布する工程である。緩衝材塗布装置12によって液状の材料を、図2で示した半球状の点滴のように塗布する。この工程で塗布される液状の材料は例えばシリコン系ゴム材料を用いる。シリコン系ゴム材料は、後のハンダ付け工程15における熱によって硬化するが、硬化後の耐熱性を確保することができ、この製造工程で使用するのに都合がよい。シリコン系ゴム材料は液状ではあるが、ゲル状であり粘性が大きいため、プリント配線板2に塗布した後で、その場から流れたりしない。プリント配線板を反転させて、反対側の面にも同様に弾性材料を塗布することができる。
面実装部品搭載工程13はプリント配線板2に部品4を装着する工程である。チップマウンター14によって所定の部品4を射出し、プリント配線板2の所定の位置に装着する。
ハンダ付け工程15は熱を加えてハンダを溶融させ、プリント配線板2に部品をハンダ付けする工程である。リフロー炉16の中に部品4が装着されたプリント配線板2を通し加熱する。このとき一般的には摂氏250度付近まで加熱され、ハンダが溶融し、実装された部品4とプリント配線板2の接点がハンダ付けされる。この工程において同時に緩衝材塗布工程11で塗布された材料が熱硬化する。熱硬化することによってゲル状であった材料が緩衝部5として適当な弾性を有する固体に変化し、緩衝部5が形成される。
検査工程17はハンダ付けされたプリント配線板2、すなわち回路基板1の外観検査をする工程である。外観検査装置18によって部品4の欠品や緩衝部5の状態を確認する。
図6は、プリント配線板2の取付け穴3の周囲のグランドパターン19と緩衝部5を示す斜視図である。プリント配線板2の取付け穴3の周辺にグランドパターン19が設けられている。プリント配線板2のグランドパターン19と装置側とを導通する必要がある場合には、緩衝部5に導電性材料を用いる。
緩衝材塗布工程11において、導電性シリコン系ゴム材料を用いることにより、緩衝部5として適当な弾性を有しながら、回路基板1と装置側の支持部6との電気的な導通を図ることができ、たいへん都合がよい。また複数ある取付け穴3の内の特定の箇所だけに導電性シリコン系ゴム材料を塗布することも可能である。
図7は、プリント配線板2に部品4を実装し、ハンダ付けする製造工程におけるプリント配線板2上の変遷を示す図である。図7(1)は、印刷工程9において、プリント配線板2上にソルダペースト20が印刷された状態を示す。図7(2)は、緩衝材塗布工程11において、熱硬化する液状の材料がプリント配線板2の取付け穴3の周辺に塗布された状態を示す。緩衝材塗布装置12のノズル21からゲル状のシリコン系ゴム材料が射出され、半球状または半球が少しつぶれて断面が半楕円のドーム形状となった硬化前緩衝部22がプリント配線板2上に付着した状態を示している。図7では硬化前緩衝部22をハッチングで示している。
図7(3)は、面実装部品搭載工程13において、プリント配線板2に部品4が装着された状態を示す。チップマウンター14によって、ソルダペースト20が印刷された箇所に部品4のピン23が正確に配置される。図7(4)は、ハンダ付け工程15において、ハンダを溶融させ、部品4がハンダ付けされた状態を示す。またハンダ付け工程15による熱により半球状の硬化前緩衝部22が熱硬化し、弾性を有する固体に変化し、緩衝部5が形成されることを示している。
以上のように、本実施例においては、プリント配線板2に部品4を実装しハンダ付けする工程内において、熱硬化する液状の材料をプリント配線板2の取付け穴3の周辺に塗布する緩衝材塗布工程11を設け、ハンダを加熱する製造工程において液状の材料を熱硬化させることによって緩衝部5を形成するため、緩衝部専用の金型を用意する必要がなく、また緩衝部を形成するための全く別の工程を用意する必要もないため、たいへん効率的である。
本発明の実施例においては以上の構成に限定されるもではなく種々の変形が可能である。
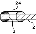
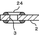
図8は本発明の実施例2に係る回路基板の緩衝部24を示す図である。この実施例2の各部について、図1に示す実施例1の回路基板1の各部と同一部分は同一符号である。この実施例2が実施例1と異なる点は、緩衝部の形状を変更していることにある。
緩衝部24は取付け穴3の周囲に円環状に形成された例である。緩衝部24は円環状であるため、図1から図7で示した複数の半球形状の緩衝部5に比べて、プリント配線板との接着面積が大きいため、プリント配線板2に強固に接着することができる。製造工程は実施例1と同様である。
図9は緩衝部24の断面を示す図である。断面の形状は略半円である。
図10は緩衝部24の断面の別の例を示す図である。断面の形状は半楕円である。
図11は取付け穴3の周囲のグランドパターン19と緩衝部24の斜視図である。プリント配線板2の取付け穴3の周辺にグランドパターン19が設けられている。プリント配線板2のグランドパターン19と装置側とを導通する必要がある場合には、緩衝部24に導電性材料を用いる。
緩衝材塗布工程11において、導電性シリコン系ゴム材料を用いることにより、緩衝部24として適当な弾性を有しながら、回路基板1と装置側の支持部6との電気的な導通を図ることができ、たいへん都合がよい。また複数ある取付け穴3の内の特定の箇所だけに導電性シリコン系ゴム材料を塗布することも可能である。
以上のように、本実施例においても、プリント配線板2に部品4を実装しハンダ付けする工程内において、熱硬化する液状の材料をプリント配線板2の取付け穴3の周辺に塗布する緩衝材塗布工程11を設け、ハンダを加熱する製造工程において液状の材料を熱硬化させることによって緩衝部24を形成するため、緩衝部専用の金型を用意する必要がなく、また緩衝部を形成するための全く別の工程を用意する必要もないため、たいへん効率的である。
本発明の実施例においては以上の構成に限定されるもではなく種々の変形が可能である。
本発明の実施例1の形態における回路基板の構成を示す概要図。 取付け穴と緩衝部の拡大斜視図。 図1で回路基板をA方向から見た図。 回路基板を支持部に支持した部分の断面図。 プリント配線板に部品を実装しハンダ付けする製造工程を示す図。 プリント配線板の取付け穴の周囲のグランドパターンと緩衝部を示す斜視図。 プリント配線板に部品を実装しハンダ付けする製造工程におけるプリント配線板上の変遷を示す図。 本発明の実施例2に係る回路基板の緩衝部を示す図。 緩衝部の断面を示す図。 緩衝部の断面の別の例を示す図。 取付け穴の周囲のグランドパターンと緩衝部の斜視図。
符号の説明
1 回路基板
2 プリント配線板
3 取付け穴
4 部品
5 緩衝部
6 支持部
8 ねじ
9 印刷工程
11 緩衝材塗布工程
13 面実装部品搭載工程
15 ハンダ付け工程
17 検査工程
24 緩衝部

Claims (6)

  1. 取付け穴を有するプリント配線板と、
    前記プリント配線板に実装される部品と、
    前記取付け穴の周辺に塗布された液状の材料が前記プリント配線板に前記部品を実装する際の加熱工程において熱硬化されて形成された緩衝部と
    を有することを特徴とする回路基板。
  2. 前記緩衝部は、シリコン系ゴム材料によって形成され前記取付け穴の周辺に前記取り付け穴を囲むように配置された複数の半球状の緩衝部によって構成されたことを特徴とする請求項1記載の回路基板。
  3. 前記緩衝部は、シリコン系ゴム材料によって前記取付け穴の周辺に断面が半円の円環状に形成されていることを特徴とする請求項1記載の回路基板。
  4. 前記緩衝部は、導電性シリコン系ゴム材料によって形成され前記取付け穴の周辺に前記取り付け穴を囲むように配置された複数の半球状の緩衝部によって構成されていることを特徴とする請求項1記載の回路基板。
  5. 前記緩衝部は、導電性シリコン系ゴム材料によって前記取付け穴の周辺に断面が半円の円環状に形成されていることを特徴とする請求項1記載の回路基板。
  6. 取付け穴を有するプリント配線板に、部品を実装しハンダ付けする回路基板の製造方法において、
    前記取付け穴の周辺に、熱硬化する液状の材料を前記取付け穴の周辺に塗布し、ハンダを加熱する製造工程でハンダを過熱すると共に前記材料を熱硬化させて緩衝部を形成することを特徴とする回路基板の製造方法。
JP2005317617A 2005-10-31 2005-10-31 回路基板、回路基板の製造方法および電子機器 Expired - Fee Related JP4664802B2 (ja)

Priority Applications (1)

Application Number Priority Date Filing Date Title
JP2005317617A JP4664802B2 (ja) 2005-10-31 2005-10-31 回路基板、回路基板の製造方法および電子機器

Applications Claiming Priority (1)

Application Number Priority Date Filing Date Title
JP2005317617A JP4664802B2 (ja) 2005-10-31 2005-10-31 回路基板、回路基板の製造方法および電子機器

Publications (2)

Publication Number Publication Date
JP2007123780A true JP2007123780A (ja) 2007-05-17
JP4664802B2 JP4664802B2 (ja) 2011-04-06

Family

ID=38147251

Family Applications (1)

Application Number Title Priority Date Filing Date
JP2005317617A Expired - Fee Related JP4664802B2 (ja) 2005-10-31 2005-10-31 回路基板、回路基板の製造方法および電子機器

Country Status (1)

Country Link
JP (1) JP4664802B2 (ja)

Cited By (2)

* Cited by examiner, † Cited by third party
Publication number Priority date Publication date Assignee Title
JP2010135622A (ja) * 2008-12-05 2010-06-17 Tokai Rika Co Ltd 回路基板およびこの回路基板を備えた電子機器
EP4192204A1 (en) * 2021-12-02 2023-06-07 Aptiv Technologies Limited Integrated flexible circuit attachment features with sound dampening and method of forming said features

Citations (5)

* Cited by examiner, † Cited by third party
Publication number Priority date Publication date Assignee Title
JPS55109121U (ja) * 1979-01-27 1980-07-31
JPS6224116U (ja) * 1985-07-29 1987-02-14
JPH1154963A (ja) * 1997-07-29 1999-02-26 Fujitsu Ten Ltd 電子機器の取付構造
JPH11177016A (ja) * 1997-12-15 1999-07-02 Denso Corp 混成集積回路装置
JPH11330640A (ja) * 1998-05-18 1999-11-30 Seiko Epson Corp プリント配線板

Patent Citations (5)

* Cited by examiner, † Cited by third party
Publication number Priority date Publication date Assignee Title
JPS55109121U (ja) * 1979-01-27 1980-07-31
JPS6224116U (ja) * 1985-07-29 1987-02-14
JPH1154963A (ja) * 1997-07-29 1999-02-26 Fujitsu Ten Ltd 電子機器の取付構造
JPH11177016A (ja) * 1997-12-15 1999-07-02 Denso Corp 混成集積回路装置
JPH11330640A (ja) * 1998-05-18 1999-11-30 Seiko Epson Corp プリント配線板

Cited By (4)

* Cited by examiner, † Cited by third party
Publication number Priority date Publication date Assignee Title
JP2010135622A (ja) * 2008-12-05 2010-06-17 Tokai Rika Co Ltd 回路基板およびこの回路基板を備えた電子機器
US8379397B2 (en) 2008-12-05 2013-02-19 Kabushiki Kaisha Tokai Rika Denki Seisakusho Circuit board and electronic device with the same
EP4192204A1 (en) * 2021-12-02 2023-06-07 Aptiv Technologies Limited Integrated flexible circuit attachment features with sound dampening and method of forming said features
US12340924B2 (en) 2021-12-02 2025-06-24 Aptiv Technologies AG Integrated flexible circuit attachment features with sound dampening and method of forming said features

Also Published As

Publication number Publication date
JP4664802B2 (ja) 2011-04-06

Similar Documents

Publication Publication Date Title
JP2008226946A (ja) 半導体装置およびその製造方法
CN102281715B (zh) 板加强结构、板组件、以及电子装置
JP2015038927A (ja) 電子装置及び電子装置の製造方法
US7612450B2 (en) Semiconductor package including dummy board and method of fabricating the same
US6182884B1 (en) Method and apparatus for reworking ceramic ball grid array or ceramic column grid array on circuit cards
JP4854770B2 (ja) プリント基板ユニット及び電子機器
KR20020044577A (ko) 개선된 플립-칩 결합 패키지
JPH10112478A (ja) ボールグリッドアレイ半導体装置及びその実装方法
CN111919520A (zh) 电子电路装置以及电路基板的制造方法
US20150144390A1 (en) Wiring board and method for mounting semiconductor element on wiring board
JP5061668B2 (ja) 2種類の配線板を有するハイブリッド基板、それを有する電子装置、及び、ハイブリッド基板の製造方法
JP2001298272A (ja) プリント基板
JP4664802B2 (ja) 回路基板、回路基板の製造方法および電子機器
US20070234561A1 (en) Mounting method of passive component
JP2012204717A (ja) 電子機器、及び電子部品のリワーク方法
JP2008192725A (ja) 半導体装置及びその製造方法並びに半導体装置の製造装置
JP2011222693A (ja) 高周波モジュール及びその製造方法
US8084693B2 (en) Component with bonding adhesive
JP2006012943A (ja) 電子装置、及び電子装置の製造方法
JP4752717B2 (ja) モジュールの製造方法
JP2009231467A (ja) 基板ユニット,電子装置,及び基板ユニット製造方法
JP4802679B2 (ja) 電子回路基板の実装方法
JP2005101327A (ja) 半導体装置およびその製造方法
JP2006041145A (ja) 圧着装置及び半導体ベアチップの実装方法
JP2008098328A (ja) 電子部品の表面実装構造

Legal Events

Date Code Title Description
A621 Written request for application examination

Free format text: JAPANESE INTERMEDIATE CODE: A621

Effective date: 20080821

RD02 Notification of acceptance of power of attorney

Free format text: JAPANESE INTERMEDIATE CODE: A7422

Effective date: 20080821

A977 Report on retrieval

Free format text: JAPANESE INTERMEDIATE CODE: A971007

Effective date: 20100902

A131 Notification of reasons for refusal

Free format text: JAPANESE INTERMEDIATE CODE: A131

Effective date: 20100907

A521 Request for written amendment filed

Free format text: JAPANESE INTERMEDIATE CODE: A523

Effective date: 20101105

RD02 Notification of acceptance of power of attorney

Free format text: JAPANESE INTERMEDIATE CODE: A7422

Effective date: 20101105

A521 Request for written amendment filed

Free format text: JAPANESE INTERMEDIATE CODE: A821

Effective date: 20101105

TRDD Decision of grant or rejection written
A01 Written decision to grant a patent or to grant a registration (utility model)

Free format text: JAPANESE INTERMEDIATE CODE: A01

Effective date: 20101214

A01 Written decision to grant a patent or to grant a registration (utility model)

Free format text: JAPANESE INTERMEDIATE CODE: A01

A61 First payment of annual fees (during grant procedure)

Free format text: JAPANESE INTERMEDIATE CODE: A61

Effective date: 20110107

FPAY Renewal fee payment (event date is renewal date of database)

Free format text: PAYMENT UNTIL: 20140114

Year of fee payment: 3

LAPS Cancellation because of no payment of annual fees