JP2007123721A - 光電変換装置の製造方法および光電変換装置 - Google Patents
光電変換装置の製造方法および光電変換装置 Download PDFInfo
- Publication number
- JP2007123721A JP2007123721A JP2005316789A JP2005316789A JP2007123721A JP 2007123721 A JP2007123721 A JP 2007123721A JP 2005316789 A JP2005316789 A JP 2005316789A JP 2005316789 A JP2005316789 A JP 2005316789A JP 2007123721 A JP2007123721 A JP 2007123721A
- Authority
- JP
- Japan
- Prior art keywords
- thin film
- photoelectric conversion
- conversion device
- compound semiconductor
- film
- Prior art date
- Legal status (The legal status is an assumption and is not a legal conclusion. Google has not performed a legal analysis and makes no representation as to the accuracy of the status listed.)
- Pending
Links
Images
Classifications
-
- H—ELECTRICITY
- H10—SEMICONDUCTOR DEVICES; ELECTRIC SOLID-STATE DEVICES NOT OTHERWISE PROVIDED FOR
- H10F—INORGANIC SEMICONDUCTOR DEVICES SENSITIVE TO INFRARED RADIATION, LIGHT, ELECTROMAGNETIC RADIATION OF SHORTER WAVELENGTH OR CORPUSCULAR RADIATION
- H10F77/00—Constructional details of devices covered by this subclass
- H10F77/10—Semiconductor bodies
- H10F77/12—Active materials
- H10F77/126—Active materials comprising only Group I-III-VI chalcopyrite materials, e.g. CuInSe2, CuGaSe2 or CuInGaSe2 [CIGS]
-
- H—ELECTRICITY
- H10—SEMICONDUCTOR DEVICES; ELECTRIC SOLID-STATE DEVICES NOT OTHERWISE PROVIDED FOR
- H10F—INORGANIC SEMICONDUCTOR DEVICES SENSITIVE TO INFRARED RADIATION, LIGHT, ELECTROMAGNETIC RADIATION OF SHORTER WAVELENGTH OR CORPUSCULAR RADIATION
- H10F10/00—Individual photovoltaic cells, e.g. solar cells
- H10F10/10—Individual photovoltaic cells, e.g. solar cells having potential barriers
- H10F10/16—Photovoltaic cells having only PN heterojunction potential barriers
- H10F10/167—Photovoltaic cells having only PN heterojunction potential barriers comprising Group I-III-VI materials, e.g. CdS/CuInSe2 [CIS] heterojunction photovoltaic cells
-
- H—ELECTRICITY
- H10—SEMICONDUCTOR DEVICES; ELECTRIC SOLID-STATE DEVICES NOT OTHERWISE PROVIDED FOR
- H10F—INORGANIC SEMICONDUCTOR DEVICES SENSITIVE TO INFRARED RADIATION, LIGHT, ELECTROMAGNETIC RADIATION OF SHORTER WAVELENGTH OR CORPUSCULAR RADIATION
- H10F39/00—Integrated devices, or assemblies of multiple devices, comprising at least one element covered by group H10F30/00, e.g. radiation detectors comprising photodiode arrays
- H10F39/80—Constructional details of image sensors
- H10F39/803—Pixels having integrated switching, control, storage or amplification elements
-
- H—ELECTRICITY
- H10—SEMICONDUCTOR DEVICES; ELECTRIC SOLID-STATE DEVICES NOT OTHERWISE PROVIDED FOR
- H10F—INORGANIC SEMICONDUCTOR DEVICES SENSITIVE TO INFRARED RADIATION, LIGHT, ELECTROMAGNETIC RADIATION OF SHORTER WAVELENGTH OR CORPUSCULAR RADIATION
- H10F71/00—Manufacture or treatment of devices covered by this subclass
-
- H—ELECTRICITY
- H10—SEMICONDUCTOR DEVICES; ELECTRIC SOLID-STATE DEVICES NOT OTHERWISE PROVIDED FOR
- H10F—INORGANIC SEMICONDUCTOR DEVICES SENSITIVE TO INFRARED RADIATION, LIGHT, ELECTROMAGNETIC RADIATION OF SHORTER WAVELENGTH OR CORPUSCULAR RADIATION
- H10F39/00—Integrated devices, or assemblies of multiple devices, comprising at least one element covered by group H10F30/00, e.g. radiation detectors comprising photodiode arrays
- H10F39/011—Manufacture or treatment of image sensors covered by group H10F39/12
- H10F39/016—Manufacture or treatment of image sensors covered by group H10F39/12 of thin-film-based image sensors
-
- Y—GENERAL TAGGING OF NEW TECHNOLOGICAL DEVELOPMENTS; GENERAL TAGGING OF CROSS-SECTIONAL TECHNOLOGIES SPANNING OVER SEVERAL SECTIONS OF THE IPC; TECHNICAL SUBJECTS COVERED BY FORMER USPC CROSS-REFERENCE ART COLLECTIONS [XRACs] AND DIGESTS
- Y02—TECHNOLOGIES OR APPLICATIONS FOR MITIGATION OR ADAPTATION AGAINST CLIMATE CHANGE
- Y02E—REDUCTION OF GREENHOUSE GAS [GHG] EMISSIONS, RELATED TO ENERGY GENERATION, TRANSMISSION OR DISTRIBUTION
- Y02E10/00—Energy generation through renewable energy sources
- Y02E10/50—Photovoltaic [PV] energy
- Y02E10/541—CuInSe2 material PV cells
-
- Y—GENERAL TAGGING OF NEW TECHNOLOGICAL DEVELOPMENTS; GENERAL TAGGING OF CROSS-SECTIONAL TECHNOLOGIES SPANNING OVER SEVERAL SECTIONS OF THE IPC; TECHNICAL SUBJECTS COVERED BY FORMER USPC CROSS-REFERENCE ART COLLECTIONS [XRACs] AND DIGESTS
- Y02—TECHNOLOGIES OR APPLICATIONS FOR MITIGATION OR ADAPTATION AGAINST CLIMATE CHANGE
- Y02P—CLIMATE CHANGE MITIGATION TECHNOLOGIES IN THE PRODUCTION OR PROCESSING OF GOODS
- Y02P70/00—Climate change mitigation technologies in the production process for final industrial or consumer products
- Y02P70/50—Manufacturing or production processes characterised by the final manufactured product
Landscapes
- Light Receiving Elements (AREA)
- Photovoltaic Devices (AREA)
Abstract
【課題】化合物半導体薄膜(CIGS薄膜)を用いた光電変換素子(フォトセンサや太陽電池)の暗電流を劇的に低減し得る、新規な製造プロセス技術を提供する。
【解決手段】フォトリソグラフィによるエッチングによって、下部電極層(Mo)10、光吸収層として機能するカルコパイライト構造のp型の化合物半導体薄膜(CIGS薄膜)30、n型の透光性電極層(ZnO)60の各々をパターニングする手法を採用し、かつ、CIGS薄膜30については、ドライエッチングとウエットエッチングを組み合わせた2段エッチングを行うことによって、化合物半導体の結晶にダメージや欠陥を生じさせることなく、また、残渣を残すことなく、高精度のパターニングを実現する。
【選択図】図2
【解決手段】フォトリソグラフィによるエッチングによって、下部電極層(Mo)10、光吸収層として機能するカルコパイライト構造のp型の化合物半導体薄膜(CIGS薄膜)30、n型の透光性電極層(ZnO)60の各々をパターニングする手法を採用し、かつ、CIGS薄膜30については、ドライエッチングとウエットエッチングを組み合わせた2段エッチングを行うことによって、化合物半導体の結晶にダメージや欠陥を生じさせることなく、また、残渣を残すことなく、高精度のパターニングを実現する。
【選択図】図2
Description
本発明は、光電変換装置の製造方法および光電変換装置に係り、特にカルコパイライト構造の化合物半導体薄膜を用いたフォトセンサや太陽電池等の光電変換装置に関する。
Ib族元素とIIIb族元素とVIb族元素とからなる、カルコパイライト構造の半導体薄膜であるCuInSe2(CIS系薄膜)、あるいは、これにGaを固溶したCu(In,Ga)Se2(CIGS系薄膜)を光吸収層に用いた薄膜太陽電池は、高いエネルギー変換効率を示し、光照射等による効率の劣化が少ないという利点を有している。
図8(a)乃至(d)は、従来の、CIGS系薄膜太陽電池のセルの製造方法を説明するためのデバイスの断面図である。
図8(a)に示すように、まず、SLG(ソーダライムガラス)基板100上にプラス側の下部電極となるMo(モリブデン)電極層200が形成される。
次に、図8(b)に示すように、Mo電極層200上に、組成制御により、p−型を示す、CIGS系薄膜からなる光吸収層3が形成される。
次に、図8(c)に示すように、その光吸収層3上に、CdSなどのバッファ層400を形成し、そのバッファ層400上に、不純物がドーピングされてn+型を示す、マイナス側の上部電極となるZnO(酸化亜鉛)からなる透光性電極層500を形成する。
次に、図8(d)に示すように、メカニカルスクライブ装置によって、ZnOからなる透光性電極層500からMo電極層200までを、一括してスクライブ加工する。これによって、薄膜太陽電池の各セルが電気的に分離(すなわち、各セルが個別化)される。
このスクライビング工程は、レーザスクライビング(レーザ光を照射することによって薄膜を部分的に除去するスクライブ技術)を利用することもできる。
しかし、この場合には、レーザ光を集中的に照射するために、局部的に高熱が発生し、これによってセルの特性が劣化するという不都合が生じる。
したがって、太陽電池のセルは、一般に、メカニカルスクライビング装置によって電気的に分離される。
特許文献1に記載のメカニカルスクライブ装置では、所定のテーパー角度をもって先細りになり、かつ先端が平坦な刃を、所定の圧力をもって被加工面のスクライブ箇所に垂直に押し付け、その刃を被加工面に沿って移動させることによってスクライブ加工を行っている。
特開2004−115356号公報
CIS系薄膜、CIGS系薄膜は、太陽電池としての利用が主流である。
一方、本発明者らは、この化合物半導体薄膜材料の高い光吸収係数と、可視光から近赤外光までの広い波長域に渡って高い感度をもつ特性に着目し、この化合物半導体薄膜材料を、セキュリティカメラ(昼間は可視光をセンシングし、夜間は近赤外光をセンシングするカメラ)や、個人認証カメラ(外光の影響を受けない近赤外光で個人認証するためのカメラ)、あるいは、車載カメラ(夜間の視覚補助や遠方の視野確保等にために車に搭載されるカメラ)用のイメージセンサとして利用することについて検討した。
この結果として、CIS系薄膜(CuInSe2)を例にとると、暗電流(逆バイアス時にPN接合に流れる電流)が予想外に大きいことがわかった。
すなわち、例えば、−0.8Vの逆バイアス時に、1×10−3A/cm2程度の暗電流が流れ、この値は、シリコン系材料よりも6桁大きい。このままでは、1000Lux(ルクス)以下の弱い光は、雑音に埋もれてしまい、検出できないことになる。
そこで、暗電流を大幅に低減する必要が生じた。本発明の発明者は、化合物半導体薄膜において暗電流が増大する要因を詳細に調べたが、その結果、メカニカルスクライビング時に化合物半導体材料の結晶にダメージや欠陥が生じ、これにより、PN接合の界面に複数のエネルギー準位が発生し、これが大きな暗電流の要因となることがわかった。
すなわち、図8(d)において、PN接合の界面(空乏層の境界:点線で示す)の端部(図中、丸で囲んで示すA,B部分)は、メカニカルスクライビングされて露出するCIGS薄膜300の側壁に到達している。メカニカルスクライビング面は、結晶のダメージが大きく、不要な界面順位が存在する。したがって、この部分で、PN接合のリーク電流が増大してしまう。
本発明は、このような考察に基づいてなされたものであり、化合物半導体薄膜を用いた光電変換素子の暗電流を大幅に低減することを目的とする。
本発明の光電変換装置の製造方法は、基板上に下部電極層、光吸収層として機能するカルコパイライト構造の化合物半導体薄膜、透光性電極層が積層されて構成される光電変換装置の製造方法であって、前記カルコパイライト構造の化合物半導体薄膜をフォトリソグラフィによってパターニングする工程を含む。
この構成によれば、メカニカルスクライビングの代わりに、フォトリソグラフィによるエッチングによって、カルコパイライト構造の化合物半導体薄膜をパターニングするものである。これに伴い、下部電極層、透光性電極層の各々もフォトリソグラフィを用いたエッチングによってパターニングされることになる。これによって、メカニカルスクライビングを行ったときのような、ダメージや欠陥が化合物半導体薄膜に生じず、暗電流の大幅な低減が可能となる。
また、本発明の光電変換装置の製造方法は、前記カルコパイライト構造の化合物半導体薄膜をパターニングする工程は、ドライエッチングによりパターニングする第1の工程と、この第1の工程で生じるエッチング残渣を、ウエットエッチングより除去する第2の工程と、を含む。
光吸収層として機能するカルコパイライト構造の化合物半導体薄膜のパターニングに際し、ドライエッチングとウエットエッチングを組み合わせた2段エッチングを行い、これによって、残渣がなく、精度の高いパターン形成を実現するものである。光吸収層として機能するカルコパイライト構造のp型の化合物半導体薄膜は、ドライエッチングを用いてエッチング可能であるが、この場合は完全なエッチングができず、多数の柱状の残渣が残る。また、ウエットエッチングでは、サイドエッチング(レジストパターンの直下の部分について横方向のエッチングが進む現象)によってアンダーカットが生じ、精度よくパターンを形成することができない。そこで、ドライエッチングによって、サイドエッチングなく化合物半導体薄膜をパターニングし、その後の短時間のウエットエッチング処理によって、ドライエッチングの残渣のみを除去するようにし、これによって、残渣を生じさせることなく、高精度のパターンを形成することが可能となる。これによって、メカニカルエッチングを採用したときのような、ダメージや欠陥が化合物半導体の結晶に生じず、暗電流の大幅な低減が可能となる。
また、本発明の光電変換装置の製造方法は、前記第1の工程では、塩素系ガスをエッチャントとしてドライエッチングを行い、また、前記第2の工程では、前記カルコパイライト構造の化合物半導体薄膜を、臭素とメタノールの混合液、または、水とアンモニアの混合液で処理した後、塩酸と硝酸の混合液で処理するようにしたものを含む。
ドライエッチングのエッチャントとして塩素系ガスを用いることによって、光吸収層を構成する化合物半導体薄膜を高レートでエッチングできる。また、ウエットエッチングについても、効率的かつ完全に残渣を除去することができる。
また、本発明の光電変換装置の製造方法は、前記カルコパイライト構造の化合物半導体薄膜は、Cu(Inx,Ga(1-x))Se2(0≦x≦1)であるものを含む。
暗電流の低減には、CIS系薄膜(CuInSe2)のバンドギャップの広幅化が有効であり、そこで、In(インジウム)の一部をガリウムに置換したCIGS系薄膜を使用するものである。バンド幅を広げることによって、キャリアの再結合過程を減らすことができ、暗電流を低減することができる。
なおカルコパイライト構造の化合物半導体薄膜としては、このほかCuAlS2,CuAlSe2, CuAlTe2,CuGaS2,CuGaSe2,CuGaTe2,CuInS2,CuInSe2,CuInTe2,AgAlS2,AgAlSe2,AgAlTe2,AgGaS2,AgGaSe2, AgGaTe2, AgInS2, AgInSe2, AgInTe2など、他の化合物半導体薄膜も適用可能である。
なおカルコパイライト構造の化合物半導体薄膜としては、このほかCuAlS2,CuAlSe2, CuAlTe2,CuGaS2,CuGaSe2,CuGaTe2,CuInS2,CuInSe2,CuInTe2,AgAlS2,AgAlSe2,AgAlTe2,AgGaS2,AgGaSe2, AgGaTe2, AgInS2, AgInSe2, AgInTe2など、他の化合物半導体薄膜も適用可能である。
また、本発明の光電変換装置の製造方法前記カルコパイライト構造の化合物半導体薄膜を形成する工程は、PVD法により、Cu(Inx,Ga(1-x))Se2(0≦x≦1)薄膜を成膜する工程を含み、前記透光性電極層を形成する工程は、前記化合物半導体薄膜上にノンドープのZnO膜を形成する工程と、前記ノンドープのZnO膜上にn+型のZnO膜とを形成する工程を含むものを含む。
この構成によれば、透光性電極層としてノンドープのZnO膜(i−ZnO)を設けることにより、下地のCIGS薄膜に生じるボイドやピンホールを半絶縁層で埋め込むと共に、CIGS薄膜とi−p接合を形成し、導電性のZnO膜(n+)をCIGS薄膜と直接に接触させた場合に起こるトンネル電流によるリークを防ぐことができる。したがって、ノンドープのZnO膜(i−ZnO)を厚膜化することによって、PN接合界面の暗電流を低減することができる。ここでPVD法とは、真空中で蒸発させた原材料を堆積させて成膜する方法をいうものとする。
また、本発明の光電変換装置は、本発明の光電変換装置の製造方法によって製造された光電変換装置である。
本発明の光電変換装置は、フォトリソグラフィを用いて、残渣を残さずに精度良くパターニングされており、メカニカルスクライビングを採用したときのような、ダメージや欠陥が化合物半導体の結晶に生じず、したがって、PN接合の界面に無用なエネルギー準位が生じず、暗電流の劇的な低減が可能である。すなわち、製造プロセスを変更し、光吸収層や透光性電極層のデバイス構造を最適化することによって、暗電流を103のオーダで、改善することができる。また、Cu(Inx,Ga(1-x))Se2でのバンドギャップコントロールによって、暗電流を102のオーダで、低減することができる。
また、本発明の光電変換装置の一態様では、近赤外光領域にも感度をもつフォトセンサである。
暗電流が大幅に低減された、化合物半導体薄膜を使用してフォトセンサ(イメージセンサ)を形成することによって得られた、本発明のセンサは、近赤外光にも高い感度を有するため、セキュリティカメラ(昼間は可視光をセンシングし、夜間は近赤外光をセンシングするカメラ)や、個人認証カメラ(外光の影響を受けない近赤外光で個人認証するためのカメラ)、あるいは、車載カメラ(夜間の視覚補助や遠方の視野確保等にために車に搭載されるカメラ)として、十分に利用可能である。
また、本発明の光電変換装置は、太陽電池である。
本発明の光電変換は、PN接合の界面における光電変換ロスが、従来に比べて、十分に低減されているため、光により発生した電荷の収集効率が高く、光電変換効率が高い太陽電池を実現することができる。
本発明によれば、フォトリソグラフィによるエッチングによって、下部電極層、光吸収層として機能するカルコパイライト構造の化合物半導体薄膜をパターニングする手法を採用することによって、メカニカルスクライビングを行ったときのような、ダメージや欠陥が化合物半導体薄膜に生じず、暗電流の大幅な低減が可能となる。
また、光吸収層については、ドライエッチングとウエットエッチングを組み合わせた2段エッチングを行うことによって、化合物半導体薄膜の結晶にダメージや欠陥を生じさせることなく、また、残渣を残さずに、高精度なパターニングを実現することができる。
また、ドライエッチングのエッチャントとして塩素系ガスを用いることによって、光吸収層を構成する化合物半導体薄膜を高レートで精度よくエッチングできる。また、ウエットエッチングについても、効率的かつ完全に残渣を除去することができる。
また、光吸収層となる化合物半導体薄膜として、In(インジウム)の一部をガリウムに置換したCIGS系薄膜を使用し、バンド幅を広げることによって、キャリアの再結合過程を減らすことができ、暗電流を低減することができる(1/5に低減)。
また、本発明の光電変換装置は、フォトリソグラフィを用いて、残渣を残さずに精度良くスクライビングされており、メカニカルスクライビングを採用したときのような、ダメージや欠陥が化合物半導体の結晶に生じず、したがって、PN接合の界面に無用なエネルギー準位が生じず、暗電流の大幅な低減が可能である。すなわち、製造プロセスを変更して、光吸収層ならびに透光性電極層のデバイス構造を最適化することによって、暗電流を103のオーダで、改善することができる。また、Cu(Inx,Ga(1-x))Se2でのバンドギャップコントロールによって、暗電流を102のオーダで、低減することができる。
本発明のセンサは、近赤外光にも高い感度を有するため、セキュリティカメラ(昼間は可視光をセンシングし、夜間は近赤外光をセンシングするカメラ)や、個人認証カメラ(外光の影響を受けない近赤外光で個人認証するためのカメラ)、あるいは、車載カメラ(夜間の視覚補助や遠方の視野確保等にために車に搭載されるカメラ)として、十分に利用可能である。
また、本発明の光電変換は、PN接合の界面における光電変換ロスが、従来に比べて、十分に低減されているため、光により発生した電荷の収集効率が高く、光電変換効率が高い太陽電池を実現することができる。
次に、本発明の実施の形態について、図面を参照して説明する。
(実施の形態1)
(実施の形態1)
図1は、本発明にかかる光電変換装置の製造方法の概要を示すフロー図である。
本製造プロセスでは、積層形成される下部電極層、光吸収層として機能するカルコパイライト構造のp型の化合物半導体薄膜(以下、CIGS薄膜という)、透光性電極層(ノンドープの部分と、不純物がドープされてn+型を示す部分の双方を含んでいる)の各々を、フォトリソフラフィ技術を用いてパターニングし、CIGS薄膜の結晶に与えるダメージを最小限に抑えるようにしたことを特徴とする。
すなわち、本発明の光電変換装置の製造方法は、ガラス基板上に下部電極となるMo(モリブデン)層をスパッタ法により成膜し(0.6μm程度)、その後、フォトリソグラフィを用いてパターニングする(工程S1)。これによって、電気的に分離されたMoのアイランド領域が形成される。
次に、CIGS薄膜の成膜と、フォトリソグラフィを用いたパターニングを行う(工程S2)。この工程S2が、本発明の製造方法の最も重要な特徴点となる。
すなわち、組成制御されたp−型のCIGS薄膜(Cu(Inx,Ga(1-x))Se2(0≦x≦1))を、例えば、イオンビームスパッタ法によって成膜する(工程S2a)。その厚みは、1.7μm程度である。
次に、そのCIGS薄膜(p−)を、ドライエッチングとウエットエッチングを併用した2段エッチングによってパターニングする(工程S2b)。これにより、電気的に分離されたCIGS薄膜(p−)が得られる。
次に、バッファ層(窓層)としての、薄いCdS膜(50nm程度)を溶液成長法により成膜する(工程S3)。
次に、スパッタ法により、ノンドープのZnO膜(i−ZnO)と、不純物がドープされた低抵抗のZnO(n+)膜を連続的に成膜する(工程S4)。ここで、i−ZnOは60nm程度と薄く、一方、低抵抗化のZnO(n+)は、1μm程度と十分な厚みがある。
ノンドープのZnO膜(i−ZnO)は、下地のCIGS薄膜に生じるボイドやピンホールを半絶縁層で埋め込むと共に、CIGS薄膜とi−p接合を形成し、低抵抗のZnO膜(n+)をCIGS薄膜と直接に接触させた場合に起こるトンネル電流によるリークを防ぐ役割を果たす。
したがって、ノンドープのZnO膜(i−ZnO)を厚膜化することによって、PN接合界面の暗電流を低減することができる(約1/5とする効果が確認された)。但し、厚膜化するといっても、その厚みは十分に薄いため(例えば、60nm)、透光性電極層として機能する低抵抗のZnO(n+)膜とCIGS薄膜(p−)との間で実質的なpn接合が形成されると考えられる。
次に、ZnO膜(i−ZnOとZnO(n+))をパターニングする(工程S5)。この工程S5では、ZnO膜の端部の位置が、パターニングされたCIGS薄膜(p−)の側面よりも内側になるようにパターニングする(すなわち、CIGS薄膜(p−)の上に、このCIGS薄膜(p−)よりも横幅が狭いZnO膜が形成されて、親亀子亀構造が形成されることになる)。
これにより、ZnO(n+)とCIGS薄膜(p−)とによって形成されるPN接合の界面(空乏層の境界)の端部が、パターニングされたCIGS薄膜(p−)の側壁(エッチングにより露出している面)に達することがなく、これによって、PN接合界面の埋込み構造が実現される。
フォトリソグラフィによりパターニングされたCIGS薄膜(p−)の側面は、メカニカルスクライビングの場合に比べ、結晶欠陥やダメージは十分に少ないが、それでも、ダングリングボンド(結合手)等が存在して不要なエネルギー準位が形成されることがないとはいえない。したがって、PN接合界面の端部が、このパターニングされたCIGS薄膜(p−)の側面(エッチングにより露出している面)に達しないようにすることによって、PN接合の界面の端部からのリーク電流を、さらに低減できる。
最後に、引き出し電極を形成する(工程S6)。これによって光電変換デバイスが完成する。
次に、図2を参照して、本発明の光電変換装置の製造方法を具体的に説明する。
図2(a)乃至(j)は、本発明の光電変換装置の製造方法を具体的に説明するための、主要な工程毎のデバイスの断面図である。
なお、以下の説明では、図3(a)、(b)ならびに図4を、適宜、参照する。ここで、図3は、CIGS薄膜のパターニング方法を説明するためのデバイスのSEM(走査顕微鏡)による1万倍の拡大写真を模式化して示す図であり、(a)は、CIGS薄膜のドライエッチング直後の状態を示す図であり、(b)は、さらにウエットエッチングを行った後の状態を示す図である。
また、図4は、透光性電極層(ZnO膜)のパターニング後のデバイスのSEM(走査顕微鏡)の断面写真(2万倍の拡大写真)を模式化して示す図である。
まず、図2(a)に示すように、ソーダライムガラス基板(SLG)10上に、スパッタ法によりMo(モリブデン)膜を0.6μmの厚さで形成する。
図2(b)に示すように、例えば、Cu:In:Ga:Se=1:0.5:0.5:2の組成のスパッタターゲットを使用してイオンビームスパッタ法によってCIGS薄膜30を1.7μmの厚さで形成する。
図2(c)に示すように、レジストパターン40を用いて、CIGS薄膜30を、ドライエッチングする。すなわち、塩素系ガスをエッチャントとして用いて、CIGS薄膜30を垂直にエッチングしてパターニングを行う。この場合、高いレートで、サイドエッチがほとんどないエッチングが可能であるが、多数の残渣35が残る(図3(a)からわかるように、多数のMo膜上に多数の柱状の残渣が残存している)。
そこで、図2(d)に示すように、臭素とメタノールの混合液、または、水とアンモニアの混合液で処理した後、塩酸と硝酸の混合液で処理して、残渣35を完全に除去する。図3(b)に示すように、残渣35は完全に除去される。
このように、ドライエッチングのエッチャントとして塩素系ガスを用いることによって、光吸収層を構成するCIGS薄膜30を高レートで、アンダーカットを生じさせることなく高精度にエッチングできる。その後、短時間のウエットエッチングを実施して、柱状の残渣35を完全に除去する。これによって、残渣を生じさせることなく、高精度のCIGS薄膜のパターンニングが可能となる。この場合、メカニカルエッチングを採用したときのような、ダメージや欠陥がCIGS薄膜30の結晶に生じず、暗電流の大幅な低減が可能となる。
次に、レジストパターン40を除去する。この状態のデバイス断面を図2(e)に示す。
図2(f)に示すように、バッファ層(窓層)としての、薄いCdS膜50(50nm程度)をスパッタ法により成膜し、続いて、スパッタ法により、ZnO膜60を成膜する。
ZnO膜60は、ノンドープのZnO膜(i−ZnO)と、n型不純物がドープされた、低抵抗のZnO(n+)膜(図中、n−ZnOと表記されている)を、連続的に成膜することによって形成される。ここで、i−ZnOの厚みは60nm程度であり、一方、低抵抗化のZnO(n+)の厚みは、1μm程度である。
ノンドープのZnO膜(i−ZnO)は、下地のCIGS薄膜に生じるボイドやピンホールを半絶縁層で埋め込むと共に、CIGS薄膜30とi−p接合を形成し、トンネル電流によるリークを防ぐ役割を果たす。
したがって、ノンドープのZnO膜(i−ZnO)を厚膜化することによって、PN接合界面の暗電流を低減することができる。但し、厚膜化するとはいえ、その厚みは十分に薄いため(例えば、60nm)、透光性電極層として機能する低抵抗のZnO(n+)膜とCIGS薄膜(p−)との間で実質的なpn接合が形成されると考えられる。
次に、図2(g)に示すように、エッチングマスクとしてレジストパターン70を形成した後、ZnO膜(i−ZnOとZnO(n+))30をウエットエッチングする。
すなわち、例えば、塩酸:水=1:10の希酸を用いて、ウエットエッチングを行う。このとき、エッチング時間を調整し、意図的に、サイドエッチを生じさせ、レジストパターン70の下にアンダーカットを生じさせる。これは、パターニングされたZnO膜60の端部の位置が、パターニングされたCIGS(p−)薄膜60の側面よりも内側になるようにするためである。
次に、レジストパターン70を用いてドライエッチングを行い、CIGS薄膜30の側壁上のCdS膜50を除去する。この状態のデバイスの断面構造が図2(h)に示されている。
次に、図2(i)に示すよう、レジストパターン70を除去する。図示すように、ZnO膜60の横幅W2は、CIGS(p−)薄膜30の横幅W1よりも狭く、これによって、親亀子亀構造が形成されている。図4から明らかなように、ZnO膜60の端部の位置P2は、CIGS薄膜30の側壁の位置P1よりも内側に位置している。
この結果、図2(i)に示すように、ZnO(n+)膜60とCIGS(p−)薄膜30によって形成されるPN接合の界面80(空乏層の境界:図中、点線で示されている)の端部が、パターニングされたCIGS(p−)薄膜30の側壁(エッチングにより露出した面)に達することがなく、これによって、PN接合界面の埋込み構造が実現される。
フォトリソグラフィによりパターニングされたCIGS(p−)薄膜の側壁(エッチングにより露出した面)は、メカニカルスクライビングの場合に比べ、結晶欠陥やダメージは十分に少ないが、それでも、ダングリングボンド(結合手)等が存在して不要なエネルギー準位が形成されることがないとはいえない。
したがって、PN接合界面80の端部が、このパターニングされたCIGS(p−)薄膜30の側壁に達しないようにすることによって、PN接合の界面の端部からのリーク電流を、さらに低減できる。
最後に、図2(j)に示すように、アルミニウム等からなる引き出し電極90,95を形成する。これによって光電変換装置が完成する。
この光電変換装置は、高効率の太陽電池としても適用可能である。
(実施の形態2)
(実施の形態2)
本実施の形態では、本発明の光電変換装置を、近赤外光領域にも高い感度をもつフォトセンサとして使用する例について説明する。
図5は、CIS薄膜(CIGS薄膜も同様である)の、光の波長に対する吸収係数を示す図である。図示するように、CIS膜(CIGS薄膜)は、可視光から近赤外光までの広範囲に渡り、高い感度をもつことがわかる。
この点に着目し、本実施の形態では、本発明の化合物半導体薄膜からなる光電変換装置を、MOSトランジスタなどの形成されたシリコン基板上に積層して、複合イメージセンサを形成する。
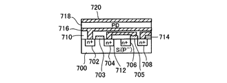
図6は、通常の、シリコン基板に形成されるCMOSイメージセンサの概略断面図である。また、図7は、シリコン系のCMOS回路上に化合物半導体薄膜からなる光電変換装置(フォトセンサ)を積層してなる、本発明の複合イメージセンサの概略断面図である。
図6に示すように通常のCMOSイメージセンサは、P−型シリコン基板600内に、フォトダイオード610(例えば、pin構造をもつ)と、MOSトランジスタを構成するn+拡散層616、618、620が形成され、また、P−型シリコン基板600上に、MOSトランジスタのゲート層612,614と、配線層622と、保護膜(層間絶縁膜を含む)624が形成されている。
これに対し、本発明の複合イメージセンサは、P−型シリコン基板700内に、MOSトランジスタを構成するn+拡散層702、704、706,708が形成され、また、P−型シリコン基板700上に、MOSトランジスタのゲート層703,705と、配線層712,714と、層間絶縁膜710が形成されている。
そして、この層間絶縁膜710上に、化合物半導体薄膜からなる光電変換装置(フォトセンサ)が積層形成されている。
この光電変換装置(フォトセンサ)は、下部配線層716と、光吸収層として機能するCIGS薄膜(PD)718(図中、電極層は省略している)と、上部配線層720と、によって構成されている。
前記実施の形態で説明したように、本発明のCIGS薄膜は、フォトリソグラフィを用いた、ドライとウエットの2段エッチングによって残渣なく、高精度にパターニングされ、結晶へのダメージ、結晶欠陥が低減され、また、ZnO膜のパターニングによって、PN接合界面の端部がCIGS薄膜のエッチングされた側壁に達しないように埋め込まれており、暗電流が、従来デバイスに比べ、5桁程度、劇的に低減されている。
本発明のセンサは、近赤外光にも高い感度を有するため、セキュリティカメラ(昼間は可視光をセンシングし、夜間は近赤外光をセンシングするカメラ)や、個人認証カメラ(外光の影響を受けない近赤外光で個人認証するためのカメラ)、あるいは、車載カメラ(夜間の視覚補助や遠方の視野確保等にために車に搭載されるカメラ)として、十分に利用可能である。
なお、上記の実施の形態では、カルコパイライト構造をもつ化合物半導体薄膜(CIGS薄膜)としては、Cu(Inx,Ga(1-x))Se2を用いているが、これに限定されるものではない。
CIGS薄膜としては、Cu(Inx,Ga(1-x))(Sey,S(1-y))2 x=0〜1,y=0〜1という組成のものも知られており、このような組成をもつCIGS薄膜も利用可能である。
このCIGS薄膜は、真空蒸着法やスパッタ法により基板上に形成可能である。真空蒸着法を用いる場合、化合物の各成分(Cu,In,Ga,Se,S)を蒸発源として基板上に別々に蒸着させる。スパッタ法では、カルコパイライト 化合物をターゲットとして用いるか、あるいは、その各成分を別々にターゲットとして用いる。なお、カルコパイライト化合物半導体薄膜を金属基板又はガラス基板の上に形成する場合、基板を高温に加熱するため、カルコゲナイト元素(Se,S)の加熱による再蒸発が起こる。このため、カルコゲナイト元素の離脱による組成ずれが起こる場合がある。この場合は、成膜後にSe又はSの蒸気雰囲気中で400〜600℃の温度で1〜数時間程度の熱処理を行うようことにより、Se又はSを補充するのが望ましい(セレン化処理又は硫化処理)。
以上説明したように、本発明によれば、フォトリソグラフィによるエッチングによって、下部電極層、光吸収層として機能するカルコパイライト構造の化合物半導体薄膜、透光性電極層の各々をパターニングする手法を採用することによって、メカニカルスクライビングを行ったときのような、ダメージや欠陥が化合物半導体薄膜に生じず、暗電流の大幅な低減が可能となる。
また、光吸収層については、ドライエッチングとウエットエッチングを組み合わせた2段エッチングを行うことによって、化合物半導体の結晶にダメージや欠陥を生じさせることなく、また、残渣を残さずに、高精度なパターニングを実現することができる。
また、ドライエッチングのエッチャントとして塩素系ガスを用いることによって、光吸収層を構成する化合物半導体薄膜を高レートでエッチングできる。また、ウエットエッチングについても、効率的かつ完全に残渣を除去することができる。
また、光吸収層となる化合物半導体薄膜として、In(インジウム)の一部をガリウムに置換したCIGS系の化合物半導体薄膜を使用し、バンド幅を広げることによって、キャリアの再結合過程を減らすことができ、暗電流を低減することができる。
また、本発明の光電変換装置は、フォトリソグラフィを用いて、残渣を残さずに精度良くスクライビングされており、メカニカルエッチングを採用したときのような、ダメージや欠陥が化合物半導体の結晶に生じず、したがって、PN接合の界面に無用なエネルギー準位が生じず、暗電流の大幅な低減が可能である。
すなわち、製造プロセスを変更し、デバイス構造を最適化することによって、暗電流を103のオーダで、改善することができる。また、Cu(Inx,Ga(1-x))Se2でのバンドギャップコントロールによって、暗電流を102のオーダで、低減することができる。
本発明のセンサは、近赤外光にも高い感度を有するため、セキュリティカメラ(昼間は可視光をセンシングし、夜間は近赤外光をセンシングするカメラ)や、個人認証カメラ(外光の影響を受けない近赤外光で個人認証するためのカメラ)、あるいは、車載カメラ(夜間の視覚補助や遠方の視野確保等にために車に搭載されるカメラ)として、十分に利用可能である。
また、本発明の光電変換は、PN接合の界面における光電変換ロスが、従来に比べて、十分に低減されているため、光により発生した電荷の収集効率が高く、光電変換効率が高い太陽電池を実現することができる。
本発明は、化合物半導体薄膜を用いた光電変換素子の暗電流を大幅に低減できることから、セキュリティカメラや個人認証カメラ等に好適なフォトセンサ、固体撮像素子ならびに太陽電池、これらの光電変換素子の製造方法として有効である。
10 ソーダライムガラス(SLG)
20 Mo(モリブデン)膜
30 光吸収層としてのCIGS薄膜
35 ドライエッチング後の残渣
40 CIGS薄膜エッチング用のレジストパターン
50 バッファ層としてのCdS膜
60 ZnO膜(i−ZnO,n−ZnO)
70 ZnO膜のエッチング用マスク(レジストパターン)
80 PN接合界面(空乏層の境界)
85,90 光電変換装置の引き出し電極
20 Mo(モリブデン)膜
30 光吸収層としてのCIGS薄膜
35 ドライエッチング後の残渣
40 CIGS薄膜エッチング用のレジストパターン
50 バッファ層としてのCdS膜
60 ZnO膜(i−ZnO,n−ZnO)
70 ZnO膜のエッチング用マスク(レジストパターン)
80 PN接合界面(空乏層の境界)
85,90 光電変換装置の引き出し電極
Claims (8)
- 基板上に下部電極層、光吸収層として機能するカルコパイライト構造の化合物半導体薄膜、透光性電極層が積層されて構成される光電変換装置の製造方法であって、
前記カルコパイライト構造の化合物半導体薄膜をフォトリソグラフィによってパターニングする工程を含む光電変換装置の製造方法。 - 請求項1記載の光電変換装置の製造方法であって、
前記カルコパイライト構造の化合物半導体薄膜をパターニングする工程は、
ドライエッチングによりパターニングする第1の工程と、
この第1の工程で生じるエッチング残渣を、ウエットエッチングより除去する第2の工程と、
を含むことを特徴とする、光電変換装置の製造方法。 - 請求項2記載の光電変換装置の製造方法であって、
前記第1の工程では、塩素系ガスおよび臭素系ガスをエッチャントとしてドライエッチングを行い、また、前記第2の工程では、前記カルコパイライト構造の化合物半導体薄膜を、臭素とメタノールの混合液、または、水とアンモニアの混合液で処理した後、塩酸と硝酸の混合液で処理することを特徴とする光電変換装置の製造方法。 - 請求項1乃至3のいずれかに記載の光電変換装置の製造方法であって、
前記カルコパイライト構造の化合物半導体薄膜は、Cu(Inx,Ga(1-x))Se2(0≦x≦1)であることを特徴とする光電変換装置の製造方法。 - 請求項4記載の光電変換装置の製造方法であって、
前記カルコパイライト構造の化合物半導体薄膜を形成する工程は、CVD法により、Cu(Inx,Ga(1-x))Se2(0≦x≦1)薄膜を成膜する工程を含み、
前記透光性電極層を形成する工程は、前記化合物半導体薄膜上にノンドープのZnO膜を形成する工程と、前記ノンドープのZnO膜上にn+型のZnO膜、ITO膜などの透明電極膜とを形成する工程を含む光電変換装置の製造方法。 - 請求項1乃至5のいずれかに記載の光電変換装置の製造方法によって製造された光電変換装置。
- 請求項6記載の光電変換装置であって、
前記光電変換装置は、近赤外光領域にも感度をもつフォトセンサであることを特徴とする光電変換装置。 - 請求項6記載の光電変換装置であって、
前記光電変換装置は、太陽電池であることを特徴とする光電変換装置。
Priority Applications (4)
| Application Number | Priority Date | Filing Date | Title |
|---|---|---|---|
| JP2005316789A JP2007123721A (ja) | 2005-10-31 | 2005-10-31 | 光電変換装置の製造方法および光電変換装置 |
| EP06822697A EP1950812A1 (en) | 2005-10-31 | 2006-10-31 | Method for manufacturing photoelectric converter and photoelectric converter |
| US12/084,281 US20090217969A1 (en) | 2005-10-31 | 2006-10-31 | Method for Manufacturing Photoelectric Converter and Photoelectric Converter |
| PCT/JP2006/321768 WO2007052668A1 (ja) | 2005-10-31 | 2006-10-31 | 光電変換装置の製造方法および光電変換装置 |
Applications Claiming Priority (1)
| Application Number | Priority Date | Filing Date | Title |
|---|---|---|---|
| JP2005316789A JP2007123721A (ja) | 2005-10-31 | 2005-10-31 | 光電変換装置の製造方法および光電変換装置 |
Publications (1)
| Publication Number | Publication Date |
|---|---|
| JP2007123721A true JP2007123721A (ja) | 2007-05-17 |
Family
ID=38005821
Family Applications (1)
| Application Number | Title | Priority Date | Filing Date |
|---|---|---|---|
| JP2005316789A Pending JP2007123721A (ja) | 2005-10-31 | 2005-10-31 | 光電変換装置の製造方法および光電変換装置 |
Country Status (4)
| Country | Link |
|---|---|
| US (1) | US20090217969A1 (ja) |
| EP (1) | EP1950812A1 (ja) |
| JP (1) | JP2007123721A (ja) |
| WO (1) | WO2007052668A1 (ja) |
Cited By (18)
| Publication number | Priority date | Publication date | Assignee | Title |
|---|---|---|---|---|
| WO2009041659A1 (ja) | 2007-09-28 | 2009-04-02 | Fujifilm Corporation | 太陽電池 |
| WO2009041657A1 (ja) | 2007-09-28 | 2009-04-02 | Fujifilm Corporation | 太陽電池用基板および太陽電池 |
| WO2009041660A1 (ja) | 2007-09-28 | 2009-04-02 | Fujifilm Corporation | 太陽電池用基板および太陽電池 |
| WO2009125688A1 (ja) | 2008-04-11 | 2009-10-15 | ローム株式会社 | 光電変換装置およびその製造方法、および固体撮像装置 |
| WO2010021342A2 (ja) | 2008-08-19 | 2010-02-25 | ローム株式会社 | カメラ |
| WO2010119943A1 (ja) * | 2009-04-17 | 2010-10-21 | 昭和シェル石油株式会社 | エッジスペースを備えた太陽電池モジュール |
| WO2010119944A1 (ja) * | 2009-04-17 | 2010-10-21 | 昭和シェル石油株式会社 | エッジスペースを備えた太陽電池モジュールの製造方法 |
| KR101020941B1 (ko) | 2009-09-30 | 2011-03-09 | 엘지이노텍 주식회사 | 태양전지 및 이의 제조방법 |
| WO2011036717A1 (ja) * | 2009-09-25 | 2011-03-31 | 株式会社 東芝 | 化合物薄膜太陽電池 |
| WO2011162102A1 (ja) * | 2010-06-23 | 2011-12-29 | パイオニア株式会社 | 撮像デバイス |
| US8378444B2 (en) | 2009-05-19 | 2013-02-19 | Rohm Co., Ltd. | Photodiode and method of fabricating photodiode |
| JP2013062547A (ja) * | 2009-06-19 | 2013-04-04 | Korea Electronics Telecommun | 太陽電池及びその製造方法 |
| US8901541B2 (en) | 2009-04-07 | 2014-12-02 | Rohm Co., Ltd. | Photoelectric conversion device and image pick-up device |
| US9024400B2 (en) | 2012-09-20 | 2015-05-05 | Seiko Epson Corporation | Photoelectric conversion element, method of manufacturing photoelectric conversion element, and electronic device |
| US9391103B2 (en) | 2013-08-15 | 2016-07-12 | Sony Corporation | Image pickup element and image pickup device |
| WO2016200216A1 (ko) * | 2015-06-11 | 2016-12-15 | 주성엔지니어링(주) | 박막형 태양전지와 그의 제조방법 |
| US9893101B2 (en) | 2012-01-23 | 2018-02-13 | Sony Semiconductor Solutions Corporation | Solid-state image pickup unit, method of manufacturing solid-state image pickup unit, and electronic apparatus |
| US10009564B2 (en) | 2013-11-29 | 2018-06-26 | Sony Semiconductor Solutions Corporation | Solid-state image capturing element, manufacturing method therefor, and electronic device |
Families Citing this family (41)
| Publication number | Priority date | Publication date | Assignee | Title |
|---|---|---|---|---|
| US8017860B2 (en) | 2006-05-15 | 2011-09-13 | Stion Corporation | Method and structure for thin film photovoltaic materials using bulk semiconductor materials |
| WO2008093834A1 (ja) | 2007-02-02 | 2008-08-07 | Rohm Co., Ltd. | 固体撮像装置およびその製造方法 |
| US8071179B2 (en) | 2007-06-29 | 2011-12-06 | Stion Corporation | Methods for infusing one or more materials into nano-voids if nanoporous or nanostructured materials |
| US8287942B1 (en) | 2007-09-28 | 2012-10-16 | Stion Corporation | Method for manufacture of semiconductor bearing thin film material |
| US8759671B2 (en) * | 2007-09-28 | 2014-06-24 | Stion Corporation | Thin film metal oxide bearing semiconductor material for single junction solar cell devices |
| US7998762B1 (en) | 2007-11-14 | 2011-08-16 | Stion Corporation | Method and system for large scale manufacture of thin film photovoltaic devices using multi-chamber configuration |
| US8362527B2 (en) | 2007-12-19 | 2013-01-29 | Rohm Co., Ltd. | Solid-state imaging device and fabrication method thereof |
| US8642138B2 (en) | 2008-06-11 | 2014-02-04 | Stion Corporation | Processing method for cleaning sulfur entities of contact regions |
| US8003432B2 (en) | 2008-06-25 | 2011-08-23 | Stion Corporation | Consumable adhesive layer for thin film photovoltaic material |
| US9087943B2 (en) | 2008-06-25 | 2015-07-21 | Stion Corporation | High efficiency photovoltaic cell and manufacturing method free of metal disulfide barrier material |
| US7855089B2 (en) | 2008-09-10 | 2010-12-21 | Stion Corporation | Application specific solar cell and method for manufacture using thin film photovoltaic materials |
| US8008112B1 (en) | 2008-09-29 | 2011-08-30 | Stion Corporation | Bulk chloride species treatment of thin film photovoltaic cell and manufacturing method |
| US8026122B1 (en) | 2008-09-29 | 2011-09-27 | Stion Corporation | Metal species surface treatment of thin film photovoltaic cell and manufacturing method |
| US8476104B1 (en) | 2008-09-29 | 2013-07-02 | Stion Corporation | Sodium species surface treatment of thin film photovoltaic cell and manufacturing method |
| US8394662B1 (en) | 2008-09-29 | 2013-03-12 | Stion Corporation | Chloride species surface treatment of thin film photovoltaic cell and manufacturing method |
| US8501521B1 (en) | 2008-09-29 | 2013-08-06 | Stion Corporation | Copper species surface treatment of thin film photovoltaic cell and manufacturing method |
| US8008110B1 (en) | 2008-09-29 | 2011-08-30 | Stion Corporation | Bulk sodium species treatment of thin film photovoltaic cell and manufacturing method |
| US8236597B1 (en) | 2008-09-29 | 2012-08-07 | Stion Corporation | Bulk metal species treatment of thin film photovoltaic cell and manufacturing method |
| US8383450B2 (en) | 2008-09-30 | 2013-02-26 | Stion Corporation | Large scale chemical bath system and method for cadmium sulfide processing of thin film photovoltaic materials |
| US7947524B2 (en) | 2008-09-30 | 2011-05-24 | Stion Corporation | Humidity control and method for thin film photovoltaic materials |
| US8425739B1 (en) | 2008-09-30 | 2013-04-23 | Stion Corporation | In chamber sodium doping process and system for large scale cigs based thin film photovoltaic materials |
| US7863074B2 (en) | 2008-09-30 | 2011-01-04 | Stion Corporation | Patterning electrode materials free from berm structures for thin film photovoltaic cells |
| US7910399B1 (en) | 2008-09-30 | 2011-03-22 | Stion Corporation | Thermal management and method for large scale processing of CIS and/or CIGS based thin films overlying glass substrates |
| US8741689B2 (en) | 2008-10-01 | 2014-06-03 | Stion Corporation | Thermal pre-treatment process for soda lime glass substrate for thin film photovoltaic materials |
| US20110018103A1 (en) | 2008-10-02 | 2011-01-27 | Stion Corporation | System and method for transferring substrates in large scale processing of cigs and/or cis devices |
| US8003430B1 (en) | 2008-10-06 | 2011-08-23 | Stion Corporation | Sulfide species treatment of thin film photovoltaic cell and manufacturing method |
| US8435826B1 (en) | 2008-10-06 | 2013-05-07 | Stion Corporation | Bulk sulfide species treatment of thin film photovoltaic cell and manufacturing method |
| US8168463B2 (en) | 2008-10-17 | 2012-05-01 | Stion Corporation | Zinc oxide film method and structure for CIGS cell |
| US8344243B2 (en) | 2008-11-20 | 2013-01-01 | Stion Corporation | Method and structure for thin film photovoltaic cell using similar material junction |
| US8507786B1 (en) | 2009-06-27 | 2013-08-13 | Stion Corporation | Manufacturing method for patterning CIGS/CIS solar cells |
| US8398772B1 (en) | 2009-08-18 | 2013-03-19 | Stion Corporation | Method and structure for processing thin film PV cells with improved temperature uniformity |
| US8809096B1 (en) | 2009-10-22 | 2014-08-19 | Stion Corporation | Bell jar extraction tool method and apparatus for thin film photovoltaic materials |
| US8859880B2 (en) | 2010-01-22 | 2014-10-14 | Stion Corporation | Method and structure for tiling industrial thin-film solar devices |
| US8263494B2 (en) | 2010-01-25 | 2012-09-11 | Stion Corporation | Method for improved patterning accuracy for thin film photovoltaic panels |
| US9096930B2 (en) | 2010-03-29 | 2015-08-04 | Stion Corporation | Apparatus for manufacturing thin film photovoltaic devices |
| US8461061B2 (en) | 2010-07-23 | 2013-06-11 | Stion Corporation | Quartz boat method and apparatus for thin film thermal treatment |
| US8628997B2 (en) | 2010-10-01 | 2014-01-14 | Stion Corporation | Method and device for cadmium-free solar cells |
| US8728200B1 (en) | 2011-01-14 | 2014-05-20 | Stion Corporation | Method and system for recycling processing gas for selenization of thin film photovoltaic materials |
| US8998606B2 (en) | 2011-01-14 | 2015-04-07 | Stion Corporation | Apparatus and method utilizing forced convection for uniform thermal treatment of thin film devices |
| US8436445B2 (en) | 2011-08-15 | 2013-05-07 | Stion Corporation | Method of manufacture of sodium doped CIGS/CIGSS absorber layers for high efficiency photovoltaic devices |
| KR102492733B1 (ko) | 2017-09-29 | 2023-01-27 | 삼성디스플레이 주식회사 | 구리 플라즈마 식각 방법 및 디스플레이 패널 제조 방법 |
Citations (8)
| Publication number | Priority date | Publication date | Assignee | Title |
|---|---|---|---|---|
| JPS50152683A (ja) * | 1974-05-27 | 1975-12-08 | ||
| JPH0232541A (ja) * | 1988-07-22 | 1990-02-02 | Nec Corp | ドライエッチングダメージ層の選択的除去方法 |
| US4909863A (en) * | 1988-07-13 | 1990-03-20 | University Of Delaware | Process for levelling film surfaces and products thereof |
| JPH0548141A (ja) * | 1991-08-19 | 1993-02-26 | Dowa Mining Co Ltd | CuInSe2系光電変換素子の作製方法 |
| JPH05234958A (ja) * | 1992-02-20 | 1993-09-10 | Mitsubishi Electric Corp | 6族元素含有半導体材料の微細加工方法 |
| JP2002184783A (ja) * | 2000-12-14 | 2002-06-28 | Nec Yamagata Ltd | 半導体装置の製造方法 |
| JP2004115356A (ja) * | 2002-09-26 | 2004-04-15 | Honda Motor Co Ltd | メカニカルスクライブ装置 |
| JP2005101384A (ja) * | 2003-09-26 | 2005-04-14 | Sanyo Electric Co Ltd | 光起電力装置及びその製造方法 |
Family Cites Families (22)
| Publication number | Priority date | Publication date | Assignee | Title |
|---|---|---|---|---|
| US4360021A (en) * | 1981-05-06 | 1982-11-23 | Colgate-Palmolive Company | Absorbent article |
| JPH05262504A (ja) * | 1991-09-27 | 1993-10-12 | Matsushita Electric Ind Co Ltd | 化合物半導体、その薄膜製造方法及びそれを用いた半導体装置 |
| US5356839A (en) * | 1993-04-12 | 1994-10-18 | Midwest Research Institute | Enhanced quality thin film Cu(In,Ga)Se2 for semiconductor device applications by vapor-phase recrystallization |
| US5436204A (en) * | 1993-04-12 | 1995-07-25 | Midwest Research Institute | Recrystallization method to selenization of thin-film Cu(In,Ga)Se2 for semiconductor device applications |
| JP3066944B2 (ja) * | 1993-12-27 | 2000-07-17 | キヤノン株式会社 | 光電変換装置、その駆動方法及びそれを有するシステム |
| JP2699921B2 (ja) * | 1995-04-21 | 1998-01-19 | 日本電気株式会社 | 半導体装置の製造方法 |
| CN1516239A (zh) * | 1996-06-19 | 2004-07-28 | ���µ�����ҵ��ʽ���� | 光电子材料、使用该材料的器件和制造光电子材料的方法 |
| JPH10294531A (ja) * | 1997-02-21 | 1998-11-04 | Toshiba Corp | 窒化物化合物半導体発光素子 |
| JPH11243224A (ja) * | 1997-12-26 | 1999-09-07 | Canon Inc | 光起電力素子モジュール及びその製造方法並びに非接触処理方法 |
| JPH11251612A (ja) * | 1998-03-03 | 1999-09-17 | Canon Inc | 光起電力素子の製造方法 |
| JP2000091601A (ja) * | 1998-09-07 | 2000-03-31 | Honda Motor Co Ltd | 太陽電池 |
| US6465811B1 (en) * | 1999-07-12 | 2002-10-15 | Gore Enterprise Holdings, Inc. | Low-capacitance bond pads for high speed devices |
| DE19958904C2 (de) * | 1999-12-07 | 2002-01-24 | Infineon Technologies Ag | Verfahren zur Herstellung einer Hartmaske auf einem Substrat |
| US6677182B2 (en) * | 2000-04-20 | 2004-01-13 | Digirad Corporation | Technique for suppression of edge current in semiconductor devices |
| US6613973B2 (en) * | 2000-06-27 | 2003-09-02 | Canon Kabushiki Kaisha | Photovoltaic element, producing method therefor, and solar cell modules |
| JP2002026122A (ja) * | 2000-07-04 | 2002-01-25 | Sony Corp | 半導体装置の製造方法 |
| JP4574833B2 (ja) * | 2000-11-10 | 2010-11-04 | 浜松ホトニクス株式会社 | 半導体光検出器の作製方法 |
| US7078351B2 (en) * | 2003-02-10 | 2006-07-18 | Taiwan Semiconductor Manufacturing Company, Ltd. | Photoresist intensive patterning and processing |
| JP2005019742A (ja) * | 2003-06-26 | 2005-01-20 | Matsushita Electric Ind Co Ltd | 太陽電池 |
| EP1647045B1 (en) * | 2003-07-11 | 2009-11-11 | Nxp B.V. | Method of manufacturing a semiconductor device |
| KR100674986B1 (ko) * | 2005-08-05 | 2007-01-29 | 삼성전자주식회사 | 이미지센서 및 그 제조방법 |
| KR100685903B1 (ko) * | 2005-08-31 | 2007-02-26 | 동부일렉트로닉스 주식회사 | 반도체 소자의 제조 방법 |
-
2005
- 2005-10-31 JP JP2005316789A patent/JP2007123721A/ja active Pending
-
2006
- 2006-10-31 WO PCT/JP2006/321768 patent/WO2007052668A1/ja not_active Ceased
- 2006-10-31 EP EP06822697A patent/EP1950812A1/en not_active Withdrawn
- 2006-10-31 US US12/084,281 patent/US20090217969A1/en not_active Abandoned
Patent Citations (8)
| Publication number | Priority date | Publication date | Assignee | Title |
|---|---|---|---|---|
| JPS50152683A (ja) * | 1974-05-27 | 1975-12-08 | ||
| US4909863A (en) * | 1988-07-13 | 1990-03-20 | University Of Delaware | Process for levelling film surfaces and products thereof |
| JPH0232541A (ja) * | 1988-07-22 | 1990-02-02 | Nec Corp | ドライエッチングダメージ層の選択的除去方法 |
| JPH0548141A (ja) * | 1991-08-19 | 1993-02-26 | Dowa Mining Co Ltd | CuInSe2系光電変換素子の作製方法 |
| JPH05234958A (ja) * | 1992-02-20 | 1993-09-10 | Mitsubishi Electric Corp | 6族元素含有半導体材料の微細加工方法 |
| JP2002184783A (ja) * | 2000-12-14 | 2002-06-28 | Nec Yamagata Ltd | 半導体装置の製造方法 |
| JP2004115356A (ja) * | 2002-09-26 | 2004-04-15 | Honda Motor Co Ltd | メカニカルスクライブ装置 |
| JP2005101384A (ja) * | 2003-09-26 | 2005-04-14 | Sanyo Electric Co Ltd | 光起電力装置及びその製造方法 |
Cited By (40)
| Publication number | Priority date | Publication date | Assignee | Title |
|---|---|---|---|---|
| WO2009041657A1 (ja) | 2007-09-28 | 2009-04-02 | Fujifilm Corporation | 太陽電池用基板および太陽電池 |
| WO2009041660A1 (ja) | 2007-09-28 | 2009-04-02 | Fujifilm Corporation | 太陽電池用基板および太陽電池 |
| WO2009041659A1 (ja) | 2007-09-28 | 2009-04-02 | Fujifilm Corporation | 太陽電池 |
| WO2009125688A1 (ja) | 2008-04-11 | 2009-10-15 | ローム株式会社 | 光電変換装置およびその製造方法、および固体撮像装置 |
| US8592933B2 (en) | 2008-04-11 | 2013-11-26 | Rohm Co., Ltd. | Photoelectric conversion device, fabrication method for the same, and solid state imaging device |
| WO2010021342A2 (ja) | 2008-08-19 | 2010-02-25 | ローム株式会社 | カメラ |
| US8629916B2 (en) | 2008-08-19 | 2014-01-14 | Rohm Co., Ltd. | Camera with imaging unit and imaging unit for camera |
| US9628739B2 (en) | 2009-04-07 | 2017-04-18 | Rohm Co., Ltd. | Photoelectric conversion device and image pick-up device |
| US9350957B2 (en) | 2009-04-07 | 2016-05-24 | Rohm Co., Ltd. | Photoelectric conversion device and image pick-up device |
| US8901541B2 (en) | 2009-04-07 | 2014-12-02 | Rohm Co., Ltd. | Photoelectric conversion device and image pick-up device |
| JP2016067034A (ja) * | 2009-04-07 | 2016-04-28 | ローム株式会社 | 撮像装置 |
| CN102396074A (zh) * | 2009-04-17 | 2012-03-28 | 昭和砚壳石油株式会社 | 具备边距的太阳能电池组件 |
| JP2010251575A (ja) * | 2009-04-17 | 2010-11-04 | Showa Shell Sekiyu Kk | エッジスペースを備えた太陽電池モジュール |
| US9166086B2 (en) | 2009-04-17 | 2015-10-20 | Solar Frontier K.K. | Method for manufacturing solar cell module provided with an edge space |
| US9166085B2 (en) | 2009-04-17 | 2015-10-20 | Solar Frontier K.K. | Method for manufacturing solar cell module provided with an edge space |
| WO2010119943A1 (ja) * | 2009-04-17 | 2010-10-21 | 昭和シェル石油株式会社 | エッジスペースを備えた太陽電池モジュール |
| WO2010119944A1 (ja) * | 2009-04-17 | 2010-10-21 | 昭和シェル石油株式会社 | エッジスペースを備えた太陽電池モジュールの製造方法 |
| CN102396074B (zh) * | 2009-04-17 | 2014-09-17 | 昭和砚壳石油株式会社 | 具备边距的太阳能电池组件 |
| US8603853B2 (en) | 2009-04-17 | 2013-12-10 | Showa Shell Sekiyu K.K. | Method for manufacturing a solar cell module provided with an edge space |
| JP2010251576A (ja) * | 2009-04-17 | 2010-11-04 | Showa Shell Sekiyu Kk | エッジスペースを備えた太陽電池モジュールの製造方法 |
| US8378444B2 (en) | 2009-05-19 | 2013-02-19 | Rohm Co., Ltd. | Photodiode and method of fabricating photodiode |
| US8828786B2 (en) | 2009-05-19 | 2014-09-09 | Rohm Co., Ltd. | Method of fabricating photodiode |
| JP2013062547A (ja) * | 2009-06-19 | 2013-04-04 | Korea Electronics Telecommun | 太陽電池及びその製造方法 |
| WO2011036717A1 (ja) * | 2009-09-25 | 2011-03-31 | 株式会社 東芝 | 化合物薄膜太陽電池 |
| JPWO2011036717A1 (ja) * | 2009-09-25 | 2013-02-14 | 株式会社東芝 | 化合物薄膜太陽電池 |
| US20120227803A1 (en) * | 2009-09-25 | 2012-09-13 | Kabushiki Kaisha Toshiba | Compound thin film solar cell |
| KR101020941B1 (ko) | 2009-09-30 | 2011-03-09 | 엘지이노텍 주식회사 | 태양전지 및 이의 제조방법 |
| JP5481688B2 (ja) * | 2010-06-23 | 2014-04-23 | パイオニア株式会社 | 撮像デバイス |
| WO2011162102A1 (ja) * | 2010-06-23 | 2011-12-29 | パイオニア株式会社 | 撮像デバイス |
| US9893101B2 (en) | 2012-01-23 | 2018-02-13 | Sony Semiconductor Solutions Corporation | Solid-state image pickup unit, method of manufacturing solid-state image pickup unit, and electronic apparatus |
| US9024400B2 (en) | 2012-09-20 | 2015-05-05 | Seiko Epson Corporation | Photoelectric conversion element, method of manufacturing photoelectric conversion element, and electronic device |
| US9379278B2 (en) | 2012-09-20 | 2016-06-28 | Seiko Epson Corporation | Photoelectric conversion element, method of manufacturing photoelectric conversion element, and electronic device |
| US9391103B2 (en) | 2013-08-15 | 2016-07-12 | Sony Corporation | Image pickup element and image pickup device |
| US10009564B2 (en) | 2013-11-29 | 2018-06-26 | Sony Semiconductor Solutions Corporation | Solid-state image capturing element, manufacturing method therefor, and electronic device |
| US10536659B2 (en) | 2013-11-29 | 2020-01-14 | Sony Semiconductor Solutions Corporation | Solid-state image capturing element, manufacturing method therefor, and electronic device |
| WO2016200216A1 (ko) * | 2015-06-11 | 2016-12-15 | 주성엔지니어링(주) | 박막형 태양전지와 그의 제조방법 |
| KR20160147101A (ko) * | 2015-06-11 | 2016-12-22 | 주성엔지니어링(주) | 박막형 태양전지와 그의 제조방법 |
| CN108140681A (zh) * | 2015-06-11 | 2018-06-08 | 周星工程股份有限公司 | 薄膜型太阳能电池及其制造方法 |
| CN108140681B (zh) * | 2015-06-11 | 2020-10-23 | 周星工程股份有限公司 | 薄膜型太阳能电池及其制造方法 |
| KR102423108B1 (ko) * | 2015-06-11 | 2022-07-22 | 주성엔지니어링(주) | 박막형 태양전지와 그의 제조방법 |
Also Published As
| Publication number | Publication date |
|---|---|
| EP1950812A1 (en) | 2008-07-30 |
| US20090217969A1 (en) | 2009-09-03 |
| WO2007052668A1 (ja) | 2007-05-10 |
Similar Documents
| Publication | Publication Date | Title |
|---|---|---|
| JP2007123721A (ja) | 光電変換装置の製造方法および光電変換装置 | |
| US8299510B2 (en) | Solid state imaging device and fabrication method for the same | |
| JP2007123720A (ja) | 光電変換装置およびその製造方法 | |
| JP5536488B2 (ja) | カラー用固体撮像装置 | |
| US8592933B2 (en) | Photoelectric conversion device, fabrication method for the same, and solid state imaging device | |
| JP5597247B2 (ja) | 太陽電池及びその製造方法 | |
| KR101081294B1 (ko) | 태양전지 및 이의 제조방법 | |
| US8486750B2 (en) | Solid-state imaging device and fabrication method thereof | |
| US9818897B2 (en) | Device for generating solar power and method for manufacturing same | |
| KR101114018B1 (ko) | 태양전지 및 이의 제조방법 | |
| US20150303330A1 (en) | Photoelectric conversion device and method for manufacturing photoelectric conversion device | |
| KR101028310B1 (ko) | 태양전지 및 이의 제조방법 | |
| KR101055019B1 (ko) | 태양광 발전장치 및 이의 제조방법 | |
| KR101144447B1 (ko) | 태양광 발전장치 및 이의 제조방법 | |
| KR101063641B1 (ko) | 태양전지 및 이의 제조방법 | |
| JP2013536996A (ja) | 太陽光発電装置及びその製造方法 | |
| KR101081248B1 (ko) | 태양전지 및 이의 제조방법 | |
| JP2017212417A (ja) | 光電変換素子の製造方法 | |
| JP2012204504A (ja) | 半導体紫外線受光素子及びその製造方法 |
Legal Events
| Date | Code | Title | Description |
|---|---|---|---|
| A621 | Written request for application examination |
Free format text: JAPANESE INTERMEDIATE CODE: A621 Effective date: 20080905 |
|
| A521 | Request for written amendment filed |
Free format text: JAPANESE INTERMEDIATE CODE: A821 Effective date: 20080905 |
|
| A131 | Notification of reasons for refusal |
Free format text: JAPANESE INTERMEDIATE CODE: A131 Effective date: 20111108 |
|
| A02 | Decision of refusal |
Free format text: JAPANESE INTERMEDIATE CODE: A02 Effective date: 20120306 |