JP2006201465A - 焦点検出装置とそれを用いた蛍光観察装置 - Google Patents

焦点検出装置とそれを用いた蛍光観察装置 Download PDF

Info

Publication number
JP2006201465A
JP2006201465A JP2005012824A JP2005012824A JP2006201465A JP 2006201465 A JP2006201465 A JP 2006201465A JP 2005012824 A JP2005012824 A JP 2005012824A JP 2005012824 A JP2005012824 A JP 2005012824A JP 2006201465 A JP2006201465 A JP 2006201465A
Authority
JP
Japan
Prior art keywords
light
focus detection
observation
fluorescence
focus
Prior art date
Legal status (The legal status is an assumption and is not a legal conclusion. Google has not performed a legal analysis and makes no representation as to the accuracy of the status listed.)
Granted
Application number
JP2005012824A
Other languages
English (en)
Other versions
JP4932162B2 (ja
JP2006201465A5 (ja
Inventor
Masayoshi Karasawa
雅善 唐澤
Atsuhiro Tsuchiya
敦宏 土屋
Takashi Yoneyama
貴 米山
Kenichi Koyama
健一 小山
Current Assignee (The listed assignees may be inaccurate. Google has not performed a legal analysis and makes no representation or warranty as to the accuracy of the list.)
Olympus Corp
Original Assignee
Olympus Corp
Priority date (The priority date is an assumption and is not a legal conclusion. Google has not performed a legal analysis and makes no representation as to the accuracy of the date listed.)
Filing date
Publication date
Application filed by Olympus Corp filed Critical Olympus Corp
Priority to JP2005012824A priority Critical patent/JP4932162B2/ja
Priority to US11/328,028 priority patent/US7304282B2/en
Publication of JP2006201465A publication Critical patent/JP2006201465A/ja
Priority to US11/876,676 priority patent/US7612316B2/en
Publication of JP2006201465A5 publication Critical patent/JP2006201465A5/ja
Application granted granted Critical
Publication of JP4932162B2 publication Critical patent/JP4932162B2/ja
Anticipated expiration legal-status Critical
Expired - Fee Related legal-status Critical Current

Links

Images

Classifications

    • GPHYSICS
    • G02OPTICS
    • G02BOPTICAL ELEMENTS, SYSTEMS OR APPARATUS
    • G02B21/00Microscopes
    • G02B21/0004Microscopes specially adapted for specific applications
    • G02B21/0088Inverse microscopes
    • GPHYSICS
    • G02OPTICS
    • G02BOPTICAL ELEMENTS, SYSTEMS OR APPARATUS
    • G02B21/00Microscopes
    • G02B21/16Microscopes adapted for ultraviolet illumination ; Fluorescence microscopes
    • GPHYSICS
    • G02OPTICS
    • G02BOPTICAL ELEMENTS, SYSTEMS OR APPARATUS
    • G02B21/00Microscopes
    • G02B21/24Base structure
    • G02B21/241Devices for focusing
    • G02B21/244Devices for focusing using image analysis techniques
    • GPHYSICS
    • G02OPTICS
    • G02BOPTICAL ELEMENTS, SYSTEMS OR APPARATUS
    • G02B21/00Microscopes
    • G02B21/24Base structure
    • G02B21/241Devices for focusing
    • G02B21/245Devices for focusing using auxiliary sources, detectors

Landscapes

  • Physics & Mathematics (AREA)
  • Chemical & Material Sciences (AREA)
  • Analytical Chemistry (AREA)
  • General Physics & Mathematics (AREA)
  • Optics & Photonics (AREA)
  • Engineering & Computer Science (AREA)
  • Computer Vision & Pattern Recognition (AREA)
  • Microscoopes, Condenser (AREA)
  • Automatic Focus Adjustment (AREA)

Abstract

【課題】 エバネッセント光を利用した高コントラストの蛍光観察において、試料である細胞の状態等に影響なく高合焦精度を実現すること。
【解決手段】 エバネッセント光に基づいて観察標本12から発する蛍光像を観察する蛍光観察装置に適用される焦点検出装置において、前記蛍光像のコントラストを検出する検出手段7と、前記検出結果に基づいて焦点を検出する検出手段10と、を備えた。
【選択図】 図1

Description

本発明は、焦点検出装置とそれを用いた蛍光観察装置に関し、特に、生細胞を高コントラストで蛍光観察する顕微鏡や光学装置において、観察対象となる観察標本の搭載されたガラス面と観察標本の界面位置を高い精度で検出することができる装置に関する。
生物研究分野では、蛍光観察法を利用して細胞内部の機能、構造解析が行われている。しかしながら、通常の蛍光観察では照明光が観察対象物全体に照射されるため、観察したい位置以外(ピントの合っていない位置)の蛍光情報も同時に取得される。そのため、コントラストが低下してしまい、例えば1分子といった微小単位の観察を行うことができなかった。
近年、光の全反射時に発生するエバネッセント光を照明光として利用し、数十から数百nmといった微小領域のみを照明する技術が確立したことで、通常の蛍光観察の問題点である上記コントラストの低下を防止し、1分子レベルの微小単位の蛍光観察が可能となってきている。
エバネッセント光は、屈折率の異なる境界面に、ある一定値以下の角度で照明光を入射させたときに、その照明光を全反射させることによって発生する光である。また、エバネッセント光は、上記境界面に対して照明光とは反対側に、波長より小さい寸法の領域に局在する、自由空間を伝播しない特性をもつ。
生物研究では、生細胞内での経時変化を見るためにしばしばタイムラプスと言われる手法がとられている。この手法は、例えば1日、2日といった期間内で連続または一定間隔で観察像を取得することで細胞内部の機能を解析することを目的としている。
この手法においては、長期間におよぶ観察が必要となるが、観察装置である顕微鏡は金属とガラスの集合体であり、例えば実験を行う部屋の内部温度が僅かに変化しただけでも顕微鏡が変形し、ピント位置がずれるという問題が発生する。特に、数十から数百nmといった微小領域を観察するエバネッセント光を利用した蛍光観察では、大きな問題となっている。
特許文献1では、焦点検出専用のエバネッセント光を利用することで、そのエバネッセント場に存在する細胞の一部を高精度で位置検出する手段が開示されている。
図11に示すように、焦点検出用のレーザ光90をカバーガラス91と試料溶液96中の観察試料92との界面91aで全反射するように入射し、カバーガラス表面にエバネッセント光を浸み出させる。このエバネッセント光の存在する領域つまりエバネッセント場に位置する観察標本92は前記エバネッセント光により散乱光93を生じる。その散乱光93を対物レンズ94で集光し、受光素子95で検出してその受光強度の最も大きな位置を合焦位置とする。この位置情報から対物レンズ94の焦点位置を制御している。試料を蛍光観察するための光源はさらに別にあり、焦点検出用のレーザ光90は赤外光を用いる事で細胞に与えるダメージを少なくする事ができる。
特開2003−270524号公報
ところが特許文献1に記載の発明では、細胞による散乱光強度を検出しているため、合焦精度、位置が細胞の数や状態によって振られることや、フォーカス調整時の散乱光強度変化が微小であり検出精度が劣化することが予想される。
また焦点を合わせるために用いている基準点が散乱光を発生する試料の一部であるため、生細胞などを観察標本としている場合、基準点とした散乱光を発生する観察標本の一部が動くことが予想され、焦点調整が定まらないことになる。例えば、焦点調整に用いていた細胞の一部が上方向に移動し、実際に観察していた部位が動かなかった時、観察している部位はピントボケになってしまう。
本発明は、エバネッセント光を利用した高コントラストの蛍光観察において、試料である細胞の状態等に影響なく高合焦精度を実現することを目的とする。
本発明の局面に係る発明は、エバネッセント光に基づいて観察標本から発する蛍光像を観察する蛍光観察装置に適用される焦点検出装置において、前記蛍光像のコントラストを検出する検出手段と、前記検出結果に基づいて焦点を検出する検出手段と、を備えた。
本発明によれば、エバネッセント光を利用した高コントラストの蛍光観察において、試料である細胞の状態等に影響なく高合焦精度を実現することができる。
図面を参照して本発明の実施の形態を説明する。
(第1の実施の形態)
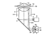
図1は、本発明の第1の実施の形態にかかる蛍光観察装置の概略構成を示す図である。なお、第1の実施の形態及び以降の実施の形態では、蛍光観察装置として倒立型の落射蛍光顕微鏡を用いて、本発明の実施の形態を説明する。
図1において、1は顕微鏡本体であり、この顕微鏡本体1は、一般的な倒立型の落射蛍光顕微鏡と同様に、照明部2、ダイクロイックミラー3、対物レンズ4、ハーフミラー5、光学フィルタ6および光ディテクタとしての撮像素子(CCDカメラなど)7を有しており、それらが、それぞれの光軸を一致させて配置されている。
照明部2は、後述する標本(生細胞)12を励起する所定波長のレーザ光を発する照射光源8と、集光レンズ9を、それぞれの光軸が一致するように配置している。また、照射光源8からのレーザ光が集光レンズ9、ダイクロイックミラー3を介して対物レンズ4の後ろ側焦点位置に集光されるように調整されている。
ダイクロイックミラー3は、照射光源8からの所定波長の照明光111の波長の光を反射するとともに、後述する照明光111よりも波長の長い蛍光112の波長を透過するように設定されている。対物レンズ4は、NA(対物レンズの開口数)>n(観察標本の屈折率)の条件を満たした高い開口数を有する油浸対物レンズからなる。
対物レンズ4の上方に標本12が配置されている。標本12は、顕微鏡本体1の図示しないステージに載置されたカバーガラス13上に密着される。このカバーガラス13は生細胞である標本12の生体活動に必要な水溶液で満たされている。この標本12は、カバーガラス13の屈折率とほぼ同じ屈折率をもつオイル15を介して対物レンズ4の焦点位置に位置されている。
ダイクロイックミラー3で反射された照射光源8のレーザ光は、照明光(励起光)111として、対物レンズ4の外周部分を通る小さい光束径で対物レンズ4に入射し、カバーガラス13で全反射する入射角度に調整されており、カバーガラス13で全反射したときに標本12側にエバネッセント光17を生成する。エバネッセント光17は、その照明光の波長より短い距離でカバーガラス13の標本12側に局在する。照明光111はカバーガラス13で全反射した後、対物レンズ4の中心軸に対して照明光111と軸対称な対物レンズ4の後ろ側焦点位置で集光し、戻り光113としてダイクロイックミラー3で反射して顕微鏡本体1の内面で遮光される。
一方、エバネッセント光17により励起される標本12から発する微弱な蛍光112(破線で表記)は、ダイクロイックミラー3を透過し、光学フィルタ6を介してハーフミラー5に入射する。ハーフミラー5は、観察光軸に対して挿脱可能になっている。ハーフミラー5が光軸に挿入された時には、蛍光112が分割され、一方の分割蛍光は接眼レンズ16を介して観察可能になり、他方の分割蛍光は撮像素子7に入射する。一方、ハーフミラー5が光軸から抜かれた時には、蛍光112がすべて撮像素子7に導かれる。
光学フィルタ6は、ダイクロイックミラー3などとともに観察光学系を構成するもので、特定の波長の光を選択的に通すことができるようになっている。ここでは、照明光111の波長の光を遮断し、照明光111よりも波長が長い蛍光112の光を通過させるものが用いられる。
標本12からの蛍光112は、光学フィルタ6を通過し、接眼レンズ16による蛍光像として観察されるとともに、撮像レンズ18を介して撮像素子7により撮像される。
制御部10は、位置制御部14を使って対物レンズ4を光軸方向に動かすことにより対物レンズ4の焦点位置を光軸方向に動かす。これにより、蛍光112の複数の蛍光像を撮像素子7で取得し、そのコントラストの差を求める。
このコントラストの差から、観察標本12と対物レンズ4の焦点位置が重なるように位置制御部14を制御して対物レンズ4を上下に動かす。
なお、蛍光像によるピント検出は、コントラスト差に限らず、像の強度分布などからも求めることができる。
以上の構成により、数十ナノメートル〜数百ナノメートルという非常に薄いエバネッセント光17の領域に存在する標本12の一部分から発する蛍光112の像を使った、焦点検出と焦点合わせが可能となる。
エバネッセントと組み合わせた高精度の焦点検出の効果が得られる。すなわち、蛍光112は上記の数十ナノメートル〜数百ナノメートルのエバネッセント光17の領域でしか発光しないため、数十ナノメートル〜数百ナノメートルという精度で焦点検出ができる。
また生物研究における生細胞内での経時変化を見るためのタイムラプスでは、長期間におよぶ観察が必要となるが、観察装置である顕微鏡は金属とガラスの集合体であり、例えば実験を行う部屋の内部温度が僅かに変化しただけでも顕微鏡が熱変形し、ピント位置がずれるという問題が発生しており、特に、数十から数百nmといった微小領域を観察するエバネッセント光を利用した蛍光観察では、大きな問題となっている。しかし本実施の形態によれば、観察している蛍光112の像を使って焦点検出を行うため、顕微鏡などが熱変形をおこしても、長時間にわたり焦点を合わせたまま観察を続けることができる。また、観察に使用するレーザの波長より多い波長のレーザを別途用意して使用すれば、蛍光の退色も防止できる。
なお、第1の実施の形態及び以降の実施の形態においては、蛍光観察装置として、倒立型の落射蛍光顕微鏡を用いて説明しているが、これに限らず、蛍光を用いて合焦を実現できる構成であれば、どのような装置にも適用可能である。
(第2の実施の形態)
図2は、本発明の第2の実施の形態にかかる蛍光観察装置の概略構成を示す図である。図2において、図1と同じ部分には同じ符号を付している。
第2の実施の形態では、第1の実施の形態における装置に、新たに焦点検出装置系である集光レンズ30と検出器31を観察光学系の光軸に対して追加している。
図2において、第1の実施の形態では戻り光113を遮光していたが、本実施の形態では、戻り光113を遮光せずに、集光レンズ30にて検出器31の検出ポイント37の後方に集光している。
上記構成ではカバーガラス13と標本12の密着面が対物レンズ4の焦点位置に一致した状態の構成を示しており、カバーガラス13の位置33(点線)は、対物レンズ4の焦点位置よりも下方向にカバーガラスが動いた状態を示している。カバーガラス13が位置33に動いたときに、照明光111の戻り光113は戻り光123の位置に動く。具体的には、図2に示すように、照明光111の反射面が下方向に動いたので、戻り光123の光路は、戻り光113より光軸側の光路に移動し、集光レンズ30による集光位置が検出ポイント37から検出ポイント38に移動する。
カバーガラス面13が対物レンズ4の焦点位置よりも上方向に動いた場合を考慮すると、照明光111の戻り光は検出ポイント37に対して検出ポイント38とは反対側の図示しない光路を通ることになる。
従って、まず、ピントがあった状態における集光レンズ30による集光位置である検出器31の検出ポイント37の位置を記憶しておく。そして、集光位置が、検出ポイント37からずれたときに、ピントがずれているということなので、対物レンズ4を動かして、集光位置をピントが合った状態である検出ポイント37の位置に戻す。
上記のように、検出器31に対する戻り光の集光位置を検出して、集光位置を合焦時の検出ポイントに一致させることで、対物レンズ4の合焦位置を求めることが可能となる。これにより第1の実施形態と同様に、顕微鏡などが熱変形をおこしても、長時間にわたり焦点を合わせたまま観察を続けることができる。
また検出器31に集光される戻り光の検出ポイントの位置により、カバーガラス13と標本12の密着面が、焦点位置に対して光軸方向の上方向か下方向かどちらにあるのかが分かるため、焦点調整時の調整方向を短時間で判断できる。
本実施の形態において、カバーガラス13と標本12の密着面と異なる位置(ここではカバーガラス面33と標本の密着面)に対物レンズ4の焦点を合わせたいとき、戻り光の検出ポイント38を焦点一致ポイントとしてオフセットしても良い。なお照明光111を対物レンズ4の瞳位置で集光させていれば、エバネッセント光36は変わらない。
これにより、上記の効果に加え、カバーガラス13と標本12の密着面と異なる位置に対物レンズ4の焦点をオフセットして合わせたままで、焦点位置を検出する事ができる。
更に、照明光111はカバーガラス面13への入射角度によって、エバネッセント光17の浸み出し深さを変化させる事ができるが、エバネッセント光17の浸み出し深さを変化させた後の検出ポイントを焦点一致ポイントとしてオフセットしても良い。
これにより、上記の効果に加え、エバネッセント光17の浸み出し深さを変化させても焦点位置を検出する事ができる。
また、カバーガラス面13が移動しない短時間の間に、照明光111のカバーガラス面13への入射角度を変化させ、その戻り光の検出ポイントの変化量を読み取るようにしても良い。
これにより、エバネッセント光17の浸み出し深さの変化量を求める事ができる。
図3に示すように、図2に示す検出器31である面センサ、ラインセンサなどの代わりに、ピンホール39と光検出器40を組み合わせた集光ポイント検出器41に置き換えても良い。この場合には、集光位置を検出するために集光ポイント検出器41を移動して光検出器40で集光ポイントを検出する。
これにより、上記の効果に加え、高価な検出器31をより安価な検出器に置き換えることができる。
また、焦点検出に用いていた照明光111を焦点検出用の専用光とし、照明用の光源を別に配置しても良い。
これにより、上記の効果に加え、焦点検出用の光源の波長を、生体である標本12にダメージを与えにくい赤外光などに変更することができる。
(第3の実施の形態)
図4は、本発明の第3の実施の形態にかかる蛍光観察装置の概略構成を示す図である。図4において、図1と同じ部分には同じ符号を付している。
図4に示すように、本実施の形態では、新たに焦点検出光源系である焦点検出用レンズ50と、焦点検出装置系である焦点検出用レンズ53と、2分割検出器54とを観察光学系の光軸に対して追加している。
本実施の形態では、戻り光113は、挿脱可能な遮光板52で、遮光と透過を選択できるように構成される。
焦点検出用レンズ50が照明光路内に挿入されると、遮光板52は焦点検出戻り光132の光路から抜かれて、焦点検出戻り光132は2分割検出器54に到達する。一方、焦点検出用レンズ50が照明光路内から抜かれると、遮光板52は戻り光113の光路に挿入されて、戻り光113は遮光される。
焦点検出用レンズ50は、集光レンズ9の焦点と共益な位置に挿脱可能な状態で配置される。焦点検出用レンズ50が照明光路内に挿入されると、照明光111は焦点検出光131となる。焦点検出光131として対物レンズ4に入射されるレーザ光は、カバーガラス13と標本12の密着面で焦点を結ぶと同時に反射され、対物レンズ4の中心軸に対して焦点検出光131と軸対称な焦点検出戻り光132となる。焦点検出戻り光132はダイクロイックミラー3で反射される。
ダイクロイックミラー3で反射された焦点検出戻り光132は、焦点検出光軸と光軸を一致した焦点検出用レンズ53にて集光され、焦点検出光軸と軸を一致した2分割検出器54の中心の分割部で焦点を結ぶ。このときの2分割検出器54の集光面55では、2分割検出器54の両検出素子にまたがった小さな集光光が観察される。
2分割検出器54の分割面は、光軸と平行であり、かつ焦点検出光131と焦点検出戻り光132の軸を含む面に対して垂直な状態で構成される。ここで、図5に示すようにカバーガラス13と標本12の密着面が下方向に動いたとき、焦点検出光131として対物レンズ4に入射されるレーザ光は、カバーガラス13と標本12の境界面で焦点を結ばずに反射して焦点検出戻り光133となる。焦点検出戻り光133は2分割検出器54の中心より偏った位置に集光しない状態のまま到達する。したがって2分割検出器54の集光面55では、2分割検出器54の片側素子に偏った大きなボケ光56が観察される。逆に、図6のようにカバーガラス13と標本の密着面が上方向に動いたときは、2分割検出器54の上記とは反対の素子に偏った大きなボケ光57が観察される。
そこで、2分割検出器54の集光面55にて両検出素子にまたがった小さな集光光が観察できるように対物レンズを光軸方向に調整することで焦点調整を行うことができる。
上記のように、本実施の形態により、照明光111を定期的に焦点検出光131に切り替えながら対物レンズ4の焦点位置を検出することができる。これにより、第1の実施の形態と同様に、顕微鏡などが熱変形をおこしても、長時間にわたり焦点を合わせたまま観察を続けることができる。また照明光を焦点検出光に流用するため、全体的な構成が単純となり安価に構成できる。また焦点検出光を必要な時だけ照明光に切り替えられるため、生細胞などの標本に与えるダメージが少なくなる。また焦点検出においても、2分割検出器54の集光面のどちらに焦点検出戻り光132が到達しているかで、カバーガラス13が焦点面の上方向にあるのか下方向にあるのか判断できるため、カバーガラス13の移動方向をこれだけで判断する事ができる。
(第4の実施の形態)
図7は、本発明の第4の実施の形態にかかる蛍光観察装置の概略構成を示す図である。図7において、図1と同じ部分には同じ符号を付している。
図7に示すように、本実施の形態では、新たに焦点検出光源系である焦点検出光源60と、コリメートレンズ61と、遮光板62と、半透過ミラー63と、焦点検出用ダイクロイックミラー69と、焦点検出装置系である焦点検出用レンズ64と、波長カット板70と、2分割検出器65とを観察光学系の光軸に対して追加している。
図7において、照明系と観察系は、第1の実施の形態に係る構成と同じである。ダイクロイックミラー3は、照射光源8からの所定波長の照明光111の波長の光を反射するとともに、照明光111の励起により標本12から発せられる波長の長い微弱な蛍光の波長を透過し、蛍光の波長よりさらに波長の長い焦点検出で用いる焦点検出光141も透過するように設定されている。
照明系には、カバーガラス13で全反射した戻り光113が、観察光学系に漏れ出さないようになり、遮光板71が、ダイクロイックミラー3より標本側に配置される。
焦点検出系では、生細胞にダメージを与えにくい赤外域の所定波長のレーザ光を発する焦点検出光源60、及びコリメートレンズ61を、それぞれの光軸を一致するように配置している。焦点検出光源60からのレーザ光を、コリメートレンズ61、半透過ミラー63、焦点検出光ダイクロイックミラー69、ダイクロイックミラー3を介して対物レンズ4の焦点位置で集光させるように各々が調整されている。
半透過ミラー63は、焦点検出光源60からの所定波長のレーザ光を半透過するとともに、残りの半分の光量を反射するように設定されている。
焦点検出光ダイクロイックミラー69は、蛍光の波長を透過すると共に、蛍光より波長の長い焦点検出光141を反射するように設定されている。
焦点検出光源60からのレーザ光は、コリメートレンズ61の瞳位置に配置された遮光板62でその半分を遮光された焦点検出光141として対物レンズ4に入射され、カバーガラス13と標本12の密着面で焦点を結ぶと共に反射されて対物レンズ4の中心軸に対して焦点検出光141と軸対称な焦点検出戻り光142となる。
遮光板62は、焦点検出光の断面から見て半円形に遮光するように、円板状のガラス板の半円部分を遮光し、残りを透過させている。
カバーガラス13と標本12の密着面で反射した焦点検出戻り光142は、ダイクロイックミラー3を透過し、焦点検出用ダイクロイックミラー69で反射し、半透過ミラー63でその半分の光量が反射して遮光板62で遮光され、残り半分の光量が透過する。半透過ミラー63を透過した焦点検出戻り光142は、焦点検出光軸と光軸を一致した焦点検出用レンズ64にて集光され、波長カット板70にて焦点検出光源60の波長のみを透過し、焦点検出光軸と軸を一致した2分割検出器65の中心の分割部で焦点を結ぶ。このときの2分割検出器65の集光面66では、2分割検出器65の両検出素子にまたがった小さな集光光が観察される。
2分割検出器65の分割面は、光軸と平行でかつ焦点検出光141と焦点検出戻り光142の分割ラインを含む面と同じ面で構成される。
これにより、カバーガラス13と標本12の密着面に対物レンズ4の焦点が合った状態を検出できる。
図8はカバーガラス13が下方向に動いたとき、焦点検出光141として対物レンズ4に入射されるレーザ光は、カバーガラス13と標本12の密着面で焦点を結ばずに反射して対物レンズ4を透過してもコリメータ光ではない焦点検出戻り光143となる。焦点検出戻り光143は2分割検出器65まで導かれ、2分割検出器65の中心より偏った位置に集光しない状態のまま到達する。したがって2分割検出器65の集光面66では、2分割検出器65の片側素子に偏った大きなボケ光67が観察される。逆に図9のようにカバーガラス13が上方向に動いたときは、カバーガラス13が下方向に動いたときの2分割検出器65の検出素子とは反対の素子に偏った大きなボケ光68が観察される。
以上より焦点検出器の集光面にて両検出素子にまたがった小さな集光光が観察できるように対物レンズを光軸方向に調整する事で焦点調整を行う。
本実施の形態によれば、蛍光像を観察しながら常に対物レンズの焦点位置を検出することができる。また照明光111と焦点検出光141の光源が異なるため、焦点検出光141に赤外光などを用い、生細胞などの標本に与えるダメージを少なくする事ができる。また焦点検出においても、2分割検出器65の集光面のどちらに焦点検出戻り光142が到達しているかで、カバーガラス13が焦点面の上方向にあるのか下方向にあるのか判断できるため、焦点調整時にカバーガラス13の移動方向をこれだけで判断する事ができる。さらに、照明光111のカバーガラス13への入射角を変えてエバネッセント光17の浸み出し深さを変えても、焦点検出はまったく別の光源でおこなっているため焦点検出に影響が出ない。また第1の実施の形態と同様に、顕微鏡などが熱変形をおこしても、長時間にわたり焦点を合わせたまま観察を続けることができる。さらに2分割検出器65における焦点一致の位置をオフセットすることで、対物レンズ4の焦点位置がカバーガラス13と標本12の密着面から離れていても像を観察しながら焦点検出が行える。
(第5の実施の形態)
図10は、本発明の第5の実施の形態にかかる蛍光観察装置の概略構成を示す図である。図10において、図1と同じ部分には同じ符号を付している。
図10において、1は顕微鏡本体で、この顕微鏡本体1は、一般的な倒立型の落射蛍光顕微鏡と同様に、照明光源84、対物レンズ4、ダイクロイックミラー3、光学フィルタ6、ハーフミラー5、および光ディテクタとしての撮像素子7、焦点検出光源87、焦点検出装置89を有しており、それぞれの光軸を一致させて配置されている。照明光源84による照明光は、標本12を励起する所定波長の光のみを透過する励起フィルタ85を通って標本12を照射する。対物レンズ4は、NA(対物レンズの開口数)>n(観察標本の屈折率)の条件を満たした高い開口数を有する油浸対物レンズからなる。
対物レンズ4の上方に標本12が配置されている。標本12は、顕微鏡本体1の図示しないステージに載置されたカバーガラス13上に密着される。このカバーガラス13は生細胞である標本12の生体活動に必要な水溶液で満たされている。この標本12は、カバーガラス13の屈折率とほぼ同じ屈折率をもつオイル15を介して対物レンズ4の焦点位置に位置されている。
照明光88の励起により、標本12から発せられる微弱な蛍光112は、対物レンズ4及びダイクロイックミラー3を透過し、光学フィルタ6を介してハーフミラー5に入射される。ハーフミラー5は、観察光軸に対して挿脱ができるようになっており、光軸に挿入された時には、蛍光112を分割し、一方の分割蛍光が接眼レンズ16を介して観察可能であり、他方の分割蛍光が撮像素子7に入射する。一方、ハーフミラー5が光軸から抜かれた時には、蛍光112がすべて撮像素子7に導かれる。光学フィルタ6は、ダイクロイックミラー3などとともに観察光学系を構成するものであって、特定の波長の光を選択的に通すことができる。ここでは、光学フィルタ6として、照明光88の波長の光と焦点検出光151の波長の光を遮断し、照明光88よりも波長が長い蛍光112の光を通過させるものが用いられる。標本12からの蛍光112は、光学フィルタ6を通過し、蛍光像として観察されるとともに、撮像素子7により撮像される。
焦点検出系は、生細胞である標本にダメージを与えにくい赤外域の所定波長のレーザ光を発する焦点検出光源87、集光レンズ86を、それぞれの光軸が一致するように配置しており、焦点検出光源87からのレーザ光を集光レンズ86及びダイクロイックミラー3を介して対物レンズ4の後ろ側焦点位置に集光させるように調整されている。
ダイクロイックミラー3は、励起光88よりも波長の長い蛍光の波長を透過し、焦点検出光源87からの赤外域の所定波長の焦点検出光151を反射するとともに、励起光88を通さないように設定されている。
ダイクロイックミラー3で反射された焦点検出光源87のレーザ光は、焦点検出光151として対物レンズ4を介して標本12に照射される。
焦点検出光151は、対物レンズ4の外周部分を通る小さい光束径で、カバーガラス13と標本12の密着面で全反射する入射角度に調整されており、カバーガラス13と標本12の密着面で全反射したときに標本12側にエバネッセント光17を生成する。エバネッセント光17は、その焦点検出光151の波長より短い距離でカバーガラス13の標本12側に局在する。焦点検出光151はカバーガラス13で全反射した後、対物レンズ4の中心軸に対して焦点検出光151と軸対称な対物レンズ4の後ろ側焦点位置で集光され、焦点検出戻り光152としてダイクロイックミラー3で反射して顕微鏡本体1の内面で遮光される。
エバネッセント光17が標本12に当たるとその散乱光161が発生する。散乱光161はダイクロイックミラー3で反射し、焦点検出装置89にはいる。
焦点検出装置89は、集光レンズ80、ピンホール81、フィルタ82、検出器83で構成され、各々が顕微鏡本体1の光軸と一致している。散乱光161は集光レンズ80で検出器83に集光される。集光レンズ80の瞳位置にはピンホール81が配置され、焦点を合わせたい視野中心の散乱光114以外の不要な光線を大幅にカットする。ピンホール81と検出器83の間には、赤外域の所定波長である散乱光161の波長のみを透過しそれ以外の照明光88などの波長を除去するフィルタ82が構成される。
制御部10では、位置調整部14を使って対物レンズ4を光軸方向に動かし、これにより対物レンズ4の焦点位置を光軸方向に動かすことで、散乱光161の複数の像を検出器83で取得し、その信号の強度差などを求める。この信号の強度差から、信号強度が最大になる状態が標本12と対物レンズ4の焦点位置が重なる状態であるとして位置制御部14を制御して対物レンズ4を信号強度が最大になる位置まで光軸方向に動かす。
本実施の形態によれば、数十ナノメートル〜数百ナノメートルという非常に薄いエバネッセント光17の領域に存在する標本12の一部分から発する散乱光161の像を使った、焦点検出と焦点合わせが可能となる。
散乱光161は、上記のように、数十ナノメートル〜数百ナノメートルのエバネッセント光17の領域でしか発光しないため、数十ナノメートル〜数百ナノメートルという精度の焦点検出が効果として得られる。
また生物研究における生細胞内での経時変化を見るためのタイムラプスでは、長期間におよぶ観察が必要となるが、観察装置である顕微鏡は金属とガラスの集合体であり、例えば実験を行う部屋の内部温度が僅かに変化しただけでも顕微鏡が熱変形し、ピント位置がずれるという問題が発生しており、特に、数十から数百nmといった微小領域を観察するエバネッセント光を利用した蛍光観察では、大きな問題となっている。しかしこの実施の形態では、観察している標本の散乱光を使って焦点検出を行うため、顕微鏡などが熱変形をおこしても、長時間にわたり焦点を合わせたまま観察を続けることができる。また焦点を合わせたい部分の像のみをピンホール81で選択するため、焦点とは関係ない像を除去し、焦点検出の精度を上げることができる。
本発明は、上記各実施の形態に限ることなく、その他、実施段階ではその要旨を逸脱しない範囲で種々の変形を実施し得ることが可能である。例えば、上記の各実施の形態では、焦点検出方法を個別に述べたが、適宜組み合わせることができることはもちろんである。さらに、上記各実施形態には、種々の段階の発明が含まれており、開示される複数の構成要件における適宜な組合せにより種々の発明が抽出され得る。
また、例えば各実施形態に示される全構成要件から幾つかの構成要件が削除されても、発明が解決しようとする課題の欄で述べた課題が解決でき、発明の効果で述べられている効果が得られる場合には、この構成要件が削除された構成が発明として抽出され得る。
本発明の第1の実施の形態にかかる蛍光観察装置の概略構成を示す図。 本発明の第2の実施の形態にかかる蛍光観察装置の概略構成を示す図。 本発明の第2の実施の形態の変形例にかかる蛍光観察装置の概略構成を示す図。 本発明の第3の実施の形態にかかる蛍光観察装置の概略構成を示す図。 本発明の第3の実施の形態において、カバーガラスと標本の密着面が下方向に動いたときの焦点検出戻り光の検出位置を示す図。 本発明の第3の実施の形態において、カバーガラスと標本の密着面が上方向に動いたときの焦点検出戻り光の検出位置を示す図。 本発明の第4の実施の形態にかかる蛍光観察装置の概略構成を示す図。 本発明の第4の実施の形態において、カバーガラスと標本の密着面が下方向に動いたときの焦点検出戻り光の検出位置を示す図。 本発明の第4の実施の形態において、カバーガラスと標本の密着面が上方向に動いたときの焦点検出戻り光の検出位置を示す図。 本発明の第5の実施の形態にかかる蛍光観察装置の概略構成を示す図。 従来技術の概略構成を示す図。
符号の説明
1…顕微鏡本体
2…照明部
3…ダイクロイックミラー
4…対物レンズ
5…ハーフミラー
6…光学フィルタ
7…撮像素子
8…照射光源
9…集光レンズ
10…制御部
12…標本
13…カバーガラス
14…位置制御部
15…オイル
16…接眼レンズ
17…エバネッセント光
18…撮像レンズ
30…集光レンズ
31…検出器
32…カバーガラス面
36…エバネッセント光
39…ピンホール
40…光検出器
41…集光ポイント検出器
50…焦点検出用レンズ
52…遮光板
53…焦点検出用レンズ
54…2分割検出器
55…集光面
60…焦点検出光源
61…コリメートレンズ
62…遮光板
63…半透過ミラー
64…焦点検出用レンズ
65…分割検出器
66…集光面
67…ボケ光
69…焦点検出用ダイクロイックミラー
80…集光レンズ
81…ピンホール
82…フィルタ
83…検出器
84…照明光源
85…励起フィルタ
86…集光レンズ
87…焦点検出光源
89…焦点検出装置

Claims (7)

  1. エバネッセント光に基づいて観察標本から発する蛍光像を観察する蛍光観察装置に適用される焦点検出装置において、
    前記蛍光像のコントラストを検出する検出手段と、
    前記検出結果に基づいて焦点を検出する検出手段と、を備えたことを特徴とする焦点検出装置。
  2. エバネッセント光に基づいて観察標本から発する蛍光像を観察する蛍光観察装置に適用される焦点検出装置において、
    前記観察標本と、前記観察標本の屈折率とは異なる屈折率をもつ透明部材との境界面にて全反射した照明光の所定の位置からのずれを検出する検出手段を備えたことを特徴とする焦点検出装置。
  3. エバネッセント光に基づいて観察標本から発する蛍光像を観察する蛍光観察装置に適用される焦点検出装置において、
    照明光を前記境界面に集光させる、前記照明光の光路に挿脱可能な集光レンズと、
    前記集光レンズ挿入時に前記照明光が、前記観察標本と、前記観察標本の屈折率とは異なる屈折率をもつ透明部材との境界面にて反射した反射光を検出する検出器を備えた検出手段と、
    前記反射光を、前記検出器の検出面に集光する結像レンズと、を備えたことを特徴とする焦点検出装置。
  4. エバネッセント光に基づいて観察標本から発する蛍光像を観察する蛍光観察装置に適用される焦点検出装置において、
    前記観察標本と、前記観察標本の屈折率とは異なる屈折率をもつ透明部材との境界面にて集光する焦点検出光の瞳位置において、焦点検出光をその断面方向で半円形に遮光する遮光板と、
    前記焦点検出光が前記境界面において反射した反射光を検出する検出器を備えた検出手段と、
    前記反射光を、前記検出器の検出面に集光する結像レンズと、を備えたことを特徴とする焦点検出装置。
  5. エバネッセント光に基づいて観察標本から発する蛍光像を観察する蛍光観察装置に適用される焦点検出装置において、
    前記観察標本における前記エバネッセント光の散乱光を検出する検出手段と、
    前記検出手段の近傍に設置され、前記散乱光の一部を透過させるためのピンホールと、を備えたことを特徴とする焦点検出装置。
  6. 請求項4に記載の焦点検出装置において、
    エバネッセント光を生成するための照明光が前記透明部材との境界面で全反射した後の戻り光だけをカットするように配置した照明戻り光カット手段を更に備えたことを特徴とする焦点検出装置。
  7. エバネッセント光に基づいて観察標本から発する蛍光像を観察する蛍光観察装置において、
    請求項1から請求項6のいずれか1項に記載の焦点検出装置と、
    前記焦点検出装置の検出結果に基づいて、自動的に合焦を行う合焦手段と、を備えたことを特徴とする蛍光観察装置。
JP2005012824A 2005-01-20 2005-01-20 焦点検出装置とそれを用いた蛍光観察装置 Expired - Fee Related JP4932162B2 (ja)

Priority Applications (3)

Application Number Priority Date Filing Date Title
JP2005012824A JP4932162B2 (ja) 2005-01-20 2005-01-20 焦点検出装置とそれを用いた蛍光観察装置
US11/328,028 US7304282B2 (en) 2005-01-20 2006-01-09 Focus detection device and fluorescent observation device using the same
US11/876,676 US7612316B2 (en) 2005-01-20 2007-10-22 Focus detection device and fluorescent observation device using the same

Applications Claiming Priority (1)

Application Number Priority Date Filing Date Title
JP2005012824A JP4932162B2 (ja) 2005-01-20 2005-01-20 焦点検出装置とそれを用いた蛍光観察装置

Related Child Applications (1)

Application Number Title Priority Date Filing Date
JP2008036253A Division JP5289792B2 (ja) 2008-02-18 2008-02-18 焦点検出装置とそれを用いた蛍光観察装置

Publications (3)

Publication Number Publication Date
JP2006201465A true JP2006201465A (ja) 2006-08-03
JP2006201465A5 JP2006201465A5 (ja) 2008-03-06
JP4932162B2 JP4932162B2 (ja) 2012-05-16

Family

ID=36682903

Family Applications (1)

Application Number Title Priority Date Filing Date
JP2005012824A Expired - Fee Related JP4932162B2 (ja) 2005-01-20 2005-01-20 焦点検出装置とそれを用いた蛍光観察装置

Country Status (2)

Country Link
US (2) US7304282B2 (ja)
JP (1) JP4932162B2 (ja)

Cited By (5)

* Cited by examiner, † Cited by third party
Publication number Priority date Publication date Assignee Title
WO2008020583A1 (en) * 2006-08-14 2008-02-21 Olympus Corporation Automatic focusing device, microscope and automatic focusing method
WO2010010751A1 (ja) * 2008-07-25 2010-01-28 株式会社 日立ハイテクノロジーズ 全反射蛍光観察装置
JP5463671B2 (ja) * 2007-01-19 2014-04-09 株式会社ニコン 焦点検出装置、顕微鏡
JP2019086799A (ja) * 2013-10-30 2019-06-06 株式会社ニコン 全反射顕微鏡及び全反射顕微鏡の調整方法
JP2022513422A (ja) * 2018-08-20 2022-02-08 ミルテニイ ビオテック ベー.ファー. ウント コー.カーゲー 顕微鏡装置

Families Citing this family (9)

* Cited by examiner, † Cited by third party
Publication number Priority date Publication date Assignee Title
EP1678544A1 (de) * 2003-09-25 2006-07-12 Leica Microsystems CMS GmbH Verfahren zur probenuntersuchung und mikroskop mit evaneszenter probenbeleuchtung
JP5087745B2 (ja) * 2005-09-26 2012-12-05 国立大学法人浜松医科大学 複数の観察手法を用いた顕微鏡細胞観察・検査システム
JP2008276070A (ja) * 2007-05-02 2008-11-13 Olympus Corp 拡大撮像装置
US7883276B2 (en) * 2008-10-14 2011-02-08 Sonosite, Inc. Optical transmission coupling
CN102483509B (zh) 2009-07-13 2015-04-22 株式会社尼康 三维方向漂移控制装置以及显微镜装置
TWI456254B (zh) * 2010-05-19 2014-10-11 Ind Tech Res Inst 螢光顯微影像系統
WO2012097191A2 (en) * 2011-01-12 2012-07-19 Idea Machine Development Design & Production Ltd. Compact microscopy system and method
EP3355038B1 (en) * 2017-01-25 2021-09-08 Specim, Spectral Imaging Oy Ltd Imaging apparatus and operating method
CN113424092B (zh) * 2019-02-20 2024-08-13 索尼集团公司 显微镜系统、焦点调节程序和焦点调节系统

Citations (4)

* Cited by examiner, † Cited by third party
Publication number Priority date Publication date Assignee Title
JPH1024019A (ja) * 1996-07-10 1998-01-27 Konan:Kk 眼球撮影装置
JP2002156578A (ja) * 2000-11-20 2002-05-31 Olympus Optical Co Ltd 焦点検出装置、及びそれを備えた対物レンズ、光学顕微鏡又は光学検査装置
JP2002341234A (ja) * 2001-05-17 2002-11-27 Olympus Optical Co Ltd 顕微鏡用オートフォーカス装置
JP2003177325A (ja) * 2001-12-07 2003-06-27 Olympus Optical Co Ltd 全反射蛍光顕微鏡

Family Cites Families (5)

* Cited by examiner, † Cited by third party
Publication number Priority date Publication date Assignee Title
US6594011B1 (en) * 2000-07-11 2003-07-15 Maven Technologies, Llc Imaging apparatus and method
IL148664A0 (en) * 2002-03-13 2002-09-12 Yeda Res & Dev Auto-focusing method and device
JP2003270524A (ja) 2002-03-19 2003-09-25 Nikon Corp 焦点検出装置およびこれを備えた顕微鏡、および、焦点検出方法
JP4370554B2 (ja) * 2002-06-14 2009-11-25 株式会社ニコン オートフォーカス装置およびオートフォーカス付き顕微鏡
DE10309269B4 (de) * 2003-03-03 2005-06-02 Till Photonics Gmbh Vorrichtung für Totale Interne Reflexions-Mikroskopie

Patent Citations (4)

* Cited by examiner, † Cited by third party
Publication number Priority date Publication date Assignee Title
JPH1024019A (ja) * 1996-07-10 1998-01-27 Konan:Kk 眼球撮影装置
JP2002156578A (ja) * 2000-11-20 2002-05-31 Olympus Optical Co Ltd 焦点検出装置、及びそれを備えた対物レンズ、光学顕微鏡又は光学検査装置
JP2002341234A (ja) * 2001-05-17 2002-11-27 Olympus Optical Co Ltd 顕微鏡用オートフォーカス装置
JP2003177325A (ja) * 2001-12-07 2003-06-27 Olympus Optical Co Ltd 全反射蛍光顕微鏡

Cited By (11)

* Cited by examiner, † Cited by third party
Publication number Priority date Publication date Assignee Title
WO2008020583A1 (en) * 2006-08-14 2008-02-21 Olympus Corporation Automatic focusing device, microscope and automatic focusing method
JP2008046305A (ja) * 2006-08-14 2008-02-28 Olympus Corp 自動合焦装置、顕微鏡および自動合焦方法
US8237785B2 (en) 2006-08-14 2012-08-07 Olympus Corporation Automatic focusing apparatus for use in a microscope in which fluorescence emitted from a cell is captured so as to acquire a cell image, and automatic focusing method therefor
JP5463671B2 (ja) * 2007-01-19 2014-04-09 株式会社ニコン 焦点検出装置、顕微鏡
WO2010010751A1 (ja) * 2008-07-25 2010-01-28 株式会社 日立ハイテクノロジーズ 全反射蛍光観察装置
US8324596B2 (en) 2008-07-25 2012-12-04 Hitachi High-Technologies Corporation Total internal reflection fluorescence (TIRF) observation device
JP5111608B2 (ja) * 2008-07-25 2013-01-09 株式会社日立ハイテクノロジーズ 全反射蛍光観察装置
JP2019086799A (ja) * 2013-10-30 2019-06-06 株式会社ニコン 全反射顕微鏡及び全反射顕微鏡の調整方法
US10809511B2 (en) 2013-10-30 2020-10-20 Nikon Corporation Total internal reflection microscope
JP2022513422A (ja) * 2018-08-20 2022-02-08 ミルテニイ ビオテック ベー.ファー. ウント コー.カーゲー 顕微鏡装置
JP7270033B2 (ja) 2018-08-20 2023-05-09 ミルテニイ ビオテック ベー.ファー. ウント コー.カーゲー 顕微鏡装置

Also Published As

Publication number Publication date
US7612316B2 (en) 2009-11-03
JP4932162B2 (ja) 2012-05-16
US7304282B2 (en) 2007-12-04
US20060157637A1 (en) 2006-07-20
US20080179491A1 (en) 2008-07-31

Similar Documents

Publication Publication Date Title
US7612316B2 (en) Focus detection device and fluorescent observation device using the same
US10690898B2 (en) Light-field microscope with selective-plane illumination
EP3368887B1 (en) Method with transillumination-based autofocusing for photoluminescence imaging
JP5286774B2 (ja) 顕微鏡装置と、これに用いられる蛍光キューブ
EP3278164B1 (en) System and method for continuous, asynchronous autofocus of optical instruments
JP2018146602A (ja) 観察装置
JP5655617B2 (ja) 顕微鏡
EP3074807B1 (en) Optical arrangement for imaging a sample
JP5289792B2 (ja) 焦点検出装置とそれを用いた蛍光観察装置
JP5107003B2 (ja) エバネッセント波発生装置及びそれを用いた観察装置
US20250341712A1 (en) Apparatuses, systems and methods for solid immersion meniscus lenses
EP2458420B1 (en) Microscope
JP2010091679A (ja) 顕微鏡装置とこれに用いられる蛍光キューブ
US6940641B2 (en) Fluorescence observation apparatus
US7948629B2 (en) Microscope and method for total internal reflection-microscopy
JP2012212018A (ja) 焦点維持装置及び顕微鏡装置
Boutilier et al. Development of an auto-interchangeable multi-pinhole array for confocal laser scanning microscopy systems using precision laser processing
JP2009145102A (ja) エバネッセント波発生装置及びそれを用いた観察装置
JP3908022B2 (ja) 蛍光観察装置
US7382530B2 (en) Method for the adjustment of a light source in a microscope
Denyshchenko et al. CELS‐3D—Cutting edge light source for exciting fluorescence in microtome‐based 3D microscopy and targeted correlative microscopy
JP2007293210A (ja) イメージング装置
JP2010145950A (ja) 液浸対物レンズ及びこの液浸対物レンズを有する顕微鏡
JP2007193213A (ja) 全反射蛍光顕微鏡
JP2010139757A (ja) コンデンサレンズ、顕微鏡装置

Legal Events

Date Code Title Description
A521 Request for written amendment filed

Free format text: JAPANESE INTERMEDIATE CODE: A523

Effective date: 20080118

A621 Written request for application examination

Free format text: JAPANESE INTERMEDIATE CODE: A621

Effective date: 20080118

A977 Report on retrieval

Free format text: JAPANESE INTERMEDIATE CODE: A971007

Effective date: 20110111

A131 Notification of reasons for refusal

Free format text: JAPANESE INTERMEDIATE CODE: A131

Effective date: 20110301

A521 Request for written amendment filed

Free format text: JAPANESE INTERMEDIATE CODE: A523

Effective date: 20110502

TRDD Decision of grant or rejection written
A01 Written decision to grant a patent or to grant a registration (utility model)

Free format text: JAPANESE INTERMEDIATE CODE: A01

Effective date: 20120207

A01 Written decision to grant a patent or to grant a registration (utility model)

Free format text: JAPANESE INTERMEDIATE CODE: A01

A61 First payment of annual fees (during grant procedure)

Free format text: JAPANESE INTERMEDIATE CODE: A61

Effective date: 20120215

R151 Written notification of patent or utility model registration

Ref document number: 4932162

Country of ref document: JP

Free format text: JAPANESE INTERMEDIATE CODE: R151

FPAY Renewal fee payment (event date is renewal date of database)

Free format text: PAYMENT UNTIL: 20150224

Year of fee payment: 3

S531 Written request for registration of change of domicile

Free format text: JAPANESE INTERMEDIATE CODE: R313531

R350 Written notification of registration of transfer

Free format text: JAPANESE INTERMEDIATE CODE: R350

R250 Receipt of annual fees

Free format text: JAPANESE INTERMEDIATE CODE: R250

R250 Receipt of annual fees

Free format text: JAPANESE INTERMEDIATE CODE: R250

R250 Receipt of annual fees

Free format text: JAPANESE INTERMEDIATE CODE: R250

R250 Receipt of annual fees

Free format text: JAPANESE INTERMEDIATE CODE: R250

S111 Request for change of ownership or part of ownership

Free format text: JAPANESE INTERMEDIATE CODE: R313111

R371 Transfer withdrawn

Free format text: JAPANESE INTERMEDIATE CODE: R371

S111 Request for change of ownership or part of ownership

Free format text: JAPANESE INTERMEDIATE CODE: R313111

LAPS Cancellation because of no payment of annual fees
R371 Transfer withdrawn

Free format text: JAPANESE INTERMEDIATE CODE: R371