JP2005299225A - 棟金具 - Google Patents

棟金具 Download PDF

Info

Publication number
JP2005299225A
JP2005299225A JP2004116893A JP2004116893A JP2005299225A JP 2005299225 A JP2005299225 A JP 2005299225A JP 2004116893 A JP2004116893 A JP 2004116893A JP 2004116893 A JP2004116893 A JP 2004116893A JP 2005299225 A JP2005299225 A JP 2005299225A
Authority
JP
Japan
Prior art keywords
ridge
head
tile
leg
fixing
Prior art date
Legal status (The legal status is an assumption and is not a legal conclusion. Google has not performed a legal analysis and makes no representation as to the accuracy of the status listed.)
Granted
Application number
JP2004116893A
Other languages
English (en)
Other versions
JP3880979B2 (ja
Inventor
Teruo Tanaka
輝夫 田中
Current Assignee (The listed assignees may be inaccurate. Google has not performed a legal analysis and makes no representation or warranty as to the accuracy of the list.)
Individual
Original Assignee
Individual
Priority date (The priority date is an assumption and is not a legal conclusion. Google has not performed a legal analysis and makes no representation as to the accuracy of the date listed.)
Filing date
Publication date
Application filed by Individual filed Critical Individual
Priority to JP2004116893A priority Critical patent/JP3880979B2/ja
Publication of JP2005299225A publication Critical patent/JP2005299225A/ja
Application granted granted Critical
Publication of JP3880979B2 publication Critical patent/JP3880979B2/ja
Anticipated expiration legal-status Critical
Expired - Fee Related legal-status Critical Current

Links

Images

Landscapes

  • Roof Covering Using Slabs Or Stiff Sheets (AREA)

Abstract


【課題】頭部の高さが調整可能で、多機能の棟金具を提供する。
【解決手段】この棟金具は、底面部と側面部とから成り棟瓦固定用木材を保持する頭部(10)と、この頭部の底面部から下方に向けて延長されこの延長方向に離間して形成される幅方向への切り欠きの箇所で棟瓦固定用木材の延長方向と直交する方向に互いに離間するように折り曲げられる1対の脚板から成る脚部(20)とを備えている。そして、頭部の底面部は、保持対象の棟瓦固定用木材の長手方向と幅方向とに沿って適宜な距離離間しかつこの底面部の中央部分に相互の連結部分を有する第1,第2の部分から成り、側面部(12,13) は底面部に対して折り曲げ自在に連結され、棟瓦固定用木材の長手方向に沿って互いに分離された複数の側板(12a,12b,13a,13b) から成り、1対の脚板(21,22) は底面部の第1,第2の部分の相互の連結部分を除く箇所に連結される。
【選択図】 図1

Description

本発明は、屋根の頂部を覆う棟瓦を固定するのに使用される棟金具に関するものであり、特に、使用する瓦の種類に応じて頭部の高さと形状を現場で変更できるようにした棟金具に関するものである。
従来、屋根の頂部で棟瓦を固定するための器具として棟金具が使用されている。この種の棟金具は、例えば実公平7−32716号公報の図4に従来例として記載されているように、棟瓦固定用木材を保持する上向きのコの字形状を呈する頭部と、この頭部の下に延長される所定長の胴部と、この胴部の下方に左右に開いた状態で取付けられ、屋根への固定に使用される脚部から構成される。
上記実公平7−32716号公報には、実質的な胴部の長さ、したがって、脚部の取付け箇所からの頭部の高さを、瓦の種類などに応じて現場で調整可能とした棟金具が開示されている。すなわち、図9の斜視図に示すように、上向きのコの字形状を呈する頭部51の下方に一定長の胴部52が取付けられ、この胴部52の下方にさらに脚部53が取付けられる。この脚部53を構成する2枚の脚板53a,53bは、使用前は、図中に点線で示すように、互いに真っ直ぐな閉脚状態に保たれる。脚板53a,53bのそれぞれには、その長さ方向に離散させて幅方向の切り欠き53cが複数形成されている。
この棟金具の使用時には、曲げ剛性を減少させた切り欠き部53cの形成箇所で、2枚の脚板を相互に離間するように湾曲させることにより、図9に実線で示すような開脚の状態にする。この開脚の状態で、釘穴53dを通して釘を打ち込むことによりこの棟金具を屋根の頂部に固定する。次いで、図中の矢印で示すZ軸方向に延長される棟瓦固定用木材が頭部51に保持され、釘穴51cを通して打ち込まれる釘によりこの頭部51に固定される。この棟金具は、屋根の頂部の稜線方向に沿って、適宜な間隔で複数設置される。
この棟金具は、製造コストを減少させるために、1枚の金属板を折り曲げて作られる。すなわち、図10に示すように、打ち抜きとプレス加工によって成型した1枚の金属板を点線に沿って折り曲げることにより、図9に示したような立体形状の棟金具が作成される。なお、図10において、51aは頭部の底板、51bは頭部の側板である。なお、図10において、幅方向への切り欠きや釘穴は、便宜上、図示が省略されている。
実公平7−32716号公報
図9と図10に示した頭部の高さを調整できる従来の棟金具は、連結部52aの長さで決まる固定長の胴部52の下方に、可変長の脚部53を取付けた構造となっている。このため、図9に示すように1枚の金属板を折り曲げて作るという方法を採用する限り、胴部52の長さをゼロにすることができないという問題がある。この胴部をゼロにしたいという要求は、プレハブ住宅用の薄型のスレート瓦を葺く場合などにしばしば生じる。コの字形状の頭部と脚部を別々に作成し、溶接やネジ止めによって相互を連結する製造方法に変更すれば、胴部を省略でき、従ってその長さをゼロにできる。しかしながら、この製造方法では、図10に示すように打ち抜きとプレス加工によって成型した1枚の金属板を折り曲げて立体構造を完成させるという製造方法に比べて、溶接やネジ止めなどの接合工程が必要になり、製造コストが上昇するという問題がある。
また、従来の棟金具は、棟瓦固定用木材の保持という単一の機能しか備えていない。すなわち、貫板など種々の部品が固定される屋根の頂部に設置されるという利点を十分に活かしきれていないという問題もある。さらに、従来の棟金具の構造では、棟瓦を止めるために上方から下方に向けて打ち込まれる釘が長すぎて保持中の棟瓦固定用木材を貫通した時に、頭部の底板に当たってしまい固定の機能が阻害されてしまうという問題があった。さらに、従来の棟金具では、棟瓦の固定専用となっており、棟瓦ではなく棟トタンを固定する用途には使用できないという問題がある。
従って、本発明の一つの目的は、頭部の高さを胴部がゼロの場合も含めて調整可能な棟金具、特に、1枚の金属板を折り曲げて立体構造を完成させる製造方法が適用可能な棟金具を提供することにある。本発明の他の目的は、棟瓦固定用木材を保持するという従来の機能に加えて、他の部品を保持するという新たな機能も兼ねた多機能の棟金具を提供することにある。本発明のさらに他の目的は、上方から打ち込まれる長すぎる釘に対して逃げの空間を提供可能な棟金具を提供することにある。本発明のさらに他の目的は、棟瓦ではなく棟トタンを設置する場合にも適用できる万能の棟金具を提供することにある。
上記従来技術の課題を解決する本発明の棟金具は、底面部と側面部とから成り棟瓦固定用木材を保持する頭部と、この頭部の底面部から下方に向けて延長されこの延長方向に離間して形成される幅方向への切り欠きの箇所において棟瓦固定用木材の延長方向と直交する方向に互いに離間するように折り曲げられる1対の脚板から成る脚部とを備えている。そして、上頭部の底面部は、保持対象の棟瓦固定用木材の長手方向と幅方向とに沿って適宜な距離離間しかつこの底面部の中央部分に相互の連結部分を有する第1,第2の部分から成り、上記頭部の側面部は底面部に対して折り曲げ自在に連結されると共に、棟瓦固定用木材の長手方向に沿って互いに分離された複数の側板から成り、上記1対の脚板は頭部の底面部の第1,第2の部分の相互の連結部分を除く箇所に連結されている。
本発明の棟金具においては、1対の脚板が、底面部の中央部分の連結部分を除く箇所に連結されているので、頭部の高さを胴部がゼロの場合をもめて調整できる。特に、打ち抜きとプレス加工によって成型された1枚の金属板を折り曲げて立体構造を完成する製造方法が採用でき、製造コストが低減されるという効果が奏される。
また、頭部の底面部の第1,第2の部分に連なる側面部は、棟瓦固定用木材の長手方向に沿って互いに分離された複数の側板から構成されている。このため、棟瓦固定用木材の保持に2個の側板を割り当て、残りの側板を他の部品の保持用に割り当てることが可能になるという効果が奏される。
さらに、本発明の棟金具では、頭部の底面部が保持対象の棟瓦固定用木材の長手方向と幅方向に沿って適宜な距離離間しかつ頭部の棟瓦固定用木材の長手方向の中央部において互いに連結される第1,第2の部分から構成されので、第1,第2の部分の前後に逃げ用の空間が形成される。この結果、棟瓦を止める際に釘が長すぎて保持中の棟瓦固定用木材を貫通した場合、この逃げ用の空間に釘の先端部を誘導することにより、釘の先端部が底面部に衝突する事態を回避できるという効果が奏される。
さらに本発明の棟金具は、頭部の側面部がその底面部に対して折り曲げ自在に連結されているので、複数の側板のすべてをほぼ水平方向に延長させることにより、棟瓦の保持用としてだけではなく、棟トタンの保持用としても使用することができる。
本発明の一つの好適な実施の形態によれば、棟金具が打ち抜きとプレス加工によって成型された1枚の金属板を折り曲げることによって立体構造を完成するという製造方法が適用されるので、安価な製造コストの棟金具を提供できるという効果が奏される。
本発明の他の好適な実施の形態によれば、頭部の側面部の複数の側板のうち少なくとも二つは、斜め下方に折り曲げられて貫板に固定されることにより、棟瓦固定用木材保持の機能に加えて貫板保持の機能も有するという効果が奏される。
本発明のさらに他の好適な実施の形態によれば、1対の脚板のそれぞれは、連結部の下方において拡幅部分が形成され、この拡幅部分に屋根への固定用釘穴が形成されることにより、この棟金具を3〜4cmの比較的小さな幅の垂木の上に固定することが可能になるという効果が奏される。
さらに本発明のさらに他の好適な実施の形態によれば、頭部の複数の側板のすべてをほぼ水平状態に保つことにより、棟瓦ではなく棟トタンの保持用として使用される。
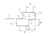
図1は本発明の一実施例の棟金具の構成を示す斜視図である。この実施例の棟金具は概ね上向きのコの字形状を呈する頭部10と、この頭部10からその下方に向けて延長される脚部20とから構成されている。脚部20を構成する2枚の脚板21と22には、幅方向への切り欠き21a,22aが脚板21,22のそれぞれの長手方向に適宜な距離で離間して複数形成されている。
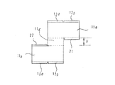
図2の平面図を参照すると、頭部10の底面部11は、矢印で示す棟瓦固定用木材の長手方向(Z軸)に沿って距離ΔLだけ離間すると共に、この長手方向に直交する棟瓦固定用木材の幅方向にΔWだけ離間した第1,第2の部分11a,11bと、この底面部11の中央部分において第1,第2の部分11a,11bを連結する相互の連結部分11cとから構成されている。底面部11の第1の部分11aに折り曲げ自在に連結される側面部12は、棟瓦固定用木材の長手方向に沿って分離された2個の側板12a,12bから構成されている。同様に、底面部11の第2の部分11bに折り曲げ自在に連結される側面部13は、棟瓦固定用木材の長手方向に沿って分離された2個の側板13a,13bから構成されている。脚部20の2枚の脚板21と22は、底面部11の第1,第2の部分の相互の連結部分11cを除く箇所に折り曲げ自在に連結されている。
図1、図2に示した本実施例の棟金具は、図3に示すように打ち抜き・プレス成型された1枚の金属板を点線のまわりに折り曲げることによって作成される。図3では、脚板21と22をそれぞれ、点線で示した底面部の第1,第2の部分11a,11bとの境界線のまわりに紙面の裏側に向けて角度90°だけ折り曲げ、4枚の側板12a,12b,13a,13bを点線で示した底面部の第1,第2の部分11a,11bとの境界線のまわりに紙面の表側に向けて角度90°だけ折り曲げることにより、図1と図2に示した立体構造の棟金具が作成される。
なお、図3では便宜上、打ち抜きとプレス加工によって一時に形成される複数の切り欠きと釘穴の図示が省略されている。また、底面部11と側面部12,13間の点線で示す折り曲げ自在な連結箇所には、厚みを減らして曲げ剛性を低下させるための溝が形成されているが、便宜上この溝の図示が省略されている。
図1を参照すると、脚板21と22は頭部10からあるていど離れた箇所で幅が拡大されるという拡幅が行われている。そして、この拡幅部分に屋根への固定用釘穴21b,22bが形成される。これは、この棟金具の脚部を釘で固定する垂木の幅が典型的には3cm〜4cmの範囲であることを考慮したものである。すなわち、脚板21,22に形成した釘穴の間隔が垂木の幅よりも大きくなって、垂木への釘打ちによる固定ができなくなるという問題を解決するための構成である。すなわち、脚板21,22に拡幅部分を形成し、この拡幅部分に釘穴21b,22bを形成することにより、釘穴21bと22bとの間隔を、通常3cm〜4cmという垂木の幅よりも小さな値に設定したものである。
図4は、頭部の形状の一例を示す斜視図である。この頭部の形状は、頭部の側板12a,13bを直立させて棟瓦固定用木材の保持用に割り当てると共に、側板13a,12bをほぼ水平状態に保つことにより、これらの側板13a,12bを貫板などの平板の保持用に割り当てるようにした場合のものである。これについては、図6を参照しながら後述する。
図5は、頭部の他の形状の一例を示す斜視図である。この頭部の形状は、頭部の全ての側板12a,12b,13a,13bをほぼ水平状態に保持することにより、全ての側板を棟トタンの保持用に割り当てるようるした場合のものである。これについては、図7を参照しながら後述する。
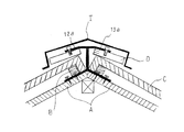
図6は、この実施例の棟金具を屋根の頂部に設置して棟瓦の保持に使用する様子を他の部品との関連と共に示す断面図である。まず、頭部から下方の開脚部分までの長さが所望の値となるように、開脚状態にしたこの実施例の棟金具が幅3〜4cmの垂木Aに釘で固定される。次いで、瓦桟Bと瓦Cを順次取付け、この瓦Cの上に貫板、平割板などの平板Dを載置する。この平板Dに対して斜め下方に折り曲げた側板12bと13aの釘穴を通してネジを挿入し、螺合させることにより、平板Dを棟金具の側板12bと13aに固定する。
次に、棟金具の頭部20に、棟瓦固定用木材Eを載置し、側板12a,13bに形成されている釘穴を通して釘を打ち込むことにより、棟瓦固定用木材Eを棟金具の頭部に固定する。こののち、平板Dの上に面土用瓦Fが載置され、この面土用瓦Fに予め作られている釘穴を通して釘が打ち込まれることにより、面土用瓦Fが平板Dに固定される。続いて、面土用瓦Fの上に棟瓦Gを載置する。最後に、棟瓦Gの頂部に形成されている釘穴を通して、棟瓦固定用木材Eに向けて長目の釘Hが下方に向けて打ち込まれる。
この際、図6に例示するように、釘Hが長すぎると、その先端部が棟金具の頭部の底板に衝突してしまい、棟瓦Gの固定に支障が生じる。この実施例の棟金具では、底面部11の第1,第2の部分11a,11bが棟瓦固定用木材の長手方向と幅方向にそれぞれ、ΔL,ΔWだけ離間しているため、釘の先端部を逃がすための合計2ΔL×ΔWの面積の空間が、底面部11の周辺部に形成される。この逃げの空間に向けて、釘を斜めに打ち込むことにより、釘が長すぎる場合の上記問題を解決することができる。
図7は、この実施例の棟金具を屋根の頂部に設置し、棟瓦ではなく棟トタンの保持に使用する様子を他の部品との関連と共に示す断面図である。この例では、頭部のすべての側板をほぼ水平状態に保った頭部の形状の棟金具が使用される。瓦桟Bと瓦Cを順次取付けるところまでは、図6に関して説明したと同様である。こののち、貫板などの平板Dに対して側面部の側板12a,12b,13a,13bの釘穴を通してネジを挿入し、螺合させることにより、平板Dを棟金具の側面部の側板12a,12b,13a,13bに固定する。次いで、棟金具の上に棟トタンIを被せ、棟トタンを通して平板Dに釘を打ち込むことにより、平板Dに棟トタンIを固定する。
図8は、本発明の他の実施例の棟金具の構成を示す平面図である。この実施例では、底面部11の第1の部分11aと、第2の部分11bとを中心部分で連結する連結部11cが、適宜な幅uを有している。この図5の構成を連結部の幅uが適宜な値を有する一般的な構成とすると、図1〜図3を参照して説明した最初の実施例は連結部分の幅uがゼロとなるような特殊な構成に該当する。
以上、頭部の底板部を平坦にする構成を例示した。しかしながら、底面部11の連結部11cに断面が半円形状で棟瓦固定用木材の長手方向に延長される溝を形成し、この溝に断面が円柱形状の鉄筋などを保持させる機構を付加することもできる。
本発明の実施例の頭部の高さが調整可能な棟金具の構成を示す斜視図である。 上記実施例の棟金具の平面図である。 上記実施例の棟金具の立体構造を作成する前の裁断されプレスされた一枚の金 属板の形状を示す平面図である。 上記実施例の棟金具の変更可能な頭部の形状の一例を示す斜視図である。 上記実施例の棟金具の変更可能な頭部の形状の他の一例を示す斜視図である。 上記実施例の棟金具を屋根に設置し棟瓦の固定に使用する状態を他の部品との 関連と共に示す断面図である。 上記実施例の棟金具を屋根に設置し棟トタンの固定に使用する状態を他の部品 との関連と共に示す断面図である。 本発明の他の実施例の棟金具の構成を示す平面図である。 従来の頭部の高さが調整可能な棟金具の構成を示す斜視図である。 上記従来例の棟金具の立体構造を作成する前の裁断されプレスされた一枚 の金属板の形状を示す平面図である。
符号の説明
10 頭部
11 底面部
11a,11b 底面部の第1, 第2の部分
12a,12b,13a,13b 側面部の側板
20 脚部
21,22 脚板
21a,22a 切り欠き
21b,22b 釘穴
A 垂木
C 瓦
D 貫板などの平板
E 棟瓦固定用木材
F 面土用瓦
G 棟瓦
H 釘
I 棟トタン
u 底面部の連結部の幅

Claims (5)

  1. 底面部と側面部とから成り棟瓦固定用木材を保持する頭部と、この頭部の底面部から下方に向けて延長されこの延長方向に離間して形成される幅方向への切り欠きの箇所において前記棟瓦固定用木材の延長方向と直交する方向に互いに離間するように折り曲げられる1対の脚板から成る脚部とを備えた棟金具において、
    前記頭部の底面部は、前記保持対象の棟瓦固定用木材の長手方向と幅方向とに沿って適宜な距離離間しかつこの底面部の中央部分に相互の連結部分を有する第1,第2の部分から成ることと、
    前記側面部は前記底面部に対して折り曲げ自在に連結されると共に、前記棟瓦固定用木材の長手方向に沿って互いに分離された複数の側板から成ることと、
    前記1対の脚板は、前記底面部の第1,第2の部分の相互の連結部分を除く箇所に連結されたことを特徴とする棟金具。
  2. 請求項1において、
    前記棟金具は、打ち抜きとプレス加工によって成型された1枚の金属板を折り曲げることにより完成させた立体構造を有することを特徴とする棟金具。
  3. 請求項1又は2のいずれかにおいて、
    前記頭部の側面部の複数の側板のうち少なくとも二つは、斜め下方に折り曲げられて貫板に固定されることを特徴とする棟金具。
  4. 請求項1乃至3のいずれか一つにおいて、
    前記頭部の側面部の複数の側板はすべてほほ水平方向に延長され、棟トタンを保持するための平板の保持に使用されることを特徴とする棟金具。
  5. 請求項1乃至4のいずれかにおいて、 前記1対の脚部は、連結部の下方において拡幅部分が形成され、この拡幅部分に屋根への固定用釘穴が形成されたことを特徴とする棟金具。
JP2004116893A 2004-04-12 2004-04-12 棟金具 Expired - Fee Related JP3880979B2 (ja)

Priority Applications (1)

Application Number Priority Date Filing Date Title
JP2004116893A JP3880979B2 (ja) 2004-04-12 2004-04-12 棟金具

Applications Claiming Priority (1)

Application Number Priority Date Filing Date Title
JP2004116893A JP3880979B2 (ja) 2004-04-12 2004-04-12 棟金具

Publications (2)

Publication Number Publication Date
JP2005299225A true JP2005299225A (ja) 2005-10-27
JP3880979B2 JP3880979B2 (ja) 2007-02-14

Family

ID=35331110

Family Applications (1)

Application Number Title Priority Date Filing Date
JP2004116893A Expired - Fee Related JP3880979B2 (ja) 2004-04-12 2004-04-12 棟金具

Country Status (1)

Country Link
JP (1) JP3880979B2 (ja)

Cited By (2)

* Cited by examiner, † Cited by third party
Publication number Priority date Publication date Assignee Title
JP2008156830A (ja) * 2006-12-21 2008-07-10 Asahi Fiber Glass Co Ltd 桟材の取付け具、及び床用断熱材の支持構造
JP2010281136A (ja) * 2009-06-05 2010-12-16 Kmew Co Ltd 棟受け金具及び棟受け金具成形用板材

Cited By (2)

* Cited by examiner, † Cited by third party
Publication number Priority date Publication date Assignee Title
JP2008156830A (ja) * 2006-12-21 2008-07-10 Asahi Fiber Glass Co Ltd 桟材の取付け具、及び床用断熱材の支持構造
JP2010281136A (ja) * 2009-06-05 2010-12-16 Kmew Co Ltd 棟受け金具及び棟受け金具成形用板材

Also Published As

Publication number Publication date
JP3880979B2 (ja) 2007-02-14

Similar Documents

Publication Publication Date Title
US7788873B2 (en) Gable end brace
KR102124775B1 (ko) 조립식 무용접 트러스
US9689173B2 (en) Structure attached with vibration control device
JP6836609B2 (ja) 通気式屋根棟用のせん断タイシステム
US20130055656A1 (en) Gable overhang structure
JP3880979B2 (ja) 棟金具
AU2008233436B2 (en) A bracket
JP5172607B2 (ja) 扁平柱と梁との接合部構造
US20080295447A1 (en) Method of reinforcing a corrugated steel floor panel
JP3877221B2 (ja) 入隅部用内壁パネル固定金具及び入隅部における内壁パネルの固定構造
US20040206031A1 (en) Connecting devices
KR200413696Y1 (ko) 벽 패널용 지지장치
JP3050171U (ja) 木造建築物の接合金具
JP6889547B2 (ja) 建築板の施工構造および建築板の施工方法
RU56977U1 (ru) Соединительная деталь для соединения длинномерных элементов и заготовка соединительной детали
SE427127B (sv) Spontat bredverk samt sett att montera detta
JPH0726516Y2 (ja) 既設壁部と新設壁部間の間隔保持具
JP4070019B2 (ja) 垂木固定部材
JP4309809B2 (ja) 建物の床根太
JP2000336818A (ja) 床下地材の固定構造
JP2023020468A (ja) くつずりの構造及びくつずりの施工方法並びにくつずり用固定部材
JP3015819U (ja) 木造建築物のパネル取付構造およびパネルユニット
JP3668541B2 (ja) 建材接続金具
JPS6035691Y2 (ja) 軒先装置
JP2009007770A (ja) 枠組壁工法および枠組壁構造

Legal Events

Date Code Title Description
A977 Report on retrieval

Free format text: JAPANESE INTERMEDIATE CODE: A971007

Effective date: 20060529

A131 Notification of reasons for refusal

Free format text: JAPANESE INTERMEDIATE CODE: A131

Effective date: 20060606

A521 Written amendment

Free format text: JAPANESE INTERMEDIATE CODE: A523

Effective date: 20060707

A131 Notification of reasons for refusal

Free format text: JAPANESE INTERMEDIATE CODE: A131

Effective date: 20060808

A521 Written amendment

Free format text: JAPANESE INTERMEDIATE CODE: A523

Effective date: 20060916

TRDD Decision of grant or rejection written
A01 Written decision to grant a patent or to grant a registration (utility model)

Free format text: JAPANESE INTERMEDIATE CODE: A01

Effective date: 20061031

A61 First payment of annual fees (during grant procedure)

Free format text: JAPANESE INTERMEDIATE CODE: A61

Effective date: 20061108

R150 Certificate of patent (=grant) or registration of utility model

Free format text: JAPANESE INTERMEDIATE CODE: R150

LAPS Cancellation because of no payment of annual fees