JP2005294895A - 無線通信システム、端末装置及び基地局装置 - Google Patents

無線通信システム、端末装置及び基地局装置 Download PDF

Info

Publication number
JP2005294895A
JP2005294895A JP2004102500A JP2004102500A JP2005294895A JP 2005294895 A JP2005294895 A JP 2005294895A JP 2004102500 A JP2004102500 A JP 2004102500A JP 2004102500 A JP2004102500 A JP 2004102500A JP 2005294895 A JP2005294895 A JP 2005294895A
Authority
JP
Japan
Prior art keywords
terminal
signal
base station
downlink
uplink
Prior art date
Legal status (The legal status is an assumption and is not a legal conclusion. Google has not performed a legal analysis and makes no representation as to the accuracy of the status listed.)
Granted
Application number
JP2004102500A
Other languages
English (en)
Other versions
JP4012167B2 (ja
Inventor
Manabu Mukai
学 向井
Tomoya Horiguchi
智哉 堀口
Takeshi Tomizawa
武司 富澤
Kaoru Inoue
薫 井上
Current Assignee (The listed assignees may be inaccurate. Google has not performed a legal analysis and makes no representation or warranty as to the accuracy of the list.)
Toshiba Corp
Original Assignee
Toshiba Corp
Priority date (The priority date is an assumption and is not a legal conclusion. Google has not performed a legal analysis and makes no representation as to the accuracy of the date listed.)
Filing date
Publication date
Application filed by Toshiba Corp filed Critical Toshiba Corp
Priority to JP2004102500A priority Critical patent/JP4012167B2/ja
Priority to US11/072,616 priority patent/US20050232135A1/en
Publication of JP2005294895A publication Critical patent/JP2005294895A/ja
Application granted granted Critical
Publication of JP4012167B2 publication Critical patent/JP4012167B2/ja
Priority to US12/175,505 priority patent/US20080285490A1/en
Anticipated expiration legal-status Critical
Expired - Fee Related legal-status Critical Current

Links

Images

Classifications

    • HELECTRICITY
    • H04ELECTRIC COMMUNICATION TECHNIQUE
    • H04LTRANSMISSION OF DIGITAL INFORMATION, e.g. TELEGRAPHIC COMMUNICATION
    • H04L5/00Arrangements affording multiple use of the transmission path
    • H04L5/003Arrangements for allocating sub-channels of the transmission path
    • H04L5/0042Intra-user or intra-terminal allocation
    • HELECTRICITY
    • H04ELECTRIC COMMUNICATION TECHNIQUE
    • H04LTRANSMISSION OF DIGITAL INFORMATION, e.g. TELEGRAPHIC COMMUNICATION
    • H04L25/00Baseband systems
    • H04L25/02Details ; arrangements for supplying electrical power along data transmission lines
    • H04L25/0202Channel estimation
    • H04L25/0224Channel estimation using sounding signals
    • H04L25/0226Channel estimation using sounding signals sounding signals per se
    • HELECTRICITY
    • H04ELECTRIC COMMUNICATION TECHNIQUE
    • H04LTRANSMISSION OF DIGITAL INFORMATION, e.g. TELEGRAPHIC COMMUNICATION
    • H04L5/00Arrangements affording multiple use of the transmission path
    • H04L5/0001Arrangements for dividing the transmission path
    • H04L5/0003Two-dimensional division
    • H04L5/0005Time-frequency
    • H04L5/0007Time-frequency the frequencies being orthogonal, e.g. OFDM(A) or DMT
    • HELECTRICITY
    • H04ELECTRIC COMMUNICATION TECHNIQUE
    • H04WWIRELESS COMMUNICATION NETWORKS
    • H04W72/00Local resource management
    • H04W72/50Allocation or scheduling criteria for wireless resources
    • H04W72/54Allocation or scheduling criteria for wireless resources based on quality criteria
    • H04W72/542Allocation or scheduling criteria for wireless resources based on quality criteria using measured or perceived quality
    • HELECTRICITY
    • H04ELECTRIC COMMUNICATION TECHNIQUE
    • H04LTRANSMISSION OF DIGITAL INFORMATION, e.g. TELEGRAPHIC COMMUNICATION
    • H04L25/00Baseband systems
    • H04L25/02Details ; arrangements for supplying electrical power along data transmission lines
    • H04L25/0202Channel estimation
    • H04L25/0224Channel estimation using sounding signals
    • H04L25/0228Channel estimation using sounding signals with direct estimation from sounding signals
    • HELECTRICITY
    • H04ELECTRIC COMMUNICATION TECHNIQUE
    • H04LTRANSMISSION OF DIGITAL INFORMATION, e.g. TELEGRAPHIC COMMUNICATION
    • H04L5/00Arrangements affording multiple use of the transmission path
    • H04L5/0001Arrangements for dividing the transmission path
    • H04L5/0014Three-dimensional division
    • H04L5/0016Time-frequency-code
    • HELECTRICITY
    • H04ELECTRIC COMMUNICATION TECHNIQUE
    • H04WWIRELESS COMMUNICATION NETWORKS
    • H04W72/00Local resource management
    • H04W72/20Control channels or signalling for resource management
    • H04W72/21Control channels or signalling for resource management in the uplink direction of a wireless link, i.e. towards the network

Landscapes

  • Engineering & Computer Science (AREA)
  • Signal Processing (AREA)
  • Computer Networks & Wireless Communication (AREA)
  • Quality & Reliability (AREA)
  • Power Engineering (AREA)
  • Mobile Radio Communication Systems (AREA)
  • Time-Division Multiplex Systems (AREA)

Abstract

【課題】基地局と端末との間で高品質の通信を可能にする上下非対称の無線リンクを用いた無線通信システムを提供する。
【解決手段】基地局から端末への下り通信には複数のサブキャリアを含むOFDM信号を用い、端末から基地局への上り通信にはOFDM信号の周波数帯と同じ周波数帯のFH信号を用いて、TDDにより双方向通信を行う無線通信システムであって、端末は、受信したOFDM信号を基に、複数のサブキャリアについて伝送路特性を推定して、推定結果を基地局へ送信し、基地局は、端末から送信された推定結果を基に、端末に対し、複数のサブキャリアのうち下り通信で用いるサブキャリアと、上り通信で用いるホッピングパターンとのうちの少なくとも一方を割り当てる。
【選択図】 図7

Description

本発明は、下り通信にOFDM、上り通信にFHを用いた無線通信システムに関する。
基地局と端末との間で双方向通信を行う従来の無線通信システムは、上下通信の帯域幅や、上下通信の変調方式が同じである上下対称の無線リンクを用いたものがほとんどであった(例えば、特許文献1参照)。
高速データ伝送を実現する変調方式の1つとしてOFDMがある。OFDMにより変調された信号は複数のサブキャリアを含み、時間波形として信号のダイナミックレンジが大きく、送信パワーアンプに線形性が要求されていた。すなわち、OFDMを用いて信号を送信する場合、消費電力が大きくなることは必須である。従って、従来の無線通信システムに上記OFDMを適用して、(基地局から端末への)高速下り回線を実現する場合、(端末から基地局への)上り回線においても同じ帯域幅、変調方式(OFDM)が用いられるため、端末の消費電力が大きくなるという問題点がある。
基地局と端末との間で双方向通信を行う従来の無線通信システムであって、上下通信の帯域幅が異なり、上り通信と下り通信とで使用する無線周波数帯が異なる無線通信システムがある(例えば、特許文献2参照)。このような上下非対称の無線リンクを用いた無線通信システムでは、上り通信と下り通信とで使用する無線周波数が異なるため、伝送路の特性を正確に推定することができない。従って、送信電力制御、指向性制御、適応変調等の技術を有効に使用することができず、無線回線品質の劣化を招いていた。
特開2000−299681号公報 特開平7−176791号公報
このように、従来の上下非対称の無線リンクを用いた無線通信システムでは、下り通信の高速化と、端末の消費電力の低減は実現できる一方、上り通信と下り通信とで使用する無線周波数が異なるため、伝送路の特性を正確に推定することがでず、上下通信の通信品質が低いという問題点があった。
そこで、本発明は、上記問題点に鑑み、基地局と端末との間で高品質な通信を可能にする上下非対称の無線リンクを用いた無線通信システム、端末装置、基地局装置を提供することを目的とする。
本発明の無線通信システムは、基地局から端末への下り通信には複数のサブキャリアを含むOFDM(Orthogonal Frequency Division Multiplexing)信号を用い、端末から基地局への上り通信には前記OFDM信号の周波数帯と同じ周波数帯のFH(Frequency Hopping)信号を用いて、TDD(Time Division Duplex)により双方向通信を行う無線通信システムであって、前記端末は、受信した前記OFDM信号を基に、前記複数のサブキャリアについて伝送路特性(電力、電力比、位相・振幅の歪みのうちの少なくとも1つ)を推定する推定手段と、前記推定手段での推定結果を前記基地局へ送信する送信手段とを具備し、前記基地局は、前記端末から送信された前記推定結果を基に、前記端末に対し、前記複数のサブキャリアのうち前記下り通信で用いるサブキャリアと、前記上り通信で用いるホッピングパターンとのうちの少なくとも一方を割り当てる割当手段を具備する。
下り通信では上記複数のサブキャリアの全帯域を使用して伝送を行うので、端末側では、当該端末と基地局との間の伝送路の状況を的確に測定することができる。この測定結果を基に、端末に対し、当該端末にとって最適なサブキャリアを優先的に選択して、上り通信で用いるホッピングパターンや、下り通信で用いるサブキャリアを割り当てることにより、基地局と端末との間で高品質の通信を可能にする。
本発明の無線通信システムは、基地局から端末への下り通信には複数のサブキャリアを含むOFDM(Orthogonal Frequency Division Multiplexing)信号を用い、端末から基地局への上り通信には前記OFDM信号の周波数帯と同じ周波数帯のFH(Frequency Hopping)信号を用いて、TDD(Time Division Duplex)により双方向通信を行う無線通信システムであって、前記基地局は、前記上り通信のタイムスロットで端末から送信される信号を基に、前記端末と当該基地局との間の伝送路特性を推定する推定手段と、前記推定手段での推定結果を基に、前記各端末に対し、前記複数のサブキャリアのうち前記下り通信で用いるサブキャリアと、前記上り通信で用いるホッピングパターンとのうちの少なくとも一方を割り当てる割当手段を具備する。
上り通信で端末から送信される上記複数のサブキャリアの全帯域を使用したFH信号あるいはOFDM信号を基地局が受信すると、基地局では、当該端末と基地局との間の伝送路の状況を的確に測定することができる。この測定結果を基に、端末に対し、当該端末にとって最適なサブキャリアを優先的に選択して、上り通信で用いるホッピングパターンや、下り通信で用いるサブキャリアを割り当てることにより、基地局と端末との間で高品質の通信を可能にする。
本発明によれば、基地局と端末との間で高品質の通信を可能にする上下非対称の無線リンクを用いた無線通信システムを容易に構築できる。
以下、図面を参照しながら本発明の実施の形態について詳細に説明する。
まず、本実施形態に係る通信システムの概略を説明する。
図1は、無線通信システム全体の概略構成例を模式的に示したものである。図1において、端末TE1と基地局(あるいは無線アクセスポイント)BS1は双方向通信を行う。画像やファイルのダウンロードを容易に実現するために下りリンク(DL)の平均データレートは上りリンク(UL)に比べ早い。これを実現するために、本実施形態のシステムでは、下りリンクには、複数のサブキャリア信号からなるマルチキャリア信号を用いたOFDM(Orthogonal Frequency Division Multiplexing)をベースとした変調方式、上りリンクには、FH(Frequency Hopping)を用いた通信を行っている(図4、図8参照)。
この様な構成により、高速データレートを確保しつつ、信号帯域幅、およびダイナミックレンジの狭い上りリンクを実現でき、端末の消費電力を削減することが可能となる。
下りOFDM通信と上りFH通信とで双方向通信を実現するために、TDD(Time Division Duplex)を用いる場合とFDD(Frequency division Duplex)を用いる場合とがある。まず、前者の場合について説明する。
下りリンクと上りリンクに同一周波数帯域を使用して、TDDにより収容する場合を図4に示す。下りリンクで使用するOFDM信号は、無線帯域を全て使用して伝送を行うため、受信側では、サブキャリア毎に伝送路での歪み(例えば振幅、位相の歪み)や電力などを推定(測定)することで、無線伝送路の特性を正確に推定することが可能である。一方、FHではキャリア周波数のホッピングを行うため(使用する無線周波数が頻繁に変動するため)、正確に各サブキャリア信号について無線伝送路の特性を測定することは難しい。
しかし、OFDMとFHをTDDにより組み合わせることで、OFDMの各サブキャリアを通じて(当該サブキャリア信号について伝送路特性を推定することで)認識される各無線伝送路の状態を表す情報を、FHによる通信に用いることが可能となる。例えば、下り回線におけるOFDMの各サブキャリア信号の伝送路特性を測定しつつ、上り回線で送信電力制御やアンテナ指向性制御を行ったり、品質の良い周波数をFHホッピングパターンに優先的に割当てを行うなどが、容易に実現することができる。
このように、上記無線通信システムによれば、高速データレートでのデータ送信が可能であるとともに、端末の消費電力を削減することもできる。また、システム制御を容易にし、高い通信品質を実現することが可能となる。
なお、上記無線通信システムでは、図2に示すように、下りリンクのOFDM信号にTDMA、あるいはCDMAなどの多重方式、上りリンクにFHのホッピングパターンによる多重方式を適用することで、複数のユーザを収容することが可能である。この様な方式とすることで、図3に示すように通信エリアが重なりセルラー状に展開されたシステムにおいても、干渉の制御が容易となる。図5に、下りリンクに複数のユーザの信号を収容する場合を示す。
次に、OFDMの下りリンクとFHの上りリンクに異なる周波数を利用して双方向通信を実現する場合、すなわち、FDD(Frequency division Duplex)の場合を図8を参照して説明する。この場合、基地局と端末の送信タイミングをそれぞれ独立に設計することができるため、無線通信システム内の同期制御を簡略化できる。また、上記TDDで双方向通信を行う場合と同様、高速データレートでのデータ送信が可能であるとともに、端末の消費電力を削減することもできる。また、システム制御を容易にし、高い通信品質を実現することが可能となる。
以下、下りOFDM通信と上りFH通信との双方向通信をTDDで実現する無線通信システムについて説明する。
(第1の実施形態)
まず、下りOFDM通信と上りFH通信との双方向通信をTDDで実現する無線通信システムに適用可能な基地局と端末のそれぞれの構成について説明する。
(基地局の構成)
図18に基地局の構成例を示す。
基地局から各ユーザ#1〜#Nへ送信するデータと、上りFHユーザ割り当て部8から出力されたFHパターン情報と、下りOFDMユーザ割り当て部7から出力されたユーザ割り当て情報は、ユーザ割り当て部1によって、各ユーザに送信する順番と、ユーザ割り当て情報とを用いて並べ替えられる。並べ替えられた(各サブキャリアに分割された)各ユーザ宛ての信号は、図58に示すように、FDM送信部2で変調される。すなわち、OFDM送信部2では、サブキャリア変調部2aで各サブキャリア信号を変調した後、IFFT部2bでIFFT(逆フーリエ変換)によりマルチキャリア信号を生成し、ガードインターバル付加部2cでガードインターバル付加し、シンボル整形部2dで波形の整形を行う。このようにして得られたベースバンド信号は無線部11に渡される。無線部11では、ベースバンド信号をD/A変換部11aでディジタル信号からアナログ信号に変換した後に、周波数変換部11bで中間周波数(IF)、さらに無線周波数(RF)に変換してアンテナを介して送信する。
各端末から送信されたFH信号は無線部12で受信される。無線部12は、図61に示すように、AGC部12aでAGC(Automatic Gain Control)により受信信号のレベルを補正し、その後、周波数変換部12bで受信信号の周波数変換を行い、A/D変換部12cでアナログ信号からディジタル信号へ変換して、FH受信部9へ当該受信信号を出力する。
FH受信部9は、サブキャリア検波部9aで無線部12から出力された受信信号から各サブキャリア信号を検波する。各サブキャリア信号は、伝送路推定部6と、ユーザ分信号抽出部10へ出力される。
伝送路推定部6では、各サブキャリア信号と、無線部12で上記AGCのために測定されたFH信号の受信電力値を基に、各端末から基地局への上りリンクの伝送路特性を推定する。すなわち、端末毎に、各サブキャリア信号について伝送路の歪み、電力値、電力比などの伝送路特性を求める。伝送路推定部6で推定された各端末から基地局への上りリンクの伝送路特性は、下りOFDMユーザ割り当て部7、上りFHユーザ割り当て部8にそれぞれ出力されて、伝送路状態情報と同様、下りリンク及び上りリンクで各端末にチャネルを割り当てる際の判断材料として用いられる。
なお、下りOFDMユーザ割り当て部7、上りFHユーザ割り当て部8は、下りリンク及び上りリンクで各端末にチャネルを割り当てる際には、伝送路推定部6で推定された伝送路特性と、各端末から送信された伝送路状態情報のうちのいずれか一方を用いれば足りる。
さて、FH受信部9から出力されたサブキャリア信号は、ユーザ信号抽出部10にも入力する。ユーザ信号抽出部10では、今回受信したFH信号に用いられている各端末のFHパターン情報を用いて、各サブキャリア信号から各ユーザの信号を抽出し、各端末に対応するユーザ信号を出力する。
信号分離部5では、ユーザ信号抽出部10から出力された各ユーザ信号を復号して、復号された各ユーザ信号から伝送路状態情報と、ユーザデータとを分離する。そして伝送路状態情報を下りOFDM割り当て部7と上りFHユーザ割り当て部8へ出力する。
下りOFDMユーザ割り当て部7では、上記伝送路推定結果を基に、各端末に対し、次の下りスロットにおけるチャネル(サブキャリア、シンボル等)を割り当て、その結果を表すユーザ割り当て情報を出力する。上りFHユーザ割り当て部8では、上記伝送路推定結果を基に、次の上りスロットにおける各ユーザのFHパターンを決定し、その結果を表す各ユーザのFHパターン情報を出力する。
(端末の構成)
図19に端末の構成例を示す。
各ユーザから基地局へ送信するデータは、FH送信部51に入力される。FH送信部51は、図60に示すように、多重化部51aで入力された当該基地局への送信データと伝送路推定部52から出力される伝送路状態情報とを多重するとともに、変調部51bで、基地局から通知された(信号分離部55で得られた)FHパターン情報を用いて変調する。その結果得られるベースバンド信号は無線部58において、D/A変換部58aでディジタル信号からアナログ信号へ変換された後、周波数変換部58bで周波数変換され、アンテナを介して送信される。
基地局から送信されたOFDM信号は、無線部57で受信される。無線部57は、図59に示すように、AGC部57bでAGC(Automatic Gain Control)により当該受信信号のレベルを補正し、その後、周波数変換部57bで受信信号の周波数変換を行い、さらに、当該受信信号をA/D変換部57cでアナログ信号からディジタル信号へ変換し、OFDM受信部53へ出力する。
OFDM受信部53は、無線部53から出力された受信信号に対し、当該受信信号に含まれる同期確立用の既知信号(プリアンブル信号、パイロット信号)を用いて、AFC部53aでキャリア周波数同期(送受信機間のキャリア周波数誤差を調整し同期をとること)処理、タイミング検出部53bでシンボル・タイミング同期(OFDMシンボルと復調処理のタイミング同期をとること)処理を行い、ガードインターバル除去部53cでガードインターバルが除去される。その後、FFT部53dでFFT(フーリエ変換)によるマルチキャリア信号の分波処理を行い、得られた各サブキャリア信号はチャネル等価処理部53eと伝送路推定部52へ出力される。各サブキャリアから推定される(例えば、伝送路推定部52に含まれるチャネル推定回路で推定される)伝送路の歪み(各サブキャリア信号の位相と振幅の歪み)を基にして、チャネル等価処理部53eでは、各サブキャリア信号からデータ信号を得る処理(同期検波)を行う。なお、推定された伝送路の歪みを用いて同期検波を行うために、チャネル等価回路を用いることが一般によく行われている。そして、サブキャリア復調部53fは、各サブキャリア信号を復号し、ユーザ信号抽出部54へ出力する。
無線部57のAGC部57aでは、上記AGCのために、受信したOFDM信号の受信電力を測定する。この測定されたOFDM信号の受信電力値は、伝送路推定部52に出力される。また、OFDM受信部53は、FFTにより得られた各サブキャリア信号(各サブキャリア信号に含まれるパイロット信号(既知信号)を含む)は伝送路推定部52へも出力する。
伝送路推定部52は、入力された各サブキャリア信号から、各サブキャリア信号の位相と振幅の歪みを推定するためのチャネル推定回路を有する。このチャネル推定回路により、各サブキャリア信号から推定される伝送路の歪みを推定する。なお、この推定された伝送路の歪みは、前述した同期検波処理にも用いられる。伝送路推定部52では、さらに、入力した各サブキャリア信号の電力を測定する。また、各サブキャリア信号の電力値とAGCのために測定されたOFDM信号の受信電力値とから、各サブキャリア信号について電力比(S/N(signal to noise ratio)比)を算出する。
伝送路推定部52では、各サブキャリアについて推定された伝送路の歪み、電力値、電力比などの伝送路特性から、伝送路状態の悪いサブキャリア信号(例えば、伝送路の歪みや、電力値や電力比が所定の閾値より低いサブキャリア信号)を検出して、当該サブキャリア信号の識別子(例えば、ここでは、番号)を含む伝送路状態情報を生成する。また、各サブキャリアについて推定された伝送路の歪み量(位相、振幅の歪み量)、電力値、電力比を含む伝送路状態情報を生成する。また、各サブキャリアについて推定された伝送路の歪み量(位相、振幅の歪み量)、電力値、電力比とともに、これらを基に判断された伝送路状態の悪いサブキャリア信号の識別子を含む伝送路状態情報を生成する。
伝送路推定部52は、推定された伝送路特性から、伝送路状態のよいサブキャリア信号(例えば、伝送路の歪みや、電力値や電力比が所定の閾値以上のサブキャリア信号)を用いたホッピングパターンを決定してもよい。この場合、上記伝送路状態情報に、当該ホッピングパターンを含まれていてもよい。
上記伝送路状態情報はFH送信部51を介して基地局に送信される。
伝送路状態情報は、基地局で受信されると、前述したように、上りFHユーザ割り当て部8において、各ユーザに対するホッピングパターンを決定する際に用いられ、また、下りOFDMユーザ割り当て部7において、各ユーザにサブキャリアなどを割り当てる際に用いられる。
ユーザ信号抽出部54では、OFDM受信部53から出力された各サブキャリア信号から、自装置宛ての信号を抽出する。その際、前もって受信されて、記憶部55aに記憶されているユーザ割り当て情報を参照する。ユーザ信号抽出部54は、抽出した自装置宛ての信号を復号して、信号分離部55へ出力する。
信号分離部55は、ユーザ信号抽出部54から出力されたユーザ信号から、当該ユーザ信号に含まれているユーザ割り当て情報とFHパターンと自装置宛ての受信データを分離する。ユーザ割り当て情報は、次回受信するOFDM信号から(ユーザ信号抽出部54で)自装置宛ての信号を抽出する際に用いるため、記憶部55aへ一時記憶する。また、FHパターン情報は、FH送信部51へ出力され、次の上りスロットにおける周波数ホッピングに用いられる。
(基地局と端末の動作)
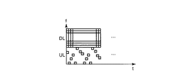
図6は、下りリンクで送信されたOFDM信号を受信する各端末で推定された伝送路の特性を表す情報を利用して、送信電力制御、FHホッピングパターン制御等を行う場合を説明するための図である。また、図7は、その際の動作を説明するためのフローチャートである。以下、図6、図7を参照して説明する。
上記無線通信システムでは、下りリンクがOFDMであるということを利用し、端末側では、第1のタイムスロットで送信される下りリンクのOFDM信号(例えば、情報シンボル、パイロット信号など)から伝送路特性(例えば、サブキャリア電力、伝送路の歪み(位相、振幅)、遅延プロファイル、伝送路周波数応答等)を推定(測定)する(図7のステップS1、ステップS2)。その結果得られる情報(例えば、低電力のサブキャリアを示すサブキャリア番号、各サブキャリアの受信電力値・S/N比(signal to noise ratio)、ホッピングパターンの候補等のうちの少なくとも1つを含む伝送路状態情報)は、直後の第2のタイムスロットの上りリンクを使用して基地局側に伝送される(図7のステップS3)。そして、基地局では、当該伝送路状態情報を基に、次の第3のタイムスロットの下りリンクにおける送信電力制御(TPC)を行ったり、さらに次の第4のタイムスロットの上りリンクにおけるFHホッピングパターンを決定する(図7のステップS4)。
例えば、図6では、サブキャリア#nの周波数帯の伝送路特性(例えば受信電力値)が所定の閾値より低いので、第3のタイムスロットでは、サブキャリア#nの送信電力を増加したOFDM信号を送信する(図7のステップS5)。あるいは、第4のタイムスロットではサブキャリア#nの周波数帯にホッピングを行わないようにパターンを決定し、その決定されたホッピングパターンを端末側へ通知する。端末側では、通知されたホッピングパターンを用いて送信を行う(図7のステップS6)。
この様な方法でシステム制御を行うことで、無線伝播状況によらず良好な通信品質を維持する無線通信システムを実現することが可能となる。
なお、制御対象として、図6に示した送信電力制御、FHホッピングパターン制御以外に、各端末から送信されてきた上記伝送路状態情報に含まれる各種情報を基に、基地局では、アンテナ指向性制御、適応変調等の制御を行うことができる。
次に、基地局の下りOFDMユーザ割り当て部7と上りFHユーザ割り当て部8で上り・下りの各タイムスロットに割り当てられる各端末のチャネルの配置について説明する。
(第1のスロット構成)
図9に第1のスロット構成例を示す。基地局から各端末への下り通信と、各端末から基地局への上り通信は時間的に多重され同一周波数帯を用いて行なわれる。また、ここでは、上りリンクのFHにおいてホッピングする周波数の最小単位は、下りリンクのOFDM信号におけるサブキャリアの周波数間隔ΔFと同じとする。
基地局は各ユーザ(各端末)に対して、周波数および時間領域101を用いて、N_DLシンボル(N_DLは1以上の整数)のOFDM信号を送信する。すなわち、1つの下りスロットによりN_DLシンボル送信される。なお、1シンボルは、単位時間当たりに送信できる信号の波形に対応する。図9では、1下りスロットにおいて、サブキャリア#1から#8までを用いて1下りスロットで4シンボルのデータを送信する。
基地局がOFDM信号の送信を終了し、インターバル時間102の後、各端末はあらかじめ基地局から指定された周波数帯を用いて、1つの上りスロットでN_ULシンボル(N_ULは1以上の整数)連続して送信する。すなわち、1上りスロットは、N_ULシンボル長の時間幅に対応する。
図9では、ユーザ#1の端末はサブキャリア#8を用いて1上りスロットで8シンボルを連続して送信している。また、ユーザ#2の端末はサブキャリア#3を用いて1上りスロットで8シンボルを連続して送信している。
各端末が送信を終了し、インターバル時間105の後、再び基地局が各端末に対して、時間および周波数領域106を用いて、下りOFDM信号を送信する。また、インターバル時間107の後、各端末は基地局に対して指定された周波数帯を用いて送信を行なう。このとき、用いる周波数帯は前回の上りスロットで用いた周波数帯でなくてもよい。図9では、ユーザ#1の端末はサブキャリア#5を用いて送信を行い、ユーザ#2はサブキャリア#8を用いて送信を行なっている。このように、上り通信では、1上りスロット毎に周波数をホッピングさせて通信を行なっている。言い換えれば、ホッピング周期は、N_ULシンボル長時間である。
上記第1のスロット構成によれば、端末側で推定(測定)された各サブキャリアの伝送路特性を用いて、特性のよい周波数帯(サブキャリア)を優先的に選択して上りホッピングパターンを決定することにより、上り通信の伝送効率を向上することができる。
(第2のスロット構成)
図10に第2のスロット構成例を示す。基地局から各端末への下り通信と、各端末から基地局への上り通信は時間的に多重され同一周波数帯を用いて行なわれる。また、ここでは、上りリンクのFHにおいてホッピングする周波数の最小単位は、下りリンクのOFDM信号におけるサブキャリアの周波数間隔ΔFと同じとする。
基地局は各ユーザに対して、周波数および時間領域201を用いて、N_DLシンボル(N_DLは1以上の整数)のOFDM信号を送信する。すなわち、1つの下りスロットによりN_DLシンボル送信される。図10では、サブキャリア#1から#8までを用いて4シンボル(1下りスロット)のデータを送信する。
基地局がOFDM信号の送信を終了し、インターバル時間202の後、各端末は周波数および時間領域203の中から、予め基地局から指定されたホッピング周期(1/M(Mは1以上の整数)シンボル長時間)のホッピングパターンを用いて、1上りスロットで、N_ULシンボル(N_ULは1以上の整数)を送信する。
図10では、ユーザ#1は時間「6」において、サブキャリア#12、#10を用いて1シンボルのデータを送信している。同様に、時間「7」から時間「11」にかけて、サブキャリア#8、#11、#2、#4、#6、#7、#9、#5、#3、#1を順番に用いて1上りスロットで合計6シンボルのデータを送信している。また、ユーザ#2は時間「6」から時間「11」にかけてサブキャリア#3、#6、#11、#9、#7、#5、#12、#1、#8、#10、#2、#4を順番に用いて1上りスロットで6シンボルのデータを送信している。このようなスロット構成をとる場合、N_ULの値は「6」、Mの値は「2」である。
各端末が送信を終了し、インターバル時間204の後、再び基地局が各端末に対して、時間および周波数領域205を用いて、下りOFDM信号を送信する。そして、インターバル時間206の後、各端末は基地局に対して指定されたホッピングパターンを用いて送信を行なう。このとき、用いるホッピングパターンは前回の上りスロットで用いたホッピングパターンでなくてもよい。
上記第2のスロット構成によれば、基地局は、端末から通知された、広範囲の周波数帯の高精度な伝送路特性から、下りOFDM信号におけるサブキャリア毎の適応変調などの制御を高精度に行なうことができ、下り通信の伝送効率を向上することができる。
(第3のスロット構成)
図11に第3のスロット構成例を示す。基地局から各端末への下り通信と、各端末から基地局への上り通信は時間的に多重され同一周波数帯を用いて行なわれる。また、ここでは、上りFHにおいてホッピングする周波数の最小単位は下りOFDMのサブキャリアの周波数間隔ΔFと同じとする。
基地局は各ユーザに対して、周波数および時間領域301を用いて、1下りスロットでN_DLシンボル(N_DLは1以上の整数)のOFDM信号を送信する。図11では、サブキャリア#1から#8までを用いて1下りスロットで4シンボルのデータ送信を行なっている。
基地局がOFDM信号の送信を終了し、インターバル時間302の後、各端末は周波数および時間領域303の中から、あらかじめ基地局から指定された周波数を用いて、1上りスロットでN_ULシンボル(N_ULは1以上の整数)のデータを送信する。それと同時に、基地局から指定された1/Mシンボル長周期のホッピングパターンも用いてN_ULシンボルのデータを送信する。ゆえに各端末は合計2×N_ULシンボルの信号を送信する。
図11では、ユーザ#1はサブキャリア#5(周波数及び時間領域304)を用いて6シンボルのデータを送信し、それと同時に、時間「6」から「11」にかけて、サブキャリア#12、#10、#8、#12、#2、#4、#6、#7、#9、#6、#3、#1を順番に用いて4シンボルのデータを送信している。よって、ユーザ#1は1上りスロットで合計12シンボルのデータを送信している。同様に、ユーザ#2はサブキャリア#11(周波数及び時間領域305)を用いて6シンボルのデータを送信し、それと同時に、時間6から11にかけて、サブキャリア#3、#6、#12、#9、#7、#6、#12、#1、#8、#10、#2、#4を順番に用いて4シンボルのデータを送信している。よって、ユーザ#2は合計12シンボルのデータを送信している。
各端末が送信を終了し、インターバル時間306の後、再び基地局が各端末に対して、時間および周波数領域307を用いて、下りOFDM信号を送信する。また、インターバル時間308の後、各端末は基地局に対して指定された周波数とホッピングパターンを用いて送信を行なう。このとき、用いる周波数とホッピングパターンは前回の上りスロットで用いたホッピングパターンでなくてもよい。
上記第3のスロット構成によれば、1上りスロットでは、各端末は、ホッピング周期がD_ULシンボル長の第1のホッピングパターンと、ホッピング周期が1/M(Mは任意の正の整数)シンボル長の第2のホッピングパターンとを用いて信号を送信する。
端末側で推定(測定)された各サブキャリアの伝送路特性を用いて、特性のよい周波数帯(サブキャリア)を優先的に選択して上り送信用の周波数を決定することにより、上り通信の伝送効率を向上することができる。また、基地局は、各端末から通知された広範囲の周波数帯の高精度な伝送路特性から、下りOFDM信号におけるサブキャリア毎の適応変調などの制御を高精度に行なうことができ、下り通信の伝送効率を向上することができる。
(第4のスロット構成)
図12に第4のスロット構成例を示す。基地局から各端末への下り通信と、各端末から基地局への上り通信は時間的に多重され同一周波数帯を用いて行なわれる。また、ここでは、上りFHにおいてホッピングする周波数の最小単位は下りOFDMのサブキャリアの周波数間隔ΔFと同じとする。
基地局は各ユーザに対して、周波数および時間領域401を用いて、OFDM信号を1下りスロットでN_DLシンボル(N_DLは1以上の整数)送信する。図12では、サブキャリア#1から#8までを用いて1下りスロットで4シンボルを送信する。
基地局がOFDM信号の送信を終了し、インターバル時間402の後、各端末は周波数および時間領域403の中から、あらかじめ基地局から指定された、ホッピング周期が1/M(Mは1以上の整数)シンボル長のホッピングパターンを用いて、1上りスロットでN_ULシンボル(N_ULは1以上の整数)のデータを送信する。なお、このホッピングパターンで利用される周波数帯は、サブキャリア#1から#8の周波数帯のうちの一部の周波数領域内に限られている。
図12では、ユーザ#1はサブキャリア#1、#2、#3、#4の周波数領域を用いて周波数をホッピングさせている。時間「6」において、サブキャリア#3、#2を用いて1シンボルのデータを送信している。同様に、時間「8」から時間「11」にかけて、サブキャリア#1、#4、#2、#3、#4、#1、#2、#4、#3、#1を順番に用いて1上りスロットで合計6シンボルのデータを送信している。また、ユーザ#2はサブキャリア#6、#7、#8の周波数領域を用いて周波数をホッピングさせている。時間「6」から時間「11」にかけてサブキャリア#7、#6、#8、#6、#8、#7、#8、#6、#8、#7、#6、#7を用いて1上りスロットで6シンボルのデータを送信している。この場合、N_ULの値は「6」、Mの値は「2」である。
各端末が送信を終了し、インターバル時間404の後、再び基地局が各端末に対して、時間および周波数領域405を用いて、下りOFDM信号を送信する。また、インターバル時間406の後、各端末は基地局に対して指定された周波数領域のホッピングパターンを用いて送信を行なう。このとき、用いるホッピングパターンは前回の上りスロットで用いたホッピングパターンでなくてもよい。
上記第4のスロット構成によれば、端末側で推定された各サブキャリアについての伝送路特性を用いて、特性のよい周波数帯(サブキャリア)を優先的に選択して上りホッピングパターンを決定することにより、上り通信の伝送効率を向上することができる。
(第5のスロット構成)
図13に第5のスロット構成例を示す。基地局から各端末への下り通信と、各端末から基地局への上り通信は時間的に多重され同一周波数帯を用いて行なわれる。
各端末は基地局に対して、周波数および時間領域501を用いて、1上りスロットでN_ULシンボル(N_ULは1以上の整数)のFH信号を送信する。
当該端末がFH信号の送信を終了し、インターバル時間502の後、基地局は1ユーザ端末に対して時間および周波数領域503を用いて1下りスロットでN_DLシンボル(N_DLは1以上の整数)のOFDM信号を送信する。図13では、基地局は時間「6」から時間「9」にかけて、ユーザ#1に対して、1下りスロットで4シンボルのデータを送信している。
基地局が1ユーザに対して送信を終了し、インターバル時間504の後、再び各端末が基地局に対して、時間および周波数領域505を用いて、上りFH信号を送信する。また、インターバル時間506の後、基地局は1ユーザに対して、時間および周波数領域507を用いてOFDM信号をN_DLシンボル送信する。図13では、基地局はユーザ#2に対して、時間「16」から「19」にかけて、4シンボルのデータを送信している。
このようなスロット構成を持つことで、端末は受信するべきデータがないときは受信処理を行なう必要がないために、端末の低消費電力化を図ることができる。また、下りのスロット毎に受信すべきユーザ端末の切り換えを行なうので、ユーザ端末毎の送信電力制御などを時間の余裕を持って行なうことができる。
(第6のスロット構成)
図14に第6のスロット構成例を示す。基地局から各端末への下り通信と、各端末から基地局への上り通信は時間的に多重され同一周波数帯を用いて行なわれる。また、ここでは、上りFHにおいてホッピングする周波数の最小単位は下りOFDMのサブキャリアの周波数間隔ΔFと同じとする。
各ユーザ端末は基地局に対して、周波数および時間領域601を用いて、1上りスロットでN_ULシンボル(N_ULは1以上の整数)のFH信号を送信する。ここでは、上りFH信号のホッピングパターンは全てのサブキャリア信号を最低1回以上用いている。
各ユーザがFH信号の送信を終了し、インターバル時間602の後、基地局は各サブキャリアに各ユーザのデータを割り当てて、1下りスロットでN_DLシンボル(N_DLは1以上の整数)のOFDM信号を送信する。
図14では、基地局は時間「8」から時間「11」にかけて、ユーザ#1に対して、サブキャリア#10、#11、#12を用いて、1下りスロットで4シンボルのデータを送信している。またユーザ#2に対して、サブキャリア#3、#4、#5、#6を用いて、1下りスロットで4シンボルのデータを送信している。
基地局が各ユーザに対して送信を終了し、インターバル時間605の後、再び各端末が基地局に対して、時間および周波数領域606を用いて、FH信号を送信する。また、インターバル時間607の後、基地局は各ユーザに対してN_DLシンボルのOFDM信号を送信する。このとき、各ユーザに割り当てるサブキャリアは前回の下りスロットで割り当てたサブキャリアと同じでなくてもよい。すなわち、基地局は、各端末にN_DLシンボルのOFDM信号を送信する毎に、各端末に割り当てるサブキャリアを変更する。
上記第6のスロット構成によれば、基地局は端末側で推定(測定)された、各サブキャリアについての伝送路特定を用いて、各端末にとって特性のよい周波数帯(サブキャリア)を優先的に選択して、当該端末に対し、下りスロットにおけるサブキャリアを割り当てることができる。従って、下り通信の伝送効率を向上することができる。
(第7のスロット構成)
図15に第7のスロット構成例を示す。基地局から各端末への下り通信と、各端末から基地局への上り通信は時間的に多重され同一周波数帯を用いて行なわれる。また、ここでは、上りFHにおいてホッピングする周波数の最小単位は下りOFDMのサブキャリアの周波数間隔ΔFと同じとする。
各ユーザは基地局に対して、周波数および時間領域701を用いて、1上りスロットでN_ULシンボル(N_ULは1以上の整数)のFH信号を送信する。ここでは、FH信号のホッピングパターンは1上りスロット毎に割り当てる周波数領域が変化するようなホッピングパターンであるものとする。この例では、ユーザ#1はサブキャリア#9を、ユーザ2はサブキャリア#4をそれぞれ用いて、1上りスロットで6シンボルのデータを送信している。
各ユーザがFH信号の送信を終了し、インターバル時間702の後、基地局は各シンボルに各ユーザのデータを割り当てて1下りスロットでN_DLシンボル(N_DLは1以上の整数)のOFDM信号を送信する。ここでは、基地局は時間「8」、「10」にユーザ#1、時間「9」、「11」にユーザ#2をそれぞれ割り当て、2シンボルずつのデータを各ユーザの端末へ送信している。
このように、基地局では、OFDM信号が送信される下りスロット内を1シンボル長単位に各端末へ割り当てている。すなわち、下りスロットでは、TDMA(Time Division Multiple Access)により各端末宛ての信号を多重化する。
基地局が各ユーザに対して送信を終了し、インターバル時間704の後、再び各端末が基地局に対して、時間および周波数領域705を用いて、上りFH信号を送信する。また、インターバル時間706の後、基地局は各ユーザに対してN_DLシンボルのOFDM信号を送信する。このとき、各ユーザに割り当てるシンボルは前回の下りスロットで割り当てたシンボルでなくてもよい。
上記第7のスロット構成によれば、端末側では、全周波数領域(ここでは、サブキャリア#1乃至#12)のデータを受信するため、精度よく各サブキャリアの伝送路特性を推定することができる。基地局では、各端末にて推定された伝送路特性を用いて、各端末にとって特性のよい周波数帯を優先的に選択して、各端末に対し上りホッピングパターンを決定することにより、上り通信の伝送効率を向上することができる。
(第8のスロット構成)
図16に第8のスロット構成例を示す。基地局から各端末への下り通信と、各端末から基地局への上り通信は時間的に多重され同一周波数帯を用いて行なわれる。また、ここでは、上りFHにおいてホッピングする周波数の最小単位は下りOFDMのサブキャリアの周波数間隔ΔFと同じとする。
各ユーザは基地局に対して、周波数および時間領域801を用いて、1上りスロットでN_ULシンボル(N_ULは1以上の整数)のFH信号を送信する。1上りスロットでは、各端末は、ホッピング周期がD_ULシンボル長の第1のホッピングパターンと、ホッピング周期が1/M(Mは任意の正の整数)シンボル長の第2のホッピングパターンとを用いて、信号を送信する。すなわち、ここでは、上記第1のホッピングパターンは、1上りスロット毎に割り当てる周波数領域が変化するようなホッピングパターンであり、上記第2のホッピングパターンは、1上りスロット内で全サブキャリアを用いるようなホッピングパターンである。
図16では、ユーザ#1の端末はサブキャリア#9を、ユーザ#2の端末はサブキャリア#4をそれぞれ用いて、1上りスロットでそれぞれ6シンボルのデータを送信する。さらに、各端末は全てのサブキャリアを使うホッピングパターンを用いて6シンボルのデータを送信する。従って、各端末は1上りスロットで合計12シンボルのデータを送信している。
各ユーザがFH信号の送信を終了し、インターバル時間802の後、基地局は周波数および時間領域803を用いて、1シンボル長単位および1キャリア単位に各ユーザのデータを割り当てて、1下りスロットで、N_DLシンボル(N_DLは1以上の整数)のOFDM信号を送信する。図16の周波数及び時間領域803では、ユーザ#1とユーザ#2に対する信号を交互に配置することで、各ユーザは全てのサブキャリアにおけるデータを受信することになる。
基地局が各ユーザに対して送信を終了し、インターバル時間804の後、再び各端末が基地局に対して、時間および周波数領域805を用いて、上りFH信号を送信する。また、インターバル時間806の後、基地局は各ユーザに対してN_DLシンボルのOFDM信号を送信する。このとき、各ユーザに割り当てるキャリアおよびシンボルは前回の上りスロットで割り当てたキャリア、シンボルでなくてもよい。すなわち、基地局では、N_DLシンボルのOFDM信号を送信する度に、下りスロットにおいて各ユーザに割り当てるシンボル及サブキャリアを変更するようになっている。
図16の上りスロット805と下りスロット807では、ユーザ#1と基地局の間ではサブキャリア#6の周波数領域において伝送路状態がよいと判断されされた場合である。ユーザ#1と基地局の間では、主に、サブキャリア#6の周波数領域を用いてデータの通信を行うことで、効率よくデータ通信を行う。同時に、その他のサブキャリアを用いてデータの通信を行う事で、他のサブキャリアの伝送路状態を常に監視することもできる。
上記第8のスロット構成によれば、基地局および端末において、伝送路状態を測定したいときや、伝送効率を上げたいときなどの要求が発生した場合に、その要求に適応するように周波数領域の割り当てが行える。
(第9のスロット構成)
図17に第9のスロット構成例を示す。基地局から各端末への下り通信と、各端末から基地局への上り通信は時間的に多重され同一周波数帯を用いて行なわれる。また、ここでは、上りFHにおいてホッピングする周波数の最小単位は下りOFDMのサブキャリアの周波数間隔ΔFと同じとする。
各ユーザは基地局に対して、周波数および時間領域901を用いて、1上りスロットでN_ULシンボル(N_ULは1以上の整数)のFH信号を送信する。1上りスロットでは、各端末は、ホッピング周期がD_ULシンボル長の第1のホッピングパターンと、ホッピング周期が1/M(Mは任意の正の整数)シンボル長の第2のホッピングパターンとを用いて、信号を送信する。すなわち、上記第1のホッピングパターンは、1上りスロット毎に割り当てる周波数領域が変化するようなホッピングパターンであり、上記第2のホッピングパターンは、1上りスロット内で全サブキャリアを用いるようなホッピングパターンである。
図17では、ユーザ#1の端末はサブキャリア#9を、ユーザ#2の端末はサブキャリア#4をそれぞれ用いて、1上りスロットで6シンボルのデータをそれぞれ送信する。さらに、各端末は全てのサブキャリアを使うホッピングパターンを用いて6シンボルのデータをそれぞれ送信する。従って、ユーザ#1、ユーザ#2の端末は、1上りスロットで合計12シンボルのデータをそれぞれ送信している。
各ユーザ端末がFH信号の送信を終了し、インターバル時間902の後には、基地局は周波数および時間領域903を用いて、各ユーザのデータを直交符号により多重したOFDM―CDMA(Code Division Multiple Access)信号を送信する。図17では、基地局からユーザ#1に対する信号とユーザ#2に対する信号を各ユーザに割り当てた拡散符号を用いて多重して、1下りスロットでN_DLシンボル(N_DLは1以上の整数)のOFDM―CDMA信号を送信する。
基地局が各ユーザに対して送信を終了し、インターバル時間904の後には、再び各端末が基地局に対して、時間および周波数領域905を用いて、上りFH信号を送信する。また、インターバル時間906の後、時間および周波数領域907を用いて、基地局は各ユーザに対してOFDM信号をN_DLシンボル送信する。このとき、各ユーザに割り当てる拡散符号は前回の上りスロットで割り当てた拡散符号でなくてもよい。各ユーザは全てのサブキャリアからデータを受信しているため、各サブキャリアの伝送路特性を精度よく測定することができる。
図17の上りスロット905は、ユーザ#1と基地局の間ではサブキャリア#6の周波数領域において伝送路状態がよいと判断されされた場合であり、ユーザ#1と基地局との間では、主にサブキャリア#6の周波数領域を用いてデータの通信を行うことで、効率よくデータ通信を行う。また、同時に、その他のサブキャリアも用いてデータの通信を行う事で、他のサブキャリアの伝送路状態を常に監視することができる。
上記第9のスロット構成を持つことで、端末側では、全周波数領域の信号を受信するため、精度よく各サブキャリアの伝送路特性を推定することができる。基地局では、各端末で推定された各サブキャリアの伝送路特性を用いて、各端末にとって特性のよい周波数帯を優先的に選択して、各端末に対し上りホッピングパターンを決定することにより、上り通信の伝送効率を向上することができる。
以上説明したように、上記第1の実施形態によれば、次に示すような効果がある。(1)下りリンクにOFDMを用いることで高速データ伝送が可能となり、上りリンクにFHを用いることで回線の干渉抑圧を行うことができる。さらに、高効率の端末送信パワーアンプを利用することが可能となり、端末の通信時間を長くすることができる。(2)上下リンクで同一周波数を使用し、かつ、下りリンクでは全帯域を使用して伝送を行うので、端末側では、当該端末と基地局との間の伝送路の状況を的確に測定することができる。この測定結果は、上下リンクにおける送信電力制御や、指向性制御、等化制御等にも利用でき、周期的にキャリア周波数の変化するFHに対しては特に有効である。(3)下りリンクのOFDM信号を受信する端末で測定された伝送路特性を基に、上りリンクのホッピングパターンを決定し、複数のサブキャリアのうち下り通信で用いるサブキャリアを決定することにより、各端末にとって、伝送路の状態の良い帯域のみを利用して通信を行うことで高品質の無線通信を実現する。(4)下り通信のタイムスロットでは、TDM(Time Division Multiplex)により各端末宛ての信号を多重化することで、下り通信のタイムスロットでは全帯域を使用して伝送を行うので、各ユーザ毎の伝送路の状況を的確に測定することができる。この測定結果は、ユーザ毎の上下リンクにおける送信電力制御や、指向性制御、等化制御等に利用できる。
以下、下りOFDM通信と上りFH通信との双方向通信をTDDで実現する上記第1の実施形態にかかる無線通信システムのバリエーションについて説明する。
(第2の実施形態)
第2の実施形態にかかる無線通信システム全体の概略構成を図2を参照して説明する。基地局BS1は端末TE1および端末TE2に向かって下りOFDM信号DL1、DL2を一定期間送信する。基地局BS1が下りOFDM信号の送信を終了すると、端末TE1および端末TE2は基地局BS1へ下りOFDM信号と同一周波数帯を用いて上りFH信号UL1、UL2を送信する。このように下りOFDM信号と上りFH信号は時間的に多重されている。
基地局BS1は各端末TE1、TE2に向かって、下りOFDM信号および上りFH信号が用いている周波数帯域以外の周波数帯域を用いて、時間同期信号やページング信号(端末へ着信を通知する信号)などを送信する。
図20にスロット構成例を示す。基地局BS1は周波数および時間領域201(サブキャリア#1から#12および時間「1」から「4」)を用いて、各端末にOFDM方式を用いてデータを送信する。基地局BS1が下りOFDM信号の送信を終了し、ガードタイム202の後、各端末は周波数および時間領域203(サブキャリア#1から#12および時間「6」から時間「11」)の範囲であらかじめ基地局との間で定められたホッピングパターンを用いてFH信号を送信する。なお、ここでは、1上りスロットで、全周波数(サブキャリア#1から#12)にまたがるホッピングパターンが用いられることが望ましい。
各端末が上りFH信号の送信を終了し、ガードタイム204の後、基地局は周波数および時間領域205を用いて、再びOFDM信号を送信する。このように、下りOFDM信号と上りFH信号は同一周波数帯を時間多重して使用している。
また、基地局は下りOFDM信号と上りFH信号が用いている周波数帯とは別の周波数帯(制御専用周波数帯)208を用いて、時間同期信号やページング信号のうちの少なくとも一方を含む信号(制御信号)を送信している。
図21に基地局BS1の構成例を示す。なお、図21では、図18と同一部分には同一符号を付し、本実施形態の特徴的な部分について説明する。各ユーザへ送信するデータは、ユーザ割り当て部1において、ユーザ割り当て情報を用いて、多重され並べ替えられて、OFDM送信部2へ出力される。各ユーザ宛ての信号は、OFDM送信部2において、OFDM信号に変換されて、帯域通過型フィルタ(BPS)14で帯域制限されてから無線部11へ出力される。
下りOFDM信号の送信が終了すると、端末からのFH信号が無線部12で受信される。無線部12から出力される信号は、帯域通過型フィルタ(BPF)13を通って、帯域制限信号となり、FH受信部9に入力される。
FH受信部9は、無線部12から出力された受信信号から各サブキャリア信号を検波する。各サブキャリア信号は、伝送路推定部6と、ユーザ信号抽出部10へ出力される。
伝送路推定部6では、各サブキャリア信号と、無線部12で上記AGCのために測定されたFH信号の受信電力値を基に、端末毎に、各サブキャリア信号について伝送路の歪み、電力値、電力比などの伝送路特性を求める。伝送路推定部6で推定された各端末から基地局への上りリンクの伝送路特性は、下りOFDMユーザ割り当て部7、上りFHユーザ割り当て部8にそれぞれ出力されて、下りリンク及び上りリンクで各端末にチャネルを割り当てる際の判断材料として用いられる。
基地局BS1では、制御専用周波数帯208を用いて、基地局と端末との間の同期処理のための共通パイロット信号(基地局と端末で既知の信号であって時間同期信号)やページング信号(共通パイロットチャネル、ページングチャネル)を送信する。制御信号はチャネル多重部3で多重される。図21では、多重された制御信号はCDMA送信部4に入力し、ここで、CDMA(Code Division Multiple Access)方式の拡散および変調処理が行われる。変調された制御信号は、帯域通過型フィルタ(BPF)15を通って、帯域制限された後、無線部16に入力される。無線部16では、BPF15から出力されたディジタル信号をアナログ信号に変換した後、周波数変換を行って、下りOFDM信号や上りFH信号とは別の周波数帯域208で送信する。
図22に端末TE1、TE2の構成例を示す。なお、図22では図19と同一部分には同一符号を付し、本実施形態の特徴的な部分について説明する。端末から基地局への送信データは、FH送信部51においてFH信号に変換される。このときのホッピングパターンは、直前の下りスロットで受信したFHパターン情報に基づくものである。また、FH送信部51は、CDMA受信部63から出力された同期信号に基づくタイミングで変調を行う。FH送信部51から出力されるFH信号は帯域通過型フィルタ(BPF)60で帯域制限された後、無線部58を通って基地局BS1へ送信される。
FH信号の送信が終了すると、下りスロットを用いて送信される基地局BS1からのOFDM信号の受信を開始する。OFDM信号は、無線部57で受信されて、ディジタル信号に変換された後、帯域通過フィルタ(BPF)59を通って帯域制限された受信信号となる。OFDM受信部53は、帯域制限された受信信号に対する変調を行ない、各サブキャリア信号を出力する。このとき、OFDM受信部53は、CDMA受信部63から出力された同期信号に基づくタイミングで変調処理を行なう。
端末では、さらに、制御信号専用周波数帯208の下りリンクで送信される制御信号を無線部61で受信する。無線部61では、受信信号に対し、周波数変換、A/D変換を行い、帯域通過型フィルタ(BPF)62へ出力する。BPF62では、受信信号から制御専用周波数帯208に対応する信号が抽出されて、CDMA受信部63へ出力される。CDMA受信部63では、入力された信号に対し、予め定められた拡散符号を用いて復調を行い、同期信号や、待ち受け中のページング信号を得る。
上記第2の実施形態にかかる、下りOFDM通信と上りFH通信との双方向通信をTDDで実現する無線通信システムによれば、下りリンクでの高速通信が可能であるとともに、上り通信での端末側のピーク電力が抑えられるため、端末の低消費電力が実現できる。また、時間多重してOFDM信号とFH信号の双方向通信を行う事で、基地局では、上りスロットで各端末から送信されるFH信号から、各端末について、各サブキャリアの伝送路特性を推定することが可能になり、伝送効率の向上が可能になる。さらに、上記第2の実施形態では、上記双方向通信に用いる周波数帯域とは別に、基地局から端末への下り制御信号帯域208を用いて低速な制御信号を送信している。従って、端末は、OFDM信号の受信処理を行なわずに、同期やページング処理などを行なう事ができるため、待ち受け時などの低消費電力化を実現することができる。
(第3の実施形態)
第3の実施形態にかかる無線通信システム全体の概略構成は第2の実施形態と同様である。
図23に、第3の実施形態にかかる無線通信システムのスロット構成例を示す。基地局BS1は周波数および時間領域201(サブキャリア#1から#12および時間「1」から「4」)を用いて、各端末にOFDM方式を用いてデータを送信する。基地局BS1が下りOFDM信号の送信を終了し、ガードタイム202の後、各端末は周波数および時間領域203(サブキャリア#1から#12および時間「6」から時間「11」)の範囲であらかじめ基地局との間で定められたホッピングパターンを用いてFH信号を送信する。なお、ここでは、1上りスロットで、全周波数(サブキャリア#1から#12)にまたがるホッピングパターンが用いられることが望ましい。
各端末が上りFH信号の送信を終了し、ガードタイム204の後、基地局は周波数および時間領域205を用いて、再びOFDM信号を送信する。このように、下りOFDM信号と上りFH信号は同一周波数帯を時間多重して使用している。
端末TE1、TE2は、下りOFDM信号と上りFH信号が用いている周波数帯とは別の周波数帯(制御専用周波数帯)209を用いて、送信電力制御や各端末の位置登録などに用いる信号(制御信号)を送信している。
図24に基地局BS1の構成例を示す。なお、図24では、図18、図21と同一部分には同一符号を付し、本実施形態の特徴的な部分について説明する。各ユーザへ送信するデータ、FHパターン情報、ユーザ割り当て情報は、ユーザ割り当て部1において、ユーザ割り当て情報を用いて、多重され並べ替えられて、OFDM送信部2へ出力される。各ユーザ宛ての信号は、OFDM送信部2において、FDM信号に変換されて、帯域通過型フィルタ(BPS)14で帯域制限されて無線部11から出力される。
このときOFDM送信部2では、送信電力制御部20から出力された送信電力制御情報を用いて各サブキャリア信号の送信電力を調節する。
下りOFDM信号の送信が終了すると、端末からのFH信号が無線部12で受信される。無線部12から出力される信号は、帯域通過型フィルタ(BPF)13を通って、帯域制限信号となり、FH受信部9に入力される。
FH受信部9は、無線部12から出力された受信信号から各サブキャリア信号を検波する。各サブキャリア信号は、伝送路推定部6と、ユーザ信号抽出部10へ出力される。
伝送路推定部6では、各サブキャリア信号と、無線部12で上記AGCのために測定されたFH信号の受信電力値を基に、端末毎に、各サブキャリア信号について伝送路の歪み、電力値、電力比などの伝送路特性を求める。伝送路推定部6で推定された各端末から基地局への上りリンクの伝送路特性は、下りOFDMユーザ割り当て部7、上りFHユーザ割り当て部8にそれぞれ出力されて、下りリンク及び上りリンクで各端末にチャネルを割り当てる際の判断材料として用いられる。
基地局BS1では、制御信号専用周波数帯209の上りリンクで送信される制御信号を無線部17で受信する。無線部17では、受信信号に対し、周波数変換、A/D変換を行い、帯域通過型フィルタ(BPF)18へ出力する。BPF18では、受信信号から制御信号専用周波数帯209に対応する信号が抽出されて、CDMA受信部19へ出力される。CDMA受信部19では、入力された信号に対し、予め定められた拡散符号を用いて復調を行い、復調された制御信号を送信電力制御部20、端末位置情報登録部21へ出力する。
送信電力制御部20は、各端末から送信された制御信号を復号して得られる、当該制御信号に含まれている各サブキャリアの電力値や電力比を用いて、次の下りスロットに対する送信電力を制御すべく、無線部11に対し、送信電力制御情報を出力する。例えば、各サブキャリアの電力値(電力比)が所定の第1の閾値より小さいときには、送信電力を現在の送信電力よりも所定値だけ大きくし、各サブキャリアの電力値(電力比)が所定の第2の閾値以上のときには、送信電力を現在の送信電力よりも所定値だけ小さくし、各サブキャリアの電力値(電力比)が所定の第1の閾値以上で第2の閾値未満のときには、送信電力を変化させないように送信電力を制御する。
端末位置情報登録部21は、各端末から送信された制御信号を復号して得られる、当該制御信号に含まれている位置登録情報を、ハンドオーバなどの処理に用いるために上位レイヤへ通知する。
図25に端末TE1、TE2の構成例を示す。なお、図25では図19、図22と同一部分には同一符号を付し、本実施形態の特徴的名部分について説明する。端末から基地局への送信データは、FH送信部51においてFH信号に変換される。このときのホッピングパターンは、直前の下りスロットで受信したFHパターン情報に基づくものである。FH送信部51から出力されるFH信号は帯域通過型フィルタ(BPF)60で帯域制限された後、無線部58を通って基地局BS1へ送信される。
FH信号の送信が終了すると、下りスロットを用いて送信される基地局BS1からのOFDM信号の受信を開始する。OFDM信号は、無線部57で受信されて、ディジタル信号に変換された後、帯域通過フィルタ(BPF)59を通って帯域制限された受信信号となる。OFDM受信部53は、帯域制限された受信信号に対する変調を行ない、各サブキャリア信号を出力する。
端末では、さらに、制御信号専用周波数帯209の上りリンクで制御信号を送信する。図25では、上位レイヤからの位置登録のための情報(位置登録情報)や、伝送路推定部52で得られる各サブキャリアの電力や電力比を、CDMA送信部64でCDMAの多重、拡散、変調を行い、CDMA信号を出力する。CDMA信号は制御専用周波数帯209に対応する帯域通過型フィルタ(BPF)65を通って無線部66へ出力される。無線部66に入力されたCDMA信号に対し、D/A変換、周波数変換等が行われ、アンテナを介して送信される。
上記第3の実施形態にかかる無線通信システムによれば、下りリンクでの高速通信が可能であるとともに、上り通信での端末側のピーク電力が抑えられるため、端末の低消費電力が実現できる。また、時間多重してOFDM信号とFH信号の双方向通信を行う事で、互いのデータ信号から伝送路特性を推定することが可能になり、伝送効率の向上が可能になる。さらに、上記第3の実施形態では、上記双方向通信に用いる周波数帯域とは別に、端末から基地局への上り制御信号専用周波数帯域209を用いて制御信号を送信している。従って、基地局と端末との間で周波数ホッピングパターンのネゴシエーション処理を行なわずに、送信電力制御や位置登録情報などの制御情報を基地局に伝えることができるため、基地局での処理量を低減することが可能になる。
(第4の実施形態)
第4の実施形態にかかる無線通信システム全体の概略構成は第2の実施形態と同様である。
図26に、第4の実施形態にかかる無線通信システムのスロット構成例を示す。図26では、第3の実施形態の図23と同一部分には同一符号を付し、異なる部分についてのみ説明する。すなわち、図26では、第3の実施形態で説明した制御専用周波数帯209の他に、さらに、第2の実施形態で説明した制御専用周波数帯208が設けられている。そして、各端末から基地局へは制御専用周波数帯209を用いて、送信電力制御と各端末の位置登録などに用いる信号のうちの少なくともいずれか一方を含む第2の制御信号を送信し、基地局から各端末へは、制御専用周波数帯209とは異なる周波数帯の制御専用周波数帯208を用いて、時間同期信号とページング信号のうちのいずれか一方を含む第2の制御信号を送信している。
図27に第4の実施形態にかかる基地局BS1の構成例を示す。なお、図21、図24と同一部分には同一符号を付し、これらと異なる部分についてのみ説明する。
第4の実施形態にかかる基地局は、第2の実施形態で説明したように、制御専用周波数帯208を用いて、上記第1の制御信号(共通パイロットチャネル、ページングチャネル)を送信するためのチャネル多重部3、CDMA送信部4、BPF15、無線部16を有している。
さらに、第3の実施形態で説明したように、制御信号専用周波数帯209の上りリンクで送信される上記第2の制御信号を受信するための無線部17、BPF18、CDMA受信部19、送信電力制御部20、端末位置情報登録部21を有している。
そして、OFDM送信部2では、送信電力制御部20から出力された送信電力制御情報を基に、各端末に対する各サブキャリアの送信電力を調整するようになっている。
図28に端末TE1、TE2の構成例を示す。なお、図28では図22、図25と同一部分には同一符号を付し、これらと異なる部分についてのみ説明する。
第4の実施形態にかかる端末は、第2の実施形態で説明したように、制御専用周波数帯208を用いて、基地局から送信される第1の制御信号(共通パイロットチャネル、ページングチャネル)を受信するための無線部61、BPF62、CDMA受信部63を有している。FH送信部51は、CDMA受信部63から出力された同期信号に基づくタイミングで変調を行う。また、OFDM受信部53は、CDMA受信部63から出力された同期信号に基づくタイミングで変調処理を行なう。
さらに、第3の実施形態で説明したように、制御信号専用周波数帯209の上りリンクで第2の制御信号を送信するためのCDMA送信部64、BPF65、無線部66を有している。
上記第4の実施形態にかかる無線通信システムによれば、下りリンクでの高速通信が可能であるとともに、上り通信での端末側のピーク電力が抑えられるため、端末の低消費電力が実現できる。また、時間多重してOFDM信号とFH信号の双方向通信を行う事で、互いのデータ信号から伝送路特性を推定することが可能になり、伝送効率の向上が可能になる。また、上記第4の実施形態では、上記双方向通信に用いる周波数帯域とは別に、端末から基地局への上り制御信号帯域209を用いて第2の制御信号を送信している。従って、基地局と端末との間で周波数ホッピングパターンのネゴシエーション処理を行なわずに、送信電力制御や位置登録情報などの制御情報を基地局に伝えることができるため、基地局での処理量を低減することが可能になる。さらに、上記第4の実施形態では、上記双方向通信に用いる周波数帯域とは別に、基地局から端末への下り制御信号帯域208を用いて低速な第1の制御信号を送信している。従って、端末は、OFDM信号の受信処理を行なわずに、時間同期処理やページング処理などを行なう事ができるため、待ち受け時などの低消費電力化を実現することができる。このように、上りおよび下りにおいて、制御信号専用帯域209,208を設けることで、端末の待ち受け時の低消費電力化および、基地局の処理量の削減効果がある。
(第5の実施の形態)
第5、第6の実施形態では、端末から基地局へ送信すべきデータ量と、基地局から端末へ送信すべきデータ量とから、上り無線リンクと下り無線リンクとの通信速度比を変更する場合について説明する。
第5の実施形態にかかる無線通信システム全体の概略構成を図2を参照して説明する。基地局BS1は端末TE1および端末TE2に向かって下りOFDM信号DL1、DL2を一定期間送信する。基地局BS1が下りOFDM信号の送信を終了すると、端末TE1および端末TE2は基地局BS1へ下りOFDM信号と同一周波数帯を用いて上りFH信号UL1、UL2を送信する。このように下りOFDM信号と上りFH信号は時間的に多重されている。そして、第5の実施形態にかかる無線通信システムでは、下りOFDM信号と上りFH信号の通信速度比はタイムスロットのフォーマットを変更することによって、動的に変更することができる。
図29は、基地局と端末との間で通信速度比を変更するための処理手順を示すフローチャートである。基地局では、一定間隔で、基地局から端末へ送信するべきデータ量を把握している(ステップS11)。また、各端末においても、一定間隔で、各端末から基地局へ送信すべきデータ量を通知している(ステップS12)。端末から基地局への通知は、例えば、上りリンクでFH信号を用いて送られる。
基地局では、これらの情報を用いて、上りリンクで送信されるデータ量および、下りリンクで送信されるデータ量のバランスが、現在の通信速度比と大きく異なると判断された場合、変更するべき通信速度比の決定を行なう(ステップS13)。例えば、現在の上り通信速度と下り通信速度の比が1:10であるとする。しかし、下りリンクのデータの量が大きくなっているため、図29では、上り通信速度と下り通信速度を1:20に変更しようとしている。
基地局は、各端末に対してスロットフォーマットの変更情報を送信する(ステップS14)。端末では、スロットフォーマット変更情報を受信して、その準備を開始する。端末はスロットフォーマット変更準備が完了したら、基地局に対してスロットフォーマット変更情報に対する応答信号を返す(ステップS15)。
基地局では通信している端末が全てスロットフォーマット変更に対する応答信号を返してきたら、スロットフォーマット変更開始信号を送信し、同時に、スロットフォーマットを変更することによって、通信速度比を変更する(ステップS17)。
このように、基地局では、下りリンクのデータ量と上りリンクのデータ量を常に把握することで、通信速度比の変更を行なうかどうかを判定する。
下りOFDM通信と上りFH通信との双方向通信をTDDで実現する無線通信システムでは、双方向通信で使用される全帯域での伝送路状態を端末で推定することが可能になる。また、上りリンクにFH通信方式を用いることで、ピークアベレージ電力の低減が可能であることから、端末の低消費電力が実現できる。さらに、上り通信と下り通信を時間的に多重することで、お互いの伝送路特性推定値を用いることができ、また、基地局および端末間でのネゴシエーションを、時間的余裕を持って、比較的容易に決定することができる。また、ネゴシエーションを用いて、スロットフォーマットの変更を行なう事によって、システムリソースの有効活用を行なう事ができる。
次に、図30を参照して、スロットフォーマットが変更する様子をより具体的に説明する。図30では、時間「1」、「3」、「5」…を使って基地局から各端末への下りOFDM信号が送信されている。また、時間「2」、「4」、「6」…を使って端末から基地局への上りFH信号が送信されている。ここでは、時間「4」における上りリンクのFH信号において、端末が送信しようとするデータ量が送信される。基地局では、各端末から受け取ったデータ量と、各端末に送信すべき下りリンクのデータ量とを考慮して、通信速度比の変更を決定したとする。
時間「5」の下りリンクにおいて、基地局は各端末に対して、スロットフォーマットの変更情報を送信し、時間「6」の上り通信において各端末はスロットフォーマットの変更情報に対する応答信号を送信する。基地局は現在通信を行っている全ての端末が応答信号を送信したことを確認して、時間「7」の下り通信において各端末に対して、スロットフォーマットの変更開始信号を送信する。
図30では、スロットフォーマットの変更前では、1上りスロットと1下りスロットを交互に送信して時間多重を行っていた。時間「8」からは3上りスロットと1下りスロットを交互に送信することによって、上り通信速度を向上している。また、反対に時間「17」から「19」では、下り通信を3スロット連続で送信することにより、下り通信速度を向上している。
図31に、第5の実施形態にかかる基地局の構成例を示す。なお、図31において、図18と同一部分には同一符号を付し、異なる部分についてのみ説明する。すなわち、図31では、送受信タイミング制御部22が新たに追加されている。
各端末からは、FH信号により、送信される上りデータ量情報が送られてくる。この上りデータ量情報は、信号分離部5から上位レイヤへ渡される。
上位レイヤでは、定期的に各端末から送られてくる上りデータ量と、基地局から端末へ送信するべきデータ量とから、通信速度比を変更すべきであると判断した場合には、各端末に通信速度比を変更すべきタイミングと通信速度比を通知するためのスロットフォーマット変更情報を生成し、それをOFDM信号で各端末へ送信する。各端末からはFH信号によりスロットフォーマット変更応答が送信されるので、それを上位レイヤで受け取る。上位レイヤでは、通信中の全端末からのスロットフォーマット変更応答が得られると、各端末へ送信すべきスロットフォーマット変更開始信号を、OFDM信号で送信すべく、ユーザ割り当て部1へ与える。これと同時に、送受信タイミング制御部22へ、変更すべきタイミングと通信速度比を与える。
送受信タイミング制御部21では、当該所望の通信速度比になるようにスロットフォーマットを計算して、当該スロットフォーマットに対応する送受信タイミングとなるように、送信タイミング制御信号及び受信タイミング制御信号をOFDM送信部2及びFH受信部9にそれぞれ出力する。
OFDM送信部2でOFDM信号を出力するタイミングは、送受信タイミング制御部22から出力される送信タイミング制御信号を参照する。また、FH受信部9での受信処理を行なうタイミングは、送受信タイミング制御部22から出力された受信タイミング制御信号を用いる。
図32に、第5の実施形態にかかる端末の構成例を示す。なお、図32において、図19と同一部分には同一符号を付し、異なる部分についてのみ説明する。すなわち、図32では、送受信タイミング制御部67が新たに追加されている。
上位レイヤは、定期的に、上りデータ量情報を基地局へ送信すべく、FH送信部51へ与える。FH送信部51では、上りデータ量情報を前述同様にしてFH信号に変調して基地局へ送信する。下りスロットで、基地局から送信されてきたOFDM信号は、前述同様、OFDM受信部53、ユーザ信号抽出部54、信号分離部55で処理されて、自装置宛ての受信データのみが上位レイヤへ渡される。この受信データにスロットフォーマット変更情報が含まれているときは、上位レイヤは、基地局へ送信すべきスロットフォーマット変更応答情報を、FH信号で送信すべく、FH送信部51へ与える。これと同時に、上位レイヤは、送受信タイミング制御部67に、当該スロットフォーマット変更情報に含まれていた、変更すべきタイミングと通信速度比を与える。
送受信タイミング制御部67では、当該所望の通信速度比になるようにスロットフォーマットを計算して、当該スロットフォーマットに対応する送受信タイミングとなるように、送信タイミング制御信号及び受信タイミング制御信号をFH送信部51及びOFDM受信部53にそれぞれ出力する。
FH送信部51での送信タイミングは、送受信タイミング制御部67から出力された送信タイミング制御信号を参照する。また、OFDM受信部53でOFDM信号を受信するタイミングは、送受信タイミング制御部67から出力される受信タイミング制御信号を参照する。
以上説明したように、上記第5の実施形態によれば、スロットフォーマットの変更を行なう(OFDM信号の送信時間幅と、FH信号の送信時間幅を変更する)事によって、システムリソースの有効活用を行なう事ができる。また、既存のシステム構成に大きな変更を加えることなく、通信速度比の変更を実現することができる。
(第6の実施形態)
上記第5の実施形態では、OFDM信号の送信時間幅と、FH信号の送信時間幅を変更することにより、上り無線リンクと下り無線リンクとの通信速度比を変更していた。すなわち、OFDM信号の送信、FH信号の送信にそれぞれ1タイムスロットずつ割り当てていたのを、OFDM信号の送信に連続した2あるいは3タイムスロット、FH信号の送信に1タイムスロットと、スロットフォーマットを変更することで、上り/下りの通信速度比を変更していた。
第6の実施形態では、上り/下りの通信速度比を変更するための他の手法について説明する。すなわち、OFDM信号の一部のサブキャリアの送信を停止し、この送信を停止した周波数帯及び時間を用いてFH信号を送信することにより、上り/下りの通信速度比を変更する場合について説明する。ここでは、この手法と前述の第5の実施形態とを組み合わせて、上り/下りの通信速度比を変更する場合について説明するが、このうちのいずれか一方のみを用いても、上り/下りの通信速度比を変更することは可能である。
図33は、第6の実施形態にかかる無線通信システムで用いられるスロット構成例を示したものである。基地局は周波数および時間領域201(サブキャリア#1から#12および時間「1」から「4」)を用いて、各端末にOFDM方式を用いてデータを送信する。基地局が下りOFDM信号の送信を終了し、ガードタイム202の後、各端末は周波数および時間領域203(サブキャリア#1から#12および時間「6」から時間「11」)の範囲であらかじめ基地局との間で定められたホッピングパターンを用いてFH信号を送信する。
この後、時間「13」から時間「16」における下りOFDMスロットにおいて、基地局はサブキャリア#1からサブキャリア#6のデータ送信を停止し、サブキャリア#7から#12までの周波数領域を使ってデータを送信する。このとき、端末は周波数および時間領域209(サブキャリア#1から#5および時間「11」から「17」)を用いてFH信号を基地局に対して送信する。よって、時間「13」から時間「16」にかけて、基地局はデータを受信しながら送信を行なう事になる。また、端末においては、データの送信もしくは受信のみを行なうことで、端末構成を簡単にすることができる。
このように、第6の実施形態にかかる無線通信システムでは、下りリンクにおいて、ユーザに割り当る帯域を制限することにより(下り通信において送信停止周波数および時間領域209を形成することにより)、下り通信に使用しないサブキャリアの周波数帯および時間領域を用いて上りOFDM通信を行なうようになっている。
図34に、第6の実施形態にかかる基地局の構成例を示す。なお、図34において、前述の第5の実施形態にかかる基地局の構成を示した図31と同一部分には同一符号を付し、異なる部分についてのみ説明する。すなわち、図34では、OFDM送信部2と無線部11との間に帯域通過フィルタ(BPF)14が接続され、無線部12とFH受信部9との間に帯域通過フィルタ(BPF)13が接続されている。
上位レイヤでは、定期的に各端末から送られてくる上りデータ量と、基地局から端末へ送信するべきデータ量とから、通信速度比を変更すべきであると判断した場合には、各端末に通信速度比を変更すべきタイミング及び通信速度比とOFDM信号の受信を停止する(あるいはOFDM信号の受信に利用する)周波数帯及び時間、あるいは、通信速度比を変更すべきタイミング及び通信速度比とFH信号の送信に利用する周波数帯及び時間を通知するためのスロットフォーマット変更情報を生成し、それをOFDM信号で各端末へ送信する。各端末からはFH信号によりスロットフォーマット変更応答が送信されるので、それを上位レイヤで受け取る。上位レイヤでは、通信中の全端末からのスロットフォーマット変更応答が得られると、各端末へ送信すべきスロットフォーマット変更開始信号を、OFDM信号で送信すべく、ユーザ割り当て部1へ与える。これと同時に、送受信タイミング制御部22へ、変更すべきタイミングと通信速度比、OFDM信号の受信を停止する(あるいはOFDM信号の受信に利用する)周波数帯及び時間、FH信号の送信に利用する周波数帯及び時間を通知する。
送受信タイミング制御部22は、上位レイヤから通信速度比の変更すべきタイミングと、変更すべき通信速度比が与えら得ると、当該所望の通信速度比になるようにスロットフォーマットを計算して、当該スロットフォーマットに対応する送受信タイミングとなるように、送信タイミング制御信号と受信タイミング制御信号をOFDM送信部2とFH受信部9にそれぞれ出力する。また、上位レイヤから通知されたOFDM信号の送信を停止する(あるいはOFDM信号の送信に利用する)周波数帯および時間を通知するための送信帯域制御信号と受信帯域制御信号をBPF14とBPF13にそれぞれ出力する。
OFDM送信部2でOFDM信号を出力するタイミングは、送受信タイミング制御部22から出力される送信タイミング制御信号により決定され、送信を停止する周波数帯域(あるいは送信に利用する周波数帯域)は、送受信タイミング制御部22から出力される送信帯域制御信号によりBPF11に通知され、BPF14では、この送信帯域制御信号を参照して、OFDM送信部2から出力されるOFDM信号の帯域制限を行う。
また、FH受信部9での受信処理を行なうタイミングは、送受信タイミング制御部22から出力された受信タイミング制御信号により決定され、受信する周波数帯域(あるいは受信しない周波数帯域)は、送受信タイミング制御部22から出力される受信帯域制御信号によりBPF13に通知される。BPF13では、この受信帯域制御信号を参照して、FH受信部9で受信するFH信号の帯域制限を行う。
このような構成により、OFDM送信部2では、図33の時間「13」から時間「16」における下りOFDMスロットにおいて、サブキャリア#1からサブキャリア#6のデータ送信を停止し、サブキャリア#7から#12までの周波数領域を使ってOFDM信号を送信する。また、FH受信部9では、図33の時間「11」から「17」において、サブキャリア#1から#5を用いて端末から送信されるFH信号を受信する。
図35に、第6の実施形態にかかる端末の構成例を示す。なお、図35において、前述の第5の実施形態にかかる端末の構成を示した図32と同一部分には同一符号を付し、異なる部分についてのみ説明する。すなわち、図35では、FH送信部51と無線部58の間に帯域通過フィルタ(BPF)60が接続され、無線部57とOFDM受信部53との間に帯域通過フィルタ(BPF)59が接続されている。
上位レイヤでは、スロットフォーマット変更情報を受け取ると、当該スロットフォーマット変更情報に含まれていた、通信速度比を変更すべきタイミングと変更後の通信速度比とOFDM信号の受信を停止する(あるいはOFDM信号の受信に利用する)周波数帯及び時間、あるいは、通信速度比を変更すべきタイミング及び変更後の通信速度比とFH信号の送信に利用する周波数帯及び時間を送受信タイミング制御部67に与える。
送受信タイミング制御部67は、上位レイヤから通信速度比の変更すべきタイミングと、変更すべき通信速度比が与えら得ると、当該所望の通信速度比になるようなスロットフォーマットに対応する送受信タイミングとなるように、送信タイミング制御信号と受信タイミング制御信号をFH送信部51とOFDM受信部53にそれぞれ出力する。また、上位レイヤから与えられた、OFDM信号の受信を停止する(あるいはOFDM信号の受信に利用する)周波数帯及び時間、あるいは、FH信号の送信に利用する周波数帯及び時間を通知するための送信帯域制御信号と受信帯域制御信号をBPF60とBPF59にそれぞれ出力する。
FH送信部51でFH信号を出力するタイミングは、送受信タイミング制御部67から出力される送信タイミング制御信号により決定され、送信を停止する周波数帯域(あるいは送信に利用する周波数帯域)は、送受信タイミング制御部67から出力される送信帯域制御信号によりBPF60に通知され、BPF60では、この送信帯域制御信号を参照して、FH送信部51から出力されるFH信号の帯域制限を行う。
また、OFDM受信部53での受信処理を行なうタイミングは、送受信タイミング制御部67から出力された受信タイミング制御信号により決定され、受信する周波数帯域(あるいは受信しない周波数帯域)は、送受信タイミング制御部67から出力される受信帯域制御信号によりBPF59に通知される。BPF59では、この受信帯域制御信号を参照して、OFDM受信部53で受信するOFDM信号の帯域制限を行う。
このような構成により、端末では、図33の時間「11」から「17」において、FH送信部51でサブキャリア#1から#5を用いて基地局へFH信号を送信する。あるいは、この時間帯にはFH信号の送信を行わずに、時間「13」から時間「16」にかけて基地局から送信されるサブキャリア#1からサブキャリア#6を含むOFDM信号を、OFDM受信部53で受信する。
以上説明したように、上記第6の実施形態によれば、上り通信の伝送速度が向上し、より詳細な通信速度比の変更を行なう事ができる。また、既存のシステム構成に大きな変更を加えることなく、より詳細な通信速度比の変更を実現することができる。
なお、図33では、下りリンクに送信停止周波数および時間領域を形成する場合を示したが、図36のように、上りリンクに送信停止周波数および時間領域を形成することも可能である。この場合の基地局、端末の構成は、図34、図35と同様である。
図36において、基地局は周波数および時間領域201(サブキャリア#1から#12および時間「1」から「4」)を用いて、各端末にOFDM方式をもちいてデータを送信する。基地局が下りOFDM信号の送信を終了し、ガードタイム202の後、各端末は周波数および時間領域210(サブキャリア#7から#12および時間「6」から時間「11」)の範囲であらかじめ基地局との間で定められたホッピングパターンを用いてFH信号を送信する。ここで、周波数および時間領域211(サブキャリア#1から#6及び時間「5」から「12」)については、下りOFDM信号を送信する領域とする。従って、各端末では、この領域211については、送信を行なわないようなホッピングパターンを用いる。
基地局は周波数および時間領域210における各端末からの上り信号を受信しながら、周波数および時間領域211を用いて、端末に下りOFDM信号を送信する。また、端末は、データの送信もしくは受信のみを行なうことで、端末構成を簡単にすることができる。各端末が時間「11」において上り通信を終了して、ガードタイム204の後、再び基地局は全サブキャリアを用いて、データを送信する。
図36では、上りリンクにおいて、帯域を制限するようなホッピングパターンを用いることにより(上り通信において送信停止周波数および時間領域を形成することにより)、上りリンクで使用しない周波数および時間領域を用いて下りOFDM通信を行なうようになっている。このようなスロット構成にすることで、下り通信の伝送速度を向上し、より詳細な通信速度比の変更を行なう事ができる。
(第7の実施形態)
第7の実施形態にかかる無線通信システム全体の概略構成は図2と同様である。すなわち、基地局BS1は端末TE1および端末TE2に向かって下りOFDM信号DL1、DL2を一定期間送信する。基地局BS1が下りOFDM信号の送信を終了すると、端末TE1および端末TE2は基地局BS1へ下りOFDM信号と同一周波数帯を用いて上りFH信号UL1、UL2を送信する。このように下りOFDM信号と上りFH信号は時間的に多重されている。
図37は、第7の実施形態にかかる無線通信システムで用いられるスロット構成例を示したものである。基地局BS1は、周波数および時間領域201(サブキャリア#1から#12および時間「1」から「4」)を用いて、各端末にOFDM方式をもちいてN_DLシンボルのデータを連続して送信する。このとき、1下りスロットの連続したシンボルのなかで、先頭のシンボル213と、終端のシンボル214に、基地局および端末が互いに既知であるパイロットシンボルを割り当てる。
図37では、サブキャリア#10、#11にユーザ#1のデータ、サブキャリア#4、#5にユーザ#2のデータがそれぞれ割り当てられている。基地局BS1は、(端末から送信されてきた)下りスロットのパイロットシンボルを用いた伝送路推定結果から、各ユーザにとって伝送路状態が良好なサブキャリアを選んで、下りスロットでの各ユーザに対するチャネル割り当てを行っている。
基地局が下りOFDM信号の送信を終了し、ガードタイム202の後、各端末は周波数および時間領域203(サブキャリア#1から#12および時間「6」から時間「11」)の範囲であらかじめ基地局から通知されたホッピングパターンを用いてN_ULシンボルのFH信号を連続して送信する。
図37では、ユーザ#1はサブキャリア#10、#11における伝送路状態が良好であるため、サブキャリア#10、#11を主に使った、ホッピングパターンを用いている。また、ユーザ#2はサブキャリア#4、#5における伝送路状態が良好であるため、サブキャリア#4、#5を主に使った、ホッピングパターンを用いている。
各端末がデータの送信を終了すると、ガードタイム204の後、再び基地局が各端末に対して、下りOFDM信号の送信を開始する。
図38に、第7の実施形態にかかる基地局の構成例を示す。なお、図38において、図18と同一部分には同一符号を付し、異なる部分についてのみ説明する。すなわち、図38のユーザ割り当て部1は、各ユーザ宛ての信号にパイロット信号とを多重する。そして、OFDM送信部2では、先頭と終端にパイロット信号の付加されたOFDM信号に変換する。
また、下りOFDMユーザ割り当て部7と上りFHユーザ割り当て部8では、FH受信部9で受信されたFH信号に含まれる、各端末から送信された伝送路状態情報を用いて、ユーザ割り当て情報、各ユーザのFHパターン情報を生成する。
第7の実施形態にかかる端末の構成例は、図19と同様である。異なるのは、伝送路状態推定部52で伝送路状態を推定する際に用いるものは、OFDM受信部53で受信された各サブキャリア信号の先頭のパイロット信号及び終端のパイロット信号である点である。伝送路状態推定部52では、OFDM受信部53から出力された先頭及び終端のパイロット信号のうちの少なくとも一方を用いて、全サブキャリアについて送路状態を推定する。例えば終端のパイロット信号を用いた伝送路状態の推定結果を表す伝送路状態情報は、FH送信部51へ出力される。
また、OFDM受信部53では、受信したOFDM信号の先頭及び終端のパイロット信号のうちの少なくとも一方を基に、受信信号を復号する。例えば、受信したOFDM信号の先頭のパイロット信号のうちの少なくとも一方を基に、受信信号を復号する。
FH送信部51は、該基地局への送信データと伝送路推定部52から出力された伝送路状態情報とを多重するとともに、基地局から通知された(OFDM受信部53での受信信号から得られた)FHパターン情報を用いてFH信号に変換して送信する。
図37の下りスロット中の先頭と終端のシンボル(基地局及び端末で既知のパイロット信号)とを用いた、基地局と端末との間の制御処理について、図39に示すフローチャートを参照して説明する。
下りスロット201で、基地局は端末に、OFDM信号を用いてN_DLシンボルの信号を送信する(ステップS21)。この信号のうち、先頭のシンボルと終端のシンボルは基地局および端末が既知のパイロット信号である。端末では、下りOFDM信号を受信すると、伝送路推定部52において、先頭のパイロット信号を用いて伝送路状態を推定するとともに(ステップS22)、OFDM受信部53では受信データを復号する。終端のパイロット信号を用いた伝送路状態の推定結果(伝送路状態情報)は、上りスロット203で、FH信号を用いて、基地局へフィードバックする(ステップS23)。
基地局では、各端末から受け取った各端末の伝送路状態情報から、各端末について、伝送路状態の良い周波数帯を認識することができる。そして、下りスロット205内のサブキャリアを各端末に割り当てる際には、各端末にとって伝送路状態の良い周波数のサブキャリアを優先して割り当てて、ユーザ割り当て情報を生成する。また、各端末に、上りスロット207でのFH信号のホッピングパターンを決定する際には、各端末にとって伝送路状態の良い周波数帯を主に用いたホッピングパターンを決定し、各ユーザのFHパターン情報を生成する(ステップS24)。
このようにしてユーザ割り当てを決定した後、基地局は、各端末に各端末宛てのデータを送信するための各端末に割り当てられたサブキャリアを含むOFDM信号に、先頭および終端のパイロット信号を付加して、下りスロット205を用いて各端末に送信する(ステップS25)。
上記第7の実施形態によれば、上りリンクにFH通信方式を用いることで、ピークアベレージ電力の低減ができることから、端末の低消費電力を実現できる。また、下りリンクにOFDM通信方式用いることで、下り通信の高速化を図ることができる。上り通信と下り通信を時間的に多重することで、お互いの伝送路特性推定値を用いることができる。従って、基地局および端末間でのネゴシエーションを、時間的余裕を持って、比較的容易に行うことができる。
さらに、上記第7の実施形態によれば、例えば、下りスロット201で送信された、OFDM信号の終端のパイロット信号を用いて伝送路状態の推定を行う。この伝送路状態の推定結果は、基地局において、その直後の下りスロット205、上りスロット203での時間、周波数帯をユーザに割り当てる際に用いる。従って、基地局と端末のデータ送信時に時間的に近い時点における伝送路状態を基に、各端末に、当該端末にとって最適の(伝送路状態のよい)周波数帯を優先して割り当てることができ、誤り率の低減、伝送効率の向上が図れる。
(第8の実施形態)
第8の実施形態にかかる無線通信システムも、上記第7の実施形態と同様、下りスロットで送信されるOFDM信号の先頭と終端に(基地局及び端末が既知の信号である)パイロット信号が含まれている。第8の実施形態にかかる無線通信システムの端末では、OFDM信号の先頭のパイロット信号を用いてOFDM信号の復調を行い、終端のパイロット信号を用いてパイロット信号の受信状態を指標化する。
例えば、終端のパイロット信号の移相および振幅情報を表す基地局と各端末とで共通のテーブルを基地局と端末でそれぞれ記憶しておく。端末では、当該テーブル中の情報の中から現在受信したパイロット信号の状態に最も近い情報を選択する。そしてテーブル中の当該選択された情報のアドレスを識別するための値を、当該パイロット信号の受信状態に対応する指標値とする。指標値(受信状態指標値)は、上りFH信号を用いて、基地局へフィードバックされる。
基地局では、各端末から受け取った各端末における受信状態の指標値を用いて、伝送路状態を推定する。基地局は、推定した伝送路状態を用いて、各端末に、伝送路状態の良い周波数のサブキャリアを優先して割り当て、また、伝送路状態の良い周波数帯を主に用いたホッピングパターンを決定する。
第8の実施形態にかかる基地局の構成は、図18とほぼ同様であり、異なる部分についてのみ説明する。すなわち、OFDM送信部2は、ユーザ割り当て部1から出力された各ユーザ宛てのデータに、上りFHユーザ割り当て部8で生成されたFHパターン情報、下りOFDMユーザ割り当て部7で生成されたユーザ割り当て情報を多重し、さらに、先頭と終端にパイロット信号を付加して、FDM信号に変換する。
また、伝送路推定部6では、終端のパイロット信号の移相および振幅情報と指標値(受信状態指標値)とを対応付けるるテーブルを記憶する。そして、FH受信部9で受信されたFH信号に含まれる、各端末から送信された受信状態指標値を用いて、各端末における各サブキャリアの伝送路状態を推定する。すなわち、当該テーブルから受信状態指標値に対応する終端パイロット信号の位相及び振幅情報を得て、これらに基づく伝送路推定結果を、下りOFDMユーザ割り当て部7と上りFHユーザ割り当て部8に出力する。下りOFDMユーザ割り当て部7では、上記伝送路推定結果を基に、次の下りスロットにおけるユーザ割り当てを決定し、その結果を表すユーザ割り当て情報を出力する。上りFHユーザ割り当て部8では、上記伝送路推定結果を基に、次の上りスロットにおける各ユーザのFHパターンを決定し、その結果を表す各ユーザのFHパターン情報を出力する。
第8の実施形態にかかる端末の構成例は、図19と同様である。異なるのは、伝送路状態推定部52は、終端のパイロット信号の移相および振幅情報と指標値(受信状態指標値)とを対応付けるテーブルを記憶する。そして、当該テーブルを用いて、OFDM受信部53で得られた終端のパイロット信号の移相および振幅情報に対応する指標値を得る。この受信状態指標値は、FH送信部51へ出力される。FH送信部51では、基地局への送信データと伝送路推定部52から出力された受信状態指標値とを多重するとともに、基地局から通知された(OFDM受信部53での受信信号から得られた)FHパターン情報を用いてFH信号に変換して送信する。
図37の下りスロット中の終端のシンボル(基地局及び端末で既知のパイロット信号)とを用いた、基地局と端末との間の処理動作について、図40に示すフローチャートを参照して説明する。
下りスロット201で、基地局は端末に、OFDM信号を用いてN_DLシンボルの信号を送信する(ステップS31)。この信号のうち、先頭のシンボルと終端のシンボルは基地局および端末が既知のパイロット信号である。端末では、下りOFDM信号を受信すると、伝送路推定部52では、受信された終端のパイロット信号の移相および振幅情報に対応する指標値を求める(ステップS32)。この指標値は、上りスロット203で、FH信号を用いて、基地局へフィードバックする(ステップS33)。
基地局では、各端末から受け取った受信状態指標値から、各端末における各サブキャリアの伝送路状態を推定する(ステップS34)。そして、伝送路推定結果を基に、次の下りスロットにおけるユーザ割り当てを決定し、その結果を表すユーザ割り当て情報を生成する。また、伝送路推定結果を基に、次の上りスロットにおける各ユーザのFHパターンを決定し、その結果を表す各ユーザのFHパターン情報を生成する(ステップS35)。
このようにしてユーザ割り当てを決定した後、基地局は、各端末に各端末宛てのデータを送信するための各端末に割り当てられたサブキャリアを含むOFDM信号に、先頭および終端のパイロット信号を付加して、下りスロット205を用いて各端末に送信する(ステップS36)。
上記第8の実施形態によれば、上りリンクにFH通信方式を用いることで、ピークアベレージ電力の低減ができることから、端末の低消費電力を実現できる。また、下りリンクにOFDM通信方式用いることで、下り通信の高速化を図ることができる。上り通信と下り通信を時間的に多重することで、お互いの伝送路特性推定値を用いることができる。従って、基地局および端末間でのネゴシエーションを、時間的余裕を持って、比較的容易に行うことができる。
さらに、上記第8の実施形態によれば、端末では、例えば下りスロット201で送信されたOFDM信号を受信すると、当該OFDM信号に含まれる終端のパイロット信号の受信状態を表す指標値を求める。この指標値は、上りスロット203で基地局へ送信され、基地局で、各端末について伝送路状態を推定する際に用いられる。基地局では、伝送路状態の推定結果から、その直後の下りスロット205、上りスロット203での時間・周波数帯をユーザに割り当てる。従って、基地局と端末のデータ送信時に時間的に近い時点における伝送路状態を基に、各端末に、当該端末にとって最適の(伝送路状態のよい)周波数帯を優先して割り当てることができ、誤り率の低減、伝送効率の向上が図れる。
(第9の実施形態)
第9の実施形態にかかる無線通信システムでは、図41に示すように、セルラー通信網におけるセル内において基地局BS1および各端末TE1、TE2が、基地局から端末への下りリンクでは複数のサブキャリアを用いたOFDM通信を行い、端末から基地局への上りリンクでは周波数ホッピング方式およびOFDM方式による通信を行い、TDDにより下り通信と上り通信との双方向通信を行うようになっている。
図42に示すように、TDDの1下りスロット201では、複数のサブキャリアを利用したOFDM方式による通信を行う。一方、TDDの上りスロットでは、図43に示すように、周波数ホッピング方式およびOFDM方式による通信を行う。ただし、上りスロットでのOFDM信号の送信スロット(通信時間)は、周波数ホッピング(FH)信号の送信スロット(通信時間)に比べて短く、各端末はOFDM信号は1シンボル分を送信するものとする。また、上りスロットで端末が送信するOFDM信号は、受信品質測定用のパイロット信号として用いるため、基地局BS1および端末TE1、TE2には既知のシンボル系列である。以下の説明では、上りスロットで端末が送信するOFDM信号を既知信号と呼ぶことがある。
上りスロットで、端末がOFDM方式によって送信する既知信号は、基地局側にて各サブキャリアの伝送品質を測定(推定)する際に利用される。伝送品質の測定結果は、下りスロットで利用するサブキャリアを選択する指針に用いられる。
図44は、第9の実施形態にかかる通信システムの基地局と端末との間の上記既知信号を用いた処理動作を説明するためのフローチャートである。
端末は、上りスロットにおいて、図43に示したように、OFDM信号の既知信号を送信する(ステップS51)。既知信号の送信後、端末はFH信号の送信を行う(ステップS52)。一方、基地局は、受信したOFDM信号を復調し、既知信号の系列から全サブキャリアについて受信電力を測定することで、各端末における各サブキャリアの受信品質を推定することが可能になる(ステップS53)。
各サブキャリアの受信電力を測定した後に、基地局は、その後の下りスロットで各端末との通信に利用するサブキャリアを選択する(ステップS54)。例えば、受信電力値が予め定められた閾値以上のサブキャリアのなかから受信電力値が高いサブキャリアを優先的に選択する。そして、受信電力値が閾値に満たないサブキャリアは端末との通信に利用しないようにする。
基地局は、各端末に対し選択されたサブキャリアを通知するための信号を送信した後(ステップS56)、当該選択されたサブキャリアを用いて当該端末宛ての送信データを送信する(ステップS57)。
ここで、上りスロットと下りスロットのそれぞれにおける周波数帯・時間領域(ユーザチャネル)の各端末への割り当て方法について説明する。
図45、図46は、第1の割り当て方法を示したものである。各端末には、上り及び下りスロット内のOFDM信号のスロット(タイムスロット)が予め定められている。基地局は、各端末に対し、上りスロット内のFH信号の送信スロット内において、(例えば当該端末における受信品質のよい周波数帯を選択して)周波数ホッピングパターンを決定する。この周波数ホッピングパターンは予め基地局から各端末へ通知されるものとする。
ステップS54において、図46に示すように、ユーザ#1の端末から送信された既知信号から、下りスロット内に当該ユーザ#1に割り当てたタイムスロット内の周波数領域251での受信品質が低いと判断されると、その後は、当該周波数領域251のサブキャリアはユーザ#1には割り当てられていない。同様に、ユーザ#2の端末から送信された既知信号から、下りスロット内に当該ユーザ#2に割り当てたタイムスロット内の周波数領域252での受信品質が低いと判断されると、当該周波数領域252のサブキャリアはユーザ#2には割り当てられていない。
なお、図46では、下りスロット内の各端末に割り当てられた各スロットで、基地局から送信されるOFDM信号の先頭シンボルにより、通信に用いるサブキャリアが各端末へ通知されるものとする。
このように、上りスロットで端末から送信された広帯域信号を利用することにより、既知局では全サブキャリアの受信品質を推定することができる。基地局では、得られた各サブキャリアの受信品質を基に、受信品質が良いサブキャリアを下りスロットで優先的に利用することで、基地局と端末間の通信品質の向上が期待できる。
図47、図48は、第2の割り当て方法を示したものである。上り及び下りスロット内のOFDM信号のスロットでは、各端末に対し予め割り当てられた拡散符号を用いて、ユーザ多重を行う場合(OFCDM:Orthogonal Frequency and code division multiplexing)を示している。各端末は、基地局から指定された拡散符号を用いて通信を行う。基地局は、各端末に対し、上りスロット内のFH信号の送信スロット内において、(例えば、当該端末における受信品質のよい周波数帯を選択して)周波数ホッピングパターンを決定する。この周波数ホッピングパターンは予め基地局から各端末へ通知されるものとする。
ステップS54において、図48に示すように、ユーザ#1の端末から送信された既知信号から、下りスロット内に当該ユーザ#1に割り当てたタイムスロット内の周波数領域253での受信品質が低いと判断されると、その後は、当該周波数領域253のサブキャリアはユーザ#1には割り当てられていない。同様に、ユーザ#2の端末から送信された既知信号から、下りスロット内に当該ユーザ#2に割り当てたタイムスロット内の周波数領域254での受信品質が低いと判断されると、当該周波数領域254のサブキャリアはユーザ#2には割り当てられていない。
このように、上りスロットで端末から送信された広帯域信号を利用することにより、既知局では全サブキャリアの受信品質を推定することができる。基地局では、得られた各サブキャリアの受信品質を基に、受信品質が良いサブキャリアを下りスロットで優先的に利用することで、基地局と端末間の通信品質の向上が期待できる。
図49は、第9の実施形態にかかる無線通信システムの端末の送信系の構成例を示したものであり、図19と同一部分には同一符号を付し、異なる部分についてのみ説明する。すなわち、図49では、既知信号を送信するためのOFDM送信部88と、既知信号のビット系列(既知信号のパターン)を記憶する記憶部87が新たに追加されている。さらに、無線部58の構成が図19と異なる。なお、図49では、無線部58の構成を図19よりも詳細に示している。また、第9の実施形態にかかる端末の構成は、図49に示す送信系の構成以外は全て図19と同様である。
FH送信部51から出力されるFH信号をディジタル信号からアナログ信号に変換するためのD/A変換部82、周波数変換を行うための周波数変換部84、アンテナから無線信号を送出するためのパワーアンプ(PA)86は図19の端末の無線部58にも含まれている。図49の無線部58には、さらに、OFDM送信部88から出力されるOFDM信号をディジタル信号からアナログ信号に変換するためのD/A変換部81、周波数変換を行うための周波数変換部83、周波数変換部84から出力されるFH信号と周波数変換部83から出力されるOFDM信号のうちのいずれか一方のみをPA86へ出力するための切替部85が含まれている。
一般に、OFDM方式による通信では、広い帯域にまたがってフラットな周波数スペクトルを有する信号を送信するため、送信時間波形のピーク電力と平均電力の差が大きくなり、送信系のパワーアンプ(PA)の消費電力が問題となる。
しかし、上りリンクにて送信されるOFDM信号は伝送路推定用の既知のビット系列である。よって、あらかじめピーク電力と平均電力の差が(最も)小さくなるような系列を調べておき、これを記憶部87に予め記憶しておく。そして既知信号を送信する際には、記憶部87に記憶されたビット系列を読み出して、当該ビット系列に対し、OFDM送信部88で、符号化、サブキャリア変調、IFFT等を行って、無線部83を介してアンテナから送信する。図49に示した構成によれば、OFDM用と周波数ホッピング用の2個のPAを用いることなく、1つのPA86で処理することが可能になる。
図50は、第9の実施形態にかかる無線通信システムの端末の送信系の他の構成例を示したものであり、上記図49と同一部分には同一符号を付し、異なる部分についてのみ説明する。すなわち、図50では、既知信号を送信するためのOFDM送信部88がなく、記憶部87には、ピーク電力と平均電力の差が小さくなるような(PAPR(最大電力と平均電力との比が小さくなるような))ビット系列そのものではなく、当該ビット系列のIFFT後の時間波形が記憶されている。なお、第9の実施形態にかかる端末の構成は、図50に示す送信系の構成以外は全て図19と同様である。
図50に示す構成の場合、上りリンクで既知信号を送信する際には、記憶部87に記憶されている波形を読み出して、無線部83でD/A変換、周波数変換を行うようになっている。
このような構成により、ビット系列をOFDM信号に変換するためのOFDM送信部88が不要となり、端末の小型化・低消費電力化が実現できる。
上り回線で周波数ホッピング方式を用いた場合では、選択したホッピングパターンによっては利用する全帯域の周波数特性を把握できない場合がある。また、下り通信の受信状況に応じて上り通信で利用するサブキャリアを選択する場合には、利用されないサブキャリアには信号が送信されず、そのサブキャリアの受信状況は把握できなくなってしまう。
しかし、上記第9の実施形態によれば、各端末は上りタイムスロットの一部の時間間隔を用いて、下りタイムスロットで利用する全帯域に渡る広帯域信号を用いて送信する。基地局は、この広帯域信号を受信することで、全帯域における周波数特性の測定が可能になる。上りタイムスロットで端末が送信する広帯域信号を利用することで、基地局では、選択された周波数ホッピングパターンにかかわらず、全通信帯域の周波数特性が測定できる。また、この結果を用いて下り回線にて周波数特性の良いサブキャリアを選択して通信を行うといった処理が可能になる。これにより、端末の受信品質の向上が可能になる。
上り通信で用いる周波数ホッピングパターンは、端末ごとに直交するように選択される。しかし、端末が上りタイムスロットの一部の区間を用いて送信する広帯域信号を、各端末が同じタイミングで送信した場合は、干渉が生じるため基地局は正しく受信できない。そこで、広帯域信号をTDMA(Time Division Multiple Access)とCDMA(Code Division Multiple Access)のうちのいずれか一方により多重することにより、基地局における広帯域信号を受信する際の干渉がなくなる。
OFDM方式では、送信する信号系列によってはピーク信号電力と平均信号電力の比(PAPR)が大きくなることが問題となる。しかし、端末が上り回線で周波数特性の測定用に送信する系列は既知の系列で良いため、あらかじめPAPRが小さくなるような系列を選んでおくことで、PAPRが大きくなることから生じる電力増幅器における非線形歪の影響を軽減できる。
端末がOFDM方式を用いて送信する信号は既知の系列であるため、その系列をOFDM方式の送信回路で処理した結果得られる信号の時間波形をあらかじめ記憶しておくことで、端末はOFDM方式の送信回路が不要になり、端末の信号処理および回路規模が削減できる。
(第10の実施形態)
第10の実施形態では、第1の実施形態にかかる無線通信システムにおいて、端末が上りスロットで基地局と通信を行うためのホッピングパターンと、基地局が当該端末と下りスロットで通信を行うためのチャネルを決定する際の処理手順の一例を図41に示す無線通信システムを例にとり説明する。
図41に示すように、セルラー通信網におけるセル内において基地局BS1および各端末TE1、TE2が、基地局から端末への下りリンクでは複数のサブキャリアを用いたOFDM通信を行い、端末から基地局へ上りリンクでは、周波数ホッピング方式およびOFDM方式による通信を行い、TDDにより下り通信と上り通信との双方向通信を行うようになっている。
基地局BS1は、新規にカバーエリアに入る端末に向けて、上りリンクで使用可能なホッピングパターンを通知するための情報を下りリンクの共通チャネルで送信している。
共通チャネルとは、基地局が自エリアのすべての端末に対して通知すべき共通の情報を伝達するためのチャネルである。基本的に、多重化されている場合でも、既知のチャネルを使用することにより、端末が即時に情報を取り出すことが可能になっている。
ホッピングパターンとは、FH方式において送信キャリアの周波数が変化する順番とタイミングを示す情報で、ここでは、サブキャリアをすべて使用するようなパターンとする。ホッピングパターンは、例えば、図51に示すように、OFDMシンボルごとに隣接するサブキャリアに切り替えていくパターン(シーケンシャルホッピング)がある。また、図52に示すように、ランダムにホッピングするが、一度送信したサブキャリアにはすべてのサブキャリアが一度送信されるまでは送信しないようにするパターン(ランダムホッピング)も可能である。さらに、図53に示すように、隣接したサブキャリアを飛ばしてホッピングさせるパターン(スライドホッピング)も可能である。
なお、第10の実施形態にかかる基地局及び端末の構成は、図18、図9と同様である。
次に、図54を参照して、基地局が端末から送信されたFH信号を用いて、下りリンクでのユーザチャネルを割り当てるための処理動作について説明する。
基地局は、下りリンクの予め定められた共通チャネルに、上りリンクで空いているホッピングパターンの情報をのせて送信する(ステップS61)。端末は、共通チャネルで通知された空きのホッピングパターンから任意のホッピングパターンを選択して、基地局へのFH信号を送信する(ステップS62)。基地局(例えば、伝送路推定部6)は空いているホッピングパターンに対して常に受信と監視を行っており、一定以上の電力が検知されたとき、端末からの送信があったと見なす。端末からは、一定時間内に全てのサブキャリアが最低1回は利用されるようなホッピングパターンのFH信号が送信される。
各端末から全サブキャリアを利用したFH信号の送信が終了するまでの間、送信を検知した基地局の伝送路推定部6では、上記ホッピングパターンで送信される信号を用いて伝送路推定を行う。伝送路推定値は、例えば伝送路推定部6内の所定の記憶領域に記憶される(ステップS63)。伝送路推定値は、端末・基地局が送信を行う際に既知の信号としてシンボル内に挿入してあるパイロット信号を受信側が受信し、パイロット信号成分で除算して平均化することで伝送路の振幅・位相の歪みとして抽出した値である。
基地局は、新規にFH送信を行いはじめた端末以外に、通信中の端末のFH送信信号に対して測定した伝送路推定値も伝送路推定部9内の所定の記憶領域に記憶している。基地局(下りOFDMユーザ割り当て部7)は各端末の伝送路推定値をもとに、下りOFDM信号のチャネル割り当てを更新する(ステップS64)。
各端末に割り当てられたチャネル(ここでは、例えば1つのサブキャリア)は、例えば、下りリンクの予め定められた共通チャネルを用いて、各端末に通知される(ステップS65)。
各端末は、上記通知を受けて、それぞれに割り当てられた下りリンクのチャネルを通じて基地局から送信されたデータを受信する(ステップS66)。
ここで、ステップS64の基地局の下りOFDMユーザ割り当て部7でのチャネル割り当て処理について図55を参照して説明する。チャネル割り当て処理は、サブキャリア単位で行うこととし、1つのサブキャリアを1ユーザのチャネルとする。
全サブキャリア(サブキャリアの総数はN)のうちの1つを選択する。これをサブキャリアiとする。伝送路推定部6内の記憶領域に記憶された伝送路推定値を基に、サブキャリアの割り当てられていない端末群のなかからサブキャリアiの伝送路の状態が最もよい端末を選択する(ステップS71)。選択された端末が1つのみであるときは、当該端末にサブキャリアiを割り当てる(ステップS72、ステップS73)。複数の端末が選択されたときには(ステップS72)、当該複数の端末の中で、伝送路推定値が最も大きい端末にサブキャリアiを割り当てる(ステップS74)。以上のステップS71〜ステップS74の処理をエリア内の全ての端末に対しサブキャリアが割り当てられるまで繰り返す。
各端末から送信されたFH信号を用いて、各端末に下りリンクでのチャネルを割り当てるまでの過程を図56に示す。
上記第10の実施形態によれば、少ない処理手順で効率のよいチャネル割り当てを行うことができる。
(第11の実施形態)
第11の実施形態では、上記第10の実施形態にかかる無線通信システムにおいて、下りリンクにおいて、1つのサブキャリアに複数のユーザチャネルを多重する場合について説明する。1つのサブキャリアに複数のチャネルを多重するための手法として、CDMAやTDMAを用いる場合、CDMAとTDMAを組み合わせて用いる場合がある。以下、上記第10の実施形態と異なる部分について説明する。
第11の実施形態にかかる端末の構成例は、図19とほぼ同様である。異なるのは、ユーザ信号抽出部54の処理動作である。すなわち、ユーザ信号抽出部52では、OFDM受信部53から出力された広帯域信号(複数のサブキャリア信号)から、自装置宛てのシンボルのみを抽出して、信号分離部55に出力する。例えば、CDMAで多重化されている場合、ユーザ割り当て情報には、自装置に割り当てられた拡散符号、あるいは、当該拡散符号を特定するための情報が含まれている。そして、ユーザ信号抽出部54では、当該拡散符号用いて逆拡散処理を行う。そのほかの動作は第1の実施形態と同様である。
第11の実施形態にかかる基地局の構成例は、図18とほぼ同様である。異なるのは、ユーザ割り当て部1の処理動作である。すなわち、ユーザ割り当て部1は、1つのサブキャリアに複数のユーザチャネルを多重する。例えば、CDMAを用いる場合、各棚MT宇に予め定められた拡散符号を用いて拡散処理を行う。
多重化はOFDMシンボルを最小単位として行う。1つのサブキャリアに複数のユーザチャネルを多重するために、CDMAを用いる場合、1つのデータを拡散符号によって拡散したチップをOFDMシンボルとして送信する。当該チップは、周波数軸方向や時間軸方向に並べることが可能で、受信側ではユーザ信号抽出部10でチップを集めて逆拡散することで復号が可能である。
このように、1つのサブキャリアに複数のチャネルを割り当てることにより、下りリンクのOFDM信号により多くのユーザチャネルを収容することができる。
実際には、各端末にチャネルとしてOFDMシンボルを割り当てる場合、端末が必要としている伝送レートから、1下りスロットに必要なOFDMシンボル数(1ユーザチャネルに含まれるOFDMシンボルの数)が算出される。
そこで、第11の実施形態では、図54のステップS64において、次のような処理動作を行い、チャネル割り当てを行う。
基地局のエリアに属する各端末のサブキャリア毎の伝送路推定値のうち、伝送路推定値が高いサブキャリアから順に、当該端末向けに1OFDMシンボルずつ割り当てていく。このとき、伝送路推定値が予め定められた閾値に満たない(伝送路状態の悪い)サブキャリアには、チャネルを割り当てない。このようにして、各端末に対し、当該端末のサブキャリア毎の伝送路推定値の高いサブキャリアを優先的に選択しながら、1ユーザチャネル毎に必要な数のOFDMシンボルを、割り当てていく。
各端末から送信されたFH信号を用いて、各端末に下りリンクでのチャネルを割り当てるまでの過程を図57に示す。
上記第11の実施形態によれば、第10の実施形態の場合よりも、より効率よくチャネル割り当てを行うことができる。
なお、本発明は上記実施形態そのままに限定されるものではなく、実施段階ではその要旨を逸脱しない範囲で構成要素を変形して具体化できる。また、上記実施形態に開示されている複数の構成要素の適宜な組み合わせにより、種々の発明を形成できる。例えば、実施形態に示される全構成要素から幾つかの構成要素を削除してもよい。さらに、異なる実施形態にわたる構成要素を適宜組み合わせてもよい。
本発明の第1の実施形態にかかる無線通信システム全体の概略構成例を模式的に示した図。 本発明の第1の実施形態にかかる無線通信システム全体の概略構成例を模式的に示した図。 本発明の第1の実施形態にかかる無線通信システム全体の概略構成例を模式的に示した図。 下りリンクと上りリンクに同一周波数帯域を使用して、TDDにより収容する場合を説明するための図。 下りリンクに複数のユーザの信号を多重する場合を説明するための図。 下りリンクで送信されたOFDM信号を受信する各端末で推定された伝送路の特性を利用して、送信電力制御、FHホッピングパターン制御等を行う場合を説明するための図。 下りリンクで送信されたOFDM信号を受信する各端末で推定された伝送路の特性を利用して、送信電力制御、FHホッピングパターン制御等を行う場合の端末と基地局の処理動作を説明するためのフローチャート。 OFDMの下りリンクとFHの上りリンクに異なる周波数を利用して双方向通信を実現する場合(FDD)の場合を説明するための図。 第1のスロット構成を示す図。 第2のスロット構成を示す図。 第3のスロット構成を示す図。 第4のスロット構成を示す図。 第5のスロット構成を示す図。 第6のスロット構成を示す図。 第7のスロット構成を示す図。 第8のスロット構成を示す図。 第9のスロット構成を示す図。 基地局の構成例を示す図。 端末の構成例を示す図。 第2の実施形態にかかる無線通信システムに適用されるスロット構成を示す図。 第2の実施形態にかかる基地局の構成例を示す図。 第2の実施形態にかかる端末の構成例を示す図。 第3の実施形態にかかる無線通信システムに適用されるスロット構成を示す図。 第3の実施形態にかかる基地局の構成例を示す図。 第3の実施形態にかかる端末の構成例を示す図。 第4の実施形態にかかる無線通信システムに適用されるスロット構成を示す図。 第4の実施形態にかかる基地局の構成例を示す図。 第4の実施形態にかかる端末の構成例を示す図。 第5の実施形態にかかる無線通信システムにおいて、基地局と端末との間で通信速度比を変更するための処理手順を説明するためのフローチャート。 スロットフォーマットが変更する様子を説明するための図。 第5の実施形態にかかる基地局の構成例を示す図。 第5の実施形態にかかる端末の構成例を示す図。 第6の実施形態にかかる無線通信システムに適用されるスロット構成を示す図。 第6の実施形態にかかる基地局の構成例を示す図。 第6の実施形態にかかる端末の構成例を示す図。 第6の実施形態にかかる無線通信システムに適用される他のスロット構成を示す図。 第7の実施形態にかかる無線通信システムに適用されるスロット構成を示す図。 第7の実施形態にかかる基地局の構成例を示す図。 下りスロット中の先頭と終端のシンボル(基地局及び端末で既知のパイロット信号)とを用いた、基地局と端末との間の制御処理について説明するためのフローチャート。 第8の実施形態にかかる無線通信システムおいて、下りスロット中の先頭と終端のシンボル(基地局及び端末で既知のパイロット信号)とを用いた、基地局と端末との間の制御処理について説明するためのフローチャート。 第9の実施形態にかかる無線通信システム全体の概略構成例を模式的に示した図。 下りスロットにおける時間・周波数軸での信号の配置を示す図。 上りスロットにおける時間・周波数軸での信号の配置を示す図。 第9の実施形態にかかる通信システムの基地局と端末との間の既知信号を用いた処理動作を説明するためのフローチャート。 上りスロットと下りスロットのそれぞれにおける周波数帯・時間領域(ユーザチャネル)の各端末への割り当て方法の一例を示す図。 上りスロットと下りスロットのそれぞれにおける周波数帯・時間領域(ユーザチャネル)の各端末への割り当て方法の一例を示す図。 上りスロットと下りスロットのそれぞれにおける周波数帯・時間領域(ユーザチャネル)の各端末への割り当て方法の他の例を示す図。 上りスロットと下りスロットのそれぞれにおける周波数帯・時間領域(ユーザチャネル)の各端末への割り当て方法の他の例を示す図。 第9の実施形態にかかる無線通信システムの端末の送信系の構成例を示した図。 第9の実施形態にかかる無線通信システムの端末の送信系の他の構成例を示した図。 シーケンシャルホッピングのホッピングパターンを説明するための図。 ランダムホッピングのホッピングパターンを説明するための図。 スライドホッピングのホッピングパターンを説明するための図。 第10の実施形態にかかる無線通信システムにおいて、基地局が端末から送信されたFH信号を用いて、下りリンクでのユーザチャネルを割り当てるための処理動作を説明するためのフローチャート。 基地局のチャネル割当処理動作を説明するためのフローチャート。 各端末から送信されたFH信号を用いて、各端末に下りリンクでのチャネルを割り当てるまでの過程を示す図。 第11の実施形態にかかる無線通信システムにおいて、各端末から送信されたFH信号を用いて、各端末に下りリンクでのチャネルを割り当てるまでの過程を示す図。 基地局の送信系の要部(OFDM送信部と無線部)の基本構成例を示す図。 端末の受信系の要部(無線部とOFDM受信部)の基本構成例を示す図。 端末の送信系の要部(FH送信部と無線部)の基本構成例を示す図。 基地局の受信系の要部(無線部とFH受信部)の基本構成例を示す図。
符号の説明
1…ユーザ割当部、2…OFDM送信部、5…信号分離部、6…伝送路推定部、7…下りOFDMユーザ割り当て部、8…上りFHユーザ割り当て部、9…FH受信部、10…ユーザ信号抽出部、11、12…無線部、51…FH送信部、52…伝送路推定部、53…OFDM受信部、54…ユーザ信号抽出部、55…信号分離部、55a…記憶部、57、58…無線部。

Claims (27)

  1. 基地局から端末への下り通信には複数のサブキャリアを含むOFDM(Orthogonal Frequency Division Multiplexing)信号を用い、端末から基地局への上り通信には前記OFDM信号の周波数帯と同じ周波数帯のFH(Frequency Hopping)信号を用いて、TDD(Time Division Duplex)により双方向通信を行う無線通信システムであって、
    前記端末は、
    受信した前記OFDM信号を基に、前記複数のサブキャリアについて伝送路特性を推定する推定手段と、
    前記推定手段での推定結果を前記基地局へ送信する送信手段とを具備し、
    前記基地局は、
    前記端末から送信された前記推定結果を基に、前記端末に対し、前記複数のサブキャリアのうち前記下り通信で用いるサブキャリアと、前記上り通信で用いるホッピングパターンとのうちの少なくとも一方を割り当てる割当手段を具備したことを特徴とする無線通信システム。
  2. 前記端末は、前記基地局にて割り当てられたホッピングパターンを用いて前記FH信号を送信することを特徴とする請求項1記載の無線通信システム。
  3. 前記割当手段は、前記端末に対し、前記下り通信で用いるサブキャリアを割り当てるとともに、当該下り通信で用いるサブキャリアの周波数と同じ周波数を用いた前記ホッピングパターンを割り当てることを特徴とする請求項1記載の無線通信システム。
  4. 前記下り通信のタイムスロットでは、TDM(Time Division Multiplex)により各端末宛ての信号を多重化することを特徴とする請求項1記載の無線通信システム。
  5. 前記下り通信のタイムスロットの時間幅は、N_DL(N_DLは任意の正の整数)シンボル長であり、前記上り通信のタイムスロットの時間幅はD_UL(D_ULは正の任意の正の整数)シンボル長であり、
    前記割当手段は、端末に対し、ホッピング周期がD_ULシンボル長のホッピングパターンを割り当てることを特徴とする請求項1記載の無線通信システム。
  6. 前記下り通信のタイムスロットの時間幅は、N_DL(N_DLは任意の正の整数)シンボル長であり、前記上り通信のタイムスロットの時間幅はD_UL(D_ULは任意の正の整数)シンボル長であり、
    前記割当手段は、端末に対し、ホッピング周期が1/M(Mは任意の正の整数)シンボル長のホッピングパターンを割り当てることを特徴とする請求項1記載の無線通信システム。
  7. 前記下り通信のタイムスロットの時間幅は、N_DL(N_DLは任意の正の整数)シンボル長であり、前記上り通信のタイムスロットの時間幅はD_UL(D_ULは任意の正の整数)シンボル長であり、
    前記割当手段は、前記端末に対し、ホッピング周期がD_ULシンボル長のホッピングパターンと、ホッピング周期が1/M(Mは任意の正の整数)シンボル長のホッピングパターンとを割り当てることを特徴とする請求項1記載の無線通信システム。
  8. 前記基地局が前記端末にN_DLシンボルのOFDM信号を送信する毎に、前記割当手段は前記ホッピングパターンの周波数の範囲を変更することを特徴とする請求項3乃至5のいずれか1つに記載の無線通信システム。
  9. 前記割当手段は、端末に対し、前記下り通信で用いるサブキャリアを割り当てるとともに、前記基地局が端末にN_DL(N_DLは任意の正の整数)シンボルの前記OFDM信号を送信する毎に、前記端末に割り当てるサブキャリアを変更することを特徴とする請求項1記載の無線通信システム。
  10. 前記割当手段は、前記下り通信のタイムスロット内を1シンボル長単位に端末へ割り当てることを特徴とする請求項2記載の無線通信システム。
  11. 前記下り通信のタイムスロットでは、CDM(Code Division Multiplex)により各端末宛ての信号を多重化することを特徴とする請求項1記載の無線通信システム。
  12. 前記基地局は、前記OFDM信号及び前記FH信号の周波数帯である第1の周波数帯とは異なる周波数帯であって、当該第1の周波数帯より狭帯域の第2の周波数帯で、前記端末が前記OFDM信号を復調する際に用いる同期信号と前記端末への着信を通知する信号のうちの少なくとも一方を含む第1の制御信号を送信する送信手段をさらに具備し、
    前記端末は、前記第1の制御信号を受信する受信手段をさらに具備したことを特徴とする請求項1記載の無線通信システム。
  13. 前記端末の前記送信手段は、前記OFDM信号及び前記FH信号の周波数帯である第1の周波数帯とは異なる周波数帯であって、当該第1の周波数帯より狭帯域の第3の周波数帯で、前記推定結果と前記端末の位置登録情報を含む第2の制御信号を送信し、
    前記基地局は、前記第2の制御信号を受信する受信手段を具備したことを特徴とする請求項1記載の無線通信システム。
  14. 前記端末は、一定の時間間隔で前記基地局へ送信すべき上りデータ量を前記基地局へ通知する手段をさらに具備し、
    前記基地局は、前記下り通信で送信すべき下りデータ量及び前記端末から通知された前記上りデータ量を基に、前記上り通信と前記下り通信との通信速度比を変更する変更手段をさらに具備したことを特徴とする請求項1記載の無線通信システム。
  15. 前記下り通信の時間幅と、前記上り通信の時間幅を変更することにより、前記通信速度比を変更することを特徴とする請求項14記載の無線通信システム。
  16. 前記下り通信のタイムスロット内で、前記複数のサブキャリアのうちの一部のサブキャリアの送信を停止し、当該一部のサブキャリアの周波数帯のFH信号を前記端末から送信させることにより、前記通信速度比を変更することを特徴とする請求項14記載の無線通信システム。
  17. 前記上り通信のタイムスロット内で、前記端末に前記複数のサブキャリアのうちの一部のサブキャリアの利用を停止させ、前記複数のサブキャリアのうちの当該一部のサブキャリアのみを含むOFDM信号を前記端末へ送信することにより、前記通信速度比を変更することを特徴とする請求項14記載の無線通信システム。
  18. 前記下り通信のタイムスロット内で送信される前記OFDM信号の先頭及び終端シンボルは基地局と端末との間で既知の信号であり、
    前記端末は、受信した前記OFDM信号に含まれる前記先頭及び終端シンボルのうちの少なくとも一方を用いて、当該受信したOFDM信号を復調し、
    前記推定手段は、受信した前記OFDM信号に含まれる前記先頭及び終端シンボルのうちの少なくとも一方を用いて、前記複数のサブキャリアのそれぞれについて伝送路特性を推定することを特徴とする請求項1記載の無線通信システム。
  19. 前記推定手段は、制御信号の状態に対応する指標値を求める手段を具備し、
    前記送信手段は、前記指標値を含む前記推定結果を前記基地局へ送信することを特徴とする請求項18記載の無線通信システム。
  20. 前記基地局は、前記端末から送信された前記推定結果を基に、前記複数のサブキャリア信号のそれぞれの送信電力を調整する手段をさらに具備したことを特徴とする請求項1記載の無線通信システム。
  21. 基地局から端末への下り通信には複数のサブキャリアを含むOFDM(Orthogonal Frequency Division Multiplexing)信号を用い、端末から基地局への上り通信には前記OFDM信号の周波数帯と同じ周波数帯のFH(Frequency Hopping)信号を用いて、TDD(Time Division Duplex)により双方向通信を行う無線通信システムであって、
    前記基地局は、
    前記上り通信のタイムスロットで前記端末から送信される信号を基に、前記端末と当該基地局との間の伝送路特性を推定する推定手段と、
    前記推定手段での推定結果を基に、前記端末に対し、前記複数のサブキャリアのうち前記下り通信で用いるサブキャリアと、前記上り通信で用いるホッピングパターンとのうちの少なくとも一方を割り当てる割当手段を具備したことを特徴とする無線通信システム。
  22. 前記端末は、
    前記上り通信のタイムスロット内の一部の時間区間内に、基地局と端末との間で既知の信号を前記複数のサブキャリアを含むOFDM信号を用いて前記基地局へ送信し、前記上り通信のタイムスロット内の前記一部の時間区間を除く残りの時間区間内に、前記FH信号を前記基地局へ送信する手段と、
    を具備し、
    前記基地局の前記推定手段は、前記上り通信のタイムスロットで各端末から送信される前記OFDM信号を基に、前記複数のサブキャリアのそれぞれについて伝送路特性を推定することを特徴とする請求項21記載の無線通信システム。
  23. 前記一部の時間区間内には、各端末から送信されるOFDM信号が、TDMA(Time Division Multiple Access)とCDMA(Code Division Multiple Access)のうちのいずれか一方の方式により多重されていることを特徴とする請求項22記載の無線通信システム。
  24. 基地局と端末との間で既知の信号は、平均信号電力とピーク信号電力の比が最小となるビット系列の信号であることを特徴とする請求項22記載の無線通信システム。
  25. 基地局からの下り通信には複数のサブキャリアを含むOFDM(Orthogonal Frequency Division Multiplexing)信号を用い、基地局への上り通信には前記OFDM信号の周波数帯と同じ周波数帯のFH(Frequency Hopping)信号を用いて、TDD(Time Division Duplex)により双方向通信を行う端末装置であって、
    受信した前記OFDM信号を基に、前記複数のサブキャリアについて伝送路特性を推定する推定手段と、
    前記推定手段での推定結果を前記基地局へ送信する送信手段と、
    を具備したことを特徴とする端末装置。
  26. 端末への下り通信には複数のサブキャリアを含むOFDM(Orthogonal Frequency Division Multiplexing)信号を用い、前記端末からの上り通信には前記OFDM信号の周波数帯と同じ周波数帯のFH(Frequency Hopping)信号を用いて、TDD(Time Division Duplex)により双方向通信を行う基地局装置であって、
    前記端末から送信された伝送路特性の推定結果を基に、前記端末に対し、前記複数のサブキャリアのうち前記下り通信で用いるサブキャリアと、前記上り通信で用いるホッピングパターンとのうちの少なくとも一方を割り当てる割当手段を具備したことを特徴とする基地局装置。
  27. 端末への下り通信には複数のサブキャリアを含むOFDM(Orthogonal Frequency Division Multiplexing)信号を用い、前記端末からの上り通信には前記OFDM信号の周波数帯と同じ周波数帯のFH(Frequency Hopping)信号を用いて、TDD(Time Division Duplex)により双方向通信を行う基地局装置であって、
    前記上り通信のタイムスロットで各端末から送信される信号を基に、前記端末について、当該基地局との間の伝送路特性を推定する推定手段と、
    前記推定手段での推定結果を基に、前記端末に対し、前記複数のサブキャリアのうち前記下り通信で用いるサブキャリアと、前記上り通信で用いるホッピングパターンとのうちの少なくとも一方を割り当てる割当手段と、
    を具備したことを特徴とする基地局装置。
JP2004102500A 2004-03-31 2004-03-31 無線通信システム Expired - Fee Related JP4012167B2 (ja)

Priority Applications (3)

Application Number Priority Date Filing Date Title
JP2004102500A JP4012167B2 (ja) 2004-03-31 2004-03-31 無線通信システム
US11/072,616 US20050232135A1 (en) 2004-03-31 2005-03-07 Radio communication system, terminal apparatus and base station apparatus
US12/175,505 US20080285490A1 (en) 2004-03-31 2008-07-18 Radio communication system, terminal apparatus and base station apparatus

Applications Claiming Priority (1)

Application Number Priority Date Filing Date Title
JP2004102500A JP4012167B2 (ja) 2004-03-31 2004-03-31 無線通信システム

Publications (2)

Publication Number Publication Date
JP2005294895A true JP2005294895A (ja) 2005-10-20
JP4012167B2 JP4012167B2 (ja) 2007-11-21

Family

ID=35096157

Family Applications (1)

Application Number Title Priority Date Filing Date
JP2004102500A Expired - Fee Related JP4012167B2 (ja) 2004-03-31 2004-03-31 無線通信システム

Country Status (2)

Country Link
US (2) US20050232135A1 (ja)
JP (1) JP4012167B2 (ja)

Cited By (17)

* Cited by examiner, † Cited by third party
Publication number Priority date Publication date Assignee Title
WO2007052766A1 (ja) * 2005-11-04 2007-05-10 Matsushita Electric Industrial Co., Ltd. マルチキャリア通信におけるサブバンド設定方法および無線通信基地局装置
WO2007110960A1 (ja) * 2006-03-29 2007-10-04 Fujitsu Limited 通信装置および端末
WO2007148813A1 (en) * 2006-06-20 2007-12-27 Nec Corporation Resource block scheduling in communication networks
JP2008109466A (ja) * 2006-10-26 2008-05-08 Yokohama National Univ 秘密鍵共有方法および装置
WO2008078357A1 (ja) * 2006-12-22 2008-07-03 Fujitsu Limited 無線通信方法及び基地局並びにユーザ端末
JP2009033696A (ja) * 2006-11-02 2009-02-12 Panasonic Corp 送信方法、送信装置及び受信方法
JPWO2007052397A1 (ja) * 2005-10-31 2009-04-30 日本電気株式会社 送受信システム、伝送装置、及びそれらに用いるパイロット信号多重方法
JP2009532987A (ja) * 2006-04-06 2009-09-10 アルカテル−ルーセント ユーエスエー インコーポレーテッド アップリンク電力制御のためのパイロット信号を提供する方法
JP2009544258A (ja) * 2006-07-14 2009-12-10 クゥアルコム・インコーポレイテッド 無線通信システムにおける周波数選択性送信および周波数ダイバーシティ送信
JP2010519873A (ja) * 2007-03-20 2010-06-03 モトローラ・インコーポレイテッド マルチキャリア通信システム内における資源割当てのための方法及び装置
JP2010541301A (ja) * 2008-01-16 2010-12-24 ミツビシ・エレクトリック・リサーチ・ラボラトリーズ・インコーポレイテッド Mimoネットワークにおけるアップリンク用ofdmaフレーム構造
JP2011072014A (ja) * 2006-01-27 2011-04-07 Fujitsu Ltd 基地局
JP2011197822A (ja) * 2010-03-17 2011-10-06 Toshiba Corp 電子機器
KR101519347B1 (ko) * 2008-11-25 2015-05-13 주식회사 팬택 직교 주파수 분할 다중 접속 방식의 무선 통신 시스템에서의 자원 할당 장치 및 방법
KR101524622B1 (ko) * 2008-10-29 2015-06-02 주식회사 팬택 직교 주파수 분할 다중 접속 방식의 무선 통신 시스템에서의 자원 할당 장치 및 방법
JP2015164316A (ja) * 2007-08-08 2015-09-10 テレフオンアクチーボラゲット エル エム エリクソン(パブル) 明示的な周波数ホッピングを用いるマルチキャリヤ通信システム
JP2019536378A (ja) * 2016-11-29 2019-12-12 ホアウェイ・テクノロジーズ・カンパニー・リミテッド 周波数ホッピング通信方法およびデバイス

Families Citing this family (92)

* Cited by examiner, † Cited by third party
Publication number Priority date Publication date Assignee Title
US8050345B1 (en) 1999-08-09 2011-11-01 Kamilo Feher QAM and GMSK systems
US6470055B1 (en) * 1998-08-10 2002-10-22 Kamilo Feher Spectrally efficient FQPSK, FGMSK, and FQAM for enhanced performance CDMA, TDMA, GSM, OFDN, and other systems
US7593481B2 (en) 1998-08-31 2009-09-22 Kamilo Feher CDMA, W-CDMA, 3rd generation interoperable modem format selectable (MFS) systems with GMSK modulated systems
US7548787B2 (en) 2005-08-03 2009-06-16 Kamilo Feher Medical diagnostic and communication system
US7415066B2 (en) 1998-08-10 2008-08-19 Kamilo Feher Mis-matched modulation-demodulation format selectable filters
US7079584B2 (en) 1998-08-10 2006-07-18 Kamilo Feher OFDM, CDMA, spread spectrum, TDMA, cross-correlated and filtered modulation
US9373251B2 (en) 1999-08-09 2016-06-21 Kamilo Feher Base station devices and automobile wireless communication systems
US9813270B2 (en) 1999-08-09 2017-11-07 Kamilo Feher Heart rate sensor and medical diagnostics wireless devices
US7260369B2 (en) 2005-08-03 2007-08-21 Kamilo Feher Location finder, tracker, communication and remote control system
US9307407B1 (en) 1999-08-09 2016-04-05 Kamilo Feher DNA and fingerprint authentication of mobile devices
DE10331313B3 (de) * 2003-07-10 2005-01-05 Siemens Ag Verfahren zur Synchronisation eines in Funkzellen aufgeteilten Funkkommunikationssystems
KR101245799B1 (ko) 2003-08-06 2013-03-20 파나소닉 주식회사 무선 통신 장치 및 무선 통신 방법
JP4012167B2 (ja) * 2004-03-31 2007-11-21 株式会社東芝 無線通信システム
US10200094B2 (en) 2004-04-02 2019-02-05 Rearden, Llc Interference management, handoff, power control and link adaptation in distributed-input distributed-output (DIDO) communication systems
US9826537B2 (en) 2004-04-02 2017-11-21 Rearden, Llc System and method for managing inter-cluster handoff of clients which traverse multiple DIDO clusters
US10749582B2 (en) 2004-04-02 2020-08-18 Rearden, Llc Systems and methods to coordinate transmissions in distributed wireless systems via user clustering
US8542763B2 (en) * 2004-04-02 2013-09-24 Rearden, Llc Systems and methods to coordinate transmissions in distributed wireless systems via user clustering
US10277290B2 (en) 2004-04-02 2019-04-30 Rearden, Llc Systems and methods to exploit areas of coherence in wireless systems
US11394436B2 (en) 2004-04-02 2022-07-19 Rearden, Llc System and method for distributed antenna wireless communications
US11451275B2 (en) 2004-04-02 2022-09-20 Rearden, Llc System and method for distributed antenna wireless communications
US10187133B2 (en) 2004-04-02 2019-01-22 Rearden, Llc System and method for power control and antenna grouping in a distributed-input-distributed-output (DIDO) network
US11309943B2 (en) 2004-04-02 2022-04-19 Rearden, Llc System and methods for planned evolution and obsolescence of multiuser spectrum
US10886979B2 (en) 2004-04-02 2021-01-05 Rearden, Llc System and method for link adaptation in DIDO multicarrier systems
US9312929B2 (en) 2004-04-02 2016-04-12 Rearden, Llc System and methods to compensate for Doppler effects in multi-user (MU) multiple antenna systems (MAS)
US8654815B1 (en) 2004-04-02 2014-02-18 Rearden, Llc System and method for distributed antenna wireless communications
US9819403B2 (en) 2004-04-02 2017-11-14 Rearden, Llc System and method for managing handoff of a client between different distributed-input-distributed-output (DIDO) networks based on detected velocity of the client
US10985811B2 (en) 2004-04-02 2021-04-20 Rearden, Llc System and method for distributed antenna wireless communications
US10425134B2 (en) 2004-04-02 2019-09-24 Rearden, Llc System and methods for planned evolution and obsolescence of multiuser spectrum
US9685997B2 (en) 2007-08-20 2017-06-20 Rearden, Llc Systems and methods to enhance spatial diversity in distributed-input distributed-output wireless systems
US7359449B2 (en) 2004-10-05 2008-04-15 Kamilo Feher Data communication for wired and wireless communication
WO2006114932A1 (ja) * 2005-04-18 2006-11-02 Sharp Kabushiki Kaisha 無線通信装置および無線通信方法
US20060285606A1 (en) * 2005-06-01 2006-12-21 Nec Laboratories America, Inc. Quantized Power Control in Multiple Antenna Communication System
ATE366020T1 (de) * 2005-08-01 2007-07-15 Alcatel Lucent Reduzierung des overheads zur kanalzuteilung im abwärtskanal eines mehrträgersystems
US10009956B1 (en) 2017-09-02 2018-06-26 Kamilo Feher OFDM, 3G and 4G cellular multimode systems and wireless mobile networks
US7280810B2 (en) 2005-08-03 2007-10-09 Kamilo Feher Multimode communication system
KR100995830B1 (ko) * 2005-09-26 2010-11-23 삼성전자주식회사 이동 통신 시스템에서 채널 상태 정보를 이용한 데이터 송수신 방법 및 시스템
US7583583B2 (en) * 2005-12-15 2009-09-01 Nortel Networks Limited System and method for reducing peak-to-average power ratio in orthogonal frequency division multiplexing signals using reserved spectrum
US7893873B2 (en) * 2005-12-20 2011-02-22 Qualcomm Incorporated Methods and systems for providing enhanced position location in wireless communications
WO2007086131A1 (ja) * 2006-01-27 2007-08-02 Fujitsu Limited 基地局及び無線通信システム並びにパイロットパターン決定方法
JP4405471B2 (ja) * 2006-01-31 2010-01-27 株式会社東芝 セルラー無線通信システム、基地局、無線端末および無線通信方法
JP4716907B2 (ja) * 2006-03-28 2011-07-06 富士通株式会社 サブバンド通知方法及び端末装置
WO2007112762A1 (en) * 2006-03-31 2007-10-11 Matsushita Electric Industrial Co., Ltd. Scheduling radio resources in a multi-carrier tdma mobile communication system
US7675983B2 (en) * 2006-04-14 2010-03-09 Freescale Semiconductor, Inc. Mitigation of DC distortion in OFDM receivers
US7864884B2 (en) * 2006-04-27 2011-01-04 Nokia Corporation Signal detection in OFDM system
US8045927B2 (en) * 2006-04-27 2011-10-25 Nokia Corporation Signal detection in multicarrier communication system
GB2439367A (en) 2006-06-20 2007-12-27 Nec Corp Separate ACK/NACK channel from a control channel
EP1876729A1 (en) * 2006-07-05 2008-01-09 Koninklijke Philips Electronics N.V. Bandwidth asymmetric communication system
EP1876730A1 (en) * 2006-07-05 2008-01-09 Koninklijke Philips Electronics N.V. Bandwidth asymmetric communication system
US8320474B2 (en) * 2006-12-06 2012-11-27 Qualcomm Incorporated Digital frequency hopping in multi-band OFDM
US8054796B2 (en) * 2006-12-08 2011-11-08 Nokia Corporation Uplink acknowledgment channel in wireless communication
JP2008172541A (ja) * 2007-01-11 2008-07-24 Matsushita Electric Ind Co Ltd 基地局装置、通信端末装置、通信システム及び通信方法
US8396511B2 (en) * 2007-02-28 2013-03-12 Samsung Electronics Co., Ltd. Apparatus and method for determining an uplink transmission format in a broadband wireless communication system
US8314688B2 (en) * 2007-08-22 2012-11-20 Tagarray, Inc. Method and apparatus for low power modulation and massive medium access control
JP2009065581A (ja) * 2007-09-10 2009-03-26 Nec Corp 無線通信システム及び方法
US8351385B2 (en) * 2007-09-21 2013-01-08 Panasonic Corporation Radio communication base station device, radio communication terminal device, and response signal allocation method
US8674808B2 (en) * 2008-02-29 2014-03-18 Nokia Corporation Interrogation of RFID communication units
US8391206B2 (en) * 2008-08-07 2013-03-05 Alcatel Lucent Method of joint resource allocation and clustering of base stations
US8412287B2 (en) * 2008-08-15 2013-04-02 Nokia Siemens Networks Oy Power saving support for wireless networks
EP2363010A2 (en) * 2008-09-03 2011-09-07 Nokia Siemens Networks OY Resource allocation during silence period for a wireless network
US8995568B1 (en) * 2008-09-05 2015-03-31 Marvell International Ltd. Phase transformation of repeated signals
US8208362B2 (en) * 2008-09-05 2012-06-26 Nokia Siemens Networks Oy Acknowledgement channel design for wireless networks
KR101481549B1 (ko) * 2008-09-18 2015-01-13 엘지전자 주식회사 다중사용자 mimo에서 전송 전력값 전달 및 확인 방법
US20100214938A1 (en) * 2009-02-24 2010-08-26 Qualcomm Incorporated Flexible data and control multiplexing
WO2010149213A1 (en) * 2009-06-24 2010-12-29 Nokia Siemens Networks Oy Network element for changing the timeslot type according to the received information
US8340157B2 (en) * 2009-07-28 2012-12-25 Interlite Aktiebolag Methods and devices for wireless communication in wireless communication systems
JP5336994B2 (ja) * 2009-10-19 2013-11-06 キヤノン株式会社 通信方法及び通信装置
CN105228255B (zh) * 2010-02-12 2018-09-11 富士通株式会社 无线通信装置、无线通信系统以及无线通信方法
US20120120881A1 (en) * 2010-11-15 2012-05-17 Amit Kalhan Subcarrier allocation for downlink channels in an orthogonal frequency division multiplex (ofdm) communication system
JP5697969B2 (ja) * 2010-12-22 2015-04-08 京セラ株式会社 基地局及び上り周波数帯域の割り当て方法
JP5757218B2 (ja) * 2011-10-28 2015-07-29 アイコム株式会社 通信機および通信方法
GB2496164B (en) * 2011-11-03 2014-01-01 Renesas Mobile Corp Method and apparatus for radio receiver equalization
US11189917B2 (en) 2014-04-16 2021-11-30 Rearden, Llc Systems and methods for distributing radioheads
US11190947B2 (en) 2014-04-16 2021-11-30 Rearden, Llc Systems and methods for concurrent spectrum usage within actively used spectrum
US11050468B2 (en) 2014-04-16 2021-06-29 Rearden, Llc Systems and methods for mitigating interference within actively used spectrum
US10194346B2 (en) 2012-11-26 2019-01-29 Rearden, Llc Systems and methods for exploiting inter-cell multiplexing gain in wireless cellular systems via distributed input distributed output technology
CN109152063A (zh) * 2012-12-17 2019-01-04 华为技术有限公司 一种载波的分配方法、用户设备及基站
US9973246B2 (en) 2013-03-12 2018-05-15 Rearden, Llc Systems and methods for exploiting inter-cell multiplexing gain in wireless cellular systems via distributed input distributed output technology
US10164698B2 (en) 2013-03-12 2018-12-25 Rearden, Llc Systems and methods for exploiting inter-cell multiplexing gain in wireless cellular systems via distributed input distributed output technology
US9923657B2 (en) 2013-03-12 2018-03-20 Rearden, Llc Systems and methods for exploiting inter-cell multiplexing gain in wireless cellular systems via distributed input distributed output technology
US10488535B2 (en) 2013-03-12 2019-11-26 Rearden, Llc Apparatus and method for capturing still images and video using diffraction coded imaging techniques
US10547358B2 (en) 2013-03-15 2020-01-28 Rearden, Llc Systems and methods for radio frequency calibration exploiting channel reciprocity in distributed input distributed output wireless communications
JP5894105B2 (ja) * 2013-04-04 2016-03-23 株式会社Nttドコモ 無線基地局、ユーザ端末及び無線通信方法
KR102130658B1 (ko) * 2013-07-26 2020-07-06 삼성전자주식회사 송신장치, 수신장치 및 그 제어방법
KR102178855B1 (ko) * 2013-11-13 2020-11-13 삼성전자주식회사 무선통신시스템에서 자원할당장치 및 방법
US11290162B2 (en) 2014-04-16 2022-03-29 Rearden, Llc Systems and methods for mitigating interference within actively used spectrum
EP3389301B1 (en) * 2015-12-08 2022-08-10 Fujitsu Limited Wireless communication system, base station and terminal for efficient scheduling
US10375718B2 (en) * 2016-08-11 2019-08-06 Qualcomm Incorporated Adaptive resource management for robust communication in new radio
WO2019037137A1 (zh) * 2017-08-25 2019-02-28 华为技术有限公司 一种数据传输方法及装置
GB2568490B (en) * 2017-11-16 2021-08-04 Tcl Communication Ltd Configuration of time domain multiplexing
US10608697B2 (en) * 2018-01-12 2020-03-31 At&T Intellectual Property I, L.P. Facilitating improvements to the uplink performance of 5G or other next generation networks
US11563533B2 (en) * 2019-11-25 2023-01-24 Qualcomm Incorporated Uplink frequency hopping in unlicensed frequency band
EP3962190A1 (en) * 2020-08-26 2022-03-02 THALES DIS AIS Deutschland GmbH Method for controlling data transmission in a radio communication system

Family Cites Families (40)

* Cited by examiner, † Cited by third party
Publication number Priority date Publication date Assignee Title
US5754961A (en) * 1994-06-20 1998-05-19 Kabushiki Kaisha Toshiba Radio communication system including SDL having transmission rate of relatively high speed
US5914950A (en) * 1997-04-08 1999-06-22 Qualcomm Incorporated Method and apparatus for reverse link rate scheduling
JP3000974B2 (ja) * 1997-08-28 2000-01-17 日本電気株式会社 セルラシステムの周波数キャリア割り当て方法
US7787514B2 (en) * 1998-02-12 2010-08-31 Lot 41 Acquisition Foundation, Llc Carrier interferometry coding with applications to cellular and local area networks
US6501785B1 (en) * 1999-11-17 2002-12-31 At&T Corp. Dynamic frequency hopping
US20030081654A1 (en) * 2000-01-08 2003-05-01 Todor Cooklev Dynamic frequency-hopping system
EP1178640B1 (en) * 2000-08-01 2006-05-24 Sony Deutschland GmbH Device and method for channel estimating an OFDM system
US20080095121A1 (en) * 2002-05-14 2008-04-24 Shattil Steve J Carrier interferometry networks
US7027418B2 (en) * 2001-01-25 2006-04-11 Bandspeed, Inc. Approach for selecting communications channels based on performance
US6940827B2 (en) * 2001-03-09 2005-09-06 Adaptix, Inc. Communication system using OFDM for one direction and DSSS for another direction
US6934340B1 (en) * 2001-03-19 2005-08-23 Cisco Technology, Inc. Adaptive control system for interference rejections in a wireless communications system
JP2004529555A (ja) * 2001-03-30 2004-09-24 松下電器産業株式会社 合成選択時間切り替え送信ダイバーシチ(ststd)方法およびシステム
AU2002322131A1 (en) * 2001-06-21 2003-01-08 Flarion Technologies, Inc. Method of tone allocation for tone hopping sequences
EP1890392B1 (en) * 2001-09-18 2015-08-12 Electronics and Telecommunications Research Institute Digital communication method and system
US20030198280A1 (en) * 2002-04-22 2003-10-23 Wang John Z. Wireless local area network frequency hopping adaptation algorithm
US7551546B2 (en) * 2002-06-27 2009-06-23 Nortel Networks Limited Dual-mode shared OFDM methods/transmitters, receivers and systems
US7363039B2 (en) * 2002-08-08 2008-04-22 Qualcomm Incorporated Method of creating and utilizing diversity in multiple carrier communication system
US7277419B2 (en) * 2002-08-30 2007-10-02 Intel Corporation Supporting disparate packet based wireless communications
WO2004038972A1 (en) * 2002-10-26 2004-05-06 Electronics And Telecommunications Research Institute Frequency hopping ofdma method using symbols of comb pattern
WO2004059897A2 (en) * 2002-12-24 2004-07-15 Electronics And Telecommunications Research Institute Frequency hopping method in orthogonal frequency division multiplexing system
US7068703B2 (en) * 2003-02-18 2006-06-27 Qualcomm, Incorporated Frequency hop sequences for multi-band communication systems
US7474686B2 (en) * 2003-02-28 2009-01-06 Texas Instruments Incorporated Wireless personal area networks with rotation of frequency hopping sequences
US7613223B2 (en) * 2003-02-28 2009-11-03 Intel Corporation Time-frequency coding in a multi-band ultra-wideband system
US7697448B2 (en) * 2003-04-03 2010-04-13 Broadcom Corporation Providing link quality intelligence from physical layer to higher protocol layers
US7177297B2 (en) * 2003-05-12 2007-02-13 Qualcomm Incorporated Fast frequency hopping with a code division multiplexed pilot in an OFDMA system
US7254158B2 (en) * 2003-05-12 2007-08-07 Qualcomm Incorporated Soft handoff with interference cancellation in a wireless frequency hopping communication system
JP4080950B2 (ja) * 2003-05-30 2008-04-23 京セラ株式会社 端末装置
DE60307798T2 (de) * 2003-05-30 2006-12-14 Agilent Technologies, Inc., Palo Alto Arbitrierung von gemeinsamen Speicher
US7362817B2 (en) * 2003-07-18 2008-04-22 Broadcom Corproation UWB (Ultra Wide Band) interference mitigation
US7248627B2 (en) * 2003-08-04 2007-07-24 Mediatek Incorporation Method and apparatus for estimating the link quality of a communication channel
US7154933B2 (en) * 2003-09-25 2006-12-26 Avneesh Agrawal Interference management for soft handoff and broadcast services in a wireless frequency hopping communication system
US9585023B2 (en) * 2003-10-30 2017-02-28 Qualcomm Incorporated Layered reuse for a wireless communication system
US8391413B2 (en) * 2003-12-19 2013-03-05 Qualcomm Incorporated Channel estimation for an OFDM communication system with inactive subbands
US20050159106A1 (en) * 2003-12-30 2005-07-21 Arto Palin Method and system for assigning time-frequency codes
US20050176371A1 (en) * 2004-02-09 2005-08-11 Arto Palin Synchronization of time-frequency codes
JP4012167B2 (ja) * 2004-03-31 2007-11-21 株式会社東芝 無線通信システム
US8085831B2 (en) * 2004-05-17 2011-12-27 Qualcomm Incorporated Interference control via selective blanking/attenuation of interfering transmissions
US7355959B2 (en) * 2004-05-28 2008-04-08 Mitsubishi Electric Research Laboratories, Inc. Interference suppression for OFDM-based UWB communication
JP4181093B2 (ja) * 2004-07-16 2008-11-12 株式会社東芝 無線通信システム
JP4405471B2 (ja) * 2006-01-31 2010-01-27 株式会社東芝 セルラー無線通信システム、基地局、無線端末および無線通信方法

Cited By (55)

* Cited by examiner, † Cited by third party
Publication number Priority date Publication date Assignee Title
JPWO2007052397A1 (ja) * 2005-10-31 2009-04-30 日本電気株式会社 送受信システム、伝送装置、及びそれらに用いるパイロット信号多重方法
US9036595B2 (en) 2005-11-04 2015-05-19 Panasonic Intellectual Property Corporation Of America Method for setting subbands in multicarrier communication, and radio communication mobile station apparatus
US8787291B2 (en) 2005-11-04 2014-07-22 Panasonic Intellectual Property Corporation Of America Method for setting subbands in multicarrier communication, and radio communication mobile station apparatus
US8259658B2 (en) 2005-11-04 2012-09-04 Panasonic Corporation Method for setting subbands in multicarrier communication, and radio communication base station apparatus
KR101239580B1 (ko) * 2005-11-04 2013-03-05 파나소닉 주식회사 기지국 장치, 이동국 장치, 블록 배치 방법, 데이터 수신 방법 및 집적 회로
KR101239514B1 (ko) 2005-11-04 2013-03-05 파나소닉 주식회사 기지국 장치, 이동국 장치, 블록 설정 방법, 데이터 수신 방법 및 집적 회로
RU2419988C2 (ru) * 2005-11-04 2011-05-27 Панасоник Корпорэйшн Способ задания подполос в системе связи с несколькими несущими и устройство - базовая станция радиосвязи
JPWO2007052766A1 (ja) * 2005-11-04 2009-04-30 パナソニック株式会社 マルチキャリア通信におけるサブバンド設定方法および無線通信基地局装置
US9265041B2 (en) 2005-11-04 2016-02-16 Panasonic Intellectual Property Corporation Of America Integrated circuit for setting subbands in multicarrier communication for radio communication base station apparatus
CN102868436A (zh) * 2005-11-04 2013-01-09 松下电器产业株式会社 基站装置和移动台装置
CN102868436B (zh) * 2005-11-04 2015-09-30 松下电器(美国)知识产权公司 基站装置和移动台装置
WO2007052766A1 (ja) * 2005-11-04 2007-05-10 Matsushita Electric Industrial Co., Ltd. マルチキャリア通信におけるサブバンド設定方法および無線通信基地局装置
JP4588766B2 (ja) * 2005-11-04 2010-12-01 パナソニック株式会社 マルチキャリア通信における基地局装置、移動局装置およびブロック設定方法
JP2011072014A (ja) * 2006-01-27 2011-04-07 Fujitsu Ltd 基地局
JPWO2007110960A1 (ja) * 2006-03-29 2009-08-06 富士通株式会社 通信装置および端末
US8265647B2 (en) 2006-03-29 2012-09-11 Fujitsu Limited Communication terminal and device
WO2007110960A1 (ja) * 2006-03-29 2007-10-04 Fujitsu Limited 通信装置および端末
JP4712867B2 (ja) * 2006-03-29 2011-06-29 富士通株式会社 通信装置および端末
JP2009532987A (ja) * 2006-04-06 2009-09-10 アルカテル−ルーセント ユーエスエー インコーポレーテッド アップリンク電力制御のためのパイロット信号を提供する方法
WO2007148813A1 (en) * 2006-06-20 2007-12-27 Nec Corporation Resource block scheduling in communication networks
US8139474B2 (en) 2006-06-20 2012-03-20 Nec Corporation Resource block scheduling in communication networks
CN101473574B (zh) * 2006-06-20 2013-05-22 日本电气株式会社 通信网络中的资源块调度
JP2009542037A (ja) * 2006-06-20 2009-11-26 日本電気株式会社 通信ネットワークにおけるリソースブロックのスケジューリング
US8369424B2 (en) 2006-07-14 2013-02-05 Qualcomm Incorporated Frequency selective and frequency diversity transmissions in a wireless communication system
JP2013128294A (ja) * 2006-07-14 2013-06-27 Qualcomm Inc 無線通信システムにおける周波数選択性送信および周波数ダイバーシティ送信
JP2009544258A (ja) * 2006-07-14 2009-12-10 クゥアルコム・インコーポレイテッド 無線通信システムにおける周波数選択性送信および周波数ダイバーシティ送信
US8855225B2 (en) 2006-07-14 2014-10-07 Qualcomm Incorporated Frequency selective and frequency diversity transmissions in a wireless communication system
JP2008109466A (ja) * 2006-10-26 2008-05-08 Yokohama National Univ 秘密鍵共有方法および装置
US11563522B2 (en) 2006-11-02 2023-01-24 Panasonic Intellectual Property Corporation Of America Wireless communication base station apparatus, wireless communication terminal, communication method of a wireless communication base station apparatus and communication method of a wireless communication terminal
JP2009033696A (ja) * 2006-11-02 2009-02-12 Panasonic Corp 送信方法、送信装置及び受信方法
US12192000B2 (en) 2006-11-02 2025-01-07 Panasonic Intellectual Property Corporation Of America Wireless communication base station apparatus, wireless communication terminal, communication method of a wireless communication base station apparatus and communication method of a wireless communication terminal
US8401110B2 (en) 2006-11-02 2013-03-19 Panasonic Corporation Transmission method, transmitter apparatus and reception method
US11894928B2 (en) 2006-11-02 2024-02-06 Panasonic Intellectual Property Corporation Of America Wireless communication base station apparatus, wireless communication terminal, communication method of a wireless communication base station apparatus and communication method of a wireless communication terminal
US10680752B2 (en) 2006-11-02 2020-06-09 Panasonic Intellectual Property Corporation Of America Wireless communication base station apparatus, wireless communication terminal, communication method of a wireless communication base station apparatus and communication method of a wireless communication terminal
US11277226B2 (en) 2006-11-02 2022-03-15 Panasonic Intellectual Property Corporation Of America Wireless communication base station apparatus, wireless communication terminal, communication method of a wireless communication base station apparatus and communication method of a wireless communication terminal
US8869012B2 (en) 2006-11-02 2014-10-21 Panasonic Intellectual Property Corporation Of America Transmitting method, receiving method, receiving apparatus and transmitting apparatus
US9712280B2 (en) 2006-11-02 2017-07-18 Panasonic Intellectual Property Corporation Of America Output signal generating method, decoded data generating method, output signal generating apparatus, and decoded data generating apparatus
US8351469B2 (en) 2006-12-22 2013-01-08 Fujitsu Limited Radio communication method and a base station and user terminal thereof
JP4808260B2 (ja) * 2006-12-22 2011-11-02 富士通株式会社 無線通信方法及び基地局並びにユーザ端末
WO2008078357A1 (ja) * 2006-12-22 2008-07-03 Fujitsu Limited 無線通信方法及び基地局並びにユーザ端末
US8654794B2 (en) 2006-12-22 2014-02-18 Fujitsu Limited Radio communication method and a base station and user terminal thereof
US8670465B2 (en) 2006-12-22 2014-03-11 Fujitsu Limited Radio communication method and a base station and user terminal thereof
AU2006352302B2 (en) * 2006-12-22 2011-06-30 Fujitsu Limited Wireless communication method, base station, and user terminal
AU2006352302C1 (en) * 2006-12-22 2012-08-16 Fujitsu Limited Wireless communication method, base station, and user terminal
US9369327B2 (en) 2006-12-22 2016-06-14 Fujitsu Limited Radio communication method and a base station and user terminal thereof
US9660853B2 (en) 2006-12-22 2017-05-23 Fujitsu Limited Radio communication method and a base station and user terminal thereof
JP2010519873A (ja) * 2007-03-20 2010-06-03 モトローラ・インコーポレイテッド マルチキャリア通信システム内における資源割当てのための方法及び装置
JP2015164316A (ja) * 2007-08-08 2015-09-10 テレフオンアクチーボラゲット エル エム エリクソン(パブル) 明示的な周波数ホッピングを用いるマルチキャリヤ通信システム
JP2010541301A (ja) * 2008-01-16 2010-12-24 ミツビシ・エレクトリック・リサーチ・ラボラトリーズ・インコーポレイテッド Mimoネットワークにおけるアップリンク用ofdmaフレーム構造
KR101524622B1 (ko) * 2008-10-29 2015-06-02 주식회사 팬택 직교 주파수 분할 다중 접속 방식의 무선 통신 시스템에서의 자원 할당 장치 및 방법
KR101519347B1 (ko) * 2008-11-25 2015-05-13 주식회사 팬택 직교 주파수 분할 다중 접속 방식의 무선 통신 시스템에서의 자원 할당 장치 및 방법
JP2011197822A (ja) * 2010-03-17 2011-10-06 Toshiba Corp 電子機器
US8351517B2 (en) 2010-03-17 2013-01-08 Kabushiki Kaisha Toshiba Electronic device
JP2019536378A (ja) * 2016-11-29 2019-12-12 ホアウェイ・テクノロジーズ・カンパニー・リミテッド 周波数ホッピング通信方法およびデバイス
US10873364B2 (en) 2016-11-29 2020-12-22 Huawei Technologies Co., Ltd. Frequency hopping communication method and device

Also Published As

Publication number Publication date
JP4012167B2 (ja) 2007-11-21
US20050232135A1 (en) 2005-10-20
US20080285490A1 (en) 2008-11-20

Similar Documents

Publication Publication Date Title
JP4012167B2 (ja) 無線通信システム
KR101828886B1 (ko) 업링크 구조를 제공하고 무선 통신 네트워크에서 파일럿 신호 오버헤드를 최소화하는 방법 및 시스템
EP2293507B1 (en) Resource allocation in a wireless communication system
JP2007243898A (ja) 移動局、基地局及び方法
JP2006287895A (ja) 無線送信装置および無線受信装置
JP2008541548A (ja) 適応的変調チャネル及びダイバーシティーチャネルとダイバーシティーチャネルを用いる無線通信システムにおけるチャネルの構成及び運用方法とこのための送受信装置とそのシステム
JP3964855B2 (ja) 無線通信システム、無線制御方法、制御装置及び端末装置
JP4564501B2 (ja) 周波数分割通信システム
JP2009278658A (ja) 移動局、基地局及び方法
JP2010011506A (ja) マルチキャリア伝送方式による通信装置および通信システム
JP2012213186A (ja) マルチキャリア伝送方式による通信装置および通信システム
JP5510584B2 (ja) マルチキャリア伝送方式による通信装置および通信システム
JP5146617B2 (ja) マルチキャリア伝送方式による通信装置および通信システム
JP5598566B2 (ja) 基地局装置、端末装置、及び通信システム
JP2012195951A (ja) マルチキャリア伝送方式による通信装置および通信システム
JP2012199980A (ja) マルチキャリア伝送方式による通信装置および通信システム
RU2414105C2 (ru) Мобильная станция, базовая станция и способ осуществления связи
KR20050122793A (ko) Ofdm/ofdma시스템의 무선자원 할당 스케쥴링 방법
JP5006130B2 (ja) 送信方法ならびにそれを利用した基地局装置
JP5610027B2 (ja) 端末装置、通信システム及び基地局装置
JP5288027B2 (ja) マルチキャリア伝送方式による通信装置および通信システム
JP5610028B2 (ja) 端末装置
JP5110217B2 (ja) マルチキャリア伝送方式による通信装置および通信システム
JP5110216B2 (ja) マルチキャリア伝送方式による通信装置および通信システム
JP2012170150A (ja) マルチキャリア伝送方式による通信装置および通信システム

Legal Events

Date Code Title Description
A977 Report on retrieval

Free format text: JAPANESE INTERMEDIATE CODE: A971007

Effective date: 20061124

A131 Notification of reasons for refusal

Free format text: JAPANESE INTERMEDIATE CODE: A131

Effective date: 20070522

A521 Request for written amendment filed

Free format text: JAPANESE INTERMEDIATE CODE: A523

Effective date: 20070718

TRDD Decision of grant or rejection written
A01 Written decision to grant a patent or to grant a registration (utility model)

Free format text: JAPANESE INTERMEDIATE CODE: A01

Effective date: 20070904

A61 First payment of annual fees (during grant procedure)

Free format text: JAPANESE INTERMEDIATE CODE: A61

Effective date: 20070906

FPAY Renewal fee payment (event date is renewal date of database)

Free format text: PAYMENT UNTIL: 20100914

Year of fee payment: 3

FPAY Renewal fee payment (event date is renewal date of database)

Free format text: PAYMENT UNTIL: 20110914

Year of fee payment: 4

LAPS Cancellation because of no payment of annual fees