JP2005294842A - 段差型ダイを有する半導体パッケージとその製造方法 - Google Patents

段差型ダイを有する半導体パッケージとその製造方法 Download PDF

Info

Publication number
JP2005294842A
JP2005294842A JP2005103706A JP2005103706A JP2005294842A JP 2005294842 A JP2005294842 A JP 2005294842A JP 2005103706 A JP2005103706 A JP 2005103706A JP 2005103706 A JP2005103706 A JP 2005103706A JP 2005294842 A JP2005294842 A JP 2005294842A
Authority
JP
Japan
Prior art keywords
semiconductor die
recess
semiconductor
die
substrate
Prior art date
Legal status (The legal status is an assumption and is not a legal conclusion. Google has not performed a legal analysis and makes no representation as to the accuracy of the status listed.)
Granted
Application number
JP2005103706A
Other languages
English (en)
Other versions
JP4832782B2 (ja
Inventor
In-Ku Kang
仁九 姜
Jin-Ho Kim
震鎬 金
Tae-Gyeong Chung
泰敬 鄭
Shaku Ko
錫 高
Yong-Jae Lee
容在 李
Current Assignee (The listed assignees may be inaccurate. Google has not performed a legal analysis and makes no representation or warranty as to the accuracy of the list.)
Samsung Electronics Co Ltd
Original Assignee
Samsung Electronics Co Ltd
Priority date (The priority date is an assumption and is not a legal conclusion. Google has not performed a legal analysis and makes no representation as to the accuracy of the date listed.)
Filing date
Publication date
Application filed by Samsung Electronics Co Ltd filed Critical Samsung Electronics Co Ltd
Publication of JP2005294842A publication Critical patent/JP2005294842A/ja
Application granted granted Critical
Publication of JP4832782B2 publication Critical patent/JP4832782B2/ja
Anticipated expiration legal-status Critical
Expired - Fee Related legal-status Critical Current

Links

Images

Classifications

    • AHUMAN NECESSITIES
    • A23FOODS OR FOODSTUFFS; TREATMENT THEREOF, NOT COVERED BY OTHER CLASSES
    • A23NMACHINES OR APPARATUS FOR TREATING HARVESTED FRUIT, VEGETABLES OR FLOWER BULBS IN BULK, NOT OTHERWISE PROVIDED FOR; PEELING VEGETABLES OR FRUIT IN BULK; APPARATUS FOR PREPARING ANIMAL FEEDING- STUFFS
    • A23N15/00Machines or apparatus for other treatment of fruits or vegetables for human purposes; Machines or apparatus for topping or skinning flower bulbs
    • HELECTRICITY
    • H01ELECTRIC ELEMENTS
    • H01LSEMICONDUCTOR DEVICES NOT COVERED BY CLASS H10
    • H01L24/00Arrangements for connecting or disconnecting semiconductor or solid-state bodies; Methods or apparatus related thereto
    • H01L24/01Means for bonding being attached to, or being formed on, the surface to be connected, e.g. chip-to-package, die-attach, "first-level" interconnects; Manufacturing methods related thereto
    • H01L24/26Layer connectors, e.g. plate connectors, solder or adhesive layers; Manufacturing methods related thereto
    • H01L24/31Structure, shape, material or disposition of the layer connectors after the connecting process
    • H01L24/32Structure, shape, material or disposition of the layer connectors after the connecting process of an individual layer connector
    • BPERFORMING OPERATIONS; TRANSPORTING
    • B26HAND CUTTING TOOLS; CUTTING; SEVERING
    • B26DCUTTING; DETAILS COMMON TO MACHINES FOR PERFORATING, PUNCHING, CUTTING-OUT, STAMPING-OUT OR SEVERING
    • B26D3/00Cutting work characterised by the nature of the cut made; Apparatus therefor
    • B26D3/24Cutting work characterised by the nature of the cut made; Apparatus therefor to obtain segments other than slices, e.g. cutting pies
    • B26D3/26Cutting work characterised by the nature of the cut made; Apparatus therefor to obtain segments other than slices, e.g. cutting pies specially adapted for cutting fruit or vegetables, e.g. for onions
    • BPERFORMING OPERATIONS; TRANSPORTING
    • B26HAND CUTTING TOOLS; CUTTING; SEVERING
    • B26DCUTTING; DETAILS COMMON TO MACHINES FOR PERFORATING, PUNCHING, CUTTING-OUT, STAMPING-OUT OR SEVERING
    • B26D5/00Arrangements for operating and controlling machines or devices for cutting, cutting-out, stamping-out, punching, perforating, or severing by means other than cutting
    • B26D5/08Means for actuating the cutting member to effect the cut
    • B26D5/086Electric, magnetic, piezoelectric, electro-magnetic means
    • BPERFORMING OPERATIONS; TRANSPORTING
    • B26HAND CUTTING TOOLS; CUTTING; SEVERING
    • B26DCUTTING; DETAILS COMMON TO MACHINES FOR PERFORATING, PUNCHING, CUTTING-OUT, STAMPING-OUT OR SEVERING
    • B26D7/00Details of apparatus for cutting, cutting-out, stamping-out, punching, perforating, or severing by means other than cutting
    • B26D7/06Arrangements for feeding or delivering work of other than sheet, web, or filamentary form
    • B26D7/0625Arrangements for feeding or delivering work of other than sheet, web, or filamentary form by endless conveyors, e.g. belts
    • BPERFORMING OPERATIONS; TRANSPORTING
    • B26HAND CUTTING TOOLS; CUTTING; SEVERING
    • B26DCUTTING; DETAILS COMMON TO MACHINES FOR PERFORATING, PUNCHING, CUTTING-OUT, STAMPING-OUT OR SEVERING
    • B26D7/00Details of apparatus for cutting, cutting-out, stamping-out, punching, perforating, or severing by means other than cutting
    • B26D7/06Arrangements for feeding or delivering work of other than sheet, web, or filamentary form
    • B26D7/0641Arrangements for feeding or delivering work of other than sheet, web, or filamentary form using chutes, hoppers, magazines
    • BPERFORMING OPERATIONS; TRANSPORTING
    • B26HAND CUTTING TOOLS; CUTTING; SEVERING
    • B26DCUTTING; DETAILS COMMON TO MACHINES FOR PERFORATING, PUNCHING, CUTTING-OUT, STAMPING-OUT OR SEVERING
    • B26D7/00Details of apparatus for cutting, cutting-out, stamping-out, punching, perforating, or severing by means other than cutting
    • B26D7/18Means for removing cut-out material or waste
    • HELECTRICITY
    • H01ELECTRIC ELEMENTS
    • H01LSEMICONDUCTOR DEVICES NOT COVERED BY CLASS H10
    • H01L21/00Processes or apparatus adapted for the manufacture or treatment of semiconductor or solid state devices or of parts thereof
    • H01L21/70Manufacture or treatment of devices consisting of a plurality of solid state components formed in or on a common substrate or of parts thereof; Manufacture of integrated circuit devices or of parts thereof
    • H01L21/77Manufacture or treatment of devices consisting of a plurality of solid state components or integrated circuits formed in, or on, a common substrate
    • H01L21/78Manufacture or treatment of devices consisting of a plurality of solid state components or integrated circuits formed in, or on, a common substrate with subsequent division of the substrate into plural individual devices
    • HELECTRICITY
    • H01ELECTRIC ELEMENTS
    • H01LSEMICONDUCTOR DEVICES NOT COVERED BY CLASS H10
    • H01L23/00Details of semiconductor or other solid state devices
    • H01L23/28Encapsulations, e.g. encapsulating layers, coatings, e.g. for protection
    • H01L23/31Encapsulations, e.g. encapsulating layers, coatings, e.g. for protection characterised by the arrangement or shape
    • H01L23/3107Encapsulations, e.g. encapsulating layers, coatings, e.g. for protection characterised by the arrangement or shape the device being completely enclosed
    • H01L23/3121Encapsulations, e.g. encapsulating layers, coatings, e.g. for protection characterised by the arrangement or shape the device being completely enclosed a substrate forming part of the encapsulation
    • H01L23/3128Encapsulations, e.g. encapsulating layers, coatings, e.g. for protection characterised by the arrangement or shape the device being completely enclosed a substrate forming part of the encapsulation the substrate having spherical bumps for external connection
    • HELECTRICITY
    • H01ELECTRIC ELEMENTS
    • H01LSEMICONDUCTOR DEVICES NOT COVERED BY CLASS H10
    • H01L24/00Arrangements for connecting or disconnecting semiconductor or solid-state bodies; Methods or apparatus related thereto
    • H01L24/01Means for bonding being attached to, or being formed on, the surface to be connected, e.g. chip-to-package, die-attach, "first-level" interconnects; Manufacturing methods related thereto
    • H01L24/02Bonding areas ; Manufacturing methods related thereto
    • H01L24/04Structure, shape, material or disposition of the bonding areas prior to the connecting process
    • H01L24/05Structure, shape, material or disposition of the bonding areas prior to the connecting process of an individual bonding area
    • HELECTRICITY
    • H01ELECTRIC ELEMENTS
    • H01LSEMICONDUCTOR DEVICES NOT COVERED BY CLASS H10
    • H01L25/00Assemblies consisting of a plurality of semiconductor or other solid state devices
    • H01L25/03Assemblies consisting of a plurality of semiconductor or other solid state devices all the devices being of a type provided for in a single subclass of subclasses H10B, H10D, H10F, H10H, H10K or H10N, e.g. assemblies of rectifier diodes
    • H01L25/04Assemblies consisting of a plurality of semiconductor or other solid state devices all the devices being of a type provided for in a single subclass of subclasses H10B, H10D, H10F, H10H, H10K or H10N, e.g. assemblies of rectifier diodes the devices not having separate containers
    • H01L25/065Assemblies consisting of a plurality of semiconductor or other solid state devices all the devices being of a type provided for in a single subclass of subclasses H10B, H10D, H10F, H10H, H10K or H10N, e.g. assemblies of rectifier diodes the devices not having separate containers the devices being of a type provided for in group H10D89/00
    • H01L25/0655Assemblies consisting of a plurality of semiconductor or other solid state devices all the devices being of a type provided for in a single subclass of subclasses H10B, H10D, H10F, H10H, H10K or H10N, e.g. assemblies of rectifier diodes the devices not having separate containers the devices being of a type provided for in group H10D89/00 the devices being arranged next to each other
    • HELECTRICITY
    • H01ELECTRIC ELEMENTS
    • H01LSEMICONDUCTOR DEVICES NOT COVERED BY CLASS H10
    • H01L25/00Assemblies consisting of a plurality of semiconductor or other solid state devices
    • H01L25/03Assemblies consisting of a plurality of semiconductor or other solid state devices all the devices being of a type provided for in a single subclass of subclasses H10B, H10D, H10F, H10H, H10K or H10N, e.g. assemblies of rectifier diodes
    • H01L25/04Assemblies consisting of a plurality of semiconductor or other solid state devices all the devices being of a type provided for in a single subclass of subclasses H10B, H10D, H10F, H10H, H10K or H10N, e.g. assemblies of rectifier diodes the devices not having separate containers
    • H01L25/065Assemblies consisting of a plurality of semiconductor or other solid state devices all the devices being of a type provided for in a single subclass of subclasses H10B, H10D, H10F, H10H, H10K or H10N, e.g. assemblies of rectifier diodes the devices not having separate containers the devices being of a type provided for in group H10D89/00
    • H01L25/0657Stacked arrangements of devices
    • HELECTRICITY
    • H01ELECTRIC ELEMENTS
    • H01LSEMICONDUCTOR DEVICES NOT COVERED BY CLASS H10
    • H01L25/00Assemblies consisting of a plurality of semiconductor or other solid state devices
    • H01L25/50Multistep manufacturing processes of assemblies consisting of devices, the devices being individual devices of subclass H10D or integrated devices of class H10
    • HELECTRICITY
    • H10SEMICONDUCTOR DEVICES; ELECTRIC SOLID-STATE DEVICES NOT OTHERWISE PROVIDED FOR
    • H10DINORGANIC ELECTRIC SEMICONDUCTOR DEVICES
    • H10D62/00Semiconductor bodies, or regions thereof, of devices having potential barriers
    • H10D62/10Shapes, relative sizes or dispositions of the regions of the semiconductor bodies; Shapes of the semiconductor bodies
    • H10D62/117Shapes of semiconductor bodies
    • AHUMAN NECESSITIES
    • A23FOODS OR FOODSTUFFS; TREATMENT THEREOF, NOT COVERED BY OTHER CLASSES
    • A23NMACHINES OR APPARATUS FOR TREATING HARVESTED FRUIT, VEGETABLES OR FLOWER BULBS IN BULK, NOT OTHERWISE PROVIDED FOR; PEELING VEGETABLES OR FRUIT IN BULK; APPARATUS FOR PREPARING ANIMAL FEEDING- STUFFS
    • A23N15/00Machines or apparatus for other treatment of fruits or vegetables for human purposes; Machines or apparatus for topping or skinning flower bulbs
    • A23N2015/008Sorting of fruit and vegetables
    • BPERFORMING OPERATIONS; TRANSPORTING
    • B26HAND CUTTING TOOLS; CUTTING; SEVERING
    • B26DCUTTING; DETAILS COMMON TO MACHINES FOR PERFORATING, PUNCHING, CUTTING-OUT, STAMPING-OUT OR SEVERING
    • B26D2210/00Machines or methods used for cutting special materials
    • B26D2210/02Machines or methods used for cutting special materials for cutting food products, e.g. food slicers
    • HELECTRICITY
    • H01ELECTRIC ELEMENTS
    • H01LSEMICONDUCTOR DEVICES NOT COVERED BY CLASS H10
    • H01L2224/00Indexing scheme for arrangements for connecting or disconnecting semiconductor or solid-state bodies and methods related thereto as covered by H01L24/00
    • H01L2224/01Means for bonding being attached to, or being formed on, the surface to be connected, e.g. chip-to-package, die-attach, "first-level" interconnects; Manufacturing methods related thereto
    • H01L2224/02Bonding areas; Manufacturing methods related thereto
    • H01L2224/04Structure, shape, material or disposition of the bonding areas prior to the connecting process
    • H01L2224/0401Bonding areas specifically adapted for bump connectors, e.g. under bump metallisation [UBM]
    • HELECTRICITY
    • H01ELECTRIC ELEMENTS
    • H01LSEMICONDUCTOR DEVICES NOT COVERED BY CLASS H10
    • H01L2224/00Indexing scheme for arrangements for connecting or disconnecting semiconductor or solid-state bodies and methods related thereto as covered by H01L24/00
    • H01L2224/01Means for bonding being attached to, or being formed on, the surface to be connected, e.g. chip-to-package, die-attach, "first-level" interconnects; Manufacturing methods related thereto
    • H01L2224/02Bonding areas; Manufacturing methods related thereto
    • H01L2224/04Structure, shape, material or disposition of the bonding areas prior to the connecting process
    • H01L2224/04042Bonding areas specifically adapted for wire connectors, e.g. wirebond pads
    • HELECTRICITY
    • H01ELECTRIC ELEMENTS
    • H01LSEMICONDUCTOR DEVICES NOT COVERED BY CLASS H10
    • H01L2224/00Indexing scheme for arrangements for connecting or disconnecting semiconductor or solid-state bodies and methods related thereto as covered by H01L24/00
    • H01L2224/01Means for bonding being attached to, or being formed on, the surface to be connected, e.g. chip-to-package, die-attach, "first-level" interconnects; Manufacturing methods related thereto
    • H01L2224/02Bonding areas; Manufacturing methods related thereto
    • H01L2224/04Structure, shape, material or disposition of the bonding areas prior to the connecting process
    • H01L2224/05Structure, shape, material or disposition of the bonding areas prior to the connecting process of an individual bonding area
    • H01L2224/0554External layer
    • H01L2224/0555Shape
    • H01L2224/05552Shape in top view
    • H01L2224/05553Shape in top view being rectangular
    • HELECTRICITY
    • H01ELECTRIC ELEMENTS
    • H01LSEMICONDUCTOR DEVICES NOT COVERED BY CLASS H10
    • H01L2224/00Indexing scheme for arrangements for connecting or disconnecting semiconductor or solid-state bodies and methods related thereto as covered by H01L24/00
    • H01L2224/01Means for bonding being attached to, or being formed on, the surface to be connected, e.g. chip-to-package, die-attach, "first-level" interconnects; Manufacturing methods related thereto
    • H01L2224/02Bonding areas; Manufacturing methods related thereto
    • H01L2224/04Structure, shape, material or disposition of the bonding areas prior to the connecting process
    • H01L2224/05Structure, shape, material or disposition of the bonding areas prior to the connecting process of an individual bonding area
    • H01L2224/0554External layer
    • H01L2224/0555Shape
    • H01L2224/05552Shape in top view
    • H01L2224/05554Shape in top view being square
    • HELECTRICITY
    • H01ELECTRIC ELEMENTS
    • H01LSEMICONDUCTOR DEVICES NOT COVERED BY CLASS H10
    • H01L2224/00Indexing scheme for arrangements for connecting or disconnecting semiconductor or solid-state bodies and methods related thereto as covered by H01L24/00
    • H01L2224/01Means for bonding being attached to, or being formed on, the surface to be connected, e.g. chip-to-package, die-attach, "first-level" interconnects; Manufacturing methods related thereto
    • H01L2224/02Bonding areas; Manufacturing methods related thereto
    • H01L2224/04Structure, shape, material or disposition of the bonding areas prior to the connecting process
    • H01L2224/05Structure, shape, material or disposition of the bonding areas prior to the connecting process of an individual bonding area
    • H01L2224/0554External layer
    • H01L2224/0555Shape
    • H01L2224/05556Shape in side view
    • HELECTRICITY
    • H01ELECTRIC ELEMENTS
    • H01LSEMICONDUCTOR DEVICES NOT COVERED BY CLASS H10
    • H01L2224/00Indexing scheme for arrangements for connecting or disconnecting semiconductor or solid-state bodies and methods related thereto as covered by H01L24/00
    • H01L2224/01Means for bonding being attached to, or being formed on, the surface to be connected, e.g. chip-to-package, die-attach, "first-level" interconnects; Manufacturing methods related thereto
    • H01L2224/02Bonding areas; Manufacturing methods related thereto
    • H01L2224/04Structure, shape, material or disposition of the bonding areas prior to the connecting process
    • H01L2224/05Structure, shape, material or disposition of the bonding areas prior to the connecting process of an individual bonding area
    • H01L2224/0554External layer
    • H01L2224/05599Material
    • HELECTRICITY
    • H01ELECTRIC ELEMENTS
    • H01LSEMICONDUCTOR DEVICES NOT COVERED BY CLASS H10
    • H01L2224/00Indexing scheme for arrangements for connecting or disconnecting semiconductor or solid-state bodies and methods related thereto as covered by H01L24/00
    • H01L2224/01Means for bonding being attached to, or being formed on, the surface to be connected, e.g. chip-to-package, die-attach, "first-level" interconnects; Manufacturing methods related thereto
    • H01L2224/10Bump connectors; Manufacturing methods related thereto
    • H01L2224/15Structure, shape, material or disposition of the bump connectors after the connecting process
    • H01L2224/16Structure, shape, material or disposition of the bump connectors after the connecting process of an individual bump connector
    • H01L2224/161Disposition
    • H01L2224/16151Disposition the bump connector connecting between a semiconductor or solid-state body and an item not being a semiconductor or solid-state body, e.g. chip-to-substrate, chip-to-passive
    • H01L2224/16221Disposition the bump connector connecting between a semiconductor or solid-state body and an item not being a semiconductor or solid-state body, e.g. chip-to-substrate, chip-to-passive the body and the item being stacked
    • H01L2224/16225Disposition the bump connector connecting between a semiconductor or solid-state body and an item not being a semiconductor or solid-state body, e.g. chip-to-substrate, chip-to-passive the body and the item being stacked the item being non-metallic, e.g. insulating substrate with or without metallisation
    • HELECTRICITY
    • H01ELECTRIC ELEMENTS
    • H01LSEMICONDUCTOR DEVICES NOT COVERED BY CLASS H10
    • H01L2224/00Indexing scheme for arrangements for connecting or disconnecting semiconductor or solid-state bodies and methods related thereto as covered by H01L24/00
    • H01L2224/01Means for bonding being attached to, or being formed on, the surface to be connected, e.g. chip-to-package, die-attach, "first-level" interconnects; Manufacturing methods related thereto
    • H01L2224/26Layer connectors, e.g. plate connectors, solder or adhesive layers; Manufacturing methods related thereto
    • H01L2224/31Structure, shape, material or disposition of the layer connectors after the connecting process
    • H01L2224/32Structure, shape, material or disposition of the layer connectors after the connecting process of an individual layer connector
    • H01L2224/321Disposition
    • H01L2224/32135Disposition the layer connector connecting between different semiconductor or solid-state bodies, i.e. chip-to-chip
    • H01L2224/32145Disposition the layer connector connecting between different semiconductor or solid-state bodies, i.e. chip-to-chip the bodies being stacked
    • HELECTRICITY
    • H01ELECTRIC ELEMENTS
    • H01LSEMICONDUCTOR DEVICES NOT COVERED BY CLASS H10
    • H01L2224/00Indexing scheme for arrangements for connecting or disconnecting semiconductor or solid-state bodies and methods related thereto as covered by H01L24/00
    • H01L2224/01Means for bonding being attached to, or being formed on, the surface to be connected, e.g. chip-to-package, die-attach, "first-level" interconnects; Manufacturing methods related thereto
    • H01L2224/26Layer connectors, e.g. plate connectors, solder or adhesive layers; Manufacturing methods related thereto
    • H01L2224/31Structure, shape, material or disposition of the layer connectors after the connecting process
    • H01L2224/32Structure, shape, material or disposition of the layer connectors after the connecting process of an individual layer connector
    • H01L2224/321Disposition
    • H01L2224/32151Disposition the layer connector connecting between a semiconductor or solid-state body and an item not being a semiconductor or solid-state body, e.g. chip-to-substrate, chip-to-passive
    • H01L2224/32221Disposition the layer connector connecting between a semiconductor or solid-state body and an item not being a semiconductor or solid-state body, e.g. chip-to-substrate, chip-to-passive the body and the item being stacked
    • H01L2224/32225Disposition the layer connector connecting between a semiconductor or solid-state body and an item not being a semiconductor or solid-state body, e.g. chip-to-substrate, chip-to-passive the body and the item being stacked the item being non-metallic, e.g. insulating substrate with or without metallisation
    • HELECTRICITY
    • H01ELECTRIC ELEMENTS
    • H01LSEMICONDUCTOR DEVICES NOT COVERED BY CLASS H10
    • H01L2224/00Indexing scheme for arrangements for connecting or disconnecting semiconductor or solid-state bodies and methods related thereto as covered by H01L24/00
    • H01L2224/01Means for bonding being attached to, or being formed on, the surface to be connected, e.g. chip-to-package, die-attach, "first-level" interconnects; Manufacturing methods related thereto
    • H01L2224/42Wire connectors; Manufacturing methods related thereto
    • H01L2224/47Structure, shape, material or disposition of the wire connectors after the connecting process
    • H01L2224/48Structure, shape, material or disposition of the wire connectors after the connecting process of an individual wire connector
    • H01L2224/4805Shape
    • H01L2224/4809Loop shape
    • H01L2224/48091Arched
    • HELECTRICITY
    • H01ELECTRIC ELEMENTS
    • H01LSEMICONDUCTOR DEVICES NOT COVERED BY CLASS H10
    • H01L2224/00Indexing scheme for arrangements for connecting or disconnecting semiconductor or solid-state bodies and methods related thereto as covered by H01L24/00
    • H01L2224/01Means for bonding being attached to, or being formed on, the surface to be connected, e.g. chip-to-package, die-attach, "first-level" interconnects; Manufacturing methods related thereto
    • H01L2224/42Wire connectors; Manufacturing methods related thereto
    • H01L2224/47Structure, shape, material or disposition of the wire connectors after the connecting process
    • H01L2224/48Structure, shape, material or disposition of the wire connectors after the connecting process of an individual wire connector
    • H01L2224/4805Shape
    • H01L2224/4809Loop shape
    • H01L2224/48095Kinked
    • HELECTRICITY
    • H01ELECTRIC ELEMENTS
    • H01LSEMICONDUCTOR DEVICES NOT COVERED BY CLASS H10
    • H01L2224/00Indexing scheme for arrangements for connecting or disconnecting semiconductor or solid-state bodies and methods related thereto as covered by H01L24/00
    • H01L2224/01Means for bonding being attached to, or being formed on, the surface to be connected, e.g. chip-to-package, die-attach, "first-level" interconnects; Manufacturing methods related thereto
    • H01L2224/42Wire connectors; Manufacturing methods related thereto
    • H01L2224/47Structure, shape, material or disposition of the wire connectors after the connecting process
    • H01L2224/48Structure, shape, material or disposition of the wire connectors after the connecting process of an individual wire connector
    • H01L2224/481Disposition
    • H01L2224/48151Connecting between a semiconductor or solid-state body and an item not being a semiconductor or solid-state body, e.g. chip-to-substrate, chip-to-passive
    • H01L2224/48221Connecting between a semiconductor or solid-state body and an item not being a semiconductor or solid-state body, e.g. chip-to-substrate, chip-to-passive the body and the item being stacked
    • H01L2224/48225Connecting between a semiconductor or solid-state body and an item not being a semiconductor or solid-state body, e.g. chip-to-substrate, chip-to-passive the body and the item being stacked the item being non-metallic, e.g. insulating substrate with or without metallisation
    • H01L2224/48227Connecting between a semiconductor or solid-state body and an item not being a semiconductor or solid-state body, e.g. chip-to-substrate, chip-to-passive the body and the item being stacked the item being non-metallic, e.g. insulating substrate with or without metallisation connecting the wire to a bond pad of the item
    • HELECTRICITY
    • H01ELECTRIC ELEMENTS
    • H01LSEMICONDUCTOR DEVICES NOT COVERED BY CLASS H10
    • H01L2224/00Indexing scheme for arrangements for connecting or disconnecting semiconductor or solid-state bodies and methods related thereto as covered by H01L24/00
    • H01L2224/01Means for bonding being attached to, or being formed on, the surface to be connected, e.g. chip-to-package, die-attach, "first-level" interconnects; Manufacturing methods related thereto
    • H01L2224/42Wire connectors; Manufacturing methods related thereto
    • H01L2224/47Structure, shape, material or disposition of the wire connectors after the connecting process
    • H01L2224/48Structure, shape, material or disposition of the wire connectors after the connecting process of an individual wire connector
    • H01L2224/481Disposition
    • H01L2224/48151Connecting between a semiconductor or solid-state body and an item not being a semiconductor or solid-state body, e.g. chip-to-substrate, chip-to-passive
    • H01L2224/48221Connecting between a semiconductor or solid-state body and an item not being a semiconductor or solid-state body, e.g. chip-to-substrate, chip-to-passive the body and the item being stacked
    • H01L2224/48245Connecting between a semiconductor or solid-state body and an item not being a semiconductor or solid-state body, e.g. chip-to-substrate, chip-to-passive the body and the item being stacked the item being metallic
    • H01L2224/48247Connecting between a semiconductor or solid-state body and an item not being a semiconductor or solid-state body, e.g. chip-to-substrate, chip-to-passive the body and the item being stacked the item being metallic connecting the wire to a bond pad of the item
    • HELECTRICITY
    • H01ELECTRIC ELEMENTS
    • H01LSEMICONDUCTOR DEVICES NOT COVERED BY CLASS H10
    • H01L2224/00Indexing scheme for arrangements for connecting or disconnecting semiconductor or solid-state bodies and methods related thereto as covered by H01L24/00
    • H01L2224/01Means for bonding being attached to, or being formed on, the surface to be connected, e.g. chip-to-package, die-attach, "first-level" interconnects; Manufacturing methods related thereto
    • H01L2224/42Wire connectors; Manufacturing methods related thereto
    • H01L2224/47Structure, shape, material or disposition of the wire connectors after the connecting process
    • H01L2224/48Structure, shape, material or disposition of the wire connectors after the connecting process of an individual wire connector
    • H01L2224/484Connecting portions
    • H01L2224/48463Connecting portions the connecting portion on the bonding area of the semiconductor or solid-state body being a ball bond
    • H01L2224/48465Connecting portions the connecting portion on the bonding area of the semiconductor or solid-state body being a ball bond the other connecting portion not on the bonding area being a wedge bond, i.e. ball-to-wedge, regular stitch
    • HELECTRICITY
    • H01ELECTRIC ELEMENTS
    • H01LSEMICONDUCTOR DEVICES NOT COVERED BY CLASS H10
    • H01L2224/00Indexing scheme for arrangements for connecting or disconnecting semiconductor or solid-state bodies and methods related thereto as covered by H01L24/00
    • H01L2224/01Means for bonding being attached to, or being formed on, the surface to be connected, e.g. chip-to-package, die-attach, "first-level" interconnects; Manufacturing methods related thereto
    • H01L2224/42Wire connectors; Manufacturing methods related thereto
    • H01L2224/47Structure, shape, material or disposition of the wire connectors after the connecting process
    • H01L2224/48Structure, shape, material or disposition of the wire connectors after the connecting process of an individual wire connector
    • H01L2224/484Connecting portions
    • H01L2224/4847Connecting portions the connecting portion on the bonding area of the semiconductor or solid-state body being a wedge bond
    • H01L2224/48471Connecting portions the connecting portion on the bonding area of the semiconductor or solid-state body being a wedge bond the other connecting portion not on the bonding area being a ball bond, i.e. wedge-to-ball, reverse stitch
    • HELECTRICITY
    • H01ELECTRIC ELEMENTS
    • H01LSEMICONDUCTOR DEVICES NOT COVERED BY CLASS H10
    • H01L2224/00Indexing scheme for arrangements for connecting or disconnecting semiconductor or solid-state bodies and methods related thereto as covered by H01L24/00
    • H01L2224/01Means for bonding being attached to, or being formed on, the surface to be connected, e.g. chip-to-package, die-attach, "first-level" interconnects; Manufacturing methods related thereto
    • H01L2224/42Wire connectors; Manufacturing methods related thereto
    • H01L2224/47Structure, shape, material or disposition of the wire connectors after the connecting process
    • H01L2224/48Structure, shape, material or disposition of the wire connectors after the connecting process of an individual wire connector
    • H01L2224/484Connecting portions
    • H01L2224/48475Connecting portions connected to auxiliary connecting means on the bonding areas, e.g. pre-ball, wedge-on-ball, ball-on-ball
    • H01L2224/48476Connecting portions connected to auxiliary connecting means on the bonding areas, e.g. pre-ball, wedge-on-ball, ball-on-ball between the wire connector and the bonding area
    • H01L2224/48477Connecting portions connected to auxiliary connecting means on the bonding areas, e.g. pre-ball, wedge-on-ball, ball-on-ball between the wire connector and the bonding area being a pre-ball (i.e. a ball formed by capillary bonding)
    • H01L2224/48478Connecting portions connected to auxiliary connecting means on the bonding areas, e.g. pre-ball, wedge-on-ball, ball-on-ball between the wire connector and the bonding area being a pre-ball (i.e. a ball formed by capillary bonding) the connecting portion being a wedge bond, i.e. wedge on pre-ball
    • H01L2224/48479Connecting portions connected to auxiliary connecting means on the bonding areas, e.g. pre-ball, wedge-on-ball, ball-on-ball between the wire connector and the bonding area being a pre-ball (i.e. a ball formed by capillary bonding) the connecting portion being a wedge bond, i.e. wedge on pre-ball on the semiconductor or solid-state body
    • HELECTRICITY
    • H01ELECTRIC ELEMENTS
    • H01LSEMICONDUCTOR DEVICES NOT COVERED BY CLASS H10
    • H01L2224/00Indexing scheme for arrangements for connecting or disconnecting semiconductor or solid-state bodies and methods related thereto as covered by H01L24/00
    • H01L2224/01Means for bonding being attached to, or being formed on, the surface to be connected, e.g. chip-to-package, die-attach, "first-level" interconnects; Manufacturing methods related thereto
    • H01L2224/42Wire connectors; Manufacturing methods related thereto
    • H01L2224/47Structure, shape, material or disposition of the wire connectors after the connecting process
    • H01L2224/49Structure, shape, material or disposition of the wire connectors after the connecting process of a plurality of wire connectors
    • H01L2224/491Disposition
    • H01L2224/4912Layout
    • H01L2224/49175Parallel arrangements
    • HELECTRICITY
    • H01ELECTRIC ELEMENTS
    • H01LSEMICONDUCTOR DEVICES NOT COVERED BY CLASS H10
    • H01L2224/00Indexing scheme for arrangements for connecting or disconnecting semiconductor or solid-state bodies and methods related thereto as covered by H01L24/00
    • H01L2224/01Means for bonding being attached to, or being formed on, the surface to be connected, e.g. chip-to-package, die-attach, "first-level" interconnects; Manufacturing methods related thereto
    • H01L2224/42Wire connectors; Manufacturing methods related thereto
    • H01L2224/47Structure, shape, material or disposition of the wire connectors after the connecting process
    • H01L2224/49Structure, shape, material or disposition of the wire connectors after the connecting process of a plurality of wire connectors
    • H01L2224/494Connecting portions
    • H01L2224/4945Wire connectors having connecting portions of different types on the semiconductor or solid-state body, e.g. regular and reverse stitches
    • HELECTRICITY
    • H01ELECTRIC ELEMENTS
    • H01LSEMICONDUCTOR DEVICES NOT COVERED BY CLASS H10
    • H01L2224/00Indexing scheme for arrangements for connecting or disconnecting semiconductor or solid-state bodies and methods related thereto as covered by H01L24/00
    • H01L2224/73Means for bonding being of different types provided for in two or more of groups H01L2224/10, H01L2224/18, H01L2224/26, H01L2224/34, H01L2224/42, H01L2224/50, H01L2224/63, H01L2224/71
    • H01L2224/732Location after the connecting process
    • H01L2224/73201Location after the connecting process on the same surface
    • H01L2224/73203Bump and layer connectors
    • H01L2224/73204Bump and layer connectors the bump connector being embedded into the layer connector
    • HELECTRICITY
    • H01ELECTRIC ELEMENTS
    • H01LSEMICONDUCTOR DEVICES NOT COVERED BY CLASS H10
    • H01L2224/00Indexing scheme for arrangements for connecting or disconnecting semiconductor or solid-state bodies and methods related thereto as covered by H01L24/00
    • H01L2224/73Means for bonding being of different types provided for in two or more of groups H01L2224/10, H01L2224/18, H01L2224/26, H01L2224/34, H01L2224/42, H01L2224/50, H01L2224/63, H01L2224/71
    • H01L2224/732Location after the connecting process
    • H01L2224/73251Location after the connecting process on different surfaces
    • H01L2224/73265Layer and wire connectors
    • HELECTRICITY
    • H01ELECTRIC ELEMENTS
    • H01LSEMICONDUCTOR DEVICES NOT COVERED BY CLASS H10
    • H01L2224/00Indexing scheme for arrangements for connecting or disconnecting semiconductor or solid-state bodies and methods related thereto as covered by H01L24/00
    • H01L2224/80Methods for connecting semiconductor or other solid state bodies using means for bonding being attached to, or being formed on, the surface to be connected
    • H01L2224/85Methods for connecting semiconductor or other solid state bodies using means for bonding being attached to, or being formed on, the surface to be connected using a wire connector
    • H01L2224/85009Pre-treatment of the connector or the bonding area
    • H01L2224/85051Forming additional members, e.g. for "wedge-on-ball", "ball-on-wedge", "ball-on-ball" connections
    • HELECTRICITY
    • H01ELECTRIC ELEMENTS
    • H01LSEMICONDUCTOR DEVICES NOT COVERED BY CLASS H10
    • H01L2224/00Indexing scheme for arrangements for connecting or disconnecting semiconductor or solid-state bodies and methods related thereto as covered by H01L24/00
    • H01L2224/80Methods for connecting semiconductor or other solid state bodies using means for bonding being attached to, or being formed on, the surface to be connected
    • H01L2224/85Methods for connecting semiconductor or other solid state bodies using means for bonding being attached to, or being formed on, the surface to be connected using a wire connector
    • H01L2224/8512Aligning
    • H01L2224/85148Aligning involving movement of a part of the bonding apparatus
    • H01L2224/85169Aligning involving movement of a part of the bonding apparatus being the upper part of the bonding apparatus, i.e. bonding head, e.g. capillary or wedge
    • H01L2224/8518Translational movements
    • H01L2224/85191Translational movements connecting first both on and outside the semiconductor or solid-state body, i.e. regular and reverse stitches
    • HELECTRICITY
    • H01ELECTRIC ELEMENTS
    • H01LSEMICONDUCTOR DEVICES NOT COVERED BY CLASS H10
    • H01L2224/00Indexing scheme for arrangements for connecting or disconnecting semiconductor or solid-state bodies and methods related thereto as covered by H01L24/00
    • H01L2224/80Methods for connecting semiconductor or other solid state bodies using means for bonding being attached to, or being formed on, the surface to be connected
    • H01L2224/85Methods for connecting semiconductor or other solid state bodies using means for bonding being attached to, or being formed on, the surface to be connected using a wire connector
    • H01L2224/8538Bonding interfaces outside the semiconductor or solid-state body
    • H01L2224/85399Material
    • HELECTRICITY
    • H01ELECTRIC ELEMENTS
    • H01LSEMICONDUCTOR DEVICES NOT COVERED BY CLASS H10
    • H01L2224/00Indexing scheme for arrangements for connecting or disconnecting semiconductor or solid-state bodies and methods related thereto as covered by H01L24/00
    • H01L2224/80Methods for connecting semiconductor or other solid state bodies using means for bonding being attached to, or being formed on, the surface to be connected
    • H01L2224/85Methods for connecting semiconductor or other solid state bodies using means for bonding being attached to, or being formed on, the surface to be connected using a wire connector
    • H01L2224/85986Specific sequence of steps, e.g. repetition of manufacturing steps, time sequence
    • HELECTRICITY
    • H01ELECTRIC ELEMENTS
    • H01LSEMICONDUCTOR DEVICES NOT COVERED BY CLASS H10
    • H01L2224/00Indexing scheme for arrangements for connecting or disconnecting semiconductor or solid-state bodies and methods related thereto as covered by H01L24/00
    • H01L2224/91Methods for connecting semiconductor or solid state bodies including different methods provided for in two or more of groups H01L2224/80 - H01L2224/90
    • H01L2224/92Specific sequence of method steps
    • H01L2224/922Connecting different surfaces of the semiconductor or solid-state body with connectors of different types
    • H01L2224/9222Sequential connecting processes
    • H01L2224/92242Sequential connecting processes the first connecting process involving a layer connector
    • H01L2224/92247Sequential connecting processes the first connecting process involving a layer connector the second connecting process involving a wire connector
    • HELECTRICITY
    • H01ELECTRIC ELEMENTS
    • H01LSEMICONDUCTOR DEVICES NOT COVERED BY CLASS H10
    • H01L2225/00Details relating to assemblies covered by the group H01L25/00 but not provided for in its subgroups
    • H01L2225/03All the devices being of a type provided for in the same main group of the same subclass of class H10, e.g. assemblies of rectifier diodes
    • H01L2225/04All the devices being of a type provided for in the same main group of the same subclass of class H10, e.g. assemblies of rectifier diodes the devices not having separate containers
    • H01L2225/065All the devices being of a type provided for in the same main group of the same subclass of class H10
    • H01L2225/06503Stacked arrangements of devices
    • H01L2225/0651Wire or wire-like electrical connections from device to substrate
    • HELECTRICITY
    • H01ELECTRIC ELEMENTS
    • H01LSEMICONDUCTOR DEVICES NOT COVERED BY CLASS H10
    • H01L2225/00Details relating to assemblies covered by the group H01L25/00 but not provided for in its subgroups
    • H01L2225/03All the devices being of a type provided for in the same main group of the same subclass of class H10, e.g. assemblies of rectifier diodes
    • H01L2225/04All the devices being of a type provided for in the same main group of the same subclass of class H10, e.g. assemblies of rectifier diodes the devices not having separate containers
    • H01L2225/065All the devices being of a type provided for in the same main group of the same subclass of class H10
    • H01L2225/06503Stacked arrangements of devices
    • H01L2225/06555Geometry of the stack, e.g. form of the devices, geometry to facilitate stacking
    • HELECTRICITY
    • H01ELECTRIC ELEMENTS
    • H01LSEMICONDUCTOR DEVICES NOT COVERED BY CLASS H10
    • H01L2225/00Details relating to assemblies covered by the group H01L25/00 but not provided for in its subgroups
    • H01L2225/03All the devices being of a type provided for in the same main group of the same subclass of class H10, e.g. assemblies of rectifier diodes
    • H01L2225/04All the devices being of a type provided for in the same main group of the same subclass of class H10, e.g. assemblies of rectifier diodes the devices not having separate containers
    • H01L2225/065All the devices being of a type provided for in the same main group of the same subclass of class H10
    • H01L2225/06503Stacked arrangements of devices
    • H01L2225/06555Geometry of the stack, e.g. form of the devices, geometry to facilitate stacking
    • H01L2225/06562Geometry of the stack, e.g. form of the devices, geometry to facilitate stacking at least one device in the stack being rotated or offset
    • HELECTRICITY
    • H01ELECTRIC ELEMENTS
    • H01LSEMICONDUCTOR DEVICES NOT COVERED BY CLASS H10
    • H01L2225/00Details relating to assemblies covered by the group H01L25/00 but not provided for in its subgroups
    • H01L2225/03All the devices being of a type provided for in the same main group of the same subclass of class H10, e.g. assemblies of rectifier diodes
    • H01L2225/04All the devices being of a type provided for in the same main group of the same subclass of class H10, e.g. assemblies of rectifier diodes the devices not having separate containers
    • H01L2225/065All the devices being of a type provided for in the same main group of the same subclass of class H10
    • H01L2225/06503Stacked arrangements of devices
    • H01L2225/06582Housing for the assembly, e.g. chip scale package [CSP]
    • HELECTRICITY
    • H01ELECTRIC ELEMENTS
    • H01LSEMICONDUCTOR DEVICES NOT COVERED BY CLASS H10
    • H01L24/00Arrangements for connecting or disconnecting semiconductor or solid-state bodies; Methods or apparatus related thereto
    • H01L24/01Means for bonding being attached to, or being formed on, the surface to be connected, e.g. chip-to-package, die-attach, "first-level" interconnects; Manufacturing methods related thereto
    • H01L24/42Wire connectors; Manufacturing methods related thereto
    • H01L24/47Structure, shape, material or disposition of the wire connectors after the connecting process
    • H01L24/48Structure, shape, material or disposition of the wire connectors after the connecting process of an individual wire connector
    • HELECTRICITY
    • H01ELECTRIC ELEMENTS
    • H01LSEMICONDUCTOR DEVICES NOT COVERED BY CLASS H10
    • H01L24/00Arrangements for connecting or disconnecting semiconductor or solid-state bodies; Methods or apparatus related thereto
    • H01L24/01Means for bonding being attached to, or being formed on, the surface to be connected, e.g. chip-to-package, die-attach, "first-level" interconnects; Manufacturing methods related thereto
    • H01L24/42Wire connectors; Manufacturing methods related thereto
    • H01L24/47Structure, shape, material or disposition of the wire connectors after the connecting process
    • H01L24/49Structure, shape, material or disposition of the wire connectors after the connecting process of a plurality of wire connectors
    • HELECTRICITY
    • H01ELECTRIC ELEMENTS
    • H01LSEMICONDUCTOR DEVICES NOT COVERED BY CLASS H10
    • H01L24/00Arrangements for connecting or disconnecting semiconductor or solid-state bodies; Methods or apparatus related thereto
    • H01L24/73Means for bonding being of different types provided for in two or more of groups H01L24/10, H01L24/18, H01L24/26, H01L24/34, H01L24/42, H01L24/50, H01L24/63, H01L24/71
    • HELECTRICITY
    • H01ELECTRIC ELEMENTS
    • H01LSEMICONDUCTOR DEVICES NOT COVERED BY CLASS H10
    • H01L2924/00Indexing scheme for arrangements or methods for connecting or disconnecting semiconductor or solid-state bodies as covered by H01L24/00
    • H01L2924/0001Technical content checked by a classifier
    • H01L2924/00014Technical content checked by a classifier the subject-matter covered by the group, the symbol of which is combined with the symbol of this group, being disclosed without further technical details
    • HELECTRICITY
    • H01ELECTRIC ELEMENTS
    • H01LSEMICONDUCTOR DEVICES NOT COVERED BY CLASS H10
    • H01L2924/00Indexing scheme for arrangements or methods for connecting or disconnecting semiconductor or solid-state bodies as covered by H01L24/00
    • H01L2924/01Chemical elements
    • H01L2924/01004Beryllium [Be]
    • HELECTRICITY
    • H01ELECTRIC ELEMENTS
    • H01LSEMICONDUCTOR DEVICES NOT COVERED BY CLASS H10
    • H01L2924/00Indexing scheme for arrangements or methods for connecting or disconnecting semiconductor or solid-state bodies as covered by H01L24/00
    • H01L2924/01Chemical elements
    • H01L2924/01005Boron [B]
    • HELECTRICITY
    • H01ELECTRIC ELEMENTS
    • H01LSEMICONDUCTOR DEVICES NOT COVERED BY CLASS H10
    • H01L2924/00Indexing scheme for arrangements or methods for connecting or disconnecting semiconductor or solid-state bodies as covered by H01L24/00
    • H01L2924/01Chemical elements
    • H01L2924/01006Carbon [C]
    • HELECTRICITY
    • H01ELECTRIC ELEMENTS
    • H01LSEMICONDUCTOR DEVICES NOT COVERED BY CLASS H10
    • H01L2924/00Indexing scheme for arrangements or methods for connecting or disconnecting semiconductor or solid-state bodies as covered by H01L24/00
    • H01L2924/01Chemical elements
    • H01L2924/01019Potassium [K]
    • HELECTRICITY
    • H01ELECTRIC ELEMENTS
    • H01LSEMICONDUCTOR DEVICES NOT COVERED BY CLASS H10
    • H01L2924/00Indexing scheme for arrangements or methods for connecting or disconnecting semiconductor or solid-state bodies as covered by H01L24/00
    • H01L2924/01Chemical elements
    • H01L2924/01023Vanadium [V]
    • HELECTRICITY
    • H01ELECTRIC ELEMENTS
    • H01LSEMICONDUCTOR DEVICES NOT COVERED BY CLASS H10
    • H01L2924/00Indexing scheme for arrangements or methods for connecting or disconnecting semiconductor or solid-state bodies as covered by H01L24/00
    • H01L2924/01Chemical elements
    • H01L2924/01027Cobalt [Co]
    • HELECTRICITY
    • H01ELECTRIC ELEMENTS
    • H01LSEMICONDUCTOR DEVICES NOT COVERED BY CLASS H10
    • H01L2924/00Indexing scheme for arrangements or methods for connecting or disconnecting semiconductor or solid-state bodies as covered by H01L24/00
    • H01L2924/01Chemical elements
    • H01L2924/01033Arsenic [As]
    • HELECTRICITY
    • H01ELECTRIC ELEMENTS
    • H01LSEMICONDUCTOR DEVICES NOT COVERED BY CLASS H10
    • H01L2924/00Indexing scheme for arrangements or methods for connecting or disconnecting semiconductor or solid-state bodies as covered by H01L24/00
    • H01L2924/01Chemical elements
    • H01L2924/01051Antimony [Sb]
    • HELECTRICITY
    • H01ELECTRIC ELEMENTS
    • H01LSEMICONDUCTOR DEVICES NOT COVERED BY CLASS H10
    • H01L2924/00Indexing scheme for arrangements or methods for connecting or disconnecting semiconductor or solid-state bodies as covered by H01L24/00
    • H01L2924/01Chemical elements
    • H01L2924/01057Lanthanum [La]
    • HELECTRICITY
    • H01ELECTRIC ELEMENTS
    • H01LSEMICONDUCTOR DEVICES NOT COVERED BY CLASS H10
    • H01L2924/00Indexing scheme for arrangements or methods for connecting or disconnecting semiconductor or solid-state bodies as covered by H01L24/00
    • H01L2924/01Chemical elements
    • H01L2924/01068Erbium [Er]
    • HELECTRICITY
    • H01ELECTRIC ELEMENTS
    • H01LSEMICONDUCTOR DEVICES NOT COVERED BY CLASS H10
    • H01L2924/00Indexing scheme for arrangements or methods for connecting or disconnecting semiconductor or solid-state bodies as covered by H01L24/00
    • H01L2924/01Chemical elements
    • H01L2924/01074Tungsten [W]
    • HELECTRICITY
    • H01ELECTRIC ELEMENTS
    • H01LSEMICONDUCTOR DEVICES NOT COVERED BY CLASS H10
    • H01L2924/00Indexing scheme for arrangements or methods for connecting or disconnecting semiconductor or solid-state bodies as covered by H01L24/00
    • H01L2924/01Chemical elements
    • H01L2924/01078Platinum [Pt]
    • HELECTRICITY
    • H01ELECTRIC ELEMENTS
    • H01LSEMICONDUCTOR DEVICES NOT COVERED BY CLASS H10
    • H01L2924/00Indexing scheme for arrangements or methods for connecting or disconnecting semiconductor or solid-state bodies as covered by H01L24/00
    • H01L2924/01Chemical elements
    • H01L2924/01082Lead [Pb]
    • HELECTRICITY
    • H01ELECTRIC ELEMENTS
    • H01LSEMICONDUCTOR DEVICES NOT COVERED BY CLASS H10
    • H01L2924/00Indexing scheme for arrangements or methods for connecting or disconnecting semiconductor or solid-state bodies as covered by H01L24/00
    • H01L2924/013Alloys
    • H01L2924/014Solder alloys
    • HELECTRICITY
    • H01ELECTRIC ELEMENTS
    • H01LSEMICONDUCTOR DEVICES NOT COVERED BY CLASS H10
    • H01L2924/00Indexing scheme for arrangements or methods for connecting or disconnecting semiconductor or solid-state bodies as covered by H01L24/00
    • H01L2924/10Details of semiconductor or other solid state devices to be connected
    • H01L2924/1015Shape
    • H01L2924/10155Shape being other than a cuboid
    • HELECTRICITY
    • H01ELECTRIC ELEMENTS
    • H01LSEMICONDUCTOR DEVICES NOT COVERED BY CLASS H10
    • H01L2924/00Indexing scheme for arrangements or methods for connecting or disconnecting semiconductor or solid-state bodies as covered by H01L24/00
    • H01L2924/10Details of semiconductor or other solid state devices to be connected
    • H01L2924/1015Shape
    • H01L2924/10155Shape being other than a cuboid
    • H01L2924/10156Shape being other than a cuboid at the periphery
    • HELECTRICITY
    • H01ELECTRIC ELEMENTS
    • H01LSEMICONDUCTOR DEVICES NOT COVERED BY CLASS H10
    • H01L2924/00Indexing scheme for arrangements or methods for connecting or disconnecting semiconductor or solid-state bodies as covered by H01L24/00
    • H01L2924/10Details of semiconductor or other solid state devices to be connected
    • H01L2924/1015Shape
    • H01L2924/10155Shape being other than a cuboid
    • H01L2924/10158Shape being other than a cuboid at the passive surface
    • HELECTRICITY
    • H01ELECTRIC ELEMENTS
    • H01LSEMICONDUCTOR DEVICES NOT COVERED BY CLASS H10
    • H01L2924/00Indexing scheme for arrangements or methods for connecting or disconnecting semiconductor or solid-state bodies as covered by H01L24/00
    • H01L2924/10Details of semiconductor or other solid state devices to be connected
    • H01L2924/11Device type
    • H01L2924/12Passive devices, e.g. 2 terminal devices
    • H01L2924/1204Optical Diode
    • H01L2924/12042LASER
    • HELECTRICITY
    • H01ELECTRIC ELEMENTS
    • H01LSEMICONDUCTOR DEVICES NOT COVERED BY CLASS H10
    • H01L2924/00Indexing scheme for arrangements or methods for connecting or disconnecting semiconductor or solid-state bodies as covered by H01L24/00
    • H01L2924/10Details of semiconductor or other solid state devices to be connected
    • H01L2924/11Device type
    • H01L2924/14Integrated circuits
    • HELECTRICITY
    • H01ELECTRIC ELEMENTS
    • H01LSEMICONDUCTOR DEVICES NOT COVERED BY CLASS H10
    • H01L2924/00Indexing scheme for arrangements or methods for connecting or disconnecting semiconductor or solid-state bodies as covered by H01L24/00
    • H01L2924/15Details of package parts other than the semiconductor or other solid state devices to be connected
    • H01L2924/151Die mounting substrate
    • H01L2924/153Connection portion
    • H01L2924/1531Connection portion the connection portion being formed only on the surface of the substrate opposite to the die mounting surface
    • H01L2924/15311Connection portion the connection portion being formed only on the surface of the substrate opposite to the die mounting surface being a ball array, e.g. BGA
    • HELECTRICITY
    • H01ELECTRIC ELEMENTS
    • H01LSEMICONDUCTOR DEVICES NOT COVERED BY CLASS H10
    • H01L2924/00Indexing scheme for arrangements or methods for connecting or disconnecting semiconductor or solid-state bodies as covered by H01L24/00
    • H01L2924/15Details of package parts other than the semiconductor or other solid state devices to be connected
    • H01L2924/151Die mounting substrate
    • H01L2924/156Material
    • H01L2924/15786Material with a principal constituent of the material being a non metallic, non metalloid inorganic material
    • H01L2924/15787Ceramics, e.g. crystalline carbides, nitrides or oxides
    • HELECTRICITY
    • H01ELECTRIC ELEMENTS
    • H01LSEMICONDUCTOR DEVICES NOT COVERED BY CLASS H10
    • H01L2924/00Indexing scheme for arrangements or methods for connecting or disconnecting semiconductor or solid-state bodies as covered by H01L24/00
    • H01L2924/15Details of package parts other than the semiconductor or other solid state devices to be connected
    • H01L2924/181Encapsulation
    • HELECTRICITY
    • H01ELECTRIC ELEMENTS
    • H01LSEMICONDUCTOR DEVICES NOT COVERED BY CLASS H10
    • H01L2924/00Indexing scheme for arrangements or methods for connecting or disconnecting semiconductor or solid-state bodies as covered by H01L24/00
    • H01L2924/15Details of package parts other than the semiconductor or other solid state devices to be connected
    • H01L2924/181Encapsulation
    • H01L2924/1815Shape
    • HELECTRICITY
    • H01ELECTRIC ELEMENTS
    • H01LSEMICONDUCTOR DEVICES NOT COVERED BY CLASS H10
    • H01L2924/00Indexing scheme for arrangements or methods for connecting or disconnecting semiconductor or solid-state bodies as covered by H01L24/00
    • H01L2924/19Details of hybrid assemblies other than the semiconductor or other solid state devices to be connected
    • H01L2924/1901Structure
    • H01L2924/1904Component type
    • H01L2924/19041Component type being a capacitor

Landscapes

  • Engineering & Computer Science (AREA)
  • Microelectronics & Electronic Packaging (AREA)
  • Power Engineering (AREA)
  • Computer Hardware Design (AREA)
  • Physics & Mathematics (AREA)
  • General Physics & Mathematics (AREA)
  • Condensed Matter Physics & Semiconductors (AREA)
  • Life Sciences & Earth Sciences (AREA)
  • Mechanical Engineering (AREA)
  • Forests & Forestry (AREA)
  • Manufacturing & Machinery (AREA)
  • Chemical & Material Sciences (AREA)
  • Polymers & Plastics (AREA)
  • Food Science & Technology (AREA)
  • Structures Or Materials For Encapsulating Or Coating Semiconductor Devices Or Solid State Devices (AREA)
  • Wire Bonding (AREA)
  • Dicing (AREA)
  • Die Bonding (AREA)

Abstract

【課題】 段差型ダイを有する半導体パッケージを提供する。
【解決手段】 半導体ダイは、最大幅W、最大長さL及び第1凹部Rを有し、Wにおいて第1凹部深さDrla減少されて第1短軸幅Wlaが形成され、Lにおいて第1凹部長さLrla減少されて第1短軸長さLlaが形成される。
【選択図】 図5A

Description

本発明は、半導体集積回路チップと、それを用いたパッケージング組立に関し、さらに詳細には変形された矩形の外周面を有する集積回路チップまたはダイ及びそれを一つ以上用いて具現された関連チップまたはマルチチップパッケージに関する。
一般に、半導体パッケージの製造工程には、半導体ウエハ加工、パッケージ組立及びテスト等の三つに大別することができる。ウエハ加工工程は、熱処理、イオン注入、蒸着、平坦化、フォトリソグラフィ及びエッチングなどのようなベア半導体ウエハや基板の中または表面に複数の集積回路素子を作る上必要なあらゆる工程を含む。
当該工程が完了すると、パラメータ及び/または機能テストを行った後ウエハダイシング工程に移行する。この工程の間、半導体ウエハの背面が練磨され厚さが減少し、切断線に沿って個別集積回路チップに分離される。このため、ウエハダイシング工程のことを、例えば、ウエハソーイングまたはウエハスクライビング工程ともいう。
一旦ウエハから個別集積回路チップが分離されると、それぞれの個別集積回路チップをリードフレームの等の基板に取り付けるといったパッケージ組立工程を行うが、基板は、集積回路チップ、回路基板、またはソケットと連結するための外部連結構造を含む。直接回路チップ、基板の一部、及びチップと基板との間の電気的連結部を封止する封止部を形成し、パッケージの抵抗性を増加させることによって、外部による機械的損傷や汚染から保護する。パッケージは、一つ以上の集積回路チップを有するが、マルチチップパッケージの場合、実質的に同じチップを含むか或いは多様な機能や大きさを有するチップを含むことができる。例えば、マルチチップパッケージは、一つのパッケージ内にマイクロプロセッサー集積回路チップとそれと連結されているメモリチップの両方を含んで構成される。
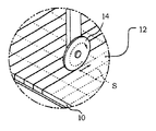
現在、半導体チップの大部分は、図1に示すように、矩形を有するが、これは、従来のウエハダイシング方法に由来する。従来の一般的なウエハダイシング装置は、ダイシングブレード(dicing blade)14を用いてウエハ10上に形成された複数の半導体チップ12間の切断線Sに沿って移動する。ダイシングブレード14の切断長さが集積回路チップ12の表面長さと略同じであることから、従来のダイシング装置では、単純で一定した矩形にしか切断できず、例えば、三角や平行四辺形の形態がなかった。
また、従来のダイシングブレード使用による収率及び/または信頼性を減少させる原因となるチッピング(chipping)といった問題点を解決するために、レーザスクライブを用いたダイシング方法が米国特許出願第10/805、212号に開示されている。さらに、東京精密株式会社のレーザスクライビング装置であるマホウダイシング装置(Mahoh dicing machine)は、従来のソーイングによるウエハ表面の損傷を減す非接触方法を用いて半導体ウエハをダイシングする。半導体ウエハ表面にレーザダイのレーザビームを照射して多様な形態の集積回路チップを切断する。これにより、従来のソーイング方法における研磨材によるウエハの一部を除去する際発生するチッピング等の損傷を減らすことができる。
集積回路チップの矩形は、具現される半導体パッケージの形態も限定しているためパッケージもやはり矩形が圧倒的に多い。このために、複数のパッケージが回路基板と同じ基板に実装されるとき、パッケージの実装密度が減少するとともに集積回路チップの実装に必要な基板の大きさが増大する。
また、集積回路チップの矩形は、マルチチップパッケージの小型・薄型形状にすることが困難である。例えば、二つの集積回路チップが積層されると、上部チップの大きさが下部チップのボンドパッドを覆う程度であれば、集積回路チップ間にスペーサが介在され下部チップのボンドパッドに接近可能な空間を作らなければならない。しかし、図3Aに示すように、スペーサの介在により積層チップの厚さがS2にまで増大してしまう。
上下部チップ間の干渉を解決するための方法の一つとして、図3Bに示すように、上部チップの下部面端部を除去して下部チップのボンドパッドにワイヤボンディングできる大きさの五目型開放部を形成する方法がある。しかし、この方法は、上部チップの一部が薄形化されてしまうことから、ワイヤボンディングの際弱くなった箇所が折れたりクラックが発生したりする恐れがある。
下部チップのボンドパッドを覆う方法の一つとして、下部チップを基準にして上部チップを回転させて対角方向に実装し、下部チップにワイヤボンディング領域を露出する方法がある。この方法は、チップの一部が機械的損傷の危険に晒されないものの下部チップのボンドパッドに接近性を向上させるために、大きさ及び方向の異なるチップを用いなければならないという制限があり、さらにオフセット配列のために装置及び/または制御装置を使用しなければならない問題点があった。
本発明の目的は、一つ以上の凹部を有しながら外周面が矩形以外の多様な形態の集積回路チップを提供し、それに具現されるチップ及びマルチチップパッケージを提供することにある。
上記目的を達成するために、本発明は、最大幅Wと最大長さLを含む変形された矩形の外周を有する半導体ダイを提供する。一面に沿って角まで凹部が形成されており、元来の幅から第1凹部深さDr1aに減少されて第1部方幅Wlaを形成し、元来の長さLから第1凹部長さLr1aに減少されて第1部方長さL1aが形成される。本発明による集積回路チップにおいて凹部の数、大きさ及び位置によって部分端部と大きさが形成される。また、凹部は、矩形の基本構造に対して非対称に配列されたり、垂直(中心縦軸)、水平(中心水平軸)、または対角線軸を基準として対称に配列され得る。
本発明に係る上記のような外周面を有する集積回路チップの製造方法は、凹部を有する複数個のダイを半導体ウエハに形成した後そのウエハから個別ダイを分離する段階を含む。個別ダイに分離する段階は、ダイの外周面をレーザスクライビングしてウエハに脆弱な部分を形成した後、その脆弱部分に沿って隣接したダイから個別ダイを分離する段階を含む。さらに他の実施例において、個別ダイに分離する段階は、ダイの外周面端で凹部近方に位置するウエハの上部を取り除いてウエハの活性面に開口部を形成する段階と、活性面の反対の背面を一部除去して上下部の厚さがウエハの元来の厚さと少なくとも同じくする段階、及びダイ間の切断線に沿ってウエハの残り部分を除去する段階を含む。
本発明に係る凹部を有するダイは、半導体ウエハに多様な構造で配列され得る。
例えば、少なくとも二つのダイの凹部が相互補完的であるか、または外周面に沿って実質的に一定距離を置いて配置され得る。或いは少なくとも二つのダイの凹部が相互補完的でないことも、またダイの外周面の隣接部分に沿って互いに異なる地点から実質的に互に異なる距離へと離隔され得る。
集積回路チップに形成された変形された外周面形態だけではなく、ボンドパッドの構造も変形できるので、実施例に示す通り、凹部と近い外周面にボンドパッドを形成させないこともできる。また、ボンドパッドは、外周面に沿って実質的に垂直一列に配列され得る。
本発明は、前述した凹部を有する集積回路チップを備えるマルチチップパッケージを提供する。すなわち、パッケージは、接触部を備える基板と、外周面に凹部が形成された第1半導体ダイとを備えて、接触部が凹部を介して露出するように第1半導体ダイが基板に実装される。他の実施形態によるパッケージにおいて、下部半導体ダイは、基板として役割を果たし、少なくとも一つのボンドパッドを持つ接触部及び第1半導体ダイの活性面に形成された複数のボンドパッドを備える。さらに他の実施形態によるパッケージにおいて、接触面を有する基板、及び外周面に凹部が形成された第1半導体ダイを備えて、接触部が凹部を介して露出するように第1半導体ダイが基板に実装される。
本発明は、また前述したパッケージを製造する方法を提供する。すなわち、基板を準備する段階と、基板に複数の第1ボンドパッドを備えた第1半導体ダイを実装する段階と、外周面に第1凹部が形成された第2半導体ダイを形成する段階と、複数の第1ボンドパッドが第1凹部を介して露出するように第1半導体ダイ上に第2半導体ダイを実装する段階とを含む。パッケージ製造方法は、外周面に第2凹部が形成された第3半導体素子を形成する段階と、第2半導体素子の活性面に形成された複数の第2ボンドパッドが第2凹部を介して露出するように第2半導体ダイ上に第3半導体ダイを実装する段階をさらに含むことができる。パッケージ製造方法は、第1ボンドパッド及び第2ボンドパッドと基板とを電気的に接続する段階及び/または第3半導体ダイの活性面に形成された複数の第3ボンドパッドと基板とを電気的に接続する段階をさらに含むことができる。
本発明の実施形態に係るパッケージ製造方法は、第1半導体ダイ、第2半導体ダイ及び第3半導体ダイを実質的に同じ構造で用意する段階と、第2半導体ダイを第1半導体ダイ及び第3半導体ダイに対して約180°回転させるダイ組立段階とを含む。パッケージ製造方法は、実質的に同じ構造の第1半導体ダイ、第2半導体ダイ及び第3半導体ダイを用意する段階と、第2半導体ダイを第1半導体ダイ及び第3半導体ダイに対して約90°回転させるダイ組立段階とを含む。
本発明の実施形態に係るパッケージ構造において、外周面に凹部を有し基板に実装される第1半導体ダイと、第1半導体ダイに対して水平に実装される第2半導体ダイとを備えて、第2半導体ダイは、凹部内に位置する。本発明の実施形態に係る集積回路チップ構造において、第2半導体ダイは、凹部内に実質的に位置するかまたは凹部内に完全に位置することを特徴とする。
本発明は、多様な外周面とボンドパッド構造を有する集積回路チップを用いることによって表面領域を低減できるとともに基板又は回路基板に対する実装密度を向上させることができる。
以下、本発明の実施形態について添付図面を参照しながらさらに詳細に説明する。
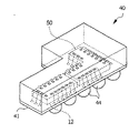
図4は、本発明の実施形態におけるマルチチップパッケージ40を示す図で、従来の矩形の第1集積回路チップ12と本発明において変形された外側部を有する第2集積回路チップ50とが基板41に実装される構造を有する。基板41は、集積回路チップと回路基板及びソケットとその他フィクスチャーとを繋ぐためにソルダボール44のような外部接続構造を有する。
図5に示すように、本発明における集積回路チップは、端部に一つ以上の凹部R1...Rnが形成され従来の集積回路チップとは相違する。凹部は外周面と平行に形成された端部RD1、RL1を有する。少なくとも一つの凹部は少なくとも一つの端部に形成され、隣接した凹部同士に交差してL字に具現され得る。集積回路チップ、凹部の配置及び方向は、対角線軸D1、D2と平行線軸V、Hを基準にしてなっており、一つ以上の軸を基準にして対称に配置される。
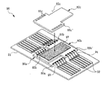
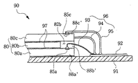
図6及び図7に示すように、マルチチップ積層パッケージ90は、チップ実装領域周囲で複数のリードまたは伝導性パターンが形成される基板91を備える。複数の集積回路チップ80a、80b、80cは、基板のチップ実装領域に順次に積層される。各々の集積回路チップには一端の両側に一対の凹部82a、82b、82cが形成されている。集積回路チップの他端の両側は元来の幅を維持しながら複数のボンドパッド88a、88b、88cが形成されており、集積回路チップとリード92は、ボンディングワイヤ93、94、95と連結する。集積回路チップ80a、80b、80cは、接着層97を用いて基板に取り付けられるが、このとき、上部に取り付けられる集積回路チップ80b、80cを下部チップに対して180°回転させて実装することができる。このような方法で、上部チップの凹部及び下部チップの周辺領域が連続して配列されると、集積回路チップの厚さよりも大きい開口部が形成され、ボンディングワイヤ93を下部チップのボンドパッド85aに取り付けることができる。
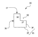
図8に示すように、互いに直交する側面36、37を有する集積回路チップ30に一つの凹部32を形成すると、凹部端部36’’、37’’の長さに減少された少なくとも二つの外周面36’、37’が生まれる。凹部の大きさ及び配置に応じて集積回路チップ30の形態が変わるが、凹部が角を取り囲む場合、集積回路チップ30はL字に具現され、図8に、図示していないが、凹部が集積回路チップの一面に形成される場合、C字に具現される。
一つ以上の凹部が形成される場合、図9(a)〜(k)に示すように、集積回路チップに多様な外周面が具現されている。図5に示すように、凹部の大きさ及び配置に応じて集積回路チップの外周面は、一つ以上の対角線軸及び/または平行線軸を基準にして対称をなす。例えば、(a)の外周面は、軸(V)を基準にして対称状で、(b)の外周面は、二本の軸(V、H)を基準にして対称状で、(e)の外周面は、四本の軸(D1、D2、V、H)を基準にして対称をなす。
図10に示すように、段差を有する複数の集積回路チップら30が半導体ウエハに反復パターンで配列される。すなわち、集積回路チップは、同一方向に配列された後、切断線26a、26b、26cに沿ってスクライビング、特にレーザースクライビングにより分離される。切断された部位31は除去され集積回路チップ30に凹部が形成されることになる。切断された部位31は、個別半導体素子に含まれず、一般にこの部分はスクラップと呼ばれる。
図11に示すように、凹部を有する集積回路チップが二以上集まって矩形の一つのユニット30aをなす。このような配置は、半導体ウエハ表面に反復的に行われることができ、切断線80a、80b、80cに沿って個別集積回路チップに分離するとスクラップを減少させることができることから素子当たり必要とする製造費用をも低減できる。
図12は、本発明の実施形態におけるマルチチップパッケージ70を示す図で、従来の矩形第1集積回路チップ12と本発明の外周面を有する第2集積回路チップ50とが基板71に水平に実装される構造である。基板71は、集積回路チップと回路基板及びソケットとフィクスチャーを繋ぐためにソルダボール74のような外部連結構造を含む。
図13は、本発明の実施形態におけるシングルチップパッケージ60を示す図で、変形された外周面を有する一つの集積回路チップ50を備える構造である。集積回路チップ50は、基板61に実装され、基板61は、集積回路チップと回路基板及びソケットとフィクスチャーを繋ぐソルダボール64のような外部接続構造を有する。図12及び図13に示すように、具現された半導体素子パッケージもやはりチップの構造に対応する外周面を有するので外周面が矩形ではない。
図14に示すように、本発明は、集積回路チップに凹部を形成して外周面を変形させるだけではなく、隣接した集積回路チップの配置及び連結手段を考慮してボンドパッドの配列を変えることができる。図14に示すように、マルチチップパッケージ70は、矩形集積回路チップ12と変形集積回路チップ50とが水平に実装される構造を有する。しかし、集積回路チップ12、50及び基板71のボンドパッド72、72a、75、75aが端部及び/または縦軸に沿って一律的に配列されるのではなく、従来と異なって若干非対称的に配列されている。特に、集積回路チップ50には凹部の端部52に沿ってボンドパッドが形成されておらず、矩形集積回路チップ12には集積回路チップ50の凹部で作られた空間に基板71の外側と隣接していない端部の一部に内部ボンドパッド75aが形成されている。集積回路チップのボンドパッド及び基板のボンドパッドは、ボンディングワイヤ73、73aと連結される。
図15A及び図15Bに示すように、本発明のさらに他の実施形態におけるマルチチップパッケージ70bで、凹部の端部52に沿って集積回路チップのボンドパッドが形成されない構造を有する。
図15Bは、図15Aの15b’―15b’線に沿って切断された断面図で、集積回路チップ12が、基板にフリップチップボンディングされ集積回路チップの活性面に形成されているボンドパッド及び基板のボンドパッドが半田ボールや半田バンプのような伝導性構造により直接連結された構造を有する。従って、ボンディングワイヤ73を用いる必要がない。
図16は、本発明のさらに他の実施形態に関し、マルチチップパッケージ炉及び集積回路チップ12a、12b、12c、50が基板71にフリップチップボンディングされている構造を示す。これにより、ボンディングワイヤが不要となり、基板に対する集積回路チップの実装密度が向上し、かつ取り付けが簡単に行える。また、形態の異なる集積回路チップを基板表面に完全な形態で配置できるため、実装密度を高めることができる。
図17は、本発明のさらに他の実施形態に関し、マルチチップパッケージ炉及び集積回路チップ12、50a、50bの凹部の端部52a、52b間で形成された内部空間に集積回路チップ12が配置されている構造を示す。各々の集積回路チップは、基板にフリップチップボンディングされるのでワイヤボンディングが不要で、これにより基板に対する集積回路チップの実装密度が向上し、かつ取り付けが簡単に行える。
図18に示すように、本発明の実施形態における集積回路チップ50は、チップ最端部57、56、角部51、及びボンドパッド54、54aが一定に配列された凹部端部54aを含む構造である。図19は、集積回路チップ50のさらに他の実施形態を示すもので、ボンドパッドがチップ端部のみに形成されており凹部端部54aには形成されていない。例えば、図17のマルチチップ構造のように、凹部間に形成された空間により他の集積回路チップを配置させることができ、そうした構造に有用である。
図20A及び図20Bは、ボンドパッドが形成された周辺領域88’と凹部領域88’’とを含む外周面88を有する集積回路チップ80が複数配置された構造を示している。図20Bに示すように、基板上での集積回路チップの方向を変えることにより開放領域やスクラップを減少させながら実装密度を高めることができる。しかし、集積回路チップで具現され得ない半導体ウエハ部分はそのまま置いたほうが良い。つまり、当該部分は、新しい製造過程や生産ラインまたは新しい装置を用いる際パラメータ及び機能テストを行うテストプラグ構造を作るのに必要だからである。このようなテスト構造により、キャパシタ、レジスタ、トランジスタ及び配置構造等が分析できることから、重要な機能的構成の品質や効果的な大きさを理解することができる。
図21は、図20A及び図20Bの集積回路チップから分離段階を経て得られた個別集積回路チップ80を示す図である。図20A及び図20Bに示すように、集積回路チップ80の第1段の両側に二つの凹部領域82が形成されており、第2段の両側に表面86を有する周辺領域88が形成されている。周辺領域88及び凹部領域82は、素子が適切に機能するための必要なメモリ、論理及び/または入出力回路を含む内部機能領域、すなわちセル領域83を取り囲む形状である。チップの周辺領域は、隅部84、81となる左右側上端領域89、87を含む。
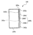
図22に示すように、本発明のさらに他の実施形態の集積回路チップ180aによると、ボンドパッド185aが形成された周辺領域188a’及び周辺領域と一緒にチップの一側面188aを形成する凹部領域188a’’を含む一つの凹部182aを有する。図23に示すように、本発明の実施形態によるマルチチップパッケージ190は、図22の第1集積回路チップ180a上に第2集積回路チップ180bが積層されている構造を有する。第2集積回路チップ180bは第1集積回路チップと反対方向の周辺領域188b’及び凹部端部188b’’を含む。すなわち、第1チップ180a上に第2チップ180bが積層されるとき、またはその反対の場合、上部チップの凹部領域が下部チップのボンドパッド185bを露出させることによって、チップと基板との連結の際一列に形成されたボンドパッド185a、185bを提供する。
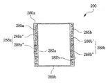
図24に示すように、本発明のさらに他の実施形態における集積回路チップ280aは、チップ両側に形成された二つの凹部282a、288aを有し、一方の凹部288aは、ボンドパッドが形成された周辺領域288a’と凹部領域299a’’とを含む。図25に示すように、本発明の実施形態におけるマルチチップパッケージ290は、図24の第1集積回路チップ280a上に第2集積回路チップ280bが積層された構造を有する。第2集積回路チップ280bは、第1集積回路チップ280aと反対方向の周辺領域288b’と凹部領域288b’’とを含む。すなわち、第1チップ280a上に第2チップ280bが積層される時、またはその反対の場合、上部チップの凹部領域が下部チップのボンドパッド286bを露出させる。これにより、チップと基板との連結際両列に形成されたボンドパッド285a、285bを提供する。
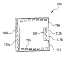
図26に示すように、本発明のさらに他の実施形態における集積回路チップ290は、チップ対角線角に形成された一対の凹部382a、388aを有し、一方の凹部388aは、ボンドパッドが形成された周辺領域388a’と凹部領域388a’’とを含む。図27に示すように、本発明の実施形態によるマルチチップパッケージ390は、図26の第1集積回路チップ290上に第2集積回路チップ290を90°回転させて積層した構造を有する。図27に示すように、第2チップは、第1チップと反対方向の周辺領域388b’と凹部領域388b’’とを含む。これにより、第1チップ上に第2チップが積層される場合またはその反対の場合、上部チップの凹部領域が下部チップのボンドパッド385bを露出することによって、チップと基板との連結際端部に沿って形成されるボンドパッド385a、385bを提供する。
図28に示すように、本発明のもう一つの実施形態における集積回路チップ480aは、チップ端部の中間に形成された凹部482aを有し、一つの凹部488a’’は、ボンドパッド485aが形成された周辺領域488a’と隣接周辺領域間に形成された凹部領域488a’’とを含む。図29に示すように、本発明の実施形態によるマルチチップパッケージ490は、図28の第1集積回路チップ480aと、上記第1集積回路チップ480aと相互補完的形態の凹部488aを含む第2集積回路チップ480bが積層される構造を有する。すなわち、第1チップ上に第2チップが積層されると、上部チップの凹部領域が下部チップのボンドパッド485bを露出することになる。これにより、チップと基板との連結際端部に沿って形成されたボンドパッド485a、485bを提供する。
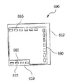
図30乃至図32に示すように、大きさと形態の異なる多様な外周面を有する集積回路チップを用いてチップスタック構造590、690、790を具現することにより、下部チップのボンドパッドを、上部チップの大きさと位置に応じて露出することができ、かつ上部チップの凹部に対応して配置することができる。よって、下部チップのボンドパッドがスペーサを追加したり背面をエッチングしたりするなどの追加工程を加えず露出することができる。
本発明の実施形態による集積回路チップは、論理及び/またはメモリ回路が形成されたセル領域、及び入出力回路及び/または入出力パッドが形成された一つ以上の周辺領域を含む構造を有する。集積回路チップのセル領域及び/または周辺領域に隣接した凹部が形成される。本発明の実施形態による集積回路チップ及びチップスタック構造は、ワイヤボンディング及び/またはフリップチップボンディングのような連結方法を用いて一つ以上の基板に連結できる。そして、エポキシモルディング化合物のような樹脂密封材で密封し、集積回路チップ、ワイヤボンディング及びインナーリードの汚染、副食または機械的損傷から保護することができる。
本明細書に開示された連結方法である、ワイヤボンディング、フリップチップボンディング及び/またはTAB方法だけでなく、多様な方法が使用可能であり、基板として、リードフレーム、印刷回路基板、フレキシブル回路基板またはセラミック基板以外にも多様な基板が使用可能である。
以上、本発明の実施例によって多様な外周面とボンドパッド構造を有する集積回路チップは、基板及び/またはパッケージと一緒に用いることができる。また、多様な要素等と適合できるので捨てられる表面領域が低減し、基板または第2回路基板に対する実装密度を向上させることができる。マルチチップパッケージに対する素子水準、またはパッケージが実装されるマザーボードやモジュールボードのような上位水準において実装密度を向上させることができる。さらに、基板水準においてパッケージの実装密度を向上させることによって基板の大きさを小さくすることができる。
なお、本明細書と図面に開示された本発明の実施形態は理解を助けるための特定例を提示したに過ぎず、本発明の範囲を限定するものではない。ここに開示された実施形態の他にも本発明の技術的思想に基づき他の変形例が実施可能であることは本発明が属する技術分野における通常の知識を有する者に自明である
従来技術のウエハダイシング方法を示す斜視図である。 レーザウエハダイシング方法を示す図である。 従来技術の積層チップパッケージの実施形態を示す図である。 従来技術の積層チップパッケージの実施形態を示す図である。 本発明の実施形態を示す図である。 代表的な大きさと軸を有する本発明の実施形態を示す図である。 代表的な大きさと軸を有する本発明の実施形態を示す図である。 本発明の実施形態におけるマルチチップパッケージの組立を示す図である。 図6のマルチチップパッケージの部分断面図である。 本発明の集積回路チップを示す平面図である。 本発明の集積回路チップの具現可能な多様な外周面形態(a)〜(k)を示す図である。 半導体ウエハ上に図8の複数の集積回路チップが配置されている配置方向を示す図である。 半導体ウエハ上に図8の複数の集積回路チップが配置されている配置方向を示す図である。 本発明の実施形態を示す斜視図である。 本発明の実施形態を示す斜視図である。 本発明の実施形態におけるマルチチップパッケージを示す平面図である。 本発明の実施形態におけるマルチチップパッケージを示す平面図である。 本発明の実施形態におけるマルチチップパッケージを示す断面図である。 本発明のさらに他の実施形態におけるマルチチップパッケージを示す平面図である。 本発明のさらに他の実施形態におけるマルチチップパッケージを示す平面図である。 本発明のさらに他の実施形態における集積回路チップを示す平面図である。 本発明のさらに他の実施形態における集積回路チップを示す平面図である。 本発明の半導体ウエハに形成される集積回路チップの配列を示す平面図である。 本発明の半導体ウエハに形成される集積回路チップの配列を示す平面図である。 本発明の半導体ウエハに形成される集積回路チップの配列を示す平面図である。 本発明の実施形態における集積回路チップを示す平面図である。 本発明の実施形態におけるチップ積層の集積回路チップの配列を示す平面図である。 本発明の実施形態における集積回路チップを示す平面図である。 本発明の実施形態におけるチップ積層の集積回路チップの配列を示す平面図である。 本発明の実施形態における集積回路チップを示す平面図である。 本発明の実施形態における集積回路チップから具現されるマルチチップ積層パッケージを示す平面図である。 本発明の実施形態における集積回路チップを示す平面図である。 本発明の実施形態における集積回路チップから具現されたマルチチップ積層パッケージを示す平面図である。 本発明の実施形態におけるマルチチップ積層パッケージを示す平面図である。 本発明の実施形態におけるマルチチップ積層パッケージを示す平面図である。 本発明の実施形態におけるマルチチップ積層パッケージを示す平面図である。
符号の説明
40 マルチチップパッケージ
41 基板
82a,82b,82c 凹部
182a 凹部
282a,288a 凹部
382a,388a 凹部
482a,488a 凹部

Claims (34)

  1. 変形された矩形の外周を有する半導体ダイにおいて、
    最大幅Wと、
    最大長さLと、
    第1凹部
    とを有し、
    前記Wにおいて第1凹部深さDrla減少されて第1短軸幅Wlaが形成され、前記Lにおいて第1凹部長さLrla減少されて第1短軸長さLlaが形成されることを特徴とする半導体ダイ。
  2. 第2凹部をさらに有し、
    前記Wにおいて第2凹部深さDRr2a減少されて第2幅W2aが形成され、前記Lにおいて第2凹部長さLr2a減少されて第2長さL2aが形成されることを特徴とする請求項1に記載の半導体ダイ。
  3. 偶数個Nの凹部をさらに有し、
    前記WにおいてN番目凹部深さDrNaに減少されて第N幅WNaが形成され、前記LがN番目凹部長さLrNaに減少されて第N長さLNaが形成されることを特徴とする請求項2に記載の半導体ダイ。
  4. 前記N個の凹部は、中心縦軸を基準にして対称に配列することを特徴とする請求項3に記載の半導体ダイ。
  5. 前記N個の凹部は、中心水平軸を基準にして対称に配列することを特徴とする請求項3に記載の半導体ダイ。
  6. 前記N個の凹部は、中心縦軸を基準にして対称に配列することを特徴とする請求項5に記載の半導体ダイ。
  7. 前記N個の凹部は、第1対角線軸を基準にして対称に配列することを特徴とする請求項3に記載の半導体ダイ。
  8. 前記凹部は、前記半導体ダイの角を取り囲むことを特徴とする請求項1に記載の半導体ダイ。
  9. 前記凹部は、前記半導体ダイの第1面に沿って中間地点に形成することを特徴とする請求項1に記載の半導体ダイ。
  10. 前記第1凹部及び第2凹部は、互いに噛み合って前記半導体ダイの一方の角を取り囲むことを特徴とする請求項2に記載の半導体ダイ。
  11. 前記第1凹部及び第2凹部は、前記半導体ダイの周辺領域により互いに離隔されることを特徴とする請求項2に記載の半導体ダイ。
  12. 前記第1凹部は、前記半導体ダイの第1角を取り囲み、
    前記第2凹部は、前記半導体ダイの第1角と異なる第2角を取り囲むことを特徴とする請求項2に記載の半導体ダイ。
  13. 前記第1角及び第2角は、対角線に向かい合っていることを特徴とする請求項12に記載の半導体ダイ。
  14. 前記第1角及び第2角は、前記半導体ダイの一方面の両先端に位置することを特徴とする請求項12に記載の半導体ダイ。
  15. 外周に凹部が形成された複数のダイを半導体ウエハに形成する段階と、
    前記ウエハにおいて個別ダイを分離する段階と
    を有することを特徴とする半導体素子製造方法。
  16. 前記分離段階は、前記ダイの外周面をレーザスクライビングしてウエハで脆弱な部分を形成する段階と、
    前記脆弱な部分に沿って隣接するダイから個別ダイを分離する段階と、
    を有することを特徴とする請求項15に記載の半導体素子製造方法。
  17. 前記分離段階は、前記ダイの外周面の外側において前記凹部に近接するするウエハの上部を除去して前記ウエハの活性面に開放口を形成する段階と、
    前記活性面の反対面においてウエハの下部を除去して上下部がウエハの元来の厚さと少なくとも同じくする段階と、
    ダイ間の切断線に沿って前記ウエハの残り部分を除去する段階と、
    を有することを特徴とする請求項15に記載の半導体素子製造方法。
  18. 半導体ウエハに複数のダイを形成する段階は、隣接する少なくとも二つのダイの凹部が相互補完的でかつダイの外周面に沿って一定間隔に離隔されるようにダイを配列する段階を含むことを特徴とする請求項15に記載の半導体素子製造方法。
  19. 半導体ウエハに複数のダイを形成する段階は、隣接する少なくとも二つのダイの凹部が完全に相互補完的でなくダイの外周面の隣接部分に沿って互いに異なる地点から互いに異なる間隔に離隔されるようにダイを配列する段階を含むことを特徴とする請求項15に記載の半導体素子製造方法。
  20. 半導体ウエハに複数のダイを形成する段階は、凹部と境界をなすダイの外周面の一部にはボンドパッドが形成されないように複数のボンドパッドを、ダイの外周面に隣接して配置させる段階を含むことを特徴とする請求項15に記載の半導体素子製造方法。
  21. 前記複数のボンドパッドは、ダイの外周面の一直線に沿って配列することを特徴とする請求項20に記載の半導体素子製造方法。
  22. 接触部を有する基板と、
    外周面に凹部を有する第1半導体ダイと、
    を備える半導体素子パッケージにおいて、
    前記接触部が凹部を介して露出するように前記基板に第1半導体ダイを実装することを特徴とする半導体素子パッケージ。
  23. 前記基板は下部半導体ダイであって、前記接触部は少なくとも一つのボンドパッドを備えて、
    複数のボンドパッドは、前記第1半導体ダイの活性面に形成することを特徴とする請求項22に記載の半導体素子パッケージ。
  24. 前記第1半導体ダイの活性面に形成されるボンドパッドは、延長領域のみに位置することを特徴とする請求項23に記載の半導体素子パッケージ。
  25. 接触面を有する基板と、
    外周面に凹部が形成された第1半導体ダイと、
    を備える半導体素子パッケージにおいて、
    前記接触部が凹部を介して露出するように前記基板に第1半導体ダイが実装されることを特徴とする請求項22に記載の半導体素子パッケージ。
  26. 基板を用意する段階と、
    前記基板に複数の第1ボンドパッドを有する第1半導体ダイを実装する段階と、
    外周面に第1凹部が形成された第2半導体ダイを形成する段階と、
    前記複数の第1ボンドパッドが前記第1凹部を介して露出するように前記第1半導体ダイ上に前記第2半導体ダイを実装する段階と、
    を有することを特徴とする半導体素子パッケージ製造方法。
  27. 変形された矩形の外周面に第2凹部が変形されている第3半導体素子を形成する段階と、
    前記第2半導体素子の活性面に形成されている複数の第2ボンドパッドが、前記第2凹部を介して露出するように前記第2半導体ダイ上に前記第3半導体ダイを実装する段階と、
    をさらに有することを特徴とする半導体素子パッケージ製造方法。
  28. 前記第1ボンドパッドと第2ボンドパッド及び基板を電気的に接続する段階をさらに有することを特徴とする請求項27に記載の半導体素子パッケージ製造方法。
  29. 前記第3半導体ダイの活性面に形成されている複数の第3ボンドパッドと基板とを電気的に接続する段階をさらに有することを特徴とする請求項28に記載の半導体素子パッケージ製造方法。
  30. 前記第1半導体ダイ、第2半導体ダイ及び第3半導体ダイは、実質的に同じ構造を有し、前記第2半導体ダイは、前記第1半導体ダイ及び第3半導体ダイを基準にして約180°回転されることを特徴とする請求項29に記載の半導体素子パッケージ製造方法。
  31. 前記第1半導体ダイ、第2半導体ダイ及び第3半導体ダイは、実質的に同じ構造を有し、前記第2半導体ダイは、前記第1半導体ダイ及び第3半導体ダイを基準にして約90°回転されることを特徴とする請求項29に記載の半導体素子パッケージ製造方法。
  32. 少なくとも二つの半導体ダイを備える半導体素子パッケージにおいて、
    外周面に凹部が形成されており、基板に実装される第1半導体ダイと、
    前記凹部内に位置するように前記第1半導体ダイと水平に実装され第2半導体ダイと、
    を備えることを特徴とする半導体素子パッケージ。
  33. 前記第2半導体ダイは、実質的に前記凹部内に位置することを特徴とする請求項32に記載の半導体素子。
  34. 前記第2半導体ダイは、前記凹部内に完全に位置することを特徴とする請求項32に記載の半導体素子。
JP2005103706A 2004-04-01 2005-03-31 段差型ダイを有する半導体パッケージとその製造方法 Expired - Fee Related JP4832782B2 (ja)

Applications Claiming Priority (2)

Application Number Priority Date Filing Date Title
KR2004-022666 2004-04-01
KR1020040022666A KR100627006B1 (ko) 2004-04-01 2004-04-01 인덴트 칩과, 그를 이용한 반도체 패키지와 멀티 칩 패키지

Publications (2)

Publication Number Publication Date
JP2005294842A true JP2005294842A (ja) 2005-10-20
JP4832782B2 JP4832782B2 (ja) 2011-12-07

Family

ID=34985361

Family Applications (1)

Application Number Title Priority Date Filing Date
JP2005103706A Expired - Fee Related JP4832782B2 (ja) 2004-04-01 2005-03-31 段差型ダイを有する半導体パッケージとその製造方法

Country Status (4)

Country Link
US (1) US7485955B2 (ja)
JP (1) JP4832782B2 (ja)
KR (1) KR100627006B1 (ja)
DE (1) DE102005016439B4 (ja)

Cited By (7)

* Cited by examiner, † Cited by third party
Publication number Priority date Publication date Assignee Title
JP2011146718A (ja) * 2010-01-18 2011-07-28 Semiconductor Components Industries Llc 半導体ダイを形成する方法
JP2011228711A (ja) * 2010-04-19 2011-11-10 Tokyo Electron Ltd 半導体集積回路チップを分離および搬送する方法
JP2014017413A (ja) * 2012-07-10 2014-01-30 Denso Corp 半導体装置及びその製造方法
JP2014072239A (ja) * 2012-09-27 2014-04-21 Rohm Co Ltd チップ部品
US9165833B2 (en) 2010-01-18 2015-10-20 Semiconductor Components Industries, Llc Method of forming a semiconductor die
US9275957B2 (en) 2010-01-18 2016-03-01 Semiconductor Components Industries, Llc EM protected semiconductor die
JP2023125523A (ja) * 2022-02-28 2023-09-07 三菱電機株式会社 半導体装置

Families Citing this family (17)

* Cited by examiner, † Cited by third party
Publication number Priority date Publication date Assignee Title
US6551857B2 (en) 1997-04-04 2003-04-22 Elm Technology Corporation Three dimensional structure integrated circuits
US7579681B2 (en) * 2002-06-11 2009-08-25 Micron Technology, Inc. Super high density module with integrated wafer level packages
US7402897B2 (en) * 2002-08-08 2008-07-22 Elm Technology Corporation Vertical system integration
KR100627006B1 (ko) * 2004-04-01 2006-09-25 삼성전자주식회사 인덴트 칩과, 그를 이용한 반도체 패키지와 멀티 칩 패키지
US7545031B2 (en) * 2005-04-11 2009-06-09 Stats Chippac Ltd. Multipackage module having stacked packages with asymmetrically arranged die and molding
KR101539402B1 (ko) * 2008-10-23 2015-07-27 삼성전자주식회사 반도체 패키지
FR2940521B1 (fr) * 2008-12-19 2011-11-11 3D Plus Procede de fabrication collective de modules electroniques pour montage en surface
US20110233718A1 (en) * 2010-03-25 2011-09-29 Qualcomm Incorporated Heterogeneous Technology Integration
JP5995563B2 (ja) * 2012-07-11 2016-09-21 株式会社ディスコ 光デバイスの加工方法
KR101999114B1 (ko) * 2013-06-03 2019-07-11 에스케이하이닉스 주식회사 반도체 패키지
TWI564997B (zh) * 2015-06-12 2017-01-01 萬國半導體股份有限公司 功率半導體裝置及其製備方法
US9806044B2 (en) * 2016-02-05 2017-10-31 Dyi-chung Hu Bonding film for signal communication between central chip and peripheral chips and fabricating method thereof
US10037946B2 (en) * 2016-02-05 2018-07-31 Dyi-chung Hu Package structure having embedded bonding film and manufacturing method thereof
KR102358343B1 (ko) 2017-08-09 2022-02-07 삼성전자주식회사 반도체 패키지
KR102378837B1 (ko) * 2018-08-24 2022-03-24 삼성전자주식회사 반도체 장치 및 이를 포함하는 반도체 패키지
US20240006397A1 (en) * 2022-06-30 2024-01-04 Prilit Optronics, Inc. Display panel
TWI841184B (zh) * 2023-01-09 2024-05-01 福懋科技股份有限公司 半導體封裝及其製造方法

Citations (2)

* Cited by examiner, † Cited by third party
Publication number Priority date Publication date Assignee Title
JPH05267449A (ja) * 1992-03-19 1993-10-15 Mitsubishi Electric Corp 半導体装置及びその製造方法
JPH11224864A (ja) * 1998-02-06 1999-08-17 Mitsubishi Electric Corp 半導体ウエハチップ分離方法

Family Cites Families (17)

* Cited by examiner, † Cited by third party
Publication number Priority date Publication date Assignee Title
US3538400A (en) 1967-07-31 1970-11-03 Nippon Electric Co Semiconductor gunn effect switching element
US3816906A (en) 1969-06-20 1974-06-18 Siemens Ag Method of dividing mg-al spinel substrate wafers coated with semiconductor material and provided with semiconductor components
JPS6193613A (ja) 1984-10-15 1986-05-12 Nec Corp 半導体集積回路装置
US5323060A (en) 1993-06-02 1994-06-21 Micron Semiconductor, Inc. Multichip module having a stacked chip arrangement
JP3007023B2 (ja) 1995-05-30 2000-02-07 シャープ株式会社 半導体集積回路およびその製造方法
KR19980067184A (ko) 1997-01-31 1998-10-15 김광호 웨이퍼 절단과 다이 본딩이 동시에 이루어지는 인라인 장치
KR19980084225A (ko) 1997-05-22 1998-12-05 윤종용 반도체 웨이퍼 절단장치
JP3670853B2 (ja) 1998-07-30 2005-07-13 三洋電機株式会社 半導体装置
JP3643705B2 (ja) 1998-07-31 2005-04-27 三洋電機株式会社 半導体装置とその製造方法
JP2000306865A (ja) 1999-02-17 2000-11-02 Toshiba Electronic Engineering Corp ウェーハ切断方法およびその装置
US6605875B2 (en) 1999-12-30 2003-08-12 Intel Corporation Integrated circuit die having bond pads near adjacent sides to allow stacking of dice without regard to dice size
JP3832170B2 (ja) 2000-01-06 2006-10-11 セイコーエプソン株式会社 マルチベアチップ実装体
US6359340B1 (en) 2000-07-28 2002-03-19 Advanced Semiconductor Engineering, Inc. Multichip module having a stacked chip arrangement
KR100401020B1 (ko) 2001-03-09 2003-10-08 앰코 테크놀로지 코리아 주식회사 반도체칩의 스택킹 구조 및 이를 이용한 반도체패키지
KR100407472B1 (ko) 2001-06-29 2003-11-28 삼성전자주식회사 트렌치가 형성된 상부 칩을 구비하는 칩 적층형 패키지소자 및 그 제조 방법
KR20030075860A (ko) 2002-03-21 2003-09-26 삼성전자주식회사 반도체 칩 적층 구조 및 적층 방법
KR100627006B1 (ko) * 2004-04-01 2006-09-25 삼성전자주식회사 인덴트 칩과, 그를 이용한 반도체 패키지와 멀티 칩 패키지

Patent Citations (2)

* Cited by examiner, † Cited by third party
Publication number Priority date Publication date Assignee Title
JPH05267449A (ja) * 1992-03-19 1993-10-15 Mitsubishi Electric Corp 半導体装置及びその製造方法
JPH11224864A (ja) * 1998-02-06 1999-08-17 Mitsubishi Electric Corp 半導体ウエハチップ分離方法

Cited By (10)

* Cited by examiner, † Cited by third party
Publication number Priority date Publication date Assignee Title
JP2011146718A (ja) * 2010-01-18 2011-07-28 Semiconductor Components Industries Llc 半導体ダイを形成する方法
US9165833B2 (en) 2010-01-18 2015-10-20 Semiconductor Components Industries, Llc Method of forming a semiconductor die
US9275957B2 (en) 2010-01-18 2016-03-01 Semiconductor Components Industries, Llc EM protected semiconductor die
US9299664B2 (en) 2010-01-18 2016-03-29 Semiconductor Components Industries, Llc Method of forming an EM protected semiconductor die
US9437493B2 (en) 2010-01-18 2016-09-06 Semiconductor Components Industries, Llc Method of forming a semiconductor die
JP2011228711A (ja) * 2010-04-19 2011-11-10 Tokyo Electron Ltd 半導体集積回路チップを分離および搬送する方法
JP2014017413A (ja) * 2012-07-10 2014-01-30 Denso Corp 半導体装置及びその製造方法
JP2014072239A (ja) * 2012-09-27 2014-04-21 Rohm Co Ltd チップ部品
JP2023125523A (ja) * 2022-02-28 2023-09-07 三菱電機株式会社 半導体装置
JP7729235B2 (ja) 2022-02-28 2025-08-26 三菱電機株式会社 半導体装置

Also Published As

Publication number Publication date
KR100627006B1 (ko) 2006-09-25
JP4832782B2 (ja) 2011-12-07
US7485955B2 (en) 2009-02-03
US20050205975A1 (en) 2005-09-22
KR20050097586A (ko) 2005-10-10
DE102005016439B4 (de) 2011-07-28
DE102005016439A1 (de) 2005-10-20

Similar Documents

Publication Publication Date Title
JP4832782B2 (ja) 段差型ダイを有する半導体パッケージとその製造方法
KR100594229B1 (ko) 반도체 패키지 및 그 제조방법
WO2006044804A2 (en) Multi chip leadframe package
KR20080013305A (ko) 사이즈가 상이한 복수의 반도체 칩이 적층된 멀티 칩패키지 및 그 제조방법
JP2003078106A (ja) チップ積層型パッケージ素子及びその製造方法
JP2010147070A (ja) 半導体装置
TWI446461B (zh) 具有外部互連陣列的積體電路封裝件系統
CN112670249A (zh) 半导体封装方法、半导体封装结构及封装体
CN108206169A (zh) 包含在裸芯边缘处的裸芯接合垫的半导体装置
CN112670191A (zh) 半导体封装方法、半导体封装结构及封装体
CN113658931A (zh) 包括垂直接合焊盘的半导体器件
US20090203171A1 (en) Semiconductor device fabricating method
KR102739235B1 (ko) 반도체 패키지
US20170179101A1 (en) Bridge structure for embedding semiconductor die
CN100448003C (zh) 半导体器件
US9462694B2 (en) Spacer layer for embedding semiconductor die
JP4497304B2 (ja) 半導体装置及びその製造方法
JP2002100707A (ja) 半導体装置およびその製造方法
US7445944B2 (en) Packaging substrate and manufacturing method thereof
TWI883655B (zh) 半導體裝置及半導體裝置的製造方法
CN101609818A (zh) 半导体封装装置、半导体封装结构及其制法
KR100681264B1 (ko) 전자소자 패키지 및 그의 제조 방법
TW201236115A (en) Method for manufacturing semiconductor chips, mounting method and semiconductor chip for vertical mounting onto circuit substrates
CN100378977C (zh) 无晶片承载件的半导体装置及其制法
KR20240108618A (ko) 반도체 패키지 및 반도체 패키지의 제조 방법

Legal Events

Date Code Title Description
A621 Written request for application examination

Free format text: JAPANESE INTERMEDIATE CODE: A621

Effective date: 20071107

A977 Report on retrieval

Free format text: JAPANESE INTERMEDIATE CODE: A971007

Effective date: 20100603

A131 Notification of reasons for refusal

Free format text: JAPANESE INTERMEDIATE CODE: A131

Effective date: 20100608

A521 Request for written amendment filed

Free format text: JAPANESE INTERMEDIATE CODE: A523

Effective date: 20100907

A02 Decision of refusal

Free format text: JAPANESE INTERMEDIATE CODE: A02

Effective date: 20110322

A521 Request for written amendment filed

Free format text: JAPANESE INTERMEDIATE CODE: A523

Effective date: 20110720

A911 Transfer to examiner for re-examination before appeal (zenchi)

Free format text: JAPANESE INTERMEDIATE CODE: A911

Effective date: 20110801

TRDD Decision of grant or rejection written
A01 Written decision to grant a patent or to grant a registration (utility model)

Free format text: JAPANESE INTERMEDIATE CODE: A01

Effective date: 20110823

A01 Written decision to grant a patent or to grant a registration (utility model)

Free format text: JAPANESE INTERMEDIATE CODE: A01

A61 First payment of annual fees (during grant procedure)

Free format text: JAPANESE INTERMEDIATE CODE: A61

Effective date: 20110921

R150 Certificate of patent or registration of utility model

Ref document number: 4832782

Country of ref document: JP

Free format text: JAPANESE INTERMEDIATE CODE: R150

FPAY Renewal fee payment (event date is renewal date of database)

Free format text: PAYMENT UNTIL: 20140930

Year of fee payment: 3

R250 Receipt of annual fees

Free format text: JAPANESE INTERMEDIATE CODE: R250

R250 Receipt of annual fees

Free format text: JAPANESE INTERMEDIATE CODE: R250

R250 Receipt of annual fees

Free format text: JAPANESE INTERMEDIATE CODE: R250

R250 Receipt of annual fees

Free format text: JAPANESE INTERMEDIATE CODE: R250

R250 Receipt of annual fees

Free format text: JAPANESE INTERMEDIATE CODE: R250

R250 Receipt of annual fees

Free format text: JAPANESE INTERMEDIATE CODE: R250

R250 Receipt of annual fees

Free format text: JAPANESE INTERMEDIATE CODE: R250

R250 Receipt of annual fees

Free format text: JAPANESE INTERMEDIATE CODE: R250

R250 Receipt of annual fees

Free format text: JAPANESE INTERMEDIATE CODE: R250

R250 Receipt of annual fees

Free format text: JAPANESE INTERMEDIATE CODE: R250

LAPS Cancellation because of no payment of annual fees