JP2005293989A - 電気接続用端子 - Google Patents

電気接続用端子 Download PDF

Info

Publication number
JP2005293989A
JP2005293989A JP2004106236A JP2004106236A JP2005293989A JP 2005293989 A JP2005293989 A JP 2005293989A JP 2004106236 A JP2004106236 A JP 2004106236A JP 2004106236 A JP2004106236 A JP 2004106236A JP 2005293989 A JP2005293989 A JP 2005293989A
Authority
JP
Japan
Prior art keywords
contact
contact portion
electrical connection
connection
terminal
Prior art date
Legal status (The legal status is an assumption and is not a legal conclusion. Google has not performed a legal analysis and makes no representation as to the accuracy of the status listed.)
Granted
Application number
JP2004106236A
Other languages
English (en)
Other versions
JP4658508B2 (ja
Inventor
Satotaka Ogoshi
諭高 大越
Current Assignee (The listed assignees may be inaccurate. Google has not performed a legal analysis and makes no representation or warranty as to the accuracy of the list.)
Iriso Electronics Co Ltd
Original Assignee
Iriso Electronics Co Ltd
Priority date (The priority date is an assumption and is not a legal conclusion. Google has not performed a legal analysis and makes no representation as to the accuracy of the date listed.)
Filing date
Publication date
Application filed by Iriso Electronics Co Ltd filed Critical Iriso Electronics Co Ltd
Priority to JP2004106236A priority Critical patent/JP4658508B2/ja
Publication of JP2005293989A publication Critical patent/JP2005293989A/ja
Application granted granted Critical
Publication of JP4658508B2 publication Critical patent/JP4658508B2/ja
Anticipated expiration legal-status Critical
Expired - Fee Related legal-status Critical Current

Links

Images

Landscapes

  • Coupling Device And Connection With Printed Circuit (AREA)

Abstract

【課題】接続信頼性のみならず変位の繰り返しに対する耐久性にも優れた電気接続用端子を提供する。
【解決手段】一端側に相手側導電体Aと接触する第1及び第2の接触部1,2を設け、第1の接触部1を相手側導電体Aと線接触するように形成し、第2の接触部2を相手側導電体Aと点接触するように形成したので、相手側導電体Aと線接触する第1の接触部1によって変位の繰り返しに対する耐久性を高めることができ、相手側導電体Aと点接触する第2の接触部2によって接続信頼性を高めることができる。
【選択図】図1

Description

本発明は、プリント基板やコネクタの絶縁体等に取付けられて使用される電気接続用端子に関するものである。
従来、この種の電気接続用端子としては、接続対象物との圧接により少なくとも一部が弾性変形するように形成され、一端側に接続対象物との接触部を有するとともに、接触部を接続対象物に対して凸状をなすように湾曲した平板状に形成し、接触部を接続対象物の導電部に幅方向に線接触させるようにしたものが知られている(例えば、特許文献1参照。)。また、接続対象物との接触部に接続対象物に向かって部分的に突出する突部を設け、突部を接続対象物に点接触させるようにしたものも知られている(例えば、特許文献2参照。)。
特開2003−170616号公報 特開2003−045521号公報
ところで、接触部を接続対象物に線接触させるようにしたものでは、接続対象物との接触範囲が広いため、局部的な摩耗が少なく、変位の繰り返しに対する耐久性は高いが、接触部分の傾斜等により接触位置が接触線方向に偏るなど、接触位置が不安定になり易く、接続信頼性に劣るという問題点があった。このような問題点は、接触部を面接触させるものにおいても同様に生じていた。また、接触部を接続対象物に点接触させるようにしたものでは、接続対象物との接触範囲が狭いため、接触位置が安定して接続信頼性を高めることはできるが、接触圧が集中的に加わってメッキ等の表面処理が削られるなど、局部的な摩耗を生じ易く、変位の繰り返しに対する耐久性に劣るという問題点があった。
本発明は前記問題点に鑑みてなされたものであり、その目的とするところは、接続信頼性のみならず変位の繰り返しに対する耐久性にも優れた電気接続用端子を提供することにある。
本発明は前記目的を達成するために、接続対象物との圧接により少なくとも一部が弾性変形するように形成された電気接続用端子において、一端側に接続対象物との接触部を幅方向に少なくとも二つ有するとともに、一部の接触部を接続対象物と線接触または面接触するように形成し、他の接触部を接続対象物と点接触するように形成している。
これにより、接続対象物と接触部とを圧接させることにより、一部の接触部が接続対象物と線接触または面接触し、他の接触部が接続対象物と点接触する。
本発明の電気接続用端子によれば、接続対象物と線接触または面接触する一部の接触部によって変位の繰り返しに対する耐久性を高めることができ、接続対象物と点接触する他の接触部によって接続信頼性を高めることができるので、プリント基板やコネクタの絶縁体等に取付けて使用する場合に極めて有利である。
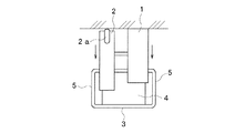
図1乃至図4は本発明の一実施形態を示すもので、図1は電気接続用端子の斜視図、図2はその側面図、図3はその正面図、図4はその屈曲状態を示す正面図である。
この電気接続用端子は導電性の金属板からなり、一端側に接続対象物と接触する第1及び第2の接触部1,2を有し、その他端側には図示しない基板に接続される接続部3が設けられている。各接触部1,2と接続部3との間には略U字状に屈曲する屈曲部4が設けられ、屈曲部4及び各接触部1,2は上下方向に弾性変形可能に形成されている。また、接続部3の幅方向両側には上方に延びる一対の側壁部5が設けられている。
第1及び第2の接触部1,2は屈曲部4の一端側から斜め上方に二股状に延びる平板状に形成され、それぞれ上端側を略U字状に屈曲させている。また、各接触部1,2は上端側から斜め下方に延びるとともに、その先端側を略水平に形成されている。第1接触部1の上端側は幅方向に均一な高さに形成され、相手側導電体Aと線接触するようになっている。第2接触部2は、その上端側の幅方向中央に前記屈曲部分に沿って延びる突部2aを有し、突部2aを相手側導電体Aと点接触させるようになっている。また、図3に示すように第1の接触部1の幅寸法W1 は第2の接触部2の幅寸法W2 よりも大きく形成され、第2の接触部2は突部2aの上端が第1の接触部1の上端よりも高さHだけ上方に位置するように形成されている。
接続部3は平坦な板状に形成され、例えば半田付けによって基板に固定されることにより、基板に電気的に接続されるようになっている。
屈曲部4は一端側が各接触部1,2に連続するように形成され、その他端側は接続部3に連続するように形成されている。
各側壁部5は上端側を第1及び第2の接触部1,2の先端側の上方に位置するように各接触部1,2の幅方向内側に向かって屈曲しており、各側壁部5の上端側には各接触部1,2の先端側がそれぞれ下方から係止するようになっている。
以上のように構成された電気接続用端子においては、相手側導電体Aと第1及び第2の接触部1,2とを圧接させることにより、各接触部1,2及び屈曲部4が下方に弾性変形し、第1及び第2の接触部1,2と相手側導電体Aとが電気的に接続される。その際、第1の接触部1はその上端を相手側導電体Aと線接触し、第2の接触部2は突部2aの上端を相手側導電体Aと点接触する。また、第1の接触部1の幅寸法W1 は第2の接触部2の幅寸法W2 よりも大きく形成されているため、第1の接触部1と相手側導電体Aとの接触範囲を第1の接触部1の接触線方向に広くなる。この場合、接続前の第2の接触部2の突部2aの上端は第1の接触部1の上端よりも高さHだけ上方に位置していることから、相手側導電体Aが各接触部1,2にそれぞれ圧接すると、第2の接触部2の変位量は第1の接触部1よりも大きくなるため、第1の接触部1の幅寸法W1 が第2の接触部2の幅寸法W2 よりも大きく形成されていても、第1及び第2の接触部1,2と相手側導電体Aとの接触圧はほぼ等しくなる。
このように、本実施形態の電気接続用端子によれば、一端側に相手側導電体Aと接触する第1及び第2の接触部1,2を設け、第1の接触部1を相手側導電体Aと線接触するように形成し、第2の接触部2を相手側導電体Aと点接触するように形成したので、相手側導電体Aと線接触する第1の接触部1によって変位の繰り返しに対する耐久性を高めることができ、相手側導電体Aと点接触する第2の接触部2によって接続信頼性を高めることができる。
この場合、第1及び第2の接触部1,2を互いに二股状に形成したので、各接触部1,2を容易に形成することができ、製造上極めて有利である。
また、第1及び第2の接触部1,2をそれぞれ板状に形成するとともに、第2の接触部2には相手側導電体Aに接触する突部2aを設けたので、第1の接触部1と相手側導電体Aとの線接触及び第2の接触部2と相手側導電体Aとの点接触を確実に行うことができる。
更に、第1の接触部1の幅寸法W1 を第2の接触部2の幅寸法W2 よりも大きく形成したので、第1の接触部1と相手側導電体Aとの接触範囲を第1の接触部1の接触線方向に広くすることができ、第1の接触部1と相手側導電体Aとの接続信頼性の向上を図ることができる。この場合、第2の接触部2を第1の接触部1よりも変位量が大きくなるように形成したので、第1の接触部1の幅寸法W1 が第2の接触部2の幅寸法W2 よりも大きく形成されていても、第1及び第2の接触部1,2と相手側導電体Aとの接触圧をほぼ等しくすることができ、第1及び第2の接触部1,2における接触圧の偏りを少なくすることができる。
尚、前記実施形態では、第1の接触部1を相手側導電体Aに線接触させるようにしたものを示したが、面接触させるようにしてもよい。
また、前記実施形態では、第1の接触部1と第2の接触部2とを一つずつ設けたものを示したが、少なくとも一方を複数設けるようにしてもよい。
図5及び図6は本発明の他の実施形態を示すもので、図5は電気接続用端子の斜視図、図6はその側面図である。
本実施形態の電気接続用端子は導電性の金属板からなり、細長い板状に形成されている。即ち、この電気接続用端子は、例えばコネクタに取付けて使用されるものであり、一端側に接続対象物と接触する第1及び第2の接触部6,7を有し、その他端側には図示しないコネクタ本体に保持される保持部8が設けられている。第1の接触部6の幅寸法は第2の接触部7の幅寸法よりも大きく形成され、第2の接触部7には図示しない相手側導電体に接触する突部7aが設けられている。
即ち、本実施形態の電気接続用端子では、前記実施形態と同様、第1の接触部6を相手側導電体と線接触させるとともに、第2の接触部7を相手側導電体と点接触させることができるので、相手側導電体と線接触する第1の接触部6によって変位の繰り返しに対する耐久性を高めることができ、相手側導電体と点接触する第2の接触部7によって接続信頼性を高めることができる。
本発明の一実施形態を示す電気接続用端子の斜視図 電気接続用端子の側面図 電気接続用端子の正面図 電気接続用端子の屈曲状態を示す正面図 本発明の他の実施形態を示す電気接続用端子の斜視図 電気接続用端子の正面図
符号の説明
1…第1の接触部、2…第2の接触部、2a…突部、6…第1の接触部、7…第2の接触部、7a…突部。

Claims (4)

  1. 接続対象物との圧接により少なくとも一部が弾性変形するように形成された電気接続用端子において、
    一端側に接続対象物との接触部を幅方向に少なくとも二つ有するとともに、
    一部の接触部を接続対象物と線接触または面接触するように形成し、他の接触部を接続対象物と点接触するように形成した
    ことを特徴とする電気接続用端子。
  2. 前記接続対象物と線接触または面接触する第1の接触部と、接続対象物と点接触する第2の接触部とを備え、
    第1の接触部及び第2の接触部を二股状に形成した
    ことを特徴とする請求項1記載の電気接続用端子。
  3. 前記第1の接触部及び第2の接触部をそれぞれ板状に形成するとともに、第2の接触部には接続対象物に接触する突部を設けた
    ことを特徴とする請求項2記載の電気接続用端子。
  4. 前記第2の接触部を第1の接触部よりも変位量が大きくなるように形成するとともに、第1の接触部の幅寸法を第2の接触部の幅寸法よりも大きく形成した
    ことを特徴とする請求項2または3記載の電気接続用端子。
JP2004106236A 2004-03-31 2004-03-31 電気接続用端子 Expired - Fee Related JP4658508B2 (ja)

Priority Applications (1)

Application Number Priority Date Filing Date Title
JP2004106236A JP4658508B2 (ja) 2004-03-31 2004-03-31 電気接続用端子

Applications Claiming Priority (1)

Application Number Priority Date Filing Date Title
JP2004106236A JP4658508B2 (ja) 2004-03-31 2004-03-31 電気接続用端子

Publications (2)

Publication Number Publication Date
JP2005293989A true JP2005293989A (ja) 2005-10-20
JP4658508B2 JP4658508B2 (ja) 2011-03-23

Family

ID=35326702

Family Applications (1)

Application Number Title Priority Date Filing Date
JP2004106236A Expired - Fee Related JP4658508B2 (ja) 2004-03-31 2004-03-31 電気接続用端子

Country Status (1)

Country Link
JP (1) JP4658508B2 (ja)

Cited By (12)

* Cited by examiner, † Cited by third party
Publication number Priority date Publication date Assignee Title
WO2007060709A1 (ja) * 2005-11-22 2007-05-31 Iriso Electronics Co., Ltd. コネクタ
JP2008066083A (ja) * 2006-09-06 2008-03-21 Molex Inc モジュール用ソケット
JP2011113894A (ja) * 2009-11-30 2011-06-09 Takeuchi Kogyo Kk 表面実装コンタクト
KR101400745B1 (ko) * 2012-09-26 2014-05-29 대일티앤씨 주식회사 터미널 콘택트
CN105048137A (zh) * 2014-04-22 2015-11-11 Smk株式会社 电路基板连接用端子
JP2016015293A (ja) * 2014-07-03 2016-01-28 第一精工株式会社 コネクタ端子
KR101591500B1 (ko) 2014-04-28 2016-02-04 주식회사 오킨스전자 지아이에프 커넥터용 터미널 컨택트
KR101605807B1 (ko) * 2014-04-28 2016-03-24 주식회사 오킨스전자 지아이에프 커넥터
JP2017162698A (ja) * 2016-03-10 2017-09-14 Smk株式会社 コンタクトの接触構造
WO2018066817A1 (ko) * 2016-10-05 2018-04-12 삼성전자 주식회사 플렉시블 커넥터를 포함하는 전자 장치
JP2020087502A (ja) * 2018-11-15 2020-06-04 竹内工業株式会社 表面実装コンタクト
US11031732B2 (en) 2016-09-07 2021-06-08 Yazaki Corporation Lever-type connector

Cited By (16)

* Cited by examiner, † Cited by third party
Publication number Priority date Publication date Assignee Title
WO2007060709A1 (ja) * 2005-11-22 2007-05-31 Iriso Electronics Co., Ltd. コネクタ
JP2008066083A (ja) * 2006-09-06 2008-03-21 Molex Inc モジュール用ソケット
JP2011113894A (ja) * 2009-11-30 2011-06-09 Takeuchi Kogyo Kk 表面実装コンタクト
KR101400745B1 (ko) * 2012-09-26 2014-05-29 대일티앤씨 주식회사 터미널 콘택트
CN105048137A (zh) * 2014-04-22 2015-11-11 Smk株式会社 电路基板连接用端子
JP2015207475A (ja) * 2014-04-22 2015-11-19 Smk株式会社 回路基板接続用ターミナル
CN105048137B (zh) * 2014-04-22 2017-11-24 Smk株式会社 电路基板连接用端子
KR101605807B1 (ko) * 2014-04-28 2016-03-24 주식회사 오킨스전자 지아이에프 커넥터
KR101591500B1 (ko) 2014-04-28 2016-02-04 주식회사 오킨스전자 지아이에프 커넥터용 터미널 컨택트
JP2016015293A (ja) * 2014-07-03 2016-01-28 第一精工株式会社 コネクタ端子
JP2017162698A (ja) * 2016-03-10 2017-09-14 Smk株式会社 コンタクトの接触構造
US11031732B2 (en) 2016-09-07 2021-06-08 Yazaki Corporation Lever-type connector
WO2018066817A1 (ko) * 2016-10-05 2018-04-12 삼성전자 주식회사 플렉시블 커넥터를 포함하는 전자 장치
US10777927B2 (en) 2016-10-05 2020-09-15 Samsung Electronics Co., Ltd. Electronic device having flexible connector
JP2020087502A (ja) * 2018-11-15 2020-06-04 竹内工業株式会社 表面実装コンタクト
JP7289497B2 (ja) 2018-11-15 2023-06-12 竹内工業株式会社 表面実装コンタクト

Also Published As

Publication number Publication date
JP4658508B2 (ja) 2011-03-23

Similar Documents

Publication Publication Date Title
KR101021012B1 (ko) 커넥터
JP3860823B2 (ja) コネクタ及びこのコネクタを備えた携帯端末
JP3122168U (ja) 電気コネクタ
JP4374074B1 (ja) 電気接続用端子及びこれを用いたコネクタ
JP5871729B2 (ja) ハウジングレスコネクタ
JP6006356B2 (ja) コンタクト及び該コンタクトを使用するコネクタ
JP4592462B2 (ja) 基板接続用コネクタ
JP4802959B2 (ja) コネクタ
JP2018081869A (ja) コネクタ
JP2006302557A (ja) 基板対基板コネクタ
CN105375145A (zh) 接触器及使用该接触器的连接器
JP4658508B2 (ja) 電気接続用端子
JP2003217711A (ja) コネクタ
JP2017117734A (ja) コネクタ
JP5124789B2 (ja) 表面実装コンタクト
JP2007095371A (ja) 電気コネクタ
JP6574680B2 (ja) 端子
JP2005203139A (ja) コネクタ
JP5629346B2 (ja) 電気接続用端子及びこれを備えたコネクタ
CN205211988U (zh) 弹簧夹和电连接器
JP5023286B2 (ja) 表面実装コンタクト
JP2003045521A (ja) 電気接続用端子及びこれを用いた電気コネクタ
JP2002170615A (ja) 電気接続用端子
JP2005108581A (ja) コネクタシステム
JP2010287356A (ja) コネクタ

Legal Events

Date Code Title Description
A621 Written request for application examination

Free format text: JAPANESE INTERMEDIATE CODE: A621

Effective date: 20061222

A977 Report on retrieval

Free format text: JAPANESE INTERMEDIATE CODE: A971007

Effective date: 20081030

A131 Notification of reasons for refusal

Free format text: JAPANESE INTERMEDIATE CODE: A131

Effective date: 20090311

A521 Written amendment

Free format text: JAPANESE INTERMEDIATE CODE: A523

Effective date: 20090511

A02 Decision of refusal

Free format text: JAPANESE INTERMEDIATE CODE: A02

Effective date: 20091102

A521 Written amendment

Free format text: JAPANESE INTERMEDIATE CODE: A523

Effective date: 20101108

A01 Written decision to grant a patent or to grant a registration (utility model)

Free format text: JAPANESE INTERMEDIATE CODE: A01

A61 First payment of annual fees (during grant procedure)

Free format text: JAPANESE INTERMEDIATE CODE: A61

Effective date: 20101224

FPAY Renewal fee payment (event date is renewal date of database)

Free format text: PAYMENT UNTIL: 20140107

Year of fee payment: 3

R150 Certificate of patent or registration of utility model

Ref document number: 4658508

Country of ref document: JP

Free format text: JAPANESE INTERMEDIATE CODE: R150

Free format text: JAPANESE INTERMEDIATE CODE: R150

R250 Receipt of annual fees

Free format text: JAPANESE INTERMEDIATE CODE: R250

R250 Receipt of annual fees

Free format text: JAPANESE INTERMEDIATE CODE: R250

R250 Receipt of annual fees

Free format text: JAPANESE INTERMEDIATE CODE: R250

R250 Receipt of annual fees

Free format text: JAPANESE INTERMEDIATE CODE: R250

R250 Receipt of annual fees

Free format text: JAPANESE INTERMEDIATE CODE: R250

R250 Receipt of annual fees

Free format text: JAPANESE INTERMEDIATE CODE: R250

R250 Receipt of annual fees

Free format text: JAPANESE INTERMEDIATE CODE: R250

LAPS Cancellation because of no payment of annual fees