JP2005293460A - 非接触icカード用インレットおよび非接触icカード - Google Patents

非接触icカード用インレットおよび非接触icカード Download PDF

Info

Publication number
JP2005293460A
JP2005293460A JP2004110930A JP2004110930A JP2005293460A JP 2005293460 A JP2005293460 A JP 2005293460A JP 2004110930 A JP2004110930 A JP 2004110930A JP 2004110930 A JP2004110930 A JP 2004110930A JP 2005293460 A JP2005293460 A JP 2005293460A
Authority
JP
Japan
Prior art keywords
chip
card
contact
antenna substrate
inlet
Prior art date
Legal status (The legal status is an assumption and is not a legal conclusion. Google has not performed a legal analysis and makes no representation as to the accuracy of the status listed.)
Pending
Application number
JP2004110930A
Other languages
English (en)
Inventor
Keiichi Iiyama
恵市 飯山
Yoshito Okawa
義人 大川
Current Assignee (The listed assignees may be inaccurate. Google has not performed a legal analysis and makes no representation or warranty as to the accuracy of the list.)
Panasonic Holdings Corp
Original Assignee
Matsushita Electric Industrial Co Ltd
Priority date (The priority date is an assumption and is not a legal conclusion. Google has not performed a legal analysis and makes no representation as to the accuracy of the date listed.)
Filing date
Publication date
Application filed by Matsushita Electric Industrial Co Ltd filed Critical Matsushita Electric Industrial Co Ltd
Priority to JP2004110930A priority Critical patent/JP2005293460A/ja
Publication of JP2005293460A publication Critical patent/JP2005293460A/ja
Pending legal-status Critical Current

Links

Images

Landscapes

  • Credit Cards Or The Like (AREA)

Abstract

【課題】 カードの厚み増加を抑制しつつ、点圧や鋼球落下等の衝撃に対して強く、カード表面の平坦性も良好な非接触ICカード用インレットを提供すること。
【解決手段】 アンテナ基板1のコイルアンテナの電極1aに対してICチップ2がフェースダウンで電気的に接合された非接触ICカード用インレットにおいて、アンテナ基板1の電極のパターンは、電極間の溝1bの形状がICチップ2の存在領域内で少なくとも一方向に沿っては直線的見通し不可の折り曲げ状態に形成されている。アンテナ基板1におけるコイルアンテナの電極1aのパターンの形状の変更をもって補強板の役目をさせる。
【選択図】 図1

Description

本発明は、非接触ICカードに内蔵されるものであって、コイルアンテナおよび電極を有するアンテナ基板と、前記アンテナ基板の前記電極に対してフェースダウンで電気的に接合されたICチップとを備えたインレットに関する。また、そのインレットを内蔵した非接触ICカードに関する。非接触ICカードは、内側のシート部分であるインレットと外側のシート部分であるオーバーレイからなるが、インレットはICモジュールにコイルアンテナを接続したものである。
近年、コイルアンテナとICチップを内蔵し、電波により非接触で外部機器との間でデータ交換を行う非接触ICカードの開発が進んでいる。この非接触ICカードは、記憶容量の大きさと高度なセキュリティ機能を有するという特徴に加えて、外部機器に近づけるだけで通信が可能であるという特徴を有している。つまり、接触式カードのようにいちいちカードを出し入れするといった手間が不要であり、接点等の機構が不要でメンテナンスフリーを実現できる。その結果、非接触ICカードは、今後、より広範囲な分野への普及が予想される。
図10は従来の非接触ICカード用インレットの構成例を示すための要部の平面図、図11はその断面図である。これらの図において、A4は非接触ICカード用インレット、1はコイルアンテナ(図示せず)を形成したフィルム状のアンテナ基板、1aはアンテナ基板1におけるコイルアンテナの電極、1a′は電極パターンを形成する金属部分、2はICチップ、2aは金のバンプ、3は接着剤である。電極パターンを形成する金属部分1a′は、電極1aと同じ金属で形成されている。
従来の非接触ICカード用インレットA4は、アンテナ基板1の上にICチップ2がボンディングされた構成となっている。ICチップ2がフェースダウンされ、その表面の端子部のバンプ2aがアンテナ基板1上のコイルアンテナの電極1aに電気的に接合されている。アンテナ基板1に対してICチップ2の固定を行う接着剤3としては、従来、ACF(Anisotropic Conductive Film:異方性導電フィルム)が一般的であったが、最近では、材料の効率的な使用の観点からACP(AnisotropicConductive Paste:異方性導電ペースト)やNCP(Non Conductive Paste:非導電ペースト)等の樹脂が使用されるようになっている。
図12は、上記構成のインレットA4を内蔵する非接触ICカードの構成例を示す。コア材4において、そのICチップ実装部をくりぬいてインレットA4を装填し、必要に応じてインレット裏面にコア材5を接合し、さらに表裏両面にオーバーレイの表面保護シート6,7をラミネート加工している。
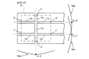
従来の非接触ICカードにおいては、アンテナ基板1上における電極1aのパターンについて、金属部分でない溝1bが、ICチップ2の存在領域内で端から端まで見通せる直線状に形成されている。しかし、この直線状の溝1bの存在のために、次のような強度上の問題が生じる。これを図13を用いて説明する。
溝1bがICチップ2の存在領域に交わる一方の入口a,b,cから他方の出口a′,b′,c′に向かう線がそれぞれ直線状に見通せる状態となっている。a−a′の直線状の溝1bは、ICチップ2の存在領域でMaで示すようなアンテナ基板1の折れ曲がりの原因となる。また、b−b′の直線状の溝1bは、ICチップ2の存在領域でMbで示すようなアンテナ基板1の折れ曲がりの原因となり、c−c′の直線状の溝1bは、ICチップ2の存在領域でMcで示すようなアンテナ基板1の折れ曲がりの原因となる。なお、折れ曲がりMa,Mb,Mcは断面図となっている。
すなわち、ICカードの表面(ICチップ2の裏面)に鋼球落下試験のような衝撃的な応力がかかると、直線状の溝1bを折り曲げの稜線とする状態で、アンテナ基板1に折り曲げ力がかかる。その結果、溝1bの部分でアンテナ基板1が伸び、ICチップ2の表面に応力がかかって、ICチップ2が破損し、データがすべて失われてしまうおそれがある。したがって、折り曲げや衝撃等からICチップ2を保護するために、機械的強度を上げる必要がある。
ところが、一方で、非接触ICカードは、規格によりその厚みが決められている(例えば、ISO14443では、0.76mm±0.08mm)。そのため、単に厚みを増すことで機械的強度を上げるといった構成は、その採用がむずかしい。
従来の構成では、カードの裏面(ICチップの表面)からの点圧強度試験に耐えるように、カードの裏面(ICチップの表面)側に補強板を取り付ける方法が提案されている(例えば、特許文献1参照)。この補強板は、カード裏面(チップ表面)からの点圧強度試験に強い構成であるが、カードの表面(ICチップの裏面)からの鋼球落下試験に弱いことが当社の研究で判明している。また上記文献では、カード表面(ICチップ裏面)からの点圧強度試験に耐えるようにICチップ裏面にも補強板を取り付け、両面補強板の構成をとっている。
図14に両面補強板8,9を用いた構成を示す。他のICチップ2の機械的強度を向上させるための一方法として、ICチップ2をトランスファーモールド等により、樹脂封止した後に、補強用の金属板をさらにつけたものが考案されている。
特開2002−163624号公報(第2−4頁、第1図) 特開2000−48151号公報(第3頁、第1図) 特開2000−163548号公報(第3頁、第1図) 実開平1−166566号公報(第1頁、第1図)
しかしながら、従来の図10〜図13の構成では、鋼球落下試験に弱い。またその対策として提案されている方法は、図14に示すように、インレットA5の両面に補強板8,9が接着されることとなり、インレットA5の作製においては工程が長くなるという欠点がある。さらに、カード化するに当たって、インレットA5の両面に出っ張りができるためにカード表面の平坦性を確保するのが難しいという欠点がある。
本発明は、このような問題点に鑑みてなされたものであって、カードの厚み増加を抑制し、電極パターンの形状の変更をもって補強板の役目をさせ、点圧や鋼球落下等の衝撃に対して強い非接触ICカード用インレットないし非接触ICカードを提供することを目的とするものである。
本発明は、上記の課題を解決するために次のような手段を講じる。
ICチップの電極(バンプ)をアンテナ基板の電極に電気的に接合する場合に、そのアンテナ基板の電極パターンは、ICチップの存在領域内で分割されていることになる。すなわち、複数の電極が溝によって分断されている。電極間の溝がICチップの存在領域内で直線状に見通せる状態になっていると、その直線状の溝の延長線を折り曲げ線とする折り曲げに対して、アンテナ基板の電極の金属部分は弱いものとなる。このことに鑑みて、電極間の溝の形状をICチップの存在領域内で直線的見通しがきかない折り曲げ状態に形成する。
すなわち、本発明による非接触ICカード用インレットは、コイルアンテナおよび電極を有するアンテナ基板と、前記アンテナ基板の前記電極に対してフェースダウンで電気的に接合されたICチップとを備えたものであり、さらに、前記アンテナ基板の前記電極のパターンは、電極間の溝の形状が前記ICチップの存在領域内で少なくとも一方向に沿っては直線的見通し不可の折り曲げ状態に形成されていることを特徴とするものである。
ここで、“少なくとも一方向に沿っては”というのは、次のことを意味する。これは、ICチップの存在領域内である方向に沿って直線的な見通しがきかない状態で折り曲げられた電極間溝が少なくとも1つ存在するのであれば、ICチップの存在領域内で別の方向に沿って直線的に見通せる溝が存在しても構わないということである。
折り曲げ状態の溝における直線溝部分を延長したとき、この延長線上には必ず電極パターンを形成する金属部分が存在していることになる。この金属部分は、前記の延長線を折り曲げ線とするアンテナ基板の折り曲げに対して抵抗要素として作用する。すなわち、アンテナ基板が補強された状態となる。この補強されたアンテナ基板の電極にICチップが接合されるので、ICチップは点圧や落下衝撃などに対して強い耐久性をもつことになる。
上記構成において、さらに、前記ICチップの裏面に補強板を接着したインレットも、本発明は実施の形態として含むものである。ICチップの表面側は、前記のアンテナ基板の補強で強化されており、その強化されたアンテナ基板がICチップの表面側の補強板を兼ねることになる。すなわち、実質的に両面補強板の構成をとることになり、耐久性がさらに強いものとなる。しかも、従来の両面補強板タイプに比べて、出っ張りが片側だけですみ、構造の簡素化が図られる。
また、上記構成において、前記ICチップと前記アンテナ基板との接着を非導電ペースト(NCP)で行う場合には、次のように構成することが好ましい。すなわち、非導電ペーストは、異方性導電フィルム(ACF)や異方性導電性ペースト(ACP)と違って、樹脂中に導電粒子を含んでいない。ICチップのバンプとアンテナ基板の電極との電気的接合を図るためには、バンプを電極に接触させておく必要がある。ここで、ICチップをアンテナ基板に押し付けて、ICチップのバンプを電極に圧着喰い込みさせ、アンテナ基板の電極に対するICチップの電気的接合を行うものとする。
バンプを電極に喰い込ませることにより、電極とICチップとの隙間寸法を小さいものにし、アンテナ基板の電極パターンの金属部分がICチップに与える補強の効果を増している。アンテナ基板自体については、上記と同様に、ICチップの存在領域内で直線状の見通しができないように溝を折り曲げる構造により、補強がなされている。以上の相乗により、点圧や落下衝撃などに対する耐久性をさらに強いものにすることができる。
そして、上記のように構成されたいずれかの非接触ICカード用インレットを内蔵した非接触ICカードは、物理的耐久性が高く、しかもコスト面も有利に展開できる。
以上のように本発明によれば、アンテナ基板の電極のパターンについて、電極間の溝の形状がICチップの存在領域内で直線的見通し不可の折り曲げ状態に形成されていることにより、安価で物理的耐久性の高い非接触ICカードインレットならびに非接触ICカードを実現できる。
以下、本発明にかかわる非接触ICカード用インレットの実施の形態について、図面を用いて説明する。
(実施の形態1)
図1は本発明の実施の形態1の非接触ICカード用インレットA1の主要部分であるICチップ2とアンテナ基板1との接続の様子を示す平面図、図2はその断面図である。図1ではICチップ2が二点鎖線で図示されている。
本実施の形態の非接触ICカード用インレットA1は、アンテナ基板1におけるコイルアンテナ(図示せず)の電極1aに、ICチップ2の電極部にバンプ2aを形成し、接着剤3を用いてICチップ2をフェースダウンでアンテナ基板1に機械的に接合した構成となっている。アンテナ基板1の電極1aのパターンにおいて、電極間の溝1bの形状がICチップ2の存在領域内で非直線の状態に形成されている。図示の例では、90度に屈折する溝1bの形状となっている。1a′は電極1aと同じく電極パターンを形成する金属部分である。接着剤3としては、ACF(異方性導電フィルム)のみならず、NCP(非導電ペースト)、ACP(異方性導電性ペースト)も使用できる。
図3に基づいて本実施の形態による強度アップの作用について説明する。
図3(a)は、縦方向の溝に沿った折り曲げ線での折り曲げに対する強度アップを説明するための模式図である。図3(a)に示すように、ある1つの縦方向の溝1b1の延長線L1を考える。この延長線L1上には別の溝1b2が存在しているが、これらの溝1b1,1b2はいずれもICチップ2の存在領域内で折れ曲がり、直線状の見通しができない状態とされている。すなわち、溝1b1あるいは溝1b2の延長線L1上に、ハッチングで示すように電極1aのパターンを形成する金属部分1c1が存在している。同様に溝1b3あるいは溝1b4の延長線L3上には、金属部分1c3が対応している。これらの金属部分1c1,1c3は、延長線L1,L3を折り曲げ線とするアンテナ基板1の折り曲げに対して抵抗要素として作用する。
図3(b)は、横方向の溝に沿った折り曲げ線での折り曲げに対する強度アップを説明するための模式図である。溝1b5,1b6の延長線L5上に対応する金属部分1c5が、延長線L5を折り曲げ線とするアンテナ基板1の折り曲げに対して抵抗要素となり、同様に、溝1b7,1b8の延長線L7上に対応する金属部分1c7が、延長線L7を折り曲げ線とするアンテナ基板1の折り曲げに対して抵抗要素となる。
図4は、上記のように構成されたインレットA1を用いて作製された非接触ICカードの一例を示す。コア材4のくりぬき部にインレットA1を装填するとともに、コア材4の表面に表面保護シート6を、インレットA1のアンテナ基板1の表面に表面保護シート7をそれぞれラミネート加工する。
非接触ICカードにおいて、ICチップ2の裏面(上方)から大きな力が加わったときに、アンテナ基板1が溝1bの部分で伸ばされることがない。すなわち、ICチップ2に応力がかからず、ICチップ2の破損が防止される。
なお、チップの形状や劈開(へきかい)面のために弱い方向が存在している場合には、アンテナ基板1の電極1aのパターンにおける溝1bの形状について、次のようにしてもよい。すなわち、ICチップ2の存在領域内で、直線状の見通しができない状態に折り曲げておくのを、前記の弱い方向の1方向に沿ってのみ実施するのでもよい。
図5は、本発明の非接触ICカード用インレットを実現する電極パターンの別の例を示す。図6は、図5の場合の折り曲げに対する抵抗要素を示す模式図である。アンテナ基板1の電極1aのパターンにおいて、電極間の溝1bの形状がICチップ2の存在領域内で非直線の状態に形成されている。図示の例では、90度に屈折する溝1bの形状となっている。
図1、図3の場合は、中央の電極1aが十字形をしていて、縦方向の延長線L1上に2つの溝1b1,1b2が並び、また、縦方向の延長線L3上に2つの溝1b3,1b4が並び、また、横方向の延長線L5上に2つの溝1b5,1b6が並び、また、横方向の延長線L7上に2つの溝1b7,1b8が並んでいる。
これに対して、図5、図6の場合は、1つの電極1aが凸の字形をしていて、縦方向の延長線L9上に2つの溝1b9,1b10が並んでいるが、横方向の延長線L11上にあるのは1つの溝1b11のみであり、また、横方向の延長線L12上にあるのは1つの溝1b12のみである。このため、溝1b11,1b12の延長線L11,L12に対応する金属部分1c11,1c12は、それぞれの延長線を折り曲げ線とするアンテナ基板1の折り曲げに対し、図1の場合よりも、より大きな抵抗要素となる。
図7は、本発明の非接触ICカード用インレットを実現する電極パターンのさらに別の例を示す。中央の電極1aは、十字形を変形した形状をしている。縦方向でも横方向でも、溝1bは同一直線上に2つ以上は存在しない形態としている。これにより、折り曲げに対する抵抗をさらに強化している。
(実施の形態2)
図8は本発明の実施の形態2の非接触ICカード用インレットA1の主要部分であるICチップ2とアンテナ基板1との接続状態を示す断面図である。図8において、実施の形態1の図2におけるのと同じ符号は同一構成要素を指しているので、詳しい説明は省略する。
本実施の形態においては、実施の形態1の場合の図2に示す構造に加えて、ICチップ2の裏面に金属製の補強板8を補強板用接着剤10にて接着している。アンテナ基板1については、実施の形態1の場合と同様に、ICチップ2の存在領域内で直線状の見通しができないように溝1bを折り曲げる構造により、補強がなされている。このアンテナ基板1の補強と補強板8による補強とで、ICチップ2に対して実質的に両面補強を施している。これにより、特にICチップ2裏面からの点圧に対して強いインレットを実現できる。
図8に示すインレットA2を実施の形態1の場合と同様にコア材4および表面保護シート6,7を用いてラミネートして非接触ICカードを作製した場合には、両面補強板タイプと同じ効果が得られ、しかも、従来例の図14とは異なり、インレットの出っ張りは片面のみですむ。すなわち、強度の高い非接触ICカードを容易に作製することができる。
(実施の形態3)
図9は本発明の実施の形態3の非接触ICカード用インレットの主要部分であるICチップ2とアンテナ基板1との接続状態を示す断面図である。図9において、実施の形態1の図2におけるのと同じ符号は同一構成要素を指しているので、詳しい説明は省略する。
本実施の形態においては、実施の形態1の場合の図2に示す構造に対して、ICチップ2をアンテナ基板1に接合するための接着剤3として、NCP(非導電ペースト)を使用している。NCPは、ACF(異方性導電フィルム)やACP(異方性導電性ペースト)と違って、樹脂中に導電粒子が無い。そのため、ICチップ2のバンプ2aとアンテナ基板1の電極1aとの電気的接合を図るためには、ICチップ2をアンテナ基板1に押し付けて、バンプ2aを電極1aに喰い込ませている。1a″は喰い込みにより変形した電極1aの膨出部、1″は同じく喰い込みにより変形したアンテナ基板1の膨出部である。食い込みの結果として、電極1aとICチップ2との隙間寸法tが小さなものとなり、アンテナ基板1の補強の効果が増す。アンテナ基板1自体については、実施の形態1の場合と同様に、ICチップ2の存在領域内で直線状の見通しができないように溝1bを折り曲げる構造により、補強がなされている。以上の相乗により、さらに強度の高いインレットを実現できる。
図9に示すインレットA3を実施の形態1の場合と同様にコア材4および表面保護シート6,7を用いてラミネートして非接触ICカードを作製した場合には、補強されたアンテナ基板3の電極1aが図14に示す従来例の補強板9の役割を果たし、カード表面(ICチップ裏面)からの落下衝撃に対して強い非接触ICカードを実現できる。
なお、上記の実施の形態の説明では、直線状の見通しができない溝の折り曲げ形状につき、直角の折り曲げの場合のみを図示したが、その折り曲げの角度は、所要の効果を発揮する限りにおいて任意であり、鈍角でも鋭角でもよい。また、折り曲げは1回だけでなく、2回以上でもよい。また、単に屈折的な折り曲げに限る必要はなく、曲線的に折り曲げるのでもよい。
なお、上記説明では、補強板を片面のみ構成した場合を述べたが、さらに物理的強度が必要な場合は、同じ厚みで従来より強度の強い両面補強板構成にすることもできる。
また、非接触ICカードの部分品のインレットとして説明したが、薄型のタグ、あるいは、ICカードと同等の機能をもつ商品にも適用できることはいうまでも無い。
本発明の非接触ICカード用インレットは、身分証明のためのIDカード、テレホンカードのようなプリペイドカード、キャシュカード、定期券等に有用である。
本発明の実施の形態1における非接触ICカード用インレットの電極パターンとICチップの配置を示す平面図 本発明の実施の形態1における非接触ICカード用インレットのICチップとアンテナ基板との接続を示す断面図 本発明の実施の形態1における非接触ICカード用インレットの効果の説明図 実施の形態1のインレットを用いて作製された非接触ICカードの一例を示す断面図 実施の形態1の変形の形態の非接触ICカード用インレットの電極パターンとICチップの配置を示す平面図 図5の非接触ICカード用インレットの効果の説明図 実施の形態1のさらに別の変形の形態の非接触ICカード用インレットの電極パターンとICチップの配置を示す平面図 本発明の実施の形態2における非接触ICカード用インレットのICチップとアンテナ基板との接続を示す断面図 本発明の実施の形態3における非接触ICカード用インレットのICチップとアンテナ基板との接続を示す断面図 従来の非接触ICカード用インレットの構成例を示すための要部の平面図 従来の非接触ICカード用インレットの構成例を示すための要部の断面図 従来のインレットを内蔵する非接触ICカードの構成例を示す断面図 従来の非接触ICカード用インレットの課題の説明図 別の従来の非接触ICカード用インレットの構成例を示すための要部の断面図
符号の説明
A1〜A5 インレット
1 アンテナ基板
1a 電極
1a′ 金属部分
1b 溝
2 ICチップ
2a バンプ
3 接着剤
4,5 コア材
6,7 表面保護用シート
8,9 補強板
10 補強板用接着剤

Claims (4)

  1. コイルアンテナおよび電極を有するアンテナ基板と、
    前記アンテナ基板の前記電極に対してフェースダウンで電気的に接合されたICチップとを備え、
    前記アンテナ基板の前記電極のパターンは、電極間の溝の形状が前記ICチップの存在領域内で少なくとも一方向に沿っては直線的見通し不可の折り曲げ状態に形成されていることを特徴とする非接触ICカード用インレット。
  2. さらに、前記ICチップの裏面に接着された補強板を備えている請求項1記載の非接触ICカード用インレット。
  3. 前記アンテナ基板の前記電極に対する前記ICチップの電気的接合は、前記ICチップのバンプが前記電極に圧着喰い込みされ、前記ICチップと前記アンテナ基板とが非導電ペーストで接着されている請求項1または請求項2に記載の非接触ICカード用インレット。
  4. 請求項1から請求項3までのいずれかに記載の非接触ICカード用インレットを内蔵していることを特徴とする非接触ICカード。
JP2004110930A 2004-04-05 2004-04-05 非接触icカード用インレットおよび非接触icカード Pending JP2005293460A (ja)

Priority Applications (1)

Application Number Priority Date Filing Date Title
JP2004110930A JP2005293460A (ja) 2004-04-05 2004-04-05 非接触icカード用インレットおよび非接触icカード

Applications Claiming Priority (1)

Application Number Priority Date Filing Date Title
JP2004110930A JP2005293460A (ja) 2004-04-05 2004-04-05 非接触icカード用インレットおよび非接触icカード

Publications (1)

Publication Number Publication Date
JP2005293460A true JP2005293460A (ja) 2005-10-20

Family

ID=35326289

Family Applications (1)

Application Number Title Priority Date Filing Date
JP2004110930A Pending JP2005293460A (ja) 2004-04-05 2004-04-05 非接触icカード用インレットおよび非接触icカード

Country Status (1)

Country Link
JP (1) JP2005293460A (ja)

Cited By (2)

* Cited by examiner, † Cited by third party
Publication number Priority date Publication date Assignee Title
JP2007148672A (ja) * 2005-11-25 2007-06-14 Matsushita Electric Ind Co Ltd Icモジュールおよび非接触icカード
JP2012053831A (ja) * 2010-09-03 2012-03-15 Murata Mfg Co Ltd Rficチップの実装構造

Citations (8)

* Cited by examiner, † Cited by third party
Publication number Priority date Publication date Assignee Title
JPS62185072U (ja) * 1986-05-15 1987-11-25
JPS63148466U (ja) * 1987-03-20 1988-09-29
JPS63194773U (ja) * 1987-06-04 1988-12-15
JPH01115583U (ja) * 1988-01-29 1989-08-03
JPH07263587A (ja) * 1994-03-22 1995-10-13 Toshiba Corp 半導体パッケージ
JP2001143036A (ja) * 1999-11-17 2001-05-25 Dainippon Printing Co Ltd 非接触データキャリアとそれに使用するicチップおよび非接触データキャリアへのicチップ装着方法
JP2001237260A (ja) * 2000-02-22 2001-08-31 Hitachi Ltd 半導体装置
JP2002141369A (ja) * 2000-11-02 2002-05-17 Omron Corp 半導体装置およびデータキャリア装置

Patent Citations (8)

* Cited by examiner, † Cited by third party
Publication number Priority date Publication date Assignee Title
JPS62185072U (ja) * 1986-05-15 1987-11-25
JPS63148466U (ja) * 1987-03-20 1988-09-29
JPS63194773U (ja) * 1987-06-04 1988-12-15
JPH01115583U (ja) * 1988-01-29 1989-08-03
JPH07263587A (ja) * 1994-03-22 1995-10-13 Toshiba Corp 半導体パッケージ
JP2001143036A (ja) * 1999-11-17 2001-05-25 Dainippon Printing Co Ltd 非接触データキャリアとそれに使用するicチップおよび非接触データキャリアへのicチップ装着方法
JP2001237260A (ja) * 2000-02-22 2001-08-31 Hitachi Ltd 半導体装置
JP2002141369A (ja) * 2000-11-02 2002-05-17 Omron Corp 半導体装置およびデータキャリア装置

Cited By (3)

* Cited by examiner, † Cited by third party
Publication number Priority date Publication date Assignee Title
JP2007148672A (ja) * 2005-11-25 2007-06-14 Matsushita Electric Ind Co Ltd Icモジュールおよび非接触icカード
JP2012053831A (ja) * 2010-09-03 2012-03-15 Murata Mfg Co Ltd Rficチップの実装構造
US8546927B2 (en) 2010-09-03 2013-10-01 Murata Manufacturing Co., Ltd. RFIC chip mounting structure

Similar Documents

Publication Publication Date Title
KR100927881B1 (ko) 향상된 전자적 모듈 강도를 구비한 비접촉식 또는 복합접촉-비접촉 스마트 카드
US5581445A (en) Plastic integrated circuit card with reinforcement structure for protecting integrated circuit module
CN104680227B (zh) 芯片卡模块装置、芯片卡及其制造方法
US7857202B2 (en) Method and apparatus for a contactless smartcard incorporating a pressure sensitive switch
US20080042852A1 (en) RFID tag
KR100760504B1 (ko) Rfid 태그
CN104021413A (zh) 芯片布置和用于制造芯片布置的方法
JP2001043342A (ja) チップカード
JP2005293460A (ja) 非接触icカード用インレットおよび非接触icカード
US20050179122A1 (en) IC card
JP4813160B2 (ja) Icモジュールおよび非接触icカード
JP2004264983A (ja) 非接触icカード
KR20070025872A (ko) 아이씨 카드와 아이씨 카드 제조 방법
JP6451298B2 (ja) デュアルインターフェイスicカード、及び、当該icカードに用いられるicモジュール
JP3902969B2 (ja) Rf−idメディア
JP2006127254A (ja) 携帯可能電子装置
JP2006074044A (ja) チップモジュール
JPH11134458A (ja) Icカード
KR20230119921A (ko) 인레이 시트 및 그를 구비한 신용카드
JP2006195618A (ja) Icモジュール及びそれを用いたicカード
CN210348510U (zh) 指纹识别模组及电子产品
JP2000242761A (ja) カード型電子回路基板
JP2004118502A (ja) コンビネーションicカード
JP2014164616A (ja) Icモジュール
JP2006209473A (ja) Icカード

Legal Events

Date Code Title Description
A621 Written request for application examination

Free format text: JAPANESE INTERMEDIATE CODE: A621

Effective date: 20070207

A131 Notification of reasons for refusal

Free format text: JAPANESE INTERMEDIATE CODE: A131

Effective date: 20100209

A02 Decision of refusal

Free format text: JAPANESE INTERMEDIATE CODE: A02

Effective date: 20100601