JP2005292242A - 撮像装置および撮像装置の製造方法 - Google Patents

撮像装置および撮像装置の製造方法 Download PDF

Info

Publication number
JP2005292242A
JP2005292242A JP2004103754A JP2004103754A JP2005292242A JP 2005292242 A JP2005292242 A JP 2005292242A JP 2004103754 A JP2004103754 A JP 2004103754A JP 2004103754 A JP2004103754 A JP 2004103754A JP 2005292242 A JP2005292242 A JP 2005292242A
Authority
JP
Japan
Prior art keywords
imaging
circuit board
unit
lens
optical system
Prior art date
Legal status (The legal status is an assumption and is not a legal conclusion. Google has not performed a legal analysis and makes no representation as to the accuracy of the status listed.)
Pending
Application number
JP2004103754A
Other languages
English (en)
Inventor
Takahiko Yagi
能彦 八木
Tomoaki Kuroishi
友明 黒石
Current Assignee (The listed assignees may be inaccurate. Google has not performed a legal analysis and makes no representation or warranty as to the accuracy of the list.)
Panasonic Holdings Corp
Original Assignee
Matsushita Electric Industrial Co Ltd
Priority date (The priority date is an assumption and is not a legal conclusion. Google has not performed a legal analysis and makes no representation as to the accuracy of the date listed.)
Filing date
Publication date
Application filed by Matsushita Electric Industrial Co Ltd filed Critical Matsushita Electric Industrial Co Ltd
Priority to JP2004103754A priority Critical patent/JP2005292242A/ja
Publication of JP2005292242A publication Critical patent/JP2005292242A/ja
Pending legal-status Critical Current

Links

Images

Landscapes

  • Lens Barrels (AREA)
  • Solid State Image Pick-Up Elements (AREA)
  • Transforming Light Signals Into Electric Signals (AREA)

Abstract

【課題】撮像装置の光学系と撮像面との間の距離、および、光学系の撮像面に対する傾きを精度良く決定する。
【解決手段】撮像装置1は、撮像部2、撮像部2が実装される立体回路基板3、入射した光を撮像部2に導くレンズ部4、および、レンズ保持部5を備える。レンズ保持部5は、レンズ位置基準穴52aとレンズ位置基準部36aとを嵌め合わせ、他のレンズ位置基準穴と他のレンズ位置基準部とを嵌め合わせることにより位置決めを行いつつ立体回路基板3に取り付けられる。このとき、立体回路基板3の複数の第1基準面361とレンズ保持部5の複数の第2基準面521とが当接することにより、レンズ保持部5に保持されるレンズ部4と立体回路基板3に精度良く実装された撮像部2の撮像面211との間の距離、および、レンズ部4の撮像面211に対する傾きを精度良く決定することができる。
【選択図】図3

Description

本発明は、撮像装置およびその製造方法に関する。
従来より、ビデオカメラや携帯型電話機用カメラ等の撮像装置を小型化するために、CCD(Charge Coupled device)チップ等の撮像素子が用いられている。例えば、特許文献1では、ガラス基板上実装されたCCDチップを、抵抗器等が内蔵された多層セラミック基板のパッケージにより覆う技術が開示されている。
近年、このような撮像装置に対して、装置の小型化に加えて撮像精度の向上が求められており、撮像素子に光を導くレンズと撮像素子との位置合わせを高精度に行うための様々な技術が提案されている。例えば、撮像素子が実装された回路基板上にレンズを保持する鏡筒を紫外線硬化樹脂を介して仮配置し、鏡筒を微小移動させつつ焦点合わせを行い、焦点が合った時点で紫外線を照射して鏡筒を回路基板上に固定する方法が知られている。
特許文献2では、レンズが嵌め込まれた立体プリント基板に撮像素子を実装することにより、撮像素子とレンズの光軸との位置ずれを少なくする技術が開示されている。特許文献3では、立体プリント基板の撮像素子収容部およびレンズマウント部に撮像素子およびレンズを取り付けることにより、撮像素子の中心とレンズの光学中心(光軸)との位置合わせを精度良く実現する技術が開示されている。
また、特許文献4では、撮像素子を含む集積回路が実装される立体プリント基板の端子部を集積回路のバンプに当接させることによりレンズの光軸方向において弾性変形させ、その状態で接着剤を注入して集積回路を固定する技術が開示されている。また、このとき、位置決め用の突起により集積回路の光軸方向位置のセッティングを容易とする手法も開示されている。
特開平6−5828号公報 特開2001−245186号公報 特開2002−280535号公報 特開2001−333332号公報
ところで、撮像装置の撮像精度を向上させるためには、レンズの光軸に垂直な平面におけるレンズの光軸と撮像素子との相対位置を合わせるだけではなく、光軸方向におけるレンズと撮像素子の撮像面との間の距離も精度良く決定する必要がある。また、レンズと撮像面とが平行になるように、撮像面に対するレンズの傾きを精度良く決定する必要もある。
しかしながら、特許文献1に開示される装置では、レンズ以外の部分の小型化はなされるものの、レンズを含めた小型化およびレンズと撮像素子との相対的な位置関係に対する対策についてはなされていない。また、特許文献2に開示される装置では、レンズおよび撮像素子が同一の胴部に取り付けられるため、レンズと撮像素子との間の距離をある程度精度よく決定することができるが、レンズの取付と撮像素子の実装とが1つの胴部に対して行われるため、装置製造工程の管理が煩雑となる。
一方、特許文献3に開示される装置では、光軸に垂直な平面におけるレンズの光軸と撮像素子との位置合わせを精度良く行うことができるが、レンズを保持するレンズキャップの内周全体がレンズ筒部の外周に嵌め合わされるため、レンズキャップとレンズ筒部との間に接着剤が挟まる等の原因でレンズ筒部の上面とレンズキャップの対向面とが非接触状態となり、レンズの撮像面からの距離を精度よく決定することができなくなってしまう。
特許文献4に開示される装置では、特許文献2の場合と同じく、装置製造工程の管理が煩雑となる。なお、レンズによる像の形成状態を測定しながら集積回路とレンズとの間の距離や集積回路の傾きを調整した場合は、レンズと集積回路との位置関係を理想的なものとすることができるが、集積回路実装時のこのような制御は煩雑であることから、撮像装置の製造に時間がかかることとなる。また、レンズを保持する鏡筒を回路基板に対して位置決めしつつ紫外線硬化樹脂を介して接合する手法が採用される場合においても、同様の煩雑な制御が必要となり、製造に時間を要することとなる。
本発明は、上記課題に鑑みなされたものであり、撮像装置の光学系と撮像面との間の距離、および、光学系の撮像面に対する傾きを容易に精度良く決定することを目的としている。
請求項1に記載の発明は、撮像装置であって、撮像面を有する撮像部と、前記撮像部が実装される回路基板と、入射した光を前記撮像部の前記撮像面に導く光学系と、前記光学系を保持するとともに前記回路基板に取り付けられた光学系保持部とを備え、前記回路基板が、前記撮像面に平行な第1基準面を備え、前記光学系保持部が、前記第1基準面に当接することにより、前記光学系の前記回路基板からの距離、および、前記回路基板に対する傾きを決定する第2基準面を備える。
請求項2に記載の発明は、請求項1に記載の撮像装置であって、前記回路基板が、前記第1基準面に垂直な第3基準面をさらに備え、前記光学系保持部が、前記第3基準面に当接することにより、前記回路基板に対する前記光学系の光軸の位置を決定する第4基準面をさらに備える。
請求項3に記載の発明は、請求項1または2に記載の撮像装置であって、前記回路基板が、前記撮像部と当接して、前記回路基板上の前記撮像部が実装される面と前記撮像面との間の距離、および、前記回路基板に対する前記撮像面の傾きを決定する実装基準面をさらに備える。
請求項4に記載の発明は、請求項1ないし3のいずれかに記載の撮像装置であって、前記撮像部が、前記回路基板に実装されるガラス基板と、前記撮像面を有し、前記撮像面を前記ガラス基板に対向させて前記ガラス基板に実装される撮像デバイスとを備える。
請求項5に記載の発明は、請求項1ないし4のいずれかに記載の撮像装置であって、前記回路基板が、前記光学系の光軸に沿って貫通する開口部をさらに備え、前記開口部内に前記撮像部の少なくとも一部を配置しつつ前記撮像部が実装される。
請求項6に記載の発明は、請求項1ないし5のいずれかに記載の撮像装置であって、前記回路基板が、前記回路基板上の前記撮像部が実装される面とは反対側の面に、前記撮像部の電極部と電気的に接続される配線をさらに備える。
請求項7に記載の発明は、請求項1ないし6のいずれかに記載の撮像装置であって、前記回路基板が、モールド成形された立体回路基板である。
請求項8に記載の発明は、請求項6または7に記載の撮像装置であって、前記回路基板の前記光学系とは反対側の面に接続されるもう1つの回路基板と、前記撮像部の前記撮像面とは反対側の領域において前記光学系の光軸に沿って前記回路基板または前記もう1つの回路基板に実装され、前記撮像部からの信号を処理する電子部品とをさらに備える。
請求項9に記載の発明は、撮像装置の製造方法であって、a) 撮像面を有する撮像部を回路基板に実装する工程と、b) 前記撮像面に平行な前記回路基板の第1基準面を、入射した光を前記撮像面に導く光学系を保持する光学系保持部の第2基準面に当接することにより、前記光学系の前記回路基板からの距離、および、前記回路基板に対する傾きを決定しつつ前記光学系保持部を前記回路基板に取り付ける工程とを備える。
請求項10に記載の発明は、請求項9に記載の撮像装置の製造方法であって、c) 前記a)工程と前記b)工程との間に、前記回路基板を撮像して前記回路基板に対する前記光学系の光軸の位置を決定する工程をさらに備える。
請求項11に記載の発明は、請求項9または10に記載の撮像装置の製造方法であって、前記a)工程の前に、d) 前記撮像面を有する撮像デバイスを、前記撮像面を対向させてガラス基板に実装して前記撮像部を組み立てる工程をさらに備え、前記a)工程において、前記ガラス基板と前記回路基板とが接合される。
本発明では、光学系と撮像面との間の距離、および、光学系の撮像面に対する傾きを容易に精度良く決定することができる。請求項2および10の発明では、光学系の光軸の撮像面に対する相対位置を精度良く決定することができる。請求項3の発明では、光学系と撮像面との間の距離、および、光学系の撮像面に対する傾きをさらに精度良く決定することができる。
また、請求項4および11の発明では、撮像デバイスの回路基板への実装を容易かつ精度良く行うことができる。請求項5の発明では、撮像装置を薄型化することができる。請求項6の発明では、撮像装置を他の基板に容易に実装することができる。請求項7の発明では、撮像装置を構成する部品点数を削減するとともに、撮像装置の製造工程を簡素化することができる。請求項8の発明では、撮像装置の光軸に沿う方向における投影面積を縮小することができる。
図1は、本発明の第1の実施の形態に係る撮像装置1の構成を示す正面図であり、一部を断面にて示している。撮像装置1は、撮像面211を有する撮像部2、撮像部2が実装されるモールド成形された立体回路基板(MID(Molded Interconnect Device))3、入射した光を撮像部2に導くレンズ部4、および、レンズ部4を保持するとともに立体回路基板3に取り付けられたレンズ保持部5を備える。
撮像部2は、立体回路基板3に実装されるガラス基板22、および、撮像面211を有するCCDチップ等の撮像デバイス21を備える。撮像デバイス21は、メッキにより形成されたメッキバンプ、または、ワイヤボンディング法により形成されたスタッドバンプ(以下、単に「バンプ」という。)212を備え、ガラス基板22の(−Z)側の主面に撮像面211を対向させてガラス基板22の金電極上にバンプ212を介してフリップチップ実装される。撮像デバイス21の周囲は封止剤213により封止されている。また、ガラス基板22は立体回路基板3の電極と接合される金のバンプ221を備え、バンプ221の(−Z)側の先端はZ方向に対して垂直な平面になるように予め精度良く押し潰されている(いわゆる、レベリングが施されている。)。
立体回路基板3は、ポリフタルアミド(PPA)樹脂により形成され、底部にZ方向に沿って貫通する開口部31が設けられる凹部32を備える。図2は、撮像部2および立体回路基板3を示す平面図である。図2に示すように、立体回路基板3の表面には配線33が設けられる。配線33は、モールド成形された基板の表面上に無電解メッキ(または、蒸着)により形成された銅薄膜に対して、配線として残置する部位とそれ以外の部位との境界線(配線33のエッジ)をレーザでパターニングすることにより両部位を電気的に分離させ、残置する部位のみに電解メッキを施した後に全面エッチングを行うことにより形成される。なお、図2では図示の便宜上、配線33の数を実際より少なく描いている。
撮像部2は、図1に示すように、撮像部2の一部である撮像デバイス21を開口部31内に配置しつつ凹部32の底面322に実装され、バンプ221を介して配線33(図2参照)と電気的に接続される。立体回路基板3は、撮像部2が実装される底面322とは反対側の面(立体回路基板3の(−Z)側の面)34に、配線33と電気的に接続される配線をさらに備える。すなわち、撮像デバイス21は、バンプ212を介してガラス基板22上に設けられる配線に電気的に接続され、さらに、撮像部2の電極部であるバンプ221、配線33、および、面34に設けられる配線を介して撮像装置1の外部の回路基板等と電気的に接続される。なお、図1では、ガラス基板22および立体回路基板3に形成される配線の図示を省略している。
レンズ部4は、撮像デバイス21の撮像面211に被写体の像を形成するレンズ群、および、赤外線の透過を防止する赤外線フィルタを備え、レンズ保持部5の中央部にZ方向に沿って設けられた貫通部内に保持される。レンズ保持部5は、レンズ部4の光軸がZ方向に沿うように(すなわち、撮像面211に垂直になるように)立体回路基板3の(+Z)側に接着剤53により固着されている。撮像装置1では、レンズ保持部5の(+Z)側の開口51からレンズ部4に入射した光が、ガラス基板22を透過して撮像デバイス21の撮像面211に導かれる。
なお、撮像装置1では、レンズ部4に赤外線フィルタが設けられる代わりに、ガラス基板22に赤外線の透過を防止するコーティング等の加工が施されてもよい。また、図1では図示を簡略化しているが、実際にはレンズ保持部5は複数の部材からなり、これらの部材を組み合わせることでレンズ部4を保持した状態とされて予め準備される。
図3は、立体回路基板3上の撮像部2およびレンズ保持部5が取り付けられる部位(取付部)近傍を拡大して示す図である。図3では、図示の都合上、撮像部2、レンズ保持部5および立体回路基板3の(−X)側の部位のそれぞれを分離して示している。なお、図3に示すこれらの構成の形状は、後述のレンズ位置基準穴52を除いて左右(X方向において)対称とされる。なお、撮像面211の中心が撮像デバイス21の中心からずらして設けられている場合等、図3に示す構成が左右対称にならない場合もある。
図3に示すように、立体回路基板3の凹部32の底面322には(+Z)側に突出する突起部35が設けられ(突起部35は、バンプ221の配列に合わせてY方向に長く形成されてもよく、各バンプ221に個別に対向するように同一の高さで複数個形成されてもよい。)、突起部35の(+Z)側の端面351は、Z方向に対して垂直(以下、「水平」という。)になるように精度良く形成されており、撮像部2と接合される電極がその上に設けられる。撮像部2が立体回路基板3に実装される際には、端面351が撮像部2のバンプ221に当接することにより、立体回路基板3の底面322と撮像面211との間の距離、および、立体回路基板3の底面322に対する撮像面211の傾きが決定されることから、以下、端面351を「実装基準面」という。撮像部2は、撮像面211が水平になるように立体回路基板3に実装される。
立体回路基板3は、凹部32の周囲の水平な面(以下、「上面」という。)360上に3つの円柱状の突起部であるレンズ位置基準部36a〜36c(実際には図2に示すように配置される。)を備え、レンズ位置基準部36a〜36cのぞれぞれは、(+Z)側の端面361、および、端面361に垂直な側面362を備える。端面361は水平、すなわち、立体回路基板3の実装基準面351、および、立体回路基板3に実装された撮像部2の撮像面211に平行になるように精度良く形成されている。
図4は、レンズ保持部5を(−Z)側から(+Z)方向を向いて見た底面図である。図3および図4に示すように、レンズ保持部5は、レンズ位置基準部36a,36bとの嵌め合いにより立体回路基板3に対するレンズ保持部5の相対的な位置が決定される2つのレンズ位置基準穴52a,52bおよびレンズ位置基準部36cが挿入されるレンズ位置基準穴52cを(−Z)側の面に備える。(−X)側のレンズ位置基準穴52aは、レンズ位置基準部36aと等しい直径を有する円柱状とされ、Z方向の深さはレンズ位置基準部36aの高さより小さくされる。また、(+X)側のレンズ位置基準穴52bは、レンズ保持部5の立体回路基板3に対する取り付けを適切に行うために、Y方向の幅がレンズ位置基準部36bの直径と等しいX方向に長い長穴となっており、深さはレンズ位置基準穴52aと等しくされる。(+Y)側のレンズ位置基準穴52cは直径がレンズ位置基準部36cよりも十分に大きく、深さはレンズ位置基準穴52aと等しくされる。
図3に示すように、レンズ位置基準穴52aは、(+Z)側の底面521および側面522を備える。底面521はレンズ保持部5に保持されるレンズ部4の光軸に対して垂直になるように精度良く形成され、側面522は底面521に対して垂直になるように精度よく形成される。レンズ位置基準穴52bも精度よく形成された底面521および側面522を備え、レンズ位置基準穴52cは底面521のみが精度よく形成される。
レンズ保持部5が立体回路基板3に取り付けられる際には、レンズ位置基準穴52a〜52cの底面521がレンズ位置基準部36a〜36cの端面361に当接することにより、レンズ保持部5に保持されるレンズ部4の立体回路基板3からの距離、および、立体回路基板3に対する傾きが決定される。以下、レンズ位置基準部36の端面361、および、レンズ位置基準穴52の底面521をそれぞれ、「第1基準面」361および「第2基準面」521という。
また、レンズ位置基準穴52aの側面522のほぼ全周がレンズ位置基準部36aの側面362に当接し、レンズ位置基準穴52bの側面522の(±Y)側の部位がレンズ位置基準部36bの側面362に当接することにより、立体回路基板3に対するレンズ部4の光軸の水平方向の位置が決定されることから、以下、レンズ位置基準部36a,36bの側面362、および、レンズ位置基準穴52a,52bの側面522をそれぞれ、「第3基準面」362および「第4基準面」522という。
図5は、撮像装置1の製造工程を示す図である。撮像装置1が製造される際には、まず、図3に示すガラス基板22の(−Z)側の主面が上に向けられた状態で、バンプ212がガラス基板22の電極に当接するように撮像デバイス21が載置され、撮像デバイス21がガラス基板22に対して押圧されつつ超音波振動が付与されることにより、バンプ212とガラス基板22の電極とが電気的に接合される。これにより、撮像デバイス21が撮像面211をガラス基板22の(−Z)側の主面に平行に対向させてガラス基板22に実装(いわゆる、フリップチップ実装)される(ステップS11)。なお、撮像デバイス21のガラス基板22への実装は、クリーンレベルの高い環境下にて行われ、かつ、フリップチップ実装装置を用いて非常に精度よく行われる。
続いて、撮像デバイス21とガラス基板22との間の隙間に光硬化性樹脂等を含む封止剤213が注入され、予め撮像面211を含む撮像デバイス21の中央部の領域にガラス基板22を介して照射されている光により、封止剤213が撮像面211に到達する前に撮像デバイス21の周辺部において硬化し、撮像デバイス21とガラス基板22との間の隙間が封止され、撮像面211が外気から遮断される(ステップS12)。このように、撮像部2では、ガラス基板22を利用することにより撮像面211が容易に封止され、以後の製造工程における撮像面211に対するダストや湿気等の影響(特に、後述するガラス基板22の立体回路基板3への実装時、および、レンズ保持部5の立体回路基板3への取り付け時における影響)を容易に排除することができる。また、光を透過する封止剤が用いられる場合には、撮像面211を含めて撮像デバイス21とガラス基板22との間の隙間の全ての領域に封止剤が注入されて撮像面211が封止されてもよい。
撮像部2が準備されると、次に、図3に示すように立体回路基板3の実装基準面351の電極上に導電性粒子が内部に均一に分散された絶縁性樹脂により形成される異方導電性樹脂フィルム(以下、「ACF(Anisotropic Conductive Film)」という。)352が貼り付けられる。続いて、立体回路基板3に設けられたアライメントマークが撮像され、撮像により取得された画像データに基づいて撮像部2の立体回路基板3に対する位置決めが行われた後、撮像部2がACF352上から押圧されて加熱される。これにより、立体回路基板3に撮像部2が固着されるとともにバンプ221が実装基準面351上の電極と電気的に接合され、立体回路基板3に撮像部2が実装される(ステップS13)。
このとき、バンプ221の(−Z)側の面と実装基準面351との間においてACF352は1μm〜2μm(マイクロメートル)の厚さまで押しつぶされ、ガラス基板22の(−Z)側の主面が実装基準面351と平行になるように精度良く実装される。撮像面211も実装基準面351に平行となり、また、撮像面211の立体回路基板3からの距離(例えば、基準位置を立体回路基板3の底面322とした場合、撮像面211と底面322との間の距離)が精度良く決定される。なお、撮像部2の実装時における加熱温度は、撮像デバイス21の耐熱温度(通常、180℃程度)を考慮して決定される。
撮像部2の立体回路基板3への実装が完了すると、立体回路基板3のレンズ位置基準部36を除く上面360上に接着剤53が塗布される。続いて、レンズ部4を保持したレンズ保持部5が、レンズ位置基準穴52a〜52cとレンズ位置基準部36a〜36cとを嵌め合わせることにより位置決めが行われつつ立体回路基板3に取り付けられる(ステップS14)。
このとき、既述のように3つのレンズ位置基準部36a〜36cの第1基準面361と3つのレンズ位置基準穴52a〜52cの第2基準面521とが当接することにより、第2基準面521に垂直なレンズ部4の光軸は第1基準面361に対しても垂直となり、レンズ保持部5に保持されるレンズ部4の立体回路基板3に対する傾きが精度良く決定される。また、レンズ部4の立体回路基板3からの距離(例えば、レンズ部4の(−Z)側の端部と立体回路基板3の底面322との間のZ方向の距離)が精度良く決定される。さらに、レンズ位置基準部36a,36bの第3基準面362とレンズ位置基準穴52a,52bの第4基準面522とが当接することにより、レンズ部4の光軸の立体回路基板3に対するXY平面における相対位置が精度良く決定される。その後、接着剤53が硬化してレンズ保持部5が立体回路基板3に固定されて撮像装置1の製造が完了する。
以上に説明したように、撮像装置1では、レンズ保持部5を立体回路基板3に取り付ける際に、第1基準面361と第2基準面521とを当接することにより、レンズ保持部5に保持されるレンズ部4と立体回路基板3に精度良く実装された撮像部2の撮像面211との間の距離、および、レンズ部4の撮像面211に対する傾きを容易に、すなわち、複雑な制御を伴うことなく、精度良く決定することができる。また、第3基準面362と第4基準面522とを当接することにより、撮像面211に対するレンズ部4の光軸の水平方向の相対位置を精度良く決定することができる。
さらに、撮像装置1では、撮像部2が第1基準面361に平行な実装基準面351に当接して立体回路基板3に精度良く実装されることにより、レンズ部4と撮像面211との間の距離、および、レンズ部4の撮像面211に対する傾きをさらに精度良く決定することができる。また、平面度が高いガラス基板22を介して撮像デバイス21を立体回路基板3に実装することにより、撮像デバイス21の立体回路基板3への実装を容易かつ精度良く行うことができる。これにより、撮像面211とレンズ部4との相対的位置関係の精度を容易に向上することができる。さらには、ガラス基板22の熱膨張係数(約8×10−6/℃)は樹脂基板の熱膨張係数(約25×10−6/℃)に比べて小さいため、撮像デバイス21の接合部への熱応力を小さくすることができ、撮像デバイス21の接合信頼性を向上することができる。
なお、撮像デバイス21とガラス基板22との間は必ずしも樹脂を用いて完全に封止される必要はなく、完全な封止が行われない場合であっても撮像デバイス21とガラス基板22とが近接するため、ステップS13以降の撮像装置1の製造環境のクリーンレベルを極めて高く設定する必要はない。
撮像装置1では、立体回路基板3がモールド成形されているため、撮像装置1を構成する部品点数を削減するとともに立体回路基板3の寸法精度を向上することができ、撮像装置1の製造工程を簡素化することができる。また、撮像デバイス21を立体回路基板3の開口部31内に配置しつつ撮像部2が立体回路基板3に実装されることにより、撮像装置1を薄型化(レンズ部4の光軸に沿うZ方向の高さを小さく)することができる。さらには、立体回路基板3の面34に撮像部2と電気的に接続される配線が設けられるため、面34を介して撮像装置1を他の基板に容易に実装することができる。
図6は、第2の実施の形態に係る撮像装置1aの立体回路基板3の取付部近傍を拡大して示す図である。撮像装置1aでは、第1の実施の形態に係る撮像装置1の3つのレンズ位置基準穴52a〜52cの形状が変更される点を除いて図3とほぼ同様であり、以下の説明において同符号を付す。
撮像装置1aでは、3つのレンズ位置基準穴52a〜52cの形状(図6ではレンズ位置基準穴52aのみを図示)は、レンズ位置基準部36a〜36c(レンズ位置基準部36aのみ図示)よりも大きい直径を有する同一の円柱状とされ、Z方向の深さはレンズ位置基準部36a〜36cの高さより小さくされる。なお、図3の場合と異なり、各レンズ位置基準部36a〜36cの側面362および各レンズ位置基準穴52a〜52cの側面522の精度は余り高くはされない(すなわち、これらの側面は既述の第3基準面や第4基準面としては利用されない。)。
撮像装置1aの製造工程では、図5に示す撮像装置1の製造工程と同様に、撮像デバイス21がガラス基板22に実装されて封止された後、ガラス基板22が立体回路基板3に実装されるが(ステップS11〜S13)、その後のステップS14に係る工程が異なる。ステップS14では、まず、立体回路基板3に設けられたアライメントマークが撮像され、撮像により取得された画像データに基づいてレンズ保持部5に保持されるレンズ部4の光軸の立体回路基板3に対する位置(XY平面における位置)が決定された後、レンズ位置基準穴52a〜52cにレンズ位置基準部36a〜36cが挿入され、レンズ位置基準部36a〜36cの端面である第1基準面361とレンズ位置基準穴52a〜52cの底面である第2基準面521とが当接するようにレンズ保持部5が立体回路基板3に取り付けられる。
これにより、レンズ部4と撮像部2の撮像面211との間の距離、および、レンズ部4の撮像面211に対する傾きが容易に精度良く決定される。また、アライメントマークを利用してレンズ部4の光軸の撮像面211に対する相対位置を精度良く決定することができる。なお、アライメントマークとしては立体回路基板3に形成されたスルーホールが利用されてもよい。
図7は、第3の実施の形態に係る撮像装置1bの立体回路基板3の取付部近傍を拡大して示す図である。撮像装置1bでは、第1の実施の形態に係る撮像装置1からレンズ位置基準穴52a〜52c(図7ではレンズ位置基準穴52aのみを図示)の深さおよびレンズ位置基準部36a〜36c(レンズ位置基準部36aのみを図示)の高さが変更されており、また、突起部35に代えて突起部35bが設けられ、撮像部2のガラス基板22には、バンプ221に代えてボールバンプ221bが設けられる。その他の構成は図3と同様であり、以下の説明において同符号を付す。
レンズ位置基準部36a〜36cおよびレンズ位置基準穴52a〜52cは、撮像装置1に係るもの(図2および図4参照)と同じ横断面の形状を有するが、図7に示すようにレンズ位置基準穴52a〜52cの深さがレンズ位置基準部36a〜36cの高さより大きくされる。また、立体回路基板3の上面360、および、レンズ保持部5が立体回路基板3に取り付けられる際に上面360に対向する面(以下、「取付面」という。)54は、Z方向に対して垂直になるように精度良く平坦に形成されている。
撮像装置1bでは、レンズ保持部5が立体回路基板3に取り付けられる際には、レンズ位置基準部36a〜36cの(+Z)側の端面に接着剤53が塗布された後にレンズ位置基準部36a〜36cとレンズ位置基準穴52a〜52cとが嵌め合わされる。このとき、立体回路基板3の上面360とレンズ保持部5の取付面54とが当接することにより、レンズ保持部5に保持されるレンズ部4の立体回路基板3からの距離、および、立体回路基板3に対する傾きが容易に精度良く決定される。すなわち、上面360および取付面54はそれぞれ、レンズ部4の立体回路基板3からの距離、および、立体回路基板3に対する傾きを決定する第1基準面および第2基準面としての役割を果たす。その結果、レンズ部4と立体回路基板3に精度良く実装された撮像部2の撮像面211との間の距離、および、レンズ部4の撮像面211に対する傾きを精度良く決定することができる。
また、図3の撮像装置1の場合と同様に、レンズ位置基準部36a,36bの側面である第3基準面362とレンズ位置基準穴52a,52bの側面である第4基準面522とが当接することによって、レンズ保持部5に保持されるレンズ部4の光軸の立体回路基板3に対する水平方向の相対位置が精度良く決定される。
図7に示すように、突起部35bは、立体回路基板3の凹部32の底面322上において、撮像部2のボールバンプ221bが接合される部位から外れた位置に設けられ、その上面には電極は形成されない。撮像装置1bにおいて撮像部2が立体回路基板3に実装される際には、底面322の電極上に塗布された銀ペースト等の導電性接着剤上からボールバンプ221bを介してガラス基板22が立体回路基板3に対して押圧される。このとき、ボールバンプ221bが押圧力により変形する(押し潰される)ことによってガラス基板22が突起部35bの(+Z)側の端面である実装基準面351に当接する。この状態で接着剤の硬化が行われ、撮像部2が立体回路基板3に固定される。ガラス基板22を実装基準面351に当接させることにより、撮像部2が立体回路基板3に精度良く実装され、レンズ部4と撮像面211との間の距離、および、レンズ部4の撮像面211に対する傾きをさらに精度良く決定することができる。
図8は、撮像装置1が回路基板6に実装された撮像ユニット10の構成を示す正面図であり、一部を断面にて示している。撮像ユニット10は、第1の実施の形態に係る撮像装置1、撮像装置1の立体回路基板3の(−Z)側(レンズ部4とは反対側)の面34に接続される平板状の回路基板6(フィルム状の回路基板であってもよい。)、撮像装置1の撮像部2からの信号を処理するDSP(Digital Signal Processor)チップ等の電子部品61、および、コンデンサや抵抗等の複数の周辺チップ部品62を備える。撮像装置1の構成は図1と同様であり、以下の説明において同符号を付す。なお、図8では、図示の都合上、周辺チップ部品62を1つのみ描いている。
撮像ユニット10では、回路基板6の(+Z)側の面上にはんだを介して周辺チップ部品62および撮像装置1が実装され、電子部品61がACF等を用いて実装される。なお、撮像装置1の実装では、レンズ部4等の熱による損傷を防止するために、レーザを利用した局所加熱や回路基板6の(−Z)側からの局所加熱等により局所リフローが行われて撮像装置1と回路基板6とが接合される。また、撮像装置1は、銀ペースト等の導電性接着剤を介して低温にて接合されてもよい。電子部品61および周辺チップ部品62は、立体回路基板3および回路基板6の配線を介して撮像部2と電気的に接続される。撮像ユニット10では、レンズ部4の撮像面211からの距離、および、撮像面211に対する傾きが精度良く決定された薄型の撮像装置1が使用されるため、装置の薄型化が実現される。
図9は、撮像ユニットの他の例を示す正面図である。図9に示す撮像ユニット10aは、撮像ユニット10と同様の構成を備えるが、電子部品61が回路基板6の(−Z)側(回路基板6を挟んで撮像装置1とは反対側)の面に実装されている点が異なる。電子部品61は、撮像部2の撮像面211とは(撮像デバイス21の本体部214を挟んで)反対側の領域においてレンズ部4の光軸に沿って回路基板6に実装されるため、回路基板6を小型化することができ、レンズ部4の光軸に沿う方向における撮像ユニット10aの投影面積を縮小することができる。その結果、撮像ユニット10aを備える携帯型電話機等の製品を小型化することができる。なお、周辺チップ部品62も、回路基板6を挟んで撮像装置1の反対側に設けられてもよく、この場合、撮像ユニット10aの投影面積をさらに縮小することができる。なお、撮像ユニット10aが高さ方向(Z方向)に対する小型化が余り求められない場合には、撮像装置1の立体回路基板3は、必ずしもZ方向に沿って貫通する開口部31を備える必要はなく、図10に示すようにキャビティ37を備えていてもよい。
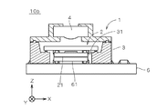
図11は、撮像ユニットのさらに他の例を示す正面図である。図11に示す撮像ユニット10bでは、撮像装置1の立体回路基板3に、図9に示す開口部31よりも深い(Z方向に長い)開口部31が設けられる。その他の構成は図9と同様であり、以下の説明において同符号を付す。撮像ユニット10bの撮像装置1では、撮像デバイス21を開口部31内に配置しつつ撮像部2が立体回路基板3に実装されている。そして、回路基板6の(+Z)側に実装された電子部品61を覆うように撮像装置1が回路基板6上に実装され、電子部品61が開口部31内に配置される。その結果、回路基板6の同一面上に電子部品61および撮像部1を実装しつつレンズ部4の光軸に沿う方向における撮像ユニット10bの投影面積を縮小することができる。
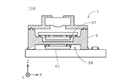
図12および図13は、撮像ユニットのさらに他の例を示す正面図である。これらの撮像ユニットでは、撮像装置1の立体回路基板3に、電子部品61が実装される。
図12に示す撮像ユニット10cでは、立体回路基板3にキャビティ37が設けられ、電子部品61がキャビティ37の底面((+Z)側の面)に実装されており、撮像部2が、撮像デバイス21の一部をキャビティ37内に配置しつつ電子部品61を覆うように立体回路基板3に実装されている。電子部品61は、立体回路基板3の配線を介して撮像部2と電気的に接続されている。
図13に示す撮像ユニット10dにおいても、立体回路基板3に(浅い)キャビティ37が設けられ、電子部品61がキャビティ37の底面の裏面((−Z)側の面)に実装される。電子部品61は、立体回路基板3の配線および底面のビアを介して撮像部2と電気的に接続されている。
撮像ユニット10cおよび10dでは、電子部品61を立体回路基板3に実装して撮像に係る構成をスタック化することにより、電子部品61を撮像部2やレンズ部4等と一体的に取り扱うことができるため、各種電子部品等の回路基板6への実装工程を簡素化することができる。また、電子部品61が撮像部2の撮像面211とは反対側の領域においてレンズ部4の光軸に沿って立体回路基板3に実装されるため、レンズ部4の光軸に沿う方向における撮像ユニットの投影面積を縮小することができる。
以上、本発明の実施の形態について説明してきたが、本発明は上記実施の形態に限定されるものではなく、様々な変更が可能である。
例えば、撮像装置の立体回路基板3は、ポリフタルアミド樹脂以外の他の材料、例えば、エポキシ樹脂やPEEK(ポリエーテル・エーテル・ケトン)樹脂、液晶ポリマー等によりモールド成形された基板であってもよい。また、セラミックの成形基板であってもよく、さらには、複数のセラミック基板を積層して焼成することにより形成された多層セラミック基板でもよい。
撮像部2では、撮像デバイス21のガラス基板22への実装方法は、上述のように超音波を用いる方法には限定されず、例えば、ACFや異方導電性樹脂ペースト(ACP(Anisotropic Conductive Paste))、あるいは、非導電性樹脂フィルム(NCF(Non-Conductive Film))や非導電性樹脂ペースト(NCP(Non-Conductive Paste))を介して撮像デバイス21が装着され、同時に加熱および加圧が行われてバンプ212とガラス基板22の電極とが電気的に接合されてもよい。
撮像部2の立体回路基板3への実装においても、ACF352に代えてACP、NCFあるいはNCPが用いられてもよい。また、撮像部2が立体回路基板3に対して押圧されつつ超音波振動が付与されることにより、撮像部2のバンプ221と立体回路基板3の電極とが電気的に接合されてもよい。
レンズ保持部5の立体回路基板3に対する位置決めは、レンズ位置基準部である突起部がレンズ保持部5の(−Z)側の面に設けられ、立体回路基板3の上面360に設けられたレンズ位置基準穴と嵌め合うことにより行われてもよい。
撮像部2では、撮像デバイス21として、例えば、CMOS(Complementary Metal Oxide Semiconductor)イメージセンサが用いられてもよい。CMOSイメージセンサのチップにDSPが形成されている場合には、撮像部2からの信号を処理する電子部品61が撮像ユニットから省略される場合もある。
また、撮像装置1では、ガラス基板22が省略されて撮像デバイス21が撮像部2として取り扱われてもよく、また、立体回路基板3の代わりに平板状の回路基板が設けられてもよい。例えば、図14に示すように、撮像デバイス21が平板状の回路基板30上にワイヤボンディング法により直接実装されてもよい。この場合、(+Z)側の端面が水平になるように精度良く形成された突起部35が回路基板30に設けられ、撮像デバイス21が突起部35に当接して回路基板30に接着されることにより、回路基板30と撮像面211とのZ方向の位置関係が精度よく決定される。回路基板30上には、例えば、図2および図3の場合と同様のレンズ位置基準部36a〜36cも設けられ、レンズ位置基準部36a〜36cがレンズ保持部5のレンズ位置基準穴に嵌め合わされることにより、レンズ保持部5の位置決めが行われ、レンズ部4と撮像面211との間の距離、および、レンズ部4の撮像面211に対する傾きが精度良く決定される。なお、レンズ位置基準部の個数は、4以上であってもよい。
本発明は、携帯型電話機用カメラやビデオカメラ等に用いられる撮像装置に利用可能である。
第1の実施の形態に係る撮像装置の構成を示す正面図 撮像部および立体回路基板を示す平面図 立体回路基板の取付部近傍を拡大して示す図 立体回路基板の底面図 撮像装置の製造工程を示す図 第2の実施の形態に係る撮像装置の立体回路基板の取付部近傍を拡大して示す図 第3の実施の形態に係る撮像装置の立体回路基板の取付部近傍を拡大して示す図 撮像ユニットの構成を示す正面図 撮像ユニットの他の例を示す正面図 撮像ユニットのさらに他の例を示す図 撮像ユニットのさらに他の例を示す正面図 撮像ユニットのさらに他の例を示す正面図 撮像ユニットのさらに他の例を示す図 撮像装置の他の例を示す図
符号の説明
1,1a,1b 撮像装置
10,10a〜10d 撮像ユニット
2 撮像部
3 立体回路基板
4 レンズ部
5 レンズ保持部
6 回路基板
21 撮像デバイス
22 ガラス基板
31 開口部
34 面
61 電子部品
211 撮像面
221 バンプ
221b ボールバンプ
322 底面
351 実装基準面
361 第1基準面
362 第3基準面
521 第2基準面
522 第4基準面
S11〜S14 ステップ

Claims (11)

  1. 撮像装置であって、
    撮像面を有する撮像部と、
    前記撮像部が実装される回路基板と、
    入射した光を前記撮像部の前記撮像面に導く光学系と、
    前記光学系を保持するとともに前記回路基板に取り付けられた光学系保持部と、
    を備え、
    前記回路基板が、前記撮像面に平行な第1基準面を備え、
    前記光学系保持部が、前記第1基準面に当接することにより、前記光学系の前記回路基板からの距離、および、前記回路基板に対する傾きを決定する第2基準面を備えることを特徴とする撮像装置。
  2. 請求項1に記載の撮像装置であって、
    前記回路基板が、前記第1基準面に垂直な第3基準面をさらに備え、
    前記光学系保持部が、前記第3基準面に当接することにより、前記回路基板に対する前記光学系の光軸の位置を決定する第4基準面をさらに備えることを特徴とする撮像装置。
  3. 請求項1または2に記載の撮像装置であって、
    前記回路基板が、前記撮像部と当接して、前記回路基板上の前記撮像部が実装される面と前記撮像面との間の距離、および、前記回路基板に対する前記撮像面の傾きを決定する実装基準面をさらに備えることを特徴とする撮像装置。
  4. 請求項1ないし3のいずれかに記載の撮像装置であって、
    前記撮像部が、
    前記回路基板に実装されるガラス基板と、
    前記撮像面を有し、前記撮像面を前記ガラス基板に対向させて前記ガラス基板に実装される撮像デバイスと、
    を備えることを特徴とする撮像装置。
  5. 請求項1ないし4のいずれかに記載の撮像装置であって、
    前記回路基板が、前記光学系の光軸に沿って貫通する開口部をさらに備え、
    前記開口部内に前記撮像部の少なくとも一部を配置しつつ前記撮像部が実装されることを特徴とする撮像装置。
  6. 請求項1ないし5のいずれかに記載の撮像装置であって、
    前記回路基板が、前記回路基板上の前記撮像部が実装される面とは反対側の面に、前記撮像部の電極部と電気的に接続される配線をさらに備えることを特徴とする撮像装置。
  7. 請求項1ないし6のいずれかに記載の撮像装置であって、
    前記回路基板が、モールド成形された立体回路基板であることを特徴とする撮像装置。
  8. 請求項6または7に記載の撮像装置であって、
    前記回路基板の前記光学系とは反対側の面に接続されるもう1つの回路基板と、
    前記撮像部の前記撮像面とは反対側の領域において前記光学系の光軸に沿って前記回路基板または前記もう1つの回路基板に実装され、前記撮像部からの信号を処理する電子部品と、
    をさらに備えることを特徴とする撮像装置。
  9. 撮像装置の製造方法であって、
    a) 撮像面を有する撮像部を回路基板に実装する工程と、
    b) 前記撮像面に平行な前記回路基板の第1基準面を、入射した光を前記撮像面に導く光学系を保持する光学系保持部の第2基準面に当接することにより、前記光学系の前記回路基板からの距離、および、前記回路基板に対する傾きを決定しつつ前記光学系保持部を前記回路基板に取り付ける工程と、
    を備えることを特徴とする撮像装置の製造方法。
  10. 請求項9に記載の撮像装置の製造方法であって、
    c) 前記a)工程と前記b)工程との間に、前記回路基板を撮像して前記回路基板に対する前記光学系の光軸の位置を決定する工程をさらに備えることを特徴とする撮像装置の製造方法。
  11. 請求項9または10に記載の撮像装置の製造方法であって、前記a)工程の前に、
    d) 前記撮像面を有する撮像デバイスを、前記撮像面を対向させてガラス基板に実装して前記撮像部を組み立てる工程をさらに備え、
    前記a)工程において、前記ガラス基板と前記回路基板とが接合されることを特徴とする撮像装置の製造方法。
JP2004103754A 2004-03-31 2004-03-31 撮像装置および撮像装置の製造方法 Pending JP2005292242A (ja)

Priority Applications (1)

Application Number Priority Date Filing Date Title
JP2004103754A JP2005292242A (ja) 2004-03-31 2004-03-31 撮像装置および撮像装置の製造方法

Applications Claiming Priority (1)

Application Number Priority Date Filing Date Title
JP2004103754A JP2005292242A (ja) 2004-03-31 2004-03-31 撮像装置および撮像装置の製造方法

Publications (1)

Publication Number Publication Date
JP2005292242A true JP2005292242A (ja) 2005-10-20

Family

ID=35325274

Family Applications (1)

Application Number Title Priority Date Filing Date
JP2004103754A Pending JP2005292242A (ja) 2004-03-31 2004-03-31 撮像装置および撮像装置の製造方法

Country Status (1)

Country Link
JP (1) JP2005292242A (ja)

Cited By (15)

* Cited by examiner, † Cited by third party
Publication number Priority date Publication date Assignee Title
WO2010023788A1 (ja) * 2008-08-26 2010-03-04 パナソニック株式会社 撮像装置
JP2012189910A (ja) * 2011-03-11 2012-10-04 Sharp Corp カメラモジュールおよびその製造方法
WO2012165691A1 (ko) * 2011-06-03 2012-12-06 (주)에이직뱅크 입체 이미지 센서 패키지 및 그 제조방법
JP2014217033A (ja) * 2013-04-30 2014-11-17 株式会社ニコン 撮像装置
JP2015014702A (ja) * 2013-07-05 2015-01-22 株式会社ニコン 撮像ユニット及びその製造方法並びに撮像装置
JP2017523467A (ja) * 2014-07-23 2017-08-17 ヘプタゴン・マイクロ・オプティクス・プライベート・リミテッドHeptagon Micro Optics Pte. Ltd. 縦方向アライメント機構を含む発光体および光検出モジュール
WO2018079644A1 (ja) * 2016-10-27 2018-05-03 京セラ株式会社 撮像素子実装用基体、撮像装置および撮像モジュール
JP2018139455A (ja) * 2018-06-15 2018-09-06 株式会社ニコン 撮像ユニット及び撮像装置
JP2018148591A (ja) * 2018-07-03 2018-09-20 株式会社ニコン 撮像ユニット及び撮像装置
JP2018194869A (ja) * 2018-09-04 2018-12-06 株式会社ニコン 撮像ユニット及び撮像装置
CN109328318A (zh) * 2016-04-15 2019-02-12 赫普塔冈微光有限公司 具有对准间隔件的光电子模块和用于组装所述光电子模块的方法
JP2020101818A (ja) * 2020-02-26 2020-07-02 株式会社ニコン 撮像ユニット及び撮像装置
KR102210538B1 (ko) * 2020-05-08 2021-02-01 주식회사 퓨런티어 카메라 모듈의 제조 장치
WO2021171865A1 (ja) * 2020-02-26 2021-09-02 パナソニックIpマネジメント株式会社 半導体レーザ装置
US11689792B2 (en) 2020-05-08 2023-06-27 Furonteer Inc. Camera module manufacturing apparatus, camera module, and manufacturing method thereof

Citations (4)

* Cited by examiner, † Cited by third party
Publication number Priority date Publication date Assignee Title
JPH065828A (ja) * 1992-06-16 1994-01-14 Sony Corp 超小型ccdモジュール
JPH10321825A (ja) * 1997-05-15 1998-12-04 Sony Corp 固体撮像装置の組立方法
JP2001308302A (ja) * 2000-04-27 2001-11-02 Mitsubishi Electric Corp 撮像装置および撮像装置搭載製品ならびに撮像装置製造方法
JP2002077682A (ja) * 2000-09-05 2002-03-15 Nikon Corp 固体撮像装置

Patent Citations (4)

* Cited by examiner, † Cited by third party
Publication number Priority date Publication date Assignee Title
JPH065828A (ja) * 1992-06-16 1994-01-14 Sony Corp 超小型ccdモジュール
JPH10321825A (ja) * 1997-05-15 1998-12-04 Sony Corp 固体撮像装置の組立方法
JP2001308302A (ja) * 2000-04-27 2001-11-02 Mitsubishi Electric Corp 撮像装置および撮像装置搭載製品ならびに撮像装置製造方法
JP2002077682A (ja) * 2000-09-05 2002-03-15 Nikon Corp 固体撮像装置

Cited By (30)

* Cited by examiner, † Cited by third party
Publication number Priority date Publication date Assignee Title
WO2010023788A1 (ja) * 2008-08-26 2010-03-04 パナソニック株式会社 撮像装置
JP2012189910A (ja) * 2011-03-11 2012-10-04 Sharp Corp カメラモジュールおよびその製造方法
US8810722B2 (en) 2011-03-11 2014-08-19 Sharp Kabushiki Kaisha Camera module lens holder
WO2012165691A1 (ko) * 2011-06-03 2012-12-06 (주)에이직뱅크 입체 이미지 센서 패키지 및 그 제조방법
JP2014217033A (ja) * 2013-04-30 2014-11-17 株式会社ニコン 撮像装置
JP2015014702A (ja) * 2013-07-05 2015-01-22 株式会社ニコン 撮像ユニット及びその製造方法並びに撮像装置
US10566363B2 (en) 2014-07-23 2020-02-18 Heptagon Micro Optics Pte. Ltd. Light emitter and light detector modules including vertical alignment features
JP2017523467A (ja) * 2014-07-23 2017-08-17 ヘプタゴン・マイクロ・オプティクス・プライベート・リミテッドHeptagon Micro Optics Pte. Ltd. 縦方向アライメント機構を含む発光体および光検出モジュール
KR20170116223A (ko) * 2014-07-23 2017-10-18 헵타곤 마이크로 옵틱스 피티이. 리미티드 수직 정렬 피처들을 포함하는 광 방출기 및 광 검출기 모듈들
KR102282827B1 (ko) * 2014-07-23 2021-07-28 에이엠에스 센서스 싱가포르 피티이. 리미티드. 수직 정렬 피처들을 포함하는 광 방출기 및 광 검출기 모듈들
TWI738762B (zh) * 2016-04-15 2021-09-11 新加坡商海特根微光學公司 具有對準間隔物之光電模組及其組裝方法
CN109328318A (zh) * 2016-04-15 2019-02-12 赫普塔冈微光有限公司 具有对准间隔件的光电子模块和用于组装所述光电子模块的方法
US10840396B2 (en) 2016-04-15 2020-11-17 Ams Sensors Singapore Pte. Ltd. Optoelectronic modules with alignment spacers and methods for assembling the same
CN114137672A (zh) * 2016-04-15 2022-03-04 赫普塔冈微光有限公司 具有对准间隔件的光电子模块和用于组装所述光电子模块的方法
CN109328318B (zh) * 2016-04-15 2021-11-02 赫普塔冈微光有限公司 具有对准间隔件的光电子模块和用于组装所述光电子模块的方法
WO2018079644A1 (ja) * 2016-10-27 2018-05-03 京セラ株式会社 撮像素子実装用基体、撮像装置および撮像モジュール
JPWO2018079644A1 (ja) * 2016-10-27 2019-09-19 京セラ株式会社 撮像素子実装用基体、撮像装置および撮像モジュール
US11075235B2 (en) 2016-10-27 2021-07-27 Kyocera Corporation Image sensor mounting base, imaging device, and imaging module
JP2018139455A (ja) * 2018-06-15 2018-09-06 株式会社ニコン 撮像ユニット及び撮像装置
JP2018148591A (ja) * 2018-07-03 2018-09-20 株式会社ニコン 撮像ユニット及び撮像装置
JP2018194869A (ja) * 2018-09-04 2018-12-06 株式会社ニコン 撮像ユニット及び撮像装置
JP2020101818A (ja) * 2020-02-26 2020-07-02 株式会社ニコン 撮像ユニット及び撮像装置
JPWO2021171865A1 (ja) * 2020-02-26 2021-09-02
WO2021171865A1 (ja) * 2020-02-26 2021-09-02 パナソニックIpマネジメント株式会社 半導体レーザ装置
JP7099484B2 (ja) 2020-02-26 2022-07-12 株式会社ニコン 撮像素子及び撮像装置
CN115088146A (zh) * 2020-02-26 2022-09-20 松下知识产权经营株式会社 半导体激光器装置
JP7507358B2 (ja) 2020-02-26 2024-06-28 パナソニックIpマネジメント株式会社 半導体レーザ装置
US11153470B1 (en) 2020-05-08 2021-10-19 Furonteer Inc. Camera module manufacturing apparatus
KR102210538B1 (ko) * 2020-05-08 2021-02-01 주식회사 퓨런티어 카메라 모듈의 제조 장치
US11689792B2 (en) 2020-05-08 2023-06-27 Furonteer Inc. Camera module manufacturing apparatus, camera module, and manufacturing method thereof

Similar Documents

Publication Publication Date Title
JP5934109B2 (ja) 成形テープフリップチップ画像装置実装を備えたカメラモジュールおよび製造方法
JP5218058B2 (ja) 半導体装置およびその製造方法
US6949808B2 (en) Solid-state imaging apparatus and manufacturing method thereof
JP4304163B2 (ja) 撮像モジュールおよびその製造方法
US6825540B2 (en) Miniaturized, resin-sealed solid state imaging apparatus
KR20090128374A (ko) 고체촬상 장치 및 그 제조 방법
KR100603918B1 (ko) 고체 촬상 장치 및 그 제조 방법
JP2005292242A (ja) 撮像装置および撮像装置の製造方法
EP2790218A1 (en) Imaging module and imaging unit
JP2001267541A (ja) 固体撮像装置及びその製造方法
JP2004242166A (ja) 光モジュール及びその製造方法並びに電子機器
JP2011134777A (ja) 回路基板、回路モジュール、回路基板の製造方法および回路モジュールの製造方法
JP2009222740A (ja) レンズモジュール及びカメラモジュール
JP2008263550A (ja) 固体撮像装置およびその製造方法
JP2010252164A (ja) 固体撮像装置
KR100877158B1 (ko) 고체 촬상 장치 및 그 제조 방법
JP2010021283A (ja) 固体撮像装置およびその製造方法
US9111827B2 (en) Manufacturing method of solid-state imaging apparatus, solid-state imaging apparatus, and electronic imaging apparatus
WO2017134972A1 (ja) 撮像素子パッケージ及び撮像装置
JP2003179217A (ja) 固体撮像装置およびその製造方法
JP2005051535A (ja) 撮像装置およびその製造方法
JP2008312104A (ja) 固体撮像装置およびその製造方法
JP4840114B2 (ja) カメラモジュールとその製造方法
JP2008263551A (ja) 固体撮像装置およびその製造方法
TWI543613B (zh) 影像感測模組

Legal Events

Date Code Title Description
A621 Written request for application examination

Free format text: JAPANESE INTERMEDIATE CODE: A621

Effective date: 20061129

RD01 Notification of change of attorney

Free format text: JAPANESE INTERMEDIATE CODE: A7421

Effective date: 20061213

A131 Notification of reasons for refusal

Free format text: JAPANESE INTERMEDIATE CODE: A131

Effective date: 20091117

RD01 Notification of change of attorney

Free format text: JAPANESE INTERMEDIATE CODE: A7421

Effective date: 20091120

A521 Request for written amendment filed

Free format text: JAPANESE INTERMEDIATE CODE: A523

Effective date: 20100114

A02 Decision of refusal

Free format text: JAPANESE INTERMEDIATE CODE: A02

Effective date: 20100316