JP2005291401A - 可変プーリ装置 - Google Patents
可変プーリ装置 Download PDFInfo
- Publication number
- JP2005291401A JP2005291401A JP2004108400A JP2004108400A JP2005291401A JP 2005291401 A JP2005291401 A JP 2005291401A JP 2004108400 A JP2004108400 A JP 2004108400A JP 2004108400 A JP2004108400 A JP 2004108400A JP 2005291401 A JP2005291401 A JP 2005291401A
- Authority
- JP
- Japan
- Prior art keywords
- movable pulley
- shaft
- oil seal
- outer cylinder
- pulley
- Prior art date
- Legal status (The legal status is an assumption and is not a legal conclusion. Google has not performed a legal analysis and makes no representation as to the accuracy of the status listed.)
- Pending
Links
- 230000002093 peripheral effect Effects 0.000 claims abstract description 29
- 239000000463 material Substances 0.000 claims description 2
- 239000000428 dust Substances 0.000 abstract description 9
- 238000005452 bending Methods 0.000 abstract description 6
- 239000000314 lubricant Substances 0.000 abstract description 4
- 239000003921 oil Substances 0.000 description 45
- 239000010687 lubricating oil Substances 0.000 description 17
- 230000005540 biological transmission Effects 0.000 description 8
- 239000004519 grease Substances 0.000 description 7
- 238000003860 storage Methods 0.000 description 5
- 238000004519 manufacturing process Methods 0.000 description 4
- 239000002184 metal Substances 0.000 description 4
- 238000000034 method Methods 0.000 description 4
- 230000008569 process Effects 0.000 description 4
- 238000012545 processing Methods 0.000 description 4
- 238000004891 communication Methods 0.000 description 3
- 230000004888 barrier function Effects 0.000 description 2
- 238000006116 polymerization reaction Methods 0.000 description 2
- 230000002787 reinforcement Effects 0.000 description 2
- 238000007789 sealing Methods 0.000 description 2
- 230000009471 action Effects 0.000 description 1
- 239000000853 adhesive Substances 0.000 description 1
- 230000001070 adhesive effect Effects 0.000 description 1
- 238000013459 approach Methods 0.000 description 1
- 230000008859 change Effects 0.000 description 1
- 238000007796 conventional method Methods 0.000 description 1
- 230000007547 defect Effects 0.000 description 1
- 230000006866 deterioration Effects 0.000 description 1
- 230000000694 effects Effects 0.000 description 1
- 230000007246 mechanism Effects 0.000 description 1
- 238000011160 research Methods 0.000 description 1
- 239000003566 sealing material Substances 0.000 description 1
- 238000003466 welding Methods 0.000 description 1
Images
Classifications
-
- F—MECHANICAL ENGINEERING; LIGHTING; HEATING; WEAPONS; BLASTING
- F16—ENGINEERING ELEMENTS AND UNITS; GENERAL MEASURES FOR PRODUCING AND MAINTAINING EFFECTIVE FUNCTIONING OF MACHINES OR INSTALLATIONS; THERMAL INSULATION IN GENERAL
- F16H—GEARING
- F16H57/00—General details of gearing
- F16H57/04—Features relating to lubrication or cooling or heating
- F16H57/048—Type of gearings to be lubricated, cooled or heated
- F16H57/0487—Friction gearings
- F16H57/0489—Friction gearings with endless flexible members, e.g. belt CVTs
Landscapes
- Engineering & Computer Science (AREA)
- General Engineering & Computer Science (AREA)
- Mechanical Engineering (AREA)
- Sealing With Elastic Sealing Lips (AREA)
- Pulleys (AREA)
- Transmissions By Endless Flexible Members (AREA)
- General Details Of Gearings (AREA)
Abstract
【課題】 可変プーリの固定プーリ半体と可動プーリ半体との可動部における潤滑剤の外部への漏れ及び外部からの埃塵の侵入を防止するとともに、耐久性を有し且つ部品点数を減少させ、構造を極めて簡単なものとすること。
【解決手段】 外周面にガイドピン2が装着された固定側プーリ軸1の軸方向端部に固定側プーリフェース3が設けられてなる固定プーリ半体A1 と、前記ガイドピン2が遊挿するガイド長孔6を有する可動側プーリ軸5の軸方向端部に可動側プーリフェース7が設けられてなる可動プーリ半体A2 と、前記可動側プーリ軸5の外周面を覆う外筒9と、オイルシール12とからなること。前記可動側プーリ軸5の軸端にオイルシール12が配置され、前記外筒9にてオイルシール12の外周側面が被覆されるとともに、前記外筒9にはオイルシール12の外側面を覆う折曲部9dが形成されてなること。
【選択図】 図1
【解決手段】 外周面にガイドピン2が装着された固定側プーリ軸1の軸方向端部に固定側プーリフェース3が設けられてなる固定プーリ半体A1 と、前記ガイドピン2が遊挿するガイド長孔6を有する可動側プーリ軸5の軸方向端部に可動側プーリフェース7が設けられてなる可動プーリ半体A2 と、前記可動側プーリ軸5の外周面を覆う外筒9と、オイルシール12とからなること。前記可動側プーリ軸5の軸端にオイルシール12が配置され、前記外筒9にてオイルシール12の外周側面が被覆されるとともに、前記外筒9にはオイルシール12の外側面を覆う折曲部9dが形成されてなること。
【選択図】 図1
Description
本発明は、可変プーリの固定プーリ半体と可動プーリ半体との可動部における潤滑剤の外部への漏れ及び外部からの埃塵の侵入を防止するとともに、耐久性を有し且つ部品点数を減少させ、構造を極めて簡単なものとした可変プーリ装置に関する。
従来より、無段変速機において、駆動軸と従動軸にそれぞれ固定プーリ半体と、これに対し進退移動し得る可動プーリ半体とよりなる伝動プーリを設け、駆動軸および従動軸上の伝動プーリ間に無端Vベルトを掛け回し、駆動軸および従動軸上の可動プーリ半体を移動調整して駆動軸の回転と従動軸の回転を無段に変速させて従動軸に伝達するようにした無段変速機が存在する。
かかる変速機では、その運転中は可動プーリ半体は固定プーリ半体に対して絶えず進退移動調整されるので、常に円滑,軽快な無段変速を行うには可動プーリ半体の被潤滑部に常に、有効に潤滑油もしくはグリスを供給することが望まれる。そこで、従来の技術として特許文献1(実開昭64−11464号の公報)に開示されているように、伝動用の回動部材(固定プーリ)に可動部材(可動プーリ)を外嵌し、前記回動部材の外周面にキーを取付けるとともに、前記可動部材の内周面にキー溝を形成し、前記可動部材を回動部材に対して軸心方向にシフト自在に且つトルク伝達可能とした摩擦伝動装置が存在する。
これは、前記可動部材の軸心方向両端近くにキー溝の両端を封止するOリングをそれぞれ装着するとともに、前記キー溝をオイル溜りにしており、キー溝内のオイルが可動部材と回動部材の摺動面に染み亘り、Oリングによって封止されているため、オイルが外部へ漏れることがないものである。
実開昭64−11464号
上記の特許文献1の構造においては、固定側プーリ軸と可動側プーリ軸の軸間および可動側プーリ軸と外筒間にある潤滑油(グリス)の洩れを、可動側プーリ軸両端のオイルシールと、可動側プーリ軸の外周の両端部にあるOリングによって防止している。このような構成としているので、潤滑油(グリス)の洩れを防止するために必要とするシール材としてOリングが2個装着されている。
上述したように、1台の装置において、通常はオイルシール及びOリングがそれぞれ2個必要であるが、そのOリング装着のために可動側プーリ軸の外周で且つ軸方向両端箇所に溝加工が施され、その分の工程による加工費も相応にかかる等の問題がある。本発明の技術的課題(目的)は、可変プーリ装置において、可変プーリの固定プーリ半体と可動プーリ半体との可動部における潤滑剤の外部への漏れ及び外部からの埃塵の侵入を防止するとともに、耐久性を有し且つ部品点数を減少させ、構造を極めて簡単なものにすることにある。
そこで、発明者は、上記課題を解決すべく,鋭意研究を重ねた結果、本発明を、外周面にガイドピンが装着された固定側プーリ軸の軸方向端部に固定側プーリフェースが設けられてなる固定プーリ半体と、前記ガイドピンが遊挿するガイド長孔を有する可動側プーリ軸の軸方向端部に可動側プーリフェースが設けられてなる可動プーリ半体と、前記可動側プーリ軸の外周面を覆うカバー筒部材と、オイルシールとからなり、前記可動側プーリ軸の軸端にオイルシールが配置され、前記カバー筒部材にてオイルシールの外周側面が被覆されるとともに、前記カバー筒部材にはオイルシールの外側面を覆う折曲部が形成されてなる可変プーリ装置としたことにより、上記課題を解決したものである。
次に、上述の構成において前記カバー筒部材の軸方向端部箇所は、前記オイルシールの外周側面に沿って絞り加工されて固定用段部が形成されてなる可変プーリ装置としたことにより上記課題を解決したものである。また、上述の構成において、前記折曲部の内周縁は、前記固定側プーリ軸の外周側面に近接してなる可変プーリ装置としたり、前記折曲部は前記カバー筒部材とは別材としてなる可変プーリ装置としたことにより、上記課題を解決したものである。
また、上述の構成において、外周面にガイドピンが装着された固定側プーリ軸の軸方向端部に固定側プーリフェースが設けられてなる固定プーリ半体と、前記ガイドピンが遊挿するガイド長孔を有する可動側プーリ軸の軸方向端部に可動側プーリフェースが設けられてなる可動プーリ半体と、前記可動側プーリ軸の外周面を覆うカバー筒部材とからなり、前記カバー筒部材の軸方向端箇所にオイルシールのリップ部が装着されてなる可変プーリ装置としたことにより、上記課題を解決したものである。
請求項1の発明によれば、Oリングを使用しないので、Oリングの加工が不要にすることができ、軽量化及び省スペース化がはかれる。また、ロールカラーのプレス加工性が向上する。請求項2の発明によれば、可変プーリ装置へのオイルシールを安定した状態で装着することができる。請求項3の発明によれば、装着されたオイルシールへの埃塵の侵入を格段に少なくすることができる。請求項4の発明によれば、従来のタイプの可変プーリ装置にオイルシールの装着を極めて簡単にすることができる。請求項5の発明によれば、可変プーリ装置にオイルシールを一体化させて、構造をより一層簡単なものとすることができる。
以下、本発明を図面に基づいて説明する。図1は、本発明における従動プーリ機構を示したものである。その従動プーリAは、図1(A),(B)に示すように、固定プーリ半体A1 と可動プーリ半体A2 とから構成される。その固定プーリ半体A1は、図2,図3(A)等に示すように、中空状の固定側プーリ軸1と、扁平円錐状の固定側プーリフェース3とが形成されている。その固定側プーリ軸1の外周側面の所定箇所には、ガイドピン2が装着されている。該ガイドピン2は、円筒状に形成され、固定側プーリ軸1の所定箇所に圧入されている。可動プーリ半体A2 は、図2,図3(B)等に示すように、中空状の可動側プーリ軸5,ガイド長孔6と扁平円錐状の可動側プーリフェース7から構成される。
その固定プーリ半体A1の固定側プーリ軸1は、図1(A)に示すように、遠心クラッチBとの間に設けられた従動軸10に回動自在に支承されている。ニードルベアリング及びボールベアリング等の軸受11を介してこの固定プーリ半体A1の固定側プーリ軸1の外周に前記可動プーリ半体A2 の可動側プーリ軸5が摺動自在に装着されている。そして、固定プーリ半体A1と可動プーリ半体A2 における固定側プーリフェース3と可動側プーリフェース7とが相対向して、無端Vベルト23が掛けられる。
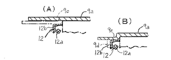
その固定プーリ半体A1と可動プーリ半体A2 とからなる従動プーリAは、図示しない駆動側プーリと対をなす。前記ガイド長孔6には、図1に示すように、前記固定側プーリ軸1に装着されたガイドピン2が挿入される。このガイドピン2は、図1(B)に示すように、回転自在なガイドローラ2aが装着されており、前記可動側プーリ軸5はガイド長孔6と、前記ガイドピン2の係合によって案内され、前記固定側プーリ軸1と可動側プーリ軸5とが相互に周方向に回動することなく、軸方向に沿って相互に摺動動作が行なえるようになっている。その可動側プーリ軸5の外周には、外筒9を装着される。
該外筒9は、円筒部9aと鍔状部9bとから構成されている。その円筒部9aには、前記可動プーリ半体A2 の可動側プーリ軸5が挿入されるものであって、円筒部9aの内径は、可動側プーリ軸5が円滑に入り込むことができる程度である。前記可動側プーリ軸5の外周を円筒部9aにて覆われることにより、前記ガイド長孔6は周囲が略閉鎖状となった空隙部を構成する。この空隙部は、潤滑油貯留室S1 となり、前記ガイド長孔6に充填されたグリース等の潤滑剤が外部に漏れないように溜めておくことができるようになっている。
その可動側プーリ軸5の軸方向端部には、図1に示すように、オイルシール12が隣接して配置されている。該オイルシール12は、そのシール面が前記固定プーリ半体A1の固定側プーリ軸1の外周面に摺接されている。また、前記可動側プーリ軸5の軸方向中間部には断面凹状の潤滑油溜が形成され、この潤滑油溜は固定側プーリ軸1に穿設した連通孔1aを介して、固定側プーリ軸1と前記従動軸10との間に形成された空隙部となる潤滑油貯留室S2 に連通されている。その鍔状部9bは、後述するコイルバネ14からの弾発力を受けるためのかばね座として使用される部位である。その鍔状部9bは、前記可動プーリ半体A2 の可動側プーリフェース7の背面側(Vベルトと接触する面とは反対側となる側)に当接し、前記コイルバネ14の弾性力を伝達するものである。
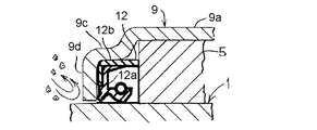
前記外筒9は、図1,図2及び図3(C)に示すように、可動側プーリ軸5の外周に重合して覆った状態で、前記可動側プーリ軸5の軸端箇所でその内径が小さくなるように小径となる段差部9cが絞りこまれるようにして形成される〔図4(A)参照〕。この段差部9cの内径は、オイルシール12が固着される程度の内径である。すなわち、そのオイルシール12のリップ部12aの外周に設けた金属環部12bが圧入できる程度となるように段差部9cの内径が設定される。この段差部9cは、オイルシール12の外径に応じて形成されるものであり、オイルシール12の外径が大きいものでは、特に段差部9cが形成されないこともある。そして、その外筒9のオイルシール12を包む段差部9cの軸方向端部が内径中心部側に向かって折曲されてオイルシールの外側面を覆うようにして折曲部9dが形成されている。
その折曲部9dは、前記円筒部9aの端縁側において、その直径方向中心側に向かって略直角状に折曲形成されたものである〔図4(B)参照〕。この折曲部9dは、図3(C)に示すように、円板状に形成され、その中心に可動プーリ半体A2 の可動側プーリ軸5が挿通することになる。前記折曲部9dの内周側端縁は、前記可動側プーリ軸5の外周に極めて近接した状態にすることが好まく、しかもその近接状態は、前記固定側プーリ軸1に接触しない程度とする。その折曲部9dは、図1(B)に示すように、前記オイルシール12の厚さ方向の一端側の側面を覆う役目をなし、この折曲部9dがオイルシール12のための防壁(堰)となって、図5に示すように、外部からの塵挨の侵入を防ぐことができ、製品として安定した耐久性を保つことができる。
また、外筒9の折曲部9dは、円筒部9aの軸方向端部における折り曲げ加工となっているため、それによって外筒9全体の力学的強度を向上させる補強となり、その外筒9自体の強度が高くなる。そのため、折り曲げ加工が施されない従来の外筒は強度は弱く、歪も生じやすいものであったが、本発明における外筒9はその直径方向の形状を真円に成形させ且つそれを維持することが容易となり、加工工数も削減できる。なお、前記可動側プーリフェース7のボス部7aにもオイルシールが装着されており、このオイルシールは前記ボス部7aに軸方向に凹む収納部が形成され、この収納部にオイルシールが収納装着されている〔図1(A)参照〕。
前記可動側プーリ軸5のガイド長孔6と、前記外筒9との間に形成される空隙室の潤滑油(グリス)は、外筒9内周面を伝わるが、オイルシール12によってシールすることができるため、従来、可動側プーリ軸5と外筒9間の、固定プーリ半体A1の軸方向反対側にあったOリングを省略することができ、それによってOリングを挿入するための溝加工は不要となるため、従来と比較し、製造コストをおさえることができる。
潤滑油貯留室S2 内の潤滑油(グリス)は、ニードルベアリング,ボールベアリング等の軸受11に給油されるとともに、従動側プーリの回転による遠心力をうけて連通孔1aを通って潤滑油貯留室S1 に圧送され、潤滑油貯留室S1 内に貯留された潤滑油が固定側プーリ軸1,可動側プーリ軸5間のガイドピン2とガイド長孔6との係合箇所に送り込まれ、潤滑させ、可動プーリ半体A2 を常に円滑に移動させることができる。
前記従動プーリAには、図1(A)に示すように、乾式摩擦遠心クラッチBが隣接して配置されている。その従動プーリAの固定側プーリ軸1の左端には、この遠心クラッチBを構成する駆動プレート20が固着されており、無端Vベルト23によって固定プーリ半体A1に伝達された回転力は、前記固定側プーリ軸1を通じて前記駆動プレート20に伝えられる。次いで、遠心ウェイト21およびクラッチアウタ22を経て前記従動軸10に伝達される。
前記可動プーリ半体A2 の可動側プーリフェース7の裏面側と、前記駆動プレート20との間にはコイルバネ14が配置されている。そのコイルバネ14は、外筒9の外周側に配置され、そのコイルバネ14の長手方向一端側が前記駆動プレート20に当接し、また、コイルバネ14の長手方向他端側が外筒9の鍔状部9bに当接して、その鍔状部9bを介して前記可動側プーリフェース7を固定プーリ半体A1の固着側プーリフェース3に接近するように弾性的付勢している〔図1(A),(B)参照〕。
無段変速機の従動プーリのもう一方には、図示しない駆動プーリが設けられており、駆動側プーリも前記従動プーリAと同様に固定プーリ半体と可動プーリ半体とから構成されている。そして、その駆動プーリ半体と従動プーリとの間に無端Vベルト23が掛け渡され、エンジン回転数に応じて駆動側の可動プーリ半体が遠心力により軸線方向に移動することにより、駆動側における固定側プーリフェースと可動側プーリフェースに巻き掛かられている領域の無端Vベルト23の半径が変化し、これに応じて従動プーリAにおける無端Vベルト23の巻きかけられている領域の半径も変化する。こにれよって、エンジン出力軸の回転数が自動的にかつ無段的に変速されて、従動プーリAに伝えられる。
本発明の第2実施形態としては、図6(A),(B)に示すように、前記外筒9の円筒部9aにおいて、前記鍔状部9bが形成されている側と反対側、すなわち折曲部9d形成箇所で且つ円筒部9aの内周側にオイルシール12のリップ部12aのみが装着されたものである。すなわち、外筒の円筒部9aの軸端部箇所がオイルシール12の金属カバーの役目を兼用するものである。そのオイルシール12のゴムのリップ部12aの外周箇所は円筒部9aの内周面に固着されているもので、固着手段として圧入されたり、さらに接着剤により強固に固定されるものである。
この実施形態では、単独のオイルシール12が装着される場合に比較して、前記オイルシール12の抜け防止が図れ、製品不具合もなくなり、信頼性も高くなる。また、オイルシール12では、骨組となる心金を、外筒9の折り曲げ端部9aにて兼用させることで、外筒9とオイルシール12を一体化させることとなり、オイルシール12の金属環部12bが不要となり、シール性をさらに向上させることができる。
また、上記外筒9の折曲部9d箇所を別部材とすることもある。これは、図7(A)に示すように、該折曲部9dに、前記円筒部9aの外周に重合する接続用円筒部9d1 が形成され、該接続用円筒部9d1 を円筒部9aの軸端に重合状態で接合させる構造としたものである〔図7(B)参照〕。この接続用円筒部9d1 は、図7(B)に示すように、円筒部9aに溶接等の固着手段を介して接合固着したり、或いは接続用円筒部9d1 を円筒部9aに圧入状態で固着してもかまわない。このように、折曲部9dを外筒9か独立した別部材とすることにより、従来タイプの可変プーリ装置において、本発明における外筒9に相当する部材に、折曲部9dを装着することにより、本発明のような構成とすることができる。
本発明では、上記のような構成としたことにより、従来では、Oリングによって、潤滑油(グリス)の漏れをシールしているが、オイルシール12の使用によりOリングが不要となって、Oリングのための溝加工は不要となるため、従来と比較し、製造コストをおさえることができる。また、外筒9の軸方向端部がオイルシール12の厚さ方向の1方側端の側面を覆うようにして折曲部9dが形成されているので、その折曲部9dが防壁(堰)となって外部からの塵埃侵入を端部によって防ぐことができ、製品として安定した耐久性を保つことができる。
さらに、外筒9の折曲部9dによって、潤滑油の外部漏出がなくなるため、潤滑油が遠心クラッチに飛散することがない。よって、遠心クラッチのクラッチウェイトの摩擦係合部に潤滑油が付着することがないため、性能が安定し、製品自体の信頼性,耐久性が良くなる。また、前記折曲部9dによって、外部からの塵挨侵入を防ぐことができ、オイルシール12のリップ部12aに塵挨の付着がなくなるため、リップ自体の劣化が促進しにくくなり、安定したシール性を保つことができる。
さらに前記折曲部9dによって、オイルシール12が外筒9から抜け出したり、或いは可動側プーリ軸5から離れたりしてしまうようなことを防止することができ、製品自体の信頼性を高くすることができる。さらに折曲部9dは、外筒9の補強となり、外筒9自体の強度を高くすることができる。また外筒9の折曲部9dは折り曲げ加工にて形成可能なため、製造が簡単で、製造コストを低く抑えることができる。さらに外筒9の折曲部9d箇所をオイルシール12の金属環部12bに兼用することで、外筒9とオイルシール12を一体化させることができ、心金が不要となり、製品自体のコスト削減ができる。また、シール性が更に向上する。
A…従動プーリ、A1 …固定プーリ半体、A2 …可動プーリ半体、
1…固定側プーリ軸、1a…連通孔、2…ガイドピン、3…固定側プーリフェース、
5…可動側プーリ軸、6…ガイド長孔、7…可動側プーリフェース、9…外筒、
9c…段差部、9d…折曲部、9d1 …接続用円筒部、12…オイルシール、
12a…リップ部。
1…固定側プーリ軸、1a…連通孔、2…ガイドピン、3…固定側プーリフェース、
5…可動側プーリ軸、6…ガイド長孔、7…可動側プーリフェース、9…外筒、
9c…段差部、9d…折曲部、9d1 …接続用円筒部、12…オイルシール、
12a…リップ部。
Claims (5)
- 外周面にガイドピンが装着された固定側プーリ軸の軸方向端部に固定側プーリフェースが設けられてなる固定プーリ半体と、前記ガイドピンが遊挿するガイド長孔を有する可動側プーリ軸の軸方向端部に可動側プーリフェースが設けられてなる可動プーリ半体と、前記可動側プーリ軸の外周面を覆う外筒と、オイルシールとからなり、前記可動側プーリ軸の軸端にオイルシールが配置され、前記外筒にてオイルシールの外周側面が被覆されるとともに、前記外筒にはオイルシールの外側面を覆う折曲部が形成されてなることを特徴とする可変プーリ装置。
- 請求項1において、前記外筒の軸方向端部箇所は、前記オイルシールの外周側面に沿って絞り加工されて段差部が形成されてなることを特徴とする可変プーリ装置。
- 請求項1又は2において、前記折曲部の内周縁は、前記固定側プーリ軸の外周側面に近接させてなることを特徴とする可変プーリ装置。
- 外周面にガイドピンが装着された固定側プーリ軸の軸方向端部に固定側プーリフェースが設けられてなる固定プーリ半体と、前記ガイドピンが遊挿するガイド長孔を有する可動側プーリ軸の軸方向端部に可動側プーリフェースが設けられてなる可動プーリ半体と、前記可動側プーリ軸の外周面を覆う外筒とからなり、前記外筒の軸方向端箇所には直径方向中心側に向かう折曲部が形成され、前記外筒の内周で且つ前記折曲部箇所にオイルシールのリップ部が装着されてなることを特徴とする可変プーリ装置。
- 請求項1,2,3又は4のいずれか1項の記載において、前記折曲部は前記外筒とは別材としてなることを特徴とする可変プーリ装置。
Priority Applications (1)
| Application Number | Priority Date | Filing Date | Title |
|---|---|---|---|
| JP2004108400A JP2005291401A (ja) | 2004-03-31 | 2004-03-31 | 可変プーリ装置 |
Applications Claiming Priority (1)
| Application Number | Priority Date | Filing Date | Title |
|---|---|---|---|
| JP2004108400A JP2005291401A (ja) | 2004-03-31 | 2004-03-31 | 可変プーリ装置 |
Publications (1)
| Publication Number | Publication Date |
|---|---|
| JP2005291401A true JP2005291401A (ja) | 2005-10-20 |
Family
ID=35324553
Family Applications (1)
| Application Number | Title | Priority Date | Filing Date |
|---|---|---|---|
| JP2004108400A Pending JP2005291401A (ja) | 2004-03-31 | 2004-03-31 | 可変プーリ装置 |
Country Status (1)
| Country | Link |
|---|---|
| JP (1) | JP2005291401A (ja) |
Citations (2)
| Publication number | Priority date | Publication date | Assignee | Title |
|---|---|---|---|---|
| JPS5870558U (ja) * | 1982-09-16 | 1983-05-13 | 本田技研工業株式会社 | 動力伝達装置における潤滑装置 |
| JPH0874866A (ja) * | 1994-08-31 | 1996-03-19 | Ntn Corp | 鉄道車両用油切り |
-
2004
- 2004-03-31 JP JP2004108400A patent/JP2005291401A/ja active Pending
Patent Citations (2)
| Publication number | Priority date | Publication date | Assignee | Title |
|---|---|---|---|---|
| JPS5870558U (ja) * | 1982-09-16 | 1983-05-13 | 本田技研工業株式会社 | 動力伝達装置における潤滑装置 |
| JPH0874866A (ja) * | 1994-08-31 | 1996-03-19 | Ntn Corp | 鉄道車両用油切り |
Similar Documents
| Publication | Publication Date | Title |
|---|---|---|
| US5647810A (en) | Drive arm-engaging roller for centrifugal clutch | |
| JP2009127660A (ja) | 密封装置、転がり軸受および車輪用転がり軸受 | |
| JP3734771B2 (ja) | 組込装置 | |
| JPH0255899A (ja) | ポンプ等の駆動装置 | |
| JP3934348B2 (ja) | シールリング | |
| JP4511230B2 (ja) | 可変プーリ装置 | |
| JP2005291401A (ja) | 可変プーリ装置 | |
| JP2000220711A (ja) | ハーフトロイダル型無段変速機 | |
| JP3472003B2 (ja) | クラッチ内蔵形回転部品 | |
| JP2005291403A (ja) | 可変プーリ装置 | |
| KR100793876B1 (ko) | 자동 변속기의 리어 커버 어셈블리 | |
| JP4309889B2 (ja) | 遠心クラッチ | |
| JP4306032B2 (ja) | オルタネータ用一方向クラッチ内蔵型プーリ装置 | |
| JPH10103390A (ja) | クラッチ内蔵形回転部品 | |
| JP2001208154A (ja) | クラッチ機構付摩擦ローラ式変速機 | |
| JP2007218414A (ja) | ベルト式自動変速機の軸受シール構造 | |
| JP2005326000A (ja) | 一方向クラッチおよびクラッチ内蔵型プーリ装置 | |
| JP2519001Y2 (ja) | ベルト駆動式無段変速機 | |
| JP4479903B2 (ja) | トルク変動吸収ダンパ | |
| US5018882A (en) | Apparatus for supporting rotary shaft in vehicle transmission | |
| JP4513246B2 (ja) | 摩擦ローラ式変速機及び原動機付摩擦ローラ式変速機 | |
| JP3889264B2 (ja) | 補機駆動用プーリー | |
| JPH05195921A (ja) | スタ−タクラッチのシール装置 | |
| JP4793212B2 (ja) | 動力伝達装置 | |
| JPH1162854A (ja) | チューブポンプ |
Legal Events
| Date | Code | Title | Description |
|---|---|---|---|
| A621 | Written request for application examination |
Free format text: JAPANESE INTERMEDIATE CODE: A621 Effective date: 20061017 |
|
| A131 | Notification of reasons for refusal |
Free format text: JAPANESE INTERMEDIATE CODE: A131 Effective date: 20091124 |
|
| A02 | Decision of refusal |
Free format text: JAPANESE INTERMEDIATE CODE: A02 Effective date: 20100316 |