JP2005291403A - 可変プーリ装置 - Google Patents

可変プーリ装置 Download PDF

Info

Publication number
JP2005291403A
JP2005291403A JP2004108410A JP2004108410A JP2005291403A JP 2005291403 A JP2005291403 A JP 2005291403A JP 2004108410 A JP2004108410 A JP 2004108410A JP 2004108410 A JP2004108410 A JP 2004108410A JP 2005291403 A JP2005291403 A JP 2005291403A
Authority
JP
Japan
Prior art keywords
movable
pulley
movable pulley
shaft
coil spring
Prior art date
Legal status (The legal status is an assumption and is not a legal conclusion. Google has not performed a legal analysis and makes no representation as to the accuracy of the status listed.)
Pending
Application number
JP2004108410A
Other languages
English (en)
Inventor
Tomohiro Uematsu
知洋 植松
Yoshinori Kawashima
芳徳 川島
Current Assignee (The listed assignees may be inaccurate. Google has not performed a legal analysis and makes no representation or warranty as to the accuracy of the list.)
Yamada Manufacturing Co Ltd
Original Assignee
Yamada Seisakusho KK
Priority date (The priority date is an assumption and is not a legal conclusion. Google has not performed a legal analysis and makes no representation as to the accuracy of the date listed.)
Filing date
Publication date
Application filed by Yamada Seisakusho KK filed Critical Yamada Seisakusho KK
Priority to JP2004108410A priority Critical patent/JP2005291403A/ja
Publication of JP2005291403A publication Critical patent/JP2005291403A/ja
Pending legal-status Critical Current

Links

Images

Classifications

    • FMECHANICAL ENGINEERING; LIGHTING; HEATING; WEAPONS; BLASTING
    • F16ENGINEERING ELEMENTS AND UNITS; GENERAL MEASURES FOR PRODUCING AND MAINTAINING EFFECTIVE FUNCTIONING OF MACHINES OR INSTALLATIONS; THERMAL INSULATION IN GENERAL
    • F16HGEARING
    • F16H57/00General details of gearing
    • F16H57/04Features relating to lubrication or cooling or heating
    • F16H57/048Type of gearings to be lubricated, cooled or heated
    • F16H57/0487Friction gearings
    • F16H57/0489Friction gearings with endless flexible members, e.g. belt CVTs

Landscapes

  • Engineering & Computer Science (AREA)
  • General Engineering & Computer Science (AREA)
  • Mechanical Engineering (AREA)
  • Pulleys (AREA)
  • Transmissions By Endless Flexible Members (AREA)
  • General Details Of Gearings (AREA)

Abstract

【課題】 固定プーリ半体と可動プーリ半体との可動部における潤滑剤の外部への漏れ及び外部からの埃塵の侵入を防止し、その構造を簡単にして加工箇所を少なくした可変プーリ装置とすること。
【解決手段】 ガイドピン2が装着された固定側プーリ軸1の軸方向端部に固定側プーリフェース3が設けられてなる固定プーリ半体A1と、ガイド長孔を有し,可動側プーリ軸5の軸方向端部に可動側プーリーフェース7が設けられてなる可動プーリ半体A2 と、鍔状部9bと環状溝部9cとを有し,且つ前記可動側プーリ軸5の外周面を覆う外筒9と、Oリング12と、前記外筒9の軸方向に沿って配置されるコイルバネ14とからなること。前記Oリング12が前記環状溝部9cに収納され、前記鍔状部9bが前記可動側プーリーフェース7の可動ボス部7aの裏面側付近に当接されること。前記鍔状部9bが前記コイルバネ14により前記可動ボス部7a側に弾性付勢されてなること。
【選択図】 図1

Description

本発明は、可変プーリの固定プーリ半体と可動プーリ半体との可動部における潤滑剤の外部への漏れ及び外部からの埃塵の侵入を防止するとともに耐久性を有し、その構造を簡単にして加工箇所を少なくすることができる可変プーリ装置に関する。
従来技術として、無段変速機において、駆動軸と従動軸にそれぞれ固定プーリ半体と、これに対し進退移動し得る可動プーリ半体とよりなる伝動プーリを設け、駆動軸および従動軸上の伝動プーリ間に無端Vベルトを掛回し、駆動軸および従動軸上の可動プーリ半体を移動調整して駆動軸の回転と従動軸の回転を無段に変速させて従動軸に伝達するようにした無段変速機が存在する。かかる変速機では、その運転中は可動プーリ半体は固定プーリ半体に対して絶えず進退移動調整されるので、常に円滑,軽快な無段変速を行うには、可動プーリ半体の被潤滑部に常に、有効に潤滑油もしくはグリスを供給することが望まれる。
この種のものとして、下記特許文献1(特開昭63−190962号の公報)に開示されているように、固定側プーリ軸と可動側プーリ軸の軸問および可動側プーリ軸と外筒間にある潤滑油(グリス)の洩れを、可動側プーリ軸両端のオイルシール(固定側プーリ軸と可動側プーリ軸の軸間)と、可動側プーリ軸の外周の端部にあるOリング(可動側プーリ軸と外筒間)と、可動プーリ半体と外筒のフランジ部間のガスケットによって防止しており、外筒のフランジ部をコイルばねによって押圧することで、フランジ部のガスケットのシール性を向上させようとするものである。
特開昭63−190962号
上記の特許文献1では、外筒のフランジ部と駆動プレート間にコイルバネが縮設され、外筒間にある潤滑油(グリス)の洩れを、可動側プーリ軸両端のオイルシール(固定側プーリ軸と軸間)と、可動側プーリ軸の外周の端部にあるOリング(可動側プーリ軸と外筒間)と、可動プーリ半体と外筒のフランジ部間のガスケットによって防止している。そして、前記外筒のフランジ部をコイルバネによって押圧し、ガスケットを圧縮させてシール性を向上させている。
すなわち、可動プーリ半体と外筒のフランジ部間に挟装されるOリングをガスケットに置き換えて、シールすることにより、シール性の向上及び加工箇所の減少という効果を得ようとしたものである。しかしながら、そのコイルバネは、バネ力によって押圧する方向(軸方向)の荷重と、可動プーリ半体の回転によって発生する遠心力とによって、コイルバネ自体を直径方向外方に拡がるように移動する力が発生する。それによってコイルバネが位置ズレを起こし、可動プーリ半体に加わるバネ力が弱くなり、その結果、性能として変速時のフイーリングが悪化してしまうおそれがある。
また、前記コイルバネと、外筒のフランジ部とを介してガスケットを可動プーリ半体に押圧しているので、その押圧力が直接ガスケット全体に負荷として加わりガスケットに悪影響を及ぼすものである。さらに、コイルバネの位置ズレに伴う負荷の変動がガスケットにさらなる劣化を促進させるものである。これらのことから、ガスケットのシール性能の低下及び寿命が短くなるといった問題がある。本発明の技術的課題(目的)は、可変プーリ装置において、可変プーリの固定プーリ半体と可動プーリ半体との可動部における潤滑剤のシール構造を簡単なものとするとともに耐久性のあるものとすることにある。
そこで発明者は、上記課題を解決すべく、鋭意,研究を重ねた結果、本発明を、外周面にガイドピンが装着された固定側プーリ軸の軸方向端部に固定側プーリフェースが設けられてなる固定プーリ半体と、前記ガイドピンが遊挿するガイド長孔を有し,可動側プーリ軸の軸方向端部に可動側プーリフェースが設けられてなる可動プーリ半体と、鍔状部と該鍔状部の外側面に形成された環状溝部とを有し,且つ前記可動側プーリ軸の外周面を覆う外筒と、Oリングと、前記外筒の軸方向に沿って配置されるコイルバネとからなり、前記Oリングが前記環状溝部に収納されるとともに、前記鍔状部が前記可動側プーリーフェースの可動ボス部裏面側付近に当接され、前記鍔状部が前記コイルバネにより前記可動ボス部側に弾性付勢されてなる可変プーリ装置としたことにより、上記課題を解決したものである。
さらに、上述の構成において、前記鍔状部9bの外周端縁には、鍔状部9b面に略直交する周状折曲片が形成されてなる可変プーリ装置としたり、前記環状溝部は、前記コイルバネ14の外周に配置してなる可変プーリ装置としたことにより、上記課題を解決したものである。
請求項1の発明によれば、鍔状部に形成された環状溝部内にOリングを収納して、その鍔状部をコイルバネにより可動プーリ半体の可動ボス部に弾性付勢しているので、Oリングが鍔状部及び可動ボス部の両面に密接に接触することができ、シール性を向上させることができる。また、Oリングのための溝加工を受ける必要性が無いため、その分可動側プーリ軸の軸方向長さを短くする事ができ、製品自体のコンパクト化が図れ、軽量化できる。さらに、外筒の鍔状部によって、長孔近傍を油密に被覆する機能と、コイルバネのばね座又は案内ガイドとしての2つの機能が得られるため、部品点数を少なくすることができ、製品自体のコストダウンが図れる。
請求項2の発明によれば、鍔状部の周状折曲片をボス外径に略等しくして覆うことにより、鍔状部と可動ボス部との接合状態を極めて安定した状態にすることができる。請求項3の発明によれば、コイルバネは鍔状部の背面側で且つ前記環状溝部箇所に囲まれることにより、コイルバネを直径方向に安定した状態で支持することができる。よって、コイルバネが外筒の鍔状部の環状溝部の円周膨出形状によって、良好に保持することができ、製品としての信頼性が向上できる。
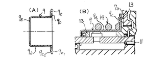
以下、本発明を図面に基づいて説明する。図1は、本発明における従動プーリ機構を示したものである。その従動プーリAは、図1(A),(B)に示すように、固定プーリ半体A1 と可動プーリ半体A2 とから構成される。その固定プーリ半体A1は、図2,図3(A)等に示すように、中空状の固定側プーリ軸1と、扁平円錐状の固定側プーリフェース3とが形成されている。その固定側プーリ軸1の外周側面の所定箇所には、ガイドピン2が装着されている。
該ガイドピン2は、円筒状に形成され、前記固定側プーリ軸1の所定箇所に圧入されている。可動プーリ半体A2 は、図2,図3(B)等に示すように、中空状の可動側プーリ軸5,ガイド長孔6と扁平円錐状の可動側プーリフェース7から構成される。その可動側プーリ軸5の軸方向の端部の端面には、その内周面側に沿って周状凹部5aが形成されている。該周状凹部5aは、周方向に直交する断面が略方形状に形成されたものであり、オイルシール12が挿入固着されるようになっている。
その固定プーリ半体A1の固定側プーリ軸1は、図1(A)に示すように、遠心クラッチBとの間に設けられた従動軸10に回動自在に支承されている。ニードルベアリング及びボールベアリング等の軸受11を介してこの固定プーリ半体A1の固定側プーリ軸1の外周に前記可動プーリ半体A2 の可動側プーリ軸5が摺動自在に装着されている。そして、固定プーリ半体A1と可動プーリ半体A2 における固定側プーリフェース3と可動側プーリフェース7とが相対向して、無端Vベルト23が掛けられる。
その固定プーリ半体A1と可動プーリ半体A2 とからなる従動プーリAは、図示しない駆動側プーリと対をなす。前記ガイド長孔6には、図1に示すように、前記固定側プーリ軸1に装着されたガイドピン2が挿入される。このガイドピン2は、図1(B)に示すように、回転自在なガイドローラ2aが装着されており、前記可動側プーリ軸5はガイド長孔6と、前記ガイドピン2の係合によって案内され、前記固定側プーリ軸1と可動側プーリ軸5とが相互に周方向に回動することなく、軸方向に沿って相互に摺動動作が行なえるようになっている。その可動側プーリ軸5の外周には、外筒9を装着される。
そして、前記可動プーリ半体A2 の可動側プーリフェース7の可動ボス部7aの裏面側と、前記駆動プレート20との間にはコイルバネ14が配置されている。そのコイルバネ14は、前記外筒9の外周側に配置され、そのコイルバネ14の長手方向一端側が前記駆動プレート20に当接し、また、コイルバネ14の長手方向他端側が外筒9の鍔状部9bに当接して、その鍔状部9bを介して前記可動側プーリフェース7の裏面側を固定プーリ半体A1の固着側プーリフェース3に接近するように弾性的付勢している〔図1(A),(B)参照〕。
その外筒9は、円筒部9aと鍔状部9bとから構成されている。その円筒部9aには、前記可動プーリ半体A2 の可動側プーリ軸5が挿入されるものであって、円筒部9aの内径は、可動側プーリ軸5が円滑に入り込むことができる程度である。前記可動側プーリ軸5の外周を円筒部9aにて覆われることにより、前記ガイド長孔6は周囲が略閉鎖状となった空隙部を構成する。この空隙部は、潤滑油貯留室S1 となり、前記ガイド長孔6に充填されたグリース等の潤滑剤が外部に漏れないように溜めておくことができるようになっている。その鍔状部9bは、略円板状に形成されたものである。その直径は、前記可動ボス部7aの外径に略等しく形成されたものである。
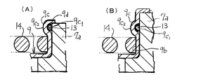
その鍔状部9bには、図1(B),図2,図3(C)に示すように、環状溝部9cが形成されている。該環状溝部9cは、前記鍔状部9bの表面側9b1 より裏面側9b2 に向かって凹むようにして形成されたものである。すなわち、その環状溝部9cは、鍔状部9bの正面側では凹み状であり、鍔状部9bの裏面側では突出状となっている。ここで、前記環状溝部9cは、鍔状部9bの表面側9b1 において凹面側9c1 と称し、鍔状部9bの裏面側9b2 においては凸面側9c2 と称する。
その環状溝部9cの凹面側9c1 には、図1(B),図5(A),(B)等に示すように、Oリング13が収納されるようになっている。その環状溝部9cの深さは、Oリング13の一部は環状溝部9cから突出するようになっおり、鍔状部9bと可動プーリ半体A2 の可動ボス部7aの背面側に当接した状態で、Oリング13が圧力を受けて変形して、適正にシール状態となるようになっている。また、前記凸面側9c2 は、円周膨出形状となっており、その円周膨出形状とした凸面側9c2 によって、前記コイルバネ14の軸方向端部のバネ外径が囲まれるようにして支持されるようになっている。
すなわち、前記環状溝部9cの内周側の直径を前記コイルバネ14の外径と略同一とすることにより、コイルバネ14の軸方向端部は、環状溝部9cの円周膨出形状とした凸面側9c2 によって、それぞれの径が略一致した状態で保持されることとなり、コイルバネ14が鍔状部9bによって極めて安定した状態に保持されることができるものである。その鍔状部9bにおいて、前記環状溝部9cが形成されたさらに外周には周状折曲片9dが形成されている。その周状折曲片9dは、前記鍔状部9bの表面側9b1 に突出するようにして形成されたものであり、周状折曲片9dは前記鍔状部9bに対して略直角に折曲形成されたものである。該周状折曲片9dの内径は、僅かの隙間を有する程度以下で、前記可動ボス部7aの外径が挿入可能とした大きさである。
この周状折曲片9dは、鍔状部9bが可動ボス部7aに当接した状態で、周状折曲片9dが可動ボス部7aの外周箇所に係合することにより、鍔状部9bの可動ボス部7aへの当接状態を極めて安定させることができる。前記コイルバネ14は、前述したように、可動側プーリフェース7の可動ボス部7aの裏面側と、前記駆動プレート20との間に配置され、そのコイルバネ14の軸方向端部が外筒9の鍔状部9bに当接して、その鍔状部9bを介して前記可動側プーリフェース7の可動ボス部7aの裏面側に当接させている。
そして、前記環状溝部9cに収納されたOリング13が鍔状部9bと可動ボス部7aの間でシールを行なうものである。したがって、Oリング13は、鍔状部9bに形成された環状溝部9cに収納された状態であるために、プーリが駆動状態において前記外筒9が振動しても、Oリング13は鍔状部9bの所定位置に保持され、Oリング13には位置ズレが生じない。また、前記環状溝部9cが鍔状部9bの外周端縁に形成されず、外周端縁よりも少し中心側寄りに形成されることもある〔図4(A),(B)参照〕。
また、環状溝部9cの外周側から直ぐに周状折曲片9dが形成されたり〔図5(A)参照〕、或いは環状溝部9cの外周側から少し間隔をおいて周状折曲片9dが形成されることももある〔図5(B)参照〕。また、外筒9の軸方向端部には、円筒部9aの内径中心部側に向かって折曲されて折曲部9eが形成されることがある(図1、図3等参照)。該折曲部9eは、可動プーリ半体A2 の可動側プーリ軸5の軸端部に装着されたオイルシールの外側面を覆って、外部の埃塵を除去したり、或いは内部潤滑油の漏れを防止するものである。
また、前記可動側プーリ軸5の軸方向中間部には断面凹状の潤滑油溜6が形成され、この潤滑油溜は固定側プーリ軸1に穿設した連通孔1aを介して、固定側プーリ軸1と前記従動軸10との間に形成された空隙部となる潤滑油貯留室S2 に連通されている。その鍔状部9bは、後述するコイルバネ14からの弾発力を受けるためのばね座として使用される部位である。その鍔状部9bは、前記可動プーリ半体A2 の可動側プーリフェース7の背面側(Vベルトと接触する面とは反対側となる側)に当接し、前記コイルバネ14の弾性力を伝達するものである。
潤滑油貯留室S2 内の潤滑油(グリス)は、ニードルベアリング,ボールベアリング等の軸受11に給油されるとともに、従動側プーリの回転による遠心力をうけて連通孔1aを通って潤滑油貯留室S2 に圧送され、そこに貯留された潤滑油が固定側プーリ軸1,可動側プーリ軸5間のガイドピン2とガイド長孔6との係合箇所に送り込まれ、潤滑させ、可動プーリ半体A2 を常に円滑に移動させることができる。
前記従動プーリAには、図1(A)に示すように、乾式摩擦遠心クラッチBが隣接して配置されている。その従動プーリAの固定側プーリ軸1の左端には、この遠心クラッチB1構成する駆動プレート20が固着されており、無端Vベルト23によって固定プーリ半体A1に伝達された回転力は、前記固定側プーリ軸1を通じて前記駆動プレート20に伝えられる。次いで、遠心ウェイト21およびクラッチアウタ22を経て前記従動軸10に伝達される。
無段変速機の遠心クラッチBの前方には、図示しない駆動プーリが設けられており、駆動側プーリも前記従動プーリAと同様に固定プーリ半体と可動プーリ半体とから構成されている。そして、その駆動プーリ半体と従動プーリとの間に無端Vベルト23が掛け渡され、エンジン回転数に応じて駆動側の可動プーリ半体が遠心力により軸線方向に移動することにより、駆動側における固定側プーリフェースと可動側プーリフェースに巻き掛かられている領域の無端Vベルト23の半径が変化し、これに応じて従動プーリAにおける無端Vベルト23の巻きかけられている領域の半径も変化する。こにれよって、エンジン出力軸の回転数が自動的にかつ無段的に変速されて、従動プーリAに伝えられる。
本発明は、上記のような構成にすることによって、可動側プーリ軸5の軸方向のOリング13の溝加工箇所が1箇所で済むことから、溝加工に必要なスペースを低減し、その分だけ可動側プーリ軸5の軸方向長さを短くすることができ、製品自体のコンパクト化が図れ、軽量化できる。また、従来と比べ、Oリング13の溝加工箇所が削減できるので、製造コストを抑えることができる。さらに外筒9の鍔状部9bに形成された環状溝部9cは、それ自体がコイルバネ14の軸端部を保持するばね座又は案内ガイドの役目をなすため、コイルバネ14のためのガイド部材を新たに設ける必要性がなく、部品数を減少させることができ、製品自体のコストダウンができるものである。
(A)は本発明の第1実施形態における構成を示す縦断側面図、(B)は(A)の要部拡大断面図である。 本発明の第1実施形態における主用構成部材の分解断面図である。 (A)は固定プーリ半体の固定側プーリ軸の要部斜視図、(B)は可動プーリ半体の可動側プーリ軸の斜視図、(C)は外筒の一部切除した斜視図である。 (A)は別のタイプの外筒の縦断側面図、(B)はその要部縦断側面図である。 (A)は本発明の第1タイプを示す拡大断面図、(B)は第2タイプの拡大断面図である。
符号の説明
A…従動プーリ、A1 …固定プーリ半体、A2 …可動プーリ半体、
1…固定側プーリ軸、1a…連通孔、2…ガイドピン、3…固定側プーリフェース、
5…可動側プーリ軸、5a…周状凹部、6…ガイド長孔、7…可動側プーリフェース、
9…外筒、9c…段差部、9d…折曲部、9d1 …接続用円筒部、12…オイルシール、12a…リップ部。

Claims (3)

  1. 外周面にガイドピンが装着された固定側プーリ軸の軸方向端部に固定側プーリフェースが設けられてなる固定プーリ半体と、前記ガイドピンが遊挿するガイド長孔を有し,可動側プーリ軸の軸方向端部に可動側プーリフェースが設けられてなる可動プーリ半体と、鍔状部と該鍔状部の表面側にて凹み状に形成された環状溝部とを有し,且つ前記可動側プーリ軸の外周面を覆う外筒と、Oリングと、前記外筒の軸方向に沿って配置されるコイルバネとからなり、前記Oリングが前記環状溝部に収納されるとともに、前記鍔状部が前記可動側プーリーフェースの可動ボス部の裏面側付近に当接され、前記鍔状部が前記コイルバネにより前記可動ボス部側に弾性付勢されてなることを特徴とする可変プーリ装置。
  2. 請求項1において、前記鍔状部の外周端縁には、鍔状部面に略直交する周状折曲片が形成されてなることを特徴とする可変プーリ装置。
  3. 請求項1又は2において、前記環状溝部は、前記コイルバネの外周に配置してなることを特徴とする可変プーリ装置。
JP2004108410A 2004-03-31 2004-03-31 可変プーリ装置 Pending JP2005291403A (ja)

Priority Applications (1)

Application Number Priority Date Filing Date Title
JP2004108410A JP2005291403A (ja) 2004-03-31 2004-03-31 可変プーリ装置

Applications Claiming Priority (1)

Application Number Priority Date Filing Date Title
JP2004108410A JP2005291403A (ja) 2004-03-31 2004-03-31 可変プーリ装置

Publications (1)

Publication Number Publication Date
JP2005291403A true JP2005291403A (ja) 2005-10-20

Family

ID=35324555

Family Applications (1)

Application Number Title Priority Date Filing Date
JP2004108410A Pending JP2005291403A (ja) 2004-03-31 2004-03-31 可変プーリ装置

Country Status (1)

Country Link
JP (1) JP2005291403A (ja)

Cited By (1)

* Cited by examiner, † Cited by third party
Publication number Priority date Publication date Assignee Title
CN119079009A (zh) * 2024-11-08 2024-12-06 浙江新霸科技有限公司 一种踏板摩托车的变速系统

Cited By (1)

* Cited by examiner, † Cited by third party
Publication number Priority date Publication date Assignee Title
CN119079009A (zh) * 2024-11-08 2024-12-06 浙江新霸科技有限公司 一种踏板摩托车的变速系统

Similar Documents

Publication Publication Date Title
JP5401821B2 (ja) 発進装置
JP2013527401A (ja) ハブとプーリとの間に摺動インターフェースを有するデカップラ組立体
JP3934348B2 (ja) シールリング
JP4948968B2 (ja) 遊星ローラ式変速機
JP4511230B2 (ja) 可変プーリ装置
JP2005291403A (ja) 可変プーリ装置
JPH10213207A (ja) ローラクラッチ内蔵型プーリ
JP4306032B2 (ja) オルタネータ用一方向クラッチ内蔵型プーリ装置
JP2007218414A (ja) ベルト式自動変速機の軸受シール構造
JP2002070972A (ja) 摩擦ローラ式変速機
JP4560894B2 (ja) 摩擦ローラ式変速機
JP2001208154A (ja) クラッチ機構付摩擦ローラ式変速機
JP2005291401A (ja) 可変プーリ装置
JP2005273782A (ja) 自動変速機用ピストン
JP2012172790A (ja) 一方向クラッチ内蔵型プーリ装置
JP4494086B2 (ja) 一方向クラッチ
JP2004036798A (ja) 摩擦ローラ式変速機
JPS622349Y2 (ja)
JP4513246B2 (ja) 摩擦ローラ式変速機及び原動機付摩擦ローラ式変速機
JP2001336591A (ja) 摩擦ローラ式変速機
JPS60252858A (ja) Vベルト無段変速機
JPH11148549A (ja) ローラクラッチ内蔵型プーリ
JP2005337378A (ja) 動力伝達装置
JP2024024194A (ja) 軸構造
JP6066619B2 (ja) トルクリミッタ