JP2005290841A - 壁裏床下接続金物 - Google Patents

壁裏床下接続金物 Download PDF

Info

Publication number
JP2005290841A
JP2005290841A JP2004107539A JP2004107539A JP2005290841A JP 2005290841 A JP2005290841 A JP 2005290841A JP 2004107539 A JP2004107539 A JP 2004107539A JP 2004107539 A JP2004107539 A JP 2004107539A JP 2005290841 A JP2005290841 A JP 2005290841A
Authority
JP
Japan
Prior art keywords
plate portion
wall
under
floor
horizontal
Prior art date
Legal status (The legal status is an assumption and is not a legal conclusion. Google has not performed a legal analysis and makes no representation as to the accuracy of the status listed.)
Granted
Application number
JP2004107539A
Other languages
English (en)
Other versions
JP4264376B2 (ja
Inventor
Tsutomu Kono
勉 河野
Toshiaki Kobayashi
俊明 小林
Current Assignee (The listed assignees may be inaccurate. Google has not performed a legal analysis and makes no representation or warranty as to the accuracy of the list.)
Sumitomo Forestry Co Ltd
Original Assignee
Sumitomo Forestry Co Ltd
Priority date (The priority date is an assumption and is not a legal conclusion. Google has not performed a legal analysis and makes no representation as to the accuracy of the date listed.)
Filing date
Publication date
Application filed by Sumitomo Forestry Co Ltd filed Critical Sumitomo Forestry Co Ltd
Priority to JP2004107539A priority Critical patent/JP4264376B2/ja
Publication of JP2005290841A publication Critical patent/JP2005290841A/ja
Application granted granted Critical
Publication of JP4264376B2 publication Critical patent/JP4264376B2/ja
Anticipated expiration legal-status Critical
Expired - Fee Related legal-status Critical Current

Links

Images

Landscapes

  • Building Environments (AREA)
  • Load-Bearing And Curtain Walls (AREA)

Abstract

【課題】 壁裏空間から床下空間へ配管を連続して配設する作業を、梁や土台の予め決められた位置において効率良く迅速に行うことを可能にする壁裏床下接続金物を提供する。
【解決手段】 梁14の角部分に取り付けて使用する壁裏床下接続金物10であって、中央部分に矩形状の水平開口18が形成された枠状の水平プレート部19と、水平プレート部19から垂直上方に延設し、水平開口18と連なる垂直開口20が形成された上方垂直プレート部21と、水平プレート部19に対して垂直下方に設けられた下方垂直プレート部22と、水平開口18の一方の側縁部18aと垂直開口20の上縁部20aとの間に介在して、斜めに設けられた斜めプレート部23と、斜めプレート部23の側縁部23aと、水平開口18の側方側縁部18bとの間に介在して設けられた一対の側面プレート部24とからなる。
【選択図】 図1

Description

本発明は、木造住宅建築物において、梁又は土台の上方の壁裏空間と側方の床下又は天井裏空間とを接続して、これらの間に配管等を連続して配設するために使用する壁裏床下接続金物、及び壁裏床下配管構造に関する。
住宅建築物には、水道管や配水管等の配管や、電気用のケーブル、電話線等の配線が配設される。これらの配管や配線は、住宅建築物の構築時に、壁や天井裏、床下等に組み込んで設けることにより居室スペース等から目隠しされて、屋内空間の美感を向上させるような工夫がなされている。また、例えばエアコン等の空調設備やその他の住宅用の設備においては、住宅建築部の構築後に必要に応じて取り付けられるものがあり、これらの設備のための配管は、一般に屋内に露出した部分を生じることになる。
一方、近年、例えばエアコン等の空調設備は、一般家庭においても広く普及し、通常の設備として使用されるようになったことから、これらの空調設備のための配管等を、住宅建築物の構築時に予め壁裏空間等に設けておくことにより、例えば屋内壁面の上部に取り付けた室内機と、屋外に設けた室外機との接続を、天井裏から壁裏空間を経て床下に至る配管を介して、当該配管を屋内に露出させることなく、容易に行えるようした技術も開発されている(例えば、特許文献1参照)。
特開平5−79659号公報
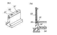
特許文献1に記載の技術内容によれば、壁裏空間から床下空間への配管は、床部材を貫通させて床下へ配設するようにしたものであるが、木造の住宅建築物においては、床下地材、床仕上材等の床部材を支持する梁や土台の上方に壁が立設して設けられる場合があり、このような場合には、壁裏空間の下方の梁や土台を貫通して配管や配線を配設することは、構造上或いは作業上困難である。したがって、従来の技術によれば、例えば図5(a),(b)に示すように、梁や土台50の強度に影響の少ない断面欠損が可能な周縁部分の領域において、これらの角部を切り欠くことにより欠込み51を形成し、この欠込み51に配管52や配線を配置して、これらを壁裏空間53から床下空間54や天井裏空間に連続配設していた。
しかしながら、上記従来の欠込みを形成する方法によれば、一般に、梁や土台等の骨組部材を組み立てる作業と、配管や配線を行う作業とは、別作業として異なる工種の作業員によって行われることになるため、配管や配線を行う作業員によって、必要以上に断面の欠損を生じつつ欠込みが形成されたり、予定しない箇所に欠込みが形成されてしまうことも多く、別途余分な補強作業等が必要になって、構築作業や配管作業等を効率良く行えない場合がある。したがって、壁裏空間から床下又は天井裏空間へ配管や配線を連続して配設する作業を、梁や土台の予め決められた位置において効率良く迅速に行うことを可能にする技術の開発が望まれている。
本発明は、このような従来の課題に着目してなされたもので、壁裏空間から床下又は天井裏空間へ配管や配線を連続して配設する作業を、梁や土台の予め決められた位置において効率良く迅速に行うことを可能にする壁裏床下接続金物、及び壁裏床下配管構造を提供することを目的とする。
本発明は、木造住宅建築物において、胴差しを含む横架材である梁又は土台の角部分に取り付けられ、前記梁又は土台の上方の壁裏空間と側方の床下又は天井裏空間とを接続して、これらの間に配管や配線を連続して配設するために使用する壁裏床下接続金物であって、中央部分に矩形状の水平開口が形成された枠状の水平プレート部と、該水平プレート部から垂直上方に延設し、前記水平開口と連なる垂直開口が形成された上方垂直プレート部と、前記水平プレート部に対して垂直下方に設けられた下方垂直プレート部と、前記水平開口の前記上方垂直プレート部と平行な一方の側縁部と前記垂直開口の上縁部との間に介在して、斜めに設けられた斜めプレート部と、該斜めプレート部の側縁部と、前記水平開口の前記上方垂直プレート部と垂直な側縁部との間に介在して設けられた一対の側面プレート部とからなり、前記配管や配線の配設箇所において、前記水平プレート部の前記下方垂直プレート部を挟んだ前記斜めプレート部とは反対側の部分を前記梁又は土台の上面に接合固定すると共に、前記下方垂直プレート部を前記梁又は土台の側面に接合固定することにより、前記角部分に取り付けられる壁裏床下接続金物を提供することにより、上記目的を達成したものである。
また、本発明の壁裏床下接続金物によれば、前記側面プレート部から前記水平プレート部の下方に各々延設して設けられ、前記下方垂直プレート部と前記水平プレート部との間に介在して、これらが垂直に接合された状態を支持する一対の下方側面プレート部を備えていることが好ましい。
さらに、本発明の壁裏床下接続金物によれば、前記垂直開口は、前記水平プレート部の下方まで延設して設けられていると共に、前記水平開口は、前記下方垂直プレート部を挟んだ前記斜めプレート部とは反対側の部分にも延設しており、前記水平開口の前記上方垂直プレート部と平行な他方の側縁部と前記垂直開口の下縁部との間に介在して斜めに延設する下方斜めプレート部を設けて、該下方斜めプレート部を、前記梁又は土台の角部分に切り欠き形成した斜め欠込み面に密着配置しつつ、前記配管や配線の配設箇所に取り付けられるようにすることが好ましい。
また、本発明は、上記いずれかに記載の壁裏床下接続金物を梁又は土台の角部分に取り付け、当該壁裏床下接続金物の内側の筒状接続配管部を介することにより、壁裏空間と床下又は天井裏空間との間に連続して配管や配線を配設する壁裏床下配管構造を提供することにより、上記目的を達成したものである。
そして、本発明の壁裏床下配管構造によれば、前記配管や配線を通した前記筒状接続配管部の隙間部分に断熱材又は不燃材を充填することにより、断熱又は防火機能を付与することが好ましい。
本発明の壁裏床下接続金物及び壁裏床下配管構造によれば、壁裏空間から床下又は天井裏空間へ配管や配線を連続して配設する作業を、梁や土台の予め決められた位置において効率良く迅速に行うことを可能にすることができる。
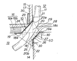
本発明の好ましい第1実施形態に係る壁裏床下接続金物10は、図1に示すように、例えば在来軸組工法による木造住宅建築物において、例えば屋内壁面15に取り付けられる空調設備であるエアコンに接続される、冷媒管、ドレイン管等の配管11や電線類等の配線を、木造住宅建築物の構築時に予め壁裏空間12に配置すると共に、当該壁裏空間12から床下空間13まで連続して配設する際に、例えば梁14の角部分に取り付けて用いられるものである。
すなわち、本第1実施形態によれば、エアコンが取り付けられる屋内壁面15は、例えば住宅の2階居室部分の壁面であり、この居室部分の床部材16は、梁14によって支持される床下地材である厚さが例えば12〜36mmの床パネル16aと、床パネル16aの上面に敷設される床仕上げ材である厚さが例えば9〜15mmの仕上フロア16bとによって構成されている。また、本第1実施形態によれば、梁14の上面に支持させた床部材16から立設して、梁14の直上部分に柱や間柱等が壁用の骨組み部材として設けられており、これにプラスターボード等の壁部材17が取り付けられて屋内壁面15が形成されると共に、壁部材17の裏側の骨組み部材間の間隔部分が、配管11や配線を配設可能な壁裏空間12となっている。本第1実施形態によれば、壁裏床下接続金物10は、梁14の上面に配置される床部材16の全体として例えば24〜50mmとなる厚さを有効利用して、梁14の断面の欠損を抑制しつつ、配管11や配線を壁裏空間12から床下空間(天井裏空間)13まで容易に連続して配設することが可能となるように、梁14の角部分に取り付けて用いられる。
そして、本第1実施形態の壁裏床下接続金物10は、梁14の上方の壁裏空間12と側方の床下空間13とを接続して、これらの間に配管11や配線を連続して配設するために使用する金物であって、図2及び図3(a),(b)にも示すように、中央部分に矩形状の水平開口18が形成された枠状の水平プレート部19と、この水平プレート部19から垂直上方に延設し、水平開口18と連なる垂直開口20が形成された上方垂直プレート部21と、水平プレート部19に対して垂直下方設けられた下方垂直プレート部22と、水平開口18の上方垂直プレート部21と平行な一方の側縁部18aと垂直開口20の上縁部20aとの間に介在して、斜めに設けられた斜めプレート部23と、この斜めプレート部23の側縁部23aと水平開口18の上方垂直プレート部21と垂直な側方側縁部18bとの間に介在して設けられた一対の側面プレート部24とによって構成されている。また壁裏床下接続金物10は、配管11や配線の配設箇所において、水平プレート部19の下方垂直プレート部22を挟んだ斜めプレート部23とは反対側の部分19aを梁14の上面に接合固定すると共に、下方垂直プレート部22を梁14の側面に接合固定することにより、梁14の角部分に取り付けて用いられる。
また、本第1実施形態によれば、壁裏床下接続金物10は、側面プレート部24から水平プレート部19の下方に各々延設して設けられ、下方垂直プレート部22と水平プレート部19との間に介在して、これらが垂直に接合された状態を支持する一対の下方側面プレート部25を備えている。
さらに、本第1実施形態によれば、垂直開口20は、水平プレート部19の下方まで延設して設けられていると共に、水平開口18は、下方垂直プレート部22を挟んだ斜めプレート部23とは反対側の部分にも延設しており、水平開口18の上方垂直プレート部22と平行な他方の側縁部18cと垂直開口20の下縁部20bとの間に介在して斜めに延設する下方斜めプレート部26を設けて、この下方斜めプレート部26を、梁14の角部分に切り欠き形成した斜め欠込み面27(図2参照)に密着配置しつつ、壁裏床下接続金物10は、配管11や配線の配設箇所に取り付けられている。
本第1実施形態によれば、壁裏床下接続金物10は、例えば厚さが0.3〜4.0mmの金属製或いは合成樹脂製等のプレート部材に、切断加工、折曲げ加工、接合加工等を施すことにより、上記各プレート部が一体となった、内側に筒状接続配管部28を備える立体形状となるように容易に形成することができる。ここで、本第1実施形態によれば、水平プレート部19は、縦横110〜160mm程度の矩形の外形形状を備えると共に、10〜30mm程度の幅の帯状外周部分よって周囲を囲まれる内側部分を切り抜くことにより、縦横50〜100mm程度の大きさの、矩形状の水平開口18を備えることになる。
上方垂直プレート部21は、縦横70〜160mm程度の大きさの矩形の外形形状を備えると共に、その一辺部分から縦横50〜100mm程度の大きさの矩形状の切込みが垂直開口20の主要部分として切り欠かれていることにより、20〜30mm程度の幅の帯板によるコの字形状に形成されている。上方垂直プレート部21は、水平開口18の一対の対向する側縁部18a,18cと平行に配置されて水平プレート部19から立設する共に、水平開口18と交差するようにしつつ、切込みを下方に向けて水平プレート部19に接合一体化されている。これによって、垂直開口20は、水平開口18と垂直に連なることになると共に、水平開口18は、下方垂直プレート部22を挟んだ斜めプレート部23とは反対側の部分にも延設することになる。
下方垂直プレート部22は、幅20〜30mm程度、長さ50〜100mm程度の大きさの帯板形状を有しており、後述する一対の下方側面プレート部25を介して水平開口18の側方側縁部18bから支持されることにより、水平プレート部19の下方に間隔をおいて接合一体化されることになる。また本第1実施形態によれば、下方垂直プレート部22は、上方垂直プレート部21と略面一に配置されると共に、これの上端辺と水平プレート部19との間の間隔部分は、上方垂直プレート部21の切込みと連続して当該切込みと共に垂直開口20を形成し、且つ垂直開口20の水平プレート部19より下方に延設する部分を構成することになる。
斜めプレート部23は、縦横70〜100mm程度の大きさの矩形形状を備えており、その上端辺を垂直開口20の上縁部20aに沿って接合すると共に、その下端辺を水平開口18の一方の側縁部18aに沿って接合することにより、上方垂直プレート部21と水平プレート部19とに跨って斜めに延設した状態で接合一体化されることになる。
側面プレート部24は、各々、水平開口18の側方側縁部18bを底辺とし、垂直開口20の各上端角部を頂点とする3角形状を備えており、その底辺を水平開口18の側方側縁部18bに沿って接合すると共に、その一方の斜辺を斜めプレート部23の側縁部23aに沿って接合することにより、上方垂直プレート部21を水平プレート部19に対して強固に立設させた状態を補強しつつ接合一体化されることになる。また各側面プレート部24の他方の斜辺24aは、各々、上方垂直プレート部21を挟んだ斜めプレート部23とは反対側に配置されることになり、これによって、壁裏床下接続金物10の内側に形成された筒状接続配管部28の壁裏空間12側の入口開口29を、斜め上方に向けて開口させるようになっている。
本第1実施形態によれば、側面プレート部24から下方に連続して設けられる下方側面プレート部25は、各々、側面プレート部24の底辺に沿った、上方垂直プレート部21から斜めプレート部23側の水平プレート部19の先端までを底辺とし、下方垂直プレート部22の各下端角部を頂点とする主直角3角形部分25aと、側面プレート部24の底辺の上方垂直プレート部21を挟んだ斜めプレート部23とは反対側の部分を底辺とし、垂直開口20の各下端角部を頂点とする副直角3角形部分25bとを連続一体化した形状を備えている。そして主直角3角形部分25aと副直角3角形部分25bの連続する底辺を、側面プレート部24の底辺から水平プレート部19の下面にかけて接合すると共に、主直角3角形部分25aの垂直辺の副直角3角形部分25bよりも下方に突出する部分を、下方垂直プレート部22の側縁部22aに沿って接合することにより、下方垂直プレート部22を水平プレート部19に対して垂直に配置されるように強固に支持した状態で、下方側面プレート部25が接合一体化されることになる。
また、本第1実施形態によれば、水平開口18の他方の側縁部18cと垂直開口20の下縁部20bとの間に介在して設けられる下方斜めプレート部26は、縦横30〜100mm程度の大きさの矩形形状を備えており、その上端辺を水平開口18の他方の側縁部18cに沿って接合すると共に、その下端辺を垂直開口20の下縁部20bに沿って接合し、且つその側辺26aを下方側面プレート部25の副直角3角形部分25bの斜辺に沿って接合することにより、梁14の角部分に切り欠き形成した斜め欠込み面27に密着配置される部分として接合一体化されることになる。
そして、水平プレート部19、上方垂直プレート部21、下方垂直プレート部22、斜めプレート部23、側面プレート部24、下方側面プレート部25、及び下方斜めプレート部26によって上述のように組立形成された本第1実施形態の壁裏床下接続金物10は、略平行に配置された斜めプレート部23と下方斜めプレート部26との間に30〜60mm程度の相当の幅の間隔が保持されると共に、両端が開口する筒状接続配管部28を備える中空ボックス形状に容易に形成されることになり、この筒状接続配管部28の斜めプレート部23と下方斜めプレート部26との間の間隔部分に配管や配線が挿通配置されることになる。
本第1実施形態によれば、壁裏床下接続金物10は、例えば梁14に支持させて床部材16や間柱等を設置する作業に先立って、梁14の角部分に取り付けて使用する。すなわち、梁14には、配管11や配線の配設箇所に、梁14の強度に影響を及ぼさない欠損可能な断面領域において、予め角部分を切り欠いて斜め欠込み面27が形成されている。そして、この斜め欠込み面27に下方斜めプレート部26を密着配置しつつ、水平プレート部19の下方垂直プレート部22を挟んだ斜めプレート部23とは反対側の部分19aを梁14の上面にビス30等を用いて接合固定すると共に、下方垂直プレート部22を梁14の側面にビス30等を用いて接合固定することにより、壁裏床下接続金物10は、配管11や配線の配設箇所に精度良く位置決めされた状態で強固に取り付けられることになる。
次に、壁裏床下接続金物10の筒状接続配管部28を介して、配管11や配線を壁裏空間12から床下空間13まで連続して配設する作業が行われることになる。このような配設作業は、壁裏床下接続金物10によって明示された配設箇所において、相当の大きさの挿通断面積を備える筒状接続配管部28を介して、欠込みをさらに拡大したり予定しない箇所に欠込みを形成するといった誤った作業を回避しつつ、容易且つスムーズに行うことが可能になる。
さらに、床部材16の取り付け作業は、当該床部材16の梁14の上面に載置される部分における、壁裏床下接続金物10と重なる箇所を切り欠いて行われることになる。本第1実施形態によれば、例えば床パネル16aの切り欠き周縁部分を、水平プレート部19の下方垂直プレート部22を挟んだ斜めプレート部23側に載置して固定することにより、当該水平プレート部19によって支持させた状態で床パネル16aを設置することが可能になると共に、床パネル16a(床部材16)と梁14とが、水平プレート部19を介して接合固定されることになる。また床仕上げ材である仕上フロア16bは、これに切り欠き周縁部分を斜めプレート部23に当接させるようにして設置されることになる。
そして、壁部材17であるプラスターボードは、これの下端部が上方垂直プレート部21に位置決めガイドされつつ固定されると共に、斜めプレート部23の上に当接させた状態で設置されることになる。また、床パネル16aと壁部材17との接合角部分を覆って巾木31が取り付けられることにより、壁裏床下接続金物10は、居室部分から容易に覆い隠されることになる。さらに、壁部材17と梁14とが、上方垂直プレート部21及び下方垂直プレート部22を介して接合固定されることになる。
したがって、本第1実施形態によれば、壁裏床下接続金物11を用いることにより、梁14の上面に配置される床部材16の厚さを有効利用しつつ、壁裏空間12から床下空間13へ配管11や配線を連続して配設する作業を、梁14の予め決められた位置において効率良く迅速に行うことが可能になる。また、本第1実施形態によれば、筒状接続配管部28は、周囲がプレート部21,22,23,24,25,26によって囲まれているので、ここに例えばスプレー式の発泡断熱材50を容易に充填することが可能になり、これによって、冷媒管等を挿通する際の断熱機能を容易に付与することが可能になる。すなわち、本第1実施形態によれば、配管11や配線を通した筒状接続配管部28の隙間部分に断熱材又は不燃材を充填することにより、壁裏空間12と床下空間13とを接続する配管構造に、断熱又は防火機能を容易に付与することが可能になる。なお、断熱材又は不燃材を充填する作業は、手作業によって行っても良い。
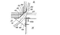
図4は、本発明の第2実施形態に係る壁裏床下接続金物40を用いた壁裏床下配管構造を示すものであり、本第2実施形態によれば、壁裏床下接続金物40は、水平プレート部41と、上方垂直プレート部42と、下方垂直プレート部43と、斜めプレート部44と、側面プレート部45と、下方側面プレート部46とからなり、垂直開口47は水平プレート部41よりも下方に延設することなく、また下方垂直プレート部43は、水平開口48の他方の側縁部48cに沿って水平プレート部41に直接接合されている。
本第2実施形態によれば、壁裏床下接続金物40は、欠込みが形成されていない梁14の角部分に取り付けて用いられ、床部材16の厚さのみを利用して、配管49や配線を挿通する空間を確保するものである。すなわち、欠込みが形成されていない配管49や配線の配設箇所において、水平プレート部41の下方垂直プレート部46を挟んだ斜めプレート部44とは反対側の部分41aを梁14の上面に接合固定すると共に、下方垂直プレート部43を梁14の側面に接合固定することにより、梁14の角部分に取り付けられ、壁裏床下接続金物40の内側の筒状接続配管部50を介して壁裏空間12と床下空間13との間に連続して配管49や配線を配設することを可能にして、上記第1実施形態と同様の作用効果を奏することになる。
なお、本発明は上記各実施形態に限定されることなく種々の変更が可能である。例えば、本発明の壁裏床下接続金物は、梁のみならず土台に取り付けて用いることもできる。また、上方垂直プレート部と下方垂直プレート部とを略面一に設ける必要は必ずしもなく、梁や土台と壁との相対的な位置関係に応じて、これらをずらして設けることもできる。、
本発明の第1実施形態に係る壁裏床下接続金物を用いた配管構造を示す断面図である。 本発明の第1実施形態に係る壁裏床下接続金物の梁部材への取付け状況を説明する斜視図である。 (a)及び(b)は本発明の第1実施形態に係る壁裏床下接続金物を異なる方向から視た斜視図である。 本発明の第2実施形態に係る壁裏床下接続金物を用いた配管構造を示す断面図である。 従来の壁裏床下配管構造の一例を説明する、(a)は斜視図、(b)は断面図である。
符号の説明
10,40 壁裏床下接続金物
11,49 配管
12 壁裏空間
13 床下空間
14 梁
15 屋内壁面
16 床部材
17 壁部材
18,48 水平開口
18a 水平開口の上方垂直プレート部と平行な一方の側縁部
18b 側方側縁部(水平開口の上方垂直プレート部と垂直な側縁部)
18c,48c 水平開口の上方垂直プレート部と平行な他方の側縁部
19,41 水平プレート部
19a 水平プレート部の下方垂直プレート部を挟んだ斜めプレート部とは反対側の部分
20,47 垂直開口
20a 垂直開口の上縁部
21,42 上方垂直プレート部
22,43 下方垂直プレート部
23,44 斜めプレート部
23a 斜めプレート部の側縁部
24,45 側面プレート部
25,46 下方側面プレート部
26 下方斜めプレート部
27 斜め欠込み面
28,50 筒状接続配管部
29 筒状接続配管部の壁裏空間側の入口開口
50 断熱材

Claims (5)

  1. 木造住宅建築物において、梁又は土台の角部分に取り付けられ、前記梁又は土台の上方の壁裏空間と側方の床下又は天井裏空間とを接続して、これらの間に配管や配線を連続して配設するために使用する壁裏床下接続金物であって、
    中央部分に矩形状の水平開口が形成された枠状の水平プレート部と、該水平プレート部から垂直上方に延設し、前記水平開口と連なる垂直開口が形成された上方垂直プレート部と、前記水平プレート部に対して垂直下方に設けられた下方垂直プレート部と、前記水平開口の前記上方垂直プレート部と平行な一方の側縁部と前記垂直開口の上縁部との間に介在して、斜めに設けられた斜めプレート部と、該斜めプレート部の側縁部と、前記水平開口の前記上方垂直プレート部と垂直な側縁部との間に介在して設けられた一対の側面プレート部とからなり、
    前記配管や配線の配設箇所において、前記水平プレート部の前記下方垂直プレート部を挟んだ前記斜めプレート部とは反対側の部分を前記梁又は土台の上面に接合固定すると共に、前記下方垂直プレート部を前記梁又は土台の側面に接合固定することにより、前記角部分に取り付けられる壁裏床下接続金物。
  2. 前記側面プレート部から前記水平プレート部の下方に各々延設して設けられ、前記下方垂直プレート部と前記水平プレート部との間に介在して、これらが垂直に接合された状態を支持する一対の下方側面プレート部を備える請求項1に記載の壁裏床下接続金物。
  3. 前記垂直開口は、前記水平プレート部の下方まで延設して設けられていると共に、前記水平開口は、前記下方垂直プレート部を挟んだ前記斜めプレート部とは反対側の部分にも延設しており、前記水平開口の前記上方垂直プレート部と平行な他方の側縁部と前記垂直開口の下縁部との間に介在して斜めに延設する下方斜めプレート部を設けて、該下方斜めプレート部を、前記梁又は土台の角部分に切り欠き形成した斜め欠込み面に密着配置しつつ、前記配管や配線の配設箇所に取り付けられる請求項1又は2に記載の壁裏床下接続金物。
  4. 請求項1〜3のいずれかに記載の壁裏床下接続金物を梁又は土台の角部分に取り付け、当該壁裏床下接続金物の内側の筒状接続配管部を介することにより、壁裏空間と床下又は天井裏空間との間に連続して配管や配線を配設する壁裏床下配管構造。
  5. 前記配管や配線を通した前記筒状接続配管部の隙間部分に断熱材又は不燃材を充填することにより、断熱又は防火機能が付与された請求項4記載の壁裏床下配管構造。
JP2004107539A 2004-03-31 2004-03-31 壁裏床下接続金物 Expired - Fee Related JP4264376B2 (ja)

Priority Applications (1)

Application Number Priority Date Filing Date Title
JP2004107539A JP4264376B2 (ja) 2004-03-31 2004-03-31 壁裏床下接続金物

Applications Claiming Priority (1)

Application Number Priority Date Filing Date Title
JP2004107539A JP4264376B2 (ja) 2004-03-31 2004-03-31 壁裏床下接続金物

Publications (2)

Publication Number Publication Date
JP2005290841A true JP2005290841A (ja) 2005-10-20
JP4264376B2 JP4264376B2 (ja) 2009-05-13

Family

ID=35324087

Family Applications (1)

Application Number Title Priority Date Filing Date
JP2004107539A Expired - Fee Related JP4264376B2 (ja) 2004-03-31 2004-03-31 壁裏床下接続金物

Country Status (1)

Country Link
JP (1) JP4264376B2 (ja)

Cited By (3)

* Cited by examiner, † Cited by third party
Publication number Priority date Publication date Assignee Title
JP2009097280A (ja) * 2007-10-18 2009-05-07 Panasonic Electric Works Co Ltd 棚板付補助壁の構造
JP2011001693A (ja) * 2009-06-16 2011-01-06 Maezawa Kasei Ind Co Ltd 通気管用継手
JP5956668B1 (ja) * 2015-12-02 2016-07-27 慎一郎 秋 木造建物及びその外周壁構造

Cited By (3)

* Cited by examiner, † Cited by third party
Publication number Priority date Publication date Assignee Title
JP2009097280A (ja) * 2007-10-18 2009-05-07 Panasonic Electric Works Co Ltd 棚板付補助壁の構造
JP2011001693A (ja) * 2009-06-16 2011-01-06 Maezawa Kasei Ind Co Ltd 通気管用継手
JP5956668B1 (ja) * 2015-12-02 2016-07-27 慎一郎 秋 木造建物及びその外周壁構造

Also Published As

Publication number Publication date
JP4264376B2 (ja) 2009-05-13

Similar Documents

Publication Publication Date Title
JP4049564B2 (ja) 耐火間仕切壁及びその施工方法
WO2003027413A9 (en) Method and system for providing conduit and boxes in a closed wall system
JP4264376B2 (ja) 壁裏床下接続金物
JP3459698B2 (ja) 部屋形成用部材
JP2002322740A (ja) 機器類収容函
JP2002097730A (ja) 区画壁の固定構造
JP2018155037A (ja) 建物
JP4381537B2 (ja) ユニット式建物およびその組立方法
JP4081204B2 (ja) ユニット建物
JP6770829B2 (ja) 建物ユニット及び壁パネルの接合構造並びに接合方法
JP2020051182A (ja) 仮設建物の壁構造
JPH0569937B2 (ja)
JP2840200B2 (ja) 床パネルの取付構造
JPS6241008B2 (ja)
JP4438551B2 (ja) 組み立て式建屋
JPH1181470A (ja) 簡易建築物の躯体組立て構造
JPS6113806B2 (ja)
JP5588215B2 (ja) 浴室設置方法
JP2878630B2 (ja) 床施工方法
JP2006009357A (ja) 間仕切壁
JPH11229524A (ja) ユニット建物の柱の耐火構造
JP2922777B2 (ja) ユニット式建物におけるエアコン室内機の取付構造および取付方法
JP2001207547A (ja) ユニット式建物およびその組立方法
JP4664083B2 (ja) 軸組工法におけるファイヤーストップ構造
JP3510791B2 (ja) 空調機付き建物ユニットとユニット建物

Legal Events

Date Code Title Description
A621 Written request for application examination

Free format text: JAPANESE INTERMEDIATE CODE: A621

Effective date: 20070308

A977 Report on retrieval

Free format text: JAPANESE INTERMEDIATE CODE: A971007

Effective date: 20090116

TRDD Decision of grant or rejection written
A01 Written decision to grant a patent or to grant a registration (utility model)

Free format text: JAPANESE INTERMEDIATE CODE: A01

Effective date: 20090203

A01 Written decision to grant a patent or to grant a registration (utility model)

Free format text: JAPANESE INTERMEDIATE CODE: A01

A61 First payment of annual fees (during grant procedure)

Free format text: JAPANESE INTERMEDIATE CODE: A61

Effective date: 20090216

FPAY Renewal fee payment (event date is renewal date of database)

Free format text: PAYMENT UNTIL: 20120220

Year of fee payment: 3

R150 Certificate of patent or registration of utility model

Free format text: JAPANESE INTERMEDIATE CODE: R150

FPAY Renewal fee payment (event date is renewal date of database)

Free format text: PAYMENT UNTIL: 20150220

Year of fee payment: 6

R250 Receipt of annual fees

Free format text: JAPANESE INTERMEDIATE CODE: R250

LAPS Cancellation because of no payment of annual fees