JP2004143753A - ブラインド内蔵複層ガラス - Google Patents
ブラインド内蔵複層ガラス Download PDFInfo
- Publication number
- JP2004143753A JP2004143753A JP2002308460A JP2002308460A JP2004143753A JP 2004143753 A JP2004143753 A JP 2004143753A JP 2002308460 A JP2002308460 A JP 2002308460A JP 2002308460 A JP2002308460 A JP 2002308460A JP 2004143753 A JP2004143753 A JP 2004143753A
- Authority
- JP
- Japan
- Prior art keywords
- blind
- worm gear
- built
- double
- weight
- Prior art date
- Legal status (The legal status is an assumption and is not a legal conclusion. Google has not performed a legal analysis and makes no representation as to the accuracy of the status listed.)
- Pending
Links
- 230000005540 biological transmission Effects 0.000 claims abstract description 27
- 239000011521 glass Substances 0.000 claims description 38
- 230000003028 elevating effect Effects 0.000 claims description 12
- 125000006850 spacer group Chemical group 0.000 claims description 8
- 230000005494 condensation Effects 0.000 description 5
- 238000009833 condensation Methods 0.000 description 5
- 230000000694 effects Effects 0.000 description 4
- 239000000463 material Substances 0.000 description 3
- 230000008719 thickening Effects 0.000 description 2
- 238000005452 bending Methods 0.000 description 1
- 238000004904 shortening Methods 0.000 description 1
- 238000004804 winding Methods 0.000 description 1
Images
Classifications
-
- E—FIXED CONSTRUCTIONS
- E06—DOORS, WINDOWS, SHUTTERS, OR ROLLER BLINDS IN GENERAL; LADDERS
- E06B—FIXED OR MOVABLE CLOSURES FOR OPENINGS IN BUILDINGS, VEHICLES, FENCES OR LIKE ENCLOSURES IN GENERAL, e.g. DOORS, WINDOWS, BLINDS, GATES
- E06B9/00—Screening or protective devices for wall or similar openings, with or without operating or securing mechanisms; Closures of similar construction
- E06B9/24—Screens or other constructions affording protection against light, especially against sunshine; Similar screens for privacy or appearance; Slat blinds
- E06B9/26—Lamellar or like blinds, e.g. venetian blinds
- E06B9/264—Combinations of lamellar blinds with roller shutters, screen windows, windows, or double panes; Lamellar blinds with special devices
-
- E—FIXED CONSTRUCTIONS
- E06—DOORS, WINDOWS, SHUTTERS, OR ROLLER BLINDS IN GENERAL; LADDERS
- E06B—FIXED OR MOVABLE CLOSURES FOR OPENINGS IN BUILDINGS, VEHICLES, FENCES OR LIKE ENCLOSURES IN GENERAL, e.g. DOORS, WINDOWS, BLINDS, GATES
- E06B9/00—Screening or protective devices for wall or similar openings, with or without operating or securing mechanisms; Closures of similar construction
- E06B9/24—Screens or other constructions affording protection against light, especially against sunshine; Similar screens for privacy or appearance; Slat blinds
- E06B9/26—Lamellar or like blinds, e.g. venetian blinds
- E06B9/264—Combinations of lamellar blinds with roller shutters, screen windows, windows, or double panes; Lamellar blinds with special devices
- E06B2009/2643—Screens between double windows
- E06B2009/2646—Magnetic screen operator
Landscapes
- Engineering & Computer Science (AREA)
- Structural Engineering (AREA)
- Architecture (AREA)
- Civil Engineering (AREA)
- Blinds (AREA)
Abstract
【課題】
【解決手段】複層ガラスの内部空間5内にブラインド6を内蔵させ、その左右にスクリュー軸14,15を配設し、外部に設けたブラインド操作装置7におけるプーリー9の回転に従って、連動回転するウォームギア11を内部空間5内に設け、ウォームギア11により、直接、または伝動回転軸18を介して、スクリュー軸14,15を連動回転させて、スクリュー軸14,15に螺合させた昇降管21,22を上下移動させるとともに、少なくとも一方に、錘26を取り付け、昇降管21,22を、固定滑車24a,24bを介して、ブラインド6の下端部と紐状物25によって連結したブラインド内蔵複層ガラスとする。
【選択図】 図3
【解決手段】複層ガラスの内部空間5内にブラインド6を内蔵させ、その左右にスクリュー軸14,15を配設し、外部に設けたブラインド操作装置7におけるプーリー9の回転に従って、連動回転するウォームギア11を内部空間5内に設け、ウォームギア11により、直接、または伝動回転軸18を介して、スクリュー軸14,15を連動回転させて、スクリュー軸14,15に螺合させた昇降管21,22を上下移動させるとともに、少なくとも一方に、錘26を取り付け、昇降管21,22を、固定滑車24a,24bを介して、ブラインド6の下端部と紐状物25によって連結したブラインド内蔵複層ガラスとする。
【選択図】 図3
Description
【0001】
【発明の属する技術分野】
本発明は、ブラインドを内蔵した複層ガラスに関する。
【0002】
【従来の技術】
複層ガラスは、優れた断熱および遮音の効果を奏するため、近年、一般住宅、事務所、学校等において、その使用が増加している。
巻き上げ式のブラインドを、複層ガラス内に内蔵させたものもあるが、この場合、いわゆる巻き太りのために、複層ガラス内の空気層の厚さを29mm程度以上とする必要がある。
【0003】
一般に、複層ガラスの内部空間は、結露を防止するため、密閉構造とされている。そのため、前記のように空気層が厚くなると、気温の変化により、空気が熱膨張し、その影響で、ガラス板の周囲をシールしているコーキング材が破損し、密閉構造が損なわれ、結露を生ずるという不都合がみられる。
【0004】
また、空気層の厚さを29mmとした複層ガラスは、各ガラス板の厚さ3mmを加えて、全体の厚さが35mmとなり、奥行寸法が過大となって、一般の標準タイプの市販サッシには取り付けることができない。
【0005】
一方、巻き太りを回避するため、ブラインドの下端に昇降バーを取り付け、この昇降バーの両端または一端に内部磁石片を設け、この内部磁石片と引合う外部磁石片を上下に移動させて、昇降バーを外部磁石片に追従移動させるようにした発明が提案されている(特許文献1)。
【0006】
しかし、この発明は、ブラインドの下端部を磁石の吸引力により、直接持ち上げるため、ブラインドにおける昇降バーやスラットの重量により、内部磁石片が外部磁石片に追従移動しない場合が生ずるという問題がある。
【0007】
【特許文献1】
特開平8−312267
(特に、請求項1および図1参照)。
【0008】
【発明が解決しようとする課題】
本発明は、前記現状に鑑み、一般の複層ガラスとして、最も多用されている空気層の厚さが12mmの複層ガラス内に、ブラインドを内蔵させ、空気層の厚さが大きい場合に生ずるコーキング材の破損による結露等の不都合を防止するとともに、標準タイプの市販サッシへの取り付けを可能とし、かつブラインドの下端部を上下移動させて開閉する際に、操作に対するブラインドの下端部の上下方向の追従移動性を良好にして、操作性に優れたブラインド内蔵複層ガラスを提供することを目的とする。
【0009】
【課題を解決するための手段】
本発明によると、上記課題は、次のようにして解決される。
(1) スペーサを介して隔置したガラス板間の内部空間内にブラインドを内蔵させ、このブラインドの左右にブラインド開閉制御用のスクリュー軸を上下方向に配設し、前記内部空間の外部に設けたブラインド操作装置におけるプーリーの回転に従って、磁石の吸引力により連動回転するウォームギアを前記内部空間内に設け、このウォームギアにより、直接、または伝動回転軸を介して間接に、前記左右のスクリュー軸を連動回転させて、このスクリュー軸にそれぞれ螺合させた昇降管を上下移動させるとともに、この左右の昇降管を、それぞれ固定滑車を介して、ブラインドの下端部と紐状物によって連結し、かつ前記左右の昇降管の少なくとも一方に、錘を取り付け、この錘の重量により、前記スクリュー軸を連動回転させるための前記ウォームギアを回転させるのに必要な駆動力を小さくしたことを特徴とするブラインド内蔵複層ガラスとする。
【0010】
(2) 上記(1)項において、前記左右のスクリュー軸のうち、一方のスクリュー軸については、このスクリュー軸に設けたウォームホイールを、前記ウォームギアに噛合させ、他方のスクリュー軸については、水平方向に配設した伝動回転軸の一端に設けたウォームホイールを、前記ウォームギアに噛合させ、他端に設けた傘歯車を、スクリュー軸の一端に設けた傘歯車と噛合させることによって、ウォームギアを回転させることにより、左右のスクリュー軸を連動回転させるようにする。
【0011】
(3) 上記(1)項または(2)項において、前記ブラインド操作装置を、磁石を取り付けたプーリーと、このプーリーを回転操作するチェーンとより形成し、前記プーリーを複層ガラスにおける一方のガラス板を介して、前記ウォームギアと対面させるとともに、このウォームギアに磁石を取り付け、前記プーリーとウォームギアにおける両磁石の吸引力により、ウォームギアをプーリーの回転に従って連動回転させるようにする。
【0012】
(4) 上記(1)項〜(3)項のいずれかにおいて、前記左右のスクリュー軸にそれぞれ螺合する昇降管を、遊嵌状態で螺合させたものとする。
【0013】
(5) 上記(1)項〜(4)項のいずれかにおいて、前記左右のスクリュー軸に噛合させた昇降管のうち、伝動回転軸を介さずに直接に、前記ウォームギアに噛合させたスクリュー軸に噛合させた昇降管にのみ、錘を付したものとする。
【0014】
(6) 上記(1)項〜(5)項のいずれかにおいて、前記左右の昇降管を、それぞれ固定滑車を介して、ブラインドのボトムレールと紐状物によって連結したものとする。
【0015】
(7) 上記(1)〜(6)項のいずれかにおいて、ブラインドを開閉する際に、上下方向に移動させる、ブラインドにおけるスラットとボトムレールの総重量と、左右の昇降管またはその一方に取り付ける錘の重量のうち、錘として作用する有効重量とを、ほぼ等しくなるように調節する。
【0016】
(8) 上記(2)項〜(7)項のいずれかにおいて、水平方向に配設した前記伝動回転軸に、コイルばねの両端の各端をそれぞれブラインドの表と裏側に配置させたスプリングクラッチを外嵌させ、このスプリングクラッチの各端に、ブラインドにおけるスラットを連結する表と裏側のそれぞれのラダーコードを連結し、ブラインドの下端部を上下方向に移動させている際には、前記スプリングクラッチが摺動して、前記伝動回転軸の回転に連動回転せず、ブラインドの下端部の上下方向の移動を止めた際には、前記スプリングクラッチが、前記伝動回転軸の回転に連動回転して、ブラインドにおけるスラットの開度の角度調節により開閉制御をなし得るようにする。
【0017】
(9) 上記(1)項〜(8)項のいずれかにおいて、前記スペーサを介して隔置したガラス板間に形成した内部空間を、密閉空間としたものとする。
【0018】
(10) 上記(1)項〜(9)項のいずれかにおいて、前記スペーサを介して隔置したガラス板間の内寸をほぼ12mmとする。
【0019】
【発明の実施の形態】
図1は、本発明のブラインド内蔵複層ガラスの実施形態の正面図、図2は、右側面図である。
本発明のブラインド内蔵複層ガラス(1)は、複層ガラス(2)、すなわちスペーサ(3)を介して隔置したガラス板(4a)(4b)構造における密閉された内部空間(5)内に内蔵したブラインド(6)を、前記内部空間(5)の外部に設けたブラインド操作装置(7)におけるチェーン(8)を操作して、開閉させるようになっている。
【0020】
図3は、図2におけるIII〜III線縦断面図である。
図4は、図1におけるIV〜IV線縦断面図、図5は、図3における破線円V内の部分拡大図である。
【0021】
前記ブラインド操作装置(7)は、操作用のチェーン(8)と、このチェーン(8)によって回転されるプーリー(9)と、プーリーカバー(10)とよりなる。
複層ガラス(2)の内部空間(5)には、前記プーリー(9)と対面する位置に、ウォームギア(11)が設けられている。
【0022】
図4、図5に示すように、前記プーリー(9)とウォームギア(11)とが、一方のガラス板(4a)を介して、相互に対面する面には、相互に吸引する磁石(12)(13)が埋め込まれている。
これらの磁石(12)(13)の吸引力により、プーリー(9)の回転に従って、ウォームギア(11)が連動回転するようになっている。
【0023】
ブラインド(6)の左右には、ブラインド開閉制御用のスクリュー軸(14)(15)が、上下方向に設けられている。
【0024】
図3において、右側のスクリュー軸(14)の上端には、ウォームホイール(16)が一体的に取り付けられており、ウォームギア(11)と噛合している。
一方、左側のスクリュー軸(15)の上端には、傘歯車(17)が一体的に取り付けられており、この傘歯車(17)は、ブラインド(6)の上方に水平方向に配設した伝動回転軸(18)の左端に同じく一体的に取り付けられた傘歯車(19)と噛合している。
【0025】
伝動回転軸(18)の右端には、ウォームホイール(20)が一体的に取り付けられ、ウォームギア(11)と噛合している。
左右のスクリュー軸(14)(15)には、それぞれ昇降管(21)(22)が、遊嵌状態で螺合されている。
【0026】
図6の(a)、(b)図は、それぞれ図3におけるVI(a)〜VI(a)線横断面図、VI(b)〜VI(b)線横断面図である。
昇降管(21)(22)をスクリュー軸(14)(15)に遊嵌状態で螺合させるには、昇降管(21)(22)における雌ねじの歯底および歯先と、スクリュー軸(14)(15)における雄ねじの歯先および歯底とを、相当程度の間隙を保持して螺合させる形態以外に、図6の(a)(b)図に示すように、たとえば昇降管(21)(22)に連続した雌ねじを設けることなく、スクリュー軸(14)(15)における雄ねじの歯丈よりも高さの低い少数の突起、たとえば内側向きに放射状に配置された3個の突起(21a)(22a)を設け、この突起をスクリュー軸(14)(15)の雄ねじに螺合させる形態も推奨される。
【0027】
昇降管(21)(22)をスクリュー軸(14)(15)に遊嵌状態で螺合させることによって、スクリュー軸(14)(15)の回転にともなって、昇降管(21)(22)を上下移動させることが容易となる。
【0028】
各昇降管(21)(22)は、ブラインド(6)の下端部におけるボトムレール(23)の右端(23a)または左端(23b)と、固定滑車(24a)(24b)を介して、紐状物(25)によって連結されている。
右側のスクリュー軸(14)に螺合された昇降管(21)には、錘(26)が取り付けられている。
【0029】
ブラインド(6)の下端部を上下移動させて開閉する際の機構は、次のとおりである。
図1において、ブラインド操作装置(7)におけるチェーン(8)を操作して、プーリー(9)を時計回りに回転させる。このプーリー(9)の回転にともない、一方のガラス板(4a)を介して対面する、図3に示すウォームギア(11)が、磁石の吸引力により、同じく時計回りに回転する。
【0030】
ウォームギア(11)の時計回りの回転により、これと噛合しているウォームホイール(16)を介して、右側のスクリュー軸(14)が平面視において、反時計回りに回転する。このスクリュー軸(14)の回転にともない、昇降管(21)が下向きに移動する。すなわち、昇降管(21)は、紐状物(25)によって固定滑車(24a)を介して、ブラインド(6)におけるボトムレール(23)と連結されて、ボトムレール(23)やスラット(27)の重量が負荷されているとともに、昇降管(21)の左右幅が、内部空間(5)の前後幅よりも大きいため、スクリュー軸(14)の回転に連動して回転することができない。そのため昇降管(21)は、スクリュー軸(14)の回転にともない、下向きに移動する。
昇降管(21)の下向きの移動は、ボトムレール(23)を上向きに移動させるように作用する。
【0031】
一方、ウォームギア(11)の時計回りの回転により、これと噛合しているウォームホイール(20)を介して、伝動回転軸(18)が右側面視において、時計回りに回転する。この伝動回転軸(18)の時計回りの回転により、2つの傘歯車(19)(17)を介して、左側のスクリュー軸(15)が平面視において時計回りに回転する。このスクリュー軸(15)の回転にともない、昇降管(22)が下向きに移動する。昇降管(22)の下向きの移動は、ボトムレール(23)を上向きに移動させるように作用する。
【0032】
このように、左右の昇降管(21)(22)が同時に下向きに移動し、ボトムレール(23)を上向きに移動させるように作用するため、ボトムレール(23)は水平状態を保持しながら、上向きに移動し、ブラインド(6)を下端部から順次、上部に向けて折り畳むようにして、開いた状態とすることができる。
【0033】
ブラインド(6)のボトムレール(23)を所望の位置まで上方に移動させて開いた状態とした後に、チェーン(8)の操作によるプーリー(9)の回転を停止すれば、ボトムレール(23)は、その位置で保持される。すなわち、スクリュー軸(14)(15)には、ブラインド(6)を構成する複数のスラット(27)のうち、ボトムレール(23)とともに、上方に移動させて持ち上げたスラット(27)の重量と、錘(26)の重量のうち、錘として作用する有効重量との差にほぼ相当する力が負荷されて、スクリュー軸(14)(15)を回転させようとするが、ウォームホイール(16)(20)からウォームギア(11)への回転の伝動が不可能なため、ボトムレール(23)の移動は、上下方向いずれについても阻止されて、ボトムレール(23)は定位置を保持する。
【0034】
また、ボトムレール(23)を上方に移動させてブラインド(6)を開いた状態から、再びボトムレール(23)を下方に移動させてブラインド(6)を閉じる際には、チェーン(8)を操作して、ブラインド(6)を開く場合とは逆向きに、プーリー(9)を回転させればよい。
【0035】
本発明のブラインド内蔵複層ガラスは、スクリュー軸(14)に噛合させた昇降管(21)に錘(26)を取り付け、この錘(26)とボトムレール(23)を紐状物(25)を介して連結していることが大きな特徴である。
【0036】
このような機構とすることにより、ブラインド(6)を、ボトムレール(23)を上下方向に移動させて開閉する際のウォームギア(11)を回転させるために必要な力が大幅に減少する。すなわち、このウォームギア(11)を回転させるために必要な力は、ブラインド(6)を開閉する際に、上下方向に移動させるスラット(27)とボトムレール(23)との総重量と、錘(26)の重量のうち、錘として作用する有効重量との差に、スクリュー軸(14)(15)、伝動回転軸(18)、ウォームギア(11)、ウォームホイール(20)、傘歯車(17)(19)等の機構における回転摩擦力を加えたものである。
【0037】
然るに、前記錘(26)の重量のうち、錘として作用する有効重量を、前記スラット(27)とボトムレール(23)との総重量とほぼ等しくなるように調節することにより、これらの差をほぼ零に近くすることができる。
なお、ここで錘として作用する有効重量とは、錘(26)を取り付けた昇降管(21)がスクリュー軸(14)に噛合しているため、バランサーとして有効に作用するのは、錘の重量の数割であり、このバランサーとして作用する重量を称する。
【0038】
このため、ウォームギア(11)を回転させるために必要な力は、実質的に前記機構における回転摩擦力だけとなる。この回転摩擦力は、元来、小さいものである。したがって、ウォームギア(11)を回転させるために必要な力は、小さい力で充分である。
【0039】
このため、チェーン(8)を操作して、プーリー(9)を回転させ、このプーリー(9)の回転に従って、磁石の吸引力を介してウォームギア(11)を連動して回転させる際に、ウォームギア(11)には、小さい前記摩擦力しか負荷されていないため、前記ウォームギア(11)の連動回転が確実に行われる。
【0040】
また、本実施形態では、錘(26)を、左右の昇降管(21)(22)のうち、一方の昇降管(21)にのみ取り付けたが、両方の昇降管(21)(22)に取り付けてもよい。
この場合は、両方の昇降管(21)(22)に取り付けた錘の重量のうち、錘として作用する有効重量の和が、前記スラット(27)とボトムレール(23)との総重量とほぼ等しくなるように調節すればよい。
なお、昇降管(21)(22)の重量が大きい場合、たとえば、左右の昇降管(21)(22)の有効総重量が、前記スラット(27)とボトムレール(23)との総重量とほぼ等しい場合などは、昇降管(21)(22)が実質的に錘(26)の作用をもなすため、別途錘(26)を取り付けることは不要である。
この実施形態も、本明細書においては、昇降管(21)(22)に錘(26)を取り付けた一実施形態として取扱う。
【0041】
図7は、図3における破線円VII内の部分拡大図、図8は、図7の部分斜視図である。
ブラインド(6)は、側面視において、上下方向に並ぶ各スラット(27)を水平になるように位置させたときの各スラット(27)のブラインド表側縁同士、ブラインド裏側内同士をラダーコード(28)で連結し、下端にボトムレール(23)を取り付けて形成されている。
【0042】
各スラット(27)の縦方向から水平方向までの角度を調節することにより、ブラインド(6)の開閉を制御することができる。
【0043】
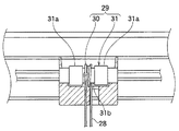
伝動回転軸(18)には、スラット角度調節部(29)が設けられている。スラット角度調節部(29)は、スプリングクラッチ(30)と、このスプリングクラッチ(30)の取付部(31)とよりなる。
【0044】
スプリングクラッチ(30)は、コイルばねの両端をそれぞれ上向きに折り曲げて、前記ラダーコード(28)の係止部(30a)を設けて形成されている。
【0045】
取付部(31)は、伝動回転軸(18)を、2段に拡径するとともに、その最大拡径部(31a)の中央において、1段に縮径して縮径部(31b)を形成してある。スプリングクラッチ(30)は、前記縮径部(31b)に緊縛に外嵌されている。
【0046】
スプリングクラッチ(30)は、ラダーコード(28)の上端を係止する各係止部(30a)(30b)を、ブラインド(6)の表と裏側に配置させ、ブラインド(6)の表側に位置する係止部(30a)には、各スラット(27)のブラインド表側縁同士を連結するラダーコード(28)の上端を、ブラインド(6)の裏側に位置する係止部(30b)には、各スラット(27)のブラインド裏側縁同士を連結するラダーコード(28)の上端を、それぞれ係止させてある。
【0047】
チェーン(8)を操作して、プーリー(9)を回転させ、同時にウォームギア(11)を連動回転させながら、ボトムレール(23)を上下方向に移動させている間は、スプリングクラッチ(30)は摺動して、伝動回転軸(18)の回転に連動回転せず、ボトムレール(23)の上下方向の移動を止めた際には、スプリングクラッチ(30)は、伝動回転軸(18)の回転に連動回転して、ブラインド(6)におけるスラット(27)の開度の角度調節により開閉制御をなし得るようになっている。
【0048】
すなわち、たとえば、ボトムレール(23)を所望の位置まで、上方に移動させた後に、チェーン(8)の操作を一旦止め、次いで伝動回転軸(18)を半回転以内の範囲で、わずかに回転させるようにチェーン(8)を操作することにより、スプリングクラッチ(30)が、伝動回転軸(18)の回転に連動回転して、スラット(27)の開度の角度調節がなされる。
【0049】
【発明の効果】
本発明によれば、次のような効果が奏せられる。
(1) 請求項1記載の発明によれば、本発明のブラインド内蔵複層ガラスにおけるブラインドは、巻き上げ式でないため、一般の複層ガラスとして、最も多用されている空気層の厚さが12mmの複層ガラス内に、ブラインドを内蔵させることができる。
このため空気層の厚さが大きい場合に生ずるコーキング材の破損による結露等の不都合を防止することができるとともに、標準タイプの市販サッシに容易に取り付けることができる。
さらに、錘を利用して、ウォームギアに負荷される力を軽減しているため、ブラインドのボトムレールを上下方向に移動させて開閉する際に、チェーンの操作に対するボトムレールの上下方向の追従移動性が良好であり、操作性に優れる。
【0050】
(2) 請求項2記載の発明によれば、比較的簡単な機構で、上記(1)項に記載の効果が奏せられる発明を構成することができるとともに、ウォームギアとウォームホイールの組合わせによって、ボトムレールを上下方向の所望の位置で安定的に保持して、ブラインドの開き程度を調節することができる。
【0051】
(3) 請求項3記載の発明によれば、密閉空間内部に収容されたウォームギアを、外部に設けたブラインド操作装置によって、効率よく連動回転させることができる。
【0052】
(4) 請求項4記載の発明によれば、スクリュー軸の回転に従って、昇降管を容易に上下方向に移動させることができる。
【0053】
(5) 請求項5記載の発明によれば、比較的にコンパクトなブラインド内蔵複層ガラスを得ることができる。
【0054】
(6) 請求項6記載の発明によれば、ブラインドにおける部品の中で、最も重いボトムレールを、固定滑車を介して昇降管と紐状物によって連結することにより、ボトムレールを上下方向に移動させて行うブラインドの開閉操作を円滑にすることができる。
【0055】
(7) 請求項7記載の発明によれば、ボトムレールを上下方向に移動させてブラインドを開閉する際のウォームギアに負荷される力を最小限にして、チェーンを操作して回転させるプーリーに対する前記ウォームギアの連動回転性を高め、操作性を優れたものとすることができる。
【0056】
(8) 請求項8記載の発明によれば、スラットの開度の角度調節を効果的に行うことができる。
【0057】
(9) 請求項9記載の発明によれば、内部空間における結露を効果的に防止し、複層ガラスの曇りを防ぎ、かつブラインドの開閉機構の湿気による耐用期間の短縮を防止することができる。
【0058】
(10) 請求項10記載の発明によれば、本発明のブラインド内蔵複層ガラスを、標準タイプの市販サッシに容易に取り付けることができる。
【図面の簡単な説明】
【図1】本発明のブラインド内蔵複層ガラスの実施形態の正面図である。
【図2】同じく、右側面図である。
【図3】図2におけるIII〜III線縦断面図である。
【図4】図1におけるIV〜IV線縦断面図である。
【図5】図3における破線円V内の部分拡大図である。
【図6】(a)、(b)図は、それぞれ図3におけるVI(a)〜VI(a)線横断面図、VI(b)〜VI(b)線横断面図である。
【図7】図3における破線円VII内の部分拡大図である。
【図8】図7の部分斜視図である。
【符号の説明】
(1)ブラインド内蔵複層ガラス
(2)複層ガラス
(3)スペーサ
(4a)(4b)ガラス板
(5)内部空間
(6)ブラインド
(7)ブラインド操作装置
(8)チェーン
(9)プーリー
(10)プーリーカバー
(11)ウォームギア
(12)(13)磁石
(14)(15)スクリュー軸
(16)ウォームホイール
(17)傘歯車
(18)伝動回転軸
(19)傘歯車
(20)ウォームホイール
(21)(22)昇降管
(21a)(22a)突起
(23)ボトムレール
(23a)左端
(23b)右端
(24a)(24b)固定滑車
(25)紐状物
(26)錘
(27)スラット
(28)ラダーコード
(29)スラット角度調節部
(30)スプリングクラッチ
(30a)(30b)係止部
(31)取付部
(31a)最大拡径部
(31b)縮径部
【発明の属する技術分野】
本発明は、ブラインドを内蔵した複層ガラスに関する。
【0002】
【従来の技術】
複層ガラスは、優れた断熱および遮音の効果を奏するため、近年、一般住宅、事務所、学校等において、その使用が増加している。
巻き上げ式のブラインドを、複層ガラス内に内蔵させたものもあるが、この場合、いわゆる巻き太りのために、複層ガラス内の空気層の厚さを29mm程度以上とする必要がある。
【0003】
一般に、複層ガラスの内部空間は、結露を防止するため、密閉構造とされている。そのため、前記のように空気層が厚くなると、気温の変化により、空気が熱膨張し、その影響で、ガラス板の周囲をシールしているコーキング材が破損し、密閉構造が損なわれ、結露を生ずるという不都合がみられる。
【0004】
また、空気層の厚さを29mmとした複層ガラスは、各ガラス板の厚さ3mmを加えて、全体の厚さが35mmとなり、奥行寸法が過大となって、一般の標準タイプの市販サッシには取り付けることができない。
【0005】
一方、巻き太りを回避するため、ブラインドの下端に昇降バーを取り付け、この昇降バーの両端または一端に内部磁石片を設け、この内部磁石片と引合う外部磁石片を上下に移動させて、昇降バーを外部磁石片に追従移動させるようにした発明が提案されている(特許文献1)。
【0006】
しかし、この発明は、ブラインドの下端部を磁石の吸引力により、直接持ち上げるため、ブラインドにおける昇降バーやスラットの重量により、内部磁石片が外部磁石片に追従移動しない場合が生ずるという問題がある。
【0007】
【特許文献1】
特開平8−312267
(特に、請求項1および図1参照)。
【0008】
【発明が解決しようとする課題】
本発明は、前記現状に鑑み、一般の複層ガラスとして、最も多用されている空気層の厚さが12mmの複層ガラス内に、ブラインドを内蔵させ、空気層の厚さが大きい場合に生ずるコーキング材の破損による結露等の不都合を防止するとともに、標準タイプの市販サッシへの取り付けを可能とし、かつブラインドの下端部を上下移動させて開閉する際に、操作に対するブラインドの下端部の上下方向の追従移動性を良好にして、操作性に優れたブラインド内蔵複層ガラスを提供することを目的とする。
【0009】
【課題を解決するための手段】
本発明によると、上記課題は、次のようにして解決される。
(1) スペーサを介して隔置したガラス板間の内部空間内にブラインドを内蔵させ、このブラインドの左右にブラインド開閉制御用のスクリュー軸を上下方向に配設し、前記内部空間の外部に設けたブラインド操作装置におけるプーリーの回転に従って、磁石の吸引力により連動回転するウォームギアを前記内部空間内に設け、このウォームギアにより、直接、または伝動回転軸を介して間接に、前記左右のスクリュー軸を連動回転させて、このスクリュー軸にそれぞれ螺合させた昇降管を上下移動させるとともに、この左右の昇降管を、それぞれ固定滑車を介して、ブラインドの下端部と紐状物によって連結し、かつ前記左右の昇降管の少なくとも一方に、錘を取り付け、この錘の重量により、前記スクリュー軸を連動回転させるための前記ウォームギアを回転させるのに必要な駆動力を小さくしたことを特徴とするブラインド内蔵複層ガラスとする。
【0010】
(2) 上記(1)項において、前記左右のスクリュー軸のうち、一方のスクリュー軸については、このスクリュー軸に設けたウォームホイールを、前記ウォームギアに噛合させ、他方のスクリュー軸については、水平方向に配設した伝動回転軸の一端に設けたウォームホイールを、前記ウォームギアに噛合させ、他端に設けた傘歯車を、スクリュー軸の一端に設けた傘歯車と噛合させることによって、ウォームギアを回転させることにより、左右のスクリュー軸を連動回転させるようにする。
【0011】
(3) 上記(1)項または(2)項において、前記ブラインド操作装置を、磁石を取り付けたプーリーと、このプーリーを回転操作するチェーンとより形成し、前記プーリーを複層ガラスにおける一方のガラス板を介して、前記ウォームギアと対面させるとともに、このウォームギアに磁石を取り付け、前記プーリーとウォームギアにおける両磁石の吸引力により、ウォームギアをプーリーの回転に従って連動回転させるようにする。
【0012】
(4) 上記(1)項〜(3)項のいずれかにおいて、前記左右のスクリュー軸にそれぞれ螺合する昇降管を、遊嵌状態で螺合させたものとする。
【0013】
(5) 上記(1)項〜(4)項のいずれかにおいて、前記左右のスクリュー軸に噛合させた昇降管のうち、伝動回転軸を介さずに直接に、前記ウォームギアに噛合させたスクリュー軸に噛合させた昇降管にのみ、錘を付したものとする。
【0014】
(6) 上記(1)項〜(5)項のいずれかにおいて、前記左右の昇降管を、それぞれ固定滑車を介して、ブラインドのボトムレールと紐状物によって連結したものとする。
【0015】
(7) 上記(1)〜(6)項のいずれかにおいて、ブラインドを開閉する際に、上下方向に移動させる、ブラインドにおけるスラットとボトムレールの総重量と、左右の昇降管またはその一方に取り付ける錘の重量のうち、錘として作用する有効重量とを、ほぼ等しくなるように調節する。
【0016】
(8) 上記(2)項〜(7)項のいずれかにおいて、水平方向に配設した前記伝動回転軸に、コイルばねの両端の各端をそれぞれブラインドの表と裏側に配置させたスプリングクラッチを外嵌させ、このスプリングクラッチの各端に、ブラインドにおけるスラットを連結する表と裏側のそれぞれのラダーコードを連結し、ブラインドの下端部を上下方向に移動させている際には、前記スプリングクラッチが摺動して、前記伝動回転軸の回転に連動回転せず、ブラインドの下端部の上下方向の移動を止めた際には、前記スプリングクラッチが、前記伝動回転軸の回転に連動回転して、ブラインドにおけるスラットの開度の角度調節により開閉制御をなし得るようにする。
【0017】
(9) 上記(1)項〜(8)項のいずれかにおいて、前記スペーサを介して隔置したガラス板間に形成した内部空間を、密閉空間としたものとする。
【0018】
(10) 上記(1)項〜(9)項のいずれかにおいて、前記スペーサを介して隔置したガラス板間の内寸をほぼ12mmとする。
【0019】
【発明の実施の形態】
図1は、本発明のブラインド内蔵複層ガラスの実施形態の正面図、図2は、右側面図である。
本発明のブラインド内蔵複層ガラス(1)は、複層ガラス(2)、すなわちスペーサ(3)を介して隔置したガラス板(4a)(4b)構造における密閉された内部空間(5)内に内蔵したブラインド(6)を、前記内部空間(5)の外部に設けたブラインド操作装置(7)におけるチェーン(8)を操作して、開閉させるようになっている。
【0020】
図3は、図2におけるIII〜III線縦断面図である。
図4は、図1におけるIV〜IV線縦断面図、図5は、図3における破線円V内の部分拡大図である。
【0021】
前記ブラインド操作装置(7)は、操作用のチェーン(8)と、このチェーン(8)によって回転されるプーリー(9)と、プーリーカバー(10)とよりなる。
複層ガラス(2)の内部空間(5)には、前記プーリー(9)と対面する位置に、ウォームギア(11)が設けられている。
【0022】
図4、図5に示すように、前記プーリー(9)とウォームギア(11)とが、一方のガラス板(4a)を介して、相互に対面する面には、相互に吸引する磁石(12)(13)が埋め込まれている。
これらの磁石(12)(13)の吸引力により、プーリー(9)の回転に従って、ウォームギア(11)が連動回転するようになっている。
【0023】
ブラインド(6)の左右には、ブラインド開閉制御用のスクリュー軸(14)(15)が、上下方向に設けられている。
【0024】
図3において、右側のスクリュー軸(14)の上端には、ウォームホイール(16)が一体的に取り付けられており、ウォームギア(11)と噛合している。
一方、左側のスクリュー軸(15)の上端には、傘歯車(17)が一体的に取り付けられており、この傘歯車(17)は、ブラインド(6)の上方に水平方向に配設した伝動回転軸(18)の左端に同じく一体的に取り付けられた傘歯車(19)と噛合している。
【0025】
伝動回転軸(18)の右端には、ウォームホイール(20)が一体的に取り付けられ、ウォームギア(11)と噛合している。
左右のスクリュー軸(14)(15)には、それぞれ昇降管(21)(22)が、遊嵌状態で螺合されている。
【0026】
図6の(a)、(b)図は、それぞれ図3におけるVI(a)〜VI(a)線横断面図、VI(b)〜VI(b)線横断面図である。
昇降管(21)(22)をスクリュー軸(14)(15)に遊嵌状態で螺合させるには、昇降管(21)(22)における雌ねじの歯底および歯先と、スクリュー軸(14)(15)における雄ねじの歯先および歯底とを、相当程度の間隙を保持して螺合させる形態以外に、図6の(a)(b)図に示すように、たとえば昇降管(21)(22)に連続した雌ねじを設けることなく、スクリュー軸(14)(15)における雄ねじの歯丈よりも高さの低い少数の突起、たとえば内側向きに放射状に配置された3個の突起(21a)(22a)を設け、この突起をスクリュー軸(14)(15)の雄ねじに螺合させる形態も推奨される。
【0027】
昇降管(21)(22)をスクリュー軸(14)(15)に遊嵌状態で螺合させることによって、スクリュー軸(14)(15)の回転にともなって、昇降管(21)(22)を上下移動させることが容易となる。
【0028】
各昇降管(21)(22)は、ブラインド(6)の下端部におけるボトムレール(23)の右端(23a)または左端(23b)と、固定滑車(24a)(24b)を介して、紐状物(25)によって連結されている。
右側のスクリュー軸(14)に螺合された昇降管(21)には、錘(26)が取り付けられている。
【0029】
ブラインド(6)の下端部を上下移動させて開閉する際の機構は、次のとおりである。
図1において、ブラインド操作装置(7)におけるチェーン(8)を操作して、プーリー(9)を時計回りに回転させる。このプーリー(9)の回転にともない、一方のガラス板(4a)を介して対面する、図3に示すウォームギア(11)が、磁石の吸引力により、同じく時計回りに回転する。
【0030】
ウォームギア(11)の時計回りの回転により、これと噛合しているウォームホイール(16)を介して、右側のスクリュー軸(14)が平面視において、反時計回りに回転する。このスクリュー軸(14)の回転にともない、昇降管(21)が下向きに移動する。すなわち、昇降管(21)は、紐状物(25)によって固定滑車(24a)を介して、ブラインド(6)におけるボトムレール(23)と連結されて、ボトムレール(23)やスラット(27)の重量が負荷されているとともに、昇降管(21)の左右幅が、内部空間(5)の前後幅よりも大きいため、スクリュー軸(14)の回転に連動して回転することができない。そのため昇降管(21)は、スクリュー軸(14)の回転にともない、下向きに移動する。
昇降管(21)の下向きの移動は、ボトムレール(23)を上向きに移動させるように作用する。
【0031】
一方、ウォームギア(11)の時計回りの回転により、これと噛合しているウォームホイール(20)を介して、伝動回転軸(18)が右側面視において、時計回りに回転する。この伝動回転軸(18)の時計回りの回転により、2つの傘歯車(19)(17)を介して、左側のスクリュー軸(15)が平面視において時計回りに回転する。このスクリュー軸(15)の回転にともない、昇降管(22)が下向きに移動する。昇降管(22)の下向きの移動は、ボトムレール(23)を上向きに移動させるように作用する。
【0032】
このように、左右の昇降管(21)(22)が同時に下向きに移動し、ボトムレール(23)を上向きに移動させるように作用するため、ボトムレール(23)は水平状態を保持しながら、上向きに移動し、ブラインド(6)を下端部から順次、上部に向けて折り畳むようにして、開いた状態とすることができる。
【0033】
ブラインド(6)のボトムレール(23)を所望の位置まで上方に移動させて開いた状態とした後に、チェーン(8)の操作によるプーリー(9)の回転を停止すれば、ボトムレール(23)は、その位置で保持される。すなわち、スクリュー軸(14)(15)には、ブラインド(6)を構成する複数のスラット(27)のうち、ボトムレール(23)とともに、上方に移動させて持ち上げたスラット(27)の重量と、錘(26)の重量のうち、錘として作用する有効重量との差にほぼ相当する力が負荷されて、スクリュー軸(14)(15)を回転させようとするが、ウォームホイール(16)(20)からウォームギア(11)への回転の伝動が不可能なため、ボトムレール(23)の移動は、上下方向いずれについても阻止されて、ボトムレール(23)は定位置を保持する。
【0034】
また、ボトムレール(23)を上方に移動させてブラインド(6)を開いた状態から、再びボトムレール(23)を下方に移動させてブラインド(6)を閉じる際には、チェーン(8)を操作して、ブラインド(6)を開く場合とは逆向きに、プーリー(9)を回転させればよい。
【0035】
本発明のブラインド内蔵複層ガラスは、スクリュー軸(14)に噛合させた昇降管(21)に錘(26)を取り付け、この錘(26)とボトムレール(23)を紐状物(25)を介して連結していることが大きな特徴である。
【0036】
このような機構とすることにより、ブラインド(6)を、ボトムレール(23)を上下方向に移動させて開閉する際のウォームギア(11)を回転させるために必要な力が大幅に減少する。すなわち、このウォームギア(11)を回転させるために必要な力は、ブラインド(6)を開閉する際に、上下方向に移動させるスラット(27)とボトムレール(23)との総重量と、錘(26)の重量のうち、錘として作用する有効重量との差に、スクリュー軸(14)(15)、伝動回転軸(18)、ウォームギア(11)、ウォームホイール(20)、傘歯車(17)(19)等の機構における回転摩擦力を加えたものである。
【0037】
然るに、前記錘(26)の重量のうち、錘として作用する有効重量を、前記スラット(27)とボトムレール(23)との総重量とほぼ等しくなるように調節することにより、これらの差をほぼ零に近くすることができる。
なお、ここで錘として作用する有効重量とは、錘(26)を取り付けた昇降管(21)がスクリュー軸(14)に噛合しているため、バランサーとして有効に作用するのは、錘の重量の数割であり、このバランサーとして作用する重量を称する。
【0038】
このため、ウォームギア(11)を回転させるために必要な力は、実質的に前記機構における回転摩擦力だけとなる。この回転摩擦力は、元来、小さいものである。したがって、ウォームギア(11)を回転させるために必要な力は、小さい力で充分である。
【0039】
このため、チェーン(8)を操作して、プーリー(9)を回転させ、このプーリー(9)の回転に従って、磁石の吸引力を介してウォームギア(11)を連動して回転させる際に、ウォームギア(11)には、小さい前記摩擦力しか負荷されていないため、前記ウォームギア(11)の連動回転が確実に行われる。
【0040】
また、本実施形態では、錘(26)を、左右の昇降管(21)(22)のうち、一方の昇降管(21)にのみ取り付けたが、両方の昇降管(21)(22)に取り付けてもよい。
この場合は、両方の昇降管(21)(22)に取り付けた錘の重量のうち、錘として作用する有効重量の和が、前記スラット(27)とボトムレール(23)との総重量とほぼ等しくなるように調節すればよい。
なお、昇降管(21)(22)の重量が大きい場合、たとえば、左右の昇降管(21)(22)の有効総重量が、前記スラット(27)とボトムレール(23)との総重量とほぼ等しい場合などは、昇降管(21)(22)が実質的に錘(26)の作用をもなすため、別途錘(26)を取り付けることは不要である。
この実施形態も、本明細書においては、昇降管(21)(22)に錘(26)を取り付けた一実施形態として取扱う。
【0041】
図7は、図3における破線円VII内の部分拡大図、図8は、図7の部分斜視図である。
ブラインド(6)は、側面視において、上下方向に並ぶ各スラット(27)を水平になるように位置させたときの各スラット(27)のブラインド表側縁同士、ブラインド裏側内同士をラダーコード(28)で連結し、下端にボトムレール(23)を取り付けて形成されている。
【0042】
各スラット(27)の縦方向から水平方向までの角度を調節することにより、ブラインド(6)の開閉を制御することができる。
【0043】
伝動回転軸(18)には、スラット角度調節部(29)が設けられている。スラット角度調節部(29)は、スプリングクラッチ(30)と、このスプリングクラッチ(30)の取付部(31)とよりなる。
【0044】
スプリングクラッチ(30)は、コイルばねの両端をそれぞれ上向きに折り曲げて、前記ラダーコード(28)の係止部(30a)を設けて形成されている。
【0045】
取付部(31)は、伝動回転軸(18)を、2段に拡径するとともに、その最大拡径部(31a)の中央において、1段に縮径して縮径部(31b)を形成してある。スプリングクラッチ(30)は、前記縮径部(31b)に緊縛に外嵌されている。
【0046】
スプリングクラッチ(30)は、ラダーコード(28)の上端を係止する各係止部(30a)(30b)を、ブラインド(6)の表と裏側に配置させ、ブラインド(6)の表側に位置する係止部(30a)には、各スラット(27)のブラインド表側縁同士を連結するラダーコード(28)の上端を、ブラインド(6)の裏側に位置する係止部(30b)には、各スラット(27)のブラインド裏側縁同士を連結するラダーコード(28)の上端を、それぞれ係止させてある。
【0047】
チェーン(8)を操作して、プーリー(9)を回転させ、同時にウォームギア(11)を連動回転させながら、ボトムレール(23)を上下方向に移動させている間は、スプリングクラッチ(30)は摺動して、伝動回転軸(18)の回転に連動回転せず、ボトムレール(23)の上下方向の移動を止めた際には、スプリングクラッチ(30)は、伝動回転軸(18)の回転に連動回転して、ブラインド(6)におけるスラット(27)の開度の角度調節により開閉制御をなし得るようになっている。
【0048】
すなわち、たとえば、ボトムレール(23)を所望の位置まで、上方に移動させた後に、チェーン(8)の操作を一旦止め、次いで伝動回転軸(18)を半回転以内の範囲で、わずかに回転させるようにチェーン(8)を操作することにより、スプリングクラッチ(30)が、伝動回転軸(18)の回転に連動回転して、スラット(27)の開度の角度調節がなされる。
【0049】
【発明の効果】
本発明によれば、次のような効果が奏せられる。
(1) 請求項1記載の発明によれば、本発明のブラインド内蔵複層ガラスにおけるブラインドは、巻き上げ式でないため、一般の複層ガラスとして、最も多用されている空気層の厚さが12mmの複層ガラス内に、ブラインドを内蔵させることができる。
このため空気層の厚さが大きい場合に生ずるコーキング材の破損による結露等の不都合を防止することができるとともに、標準タイプの市販サッシに容易に取り付けることができる。
さらに、錘を利用して、ウォームギアに負荷される力を軽減しているため、ブラインドのボトムレールを上下方向に移動させて開閉する際に、チェーンの操作に対するボトムレールの上下方向の追従移動性が良好であり、操作性に優れる。
【0050】
(2) 請求項2記載の発明によれば、比較的簡単な機構で、上記(1)項に記載の効果が奏せられる発明を構成することができるとともに、ウォームギアとウォームホイールの組合わせによって、ボトムレールを上下方向の所望の位置で安定的に保持して、ブラインドの開き程度を調節することができる。
【0051】
(3) 請求項3記載の発明によれば、密閉空間内部に収容されたウォームギアを、外部に設けたブラインド操作装置によって、効率よく連動回転させることができる。
【0052】
(4) 請求項4記載の発明によれば、スクリュー軸の回転に従って、昇降管を容易に上下方向に移動させることができる。
【0053】
(5) 請求項5記載の発明によれば、比較的にコンパクトなブラインド内蔵複層ガラスを得ることができる。
【0054】
(6) 請求項6記載の発明によれば、ブラインドにおける部品の中で、最も重いボトムレールを、固定滑車を介して昇降管と紐状物によって連結することにより、ボトムレールを上下方向に移動させて行うブラインドの開閉操作を円滑にすることができる。
【0055】
(7) 請求項7記載の発明によれば、ボトムレールを上下方向に移動させてブラインドを開閉する際のウォームギアに負荷される力を最小限にして、チェーンを操作して回転させるプーリーに対する前記ウォームギアの連動回転性を高め、操作性を優れたものとすることができる。
【0056】
(8) 請求項8記載の発明によれば、スラットの開度の角度調節を効果的に行うことができる。
【0057】
(9) 請求項9記載の発明によれば、内部空間における結露を効果的に防止し、複層ガラスの曇りを防ぎ、かつブラインドの開閉機構の湿気による耐用期間の短縮を防止することができる。
【0058】
(10) 請求項10記載の発明によれば、本発明のブラインド内蔵複層ガラスを、標準タイプの市販サッシに容易に取り付けることができる。
【図面の簡単な説明】
【図1】本発明のブラインド内蔵複層ガラスの実施形態の正面図である。
【図2】同じく、右側面図である。
【図3】図2におけるIII〜III線縦断面図である。
【図4】図1におけるIV〜IV線縦断面図である。
【図5】図3における破線円V内の部分拡大図である。
【図6】(a)、(b)図は、それぞれ図3におけるVI(a)〜VI(a)線横断面図、VI(b)〜VI(b)線横断面図である。
【図7】図3における破線円VII内の部分拡大図である。
【図8】図7の部分斜視図である。
【符号の説明】
(1)ブラインド内蔵複層ガラス
(2)複層ガラス
(3)スペーサ
(4a)(4b)ガラス板
(5)内部空間
(6)ブラインド
(7)ブラインド操作装置
(8)チェーン
(9)プーリー
(10)プーリーカバー
(11)ウォームギア
(12)(13)磁石
(14)(15)スクリュー軸
(16)ウォームホイール
(17)傘歯車
(18)伝動回転軸
(19)傘歯車
(20)ウォームホイール
(21)(22)昇降管
(21a)(22a)突起
(23)ボトムレール
(23a)左端
(23b)右端
(24a)(24b)固定滑車
(25)紐状物
(26)錘
(27)スラット
(28)ラダーコード
(29)スラット角度調節部
(30)スプリングクラッチ
(30a)(30b)係止部
(31)取付部
(31a)最大拡径部
(31b)縮径部
Claims (10)
- スペーサを介して隔置したガラス板間の内部空間内にブラインドを内蔵させ、このブラインドの左右にブラインド開閉制御用のスクリュー軸を上下方向に配設し、前記内部空間の外部に設けたブラインド操作装置におけるプーリーの回転に従って、磁石の吸引力により連動回転するウォームギアを前記内部空間内に設け、このウォームギアにより、直接、または伝動回転軸を介して間接に、前記左右のスクリュー軸を連動回転させて、このスクリュー軸にそれぞれ螺合させた昇降管を上下移動させるとともに、この左右の昇降管を、それぞれ固定滑車を介して、ブラインドの下端部と紐状物によって連結し、かつ前記左右の昇降管の少なくとも一方に、錘を取り付け、この錘の重量により、前記スクリュー軸を連動回転させるための前記ウォームギアを回転させるのに必要な駆動力を小さくしたことを特徴とするブラインド内蔵複層ガラス。
- 前記左右のスクリュー軸のうち、一方のスクリュー軸については、このスクリュー軸に設けたウォームホイールを、前記ウォームギアに噛合させ、他方のスクリュー軸については、水平方向に配設した伝動回転軸の一端に設けたウォームホイールを、前記ウォームギアに噛合させ、他端に設けた傘歯車を、スクリュー軸の一端に設けた傘歯車と噛合させることによって、ウォームギアを回転させることにより、左右のスクリュー軸を連動回転させるようにしたことを特徴とする請求項1記載のブラインド内蔵複層ガラス。
- 前記ブラインド操作装置を、磁石を取り付けたプーリーと、このプーリーを回転操作するチェーンとより形成し、前記プーリーを複層ガラスにおける一方のガラス板を介して、前記ウォームギアと対面させるとともに、このウォームギアに磁石を取り付け、前記プーリーとウォームギアにおける両磁石の吸引力により、ウォームギアをプーリーの回転に従って連動回転させるようにしたことを特徴とする請求項1または2に記載のブラインド内蔵複層ガラス。
- 前記左右のスクリュー軸にそれぞれ螺合する昇降管を、遊嵌状態で螺合させたことを特徴とする請求項1〜3のいずれかに記載のブラインド内蔵複層ガラス。
- 前記左右のスクリュー軸に噛合させた昇降管のうち、伝動回転軸を介さずに直接に、前記ウォームギアに噛合させたスクリュー軸に噛合させた昇降管にのみ、錘を付したことを特徴とする請求項1〜4のいずれかに記載のブラインド内蔵複層ガラス。
- 前記左右の昇降管を、それぞれ固定滑車を介して、ブラインドのボトムレールと紐状物によって連結したことを特徴とする請求項1〜5のいずれかに記載のブラインド内蔵複層ガラス。
- ブラインドを開閉する際に、上下方向に移動させる、ブラインドにおけるスラットとボトムレールの総重量と、左右の昇降管またはその一方に取り付ける錘の重量のうち、錘として作用する有効重量とを、ほぼ等しくなるように調節したことを特徴とする請求項1〜6のいずれかに記載のブラインド内蔵複層ガラス。
- 水平方向に配設した前記伝動回転軸に、コイルばねの両端の各端をそれぞれブラインドの表と裏側に配置させたスプリングクラッチを外嵌させ、このスプリングクラッチの各端に、ブラインドにおけるスラットを連結する表と裏側のそれぞれのラダーコードを連結し、ブラインドの下端部を上下方向に移動させている際には、前記スプリングクラッチが摺動して、前記伝動回転軸の回転に連動回転せず、ブラインドの下端部の上下方向の移動を止めた際には、前記スプリングクラッチが、前記伝動回転軸の回転に連動回転して、ブラインドにおけるスラットの開度の角度調節により開閉制御をなし得るようにしたことを特徴とする請求項2〜7のいずれかに記載のブラインド内蔵複層ガラス。
- 前記スペーサを介して隔置したガラス板間に形成した内部空間を、密閉空間としたことを特徴とする請求項1〜8のいずれかに記載のブラインド内蔵複層ガラス。
- 前記スペーサを介して隔置したガラス板間の内寸をほぼ12mmとしたことを特徴とする請求項1〜9のいずれかに記載のブラインド内蔵複層ガラス。
Priority Applications (3)
| Application Number | Priority Date | Filing Date | Title |
|---|---|---|---|
| JP2002308460A JP2004143753A (ja) | 2002-10-23 | 2002-10-23 | ブラインド内蔵複層ガラス |
| PCT/JP2003/013321 WO2004038159A1 (ja) | 2002-10-23 | 2003-10-17 | ブラインド内蔵複層ガラス |
| AU2003277507A AU2003277507A1 (en) | 2002-10-23 | 2003-10-17 | Blind-incorporating double glazing |
Applications Claiming Priority (1)
| Application Number | Priority Date | Filing Date | Title |
|---|---|---|---|
| JP2002308460A JP2004143753A (ja) | 2002-10-23 | 2002-10-23 | ブラインド内蔵複層ガラス |
Publications (1)
| Publication Number | Publication Date |
|---|---|
| JP2004143753A true JP2004143753A (ja) | 2004-05-20 |
Family
ID=32170977
Family Applications (1)
| Application Number | Title | Priority Date | Filing Date |
|---|---|---|---|
| JP2002308460A Pending JP2004143753A (ja) | 2002-10-23 | 2002-10-23 | ブラインド内蔵複層ガラス |
Country Status (3)
| Country | Link |
|---|---|
| JP (1) | JP2004143753A (ja) |
| AU (1) | AU2003277507A1 (ja) |
| WO (1) | WO2004038159A1 (ja) |
Cited By (4)
| Publication number | Priority date | Publication date | Assignee | Title |
|---|---|---|---|---|
| JP2007039968A (ja) * | 2005-08-03 | 2007-02-15 | Hachimaru Sangyo Corp | 複層ガラス内蔵ブラインド |
| US8708024B2 (en) | 1997-11-04 | 2014-04-29 | Russell L. Hinckley, Sr. | Methods for operating window covers |
| AU2017201865A1 (en) * | 2016-12-16 | 2018-07-05 | Taicang Kingfu Plastic Manufacture Co., Ltd. | Driving device for a window blind |
| JP2020200616A (ja) * | 2019-06-07 | 2020-12-17 | 株式会社ニチベイ | 横型ブラインド、ラダーコード連結方法 |
Families Citing this family (2)
| Publication number | Priority date | Publication date | Assignee | Title |
|---|---|---|---|---|
| CN104405270A (zh) * | 2014-12-09 | 2015-03-11 | 俞焱文 | 内置百叶翻转装置 |
| CN104405269A (zh) * | 2014-12-09 | 2015-03-11 | 俞焱文 | 内置百叶升降装置 |
Family Cites Families (6)
| Publication number | Priority date | Publication date | Assignee | Title |
|---|---|---|---|---|
| JPS58142290U (ja) * | 1982-03-23 | 1983-09-26 | ト−ソ−株式会社 | ブラインド電動開閉装置 |
| JPH0354547Y2 (ja) * | 1986-04-16 | 1991-12-02 | ||
| JPH05231079A (ja) * | 1992-02-24 | 1993-09-07 | Kenkoushiya:Kk | ブラインドシャッター |
| IT1269540B (it) * | 1994-03-11 | 1997-04-08 | Pellini Srl | Dispositivo per l'azionamento di tende veneziane in vetrocamera mediantete giunto magnetico frontale |
| JPH08312267A (ja) * | 1995-05-23 | 1996-11-26 | Minoru Kobayashi | プリーツシェード内蔵ペアガラス(登録商標)建具 |
| JPH1193544A (ja) * | 1997-09-16 | 1999-04-06 | Tostem Corp | ブラインド内蔵複層ガラスおよび窓サッシ |
-
2002
- 2002-10-23 JP JP2002308460A patent/JP2004143753A/ja active Pending
-
2003
- 2003-10-17 WO PCT/JP2003/013321 patent/WO2004038159A1/ja not_active Ceased
- 2003-10-17 AU AU2003277507A patent/AU2003277507A1/en not_active Abandoned
Cited By (12)
| Publication number | Priority date | Publication date | Assignee | Title |
|---|---|---|---|---|
| US8708024B2 (en) | 1997-11-04 | 2014-04-29 | Russell L. Hinckley, Sr. | Methods for operating window covers |
| US8720525B2 (en) | 1997-11-04 | 2014-05-13 | Russell L. Hinckley, Sr. | Methods for operating window covers |
| US8887788B2 (en) | 1997-11-04 | 2014-11-18 | Russell L. Hinckley, SR. | Methods for operating window covers |
| US9316051B2 (en) | 1997-11-04 | 2016-04-19 | Russell L. Hinckley, SR. | Window cover system with spring drive arrangement |
| US9328554B2 (en) | 1997-11-04 | 2016-05-03 | Russell L. Hinckley, SR. | Spring drive systems for window covers |
| US9359814B2 (en) | 1997-11-04 | 2016-06-07 | Russel L. Hinckley | Systems for maintaining window covers |
| US9574396B2 (en) | 1997-11-04 | 2017-02-21 | Russell L. Hinckley, SR. | Systems for maintaining window covers |
| JP2007039968A (ja) * | 2005-08-03 | 2007-02-15 | Hachimaru Sangyo Corp | 複層ガラス内蔵ブラインド |
| AU2017201865A1 (en) * | 2016-12-16 | 2018-07-05 | Taicang Kingfu Plastic Manufacture Co., Ltd. | Driving device for a window blind |
| AU2017201865B2 (en) * | 2016-12-16 | 2018-11-08 | Taicang Kingfu Plastic Manufacture Co., Ltd. | Driving device for a window blind |
| JP2020200616A (ja) * | 2019-06-07 | 2020-12-17 | 株式会社ニチベイ | 横型ブラインド、ラダーコード連結方法 |
| JP7333583B2 (ja) | 2019-06-07 | 2023-08-25 | 株式会社ニチベイ | 横型ブラインド、ラダーコード連結方法 |
Also Published As
| Publication number | Publication date |
|---|---|
| AU2003277507A1 (en) | 2004-05-13 |
| WO2004038159A1 (ja) | 2004-05-06 |
Similar Documents
| Publication | Publication Date | Title |
|---|---|---|
| US6736185B2 (en) | Sliding operator for between the glass window coverings | |
| US20060118250A1 (en) | Blind assembly for insulated window | |
| KR101048674B1 (ko) | 롤 블라인드 | |
| KR20100134397A (ko) | 창호에 내장된 블라인드장치 | |
| US20050284584A1 (en) | One-way drive for window coverings | |
| JP2004143753A (ja) | ブラインド内蔵複層ガラス | |
| US6957681B2 (en) | Embedded type motorized blind device | |
| US7089988B2 (en) | Window blinds opening and closing device | |
| JP2691963B2 (ja) | ブラインド | |
| JP5757524B2 (ja) | ブラインドの連動機構 | |
| KR101109136B1 (ko) | 롤 블라인드 | |
| JP2004011389A (ja) | 複層ガラス窓内蔵型遮光機構 | |
| JPH1181821A (ja) | ブラインド内蔵複層ガラスおよび窓サッシ | |
| JP4079855B2 (ja) | ブラインド入り複層ガラス | |
| US20060027338A1 (en) | Sealed window louver control mechanisms | |
| JP2007039968A (ja) | 複層ガラス内蔵ブラインド | |
| KR102475027B1 (ko) | 폴드업 전동창의 기밀유지장치 | |
| KR200149324Y1 (ko) | 복층유리내의 브라인드 구동장치 | |
| EP2137370B1 (en) | Blind assembly | |
| JP7802615B2 (ja) | 操作装置 | |
| JP2025172543A (ja) | 遮蔽装置 | |
| JP2000199389A (ja) | 遮蔽体内蔵複層ガラス | |
| JP5734404B1 (ja) | ブラインド内蔵サッシのスラット操作機構 | |
| KR200375829Y1 (ko) | 내장형 전동 블라인드 장치 | |
| JP2025089049A (ja) | ロールスクリーン |