EP4170112B1 - Rinne zum auffangen von wasser von einer fassade und system zum reinigen von wasser von einer fassade - Google Patents

Rinne zum auffangen von wasser von einer fassade und system zum reinigen von wasser von einer fassade Download PDF

Info

Publication number
EP4170112B1
EP4170112B1 EP22202785.6A EP22202785A EP4170112B1 EP 4170112 B1 EP4170112 B1 EP 4170112B1 EP 22202785 A EP22202785 A EP 22202785A EP 4170112 B1 EP4170112 B1 EP 4170112B1
Authority
EP
European Patent Office
Prior art keywords
gutter
water
filter
facade
bristles
Prior art date
Legal status (The legal status is an assumption and is not a legal conclusion. Google has not performed a legal analysis and makes no representation as to the accuracy of the status listed.)
Active
Application number
EP22202785.6A
Other languages
English (en)
French (fr)
Other versions
EP4170112C0 (de
EP4170112A1 (de
Inventor
Thorsten Hecken
Sascha Schmidt
Current Assignee (The listed assignees may be inaccurate. Google has not performed a legal analysis and makes no representation or warranty as to the accuracy of the list.)
A3 Innoteg GmbH
Original Assignee
A3 Innoteg GmbH
Priority date (The priority date is an assumption and is not a legal conclusion. Google has not performed a legal analysis and makes no representation as to the accuracy of the date listed.)
Filing date
Publication date
Application filed by A3 Innoteg GmbH filed Critical A3 Innoteg GmbH
Publication of EP4170112A1 publication Critical patent/EP4170112A1/de
Application granted granted Critical
Publication of EP4170112B1 publication Critical patent/EP4170112B1/de
Publication of EP4170112C0 publication Critical patent/EP4170112C0/de
Active legal-status Critical Current
Anticipated expiration legal-status Critical

Links

Images

Classifications

    • EFIXED CONSTRUCTIONS
    • E04BUILDING
    • E04GSCAFFOLDING; FORMS; SHUTTERING; BUILDING IMPLEMENTS OR AIDS, OR THEIR USE; HANDLING BUILDING MATERIALS ON THE SITE; REPAIRING, BREAKING-UP OR OTHER WORK ON EXISTING BUILDINGS
    • E04G23/00Working measures on existing buildings
    • E04G23/002Arrangements for cleaning building facades
    • E04G23/004Arrangements for cleaning building facades with arrangements for collecting waste water or cleaning products

Definitions

  • the invention relates to a gutter for collecting water from a facade and a system for cleaning water from a facade.
  • the dirt When cleaning facades, dirt is washed off the facade with water.
  • the dirt consists of deposits that have often accumulated over years.
  • the deposits can contain dust, but also heavy metal particles or other substances that should not end up in the wastewater. To prevent this, the water used to wash the dirt off the facade is collected and disposed of separately or cleaned.
  • DE 10 2015 118 118 A1 proposes a system with a dirty water pump and a filter system.
  • the water is initially collected by a gutter that is attached to the facade with adhesive tape.
  • the filter system includes a filter fleece to collect solid particles and an activated carbon insert with different levels of carbon filling.
  • facades are often not smooth. On a rough facade, gutters with rigid edges cannot form a seamless finish that catches the water. Even a flexible elastic band is too rigid to compensate for unevenness in a facade in the millimeter or sub-millimeter range. This creates gaps between the facade and the edge of the gutter through which the water can at least partially flow through and run past the gutter.
  • FIG. 1a, 1b and 1c Various channels 10 are shown in profile view.
  • the channels 10 each comprise a rear side 12, a base 14 and a facade side 16.
  • Bristles 18 are arranged on the upper edge of the facade side 16.
  • the direction of extension of the bristles 18 is inclined by an angle ⁇ with respect to a vertical plane, indicated here by the dashed line.
  • the bristles 18 are inclined by the angle ⁇ relative to the vertical plane; the angle ⁇ is not shown for reasons of space.
  • the bristles 18 are in contact with a facade 20.
  • the facade 20 has a rough surface.
  • the tips of the bristles 18 lie in valleys or furrows.
  • the gutter has bristles only on the facade side.
  • the gutter has bristles only on the facade side on the surface of the facade 20, so that a transition is created from the facade 20 to the gutter 10. Water that runs down the facade 20 is diverted via the bristles 18 into the gutter 10 and collected by it.
  • the gutters 10 of the Figures 1a, 1b and 1c differ from each other in that the facade sides 16 are designed differently.
  • the facade side 16 is inclined completely opposite the vertical plane by the angle ⁇ .
  • the facade side comprises two areas.
  • a first inclined area 22 is inclined relative to the vertical plane by the angle ⁇ .
  • a second vertical area 24 is aligned parallel or at least substantially parallel to the vertical plane.
  • the base 14 can be curved and merge continuously or with a curve into the facade side 16.
  • the facade side 16 can also be inclined at an angle other than the angle ⁇ relative to the vertical plane.
  • the facade side 16 is not inclined, but is aligned parallel or at least substantially parallel to the vertical plane.
  • This embodiment has the disadvantage that when using the channel 10 on a non-vertical facade 20, in particular a facade 20 that is inclined backwards - to the right in the illustration - the bristles 18 may not reach the facade 20.
  • This disadvantage can be compensated by inclining the channel 10 so that the facade side 16 is parallel to the facade 20, as in Figure 1c shown, aligned.
  • Figure 2 shows an embodiment of the channel 10 from Figure 1a .
  • the bristles 18 of the gutter 10 and part of the facade side are covered with a film 26.
  • the film 26 can cover the facade side 16 completely or, as shown here, only partially. Covering in the sense of the invention means that the bristles 18 and at least part of the facade side 16 are covered with the film 26. If the gutter 10 is arranged on the facade 20, the bristles 18 do not come into contact with the facade 20, since the film 26 covers the bristles 18 and prevents direct contact.
  • the water follows the flow direction F. First, it runs down the facade 20.
  • the bristles 18 press the film 26 into the unevenness of the facade 20 and thus close the transition from the facade 20 to the gutter 10.
  • the film 26 also closes the gaps between the bristles 18 by the fact that the film 26 extends over part of the facade side 16. The water therefore flows over the film 26 into the gutter 10.
  • weights can be positioned on the back 12 of the gutter 10.
  • the force with which the bristles 18 are pressed against the facade can also be adjusted by positioning the weights on the back 12 of the gutter 10.
  • the drain 28 or the drains 28 can also be arranged in the region of the floor 14 or in the floor 14.
  • Figure 6 shows a water collection device comprising two gutters 10.
  • the gutters 10 are connected to one another via a connecting piece 30.
  • the left gutter 10 has an outflow 28 on its left side.
  • the right gutter 10 has an outflow 28 on its right side.
  • Figure 7 shows a schematic representation of a system for cleaning water that is collected from a facade.
  • the system comprises a gutter 10.
  • the gutter 10 is connected to the intermediate system 34 via a fluidic connection 32, for example a hose or a pipe.
  • the intermediate system 34 is connected to the filter system 38 via a further fluidic connection 36, for example a hose or a pipe.
  • the filter system 38 comprises the multi-stage filter system 40, to which the fluidic connection 36 is connected.
  • the system also comprises an outlet 42 from which the filtered water exits.
  • the outlet can, for example, be fluidically connected to a collecting container (not shown here) or a device for using purified facade water.
  • Figure 8 shows a schematic representation of the intermediate system 34 from Figure 7
  • the water is sucked out of the channel 10 by a wet vacuum cleaner 44 via the fluidic connection 32.
  • the wet vacuum cleaner 44 directs the water via a fluidic connection 46, for example a hose, a pipe or a faucet, into an intermediate container 48.
  • the intermediate container 48 comprises a float switch 50 which floats on the surface of the water in the intermediate container 48, provided that the intermediate container 48 contains water.
  • the intermediate container 48 is shown as filled with water. The water is indicated by the hatching.
  • the water can be pumped out of the intermediate container 48 by a pump 54 via a fluidic connection 52, for example a pipe or a hose.
  • the pump 54 increases the pressure of the water to preferably 3 bar to 5 bar and pumps the water via the fluidic connection 36 to the filter system 38.
  • the pump 54 is coupled to the float switch 50 via an electronic connection 56.
  • the electronic connection 56 can, for example, comprise a simple cable or a combination of cables and a control unit.
  • the float switch 50 and the pump 54 are electronically coupled to one another in such a way that the pump 54 is switched on when the float switch has exceeded a first threshold value.
  • the first threshold value corresponds, for example, to a filling level of 50 I to 60 I.
  • the pump 54 and the float switch 50 are coupled in such a way that the pump is switched off when the float switch has fallen below a second threshold value.
  • the first threshold value and the second threshold value can be assigned to the same filling level, for example 50 I, so that the pump 54 is active when the float switch 50 is above this fill level and the pump 54 is inactive when the float switch 50 is below this fill level.
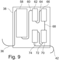
  • FIG 9 shows a schematic representation of the filter system 38.
  • the filter system 38 comprises a multi-stage filter system which is fed with water through the fluidic connection 36.
  • the water is pumped by the pump 54 (in Figure 9 not shown) is pumped into the filter system at a pressure of preferably 3 bar to 5 bar.
  • the filter system comprises five stages.
  • the first stage is formed by a pre-filter 58 with a pore size of 25 ⁇ m to 50 ⁇ m.
  • the pre-filter 58 is intended to filter out coarse dirt from the water.
  • the pre-filter 58 is connected to a second filter 62 via a fluidic connection 60.
  • the fluidic connection 60 can be formed, for example, by a hose or a pipe.
  • the fluidic connection 60 can also be formed by a flange, so that the filter 62 is arranged fluidically directly behind the pre-filter 58.
  • a direct fluidic connection reduces the number of components required for the filter system 38.
  • the second filter 62 has a pore size of preferably 10 ⁇ m.
  • the filter system 38 can comprise two second filters 62 arranged in fluid parallel.
  • the second filter 62 is connected to a third filter 66 via a fluidic connection 64.
  • the third filter 66 has a pore size of preferably 5 ⁇ m.
  • the fluidic connection 64 can be formed, for example, by a hose or a pipe. Alternatively, the fluidic connection 64 can also be formed by a flange, so that the filter 66 is arranged fluidically directly behind the filter 62.
  • the filter 66 is connected to a carbon filter 70 via a fluidic connection 68.
  • the carbon filter 70 comprises carbon, in particular activated carbon, in order to To filter out heavy metals and chemicals from the water.
  • the fluidic connection 68 can be formed, for example, by a hose or a pipe. Alternatively, the fluidic connection 68 can be formed by a flange, so that the carbon filter 70 is arranged fluidically directly behind the filter 66.
  • the carbon filter 70 is connected to a fine filter 74 via a fluidic connection 72.
  • the fine filter 74 preferably has a pore size of 0.1 ⁇ m to 1 ⁇ m, particularly preferably 0.5 ⁇ m.
  • the fluidic connection 72 can be formed, for example, by a hose or a pipe. Alternatively, the fluidic connection 72 can be formed by a flange, so that the fine filter 74 is arranged fluidically directly behind the carbon filter 70.
  • the filter system 38 has an outlet 42 from which the filtered water can drain or be pumped out of the filter system 38.
  • the outlet 42 can be formed, for example, by a hose end, a faucet or a valve.

Landscapes

  • Engineering & Computer Science (AREA)
  • Architecture (AREA)
  • Chemical & Material Sciences (AREA)
  • Chemical Kinetics & Catalysis (AREA)
  • Electrochemistry (AREA)
  • Mechanical Engineering (AREA)
  • Civil Engineering (AREA)
  • Structural Engineering (AREA)
  • Filtration Of Liquid (AREA)
  • Sink And Installation For Waste Water (AREA)
  • Cleaning In General (AREA)

Description

  • Die Erfindung betrifft eine Rinne zum Auffangen von Wasser von einer Fassade und ein System zum Reinigen von Wasser von einer Fassade.
  • Bei Fassadenreinigungsarbeiten wird mit Wasser Schmutz von der Fassade herunter gespült. Der Schmutz besteht aus Ablagerungen, die sich häufig über Jahre hinweg angesammelt haben. Die Ablagerungen können Staub, aber auch Schwermetall-Partikel oder andere Stoffe enthalten, die nicht ins Abwasser gelangen sollten. Um dies zu verhindern, wird das Wasser, mit dem der Schmutz von der Fassade gespült wird, aufgefangen und separat entsorgt oder gereinigt.
  • Aus dem Stand der Technik sind System zum Auffangen des Wassers von einer Fassade und zum Reinigen des Wassers bekannt. Die DE 10 2015 118 118 A1 schlägt ein System mit einer Schmutzwasserpumpe und einem Filtersystem vor. Das Wasser wird zunächst von einer Rinne aufgefangen, die mit einem Klebeband an der Fassade angeordnet wird. Das Filtersystem umfasst ein Filterflies zum Auffangen von Feststoffpartikeln und einen Aktivkohleeinsatz mit unterschiedlichen Kohleschüttungen.
  • Aus der DE 197 347 61 A1 ist ein System mit einem Auffangbehälter bekannt. Das System umfasst ein Filtersystem, das einen großen Teil der Schmutzstoffe aus dem Schmutzgemisch filtert. Der Auffangbehälter ist quaderförmig und an seiner oberen Seite offen ist.
  • Aus der DE 344 04 61 C1 ist eine Rinne zum Auffangen von Fassadenwasser mit einer fassadenseitig am oberen Rand nach innen gerichteten Umbiegung bekannt. In das nach vorne hin offene Halteprofil wird mittels einer elastisch verformbaren Klemmschnur der Randbereich einer herkömmlichen Abdeckfolie eingeschoben.
  • Fassaden sind jedoch sehr häufig nicht glatt. An einer rauen Fassade können Rinnen mit starren Kanten keinen lückenlosen Abschluss bilden, der das Wasser auffängt. Selbst ein flexibler Gummizug ist zu starr, um Unebenheiten einer Fassade im Millimeter oder Submillimeterbereich auszugleichen. Zwischen der Fassade und der Kante der Rinne entstehen so Lücken, durch die das Wasser zumindest teilweise hindurchfließen und an der Rinne vorbeilaufen kann.
  • Die Patentanmeldung DE 199 38 478 A1 beschreibt eine Vorrichtung zur Bearbeitung einer Gebäudefassade, umfassend eine mittels einer Verfahreinrichtung in einem Abstand von der zu bearbeitenden Fläche horizontal und vertikal bewegbare Arbeitsbühne und eine Abdichtungseinrichtung zum Abdichten des zwischen der Arbeitsbühne und der zu bearbeitenden Fläche liegenden Arbeitsraums gegenüber der Außenumgebung.
  • Die Patentanmeldung DE 199 05 535 A1 beschreibt ein Verfahren zum Entfernen von Farbaufträgen an Häuserwänden unter Verwendung einer Abdeckhaube, mit der die zu reinigende Stelle abgedeckt wird, wobei dem Bereich des Innenraumes der Abdeckhaube Wasser unter Druck zugeführt und im unteren Bereich der Abdeckhaube mit Hilfe einer Unterdruckquelle samt den gelösten Farbrückständen abgeführt wird.
  • Die Patentanmeldung DE 1 652 333 A1 offenbart eine Abwaschmaschine für Decken und Wände, bei der eine Walzenbürste mechanisch angetrieben wird, wobei die zugeführte Abwaschflüssigkeit auf die Walzenbürste geleitet wird und ein Abdichtrahmen die Außenseiten an der Decke oder Wand umschließt.
  • Die Aufgabe der Erfindung ist es, eine Rinne und ein Reinigungssystem vorzuschlagen, mit dem der Anteil des aufgefangenen Wassers erhöht und möglichst effizient gereinigt werden kann.
  • Die Aufgabe der Erfindung wird durch die nebengeordneten Ansprüche gelöst.
  • In einem ersten Aspekt betrifft die Erfindung eine Rinne zum Auffangen von Wasser von einer Fassade, wobei die Rinne einen länglichen Grundkörper mit einer Längsachse aufweist. Der Grundkörper ist zumindest aus einer Fassadenseite, einer Rückseite und einem Boden gebildet. Die Rinne weist zumindest einen Abfluss auf, über den aufgefangenes Wasser ablaufen kann. Die Fassadenseite weist eine obere Kante auf, die mit Borsten bestückt ist. Die Borsten sind sich senkrecht zur Längsachse und gegenüber einer vertikalen Achse abgeschrägt von dem Grundkörper weg erstreckend angeordnet.
  • Die Rinne kann beispielsweise aus einem Metall, insbesondere Aluminium oder Edelstahl, einem Kunststoff, insbesondere Plastik oder einem organischen Material gefertigt sein. Die Länge der Rinne bestimmt, wie viel Wasser die Rinne auf einmal auffangen kann. Eine längere Rinne deckt mehr Fläche der Fassade ab, eine kürzere Rinne ist dafür mobiler und handlicher. Das bedeutet, sie kann besser transportiert und gelagert werden als eine längere Rinne. In der Praxis ist ein Kompromiss zwischen Mobilität und Auffangfläche zu finden. Vorzugsweise ist die Rinne zwischen 1 m und 3 m, besonders bevorzugt 2 m lang. Die Breite der Rinne sollte geringer als 150 mm, vorzugsweise gleich oder kleiner als 135 mm sein, damit sie zwischen die Fassade und ein Baugerüst passt, dass an der Fassade aufgestellt ist. Breitere Rinnen lösen ebenfalls die Aufgabe, können aber gegebenenfalls nicht zwischen einer Fassade und einem Baugerüst positioniert werden.
  • Die Rinne umfasst eine Fassadenseite und eine Rückseite. Die Fassadenseite ist die Seite der Rinne, die sich in Längsrichtung erstreckt und der Fassade zugewandt ist, wenn die Rinne an der Fassade positioniert ist. Die Rückseite ist die der Fassadenseite gegenüberliegenden Seite der Rinne.
  • Die obere Kante der Fassadenseite ist mit Borsten besetzt. Borsten im Sinne der Erfindung umfassen auch Haare, die dicht nebeneinander angeordnet sind. Die Borsten bilden eine durch ihre Positionierung an der oberen Kante der Fassadenseite eine Art Bürste, die an die Fassade angelegt wird. Damit die Borsten mit der Fassade in Berührung gebracht werden können, sind sie gegenüber einer vertikalen Ebene, die sich parallel zur Längsachse der Rinne erstreckt, geneigt angeordnet.
  • Wird die Rinne an der Fassade positioniert, legen sich die Borsten auf die Fassadenoberfläche. Jede einzelne Borste ist flexibel, sodass sich die Gesamtheit der Borsten an die Fassade anpasst. Über die Borsten schließt die Rinne mit der Fassade dichter ab als eine starre Kante, da die sich Spitzen der Borsten unabhängig voneinander an die Fassade legen. Wasser, dass die Fassade hinabläuft, trifft auf die Borsten und wird von diesen in die Rinne abgeleitet. Um diesen Effekt zu gewährleisten, müssen die Borsten hinreichend dicht angeordnet sein.
  • In einer Ausführungsform ist die Fassadenseite oder ein Teil der Fassadenseite gegenüber einer vertikalen Ebene, die parallel zur Erstreckungsrichtung der Rinne verläuft, geneigt. Die Fassadenseite kann beispielsweise einen vertikalen Bereich und einen geneigten Bereich umfassen. In dieser Konfiguration ist der geneigte Bereich vorzugsweise über dem vertikalen Bereich angeordnet, sodass sich der vertikale Bereich zwischen dem geneigten Bereich und dem Boden der Rinne erstreckt.
  • Vorzugsweise ist der Neigungswinkel der Fassadenseite oder des geneigten Teils der Fassadenseite derselbe Winkel wie der Winkel, um den die Borsten abgeschrägt zur vertikalen Ebene angeordnet sind.
  • Die Neigung der Fassadenseite oder eines Teils der Fassadenseite bewirkt in vorteilhafter Weise, dass die Kraftübertragung beim Anordnen der Rinne an einer Fassade von der Fassade auf die Borsten über die geneigte Fassadenseite oder den geneigten Teil der Fassadenseite verbessert wird. Bei einer Abschrägung der Borsten ohne eine Neigung der Fassadenseite oder eines Teils der Fassadenseite kann es vorkommen, dass sich die Borsten an der Stelle, an der Sie mit der Fassadenseite verbunden sind, abknicken, sich aus ihrem Befestigungsmittel lösen oder gar abbrechen. Durch die Neigung der Fassaden kann die Kraft auf die Borsten auf die Fassadenseite oder den geneigten Teil der Fassadenseite übertragen werden, sodass eine Beschädigung der Borsten vermieden werden kann.
  • In einer Ausführungsform entspricht die Neigung der Fassadenseite, des Teils der Fassadenseite und/oder die Abschrägung der Borsten einem Winkel von 10° bis 50°, vorzugsweise von 20° bis 40° und besonders bevorzugt von 30° mit der vertikalen Ebene.
  • Ist der Winkel kleiner als der vorgeschlagene Bereich, dann kann es vorkommen, dass der Anpressdruck der Borsten an die Fassade zu gering ist, um mit den Borsten einen hinreichenden Übergang für das Wasser von der Fassade in die Rinne zu bilden. Das Wasser würde bei zu flach ausgerichteten Borsten, nicht optimal in die Rinne umgeleitet werden.
  • Ist der Winkel größer als der vorgeschlagene Bereich, dann kann es vorkommen, dass der Anpressdruck der Borsten an die Fassade zu groß ist und sich Borsten an der Fassade verbiegen, abknicken oder auf sonstige Weise beschädigt werden. In jedem dieser Fälle wäre ein optimaler Fluss des Wassers von der Fassade in die Rinne nicht gewährleistet.
  • Die Rinne umfasst eine Folie, die um die Borsten oder um die Borsten und zumindest einen Teil der Fassadenseite geschlagen ist. Die Folie kann dazu vorzugsweise als Streifen ausgebildet sein, der über die gesamte Länge der Rinne in Längsrichtung um die Borsten geschlagen ist. Umschlagen im Sinne der Erfindung bedeutet, dass die Folie die Borsten oder die Borsten und zumindest einen Teil der Fassadenseite zweiseitig bedeckt. Dabei ist die Folie insbesondere zwischen den Borsten und der Fassade angeordnet und wird durch den Anpressdruck der Rinne an ihrer Position gehalten. Die Folie bedeckt auch die obere Seite der abgeschrägten Borsten, sodass das Wasser von der Fassade über die Folie in die Rinne geleitet wird.
  • In vorteilhafter Weise verbessert die Folie die Ableitung des Wassers von der Fassade in die Rinne, da die Folie kleinste Lücken zwischen den Borsten, insbesondere die Lücken zwischen deren unteren Enden bedeckt und verhindert, dass dort Wasser zwischen den Borsten hindurch sickert.
  • Die Folie kann beispielsweise, ohne darauf beschränkt zu sein, eine Folie aus Polyethylen, Polypropylen, Polyvinylchlorid, Polystyrol, Polyester, Polycarbonat, Polyethylenterephthalat oder einem anderen Polyolefin sein. Darüber hinaus können auch Folien aus bio-basierten Kunststoffen, beispielsweise Polylactid, Celluloseacetat oder Stärkeblends verwendet werden.
  • In einer Ausführungsform können die Borsten aus Kunsthaar, insbesondere aus Polyethylen, Polypropylen, Polyvinylchlorid, Polystyrol, Polyester, Polycarbonat, Polyethylenterephthalat oder einem anderen Polyolefin sein. Darüber hinaus können auch Borsten aus bio-basierten Kunststoffen, beispielsweise Polylactid, Celluloseacetat oder Stärkeblends verwendet werden.
  • In einer Ausführungsform weist die Rinne einen zweiten Abfluss auf, wobei die Abflüsse entlang der Längsachse an unterschiedlichen Enden der Rinne angeordnet sind. Der Einsatzort der Rinne muss jedoch nicht unbedingt über einen ebenen Untergrund verfügen, sodass die Rinne, wenn sie an der Fassade positioniert wird, schief steht. Die Rinne kann in dieser Ausführungsform Borsten nur auf der Fassadenseite aufweisen.
  • In vorteilhafter Weise bewirken zwei, einander gegenüberliegende Abflüsse, dass die Rinne mit einer Schieflage in die eine oder die andere Richtung an der Fassade positioniert werden kann und das Wasser dennoch über einen der Abflüsse, nämlich denjenigen der tiefer gelegen ist, abfließen kann.
  • In einer Ausführungsform ist die Rinne auf einer Seite offen, sodass sie über ein Verbindungsstück oder über eine geeignete Verbindungsvorrichtung mit einer zweiten Rinne zu einer größeren Wasserauffangvorrichtung zusammengesetzt werden kann. In einer weiteren Ausführungsform ist die Rinne beidseitig offen gehalten, sodass sie als ein Mittelstück über zwei Verbindungsstücke mit zwei einseitig offen gehaltenen Rinnen oder mit weiteren beidseitig offenen Rinnen zu einer Wasserauffangvorrichtung beliebiger Länge zusammengesetzt werden kann. Durch diese Modularität lassen sich Rinnen zu einer Wasserauffangvorrichtung zusammensetzen, deren Länge an die Länge der Fassade angepasst werden kann, von der Wasser aufgefangen werden soll. Die einzelnen Rinnen können, beispielsweise mit einer Länge von ca. 2 m, leicht transportiert und eingelagert, im Einsatz jedoch auch für breitere Fassaden verwendet werden.
  • Die Verbindungsstücke können beispielsweise einfache Flansche sein, mit denen zwei Rinnen aneinander geflanscht werden. Vorzugsweise sind die Verbindungsstücke wasserdicht ausgestaltet, sodass das Wasser nicht zwischen zwei Rinnen bzw. an dem Verbindungsstück aus der Wasserauffangvorrichtung heraus leckt.
  • In einem weiteren Aspekt betrifft die Erfindung ein System zur Aufbereitung von Wasser von einer Fassade. Das System umfasst eine Rinne, wie sie voranstehend beschrieben wurde zum Auffangen von Wasser von einer Fassade sowie eine Filteranlage zur Filterung des von der Rinne aufgefangenen Wassers. Die Filteranlage ist ein mehrstufiges Filtersystem und fluidisch mit der Rinne verbunden.
  • Bei Fassadenreinigungsarbeiten spült Wasser den Schmutz, der sich gegebenenfalls über einen längeren Zeitraum von beispielsweise Jahren oder gar Jahrzehnten auf der Fassade angesammelt hat, herunter. Das Wasser wird von der Rinne oder einer aus mehreren Rinnen aufgebauten Wasserauffangvorrichtung aufgefangen. Das Wasser mit dem Schmutz wird dann in die Filteranlage geleitet, wo es durch das mehrstufige Filtersystem gereinigt werden kann. Bei hinreichender Reinigung des Schmutzwassers kann das gefilterte Wasser wieder für die Fassadenreinigung oder andere Reinigungsschritte, die beispielsweise auf einer Baustelle anfallen, verwendet oder für einen späteren Einsatz aufbewahrt werden.
  • In einer Ausführungsform umfasst das Filtersystem fünf Stufen. Die Stufen sind so angeordnet, dass das Schmutzwasser zunächst mit einem Filter mit einer ersten Porengröße gefiltert wird. Mit wachsender Stufe verkleinert sich die Porengröße des entsprechenden Filters, sodass das der Schmutz aus dem Schmutzwasser durch Filter mit zunehmend kleinerer Porengröße herausgefiltert wird und das Wasser mit jeder Stufe sauberer wird.
  • In einer Ausführungsform umfasst das Filtersystem in der ersten Stufe einen Filter mit einer Porengröße von 25 µm bis 50 µm.
  • In einer Ausführungsform umfasst das Filtersystem in der zweiten Stufe einen Filter mit einer Porengröße von 7,5 µm bis 15 µm, vorzugsweise von 10 µm.
  • In einer Ausführungsform umfasst das Filtersystem in der dritten Stufe einen Filter mit einer Porengröße von 2 µm bis 7,5 µm, vorzugsweise von 5 µm.
  • In einer Ausführungsform umfasst das Filtersystem in der vierten Stufe einen Kohlefilter, insbesondere einen Aktivkohlefilter, mit dem Chemikalien und Schwermetalle aus dem Wasser gefiltert werden.
  • In einer Ausführungsform umfasst das Filtersystem in der fünften Stufe einen Feinstfilter mit einer Porengröße von 0,1 µm bis 1 µm, vorzugsweise von 0,5 µm.
  • In einer Ausführungsform sind die einzelnen Filter, insbesondere die Filtermaterialien, farblich gekennzeichnet. Die farbliche Kennzeichnung der Filter bewirkt in vorteilhafter Weise, dass eine Manipulation der Filter, insbesondere eine für das Gesamtsystem schädliche Manipulation, entdeckt werden kann. Beispielsweise kann dadurch sichergestellt werden, dass nur passende Filter in die entsprechende Stufe eingesetzt werden, sodass der durch die Filteranlage ausgewiesene Reinheitsgrad des gefilterten Wassers auch tatsächlich erreicht wird. Die Verwendung von unsachgemäßen Filtern kann dann, insbesondere im Schadensfall, anhand der falschen Farbe erkannt werden.
  • In einer Ausführungsform ist in Fließrichtung des von der Rinne aufgefangenen Wassers zwischen der Filteranlage und der Rinne eine Pumpe angeordnet. Die Pumpe ist dazu ausgebildet, das von der Rinne aufgefangene Wasser mit einem Druck von 3 bar bis 5 bar in die Filteranlage zu pumpen.
  • Die Filter verhindern, dass das Wasser einfach durch die Filteranlage hindurchfließt. Für den Wasserfluss stellen sie einen Widerstand dar, der durch einen entsprechenden Druck ausgeglichen werden muss. In vorteilhafter Weise bewirkt ein durch eine Pumpe erzeugter Druck von 3 bar bis 5 bar, dass sich das Wasser nicht vor der Filteranlage in die Rinne zurückstaut.
  • In einer Ausführungsform sind in Fließrichtung des von der Rinne aufgefangenen Wassers zwischen der Rinne und der Pumpe ein Nasssauger und ein Zwischenbehälter angeordnet. Der Nasssauger ist dazu konfiguriert, das Wasser aus der Rinne abzusaugen und in den Zwischenbehälter zu leiten.
  • Pumpen sind anfällig für eine Verwendung von inhomogenen Medien. Das von der Rinne aufgefangene Wasser könnte nicht in hinreichender Menge vorhanden sein, um von der Pumpe konstant in die Filteranlage gepumpt zu werden. Ist zu wenig Wasser in der Rinne, würde die Pumpe auch Luft einsaugen. Das Wasser-Luftgemisch in der Pumpe könnte zu einer erhöhten Abnutzung der Pumpe und/oder zu einer Beschädigung der Pumpe führen.
  • Um diesem Problem vorzubeugen saugt ein Nasssauger das Wasser aus der Rinne über den Abfluss oder einen der Abflüsse ab. Nasssauger sind dazu ausgelegt, sowohl Wasser, oder allgemein Flüssigkeiten, als auch Luft und Gas einzusaugen. Ein zu geringer Wasserstand in der Rinne beschädigt den Nasssauger nicht. Das von dem Nasssauger aufgesaugte Wasser wird in einen Zwischenbehälter geleitet, von wo es von der Pumpe angesaugt und in die Filteranlage gepumpt wird.
  • In vorteilhafter Weise verlängert der Einsatz eines Nasssaugers und eines Zwischenbehälters die Lebensdauer der Pumpe.
  • In einer Ausführungsform umfasst der Zwischenbehälter einen Schwimmerschalter. Der Schwimmerschalter ist kommunikativ mit der Pumpe verbunden. Erreicht der Füllstand des Wassers in dem Zwischenbehälter ein erstes Schwellniveau, beispielsweise 50 I bis 60 I, schaltet der Schwimmerschalter die Pumpe ein und das Wasser wird von dem Zwischenbehälter in die Filteranlage gepumpt. Der Füllstand des Wassers im Zwischenbehälter beginnt zu sinken. Erreicht der Füllstand ein zweites Schwellniveau, das vorzugsweise unterhalb des ersten Schwellniveaus liegt, schaltet der Schwimmerschalter die Pumpe wieder ab.
  • In einer weiteren Ausführungsform ist der Füllstand, der dem zweiten Schwellniveau entspricht, hoch genug, um zu verhindern, dass die Pumpe Luft einsaugt. Das bedeutet, dass die Pumpe abgeschaltet wird, bevor sie durch Lufteinsaugung beschädigt wird.
  • In vorteilhafter Weise bewirkt die Verwendung eines Schwimmerschalters, dass die Pumpe nur dann läuft, wenn hinreichend Wasser vorhanden ist, das in die Filteranlage gepumpt werden kann. Der Betrieb der Pumpe ist pausiert, wenn zu wenig Wasser im Zwischenbehälter ist. Dadurch wird nicht nur die Pumpe geschont, sondern auch der Energieverbrauch des Systems reduziert.
  • In einer Ausführungsform ist das System, insbesondere die Filteranlage und/oder der Zwischenbehälter und der Nasssauger in ein Gehäuse verbaut. Ein Gehäuse schützt die Komponenten des Systems vor Schmutz und Beschädigung, insbesondere wenn das System auf einer Baustelle verwendet wird.
  • Weitere Vorteile, Ziele und Eigenschaften der Erfindung werden anhand nachfolgender Beschreibung und anliegender Zeichnungen erläutert, in welchen beispielhaft erfindungsgemäße Gegenstände dargestellt sind. Merkmale, welche in den Figuren wenigstens im Wesentlichen hinsichtlich ihrer Funktion übereinstimmen, können hierbei mit gleichen Bezugszeichen gekennzeichnet sein, wobei diese Merkmale nicht in allen Figuren beziffert und erläutert sein müssen.
    • Figuren 1a, 1b und 1c zeigen das Profil verschiedener Rinnen.
    • Figur 2 zeigt eine Ausführungsform der Rinne, bei der die Borsten und ein Teil der Fassadenseite mit einer Folie umschlagen sind.
    • Figur 3 zeigt eine Vergrößerung des Kontaktbereichs zwischen der Rinne und der Fassade aus Figur 2.
    • Figur 4 zeigt eine perspektivische Darstellung einer Rinne an einer Fassade.
    • Figuren 5a, 5b und 5c zeigen Ausführungsformen der Rinne mit unterschiedlich positionierten Abflüssen.
    • Figur 6 zeigt eine aus zwei Rinnen und einem Verbindungsstück zusammengesetzte Auffangvorrichtung.
    • Figur 7 zeigt den schematischen Aufbau des Systems zum Auffangen und Reinigen von Fassadenwasser.
    • Figur 8 zeigt den schematischen Aufbau und die Verbindungen zwischen einem Nasssauger, einem Zwischenbehälter und einer Pumpe.
    • Figur 9 zeigt den schematischen Aufbau einer Filteranlage.
  • In den Figuren 1a, 1b und 1c sind verschiedene Rinnen 10 in der Profilansicht dargestellt. Die Rinnen 10 umfassen jeweils eine Rückseite 12, einen Boden 14 und eine Fassadenseite 16. An der oberen Kante der Fassadenseite 16 sind jeweils Borsten 18 angeordnet. Die Erstreckungsrichtung der Borsten 18 ist gegenüber einer vertikalen Ebene, hier durch die gestrichelte Linie angedeutet, um einen Winkel α geneigt. Auch in Figur 1c sind die Borsten 18 um den Winkel α gegenüber der vertikalen Ebene geneigt, der Winkel α ist lediglich aus Platzgründen nicht eingezeichnet.
  • Die Borsten 18 sind in Kontakt mit einer Fassade 20. Die Fassade 20 hat eine raue Oberfläche. Die Spitzen der Borsten 18 legen sich in Täler oder Furchen. Die Rinne weist in einer Ausführungsform Borsten nur auf der Fassadenseite auf. Die Rinne weist in einer Ausführungsform Borsten nur auf der Fassadenseite auf der Oberfläche der Fassade 20, sodass ein Übergang von der Fassade 20 zur Rinne 10 hergestellt wird. Wasser, das die Fassade 20 hinabläuft, wird über die Borsten 18 in die Rinne 10 abgeleitet und von ihr aufgefangen.
  • Die Rinnen 10 der Figuren 1a, 1b und 1c unterscheiden sich dadurch voneinander, dass die Fassadenseiten 16 unterschiedlich ausgestaltet sind. In Figur 1a ist die Fassadenseite 16 ganz gegenüber der vertikalen Ebene um den Winkel α geneigt.
  • In Figur 1b umfasst die Fassadenseite zwei Bereiche. Ein erster geneigter Bereich 22 ist gegenüber der vertikalen Ebene um den Winkel α geneigt. Ein zweiter vertikaler Bereich 24 ist parallel oder zumindest im Wesentlichen parallel zur vertikalen Ebene ausgerichtet.
  • Auf die die genaue Ausrichtung der Fassadenseite 16 kommt es für die Wirkung der Erfindung nicht an. In alternativen, nicht dargestellten Ausführungsformen kann beispielsweise der Boden 14 gekrümmt sein und kontinuierlich bzw. mit einer Rundung in die Fassadenseite 16 übergehen. Ferner kann die Fassadenseite 16 auch mit einem anderen Winkel als dem Winkel α gegenüber der vertikalen Ebene geneigt sein.
  • In Figur 1c ist die Fassadenseite 16 nicht geneigt, sondern parallel oder zumindest im Wesentlichen parallel zur vertikalen Ebene ausgerichtet. Gegenüber den Ausführungsformen der Figuren 1a und 1b hat diese Ausführungsform den Nachteil, dass bei einer Verwendung der Rinne 10 an einer nicht vertikalen Fassade 20, insbesondere einer nach hinten - auf der Darstellung nach rechts - geneigten Fassade 20, die Borsten 18 gegebenenfalls nicht an die Fassade 20 heranreichen. Dieser Nachteil kann durch eine Neigung der Rinne 10 ausgeglichen werden, sodass die Fassadenseite 16 parallel zur Fassade 20, wie in Figur 1c dargestellt, ausgerichtet ist.
  • Figur 2 zeigt eine Ausführungsform der Rinne 10 aus Figur 1a. Die Borsten 18 der Rinne 10 und ein Teil der Fassadenseite sind mit einer Folie 26 umschlagen. Die Folie 26 kann die Fassadenseite 16 ganz oder, wie hier dargestellt nur teilweise umschlagen. Umschlagen im Sinne der Erfindung bedeutet, dass die Borsten 18 und zumindest ein Teil der Fassadenseite 16 mit der Folie 26 bedeckt sind. Wird die Rinne 10 an der Fassade 20 angeordnet, kommen die Borsten 18 mit der Fassade 20 nicht in Berührung, da die Folie 26 die Borsten 18 bedeckt und den direkten Kontakt verhindert.
  • Eine Vergrößerung der Kontaktstelle zwischen den Borsten 18 der Rinne 10 und der Fassade 20 ist in Figur 3 dargestellt. Die Borsten 18 dienen dazu, Unebenheiten auf der Fassadenoberfläche auszugleichen. Die Spitzen der Borsten 18 können sich in kleine Einbuchtungen, Unebenheiten oder Täler der Fassadenoberfläche legen. Bei der Verwendung einer festen oder zumindest unzureichend flexiblen Kante einer Rinne, würden diese Unebenheiten dazu führen, dass zwischen der Fassade 20 und der Kante kleine Löcher entstehen, durch die das Wasser durchlaufen kann.
  • Das Wasser folgt der Fließrichtung F. Zunächst läuft es die Fassade 20 hinab. Die Borsten 18 drücken die Folie 26 in die Unebenheiten der Fassade 20 und verschließen so den Übergang von der Fassade 20 zur Rinne 10. Die Folie 26 verschließt ferner auch die Lücken zwischen den Borsten 18 dadurch, dass sich die Folie 26 über einen Teil der Fassadenseite 16 erstreckt. Das Wasser fließt daher über die Folie 26 in die Rinne 10.
  • Figur 4 zeigt eine perspektivische Darstellung der Rinne 10 gemäß der Ausführungsform aus Figur 1a. In dieser Ausführungsform besitzt die Rinne 10 einen Abfluss 28, der an einer der Stirnseiten der Rinne 10 angebracht ist. Die Borsten 18 der Rinne 10 sind über die gesamte Länge entlang der Längsachse L mit der Fassade 20 in Kontakt.
  • Damit die Rinne 10 nicht umfällt, verrutscht oder sich anderweitig unbeabsichtigt bewegt, können Gewichte (nicht dargestellt), beispielsweise Sandsäcke, an der Rückseite 12 der Rinne 10 positioniert werden. Über die Positionierung der Gewichte auf der Rückseite 12 der Rinne 10 kann auch die Kraft eingestellt werden, mit der die Borsten 18 an die Fassade gedrückt werden.
  • Die Figuren 5a, 5b und 5c zeigen verschiedene Ausführungsformen der Rinne 10. Die in den Figuren 5a, 5b und 5c dargestellten Rinnen 10 haben Abflüsse 28, die unterschiedlich positioniert sind. Die Rinne 10 aus Figur 5a weist einen Abfluss 28 auf, der auf der linken Seite angeordnet ist. Die Rinne 10 aus Figur 5b weist einen Abfluss 28 auf, der auf der rechten Seite der Rinne 10 angeordnet ist. Die Rinne 10 aus Figur 5c weist zwei Abflüsse 28 auf, die entlang der Längsachse L auf unterschiedlichen Seiten der Rinne 10 angeordnet sind.
  • In weiteren, nicht dargestellten Ausführungsformen kann der Abfluss 28 oder die Abflüsse 28 auch im Bereich des Bodens 14 oder im Boden 14 angeordnet sein.
  • Figur 6 zeigt eine Wasserauffangeinrichtung umfassend zwei Rinnen 10. Die Rinnen 10 sind über ein Verbindungsstück 30 miteinander verbunden. Die linke Rinne 10 weist einen Abfluss 28 auf ihrer linken Seite auf. Die rechte Rinne 10 weist einen Abfluss 28 auf ihrer rechten Seite auf.
  • Figur 7 zeigt eine schematische Darstellung eines Systems zur Reinigung von Wasser, dass von einer Fassade aufgefangen wird.
  • Das System umfasst eine Rinne 10. Die Rinne 10 ist über eine fluidische Verbindung 32, beispielsweise einen Schlauch oder ein Rohr mit der Zwischenanlage 34 verbunden. Die Zwischenanlage 34 ist über eine weitere fluidische Verbindung 36, beispielsweise ein Schlauch oder ein Rohr, mit der Filteranlage 38 verbunden. Die Filteranlage 38 umfasst das mehrstufige Filtersystem 40, an das die fluidische Verbindung 36 angeschlossen ist. Ferner umfasst das System einen Auslass 42, aus dem das gefilterte Wasser austritt. Der Auslass kann beispielsweise fluidisch mit einem Auffangbehälter (hier nicht dargestellt) oder einer Vorrichtung zur Verwendung von gereinigtem Fassadenwasser verbunden sein.
  • Figur 8 zeigt eine schematische Darstellung der Zwischenanlage 34 aus Figur 7. Das Wasser wird über die fluidische Verbindung 32 von einem Nasssauger 44 aus der Rinne 10 abgesaugt. Der Nasssauger 44 leitet das Wasser über eine fluidische Verbindung 46, beispielsweise ein Schlauch, ein Rohr oder ein Wasserhahn, in einen Zwischenbehälter 48. Der Zwischenbehälter 48 umfasst einen Schwimmerschalter 50, der auf der Oberfläche des in dem Zwischenbehälter 48 befindlichen Wassers aufschwimmt, sofern der Zwischenbehälter 48 Wasser enthält. In Figur 8 ist der Zwischenbehälter 48 als mit Wasser befüllt dargestellt. Das Wasser wird durch die Schraffur angedeutet.
  • Aus dem Zwischenbehälter 48 kann das Wasser über eine fluidische Verbindung 52, beispielsweise ein Rohr oder ein Schlauch, von einer Pumpe 54 abgepumpt werden. Die Pumpe 54 erhöht den Druck des Wassers auf vorzugsweise 3 bar bis 5 bar und pumpt das Wasser über die fluidische Verbindung 36 zu der Filteranlage 38.
  • Die Pumpe 54 ist über eine elektronische Verbindung 56 mit dem Schwimmerschalter 50 gekoppelt. Die elektronische Verbindung 56 kann beispielsweise ein einfaches Kabel oder aber eine Kombination aus Kabeln und einem Steuergerät umfassen.
  • Der Schwimmerschalter 50 und die Pumpe 54 sind derart elektronisch miteinander gekoppelt, dass die Pumpe 54 eingeschaltet wird, wenn der Schwimmerschalter einen ersten Schwellwert überschritten hat. Der erste Schwellwert entspricht beispielsweise ein Füllstand von 50 I bis 60 I. Ferner sind die Pumpe 54 und der Schwimmerschalter 50 derart gekoppelt, dass die Pumpe abgeschaltet wird, wenn der Schwimmerschalter einen zweiten Schwellwert unterschritten hat. Der erste Schwellwert und der zweite Schwellwert können demselben Füllstand, beispielsweise 50 I, zugeordnet sein, sodass die Pumpe 54 aktiv ist, wenn sich der Schwimmerschalter 50 oberhalb dieses Füllstands befindet und die Pumpe 54 inaktiv ist, wenn sich der Schwimmerschalter 50 unterhalb dieses Füllstands befindet.
  • Ferner können der erste Schwellwert und der zweite Schwellwert unterschiedlichen Füllständen zugeordnet sein, sodass die Pumpe 54 nicht innerhalb kurzer Zeit wiederholt ein und wieder ausgeschaltet wird, weil die Pumpleistung der Pumpe 54 den Fluss von der Rinne 10 zum Zwischenbehälter 48 übersteigt. Sind die Schwellwerte unterschiedlich, wobei der zweite Schwellwert einem niedrigerem Füllstand zugeordnet ist als der erste Schwellwert, dann aktiviert sich die Pumpe 54, sobald der Füllstand den ersten Schwellwert, beispielsweise 60 I, übersteigt und deaktiviert sich erst dann, wenn der Füllstand bis zum zweiten Schwellwert, beispielsweise 10 I, abgenommen hat.
  • Figur 9 zeigt eine schematische Darstellung der Filteranlage 38. Die Filteranlage 38 umfasst ein mehrstufiges Filtersystem, das durch die fluidische Verbindung 36 mit Wasser gespeist wird. Das Wasser wird von der Pumpe 54 (in Figur 9 nicht dargestellt) mit einem Druck von vorzugsweise 3 bar bis 5 bar in die Filteranlage gepumpt. In der dargestellten Ausführungsform umfasst das Filtersystem fünf Stufen.
  • Die erste Stufe ist gebildet durch einen Vorfilter 58 mit einer Porengröße von 25 µm bis 50 µm. Der Vorfilter 58 ist dafür vorgesehen, groben Schmutz aus dem Wasser herauszufiltern. Der Vorfilter 58 ist über eine fluidische Verbindung 60 mit einem zweiten Filter 62 verbunden. Die fluidische Verbindung 60 kann beispielsweise durch einen Schlauch oder ein Rohr gebildet sein. Alternativ kann die fluidische Verbindung 60 auch durch einen Flansch gebildet sein, sodass der Filter 62 fluidisch direkt hinter dem Vorfilter 58 angeordnet ist. Eine direkte fluidische Verbindung reduziert die Anzahl der für die Filteranlage 38 benötigten Komponenten.
  • Der zweite Filter 62 besitzt eine Porengröße von vorzugsweise 10 µm. Wahlweise kann die Filteranlage 38 zwei fluidisch parallel angeordnete zweite Filter 62 umfassen.
  • Der zweite Filter 62 ist über eine fluidische Verbindung 64 mit einem dritten Filter 66 verbunden. Der dritte Filter 66 hat eine Porengröße von vorzugsweise 5 µm. Die fluidische Verbindung 64 kann beispielsweise durch einen Schlauch oder ein Rohr gebildet sein. Alternativ kann die fluidische Verbindung 64 auch durch einen Flansch gebildet sein, sodass der Filter 66 fluidisch direkt hinter dem Filter 62 angeordnet ist.
  • Der Filter 66 ist über eine fluidische Verbindung 68 mit einem Kohlefilter 70 verbunden. Der Kohlefilter 70 umfasst Kohle, insbesondere Aktivkohle, um Schwermetalle und Chemikalien aus dem Wasser herauszufiltern. Die fluidische Verbindung 68 kann beispielsweise durch einen Schlauch oder ein Rohr gebildet sein. Alternativ kann die fluidische Verbindung 68 durch einen Flansch gebildet sein, sodass der Kohlefilter 70 fluidisch direkt hinter dem Filter 66 angeordnet ist.
  • Der Kohlefilter 70 ist über eine fluidische Verbindung 72 mit einem Feinstfilter 74 verbunden. Der Feinstfilter 74 hat vorzugsweise eine Porengröße von 0,1 µm bis 1 µm, besonders bevorzugt von 0,5 µm. Die fluidische Verbindung 72 kann beispielsweise durch einen Schlauch oder ein Rohr gebildet sein. Alternativ kann die fluidische Verbindung 72 durch einen Flansch gebildet sein, sodass der Feinstfilter 74 fluidisch direkt hinter dem Kohlefilter 70 angeordnet ist.
  • Die Filteranlage 38 besitzt einen Auslass 42, aus dem das gefilterte Wasser aus der Filteranlage 38 ablaufen oder abgepumpt werden kann. Der Auslass 42 kann beispielsweise durch ein Schlauchende, einen Wasserhahn oder ein Ventil gebildet sein.
  • Liste der Bezugszeichen
  • 10 Rinne 58 Vorfilter
    12 Rückseite 60 Fluidische Verbindung
    14 Boden 62 Filter
    16 Fassadenseite 64 Fluidische Verbindung
    18 Borsten 66 Filter
    20 Fassade 68 Fluidische Verbindung
    22 Geneigter Bereich 70 Kohlefilter
    24 Vertikaler Bereich 72 Fluidische Verbindung
    26 Folie 74 Feinstfilter
    28 Abfluss
    30 Verbindungsstück α Winkel
    32 Fluidische Verbindung F Fließrichtung
    34 Zwischenanlage L Längsachse
    36 Fluidische Verbindung
    38 Filteranlage
    40 Filtersystem
    42 Auslass
    44 Nasssauger
    46 Fluidische Verbindung
    48 Zwischenbehälter
    50 Schwimmerschalter
    52 Fluidische Verbindung
    54 Pumpe
    56 Elektronische Verbindung

Claims (14)

  1. Rinne (10) zum Auffangen von Wasser von einer Fassade,
    wobei die Rinne (10) einen länglichen Grundkörper mit einer Längsachse (L) aufweist,
    wobei der Grundkörper zumindest aus einer Fassadenseite (16), einer Rückseite (12) und einem Boden (14) gebildet ist,
    wobei die Rinne (10) zumindest einen Abfluss (28) aufweist, über den aufgefangenes Wasser ablaufen kann,
    wobei die Fassadenseite (16) eine obere Kante aufweist,
    wobei die obere Kante der Fassadenseite (16) mit Borsten (18) bestückt ist,
    wobei die Borsten (18) sich senkrecht zur Längsachse (L) und gegenüber einer vertikalen Achse abgeschrägt von dem Grundkörper weg erstreckend angeordnet sind,
    dadurch gekennzeichnet, dass
    die Rinne (10) eine Folie (26) umfasst, wobei die Folie (26) um die Borsten (18) oder um die Borsten (18) und zumindest einen Teil der Fassadenseite (16) geschlagen ist.
  2. Rinne (10) nach Anspruch 1, wobei die Fassadenseite (16) oder ein Teil davon gegenüber einer vertikalen Ebene, die parallel zur Längsachse (L) des Grundkörpers verläuft, geneigt ist.
  3. Rinne (10) nach Anspruch 2, wobei die Neigung der Fassadenseite (16) oder eines Teils davon gegenüber der vertikalen Ebene um einen Winkel von 10° bis 50°, vorzugsweise von 20° bis 40°, besonders bevorzugt von 30°, beträgt.
  4. Rinne (10) nach einem der vorherigen Ansprüche, wobei die Erstreckungsrichtung der Borsten (18) gegenüber einer vertikalen Ebene, die parallel zur Längsachse (L) des Grundkörpers verläuft, um einen Winkel von 10° bis 50°, vorzugsweise von 20° bis 40°, besonders bevorzugt von 30°, geneigt ist.
  5. Rinne (10) nach einem der vorherigen Ansprüche, wobei die Rinne (10) einen zweiten Abfluss (28) aufweist, wobei die Abflüsse (28) entlang der Längsachse (L) an unterschiedlichen Enden der Rinne (10) angeordnet sind.
  6. System zur Aufbereitung von Wasser von einer Fassade,
    umfassend eine Rinne (10) nach einem der vorherigen Ansprüche zum Auffangen des Wassers und
    eine Filteranlage (38) zur Filterung des von der Rinne (10) aufgefangenen Wassers, wobei die Filteranlage (38) ein mehrstufiges Filtersystem (40) ist und
    wobei die Filteranlage (38) mit der Rinne (10) über den zumindest einen Abfluss (28) der Rinne fluidisch verbunden ist.
  7. System nach Anspruch 6, wobei eine erste Stufe des Filtersystems (40) einen Vorfilter (58) mit einer Porengröße von 25 µm bis 50 µm umfasst.
  8. System nach einem der Ansprüche 6 bis 7, wobei eine zweite Stufe des Filtersystems (40) einen oder zwei Filter (62) mit einer Porengröße von 10 µm umfasst.
  9. System nach einem der Ansprüche 6 bis 8, wobei eine dritte Stufe des Filtersystems (40) einen Filter (66) mit einer Porengröße von 5 µm umfasst.
  10. System nach einem der Ansprüche 6 bis 9, wobei eine vierte Stufe des Filtersystems (40) einen Kohlefilter (70), insbesondere einen Aktivkohlefilter, für Chemikalien und Schwermetalle umfasst.
  11. System nach einem der Ansprüche 6 bis 10, wobei eine fünfte Stufe des Filtersystems (40) einen Feinstfilter (74) mit einer Porengröße von 0,1 µm bis 1 µm, vorzugsweise von 0,5 µm umfasst.
  12. System nach einem der Ansprüche 6 bis 11, wobei in Fließrichtung des von der Rinne aufgefangenen Wassers zwischen der Filteranlage (38) und der Rinne (10) eine Pumpe (54) angeordnet ist, wobei die Pumpe (54) dazu ausgebildet ist, das aufgefangene Wasser von der Fassade mit einem Druck von 3 bar bis 5 bar in die Filteranlage (38) zu pumpen.
  13. System nach Anspruch 12, wobei in Fließrichtung des von der Rinne (10) aufgefangenen Wassers zwischen der Rinne (10) und der Pumpe (54) ein Nasssauger (44) und ein Zwischenbehälter (48) angeordnet sind,
    wobei der Nasssauger (44) dazu konfiguriert ist, das Wasser aus der Rinne (10) abzusaugen und in den Zwischenbehälter (48) zu leiten.
  14. System nach Anspruch 13, wobei der Zwischenbehälter (48) einen Schwimmerschalter (50) umfasst, wobei der Schwimmerschalter (50) dazu konfiguriert ist, die Pumpe (54) einzuschalten, wenn der Füllstand in dem Zwischenbehälter (48) ein erstes Schwellniveau überschreitet, und die Pumpe (54) abzuschalten, wenn der Füllstand in dem Zwischenbehälter (48) ein zweites Schwellniveau unterschreitet.
EP22202785.6A 2021-10-25 2022-10-20 Rinne zum auffangen von wasser von einer fassade und system zum reinigen von wasser von einer fassade Active EP4170112B1 (de)

Applications Claiming Priority (1)

Application Number Priority Date Filing Date Title
DE202021105830.7U DE202021105830U1 (de) 2021-10-25 2021-10-25 Rinne zum Auffangen von Wasser von einer Fassade und System zum Reinigen von Wasser von einer Fassade

Publications (3)

Publication Number Publication Date
EP4170112A1 EP4170112A1 (de) 2023-04-26
EP4170112B1 true EP4170112B1 (de) 2025-01-01
EP4170112C0 EP4170112C0 (de) 2025-01-01

Family

ID=78827456

Family Applications (1)

Application Number Title Priority Date Filing Date
EP22202785.6A Active EP4170112B1 (de) 2021-10-25 2022-10-20 Rinne zum auffangen von wasser von einer fassade und system zum reinigen von wasser von einer fassade

Country Status (2)

Country Link
EP (1) EP4170112B1 (de)
DE (1) DE202021105830U1 (de)

Family Cites Families (11)

* Cited by examiner, † Cited by third party
Publication number Priority date Publication date Assignee Title
DE1652333A1 (de) * 1968-01-22 1971-03-04 Erich Geiger Decken- und Waende-Abwaschmaschine
DE3440461C1 (de) 1984-11-06 1986-01-16 Alfred Kärcher GmbH & Co, 7057 Winnenden Vorrichtung zum Auffangen von zur Gebäudereinigung verwendeten Reinigungschemikalien
ATE76347T1 (de) * 1988-10-28 1992-06-15 Helmut Fastje Reinigungsanlage fuer fassaden und dergleichen oberflaechen.
DE4220599A1 (de) * 1992-06-24 1994-01-13 Remmers Chemie Gmbh & Co Verfahren und Vorrichtung zur Reinigung von Fassaden, insbesondere von Gebäudefassaden
DE19734761A1 (de) 1997-08-12 1999-02-25 Reinhard Albert Hudzik Verfahren zur Reinigung von Objekten, insbesondere Immobilien, bei dem das zu reinigende Objekt mit einem Reinigungsmittel gereinigt wird
DE19734762A1 (de) * 1997-08-12 1999-02-25 Reinhard Albert Hudzik Sammelbehälter zum Auffangen von Flüssigkeiten und/oder Schmutzstoffen bei der Reinigung von Objekten
DE19905535A1 (de) * 1998-02-10 1999-08-12 Storch Werke Gmbh Verfahren zum Entfernen von Farbaufträgen an Gegenständen, Verwendung eines Hochdruckfarbauftraggerätes und Einrichtung zur Durchführung des Verfahrens
DE19938478A1 (de) * 1999-08-13 2001-03-08 Schwemle Gmbh Vorrichtung zum Bearbeiten einer beliebigen Fläche
DE102015118118A1 (de) 2015-10-23 2017-04-27 Hermes Fassadenreinigung GmbH Schmutzwasser-Konzept
ES2805844T3 (es) * 2016-06-13 2021-02-15 Peter Fuchs Dispositivo móvil para la purificación de aguas residuales de una limpieza de fachada
DE202016105031U1 (de) * 2016-09-12 2016-10-06 Tony Bauen Modulare Schmutzwasserauffangrinne

Also Published As

Publication number Publication date
DE202021105830U1 (de) 2021-11-23
EP4170112C0 (de) 2025-01-01
EP4170112A1 (de) 2023-04-26

Similar Documents

Publication Publication Date Title
EP2638839B1 (de) Saugdüse mit Abstreiflippen
DE202014011488U1 (de) Tragbares Sauggerät
EP2937029B1 (de) Saugdüse zum saugen von glattböden, insbesondere von gefliesten bodenflächen
DE2743530C3 (de) Vorrichtung zum Reinigen von großflächigen TextUauflagen, insbesondere von Teppichen und Teppichboden
EP3050475B1 (de) Saugdüse zum saugen von hartbodenflächen
DE3133789A1 (de) "verfahren zum reinigen von flaechen sowie flaechenreinigungsmaschine zur durchfuehrung dieses verfahrens"
EP3518720B1 (de) Saugdüse und hartflächenabsauggerät
EP4170112B1 (de) Rinne zum auffangen von wasser von einer fassade und system zum reinigen von wasser von einer fassade
DE19508403A1 (de) Gerät zur Beseitigung von Flüssigkeit oder Flüssigkeitspartikeln aus einer Luftströmung
DE8707996U1 (de) Vorrichtung zum Auffangen von Flüssigkeiten beim Reinigen von Gebäuden
DE3408474C2 (de)
DE102015105228B4 (de) Vorrichtung für ein ein saugendes Gebläse aufweisendes Reinigungsgerät
EP1632619B1 (de) Wasseranlage mit einer Vorrichtung Steuerung des Überlaufs
EP3148390B1 (de) Sauggerät für reinigungszwecke
DE102007022096A1 (de) Vorrichtung zum Behandeln, Bearbeiten und/oder Reinigen von Oberflächen
EP3106566B1 (de) Saugfussanordnung für eine bodenreinigungsmaschine
EP3188636A1 (de) Saugbalkenvorrichtung für eine bodenreinigungsmaschine, bodenreinigungsmaschine und verfahren zur reinigung von fliesenböden
EP2777465B1 (de) Bodenreinigungsmaschine mit Handsaugschlauch
DE19734762A1 (de) Sammelbehälter zum Auffangen von Flüssigkeiten und/oder Schmutzstoffen bei der Reinigung von Objekten
DE102016010479A1 (de) Dachrinnenreinigungssystem
DE202005002169U1 (de) Versickerungsvorrichtung
WO2026022006A1 (de) Schutzvorrichtung zum schützen einer durchströmungsvorrichtung einer lackieranlage oder pulverbeschichtungsanlage vor verschmutzung und verwendung einer schutzvorrichtung.
DE102015100873A1 (de) Saugdüse
DE102007047097A1 (de) Filtervorrichtung für Flüssigkeiten
DE8319762U1 (de) Austragsgeraet zum herausfuehren von feststoffen mittels eines filterbandes aus einem behaelter, dem eine mit feststoffen befrachtete fluessigkeit zugefuehrt wird

Legal Events

Date Code Title Description
PUAI Public reference made under article 153(3) epc to a published international application that has entered the european phase

Free format text: ORIGINAL CODE: 0009012

STAA Information on the status of an ep patent application or granted ep patent

Free format text: STATUS: THE APPLICATION HAS BEEN PUBLISHED

AK Designated contracting states

Kind code of ref document: A1

Designated state(s): AL AT BE BG CH CY CZ DE DK EE ES FI FR GB GR HR HU IE IS IT LI LT LU LV MC ME MK MT NL NO PL PT RO RS SE SI SK SM TR

STAA Information on the status of an ep patent application or granted ep patent

Free format text: STATUS: REQUEST FOR EXAMINATION WAS MADE

17P Request for examination filed

Effective date: 20230602

RBV Designated contracting states (corrected)

Designated state(s): AL AT BE BG CH CY CZ DE DK EE ES FI FR GB GR HR HU IE IS IT LI LT LU LV MC ME MK MT NL NO PL PT RO RS SE SI SK SM TR

GRAP Despatch of communication of intention to grant a patent

Free format text: ORIGINAL CODE: EPIDOSNIGR1

STAA Information on the status of an ep patent application or granted ep patent

Free format text: STATUS: GRANT OF PATENT IS INTENDED

GRAJ Information related to disapproval of communication of intention to grant by the applicant or resumption of examination proceedings by the epo deleted

Free format text: ORIGINAL CODE: EPIDOSDIGR1

STAA Information on the status of an ep patent application or granted ep patent

Free format text: STATUS: REQUEST FOR EXAMINATION WAS MADE

RIC1 Information provided on ipc code assigned before grant

Ipc: E04G 23/00 20060101AFI20240924BHEP

INTG Intention to grant announced

Effective date: 20241008

GRAP Despatch of communication of intention to grant a patent

Free format text: ORIGINAL CODE: EPIDOSNIGR1

STAA Information on the status of an ep patent application or granted ep patent

Free format text: STATUS: GRANT OF PATENT IS INTENDED

GRAS Grant fee paid

Free format text: ORIGINAL CODE: EPIDOSNIGR3

GRAA (expected) grant

Free format text: ORIGINAL CODE: 0009210

STAA Information on the status of an ep patent application or granted ep patent

Free format text: STATUS: THE PATENT HAS BEEN GRANTED

INTC Intention to grant announced (deleted)
INTG Intention to grant announced

Effective date: 20241118

AK Designated contracting states

Kind code of ref document: B1

Designated state(s): AL AT BE BG CH CY CZ DE DK EE ES FI FR GB GR HR HU IE IS IT LI LT LU LV MC ME MK MT NL NO PL PT RO RS SE SI SK SM TR

REG Reference to a national code

Ref country code: GB

Ref legal event code: FG4D

Free format text: NOT ENGLISH

REG Reference to a national code

Ref country code: DE

Ref legal event code: R096

Ref document number: 502022002566

Country of ref document: DE

REG Reference to a national code

Ref country code: CH

Ref legal event code: EP

REG Reference to a national code

Ref country code: IE

Ref legal event code: FG4D

Free format text: LANGUAGE OF EP DOCUMENT: GERMAN

U01 Request for unitary effect filed

Effective date: 20250122

U07 Unitary effect registered

Designated state(s): AT BE BG DE DK EE FI FR IT LT LU LV MT NL PT RO SE SI

Effective date: 20250129

PG25 Lapsed in a contracting state [announced via postgrant information from national office to epo]

Ref country code: PL

Free format text: LAPSE BECAUSE OF FAILURE TO SUBMIT A TRANSLATION OF THE DESCRIPTION OR TO PAY THE FEE WITHIN THE PRESCRIBED TIME-LIMIT

Effective date: 20250101

PG25 Lapsed in a contracting state [announced via postgrant information from national office to epo]

Ref country code: ES

Free format text: LAPSE BECAUSE OF FAILURE TO SUBMIT A TRANSLATION OF THE DESCRIPTION OR TO PAY THE FEE WITHIN THE PRESCRIBED TIME-LIMIT

Effective date: 20250101

PG25 Lapsed in a contracting state [announced via postgrant information from national office to epo]

Ref country code: IS

Free format text: LAPSE BECAUSE OF FAILURE TO SUBMIT A TRANSLATION OF THE DESCRIPTION OR TO PAY THE FEE WITHIN THE PRESCRIBED TIME-LIMIT

Effective date: 20250501

Ref country code: NO

Free format text: LAPSE BECAUSE OF FAILURE TO SUBMIT A TRANSLATION OF THE DESCRIPTION OR TO PAY THE FEE WITHIN THE PRESCRIBED TIME-LIMIT

Effective date: 20250401

PG25 Lapsed in a contracting state [announced via postgrant information from national office to epo]

Ref country code: HR

Free format text: LAPSE BECAUSE OF FAILURE TO SUBMIT A TRANSLATION OF THE DESCRIPTION OR TO PAY THE FEE WITHIN THE PRESCRIBED TIME-LIMIT

Effective date: 20250101

PG25 Lapsed in a contracting state [announced via postgrant information from national office to epo]

Ref country code: GR

Free format text: LAPSE BECAUSE OF FAILURE TO SUBMIT A TRANSLATION OF THE DESCRIPTION OR TO PAY THE FEE WITHIN THE PRESCRIBED TIME-LIMIT

Effective date: 20250402

PG25 Lapsed in a contracting state [announced via postgrant information from national office to epo]

Ref country code: CZ

Free format text: LAPSE BECAUSE OF FAILURE TO SUBMIT A TRANSLATION OF THE DESCRIPTION OR TO PAY THE FEE WITHIN THE PRESCRIBED TIME-LIMIT

Effective date: 20250101

PG25 Lapsed in a contracting state [announced via postgrant information from national office to epo]

Ref country code: SM

Free format text: LAPSE BECAUSE OF FAILURE TO SUBMIT A TRANSLATION OF THE DESCRIPTION OR TO PAY THE FEE WITHIN THE PRESCRIBED TIME-LIMIT

Effective date: 20250101

PG25 Lapsed in a contracting state [announced via postgrant information from national office to epo]

Ref country code: SK

Free format text: LAPSE BECAUSE OF FAILURE TO SUBMIT A TRANSLATION OF THE DESCRIPTION OR TO PAY THE FEE WITHIN THE PRESCRIBED TIME-LIMIT

Effective date: 20250101

REG Reference to a national code

Ref country code: CH

Ref legal event code: U11

Free format text: ST27 STATUS EVENT CODE: U-0-0-U10-U11 (AS PROVIDED BY THE NATIONAL OFFICE)

Effective date: 20251101

PLBE No opposition filed within time limit

Free format text: ORIGINAL CODE: 0009261

STAA Information on the status of an ep patent application or granted ep patent

Free format text: STATUS: NO OPPOSITION FILED WITHIN TIME LIMIT

U20 Renewal fee for the european patent with unitary effect paid

Year of fee payment: 4

Effective date: 20251028

26N No opposition filed

Effective date: 20251002

PGFP Annual fee paid to national office [announced via postgrant information from national office to epo]

Ref country code: CH

Payment date: 20251101

Year of fee payment: 4