EP3905723B1 - Hörvorrichtung - Google Patents

Hörvorrichtung Download PDF

Info

Publication number
EP3905723B1
EP3905723B1 EP21168412.1A EP21168412A EP3905723B1 EP 3905723 B1 EP3905723 B1 EP 3905723B1 EP 21168412 A EP21168412 A EP 21168412A EP 3905723 B1 EP3905723 B1 EP 3905723B1
Authority
EP
European Patent Office
Prior art keywords
plug connector
hearing device
loudspeaker
housing
intended
Prior art date
Legal status (The legal status is an assumption and is not a legal conclusion. Google has not performed a legal analysis and makes no representation as to the accuracy of the status listed.)
Active
Application number
EP21168412.1A
Other languages
English (en)
French (fr)
Other versions
EP3905723A1 (de
EP3905723C0 (de
Inventor
Muhammad Shahid BIN SHITH
Thai Wee Ang
Lit Song Glen Ding
Holger Kral
Current Assignee (The listed assignees may be inaccurate. Google has not performed a legal analysis and makes no representation or warranty as to the accuracy of the list.)
Sivantos Pte Ltd
Original Assignee
Sivantos Pte Ltd
Priority date (The priority date is an assumption and is not a legal conclusion. Google has not performed a legal analysis and makes no representation as to the accuracy of the date listed.)
Filing date
Publication date
Application filed by Sivantos Pte Ltd filed Critical Sivantos Pte Ltd
Publication of EP3905723A1 publication Critical patent/EP3905723A1/de
Application granted granted Critical
Publication of EP3905723B1 publication Critical patent/EP3905723B1/de
Publication of EP3905723C0 publication Critical patent/EP3905723C0/de
Active legal-status Critical Current
Anticipated expiration legal-status Critical

Links

Images

Classifications

    • HELECTRICITY
    • H04ELECTRIC COMMUNICATION TECHNIQUE
    • H04RLOUDSPEAKERS, MICROPHONES, GRAMOPHONE PICK-UPS OR LIKE ACOUSTIC ELECTROMECHANICAL TRANSDUCERS; DEAF-AID SETS; PUBLIC ADDRESS SYSTEMS
    • H04R25/00Deaf-aid sets, i.e. electro-acoustic or electro-mechanical hearing aids; Electric tinnitus maskers providing an auditory perception
    • H04R25/55Deaf-aid sets, i.e. electro-acoustic or electro-mechanical hearing aids; Electric tinnitus maskers providing an auditory perception using an external connection, either wireless or wired
    • H04R25/556External connectors, e.g. plugs or modules
    • HELECTRICITY
    • H01ELECTRIC ELEMENTS
    • H01RELECTRICALLY-CONDUCTIVE CONNECTIONS; STRUCTURAL ASSOCIATIONS OF A PLURALITY OF MUTUALLY-INSULATED ELECTRICAL CONNECTING ELEMENTS; COUPLING DEVICES; CURRENT COLLECTORS
    • H01R13/00Details of coupling devices of the kinds covered by groups H01R12/70 or H01R24/00 - H01R33/00
    • H01R13/46Bases; Cases
    • H01R13/52Dustproof, splashproof, drip-proof, waterproof, or flameproof cases
    • H01R13/5219Sealing means between coupling parts, e.g. interfacial seal
    • HELECTRICITY
    • H01ELECTRIC ELEMENTS
    • H01RELECTRICALLY-CONDUCTIVE CONNECTIONS; STRUCTURAL ASSOCIATIONS OF A PLURALITY OF MUTUALLY-INSULATED ELECTRICAL CONNECTING ELEMENTS; COUPLING DEVICES; CURRENT COLLECTORS
    • H01R13/00Details of coupling devices of the kinds covered by groups H01R12/70 or H01R24/00 - H01R33/00
    • H01R13/62Means for facilitating engagement or disengagement of coupling parts or for holding them in engagement
    • H01R13/629Additional means for facilitating engagement or disengagement of coupling parts, e.g. aligning or guiding means, levers, gas pressure electrical locking indicators, manufacturing tolerances
    • H01R13/631Additional means for facilitating engagement or disengagement of coupling parts, e.g. aligning or guiding means, levers, gas pressure electrical locking indicators, manufacturing tolerances for engagement only
    • HELECTRICITY
    • H04ELECTRIC COMMUNICATION TECHNIQUE
    • H04RLOUDSPEAKERS, MICROPHONES, GRAMOPHONE PICK-UPS OR LIKE ACOUSTIC ELECTROMECHANICAL TRANSDUCERS; DEAF-AID SETS; PUBLIC ADDRESS SYSTEMS
    • H04R25/00Deaf-aid sets, i.e. electro-acoustic or electro-mechanical hearing aids; Electric tinnitus maskers providing an auditory perception
    • H04R25/60Mounting or interconnection of hearing aid parts, e.g. inside tips, housings or to ossicles
    • HELECTRICITY
    • H04ELECTRIC COMMUNICATION TECHNIQUE
    • H04RLOUDSPEAKERS, MICROPHONES, GRAMOPHONE PICK-UPS OR LIKE ACOUSTIC ELECTROMECHANICAL TRANSDUCERS; DEAF-AID SETS; PUBLIC ADDRESS SYSTEMS
    • H04R25/00Deaf-aid sets, i.e. electro-acoustic or electro-mechanical hearing aids; Electric tinnitus maskers providing an auditory perception
    • H04R25/60Mounting or interconnection of hearing aid parts, e.g. inside tips, housings or to ossicles
    • H04R25/602Mounting or interconnection of hearing aid parts, e.g. inside tips, housings or to ossicles of batteries
    • HELECTRICITY
    • H04ELECTRIC COMMUNICATION TECHNIQUE
    • H04RLOUDSPEAKERS, MICROPHONES, GRAMOPHONE PICK-UPS OR LIKE ACOUSTIC ELECTROMECHANICAL TRANSDUCERS; DEAF-AID SETS; PUBLIC ADDRESS SYSTEMS
    • H04R25/00Deaf-aid sets, i.e. electro-acoustic or electro-mechanical hearing aids; Electric tinnitus maskers providing an auditory perception
    • H04R25/60Mounting or interconnection of hearing aid parts, e.g. inside tips, housings or to ossicles
    • H04R25/604Mounting or interconnection of hearing aid parts, e.g. inside tips, housings or to ossicles of acoustic or vibrational transducers
    • HELECTRICITY
    • H04ELECTRIC COMMUNICATION TECHNIQUE
    • H04RLOUDSPEAKERS, MICROPHONES, GRAMOPHONE PICK-UPS OR LIKE ACOUSTIC ELECTROMECHANICAL TRANSDUCERS; DEAF-AID SETS; PUBLIC ADDRESS SYSTEMS
    • H04R25/00Deaf-aid sets, i.e. electro-acoustic or electro-mechanical hearing aids; Electric tinnitus maskers providing an auditory perception
    • H04R25/60Mounting or interconnection of hearing aid parts, e.g. inside tips, housings or to ossicles
    • H04R25/607Mounting or interconnection of hearing aid parts, e.g. inside tips, housings or to ossicles of earhooks
    • HELECTRICITY
    • H04ELECTRIC COMMUNICATION TECHNIQUE
    • H04RLOUDSPEAKERS, MICROPHONES, GRAMOPHONE PICK-UPS OR LIKE ACOUSTIC ELECTROMECHANICAL TRANSDUCERS; DEAF-AID SETS; PUBLIC ADDRESS SYSTEMS
    • H04R2225/00Details of deaf aids covered by H04R25/00, not provided for in any of its subgroups
    • H04R2225/021Behind the ear [BTE] hearing aids

Definitions

  • the invention relates to a hearing device, in particular a hearing aid.
  • Hearing aids are usually used to output a sound signal to the hearing of the person wearing the hearing aid.
  • the output is made by means of an output transducer, usually acoustically via airborne sound using a loudspeaker (also referred to as a "receiver” or “earpiece”).
  • a loudspeaker also referred to as a "receiver” or “earpiece”
  • hearing aids are often used as so-called hearing aids (also called hearing aids for short).
  • the hearing aids normally comprise an acoustic input transducer (in particular a microphone) and a signal processor that is set up to process the input signal (also called a microphone signal) generated by the input transducer from the ambient sound using at least one signal processing algorithm that is usually stored for the specific user in such a way that any hearing loss of the person wearing the hearing aid is at least partially compensated.
  • the output transducer can be a loudspeaker or alternatively a so-called bone conduction receiver or a cochlear implant, which are set up to mechanically or electrically couple the sound signal into the hearing of the person wearing the hearing aid.
  • hearing aids also includes devices such as so-called tinnitus maskers, headsets, headphones and the like.
  • Hearing devices are regularly used in the form of devices that are worn behind the ear (also: “BTE") or in the ear (also: “ITE”).
  • BTEs can be divided into devices that have the loudspeaker in the BTE housing, and those devices that who have to wear the loudspeaker externally, in particular in the ear canal as intended. The latter are often also referred to as "RIC"("receiver in canal”) hearing aids.
  • a connecting cable is required between the electrical components arranged in the BTE housing (e.g. the respective microphone, preferably a signal processor that contains the above-mentioned signal processing algorithm) and the loudspeaker.
  • This connecting cable is usually coupled to the BTE housing, which is usually roughly banana-shaped, in the area of the "tip".
  • a corresponding connector is often designed in such a way that microphones facing forward are not covered when the hearing aid is worn as intended.
  • a connection between the connecting cable and the BTE housing that is as secure as possible, i.e. stable and permanent against accidental loosening, is also required.
  • a RIC hearing aid that has a button-like BTE housing.
  • EP 3 537 731 A1 A loudspeaker unit is disclosed which can be detachably attached to a BTE housing.
  • EP 3 537 731 A1 a flat plug.
  • the invention is based on the object of providing an improved connection between an external loudspeaker and a housing of a hearing device.
  • the hearing device has a housing that is stretched along a longitudinal axis, oval in cross-section and designed to house electrical components of the hearing device.
  • the hearing device also has a loudspeaker that is arranged outside the housing when the hearing device is in the intended wearing state and is connected to at least some of the electrical components.
  • the hearing device also has a plug connector that is connected to the loudspeaker, in particular by means of a loudspeaker connection cable, and that carries at least six contact elements for connecting the loudspeaker to the corresponding electrical components.
  • the hearing device also has a plug connector receptacle for receiving the plug connector and connecting the respective contact elements.
  • This plug connector receptacle is arranged in a surface of the housing that faces the underside when the device is in the intended wearing state.
  • the plug connector and the plug connector receptacle are also designed such that a plug-in direction runs from a front side to a back side when the device is in the intended wearing state.
  • the electrical components are preferably at least one microphone and a signal processor for processing signals emitted by the respective microphone.
  • the hearing device also comprises a preferably rechargeable battery unit, also referred to as a battery pack, as a (particularly further) electrical component.
  • the battery unit preferably in turn comprises charging electronics for controlling and monitoring a discharging or charging process.
  • the hearing device preferably forms a hearing aid, also referred to as a "hearing aid" for short.
  • the hearing device forms a RIC hearing aid or RIC-BTE, since the housing described above is preferably intended to be worn behind the ear.
  • the external loudspeaker on the other hand, is intended to be worn in the ear, preferably in the ear canal.
  • the connector receptacle is recessed into the surface of the housing facing the underside, preferably in such a way that the connector is hidden from view from one side when plugged in as intended.
  • the connector is "invisible” when worn as intended, but on the other hand it also advantageously creates a surface that is as flat as possible on the user's ear.
  • the connector and the connector receptacle are designed to complement each other and are self-aligning.
  • both have an asymmetrical, preferably partially flattened oval profile. This makes it easy to position the connector clearly in relation to the housing during assembly and prevents incorrect contact of the contact elements.
  • the connector and the connector receptacle each have a part of a retaining device that can be automatically actuated in the insertion direction. This advantageously allows the connector to be locked in the housing by an additional measure, for example by A locking bolt that is pushed across the housing is no longer necessary.
  • the connector has a groove as part of the retaining device and the connector receptacle has a wire spring (which is preferably designed in the manner of a C-ring).
  • This wire spring engages in the groove in the intended coupling state, so that a reversibly effective positive connection is formed to prevent the connector from being accidentally pulled off.
  • the connector in addition to the seal described above, has an injection-molded base body (in particular the one described above).
  • this base body In the intended coupling state, this base body is arranged at an angle to the surface of the housing facing the underside. Therefore, an end face of the base body facing the loudspeaker, from which the loudspeaker connection cable emerges, is set at an angle to a cable exit direction of the loudspeaker connection cable, following the surface of the housing facing the underside.
  • this end face of the connector is aligned at an angle, so that in the intended coupling state the end face is essentially (i.e. with minor deviations) parallel to the downward-facing surface and preferably is also arranged lying in its plane.
  • the connector in particular its base body, is only slightly larger in cross-section than the loudspeaker connection cable, for example up to a factor of two.
  • the connector plugged into the connector receptacle takes up only a small amount of space on the housing, so that a particularly large amount of space is available on or in the housing for positioning the respective microphone or microphones and the associated microphone opening and/or the silhouette of the hearing device can be reduced.
  • the connector has a contact carrier in the form of a plate protruding from the front surface facing away from the loudspeaker (in particular the base body).
  • the contact elements described above are designed as contact surfaces on this plate and are arranged in particular distributed on both sides.
  • This plate represents a comparatively stable means of contacting and is similar in principle to a contact carrier of a USB 2.0 Type A plug.
  • the connector receptacle has corresponding spring contacts for contacting each of the contact surfaces described above.
  • the connector has a coding, in particular a color coding, to indicate the side assigned to the corresponding ear of a user.
  • a coding in particular a color coding
  • the connector has a coding, in particular a color coding, to indicate the side assigned to the corresponding ear of a user.
  • a hearing device e.g. a binaural hearing aid system
  • the case may be that a different loudspeaker is used for each ear.
  • the loudspeaker connection cable is pre-bent for a connection between the housing worn behind the ear and the loudspeaker that is as invisible and non-disruptive as possible.
  • the coding enables the risk of the device being used the wrong way round to be reduced.
  • the connector receptacle preferably also has a corresponding coding.
  • the connector for the right ear is colored in a first color, e.g. blue, and the one for the left ear in a second color, e.g. red.
  • the connector receptacle is colored accordingly so that it can be clearly assigned.
  • At least the connector receptacle has contact elements which are designed and provided (preferably in addition to the connection of the loudspeaker described above) for charging the rechargeable battery unit and/or for exchanging data with the signal processor.
  • the signal processor is usually designed to execute at least one signal processing algorithm for processing the (microphone) signals.
  • This (or the respective) signal processing algorithm can advantageously be parameterized in a user-specific manner, which in the present embodiment can also be done via the connector receptacle, saving an additional interface.
  • the loudspeaker and its associated cable are preferably removed for parameterization and a data cable with a comparable connector is connected to the connector receptacle.
  • Fig. 1 is a schematic representation of a hearing device in the form of a hearing aid, in short: "hearing aid 1".
  • the hearing aid 1 is one whose housing 2 housing the electronics is to be worn behind the ear ("BTE") and which has an external loudspeaker 4.
  • the loudspeaker 4 is to be worn at least partially in the ear canal of a user when worn as intended and is therefore also referred to as a "receiver in canal"("RIC").
  • the loudspeaker 4 is in the intended coupling state (see Fig. 1 ) is connected to the housing 2, specifically to the electronics arranged therein - e.g. a signal processor - by means of a loudspeaker connection cable (short: "cable 6").
  • a connector receptacle for receiving a connector 12 of the cable 6 is arranged on a surface 14 pointing downwards when the hearing aid 1 is worn as intended.
  • the socket 10 is recessed into the above-mentioned surface 14. Specifically, the socket 10 is recessed in such a way that when plugged in (see Fig. 1 ) the connector 12 does not protrude or only protrudes negligibly beyond the surface 14.
  • the connector 12 is shown disassembled from the socket 10. It can be seen that the connector 12 has a base body 16 which is injection-molded from a first thermoplastic material. A circumferential seal 18 made of liquid silicone rubber is injection-molded onto this base body 16. The base body 16 also has a groove 20 as part of a retaining device. A bow-shaped wire spring 22 is inserted into the socket 10 as a further part of the retaining device, which is initially tensioned radially outwards when the base body 16 is inserted and then "snaps" into the groove 20. This allows the connector 12 to be held in the socket 10 without the need for additional locking elements.
  • the connector 12 and the socket 10 are designed such that the coupling is achieved by a linear insertion movement along an insertion direction 24.
  • the connector 12 has a plate 26, which is preferably molded around by the base body 16 and which has a plurality of contact elements 28 on an upper side and on a lower side, here three each.
  • the contact elements 28 are arranged as flat elements in the surface of the plate 26.
  • Contact springs corresponding to the contact elements 28 are arranged in the socket 10 in a manner not shown in detail.
  • the connector 12 and the socket 10 have complementary profiles, specifically asymmetrical ovals with a flattened (top) side. This enables clear alignment during assembly.
  • the connector 12 is used to connect, for example, a permanently installed, rechargeable battery of the hearing aid 1 to a power source. Additionally (or alternatively), the connector 12 can also be used to couple a signal processor of the hearing aid 1 to a programming unit, specifically a computer on which fitting software is implemented and can run.

Landscapes

  • Engineering & Computer Science (AREA)
  • Health & Medical Sciences (AREA)
  • General Health & Medical Sciences (AREA)
  • Neurosurgery (AREA)
  • Otolaryngology (AREA)
  • Physics & Mathematics (AREA)
  • Acoustics & Sound (AREA)
  • Signal Processing (AREA)
  • Computer Networks & Wireless Communication (AREA)
  • Details Of Connecting Devices For Male And Female Coupling (AREA)
  • Headphones And Earphones (AREA)

Description

  • Die Erfindung betrifft eine Hörvorrichtung, insbesondere ein Hörhilfegerät.
  • Hörvorrichtungen dienen üblicherweise zur Ausgabe eines Tonsignals an das Gehör des Trägers dieser Hörvorrichtung. Die Ausgabe erfolgt dabei mittels eines Ausgabewandlers, meist auf akustischem Weg über Luftschall mittels eines Lautsprechers (auch als "Hörer" oder "Receiver" bezeichnet). Häufig kommen derartige Hörvorrichtungen dabei als sogenannte Hörhilfegeräte (auch kurz: Hörgeräte) zum Einsatz. Dazu umfassen die Hörvorrichtungen normalerweise einen akustischen Eingangswandler (insbesondere ein Mikrophon) und einen Signalprozessor, der dazu eingerichtet ist, das von dem Eingangswandler aus dem Umgebungsschall erzeugte Eingangssignal (auch: Mikrophonsignal) unter Anwendung mindestens eines üblicherweise nutzerspezifisch hinterlegten Signalverarbeitungsalgorithmus derart zu verarbeiten, dass eine Hörminderung des Trägers der Hörvorrichtung zumindest teilweise kompensiert wird. Insbesondere im Fall eines Hörhilfegeräts kann es sich bei dem Ausgabewandler neben einem Lautsprecher auch alternativ um einen sogenannten Knochenleitungshörer oder ein Cochlea-Implantat handeln, die zur mechanischen oder elektrischen Einkopplung des Tonsignals in das Gehör des Trägers eingerichtet sind. Unter dem Begriff Hörvorrichtungen fallen zusätzlich insbesondere auch Geräte wie z.B. sogenannte Tinnitus-Masker, Headsets, Kopfhörer und dergleichen.
  • Hörvorrichtungen, insbesondere Hörgeräte kommen dabei regelmäßig in Form von hinter dem Ohr (auch: "HdO") oder in dem Ohr (auch: "IdO") zu tragenden Geräten zum Einsatz. HdOs können dabei wiederum unterschieden werden in Geräte, die den Lautsprecher in dem HdO-Gehäuse aufweisen, sowie in solche Geräte, die den Lautsprecher extern, insbesondere bestimmungsgemäß im Gehörgang zu tragen haben. Letztere werden häufig auch als "RIC"- ("receiver in canal") Hörgeräte bezeichnet. Dabei ist erkanntermaßen ein Verbindungskabel zwischen den im HdO-Gehäuse angeordneten elektrischen Komponenten (z. B. dem jeweiligen Mikrofon, bevorzugt einem Signalprozessor, der den vorstehend genannten Signalverarbeitungsalgorithmus enthält) und dem Lautsprecher erforderlich. Meist ist dieses Verbindungskabel im Bereich der "Spitze" des regelmäßig grob bananenförmig ausgebildeten HdO-Gehäuses mit letzterem gekoppelt. Ein entsprechender Konnektor ist dabei oft derart gestaltet, dass im bestimmungsgemäßen Tragezustand des Hörgeräts nach vorne gerichtete Mikrofone nicht verdeckt sind. Zudem ist aber auch eine möglichst verliersichere, d. h. stabile und gegen unbeabsichtigtes Lösen dauerhafte, Verbindung zwischen dem Verbindungskabel und dem HdO-Gehäuse erforderlich.
  • Aus DE 10 2017 128 117 A1 ist ein RIC-Hörgerät bekannt, das ein knopfartiges HdO-Gehäuse aufweist.
  • Aus US 2012/0014549 A1 sind Vorrichtungen für RIC-Hörgeräte bekannt. Ein erster Anschlussabschnitt ist im HdO-Gehäuse angeordnet, der elektrisch mit dem Signalprozessor verbunden ist. Ein Steckverbinder ist dabei so ausgelegt, dass er sich in einen Teil des Gehäuses, insbesondere dessen Oberfläche einfügt und ein Kabel elektrisch und mechanisch mit dem Anschlussabschnitt verbindet. Auch EP 3 503 587 A1 beschreibt einen Steckverbinder, der an die Gehäuseoberfläche angepasst ist und von einer Unterseite des Gehäuses in dieses eingesteckt wird. Vergleichbares ist auch aus EP 2 456 235 A1 bekannt.
  • In EP 3 537 731 A1 wird eine Lautsprechereinheit offenbart, die abnehmbar an einem HdO-Gehäuse angebracht werden kann. Zur elektrischen Verbindung der Lautsprechereinheit beschreibt EP 3 537 731 A1 einen Flachstecker.
  • Der Erfindung liegt die Aufgabe zugrunde, eine verbesserte Verbindung zwischen einem externen Lautsprecher und einem Gehäuse einer Hörvorrichtung anzugeben.
  • Diese Aufgabe wird erfindungsgemäß gelöst durch eine Hörvorrichtung mit den Merkmalen des Anspruchs 1. Vorteilhafte und teils für sich erfinderische Ausführungsformen und Weiterentwicklungen der Erfindung sind in den Unteransprüchen und der nachfolgenden Beschreibung dargelegt.
  • Die erfindungsgemäße Hörvorrichtung weist ein Gehäuse auf, das entlang einer Längsachse gestreckt, im Querschnitt oval ausgebildet und zur Einhausung von elektrischen Komponenten der Hörvorrichtung eingerichtet ist. Des Weiteren weist die Hörvorrichtung einen Lautsprecher auf, der im bestimmungsgemäßen Tragezustand der Hörvorrichtung außerhalb des Gehäuses angeordneten und mit zumindest einem Teil der elektrischen Komponenten verschaltet ist. Außerdem weist die Hörvorrichtung einen mit dem Lautsprecher, insbesondere mittels eines Lautsprecherverbindungskabels, verbundenen Steckverbinder auf, der wenigstens sechs Kontaktelemente zur Verschaltung des Lautsprechers mit den entsprechenden elektrischen Komponenten trägt. Weiterhin weist die Hörvorrichtung eine Steckverbinder-Aufnahme zur Aufnahme des Steckverbinders und Verschaltung der jeweiligen Kontaktelemente auf. Diese Steckverbinder-Aufnahme ist dabei in einer im bestimmungsgemäßen Tragezustand zur Unterseite gerichteten Fläche des Gehäuses angeordnet. Der Steckverbinder und die Steckverbinder-Aufnahme sind außerdem derart ausgebildet, dass eine Einsteckrichtung im bestimmungsgemäßen Tragezustand von einer Frontseite zu einer Rückseite verläuft.
  • Bei den elektrischen Komponenten handelt es sich vorzugsweise um wenigstens ein Mikrofon und um einen Signalprozessor zur Verarbeitung von seitens des jeweiligen Mikrofons ausgegebenen Signalen. Optional umfasst die Hörvorrichtung als (insbesondere weitere) elektrische Komponente auch eine vorzugsweise wiederaufladbare Batterieeinheit, auch als Batteriepack bezeichnet. Die Batterieeinheit umfasst dabei vorzugsweise wiederum eine Ladeelektronik zur Steuerung und Überwachung eines Entlade- oder Ladevorgangs.
  • Da die Steckverbinder-Aufnahme in der "Unterseite" des Gehäuses angeordnet ist, kann das Mikrofon oder wenigstens eines von mehreren mit einer entsprechend zugeordneten Mikrofonöffnung möglichst weit zur im bestimmungsgemäßen Tragezustand nach vorne weisenden "Spitze" des Gehäuses versetzt werden.
  • Vorzugsweise ist das im Querschnitt ovale Gehäuse etwa rechteckförmig mit vergleichsweise stark abgerundeten Ecken ausgebildet.
  • Vorzugsweise bildet die Hörvorrichtung ein Hörhilfegerät, kurz auch als "Hörgerät" bezeichnet. Insbesondere bildet die Hörvorrichtung also ein RIC-Hörgerät oder auch RIC-HdO, da das vorstehend beschriebene Gehäuse bevorzugt bestimmungsgemäß hinter dem Ohr zu tragen ist. Der externe Lautsprecher ist dagegen im bestimmungsgemäßen Tragezustand im Ohr, vorzugsweise im Gehörgang zu tragen.
  • In einer zweckmäßigen Ausführung ist die Steckverbinder-Aufnahme in die zur Unterseite gerichtete Fläche des Gehäuses versenkt, und zwar vorzugsweise derart, dass der Steckverbinder im bestimmungsgemäßen Einsteckzustand von einer Seitenrichtung her einem Blick entzogen ist. Dadurch ist der Steckverbinder einerseits im bestimmungsgemäßen Tragezustand "unsichtbar", andererseits ist aber auch vorteilhafterweise eine möglichst ebene Auflagefläche auf dem Ohr des Nutzers gebildet.
  • In einer weiteren zweckmäßigen Ausführung sind der Steckverbinder und die Steckverbinder-Aufnahme komplementär zueinander und selbstausrichtend gestaltet. Insbesondere weisen beide ein unsymmetrisches, vorzugsweise teilweise abgeflachtes ovales Profil auf. Dadurch ist der Steckverbinder bei der Montage auf einfache Weise eindeutig zu dem Gehäuse positionierbar und eine falsche Kontaktierung der Kontaktelemente vermieden.
  • In einer bevorzugten Ausführung weisen der Steckverbinder und die Steckverbinder-Aufnahme jeweils einen Teil einer in Einsteckrichtung automatisch betätigbaren Rückhaltevorrichtung auf. Dadurch kann vorteilhafterweise eine Arretierung des Steckverbinders im Gehäuse durch eine zusätzliche Maßnahme, bspw. durch einen Verriegelungsbolzen, der quer durch das Gehäuse geschoben wird, entfallen.
  • Insbesondere weisen der Steckverbinder als Teil der Rückhaltevorrichtung eine Nut und die Steckverbinder-Aufnahme eine Drahtfeder (die vorzugsweise nach Art eines C-Rings gestaltet ist) auf. Diese Drahtfeder greift dabei im bestimmungsgemäßen Kopplungszustand in die Nut ein, so dass ein reversibel wirksamer Formschluss gegen unbeabsichtigtes Abziehen des Steckverbinders gebildet ist.
  • In einer zweckmäßigen Ausführung weist der Steckverbinder einen spritzgegossenen Grundkörper aus einem ersten Kunststoff auf. An diesen Grundkörper ist eine umlaufende Dichtung aus einem zweiten Kunststoff angeformt und vorzugsweise stoffschlüssig mit diesem verbunden. Optional erfolgt die Anformung der Dichtung in einem Mehrkomponenten-Spritzgießverfahren. Vorzugsweise ist die Dichtung durch sogenanntes "liquid injection molding" unter Einbringung insbesondere eines Flüssigsilikonkautschuks (auch: "liquid silicone rubber", kurz: "LSR") ausgebildet. Dadurch kann ein manuelles Positionieren der Dichtung während der Montage, was aufgrund der regelmäßig vergleichsweise kleinen Abmessungen von Hörgeräten (und damit auch des Steckverbinders) häufig schwierig und aufwendig ist, entfallen.
  • In einer erfindungsgemäßen Ausführung zusätzlich zu der vorstehend beschriebenen Dichtung) weist der Steckverbinder einen (insbesondere den vorstehend beschriebenen) spritzgegossenen Grundkörper auf. Dieser Grundkörper ist dabei im bestimmungsgemäßen Kopplungszustand schräg zu der zur Unterseite gerichteten Fläche des Gehäuses angeordnet. Deshalb ist eine dem Lautsprecher zugewandte Stirnfläche des Grundkörpers, aus der das Lautsprecherverbindungskabel austritt, der zur Unterseite gerichteten Fläche des Gehäuses folgend schräg gegenüber einer Kabelaustrittsrichtung des Lautsprecherverbindungskabels angestellt. Anders ausgedrückt ist diese Stirnfläche des Steckverbinders schräg ausgerichtet, so dass die Stirnfläche im bestimmungsgemäßen Kopplungszustand im Wesentlichen (d. h. mit geringfügigen Abweichungen) parallel zu der nach unten gerichteten Fläche und vorzugsweise auch in deren Ebene liegend angeordnet ist. Dadurch ergibt sich eine "optimierte Länge" des Steckverbinders, so dass eine Hebelwirkung, die durch einen übermäßigen und bei bestimmungsgemäßer Handhabung nicht vorgesehenen Querzug am Lautsprecherverbindungskabel an einem "Drehpunkt" auftritt, reduziert werden kann. Dieser Drehpunkt stellt dabei den Punkt dar, an dem der Steckverbinder in einem solchen unzulässigen Handhabungsfall mit dem Gehäuse in Kontakt steht.
  • Vorzugsweise ist der Steckverbinder, insbesondere dessen Grundkörper vom Querschnitt her nur geringfügig größer als das Lautsprecherverbindungskabel, bspw. bis zu einem Faktor Zwei. Dadurch nimmt der in die Steckverbinder-Aufnahme eingesteckte Steckverbinder nur wenig Platz am Gehäuse ein, so dass für die Positionierung des oder des jeweiligen Mikrofons sowie der jeweils zugeordneten Mikrofonöffnung besonders viel Bauraum am oder im Gehäuse zur Verfügung steht und/oder die Silhouette der Hörvorrichtung verkleinert werden kann.
  • In einer vorteilhaften Ausführung weist der Steckverbinder einen Kontaktträger in Form einer auf der dem Lautsprecher abgewandten Stirnfläche (insbesondere des Grundkörpers) vorstehenden Platte auf. Auf dieser Platte sind die vorstehend beschriebenen Kontaktelemente als Kontaktflächen ausgebildet und insbesondere auf beiden Seiten verteilt angeordnet. Diese Platte stellt ein vergleichsweise stabiles Mittel zur Kontaktierung dar und ist vom Grundprinzip ähnlich zu einem Kontaktträger eines USB 2.0 Typ A-Steckers.
  • In einer zweckmäßigen Ausführung weist die Steckverbinder-Aufnahme zur Kontaktierung einer jeden der vorstehend beschriebenen Kontaktflächen korrespondierende Federkontakte auf.
  • In einer weiteren zweckmäßigen Ausführung weist der Steckverbinder eine Kodierung, insbesondere eine farbliche Kodierung, zur Anzeige der dem entsprechenden Ohr eines Nutzers zugeordneten Seite auf. Dies ist insbesondere für den Fall vorteilhaft, dass der Nutzer für jedes Ohr eine Hörvorrichtung, bspw. ein binaurales Hörgerätesystem nutzt. Gegebenenfalls kann hierbei der Fall vorliegen, dass für jedes Ohr ein anderer Lautsprecher zum Einsatz kommt. Regelmäßig ist zumindest das Lautsprecherverbindungskabel für eine möglichst unsichtbare und nicht störende Verbindung zwischen dem hinter dem Ohr zu tragenden Gehäuse und dem Lautsprecher vorgebogen. Die Kodierung ermöglicht dabei eine Reduktion des Risikos von seitenverkehrtem Einsatz. Vorzugsweise weist auch die Steckverbinder-Aufnahme eine korrespondierende Kodierung auf. Bspw. ist der Steckverbinder für das rechte Ohr in einer ersten Farbe, z. B. Blau, und der für das linke Ohr in einer zweiten Farbe, bspw. Rot, eingefärbt. Die Steckverbinder-Aufnahme ist dabei insbesondere korrespondierend eingefärbt, so dass eine eindeutige Zuordnung möglich ist.
  • In einer weiteren zweckmäßigen Ausführung weist zumindest die Steckverbinder-Aufnahme Kontaktelemente auf, die (vorzugsweise zusätzlich zu der vorstehend beschriebenen Verschaltung des Lautsprechers) zum Laden der wiederaufladbaren Batterieeinheit, und/oder zum Datenaustausch mit dem Signalprozessor eingerichtet und vorgesehen sind. Der Signalprozessor ist regelmäßig dazu eingerichtet, wenigstens einen Signalverarbeitungsalgorithmus zur Verarbeitung der (Mikrofon-) Signale abzuarbeiten. Dieser (oder der jeweilige) Signalverarbeitungsalgorithmus ist dabei vorteilhafterweise nutzerspezifisch parametrierbar, was in vorliegender Ausführung zweckmäßigerweise unter Einsparung einer zusätzlichen Schnittstelle auch über die Steckverbinder-Aufnahme erfolgen kann. Vorzugsweise wird in diesem Fall zur Parametrierung der Lautsprecher samt zugehörigem Kabel entfernt und ein Datenkabel mit einem vergleichbaren Steckverbinder mit der Steckverbinder-Aufnahme verbunden.
  • Nachfolgend wird ein Ausführungsbeispiel der Erfindung anhand einer Zeichnung näher erläutert. Darin zeigen:
  • Fig. 1
    in einer schematischen Seitenansicht eine Hörvorrichtung mit externem Lautsprecher,
    Fig. 2
    in einer schematischen Perspektivansicht die Hörvorrichtung mit abgekoppeltem Lautsprecher,
    Fig. 3
    in einer schematischen Teilschnittdarstellung einen Steckverbinder zur Verbindung des Lautsprechers mit einer Steckverbinder-Aufnahme eines Gehäuses der Hörvorrichtung,
    Fig. 4
    in jeweils einer schematischen ausschnitthaften Frontalansicht den Steckverbinder und die Steckverbinder-Aufnahme,
    Fig. 5
    in einer ausschnitthaften, schematischen Perspektivdarstellung einen weiteren Einsatzzweck der Steckverbinder-Aufnahme,
    Fig. 6, 7
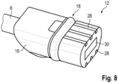
    in Ansicht gemäß Fig. 3 ein weiteres Ausführungsbeispiel des Steckverbinders sowie der Steckverbinder-Aufnahme in einem unmontierten und einem montierten Zustand, und
    Fig. 8
    in einer schematischen Perspektivansicht den Steckverbinder gemäß Fig. 6 für sich.
  • Einander entsprechende Teile sind in allen Figuren stets mit gleichen Bezugszeichen versehen.
  • In Fig. 1 ist schematisch eine Hörvorrichtung in Form eines Hörhilfegeräts, kurz: "Hörgerät 1" dargestellt. Bei dem Hörgerät 1 handelt es sich um ein solches, dessen die Elektronik beherbergendes Gehäuse 2 hinter dem Ohr ("HdO") zu tragen ist und das einen externen Lautsprecher 4 aufweist. Der Lautsprecher 4 ist im bestimmungsgemäßen Tragezustand zumindest teilweise im Gehörgang eines Nutzers zu tragen und wird deshalb auch als "receiver in canal" ("RIC") bezeichnet. Der Lautsprecher 4 ist im bestimmungsgemäßen Kopplungszustand (s. Fig. 1) mittels eines Lautsprecherverbindungskabels (kurz: "Kabel 6") mit dem Gehäuse 2, konkret mit der darin angeordneten Elektronik - bspw. einem Signalprozessor - verschaltet.
  • Um für eine im bestimmungsgemäßen Tragezustand möglichst geradlinig (d. h. entlang einer Horizontalen) nach vorne weisende Mikrofonöffnung 8 ausreichen Platz am Gehäuse 2 zu haben, ist eine Steckverbinder-Aufnahme (kurz: "Buchse 10") zur Aufnahme eines Steckverbinders 12 des Kabels 6 an einer im bestimmungsgemäßen Tragezustand des Hörgeräts 1 nach unten weisenden Fläche 14 angeordnet. Um den eingesteckten Steckverbinder 12 möglichst den Blicken von Dritten zu entziehen und/oder eine Hautreizung aufgrund vorstehender Kanten zu vermeiden, ist die Buchse 10 in die vorstehend genannte Fläche 14 eingelassen, d. h. versenkt. Konkret ist die Buchse 10 derart versenkt, dass im eingesteckten Zustand (s. Fig. 1) der Steckverbinder 12 nicht oder nur vernachlässigbar über die Fläche 14 übersteht.
  • In Fig. 2 und 3 ist der Steckverbinder 12 von der Buchse 10 demontiert dargestellt. Dabei ist zu erkennen, dass der Steckverbinder 12 einen Grundkörper 16 aufweist, der aus einem ersten, thermoplastischen Kunststoff spritzgegossen ist. An diesen Grundkörper 16 ist eine umlaufende Dichtung 18 aus Flüssigsilikonkautschuk angespritzt. Außerdem weist der Grundkörper 16 als Teil einer Rückhaltevorrichtung eine Nut 20 auf. In der Buchse 10 ist als weiterer Teil der Rückhaltevorrichtung eine bügelförmige Drahtfeder 22 eingelegt, die beim Einstecken des Grundkörpers 16 zunächst radial nach außen gespannt wird und anschließend in die Nut 20 "einschnappt". Dadurch kann der Steckverbinder 12 in der Buchse 10 gehalten werden, ohne dass weitere Arretierungselemente erforderlich sind.
  • Der Steckverbinder 12 und die Buchse 10 sind dabei derart ausgebildet, dass die Kopplung durch eine geradlinige Einschubbewegung entlang einer Einsteckrichtung 24 erfolgt.
  • Zur Kontaktierung weist der Steckverbinder 12 eine Platte 26 auf, die vorzugsweise von dem Grundkörper 16 umspritzt ist und die auf einer Ober- sowie auf einer Unterseite eine Mehrzahl, hier jeweils drei, von Kontaktelementen 28 trägt. Die Kontaktelemente 28 sind dabei als flächige Elemente in der Oberfläche der Platte 26 angeordnet. In der Buchse 10 sind in nicht näher dargestellter Weise zu den Kontaktelementen 28 korrespondierende Kontaktfedern angeordnet.
  • Wie aus Fig. 4 zu erkennen ist, weisen der Steckverbinder 12 und die Buchse 10 zueinander komplementäre Profile, konkret asymmetrische Ovale mit einer abgeflachten (Ober-) Seite auf. Dadurch ist eine eindeutige Ausrichtung bei der Montage ermöglicht.
  • In Fig. 4 ist eine weitere Nutzung der Buchse 10 dargestellt. Hierbei dient der Steckverbinder 12 zur Verbindung bspw. einer fest verbauten, wiederaufladbaren Batterie des Hörgeräts 1 mit einer Energiequelle. Zusätzlich (oder alternativ) kann der Steckverbinder 12 auch zur Kopplung eines Signalprozessors des Hörgeräts 1 mit einer Programmiereinheit, konkret einem Rechner, auf dem eine Anpasssoftware lauffähig implementiert ist, dienen.
  • Bezugszeichenliste
  • 1
    Hörgerät
    2
    Gehäuse
    4
    Lautsprecher
    6
    Kabel
    8
    Mikrofonöffnung
    10
    Buchse
    12
    Steckverbinder
    14
    Fläche
    16
    Grundkörper
    18
    Dichtung
    20
    Nut
    22
    Drahtfeder
    24
    Einsteckrichtung
    26
    Platte
    28
    Kontaktelement
    30
    Magnet
    32
    Magnet
    34
    Kontaktfeder

Claims (9)

  1. Hörvorrichtung (1), aufweisend
    - ein Gehäuse (2), das entlang einer Längsachse gestreckt, im Querschnitt oval ausgebildet und zur Einhausung von elektrischen Komponenten der Hörvorrichtung (1) eingerichtet ist,
    - mit einem im bestimmungsgemäßen Tragezustand der Hörvorrichtung (1) außerhalb des Gehäuses (2) angeordneten und mit zumindest einem Teil der elektrischen Komponenten verschalteten Lautsprecher (4),
    - mit einem mit dem Lautsprecher (4) verbundenen Steckverbinder (12), der wenigstens sechs Kontaktelemente (28) zur Verschaltung des Lautsprechers (4) mit den entsprechenden elektrischen Komponenten trägt, und
    - mit einer Steckverbinder-Aufnahme (10) zur Aufnahme des Steckverbinders (12) und Verschaltung der jeweiligen Kontaktelemente (28), wobei die Steckverbinder-Aufnahme (10) in einer im bestimmungsgemäßen Tragezustand zur Unterseite gerichteten Fläche (14) des Gehäuses (2) angeordnet ist,
    dadurch gekennzeichnet, dass
    der Steckverbinder (12) und die Steckverbinder-Aufnahme (10) derart ausgebildet sind, dass eine Einsteckrichtung (24) im bestimmungsgemäßen Tragezustand von einer Frontseite zu einer Rückseite verläuft, und
    der Steckverbinder (12) einen spritzgegossenen Grundkörper (16) aus einem ersten Kunststoff aufweist, wobei der Grundkörper (16) im bestimmungsgemäßen Kopplungszustand schräg zu der zur Unterseite gerichteten Fläche (14) des Gehäuses (2) angeordnet ist, und wobei eine dem Lautsprecher (4) zugewandte Stirnfläche des Grundkörpers (16), aus der ein Lautsprecherverbindungskabel (6) austritt, der zur Unterseite gerichteten Fläche (14) des Gehäuses (2) folgend schräg gegenüber einer Kabelaustrittsrichtung des Lautsprecherverbindungskabels (6) angestellt ist.
  2. Hörvorrichtung (1) nach Anspruch 1,
    wobei die Steckverbinder-Aufnahme (10) in die zur Unterseite gerichtete Fläche (14) versenkt ist, so dass der Steckverbinder (12) im bestimmungsgemäßen Einsteckzustand von einer Seitenrichtung her einem Blick entzogen ist.
  3. Hörvorrichtung (1) nach Anspruch 1 oder 2,
    wobei der Steckverbinder (12) und die Steckverbinder-Aufnahme (10) komplementär zueinander und selbstausrichtend, insbesondere mit einem unsymmetrischen, vorzugsweise teilweise abgeflachten ovalen Profil, gestaltet sind.
  4. Hörvorrichtung (1) nach einem der Ansprüche 1 bis 3,
    wobei der Steckverbinder (12) und die Steckverbinder-Aufnahme (10) jeweils einen Teil (20,22) einer in Einsteckrichtung (24) automatisch betätigbaren Rückhaltevorrichtung aufweisen.
  5. Hörvorrichtung (1) nach Anspruch 4,
    wobei der Steckverbinder (12) eine Nut (20) aufweist, wobei die Steckverbinder-Aufnahme (10) eine Drahtfeder (22) aufweist, die im bestimmungsgemäßen Kopplungszustand in die Nut (20) eingreift.
  6. Hörvorrichtung (1) nach einem der Ansprüche 1 bis 5,
    wobei der Steckverbinder (12) einen spritzgegossenen Grundkörper (16) aus einem ersten Kunststoff aufweist und wobei eine umlaufende Dichtung (18) an den Grundkörper (16) aus einem zweiten Kunststoff angeformt ist.
  7. Hörvorrichtung (1) nach einem der Ansprüche 1 bis 6,
    wobei der Steckverbinder (12) einen Kontaktträger in Form einer auf der dem Lautsprecher (4) abgewandten Stirnfläche vorstehenden Platte (26) aufweist, auf der die Kontaktelemente (28) als beidseitig angeordnete Kontaktflächen ausgebildet sind.
  8. Hörvorrichtung (1) nach Anspruch 7,
    wobei die Steckverbinder-Aufnahme (10) korrespondierende Federkontakte zur Kontaktierung einer jeden Kontaktfläche aufweist.
  9. Hörvorrichtung (1) nach einem der Ansprüche 1 bis 8,
    wobei der Steckverbinder (12) eine Kodierung, insbesondere eine farbliche Kodierung, zur Anzeige der dem entsprechenden Ohr eines Nutzers zugeordneten Seite aufweist.
EP21168412.1A 2020-04-29 2021-04-14 Hörvorrichtung Active EP3905723B1 (de)

Applications Claiming Priority (1)

Application Number Priority Date Filing Date Title
DE102020205439.8A DE102020205439A1 (de) 2020-04-29 2020-04-29 Hörvorrichtung

Publications (3)

Publication Number Publication Date
EP3905723A1 EP3905723A1 (de) 2021-11-03
EP3905723B1 true EP3905723B1 (de) 2024-10-23
EP3905723C0 EP3905723C0 (de) 2024-10-23

Family

ID=75529903

Family Applications (1)

Application Number Title Priority Date Filing Date
EP21168412.1A Active EP3905723B1 (de) 2020-04-29 2021-04-14 Hörvorrichtung

Country Status (4)

Country Link
US (1) US11729558B2 (de)
EP (1) EP3905723B1 (de)
CN (1) CN113573223A (de)
DE (1) DE102020205439A1 (de)

Families Citing this family (2)

* Cited by examiner, † Cited by third party
Publication number Priority date Publication date Assignee Title
DE202022101121U1 (de) 2022-03-01 2022-03-09 Sonova Ag Hinter-dem-Ohr-Teil für ein Hörgerät
EP4694209A1 (de) * 2024-04-11 2026-02-11 Shenzhen Shokzhear Co., Ltd. Wearable-vorrichtung

Family Cites Families (13)

* Cited by examiner, † Cited by third party
Publication number Priority date Publication date Assignee Title
DE3802250C1 (de) 1988-01-27 1988-10-27 Sonar Design & Hoertechnik Gmbh, 4400 Muenster, De
US7110562B1 (en) * 2001-08-10 2006-09-19 Hear-Wear Technologies, Llc BTE/CIC auditory device and modular connector system therefor
EP2534855B1 (de) * 2010-02-11 2018-01-24 Sivantos Pte. Ltd. Hinter-dem-ohr-hörgerät mit steckverbinder
US8638965B2 (en) * 2010-07-14 2014-01-28 Starkey Laboratories, Inc. Receiver-in-canal hearing device cable connections
DE102010051626B4 (de) * 2010-11-17 2015-07-09 Yamaichi Electronics Deutschland Gmbh Hörgerät, Verbinder, Verwendung eines Verbinders und System zum Verbinden eines Hörgeräts mit einem Kabel
DE202013000547U1 (de) 2013-01-18 2013-02-25 Siemens Medical Instruments Pte. Ltd. Hörinstrumentgehäuse mit Steckverbindung
DE102013225429A1 (de) 2013-12-10 2015-06-11 Siemens Medical Instruments Pte. Ltd. HdO-Hörinstrument mit Gehäuse und Traghaken
JP6408243B2 (ja) * 2014-04-23 2018-10-17 丸山 誠二 耳近接スピーカ装置
US10887706B2 (en) * 2015-06-29 2021-01-05 Hear-Wear Technologies LLC Transducer modules for auditory communication devices and auditory communication devices
EP3226582A1 (de) * 2016-03-29 2017-10-04 Oticon Medical A/S Hörgerät mit modularem verbindungsmittel
DE102017128117A1 (de) 2017-11-28 2019-05-29 Ear-Technic GmbH Modulares Hörgerät
EP3503587B1 (de) 2017-12-22 2023-11-08 GN Hearing A/S Anschlussbuchse für ein hörgerät
DK3537731T3 (da) 2018-03-09 2021-06-21 Oticon As Højttalerenhed til et høreapparatssystem og et høreapparatssystem

Also Published As

Publication number Publication date
US11729558B2 (en) 2023-08-15
EP3905723A1 (de) 2021-11-03
CN113573223A (zh) 2021-10-29
US20210345049A1 (en) 2021-11-04
DE102020205439A1 (de) 2021-11-04
EP3905723C0 (de) 2024-10-23

Similar Documents

Publication Publication Date Title
EP2540098B1 (de) Konnektor für ric-bte hörgerät und ric-bte hörgerät
DE68918327T3 (de) Programmierungsschnittstelle für Hörgeräte.
EP2285136B1 (de) Hörhilfe mit wechselbarem Hörer
EP3905723B1 (de) Hörvorrichtung
WO2019105949A1 (de) Modulares hörgerät
WO2020144005A1 (de) Steckverbinderteil mit einem mit einem gehäuseteil zu verbindenden verbinderteil
EP2456235B1 (de) Hörgerät, Verbinder, Verwendung eines Verbinders und System zum Verbinden eines Hörgeräts mit einem Kabel
DE102007023055A1 (de) Ohrstück für eine Hörvorrichtung mit Bajonettverschluss
EP0087668A1 (de) Hörhilfegerät
DE102008008670A1 (de) Ladegerät für eine Hörvorrichtung mit einem bewegbaren Ladekontakt
DE102008024515B3 (de) Hörhilfe und Anordnung
DE102010009702A1 (de) Hörvorrichtung mit einem Leitelement, insbesondere einem Schallschlauch
EP0334837B1 (de) Hörgerät mit Audio-Eingangsanschluss
EP2592849B1 (de) Hörvorrichtung mit einem Batteriefach
CH643414A5 (en) Hearing-aid with plug device
EP2218268A1 (de) Hörvorrichtung mit batterieklappenmodul
CH668154A5 (en) Hearing aid with electroacoustic transducer - fits behind ear and has facility for plugging in range of operational mode elements
DE102019100580A1 (de) Steckverbinderteil mit einem mit einem Gehäuseteil zu verbindenden Verbinderteil
WO2023052436A1 (de) Magnetischer steckverbinder für einen galvanischen ladeanschluss eines elektronischen geräts, insbesondere eines hörinstruments
DE102021205471B3 (de) Hörvorrichtung
EP3419312B1 (de) Hörgerät
EP1973376B1 (de) Hörvorrichtung mit entnehmbarem Lautstärkestellermodul
EP2018078A2 (de) Hörvorrichtung mit einer Befestigungseinrichtung zum Anstecken eines Audioschuhs und entsprechender Audioschuh
DE202022101121U1 (de) Hinter-dem-Ohr-Teil für ein Hörgerät
CH719466B1 (de) Hinter-dem-Ohr-Teil für ein Hörgerät und je ein Satz von Hinter-dem-Ohr-Teilen bzw. Hörgeräten.

Legal Events

Date Code Title Description
PUAI Public reference made under article 153(3) epc to a published international application that has entered the european phase

Free format text: ORIGINAL CODE: 0009012

STAA Information on the status of an ep patent application or granted ep patent

Free format text: STATUS: THE APPLICATION HAS BEEN PUBLISHED

AK Designated contracting states

Kind code of ref document: A1

Designated state(s): AL AT BE BG CH CY CZ DE DK EE ES FI FR GB GR HR HU IE IS IT LI LT LU LV MC MK MT NL NO PL PT RO RS SE SI SK SM TR

B565 Issuance of search results under rule 164(2) epc

Effective date: 20210922

STAA Information on the status of an ep patent application or granted ep patent

Free format text: STATUS: REQUEST FOR EXAMINATION WAS MADE

17P Request for examination filed

Effective date: 20220218

RBV Designated contracting states (corrected)

Designated state(s): AL AT BE BG CH CY CZ DE DK EE ES FI FR GB GR HR HU IE IS IT LI LT LU LV MC MK MT NL NO PL PT RO RS SE SI SK SM TR

STAA Information on the status of an ep patent application or granted ep patent

Free format text: STATUS: EXAMINATION IS IN PROGRESS

RIN1 Information on inventor provided before grant (corrected)

Inventor name: KRAL, HOLGER

Inventor name: DING, LIT SONG GLEN

Inventor name: ANG, THAI WEE

Inventor name: BIN SHITH, MUHAMMAD SHAHID

17Q First examination report despatched

Effective date: 20220804

GRAP Despatch of communication of intention to grant a patent

Free format text: ORIGINAL CODE: EPIDOSNIGR1

STAA Information on the status of an ep patent application or granted ep patent

Free format text: STATUS: GRANT OF PATENT IS INTENDED

INTG Intention to grant announced

Effective date: 20240627

GRAS Grant fee paid

Free format text: ORIGINAL CODE: EPIDOSNIGR3

GRAA (expected) grant

Free format text: ORIGINAL CODE: 0009210

STAA Information on the status of an ep patent application or granted ep patent

Free format text: STATUS: THE PATENT HAS BEEN GRANTED

AK Designated contracting states

Kind code of ref document: B1

Designated state(s): AL AT BE BG CH CY CZ DE DK EE ES FI FR GB GR HR HU IE IS IT LI LT LU LV MC MK MT NL NO PL PT RO RS SE SI SK SM TR

REG Reference to a national code

Ref country code: GB

Ref legal event code: FG4D

Free format text: NOT ENGLISH

REG Reference to a national code

Ref country code: CH

Ref legal event code: EP

REG Reference to a national code

Ref country code: DE

Ref legal event code: R096

Ref document number: 502021005543

Country of ref document: DE

REG Reference to a national code

Ref country code: IE

Ref legal event code: FG4D

Free format text: LANGUAGE OF EP DOCUMENT: GERMAN

U01 Request for unitary effect filed

Effective date: 20241023

U07 Unitary effect registered

Designated state(s): AT BE BG DE DK EE FI FR IT LT LU LV MT NL PT RO SE SI

Effective date: 20241107

PG25 Lapsed in a contracting state [announced via postgrant information from national office to epo]

Ref country code: IS

Free format text: LAPSE BECAUSE OF FAILURE TO SUBMIT A TRANSLATION OF THE DESCRIPTION OR TO PAY THE FEE WITHIN THE PRESCRIBED TIME-LIMIT

Effective date: 20250223

Ref country code: HR

Free format text: LAPSE BECAUSE OF FAILURE TO SUBMIT A TRANSLATION OF THE DESCRIPTION OR TO PAY THE FEE WITHIN THE PRESCRIBED TIME-LIMIT

Effective date: 20241023

PG25 Lapsed in a contracting state [announced via postgrant information from national office to epo]

Ref country code: ES

Free format text: LAPSE BECAUSE OF FAILURE TO SUBMIT A TRANSLATION OF THE DESCRIPTION OR TO PAY THE FEE WITHIN THE PRESCRIBED TIME-LIMIT

Effective date: 20241023

PG25 Lapsed in a contracting state [announced via postgrant information from national office to epo]

Ref country code: NO

Free format text: LAPSE BECAUSE OF FAILURE TO SUBMIT A TRANSLATION OF THE DESCRIPTION OR TO PAY THE FEE WITHIN THE PRESCRIBED TIME-LIMIT

Effective date: 20250123

U20 Renewal fee for the european patent with unitary effect paid

Year of fee payment: 5

Effective date: 20250319

PG25 Lapsed in a contracting state [announced via postgrant information from national office to epo]

Ref country code: GR

Free format text: LAPSE BECAUSE OF FAILURE TO SUBMIT A TRANSLATION OF THE DESCRIPTION OR TO PAY THE FEE WITHIN THE PRESCRIBED TIME-LIMIT

Effective date: 20250124

PG25 Lapsed in a contracting state [announced via postgrant information from national office to epo]

Ref country code: PL

Free format text: LAPSE BECAUSE OF FAILURE TO SUBMIT A TRANSLATION OF THE DESCRIPTION OR TO PAY THE FEE WITHIN THE PRESCRIBED TIME-LIMIT

Effective date: 20241023

PGFP Annual fee paid to national office [announced via postgrant information from national office to epo]

Ref country code: GB

Payment date: 20250319

Year of fee payment: 5

PG25 Lapsed in a contracting state [announced via postgrant information from national office to epo]

Ref country code: RS

Free format text: LAPSE BECAUSE OF FAILURE TO SUBMIT A TRANSLATION OF THE DESCRIPTION OR TO PAY THE FEE WITHIN THE PRESCRIBED TIME-LIMIT

Effective date: 20250123

PG25 Lapsed in a contracting state [announced via postgrant information from national office to epo]

Ref country code: SM

Free format text: LAPSE BECAUSE OF FAILURE TO SUBMIT A TRANSLATION OF THE DESCRIPTION OR TO PAY THE FEE WITHIN THE PRESCRIBED TIME-LIMIT

Effective date: 20241023

PGFP Annual fee paid to national office [announced via postgrant information from national office to epo]

Ref country code: CH

Payment date: 20250501

Year of fee payment: 5

PG25 Lapsed in a contracting state [announced via postgrant information from national office to epo]

Ref country code: SK

Free format text: LAPSE BECAUSE OF FAILURE TO SUBMIT A TRANSLATION OF THE DESCRIPTION OR TO PAY THE FEE WITHIN THE PRESCRIBED TIME-LIMIT

Effective date: 20241023

PG25 Lapsed in a contracting state [announced via postgrant information from national office to epo]

Ref country code: CZ

Free format text: LAPSE BECAUSE OF FAILURE TO SUBMIT A TRANSLATION OF THE DESCRIPTION OR TO PAY THE FEE WITHIN THE PRESCRIBED TIME-LIMIT

Effective date: 20241023

PLBE No opposition filed within time limit

Free format text: ORIGINAL CODE: 0009261

STAA Information on the status of an ep patent application or granted ep patent

Free format text: STATUS: NO OPPOSITION FILED WITHIN TIME LIMIT

26N No opposition filed

Effective date: 20250724

PG25 Lapsed in a contracting state [announced via postgrant information from national office to epo]

Ref country code: MC

Free format text: LAPSE BECAUSE OF FAILURE TO SUBMIT A TRANSLATION OF THE DESCRIPTION OR TO PAY THE FEE WITHIN THE PRESCRIBED TIME-LIMIT

Effective date: 20241023