EP3708714B1 - Sicherungsvorrichtung zum sichern eines tiefbauelementes und tiefbauverfahren - Google Patents

Sicherungsvorrichtung zum sichern eines tiefbauelementes und tiefbauverfahren Download PDF

Info

Publication number
EP3708714B1
EP3708714B1 EP19162495.6A EP19162495A EP3708714B1 EP 3708714 B1 EP3708714 B1 EP 3708714B1 EP 19162495 A EP19162495 A EP 19162495A EP 3708714 B1 EP3708714 B1 EP 3708714B1
Authority
EP
European Patent Office
Prior art keywords
securing
construction machine
civil engineering
pile
connecting link
Prior art date
Legal status (The legal status is an assumption and is not a legal conclusion. Google has not performed a legal analysis and makes no representation as to the accuracy of the status listed.)
Active
Application number
EP19162495.6A
Other languages
English (en)
French (fr)
Other versions
EP3708714A1 (de
Inventor
Josef Haas
Current Assignee (The listed assignees may be inaccurate. Google has not performed a legal analysis and makes no representation or warranty as to the accuracy of the list.)
Bauer Maschinen GmbH
Original Assignee
Bauer Maschinen GmbH
Priority date (The priority date is an assumption and is not a legal conclusion. Google has not performed a legal analysis and makes no representation as to the accuracy of the date listed.)
Filing date
Publication date
Family has litigation
First worldwide family litigation filed litigation Critical https://patents.darts-ip.com/?family=65801981&utm_source=google_patent&utm_medium=platform_link&utm_campaign=public_patent_search&patent=EP3708714(B1) "Global patent litigation dataset” by Darts-ip is licensed under a Creative Commons Attribution 4.0 International License.
Application filed by Bauer Maschinen GmbH filed Critical Bauer Maschinen GmbH
Priority to EP19162495.6A priority Critical patent/EP3708714B1/de
Priority to AU2020201592A priority patent/AU2020201592B2/en
Priority to US16/815,143 priority patent/US11174613B2/en
Priority to CN202010176770.7A priority patent/CN111691422B/zh
Publication of EP3708714A1 publication Critical patent/EP3708714A1/de
Application granted granted Critical
Publication of EP3708714B1 publication Critical patent/EP3708714B1/de
Active legal-status Critical Current
Anticipated expiration legal-status Critical

Links

Images

Classifications

    • EFIXED CONSTRUCTIONS
    • E02HYDRAULIC ENGINEERING; FOUNDATIONS; SOIL SHIFTING
    • E02DFOUNDATIONS; EXCAVATIONS; EMBANKMENTS; UNDERGROUND OR UNDERWATER STRUCTURES
    • E02D7/00Methods or apparatus for placing sheet pile bulkheads, piles, mouldpipes, or other moulds
    • EFIXED CONSTRUCTIONS
    • E02HYDRAULIC ENGINEERING; FOUNDATIONS; SOIL SHIFTING
    • E02DFOUNDATIONS; EXCAVATIONS; EMBANKMENTS; UNDERGROUND OR UNDERWATER STRUCTURES
    • E02D13/00Accessories for placing or removing piles or bulkheads, e.g. noise attenuating chambers
    • EFIXED CONSTRUCTIONS
    • E02HYDRAULIC ENGINEERING; FOUNDATIONS; SOIL SHIFTING
    • E02DFOUNDATIONS; EXCAVATIONS; EMBANKMENTS; UNDERGROUND OR UNDERWATER STRUCTURES
    • E02D13/00Accessories for placing or removing piles or bulkheads, e.g. noise attenuating chambers
    • E02D13/02Accessories for placing or removing piles or bulkheads, e.g. noise attenuating chambers specially adapted for placing or removing bulkheads
    • EFIXED CONSTRUCTIONS
    • E02HYDRAULIC ENGINEERING; FOUNDATIONS; SOIL SHIFTING
    • E02DFOUNDATIONS; EXCAVATIONS; EMBANKMENTS; UNDERGROUND OR UNDERWATER STRUCTURES
    • E02D13/00Accessories for placing or removing piles or bulkheads, e.g. noise attenuating chambers
    • E02D13/10Follow-blocks of pile-drivers or like devices
    • EFIXED CONSTRUCTIONS
    • E02HYDRAULIC ENGINEERING; FOUNDATIONS; SOIL SHIFTING
    • E02DFOUNDATIONS; EXCAVATIONS; EMBANKMENTS; UNDERGROUND OR UNDERWATER STRUCTURES
    • E02D15/00Handling building or like materials for hydraulic engineering or foundations
    • E02D15/08Sinking workpieces into water or soil inasmuch as not provided for elsewhere
    • EFIXED CONSTRUCTIONS
    • E02HYDRAULIC ENGINEERING; FOUNDATIONS; SOIL SHIFTING
    • E02DFOUNDATIONS; EXCAVATIONS; EMBANKMENTS; UNDERGROUND OR UNDERWATER STRUCTURES
    • E02D7/00Methods or apparatus for placing sheet pile bulkheads, piles, mouldpipes, or other moulds
    • E02D7/02Placing by driving
    • EFIXED CONSTRUCTIONS
    • E02HYDRAULIC ENGINEERING; FOUNDATIONS; SOIL SHIFTING
    • E02DFOUNDATIONS; EXCAVATIONS; EMBANKMENTS; UNDERGROUND OR UNDERWATER STRUCTURES
    • E02D7/00Methods or apparatus for placing sheet pile bulkheads, piles, mouldpipes, or other moulds
    • E02D7/02Placing by driving
    • E02D7/06Power-driven drivers
    • E02D7/14Components for drivers inasmuch as not specially for a specific driver construction
    • E02D7/16Scaffolds or supports for drivers
    • EFIXED CONSTRUCTIONS
    • E02HYDRAULIC ENGINEERING; FOUNDATIONS; SOIL SHIFTING
    • E02DFOUNDATIONS; EXCAVATIONS; EMBANKMENTS; UNDERGROUND OR UNDERWATER STRUCTURES
    • E02D7/00Methods or apparatus for placing sheet pile bulkheads, piles, mouldpipes, or other moulds
    • E02D7/18Placing by vibrating
    • EFIXED CONSTRUCTIONS
    • E02HYDRAULIC ENGINEERING; FOUNDATIONS; SOIL SHIFTING
    • E02DFOUNDATIONS; EXCAVATIONS; EMBANKMENTS; UNDERGROUND OR UNDERWATER STRUCTURES
    • E02D9/00Removing sheet piles bulkheads, piles, mould-pipes or other moulds or parts thereof
    • E02D9/02Removing sheet piles bulkheads, piles, mould-pipes or other moulds or parts thereof by withdrawing
    • EFIXED CONSTRUCTIONS
    • E02HYDRAULIC ENGINEERING; FOUNDATIONS; SOIL SHIFTING
    • E02DFOUNDATIONS; EXCAVATIONS; EMBANKMENTS; UNDERGROUND OR UNDERWATER STRUCTURES
    • E02D2600/00Miscellaneous
    • E02D2600/10Miscellaneous comprising sensor means

Definitions

  • the invention relates to a securing device for securing a civil engineering element on a construction machine, in particular a pile-driven material on a pile-driving device, with a connecting device on the construction machine and a flexible securing element, in particular a securing chain, a first end of the flexible securing element being attached to the construction machine and a second end is provided with a connecting member which can be passed through a securing eye on the civil engineering element and can be releasably attached to the construction machine with the connecting device, according to the preamble of claim 1.
  • the invention also relates to a civil engineering method in which a civil engineering element on a construction machine, in particular a pile-driven material on a ramming device, is fixed by means of a flexible securing element, in particular a securing chain, a first end of the flexible securing element being attached to the construction machine and a second end is provided with a connecting member which is guided through a securing eye on the civil engineering element and is releasably fastened to the construction machine with a connecting device for securing the position of the civil engineering element on the construction machine, according to the preamble of claim 10.
  • a generic safety device is based on DE 3 602 609 A1 emerged.
  • a sheet pile can be loosely attached to a vibration device by means of chain anchoring.
  • a safety chain is passed through a through hole or a safety eye at an upper end area of the screed.
  • the safety chain is attached to the vibration device at one end. After passing through, the loose end is attached to the vibration device by means of a plug connection.
  • the vibrating device can then be driven upwards along a mast, the sheet pile being held by the chain anchorage and being pulled upward, with an upper end of the sheet pile entering a receiving slot of the vibrating device between two clamping jaws. Then the sheet pile can be clamped on the vibration device between the two clamping jaws. Then the clamped sheet pile pile can be driven or rammed vertically into the ground by means of the vibration device.
  • the known pile-driving device can also be used, the safety chain having to be guided through the safety eye on the sheet pile before pulling the sheet pile, in order to additionally secure the sheet pile to the driving or vibrating device.
  • the upper end of the plank is then clamped in again and pulled out of the ground by means of the vibration device.
  • the safety chain serves as an additional mechanical positional safeguard so that the screed does not fall to the ground in an uncontrolled manner if the hydraulic tensioning device fails.
  • the screed is placed back on the ground with the help of the safety chain after releasing the clamping jaws.
  • a similar arrangement of a piling device is from U.S. 5,332,047 known.
  • a pile-shaped pile is driven into the ground, a safety chain also being arranged between the pile and the pile driver.
  • the safety chain serves as an additional mechanical positional safeguard for the pile, which is usually a steel part up to 10 m or more long and weighing several 100 kg.
  • the safety chain serves as an additional mechanical positional safeguard for the pile, which is usually a steel part up to 10 m or more long and weighing several 100 kg.
  • With hydraulic clamping devices malfunctions, incorrect operation or damage to the hydraulic system can lead to an unexpected loosening or reduction of the hydraulic clamping force.
  • Without the presence of an additional mechanical position security by the Safety chain there is a risk that the pile will fall from a vertical position to the ground and cause property damage and personal injury. Numerous fatal accidents have been documented.
  • Another generic safety device is from the EP 3 228 392 A1 known.
  • From the US 2002/063 245 A1 shows a pulling device for piles in which the piles are connected with a chain with a pull yoke.
  • the invention is based on the object of specifying a safety device and a civil engineering method with which a particularly high level of work safety is ensured.
  • the object is achieved on the one hand by a safety device with the features of claim 1 and on the other hand by a civil engineering method with the features of claim 10.
  • a safety device with the features of claim 1
  • a civil engineering method with the features of claim 10.
  • the securing device is characterized in that a detector unit is provided on the connecting device, which is designed to detect attachment of the connecting link to the connecting device, and that a signal can be generated and emitted by the detector unit when attachment of the connecting link is detected.
  • a basic idea of the invention is to verify correct closing of the flexible securing element on the connecting device.
  • a detector unit is arranged on the connecting device, which detects the picking up and fastening of the connecting link to the connecting device.
  • the detector unit emits a signal, in particular an electrical signal, when the connecting link has been correctly fastened.
  • the detector unit can also emit a signal if the connecting link has not been fastened or not fastened correctly.
  • the signal can be displayed directly to a machine operator, for example in a control station.
  • a corresponding warning device which is operated optically and / or acoustically in particular, can also be actuated by the signal.
  • the signal can also be fed to a corresponding control unit of the construction machine The control unit then intervenes accordingly in the further operating sequence.
  • further operation of the construction machine can be stopped or at least restricted, for example in such a way that the ramming material cannot be clamped to the ramming device or the ram drive unit cannot be started until the connecting link has been correctly attached.
  • a preferred development of the invention consists in that at least one locking bolt is provided on the connecting device, by means of which the connecting member can be locked in the connecting device.
  • the at least one locking bolt thus represents a mechanical blocking of the connecting link in the connecting device.
  • the detector device can alternatively or additionally detect the position of the locking bolt.
  • the locking bolt is adjustably mounted between a retracted position for receiving or releasing the connecting member in the connecting device and a locking position in which the connecting member is locked in the connecting device.
  • the locking bolt In the retracted position, the locking bolt can be held in place with a slight force by locking. This allows simple insertion of the connecting link into the connecting device and subsequent locking by moving the locking bolt into the locking position.
  • the locking bolt can also be held in the locking position in a spring-tensioned manner.
  • the lock can be operated by hand or preferably by an activatable actuator, such as a hydraulic actuator cylinder.
  • a particularly expedient variant embodiment of the invention can be seen in the fact that the position of the connecting member in the locking position can be detected by the detector unit. This can be done alone or in addition to detecting the position of the locking bolt. This achieves a particularly high level of detection reliability.
  • a particularly efficient variant embodiment of the invention results from the fact that the detector unit has at least one proximity sensor.
  • a proximity sensor is a robust and generally inexpensive sensor element.
  • the detector unit can be designed in a particularly economical and reliable manner.
  • the proximity sensor can detect when the connecting link is in the connecting device. At the same time, the same or another proximity sensor can also be used to determine the position of the locking bolt in order to increase the detection reliability.
  • the flexible securing element is electrically conductive and that an electrical energy source is provided with which between a fastening element, to which the first end of the flexible securing element is attached, and the connecting device through the flexible securing element Test current can be conducted, which can be detected by the detector unit.
  • the electrical energy source can in particular be a current or voltage source, by means of which a test current is generated continuously or at certain times. If the flexible fuse element is correctly connected to the connecting device, a test current is conducted from the fastening element at one end of the flexible fuse element to its other end on the connecting device.
  • This safety arrangement can be provided in addition to or instead of the detection arrangement described above.
  • the flexible safety element can be, for example, a steel cable or a chain made of metallic or electrically conductive chain links. When a rope is used, it can also be provided or formed with a correspondingly electrically conductive material only on its outside or inside.
  • the fastening element and the connecting device are electrically isolated from the construction machine. This avoids leakage currents.
  • the electrical insulation can take place by means of appropriate electrically insulating materials. It when the fastening element and the connecting device are fastened to the construction machine via rubber buffers is particularly advantageous. This not only provides electrical insulation, but acoustic insulation and thus a reduction in sound radiation is also achieved.
  • the invention also comprises a construction machine, in particular a pile driving device for driving a pile into the ground, the previously described safety device being provided.
  • the ramming device has a ram drive unit which is used to drive the pile, in particular a pile, a girder or a sheet pile, into the ground by means of vibrations or pulses.
  • the ram drive unit can be a vibrator with rotatable unbalance elements or a ram hammer with a linearly reversing impulse element.
  • the vibrator can have one or more pairs of rotatable unbalance elements, which are mounted so as to be adjustable in relation to one another in a known manner in order to generate a directed unbalance.
  • the pile driving unit can be a pile hammer.
  • the ramming movement can trigger impact pulses in which the reversely driven pulse element hits a striking surface.
  • the pulse element can also be driven in a reversing manner without impact contact, so that a targeted vibration movement is generated and transmitted to the pile.
  • the construction machine can have a mobile carrier device on which a mast is arranged.
  • the ram drive unit can be mounted vertically adjustable along the mast.
  • the carrier device can in particular have a crawler chassis on which a rotatable superstructure with a boom for a rope suspension or a vertical mast with a slide guide, in particular a telescopic leader, is mounted.
  • the civil engineering method according to the invention is characterized in that a connection device of a detector unit is provided, with which fastening of the connecting link to the connecting device is detected, and that a signal is generated and emitted by the detector unit when fastening and / or no fastening of the connecting link is detected is.
  • the civil engineering method can in particular be carried out with the safety device described above.
  • the advantages described here can be achieved.
  • a preferred variant of the method of the invention consists in that the construction machine is a pile-driving device with which a pile-driven material is driven into the ground as a civil engineering element or pulled out of it.
  • the pile can be a pile, a girder, a pipe, a sheet pile, etc.
  • a large number of such underground construction elements can be driven in, so that a so-called sheet pile wall is formed in the ground.
  • FIG Figures 1 to 3 The basic structure of a securing device 20 according to the invention on a construction machine 10 is shown in FIG Figures 1 to 3 shown.
  • the construction machine 10 which is only partially shown, has a ram drive unit 12, which can have imbalances that can be driven in rotation in a basically known manner.
  • a hydraulic clamping device 13 is arranged on a lower region of the ram drive unit 12, with which a civil engineering element 5, which in the illustrated embodiment is a sheet pile wall, can be firmly clamped between two clamping jaws.
  • a first insertion flank 14 and a second insertion flank 15 are arranged at the lower end of the ram drive unit 12, which together form an approximately V-shaped receiving slot.
  • a securing device 20 according to the invention is provided for additionally securing the position of the civil engineering element 5.
  • the securing device 20 comprises a flexible securing element 22, which is designed as a chain in the illustrated embodiment.
  • a first end of the chain is fastened to the first insertion flank 14 and thus to the construction machine 10 by means of a plate-shaped fastening element 28.
  • An insulating layer 29 can be arranged between the fastening element 28 and the first insertion flank 14, with which the fastening element 28 and thus the flexible securing element 22 is electrically insulated from the construction machine 10.
  • a connecting member 24 is attached, which is designed as an approximately T-shaped toggle.
  • the connecting member 24 can be pushed through a through hole or a securing eyelet 7 on the plank-shaped civil engineering element 5 and guided to a connecting device 30 on the second insertion flank 15, as illustrated in FIG Figures 2 and 3 is shown.
  • the connecting member 24 can be introduced or pushed into a suitable slot-shaped receptacle 32 on the box-shaped connecting device 30, wherein the connecting member 24 can be locked in the connecting device 30.
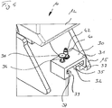
  • the box-shaped connector 30 in a receiving state is in the Figures 4 and 5 shown.
  • a block-like housing 31 has a slot-like receptacle 32 for receiving the connecting member 24.
  • the receptacle 32 is open on one side which faces away from the clamped civil engineering element 5.
  • a slot 33 is made on an underside of the housing 31, the slot width of which is smaller than the receiving area of the receptacle 32 located above it.
  • Two lateral, rail-like supports 35 are formed, which serve to place the toggle-shaped connecting member 24 on.
  • the supports 35 can be designed with an upwardly projecting shoulder 37.
  • a proximity sensor 42 is introduced as a detector unit 40 into a corresponding receiving bore.
  • the proximity sensor 42 is designed to detect the presence of the connecting link 24 in the receptacle 32 of the connecting device 30.
  • a vertically displaceable locking bolt 34 with an upper actuating plate 36 protrudes from a receiving bore on the upper side of the housing 31.
  • the locking bolt 34 with the actuating plate 36 is designed for mechanical operation by hand or by means of an actuating tool.
  • an active device (not shown), in particular an actuator such as a pneumatic or hydraulic actuator cylinder, can be provided.
  • Fig. 6 the state of the securing device 20 is shown in which the T-shaped connecting link 24 of the chain-shaped flexible securing element 22 is inserted into the receptacle 32 of the connecting device 30.
  • the locking bolt 34 is adjusted downward from a retracted position into a locking position. In this position, both the presence of the connecting link 24 in the connecting device 30 and an adjustment of the locking bolt 34 into the locking position can be determined by the detector unit 40 with the proximity sensor 42.
  • the detector unit 40 can send a signal to a control unit, which signals that the connecting member 24 is correctly attached in the connecting device 30 and that the civil engineering element 5 is thus correctly secured by the flexible securing element 22.

Landscapes

  • Engineering & Computer Science (AREA)
  • General Engineering & Computer Science (AREA)
  • Structural Engineering (AREA)
  • Life Sciences & Earth Sciences (AREA)
  • General Life Sciences & Earth Sciences (AREA)
  • Mining & Mineral Resources (AREA)
  • Paleontology (AREA)
  • Civil Engineering (AREA)
  • Placing Or Removing Of Piles Or Sheet Piles, Or Accessories Thereof (AREA)

Description

  • Die Erfindung betrifft eine Sicherungsvorrichtung zum Sichern eines Tiefbauelementes an einer Baumaschine, insbesondere eines Rammgutes an einer Rammvorrichtung, mit einer Verbindungseinrichtung an der Baumaschine und einem flexiblen Sicherungselement, insbesondere einer Sicherungskette, wobei ein erstes Ende des flexiblen Sicherungselementes an der Baumaschine angebracht und ein zweites Ende mit einem Verbindungsglied versehen ist, welches durch eine Sicherungsöse an dem Tiefbauelement durchführbar und mit der Verbindungseinrichtung an der Baumaschine lösbar befestigbar ist, gemäß dem Oberbegriff des Anspruchs 1.
  • Die Erfindung betrifft weiterhin ein Tiefbauverfahren, bei dem ein Tiefbauelement an einer Baumaschinen, insbesondere ein Rammgut an einer Rammvorrichtung, mittels eines flexiblen Sicherungselementes, insbesondere einer Sicherungskette, fixiert wird, wobei ein erstes Ende des flexiblen Sicherungselementes an der Baumaschine angebracht ist und ein zweites Ende mit einem Verbindungsglied versehen ist, welches durch eine Sicherungsöse an dem Tiefbauelement geführt und mit einer Verbindungseinrichtung an der Baumaschine zur Lagesicherung des Tiefbauelementes an der Baumaschine lösbar befestigt wird, gemäß dem Oberbegriff des Anspruchs 10.
  • Eine gattungsgemäße Sicherungsvorrichtung geht aus der DE 3 602 609 A1 hervor. Mittels einer Kettenverankerung kann eine Spundwandbohle an einer Vibrationseinrichtung lose befestigt werden. Eine Sicherungskette wird dabei durch ein Durchgangsloch oder eine Sicherungsöse an einem oberen Endbereich der Bohle geführt. Die Sicherungskette ist dabei an einem Ende an der Vibrationseinrichtung befestigt. Das lose Ende wird nach dem Durchführen mittels einer Steckverbindung an der Vibrationseinrichtung befestigt.
  • Anschließend kann die Vibrationseinrichtung entlang eines Mastes nach oben gefahren werden, wobei die Spundwandbohle durch die Kettenverankerung gehalten und nach oben gezogen wird, wobei ein oberes Ende der Spundwandbohle in einen Aufnahmeschlitz der Vibrationseinrichtung zwischen zwei Spannbacken eintritt. Anschließend kann die Spundwandbohle an der Vibrationseinrichtung zwischen den zwei Spannbacken eingespannt werden. Sodann kann die eingespannte Spundwandbohle vertikal mittels der Vibrationseinrichtung in den Boden eingetrieben oder eingerammt werden.
  • Nach dem Abschluss einer Tiefbaumaßnahme ist es häufig erforderlich oder gewünscht, die Spundwandbohlen wieder aus dem Boden zu entfernen. Hierzu kann ebenfalls die bekannte Rammvorrichtung eingesetzt werden, wobei vor dem Ziehen der Spundwandbohle die Sicherungskette wieder durch die Sicherungsöse an der Spundwandbohle zu führen ist, um so die Spundwandbohle zusätzlich an der Ramm- oder Vibrationseinrichtung zu sichern. Anschließend wird das obere Ende der Bohle wieder eingespannt und mittels der Vibrationseinrichtung rüttelnd aus dem Boden gezogen. Die Sicherungskette dient dabei als eine zusätzliche mechanische Lagesicherung, damit die Bohle etwa bei einem Versagen der hydraulischen Spanneinrichtung nicht unkontrolliert zu Boden stürzt. Außerdem wird die Bohle mit Hilfe der Sicherungskette nach dem Lösen der Klemmbacken wieder auf dem Boden abgelegt.
  • Eine ähnliche Anordnung einer Rammvorrichtung ist aus der US 5,332,047 bekannt. Bei dieser bekannten Vorrichtung wird ein pfahlförmiges Rammgut in den Boden eingetrieben, wobei zwischen Rammgut und der Rammeinrichtung ebenfalls eine Sicherungskette angeordnet wird.
  • Die Sicherungskette dient als eine zusätzliche mechanische Lagesicherung des Rammgutes, welches in der Regel ein bis zu 10 m oder mehr langes Stahlteil mit einem Gewicht von mehreren 100 kg ist. Bei hydraulischen Spanneinrichtungen kann es bei Fehlfunktionen, Fehlbedienungen oder Beschädigungen des hydraulischen Systems zu einem unerwarteten Lösen oder Verringern der hydraulischen Spannkraft kommen. Ohne das Vorhandensein einer zusätzlichen mechanischen Lagesicherung durch die Sicherungskette besteht die Gefahr, dass das Rammgut aus einer vertikalen Position zu Boden stürzt und dabei zu einem Sach- und Personenschaden führen kann. Es sind zahlreiche tödliche Unfälle dokumentiert.
  • In der Praxis kann es vorkommen, dass Baustellenpersonal das Anbringen der Sicherungskette vergisst oder diese nicht korrekt befestigt ist. Dies stellt eine erhebliche Gefährdung der Arbeitssicherheit dar.
  • Eine weitere gattungsgemäße Sicherungsvorrichtung ist aus der EP 3 228 392 A1 bekannt.
  • Aus der US 2002/063 245 A1 geht eine Zieheinrichtung für Pfähle hervor, bei welcher die Pfähle mit einer Kette mit einem Ziehjoch verbunden werden.
  • Der Erfindung liegt die Aufgabe zugrunde, eine Sicherungsvorrichtung und ein Tiefbauverfahren anzugeben, mit welchen eine besonders hohe Arbeitssicherheit gewährleistet wird.
  • Die Aufgabe wird nach der Erfindung zum einen durch eine Sicherungsvorrichtung mit den Merkmalen des Anspruchs 1 und zum anderen durch ein Tiefbauverfahren mit den Merkmalen des Anspruchs 10 gelöst. Bevorzugte Ausführungsformen der Erfindung sind in abhängigen Ansprüchen angegeben.
  • Die erfindungsgemäße Sicherungsvorrichtung ist dadurch gekennzeichnet, dass an der Verbindungseinrichtung eine Detektoreinheit vorgesehen ist, welche ausgebildet ist, ein Befestigen des Verbindungsglieds an der Verbindungseinrichtung zu erfassen, und dass durch die Detektoreinheit ein Signal erzeugbar und abgebbar ist, wenn ein Befestigen des Verbindungsglieds erfasst ist.
  • Eine Grundidee der Erfindung liegt darin, ein korrektes Schließen des flexiblen Sicherungselementes an der Verbindungseinrichtung zu verifizieren. Hierzu ist an der Verbindungeinrichtung eine Detektoreinheit angeordnet, welche ein Aufnehmen und Befestigen des Verbindungsgliedes an der Verbindungeinrichtung erfasst. Hierbei gibt die Detektoreinheit ein Signal, insbesondere ein elektrisches Signal ab, wenn ein korrektes Befestigen des Verbindungsgliedes erfolgt ist. Ergänzend oder alternativ kann die Detektoreinheit auch ein Signal abgeben, wenn kein oder kein korrektes Befestigen des Verbindungsgliedes durchgeführt wurde.
  • Das Signal kann unmittelbar einem Maschinenbediener etwa in einem Bedienstand angezeigt werden. Durch das Signal kann auch eine entsprechende Warneinrichtung betätigt werden, welche insbesondere optisch und/oder akustisch betrieben ist. Das Signal kann auch einer entsprechenden Steuereinheit der Baumaschine zugeleitet werden, wobei durch die Steuereinheit dann in den weiteren Betriebsablauf entsprechend eingegriffen wird. Insbesondere kann ein weiterer Betrieb der Baumaschine gestoppt oder zumindest eingeschränkt werden, beispielsweise dahingehend, dass eine Einspannung des Rammgutes an der Rammvorrichtung nicht gelöst oder eine Bewegung der Rammantriebseinheit nicht gestartet werden kann, bis ein korrektes Befestigen des Verbindungsgliedes erfolgt ist.
  • Eine bevorzugte Weiterbildung der Erfindung besteht darin, dass an der Verbindungseinrichtung mindestens ein Riegelbolzen vorgesehen ist, durch welchen das Verbindungsglied in der Verbindungseinrichtung verriegelbar ist. Der mindestens eine Riegelbolzen stellt somit eine mechanische Blockierung des Verbindungsgliedes in der Verbindungseinrichtung dar. Die Detektoreinrichtung kann alternativ oder ergänzend die Stellung des Riegelbolzens erfassen.
  • Dabei ist es nach einer Weiterbildung der Erfindung besonders bevorzugt, dass der Riegelbolzen verstellbar zwischen einer Rückzugsposition zum Aufnehmen oder Lösen des Verbindungsgliedes in der Verbindungseinrichtung und einer Verriegelungsposition verstellbar gelagert ist, in welcher das Verbindungsglied in der Verbindungseinrichtung verriegelt ist. In der Rückzugsposition kann der Riegelbolzen durch eine Verrastung mit leichter Kraft gehalten sein. Dies erlaubt ein einfaches Einführen des Verbindungsgliedes in die Verbindungseinrichtung und ein anschließendes Verriegeln durch Bewegen des Riegelbolzens in die Verriegelungsposition. Alternativ kann der Riegelbolzen auch federgespannt in der Verriegelungsposition gehalten sein. Zum Einführen des Verbindungsgliedes wird der Riegelbolzen kurzfristig entgegen der Federspannung rückgezogen, wobei dieser dann nach Einführung des Verbindungsgliedes in ein entsprechendes Schloss der Verbindungseinrichtung wieder durch die Federkraft in die Verriegelungsposition gedrückt wird. Die Verriegelung kann von Hand oder vorzugsweise durch ein aktivierbares Stellorgan, etwa einen hydraulischen Stellzylinder, betätigt werden.
  • Eine besonders zweckmäßige Ausführungsvariante der Erfindung kann darin gesehen werden, dass durch die Detektoreinheit die Lage des Verbindungsgliedes in der Verriegelungsposition erfassbar ist. Dies kann alleine oder in Ergänzung zu einer Erfassung der Position des Riegelbolzens erfolgen. Hierdurch wird eine besonders hohe Erfassungssicherheit erreicht.
  • Eine besonders effiziente Ausgestaltungsvariante der Erfindung ergibt sich dadurch, dass die Detektoreinheit mindestens einen Näherungssensor aufweist. Ein Näherungssensor ist ein robustes und insgesamt kostengünstiges Sensorelement. Hierdurch kann die Detektoreinheit in besonders wirtschaftlicher und zuverlässiger Weise ausgeführt werden.
  • Besonders vorteilhaft ist es dabei, dass durch den Näherungssensor erfassbar ist, wenn sich das Verbindungsglied in der Verbindungseinrichtung befindet. Gleichzeitig kann durch den gleichen oder einen weiteren Näherungssensor auch die Stellung des Riegelbolzens zur Erhöhung der Erfassungssicherheit ermittelt werden.
  • Gemäß einer weiteren Ausführungsform der Erfindung ist es bevorzugt, dass das flexible Sicherungselement elektrisch leitend ist und dass eine elektrische Energiequelle vorgesehen ist, mit welcher zwischen einem Befestigungselement, an welchem das erste Ende des flexiblen Sicherungselementes angebracht ist, und der Verbindungseinrichtung durch das flexible Sicherungselement ein Prüfstrom leitbar ist, welcher von der Detektoreinheit erfassbar ist. Die elektrische Energiequelle kann insbesondere eine Strom- oder Spannungsquelle sein, durch welche ein Prüfstrom kontinuierlich oder zu bestimmten Zeitpunkten erzeugt wird. Ist das flexible Sicherungselement korrekt an der Verbindungseinrichtung angeschlossen, so wird ein Prüfstrom von dem Befestigungselement an dem einen Ende des flexiblen Sicherungselementes zu dessen anderen Ende an der Verbindungseinrichtung geleitet. Diese Sicherheitsanordnung kann ergänzend oder anstelle der zuvor beschriebenen Detektionsanordnung vorgesehen sein. Das flexible Sicherungselement kann beispielsweise ein Stahlseil oder eine Kette aus metallischen oder elektrisch leitenden Kettengliedern sein. Bei der Verwendung eines Seiles kann dieses auch nur an seiner Außen- oder Innenseite mit einem entsprechend elektrisch leitenden Material versehen oder gebildet sein.
  • Besonders zweckmäßig ist es dabei, dass das Befestigungselement und die Verbindungseinrichtung gegenüber der Baumaschine elektrisch isoliert sind. Hierdurch werden Verlustströme vermieden. Die elektrische Isolierung kann durch entsprechende elektrisch isolierende Materialien erfolgen. Besonders vorteilhaft ist es, wenn das Befestigungselement und die Verbindungseinrichtung über Gummipuffer an der Baumaschine befestigt sind. Hierdurch wird nicht nur eine elektrische Isolierung, sondern auch eine akustische Isolation und damit eine Reduzierung der Schallabstrahlung erreicht.
  • Die Erfindung umfasst auch eine Baumaschine, insbesondere eine Rammvorrichtung zum Eintreiben eines Rammguts in den Boden, wobei die zuvor beschriebene Sicherungsvorrichtung vorgesehen ist.
  • Die Rammvorrichtung weist dabei eine Rammantriebseinheit auf, welche dazu dient, das Rammgut, insbesondere einen Pfahl, einen Träger oder eine Spundwandbohle, mittels Schwingungen oder Impulsen in einen Boden einzutreiben. Die Rammantriebseinheit kann dabei ein Rüttler mit rotierbaren Unwuchtelementen oder ein Rammhammer mit einem linear reversierend antreibbaren Impulselement sein. Der Rüttler kann dabei ein oder mehrere Paare von rotierbaren Unwuchtelementen aufweisen, welche in bekannter Weise zum Erzeugen einer gerichteten Unwucht zueinander verstellbar gelagert sind. Alternativ kann die Rammantriebseinheit ein Rammhammer sein. Dabei kann die Rammbewegung Schlagimpulse auslösen, bei welchen das reversierend angetriebene Impulselement auf eine Schlagfläche auftrifft. Alternativ kann das Impulselement auch ohne einen Schlagkontakt reversierend angetrieben sein, so dass eine gezielte Vibrationsbewegung erzeugt und auf das Rammgut übertragen wird.
  • Die Baumaschine kann ein mobiles Trägergerät aufweisen, an welchem ein Mast angeordnet ist. Entlang des Mastes kann die Rammantriebseinheit vertikal verstellbar gelagert sein. Das Trägergerät kann insbesondere ein Raupenfahrwerk aufweisen, an welchem ein drehbarer Oberwagen mit einem Ausleger für eine Seilaufhängung oder einem vertikalen Mast mit einer Schlittenführung, insbesondere einem Teleskopmäkler, gelagert ist.
  • Das erfindungsgemäße Tiefbauverfahren ist dadurch gekennzeichnet, dass eine Verbindungseinrichtung einer Detektoreinheit vorgesehen ist, mit welcher ein Befestigen des Verbindungsgliedes an der Verbindungseinrichtung erfasst wird, und dass durch die Detektoreinheit ein Signal erzeugt und abgegeben wird, wenn ein Befestigen und/oder kein Befestigen des Verbindungsgliedes erfasst ist.
  • Das Tiefbauverfahren kann insbesondere mit der zuvor beschriebenen Sicherheitsvorrichtung ausgeführt werden. Es können die dabei beschriebenen Vorteile erzielt werden.
  • Eine bevorzugte Verfahrensvariante der Erfindung besteht darin, dass die Baumaschine eine Rammvorrichtung ist, mit welcher ein Rammgut als Tiefbauelement in den Boden eingetrieben oder aus ihm gezogen wird. Das Rammgut kann ein Pfahl, ein Träger, ein Rohr, eine Spundwandbohle etc. sein. Insbesondere beim Eintreiben einer Spundwandbohle können eine Vielzahl solcher Tiefbauelemente eingetrieben werden, so dass im Boden eine sogenannte Spundwand gebildet wird.
  • Die Erfindung wird nachfolgend anhand von bevorzugten Ausführungsbeispielen weiter beschrieben, welche schematisch in den Zeichnungen dargestellt sind. In den Zeichnungen zeigen:
  • Fig. 1
    eine Querschnittsansicht durch einen Teil einer Baumaschine mit einer erfindungsgemäßen Sicherungsvorrichtung in einem offenen Zustand;
    Fig. 2
    eine Vorderansicht der Sicherungsvorrichtung von Fig. 1 in einem geschlossenen Zustand;
    Fig. 3
    eine Querschnittsansicht der Sicherungsvorrichtung von Fig. 2 entlang der Linie A-A;
    Fig. 4
    eine vergrößerte Detailansicht einer Verbindungseinrichtung der Sicherungsvorrichtung nach Fig. 3 in perspektivischer Darstellung;
    Fig. 5
    die Verbindungseinrichtung gemäß Fig. 4 in Vorderansicht, und
    Fig. 6
    eine Vorderansicht der Verbindungseinrichtung von Fig. 5 mit aufgenommenem Verbindungsglied.
  • Der grundsätzliche Aufbau einer erfindungsgemäßen Sicherungsvorrichtung 20 an einer Baumaschine 10 ist in den Figuren 1 bis 3 dargestellt. Die nur teilweise dargestellte Baumaschine 10 weist eine Rammantriebseinheit 12 auf, welche in grundsätzlich bekannter Weise rotierend antreibbare Unwuchten aufweisen kann. An einem unteren Bereich der Rammantriebseinheit 12 ist eine hydraulische Spanneinrichtung 13 angeordnet, mit welcher ein Tiefbauelement 5, welches im dargestellten Ausführungsbeispiel eine Spundwandbohle ist, zwischen zwei Spannbacken fest eingespannt werden kann.
  • Zum Einführen des bohlenförmigen Tiefbauelementes 5 in die Spanneinrichtung 13 sind am unteren Ende der Rammantriebseinheit 12 eine erste Einführflanke 14 und eine zweite Einführflanke 15 angeordnet, welche gemeinsam einen etwa V-förmigen Aufnahmeschlitz bilden. Für eine zusätzliche Lagesicherung des Tiefbauelementes 5 ist eine erfindungsgemäße Sicherungsvorrichtung 20 vorgesehen.
  • Die Sicherungsvorrichtung 20 umfasst ein flexibles Sicherungselement 22, welches im dargestellten Ausführungsbeispiel als eine Kette ausgebildet ist. Ein erstes Ende der Kette ist mittels eines plattenförmigen Befestigungselements 28 an der ersten Einführflanke 14 und damit an der Baumaschine 10 befestigt. Zwischen dem Befestigungselement 28 und der ersten Einführflanke 14 kann eine Isolierschicht 29 angeordnet sein, mit welcher das Befestigungselement 28 und damit das flexible Sicherungselement 22 elektrisch gegenüber der Baumaschine 10 isoliert ist.
  • Am zweiten Ende des flexiblen Sicherungselementes 22 ist ein Verbindungsglied 24 angebracht, welches als ein etwa T-förmiger Knebel ausgebildet ist. Das Verbindungsglied 24 kann durch ein Durchgangsloch oder eine Sicherungsöse 7 an dem bohlenförmigen Tiefbauelement 5 hindurchgesteckt und zu einer Verbindungseinrichtung 30 an der zweiten Einführflanke 15 geführt werden, wie anschaulich in den Figuren 2 und 3 dargestellt ist. Das Verbindungsglied 24 kann in eine passende schlitzförmige Aufnahme 32 an der kastenförmigen Verbindungseinrichtung 30 eingeführt oder eingeschoben werden, wobei das Verbindungsglied 24 in der Verbindungseinrichtung 30 verriegelt werden kann. Die kastenförmige Verbindungseinrichtung 30 in einem aufnahmebereiten Zustand ist in den Figuren 4 und 5 dargestellt. Ein blockartiges Gehäuse 31 weist dabei eine schlitzartige Aufnahme 32 zur Aufnahme des Verbindungsgliedes 24 auf. Die Aufnahme 32 ist zu einer Seite offen, welche von dem eingespannten Tiefbauelement 5 abgewandt ist.
  • Weiterhin ist an einer Unterseite des Gehäuses 31 ein Schlitz 33 eingebracht, welcher in seiner Schlitzbreite kleiner als der darüberliegende Aufnahmebereich der Aufnahme 32 ausgebildet ist. Dabei sind zwei seitliche, schienenartige Auflagen 35 gebildet, welche zum Auflegen des knebelförmigen Verbindungsgliedes 24 dienen. Zur offenen Seite hin können die Auflagen 35 mit einer nach oben vorstehenden Schulter 37 ausgebildet sein.
  • An einer Oberseite des Gehäuses 31 ist als eine Detektoreinheit 40 ein Näherungssensor 42 in eine entsprechende Aufnahmebohrung eingebracht. Der Näherungssensor 42 ist dazu ausgebildet, ein Vorhandensein des Verbindungsgliedes 24 in der Aufnahme 32 der Verbindungseinrichtung 30 zu erfassen. Des Weiteren ragt aus einer Aufnahmebohrung an der Oberseite des Gehäuses 31 ein vertikal verschiebbarer Riegelbolzen 34 mit einem oberen Betätigungsteller 36 hervor. Der Riegelbolzen 34 mit dem Betätigungsteller 36 ist für eine mechanische Bedienung von Hand oder mittels eines Betätigungswerkzeuges ausgebildet. Zur Betätigung kann aber auch eine nicht dargestellte aktive Einrichtung, insbesondere ein Stellorgan, wie ein pneumatischer oder hydraulischer Stellzylinder, vorgesehen sein.
  • In Fig. 6 ist der Zustand der Sicherungsvorrichtung 20 gezeigt, bei welchem das T-förmige Verbindungsglied 24 des kettenförmigen flexiblen Sicherungselementes 22 in die Aufnahme 32 der Verbindungseinrichtung 30 eingeführt ist. Zur Lagesicherung des Verbindungsgliedes 24 in der Aufnahme 32 ist der Riegelbolzen 34 von einer Rückzugsposition in eine Verriegelungsposition nach unten verstellt. In dieser Position kann durch die Detektoreinheit 40 mit dem Näherungssensor 42 sowohl das Vorhandensein des Verbindungsgliedes 24 in der Verbindungseinrichtung 30 als auch ein Verstellen des Riegelbolzens 34 in die Verriegelungsposition festgestellt werden.
  • Durch die Detektoreinheit 40 kann in diesem Zustand ein Signal an eine Steuereinheit abgegeben werden, mit welchem signalisiert wird, dass das Verbindungsglied 24 korrekt in der Verbindungseinrichtung 30 angebracht und damit das Tiefbauelement 5 durch das flexible Sicherungselement 22 korrekt gesichert ist.

Claims (11)

  1. Sicherungsvorrichtung zum Sichern eines Tiefbauelementes (5) an einer Baumaschine (10), insbesondere eines Rammgutes an einer Rammvorrichtung, mit einer Verbindungseinrichtung (30) an der Baumaschine (10) und einem flexiblen Sicherungselement (22), insbesondere einer Sicherungskette, wobei ein erstes Ende des flexiblen Sicherungselementes (22) an der Baumaschine (10) angebracht und ein zweites Ende mit einem Verbindungsglied (24) versehen ist, welches durch eine Sicherungsöse (7) an dem Tiefbauelement (5) durchführbar und mit der Verbindungseinrichtung (30) an der Baumaschine (10) lösbar befestigbar ist,
    dadurch gekennzeichnet,
    dass an der Verbindungseinrichtung (30) eine Detektoreinheit (40) vorgesehen ist, welche ausgebildet ist, ein Befestigen des Verbindungsgliedes (24) an der Verbindungseinrichtung (30) zu erfassen, und
    dass durch die Detektoreinheit (40) ein Signal erzeugbar und abgebbar ist, wenn ein Befestigen des Verbindungsglieds (24) erfasst ist.
  2. Sicherungsvorrichtung nach Anspruch 1,
    dadurch gekennzeichnet,
    dass an der Verbindungseinrichtung (30) mindestens ein Riegelbolzen (34) vorgesehen ist, durch welchen das Verbindungsglied (24) in der Verbindungseinrichtung (30) verriegelbar ist.
  3. Sicherungsvorrichtung nach Anspruch 2,
    dadurch gekennzeichnet,
    dass der Riegelbolzen (34) verstellbar zwischen einer Rückzugsposition zum Aufnehmen oder Lösen des Verbindungsglieds (24) in der Verbindungseinrichtung (30) und einer Verriegelungsposition verstellbar gelagert ist, in welcher das Verbindungsglied (24) in der Verbindungseinrichtung (30) verriegelt ist.
  4. Scherungsvorrichtung nach einem der Ansprüche 1 bis 3,
    dadurch gekennzeichnet,
    dass durch die Detektoreinheit (40) die Lage des Verbindungsgliedes (24) in der Verriegelungsposition erfassbar ist.
  5. Sicherungsvorrichtung nach einem der Ansprüche 1 bis 4,
    dadurch gekennzeichnet,
    dass die Detektoreinheit (40) mindestens einen Näherungssensor (42) aufweist.
  6. Sicherungsvorrichtung nach Anspruch 5,
    dadurch gekennzeichnet,
    dass durch den Näherungssensor (42) erfassbar ist, wenn sich das Verbindungsglied (24) in der Verbindungseinrichtung (30) befindet.
  7. Sicherungsvorrichtung nach einem der Ansprüche 1 bis 6,
    dadurch gekennzeichnet,
    dass das flexible Sicherungselement (22) elektrisch leitend ist und
    dass eine elektrische Energiequelle vorgesehen ist, mit welcher zwischen einem Befestigungselement (28), an welchem das erste Ende des flexiblen Sicherungselementes (22) angebracht ist, und der Verbindungseinrichtung (30) durch das flexible Sicherungselement (22) ein Prüfstrom leitbar ist, welcher von der Detektoreinheit (40) erfassbar ist.
  8. Sicherungsvorrichtung nach Anspruch 7,
    dadurch gekennzeichnet,
    dass das Befestigungselement (28) und die Verbindungseinrichtung (30) gegenüber der Baumaschine (10) elektrisch isoliert sind.
  9. Baumaschine, insbesondere Rammvorrichtung zum Eintreiben und/oder Ziehen eines Rammguts in den Boden,
    dadurch gekennzeichnet,
    dass eine Sicherungsvorrichtung (20) nach einem der Ansprüche 1 bis 8 vorgesehen ist.
  10. Tiefbauverfahren, insbesondere unter Verwendung einer Sicherheitsvorrichtung (20) nach einem der Ansprüche 1 bis 9,
    bei dem ein Tiefbauelement (5) an einer Baumaschine (10), insbesondere ein Rammgut an einer Rammvorrichtung, mittels eines flexiblen Sicherungselementes (22), insbesondere einer Sicherungskette, fixiert wird, wobei ein erstes Ende des flexiblen Sicherungselementes (22) an der Baumaschine (10) angebracht ist und ein zweites Ende mit einem Verbindungsglied (24) versehen ist, welches durch eine Sicherungsöse (7) an dem Tiefbauelement (5) geführt und mit einer Verbindungseinrichtung (30) an der Baumaschine (10) zur Lagesicherung des Tiefbauelements (5) an der Baumaschine (10) lösbar befestigt wird,
    dadurch gekennzeichnet,
    dass an der Verbindungseinrichtung (30) eine Detektoreinheit (40) vorgesehen ist, mit welcher ein Befestigen des Verbindungsgliedes (24) an der Verbindungseinrichtung (30) erfasst wird, und
    dass durch die Detektoreinheit (40) ein Signal erzeugt und abgegeben wird, wenn ein Befestigen und/oder kein Befestigen des Verbindungsgliedes (24) erfasst ist.
  11. Tiefbauverfahren nach Anspruch 10,
    dadurch gekennzeichnet,
    dass die Baumaschine (10) eine Rammvorrichtung ist, mit welcher ein Rammgut als Tiefbauelement (5) in den Boden eingetrieben oder aus dem Boden gezogen wird.
EP19162495.6A 2019-03-13 2019-03-13 Sicherungsvorrichtung zum sichern eines tiefbauelementes und tiefbauverfahren Active EP3708714B1 (de)

Priority Applications (4)

Application Number Priority Date Filing Date Title
EP19162495.6A EP3708714B1 (de) 2019-03-13 2019-03-13 Sicherungsvorrichtung zum sichern eines tiefbauelementes und tiefbauverfahren
AU2020201592A AU2020201592B2 (en) 2019-03-13 2020-03-04 Securing means for securing a civil engineering element, and civil engineering method
US16/815,143 US11174613B2 (en) 2019-03-13 2020-03-11 Securing means for securing a civil engineering element, and civil engineering method
CN202010176770.7A CN111691422B (zh) 2019-03-13 2020-03-13 用于固定土木工程元件的固定器件和土木工程方法

Applications Claiming Priority (1)

Application Number Priority Date Filing Date Title
EP19162495.6A EP3708714B1 (de) 2019-03-13 2019-03-13 Sicherungsvorrichtung zum sichern eines tiefbauelementes und tiefbauverfahren

Publications (2)

Publication Number Publication Date
EP3708714A1 EP3708714A1 (de) 2020-09-16
EP3708714B1 true EP3708714B1 (de) 2021-01-13

Family

ID=65801981

Family Applications (1)

Application Number Title Priority Date Filing Date
EP19162495.6A Active EP3708714B1 (de) 2019-03-13 2019-03-13 Sicherungsvorrichtung zum sichern eines tiefbauelementes und tiefbauverfahren

Country Status (4)

Country Link
US (1) US11174613B2 (de)
EP (1) EP3708714B1 (de)
CN (1) CN111691422B (de)
AU (1) AU2020201592B2 (de)

Families Citing this family (2)

* Cited by examiner, † Cited by third party
Publication number Priority date Publication date Assignee Title
EP4467723B1 (de) 2023-05-24 2025-10-29 BAUER Maschinen GmbH Einbringvorrichtung zum einbringen eines gründungselementes
EP4671449A1 (de) 2024-06-26 2025-12-31 ABI Anlagentechnik-Baumaschinen-Industriebedarf Maschinenfabrik und Vertriebsgesellschaft mbH Vorrichtung und verfahren zum sichern eines tiefbauelementes an einer tiefbaumaschine

Citations (8)

* Cited by examiner, † Cited by third party
Publication number Priority date Publication date Assignee Title
DE3602609A1 (de) 1986-01-29 1987-07-30 Sebastian Hofmann Vorrichtung zum halten und einfuehren eines bauprofils in eine klemmvorrichtung
US5353482A (en) 1993-03-31 1994-10-11 Ziaylek Theodore Jun Releasable latching apparatus with an electrical engagement monitoring means
EP0870653A1 (de) 1997-04-11 1998-10-14 TAKATA (EUROPE) VEHICLE SAFETY TECHNOLOGY GmbH Gurtschloss
DE69812493T2 (de) 1997-07-25 2004-02-19 Trw Inc., Lyndhurst Verfahren und Vorrichtung zur Anzeige des verriegelten oder entriegelten Zustands eines Sicherheitsgurtschlosses
DE10046271B4 (de) 1999-09-21 2010-11-25 Takata Corp. Verschluß, insbesondere Gurtschloß
CN201890755U (zh) 2010-11-29 2011-07-06 广西玉柴重工有限公司 一种链条失效感应机构
CN105271082A (zh) 2014-07-25 2016-01-27 徐秀萍 一种工程机械自行式高空作业动臂连接机构
EP3228392A1 (de) 2016-04-05 2017-10-11 BAUER Maschinen GmbH Vibrationsrammgerät

Family Cites Families (12)

* Cited by examiner, † Cited by third party
Publication number Priority date Publication date Assignee Title
DE3911646A1 (de) * 1989-04-10 1990-10-11 Anlagentech Baumasch Ind Einfaedelvorrichtung zum einfuehren eines rammprofiles in eine klemmvorrichtung
US5332047A (en) 1992-10-01 1994-07-26 John Marino Pile driving apparatus and method
DE9318190U1 (de) * 1993-11-27 1994-01-27 Bilfinger + Berger Bauaktiengesellschaft, 68165 Mannheim Rammvorrichtung für Rammbohlen, insbesondere Spundwandbohlen
NL1005236C2 (nl) * 1997-02-10 1998-08-11 Hollandsche Betongroep Nv Installatie voor het verwijderen van ingeheide voorwerpen.
DE19931977A1 (de) * 1999-07-09 2001-04-19 Peter Loster Vorrichtung zum Feststellen von Schloßsprüngen an Spundwandbohlen, Pfählen und dergleichen
US6398188B1 (en) * 2000-11-30 2002-06-04 Mark T. Salman Post puller
DE10322207B4 (de) * 2003-05-16 2005-06-16 Dr.Ing.H.C. F. Porsche Ag Verfahren zur Ausgabe eines Signals einer Sicherheitsgurt-Warneinrichtung
EP2986783B1 (de) * 2013-04-19 2017-05-17 Fractum 2012 ApS Rammgerät
NL2011001C2 (en) * 2013-06-18 2014-12-22 Ihc Hydrohammer B V Method of and driver for installing foundation elements in a ground formation.
EP3000942B1 (de) * 2014-09-25 2017-03-15 BAUER Maschinen GmbH Rammgerät und Verfahren zum Einrammen eines Pfahlelementes in den Boden
CN107165167A (zh) * 2017-06-19 2017-09-15 上海衡拓船舶设备有限公司 海上打桩用抱桩器
DK3502353T3 (da) * 2017-12-22 2021-07-05 Siemens Gamesa Renewable Energy As Fundamentkonstruktionssystem til en offshore-vindmølle og fremgangsmåde til installation af en offshore-vindmølle

Patent Citations (8)

* Cited by examiner, † Cited by third party
Publication number Priority date Publication date Assignee Title
DE3602609A1 (de) 1986-01-29 1987-07-30 Sebastian Hofmann Vorrichtung zum halten und einfuehren eines bauprofils in eine klemmvorrichtung
US5353482A (en) 1993-03-31 1994-10-11 Ziaylek Theodore Jun Releasable latching apparatus with an electrical engagement monitoring means
EP0870653A1 (de) 1997-04-11 1998-10-14 TAKATA (EUROPE) VEHICLE SAFETY TECHNOLOGY GmbH Gurtschloss
DE69812493T2 (de) 1997-07-25 2004-02-19 Trw Inc., Lyndhurst Verfahren und Vorrichtung zur Anzeige des verriegelten oder entriegelten Zustands eines Sicherheitsgurtschlosses
DE10046271B4 (de) 1999-09-21 2010-11-25 Takata Corp. Verschluß, insbesondere Gurtschloß
CN201890755U (zh) 2010-11-29 2011-07-06 广西玉柴重工有限公司 一种链条失效感应机构
CN105271082A (zh) 2014-07-25 2016-01-27 徐秀萍 一种工程机械自行式高空作业动臂连接机构
EP3228392A1 (de) 2016-04-05 2017-10-11 BAUER Maschinen GmbH Vibrationsrammgerät

Also Published As

Publication number Publication date
CN111691422B (zh) 2022-04-08
US20200291595A1 (en) 2020-09-17
US11174613B2 (en) 2021-11-16
EP3708714A1 (de) 2020-09-16
CN111691422A (zh) 2020-09-22
AU2020201592B2 (en) 2021-04-15
AU2020201592A1 (en) 2020-10-01

Similar Documents

Publication Publication Date Title
EP3705629B1 (de) Rammvorrichtung und verfahren zum einrammen in einen boden
EP2489823B1 (de) Vorrichtung zum Spalten von festen Materialien
EP3708714B1 (de) Sicherungsvorrichtung zum sichern eines tiefbauelementes und tiefbauverfahren
EP2920369A1 (de) AUFREIßBREMSE
EP2902582B2 (de) Mastanordnung und Verfahren zum Verbinden einer Werkzeugeinheit mit einem Mastschlitten einer Mastanordnung
EP3670753B1 (de) Rammvorrichtung und verfahren zum einrammen von rammgut
EP3369864B1 (de) Verfahren zum erkennen von hindernissen beim betrieb einer vibrationsramme
EP3919684A1 (de) Tiefbaumaschine und verfahren zum erstellen eines schlitzes im boden
DE69203980T2 (de) Verbesserte Vorrichtung zum Heben und Hämmern der Fundamentpfähle von Offshore-Bauwerken.
EP2530205B1 (de) Verfahren zum senkrechten Verlegen eines Rohres und Schlagvorrichtung dazu
DE3615596A1 (de) Verfahren und vorrichtung zum einbringen von pfaehlen oder dergleichen in den erdboden, bei dem die pfaehle in den erdboden eingepresst werden
DE102017128887A1 (de) Verfahren und Vorrichtung für die Sicherung einer Grube oder eines Grabens
DE102016014905B3 (de) Werkzeugadapter mit einer Vorrichtung zur Verriegelungskontrolle einer Schnellwechselvorrichtung für Baugeräte
DE2355232A1 (de) Strassenaufbruchgeraet zum aufbrechen von strassendecken
JP3215315U (ja) 杭圧入機用の側打ちチャック体
EP0237971B1 (de) Vorrichtung zum Einbringen und/oder Herausziehen eines Bauprofils
DE3304268C2 (de)
EP3907371A1 (de) Arbeitsmaschine und verfahren zum bearbeiten eines bodens
DE102020110406A1 (de) Mobile Bolzenzieheinrichtung
EP4506507B1 (de) Tiefbauvorrichtung und verfahren zum betrieb einer tiefbauvorrichtung
EP4671449A1 (de) Vorrichtung und verfahren zum sichern eines tiefbauelementes an einer tiefbaumaschine
EP2669623A1 (de) Vorrichtung zum Bestimmen einer Ausfahrlänge eines ausfahrbaren Maschinenteils
DE1634529B2 (de) Verfahren zum Herstellen von Bgdenschlitzen für Schlitzwände
DE19755228C2 (de) Vorrichtung zum Einbringen eines länglichen Profils in den Untergrund
DE20202414U1 (de) Vorrichtung zum Anheben eines länglichen Profils

Legal Events

Date Code Title Description
PUAI Public reference made under article 153(3) epc to a published international application that has entered the european phase

Free format text: ORIGINAL CODE: 0009012

STAA Information on the status of an ep patent application or granted ep patent

Free format text: STATUS: REQUEST FOR EXAMINATION WAS MADE

17P Request for examination filed

Effective date: 20191001

AK Designated contracting states

Kind code of ref document: A1

Designated state(s): AL AT BE BG CH CY CZ DE DK EE ES FI FR GB GR HR HU IE IS IT LI LT LU LV MC MK MT NL NO PL PT RO RS SE SI SK SM TR

AX Request for extension of the european patent

Extension state: BA ME

GRAP Despatch of communication of intention to grant a patent

Free format text: ORIGINAL CODE: EPIDOSNIGR1

STAA Information on the status of an ep patent application or granted ep patent

Free format text: STATUS: GRANT OF PATENT IS INTENDED

INTG Intention to grant announced

Effective date: 20201008

GRAS Grant fee paid

Free format text: ORIGINAL CODE: EPIDOSNIGR3

GRAA (expected) grant

Free format text: ORIGINAL CODE: 0009210

STAA Information on the status of an ep patent application or granted ep patent

Free format text: STATUS: THE PATENT HAS BEEN GRANTED

AK Designated contracting states

Kind code of ref document: B1

Designated state(s): AL AT BE BG CH CY CZ DE DK EE ES FI FR GB GR HR HU IE IS IT LI LT LU LV MC MK MT NL NO PL PT RO RS SE SI SK SM TR

REG Reference to a national code

Ref country code: GB

Ref legal event code: FG4D

Free format text: NOT ENGLISH

REG Reference to a national code

Ref country code: CH

Ref legal event code: EP

REG Reference to a national code

Ref country code: DE

Ref legal event code: R096

Ref document number: 502019000666

Country of ref document: DE

REG Reference to a national code

Ref country code: IE

Ref legal event code: FG4D

Free format text: LANGUAGE OF EP DOCUMENT: GERMAN

GRAT Correction requested after decision to grant or after decision to maintain patent in amended form

Free format text: ORIGINAL CODE: EPIDOSNCDEC

REG Reference to a national code

Ref country code: AT

Ref legal event code: REF

Ref document number: 1354653

Country of ref document: AT

Kind code of ref document: T

Effective date: 20210215

REG Reference to a national code

Ref country code: NL

Ref legal event code: FP

REG Reference to a national code

Ref country code: FI

Ref legal event code: FGE

REG Reference to a national code

Ref country code: LT

Ref legal event code: MG9D

PG25 Lapsed in a contracting state [announced via postgrant information from national office to epo]

Ref country code: NO

Free format text: LAPSE BECAUSE OF FAILURE TO SUBMIT A TRANSLATION OF THE DESCRIPTION OR TO PAY THE FEE WITHIN THE PRESCRIBED TIME-LIMIT

Effective date: 20210413

Ref country code: PT

Free format text: LAPSE BECAUSE OF FAILURE TO SUBMIT A TRANSLATION OF THE DESCRIPTION OR TO PAY THE FEE WITHIN THE PRESCRIBED TIME-LIMIT

Effective date: 20210513

Ref country code: LT

Free format text: LAPSE BECAUSE OF FAILURE TO SUBMIT A TRANSLATION OF THE DESCRIPTION OR TO PAY THE FEE WITHIN THE PRESCRIBED TIME-LIMIT

Effective date: 20210113

Ref country code: GR

Free format text: LAPSE BECAUSE OF FAILURE TO SUBMIT A TRANSLATION OF THE DESCRIPTION OR TO PAY THE FEE WITHIN THE PRESCRIBED TIME-LIMIT

Effective date: 20210414

Ref country code: HR

Free format text: LAPSE BECAUSE OF FAILURE TO SUBMIT A TRANSLATION OF THE DESCRIPTION OR TO PAY THE FEE WITHIN THE PRESCRIBED TIME-LIMIT

Effective date: 20210113

Ref country code: BG

Free format text: LAPSE BECAUSE OF FAILURE TO SUBMIT A TRANSLATION OF THE DESCRIPTION OR TO PAY THE FEE WITHIN THE PRESCRIBED TIME-LIMIT

Effective date: 20210413

PG25 Lapsed in a contracting state [announced via postgrant information from national office to epo]

Ref country code: SE

Free format text: LAPSE BECAUSE OF FAILURE TO SUBMIT A TRANSLATION OF THE DESCRIPTION OR TO PAY THE FEE WITHIN THE PRESCRIBED TIME-LIMIT

Effective date: 20210113

Ref country code: PL

Free format text: LAPSE BECAUSE OF FAILURE TO SUBMIT A TRANSLATION OF THE DESCRIPTION OR TO PAY THE FEE WITHIN THE PRESCRIBED TIME-LIMIT

Effective date: 20210113

Ref country code: RS

Free format text: LAPSE BECAUSE OF FAILURE TO SUBMIT A TRANSLATION OF THE DESCRIPTION OR TO PAY THE FEE WITHIN THE PRESCRIBED TIME-LIMIT

Effective date: 20210113

Ref country code: LV

Free format text: LAPSE BECAUSE OF FAILURE TO SUBMIT A TRANSLATION OF THE DESCRIPTION OR TO PAY THE FEE WITHIN THE PRESCRIBED TIME-LIMIT

Effective date: 20210113

PG25 Lapsed in a contracting state [announced via postgrant information from national office to epo]

Ref country code: IS

Free format text: LAPSE BECAUSE OF FAILURE TO SUBMIT A TRANSLATION OF THE DESCRIPTION OR TO PAY THE FEE WITHIN THE PRESCRIBED TIME-LIMIT

Effective date: 20210513

REG Reference to a national code

Ref country code: DE

Ref legal event code: R026

Ref document number: 502019000666

Country of ref document: DE

PLBI Opposition filed

Free format text: ORIGINAL CODE: 0009260

PG25 Lapsed in a contracting state [announced via postgrant information from national office to epo]

Ref country code: MC

Free format text: LAPSE BECAUSE OF FAILURE TO SUBMIT A TRANSLATION OF THE DESCRIPTION OR TO PAY THE FEE WITHIN THE PRESCRIBED TIME-LIMIT

Effective date: 20210113

Ref country code: EE

Free format text: LAPSE BECAUSE OF FAILURE TO SUBMIT A TRANSLATION OF THE DESCRIPTION OR TO PAY THE FEE WITHIN THE PRESCRIBED TIME-LIMIT

Effective date: 20210113

Ref country code: CZ

Free format text: LAPSE BECAUSE OF FAILURE TO SUBMIT A TRANSLATION OF THE DESCRIPTION OR TO PAY THE FEE WITHIN THE PRESCRIBED TIME-LIMIT

Effective date: 20210113

Ref country code: SM

Free format text: LAPSE BECAUSE OF FAILURE TO SUBMIT A TRANSLATION OF THE DESCRIPTION OR TO PAY THE FEE WITHIN THE PRESCRIBED TIME-LIMIT

Effective date: 20210113

PLAX Notice of opposition and request to file observation + time limit sent

Free format text: ORIGINAL CODE: EPIDOSNOBS2

REG Reference to a national code

Ref country code: FI

Ref legal event code: MDE

Opponent name: LIEBHERR-WERK NENZING GMBH

26 Opposition filed

Opponent name: LIEBHERR-WERK NENZING GMBH

Effective date: 20211013

PG25 Lapsed in a contracting state [announced via postgrant information from national office to epo]

Ref country code: DK

Free format text: LAPSE BECAUSE OF FAILURE TO SUBMIT A TRANSLATION OF THE DESCRIPTION OR TO PAY THE FEE WITHIN THE PRESCRIBED TIME-LIMIT

Effective date: 20210113

Ref country code: SK

Free format text: LAPSE BECAUSE OF FAILURE TO SUBMIT A TRANSLATION OF THE DESCRIPTION OR TO PAY THE FEE WITHIN THE PRESCRIBED TIME-LIMIT

Effective date: 20210113

Ref country code: RO

Free format text: LAPSE BECAUSE OF FAILURE TO SUBMIT A TRANSLATION OF THE DESCRIPTION OR TO PAY THE FEE WITHIN THE PRESCRIBED TIME-LIMIT

Effective date: 20210113

REG Reference to a national code

Ref country code: BE

Ref legal event code: MM

Effective date: 20210331

PG25 Lapsed in a contracting state [announced via postgrant information from national office to epo]

Ref country code: AL

Free format text: LAPSE BECAUSE OF FAILURE TO SUBMIT A TRANSLATION OF THE DESCRIPTION OR TO PAY THE FEE WITHIN THE PRESCRIBED TIME-LIMIT

Effective date: 20210113

Ref country code: IE

Free format text: LAPSE BECAUSE OF NON-PAYMENT OF DUE FEES

Effective date: 20210313

Ref country code: LU

Free format text: LAPSE BECAUSE OF NON-PAYMENT OF DUE FEES

Effective date: 20210313

Ref country code: ES

Free format text: LAPSE BECAUSE OF FAILURE TO SUBMIT A TRANSLATION OF THE DESCRIPTION OR TO PAY THE FEE WITHIN THE PRESCRIBED TIME-LIMIT

Effective date: 20210113

PLBB Reply of patent proprietor to notice(s) of opposition received

Free format text: ORIGINAL CODE: EPIDOSNOBS3

PG25 Lapsed in a contracting state [announced via postgrant information from national office to epo]

Ref country code: IT

Free format text: LAPSE BECAUSE OF FAILURE TO SUBMIT A TRANSLATION OF THE DESCRIPTION OR TO PAY THE FEE WITHIN THE PRESCRIBED TIME-LIMIT

Effective date: 20210113

PG25 Lapsed in a contracting state [announced via postgrant information from national office to epo]

Ref country code: IS

Free format text: LAPSE BECAUSE OF FAILURE TO SUBMIT A TRANSLATION OF THE DESCRIPTION OR TO PAY THE FEE WITHIN THE PRESCRIBED TIME-LIMIT

Effective date: 20210513

PG25 Lapsed in a contracting state [announced via postgrant information from national office to epo]

Ref country code: BE

Free format text: LAPSE BECAUSE OF NON-PAYMENT OF DUE FEES

Effective date: 20210331

REG Reference to a national code

Ref country code: CH

Ref legal event code: PL

PG25 Lapsed in a contracting state [announced via postgrant information from national office to epo]

Ref country code: LI

Free format text: LAPSE BECAUSE OF NON-PAYMENT OF DUE FEES

Effective date: 20220331

Ref country code: CH

Free format text: LAPSE BECAUSE OF NON-PAYMENT OF DUE FEES

Effective date: 20220331

PG25 Lapsed in a contracting state [announced via postgrant information from national office to epo]

Ref country code: CY

Free format text: LAPSE BECAUSE OF FAILURE TO SUBMIT A TRANSLATION OF THE DESCRIPTION OR TO PAY THE FEE WITHIN THE PRESCRIBED TIME-LIMIT

Effective date: 20210113

PG25 Lapsed in a contracting state [announced via postgrant information from national office to epo]

Ref country code: SI

Free format text: LAPSE BECAUSE OF FAILURE TO SUBMIT A TRANSLATION OF THE DESCRIPTION OR TO PAY THE FEE WITHIN THE PRESCRIBED TIME-LIMIT

Effective date: 20210113

Ref country code: HU

Free format text: LAPSE BECAUSE OF FAILURE TO SUBMIT A TRANSLATION OF THE DESCRIPTION OR TO PAY THE FEE WITHIN THE PRESCRIBED TIME-LIMIT; INVALID AB INITIO

Effective date: 20190313

PLCK Communication despatched that opposition was rejected

Free format text: ORIGINAL CODE: EPIDOSNREJ1

APBM Appeal reference recorded

Free format text: ORIGINAL CODE: EPIDOSNREFNO

APBP Date of receipt of notice of appeal recorded

Free format text: ORIGINAL CODE: EPIDOSNNOA2O

APAH Appeal reference modified

Free format text: ORIGINAL CODE: EPIDOSCREFNO

PG25 Lapsed in a contracting state [announced via postgrant information from national office to epo]

Ref country code: MK

Free format text: LAPSE BECAUSE OF FAILURE TO SUBMIT A TRANSLATION OF THE DESCRIPTION OR TO PAY THE FEE WITHIN THE PRESCRIBED TIME-LIMIT

Effective date: 20210113

APBQ Date of receipt of statement of grounds of appeal recorded

Free format text: ORIGINAL CODE: EPIDOSNNOA3O

PG25 Lapsed in a contracting state [announced via postgrant information from national office to epo]

Ref country code: TR

Free format text: LAPSE BECAUSE OF FAILURE TO SUBMIT A TRANSLATION OF THE DESCRIPTION OR TO PAY THE FEE WITHIN THE PRESCRIBED TIME-LIMIT

Effective date: 20210113

PG25 Lapsed in a contracting state [announced via postgrant information from national office to epo]

Ref country code: MT

Free format text: LAPSE BECAUSE OF FAILURE TO SUBMIT A TRANSLATION OF THE DESCRIPTION OR TO PAY THE FEE WITHIN THE PRESCRIBED TIME-LIMIT

Effective date: 20210113

P01 Opt-out of the competence of the unified patent court (upc) registered

Free format text: CASE NUMBER: UPC_APP_119899/2023

Effective date: 20230510

PGFP Annual fee paid to national office [announced via postgrant information from national office to epo]

Ref country code: DE

Payment date: 20250320

Year of fee payment: 7

PGFP Annual fee paid to national office [announced via postgrant information from national office to epo]

Ref country code: FI

Payment date: 20250326

Year of fee payment: 7

Ref country code: NL

Payment date: 20250321

Year of fee payment: 7

PGFP Annual fee paid to national office [announced via postgrant information from national office to epo]

Ref country code: AT

Payment date: 20250321

Year of fee payment: 7

PGFP Annual fee paid to national office [announced via postgrant information from national office to epo]

Ref country code: FR

Payment date: 20250325

Year of fee payment: 7

PGFP Annual fee paid to national office [announced via postgrant information from national office to epo]

Ref country code: GB

Payment date: 20250324

Year of fee payment: 7

PLAB Opposition data, opponent's data or that of the opponent's representative modified

Free format text: ORIGINAL CODE: 0009299OPPO

REG Reference to a national code

Ref country code: CH

Ref legal event code: L10

Free format text: ST27 STATUS EVENT CODE: U-0-0-L10-L00 (AS PROVIDED BY THE NATIONAL OFFICE)

Effective date: 20251105

R26 Opposition filed (corrected)

Opponent name: LIEBHERR-WERK NENZING GMBH

Effective date: 20211013

REG Reference to a national code

Ref country code: DE

Ref legal event code: R100

Ref document number: 502019000666

Country of ref document: DE

APBU Appeal procedure closed

Free format text: ORIGINAL CODE: EPIDOSNNOA9O

PLBN Opposition rejected

Free format text: ORIGINAL CODE: 0009273

STAA Information on the status of an ep patent application or granted ep patent

Free format text: STATUS: OPPOSITION REJECTED

REG Reference to a national code

Ref country code: CH

Ref legal event code: L18

Free format text: ST27 STATUS EVENT CODE: U-0-0-L10-L18 (AS PROVIDED BY THE NATIONAL OFFICE)

Effective date: 20260114

27O Opposition rejected

Effective date: 20251218