EP3704033B1 - Verpackungsmaschine zur herstellung einer individuellen blisterverpackung - Google Patents

Verpackungsmaschine zur herstellung einer individuellen blisterverpackung Download PDF

Info

Publication number
EP3704033B1
EP3704033B1 EP18766244.0A EP18766244A EP3704033B1 EP 3704033 B1 EP3704033 B1 EP 3704033B1 EP 18766244 A EP18766244 A EP 18766244A EP 3704033 B1 EP3704033 B1 EP 3704033B1
Authority
EP
European Patent Office
Prior art keywords
packaging machine
station
containers
cleaning
transport container
Prior art date
Legal status (The legal status is an assumption and is not a legal conclusion. Google has not performed a legal analysis and makes no representation as to the accuracy of the status listed.)
Active
Application number
EP18766244.0A
Other languages
English (en)
French (fr)
Other versions
EP3704033A2 (de
EP3704033C0 (de
Inventor
Detlef Steinweg
Current Assignee (The listed assignees may be inaccurate. Google has not performed a legal analysis and makes no representation or warranty as to the accuracy of the list.)
Paracelsus Care GmbH
Original Assignee
Paracelsus Care GmbH
Priority date (The priority date is an assumption and is not a legal conclusion. Google has not performed a legal analysis and makes no representation as to the accuracy of the date listed.)
Filing date
Publication date
Application filed by Paracelsus Care GmbH filed Critical Paracelsus Care GmbH
Publication of EP3704033A2 publication Critical patent/EP3704033A2/de
Application granted granted Critical
Publication of EP3704033B1 publication Critical patent/EP3704033B1/de
Publication of EP3704033C0 publication Critical patent/EP3704033C0/de
Active legal-status Critical Current
Anticipated expiration legal-status Critical

Links

Images

Classifications

    • BPERFORMING OPERATIONS; TRANSPORTING
    • B65CONVEYING; PACKING; STORING; HANDLING THIN OR FILAMENTARY MATERIAL
    • B65DCONTAINERS FOR STORAGE OR TRANSPORT OF ARTICLES OR MATERIALS, e.g. BAGS, BARRELS, BOTTLES, BOXES, CANS, CARTONS, CRATES, DRUMS, JARS, TANKS, HOPPERS, FORWARDING CONTAINERS; ACCESSORIES, CLOSURES, OR FITTINGS THEREFOR; PACKAGING ELEMENTS; PACKAGES
    • B65D75/00Packages comprising articles or materials partially or wholly enclosed in strips, sheets, blanks, tubes or webs of flexible sheet material, e.g. in folded wrappers
    • B65D75/28Articles or materials wholly enclosed in composite wrappers, i.e. wrappers formed by associating or interconnecting two or more sheets or blanks
    • B65D75/30Articles or materials enclosed between two opposed sheets or blanks having their margins united, e.g. by pressure-sensitive adhesive, crimping, heat-sealing, or welding
    • B65D75/32Articles or materials enclosed between two opposed sheets or blanks having their margins united, e.g. by pressure-sensitive adhesive, crimping, heat-sealing, or welding one or both sheets or blanks being recessed to accommodate contents
    • B65D75/325Articles or materials enclosed between two opposed sheets or blanks having their margins united, e.g. by pressure-sensitive adhesive, crimping, heat-sealing, or welding one or both sheets or blanks being recessed to accommodate contents one sheet being recessed, and the other being a flat not- rigid sheet, e.g. puncturable or peelable foil
    • B65D75/327Articles or materials enclosed between two opposed sheets or blanks having their margins united, e.g. by pressure-sensitive adhesive, crimping, heat-sealing, or welding one or both sheets or blanks being recessed to accommodate contents one sheet being recessed, and the other being a flat not- rigid sheet, e.g. puncturable or peelable foil and forming several compartments
    • AHUMAN NECESSITIES
    • A61MEDICAL OR VETERINARY SCIENCE; HYGIENE
    • A61JCONTAINERS SPECIALLY ADAPTED FOR MEDICAL OR PHARMACEUTICAL PURPOSES; DEVICES OR METHODS SPECIALLY ADAPTED FOR BRINGING PHARMACEUTICAL PRODUCTS INTO PARTICULAR PHYSICAL OR ADMINISTERING FORMS; DEVICES FOR ADMINISTERING FOOD OR MEDICINES ORALLY; BABY COMFORTERS; DEVICES FOR RECEIVING SPITTLE
    • A61J1/00Containers specially adapted for medical or pharmaceutical purposes
    • A61J1/03Containers specially adapted for medical or pharmaceutical purposes for pills or tablets
    • A61J1/035Blister-type containers
    • BPERFORMING OPERATIONS; TRANSPORTING
    • B65CONVEYING; PACKING; STORING; HANDLING THIN OR FILAMENTARY MATERIAL
    • B65BMACHINES, APPARATUS OR DEVICES FOR, OR METHODS OF, PACKAGING ARTICLES OR MATERIALS; UNPACKING
    • B65B39/00Nozzles, funnels or guides for introducing articles or materials into containers or wrappers
    • B65B39/007Guides or funnels for introducing articles into containers or wrappers
    • BPERFORMING OPERATIONS; TRANSPORTING
    • B65CONVEYING; PACKING; STORING; HANDLING THIN OR FILAMENTARY MATERIAL
    • B65BMACHINES, APPARATUS OR DEVICES FOR, OR METHODS OF, PACKAGING ARTICLES OR MATERIALS; UNPACKING
    • B65B5/00Packaging individual articles in containers or receptacles, e.g. bags, sacks, boxes, cartons, cans, jars
    • B65B5/10Filling containers or receptacles progressively or in stages by introducing successive articles, or layers of articles
    • B65B5/101Filling containers or receptacles progressively or in stages by introducing successive articles, or layers of articles by gravity
    • B65B5/103Filling containers or receptacles progressively or in stages by introducing successive articles, or layers of articles by gravity for packaging pills or tablets
    • BPERFORMING OPERATIONS; TRANSPORTING
    • B65CONVEYING; PACKING; STORING; HANDLING THIN OR FILAMENTARY MATERIAL
    • B65BMACHINES, APPARATUS OR DEVICES FOR, OR METHODS OF, PACKAGING ARTICLES OR MATERIALS; UNPACKING
    • B65B7/00Closing containers or receptacles after filling
    • B65B7/16Closing semi-rigid or rigid containers or receptacles not deformed by, or not taking-up shape of, contents, e.g. boxes or cartons
    • B65B7/162Closing semi-rigid or rigid containers or receptacles not deformed by, or not taking-up shape of, contents, e.g. boxes or cartons by feeding web material to securing means
    • B65B7/164Securing by heat-sealing
    • BPERFORMING OPERATIONS; TRANSPORTING
    • B65CONVEYING; PACKING; STORING; HANDLING THIN OR FILAMENTARY MATERIAL
    • B65BMACHINES, APPARATUS OR DEVICES FOR, OR METHODS OF, PACKAGING ARTICLES OR MATERIALS; UNPACKING
    • B65B9/00Enclosing successive articles, or quantities of material, e.g. liquids or semiliquids, in flat, folded, or tubular webs of flexible sheet material; Subdividing filled flexible tubes to form packages
    • B65B9/02Enclosing successive articles, or quantities of material between opposed webs
    • B65B9/04Enclosing successive articles, or quantities of material between opposed webs one or both webs being formed with pockets for the reception of the articles, or of the quantities of material
    • B65B9/045Enclosing successive articles, or quantities of material between opposed webs one or both webs being formed with pockets for the reception of the articles, or of the quantities of material for single articles, e.g. tablets
    • BPERFORMING OPERATIONS; TRANSPORTING
    • B65CONVEYING; PACKING; STORING; HANDLING THIN OR FILAMENTARY MATERIAL
    • B65DCONTAINERS FOR STORAGE OR TRANSPORT OF ARTICLES OR MATERIALS, e.g. BAGS, BARRELS, BOTTLES, BOXES, CANS, CARTONS, CRATES, DRUMS, JARS, TANKS, HOPPERS, FORWARDING CONTAINERS; ACCESSORIES, CLOSURES, OR FITTINGS THEREFOR; PACKAGING ELEMENTS; PACKAGES
    • B65D75/00Packages comprising articles or materials partially or wholly enclosed in strips, sheets, blanks, tubes or webs of flexible sheet material, e.g. in folded wrappers
    • B65D75/52Details
    • B65D75/527Tear-lines for separating a package into individual packages
    • GPHYSICS
    • G07CHECKING-DEVICES
    • G07FCOIN-FREED OR LIKE APPARATUS
    • G07F17/00Coin-freed apparatus for hiring articles; Coin-freed facilities or services
    • G07F17/0092Coin-freed apparatus for hiring articles; Coin-freed facilities or services for assembling and dispensing of pharmaceutical articles
    • BPERFORMING OPERATIONS; TRANSPORTING
    • B65CONVEYING; PACKING; STORING; HANDLING THIN OR FILAMENTARY MATERIAL
    • B65BMACHINES, APPARATUS OR DEVICES FOR, OR METHODS OF, PACKAGING ARTICLES OR MATERIALS; UNPACKING
    • B65B2210/00Specific aspects of the packaging machine
    • B65B2210/06Sterilising or cleaning machinery or conduits
    • BPERFORMING OPERATIONS; TRANSPORTING
    • B65CONVEYING; PACKING; STORING; HANDLING THIN OR FILAMENTARY MATERIAL
    • B65DCONTAINERS FOR STORAGE OR TRANSPORT OF ARTICLES OR MATERIALS, e.g. BAGS, BARRELS, BOTTLES, BOXES, CANS, CARTONS, CRATES, DRUMS, JARS, TANKS, HOPPERS, FORWARDING CONTAINERS; ACCESSORIES, CLOSURES, OR FITTINGS THEREFOR; PACKAGING ELEMENTS; PACKAGES
    • B65D2585/00Containers, packaging elements or packages specially adapted for particular articles or materials
    • B65D2585/56Containers, packaging elements or packages specially adapted for particular articles or materials for medicinal tablets or pills

Definitions

  • the present invention relates to a packaging machine for producing individual blister packs for drug administration.
  • the EP 1 627 813 A1 , the WO 2005/108208 A1 as well as the US 7 225 597 B1 describe a packaging machine for producing individual blister packs for dispensing medicaments, wherein the packaging machine comprises a filling station with a plurality of containers, each container being provided for storing and dispensing a predetermined medicament, wherein the packaging machine has a conveyor device, wherein the conveyor device is provided for conveying a carrier of a blister pack.
  • US 2016/304 229 A1 shows a device for producing tube blister packs, which includes dispensing stations and a collection device for delivering medication doses to a blister packaging device.
  • the blister packaging device fills the resulting medication doses in groups into pockets of a tube blister pack.
  • the US 2009/255 952 A1 describes a cleaning station, in particular a separator plate, which is capable of efficiently cleaning a drug remaining in a V-gauge.
  • the US 2007/084 150 A1 relates to an automated packaging machine for pharmaceutical products that simultaneously processes a large number of Fills product packaging templates in parallel with the desired pharmaceutical dosage requirements.
  • US 4 655 026 A discloses a pill dispensing machine that can selectively dispense a variety of different medications into preformed recesses in a plastic strip.
  • Blister packs are already known. A distinction is made between bag-like tubular blisters and flat, essentially rigid card blisters. It is also known to fill and seal such a card blister pack with medications for several days and, if necessary, several times per patient, according to a doctor's prescription, so that the patient only needs to take all the medications contained in one compartment at the right time.
  • prefabricated carriers are used with a predetermined matrix of wells (e.g. in the form of a 7 x 2 matrix, i.e. 14 wells for 2 administration times over 7 days).
  • patient-specific packaging is often carried out at least partially manually.
  • cross-contamination occurs due to drug-carrying parts of the packaging machine coming into contact with different drugs.
  • the known packaging machines require a lot of space and are expensive, so that such packaging machines have so far only been used in so-called blister centers. It is therefore an object of the present invention to provide a packaging machine for producing such blister packs that can be operated flexibly and with little space requirement while avoiding cross-contamination and can preferably also be used on-site.
  • the packaging machine according to the invention achieves the significant advantage that the drugs are filled as immediately as possible, i.e. directly, into the recesses, thereby eliminating cross-contamination. In any case, a transfer device, for example a chute or a funnel, over which several different drugs are moved, is avoided.
  • a packaging machine according to the invention is also referred to as a blister machine.
  • the packaging machine comprises a control unit that controls the individual parts of the packaging machine.
  • the control unit is connected to at least one detection device in order to check correct functioning.
  • the data from the detection device is input into a feedback loop of the control unit.
  • the medicaments must be assigned to the individual wells.
  • this is achieved by arranging the carrier and/or the containers so that they can move transversely to the conveying direction.
  • the container and well are aligned relative to each other to enable precise filling.
  • the packaging machine preferably comprises a detection device that monitors the relative movement of the container and the carrier.
  • the container is configured to dispense a predetermined number of medicaments.
  • the packaging machine comprises at least one measuring device for measuring the fill level of at least one of the containers. This advantageously makes it possible to automatically dispense precisely measured amounts of medicaments and to detect early on when a container needs to be refilled or replaced.
  • the conveying device is provided for conveying at least one movable transport container, wherein the packaging machine is configured such that, in the filling station, the medicaments can be filled directly from the containers into the transport container, wherein the packaging machine comprises a transfer station, wherein the packaging machine is configured such that, in the transfer station, the medicaments can be transferred from the movable transport container into a recess of a blister pack carrier assigned to the transport container.
  • the packaging machine is configured such that, in the transfer station, the medicaments can be transferred from the movable transport container into a recess of a blister pack carrier assigned to the transport container.
  • the packaging machine comprises a plurality of movable transport containers, whereby the cycle speed of the packaging machine can advantageously be increased. is increased.
  • the packaging machine comprises at least as many transport containers as the carrier has adjacently arranged recesses, i.e., in particular, the number of transport containers corresponds to the number of columns of the carrier, particularly preferably twice the number of columns. This advantageously makes it possible to fill a row of recesses simultaneously and, if necessary, to have the transport containers assigned to the next row filled by the containers while the recesses are being filled.
  • the conveyor device is a conveyor belt, in particular an endless conveyor belt.
  • the conveyor device comprises at least one guide rail and a drive, in particular a magnetic drive.
  • the transport containers are movable essentially autonomously and independently of one another on the conveyor device.
  • the packaging machine comprises a sealing station, wherein the sealing station is arranged immediately after the filling station or the transfer station, wherein the sealing station is configured to seal a lidding film onto the carrier.
  • the sealing station is arranged such that the filled recesses are immediately sealed by the lidding film.
  • the packaging machine comprises a separating device for separating a predetermined length of the blister pack and/or the carrier, wherein the separating device is arranged before or after the filling station, the transfer station and/or the sealing station. It is advantageously possible to further increase flexibility with regard to different blister pack sizes.
  • the packaging machine comprises a cleaning station, wherein the cleaning station is arranged immediately after the transfer station, wherein the cleaning station is configured for the automatic cleaning of the at least one transport container and the containers.
  • the packaging machine is configured such that each transport container is cleaned, in particular sterilized and/or disinfected, immediately after the medicaments have been transferred into the recess. This further reduces the risk of cross-contamination in a particularly advantageous manner. The thorough cleaning makes it possible to use the transport containers multiple times without the risk of contamination.
  • the packaging machine comprises a printing station, wherein the printing station is configured to print information onto the lidding film and/or the carrier.
  • the printing station is particularly preferably arranged before or after the filling station or the sealing station.
  • the containers are designed to be exchangeable and/or refillable, particularly automatically. This advantageously makes it possible to increase the space requirements and flexibility of the packaging machine. For example, rarely used medications can be inserted into the packaging machine only when needed. Furthermore, simple and hygienic refilling of the containers is possible, particularly without requiring a downtime of the packaging machine, since the container can be exchanged for another container.
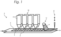
  • FIG. 1 A packaging machine is shown that does not correspond to the invention. In this case, only a section of the packaging machine 5 is shown schematically.
  • a conveyor device 7 for example an endless conveyor belt, transports an (endless) carrier 3 with matrix-like recesses 2 along a conveying direction, here linear.
  • the packaging machine 5 comprises a control unit, not shown here, which monitors and controls the operation of the packaging machine 5.
  • a filling station 10 contains a plurality of containers 6, each of which contains a predetermined medication. If a container 6 is positioned exactly above a recess 2 into which the medication contained in the container 6 is to be filled according to the patient's individual specifications, which the control unit can detect, for example, via a corresponding detection device, a predetermined amount of the medication is filled into the recess 2.
  • aids such as funnels or other filling aids can be used. It is important that these filling aids are not designed for containers 6. with different medicines to avoid cross-contamination.
  • each of the recesses 2 with the correct medication.
  • the containers 6 are displaceable at least transversely to the conveying direction.
  • the carrier 3 is at least partially displaceable transversely to the conveying direction.
  • filling aids are provided such that the medication can be poured from a container 6 into one or more recesses 2 in a targeted manner.
  • the lidding film 4 is sealed onto the carrier 3 in a sealing station 11, ideally immediately after the last filling. This hygienically seals the wells 2.
  • the lidding film 4 is unwound from a roll, for example, and sealed using ultrasound or heat. For the sake of simplicity, no sealing tool is shown here.
  • a separating device 8 is arranged after the sealing station 11, which separates the various blister packs from one another and/or separates the lidding film 4.
  • a printing station where the lidding film 4 and/or the carrier 3 can be printed with relevant information.
  • This printing station can be arranged before or after the filling station 10 or the sealing station 12.
  • FIG 2 a packaging machine 5 according to the present invention is shown.
  • the recesses 2 are not directly filled with the medicaments from the containers 6 are filled, but these are first filled into movable transport containers 9.
  • the transport containers 9 can be moved by the conveyor device 7 or they can be moved independently of one another, wherein the conveyor device 7 can provide a drive, for example a magnetic drive, or merely form a guide for the transport containers 9.
  • the transport containers 9 are filled through the containers 6, whereby this is easier due to an opening adapted to the containers 6 or at least a larger opening compared to the opening of the recesses 2 than with direct filling of the recesses 2.
  • the transport containers 9 can take on a variety of possible shapes, for example a trolley-like shape.
  • a transfer station (not shown here) is provided, in which the medicaments collected in the transport containers 9 are transferred into the respective recesses 2. It will be clear to the person skilled in the art that, for correct dosing, a transport container 9 is preferably assigned to each recess 2.
  • a sealing station 11 is provided immediately following the transfer station in order to close the recesses 2.
  • a cleaning station - also not shown - is provided in which the transport containers 9 are cleaned, preferably disinfected and particularly preferably sterilized in order to avoid possible cross-contamination during subsequent use.
  • the cleaning station is located immediately after the transfer station to avoid possible cross-contamination.
  • the number of transport containers 9 corresponds at least to the number of recesses 2 in one row, particularly preferably in two rows, in order to increase the cycle speed.
  • the number of transport containers 9 corresponds at least to the number of recesses 2 in one row, particularly preferably in two rows, in order to increase the cycle speed.
  • the number of transport containers 9 corresponds at least to the number of recesses 2 in a blister pack.

Landscapes

  • Engineering & Computer Science (AREA)
  • Mechanical Engineering (AREA)
  • Health & Medical Sciences (AREA)
  • Chemical & Material Sciences (AREA)
  • Composite Materials (AREA)
  • General Health & Medical Sciences (AREA)
  • Life Sciences & Earth Sciences (AREA)
  • Animal Behavior & Ethology (AREA)
  • Pharmacology & Pharmacy (AREA)
  • Public Health (AREA)
  • Veterinary Medicine (AREA)
  • Physics & Mathematics (AREA)
  • General Physics & Mathematics (AREA)
  • Medical Preparation Storing Or Oral Administration Devices (AREA)
  • Containers And Plastic Fillers For Packaging (AREA)
  • Packages (AREA)
  • Auxiliary Devices For And Details Of Packaging Control (AREA)

Description

  • Die vorliegende Erfindung betrifft eine Verpackungsmaschine zur Herstellung von individuellen Blisterverpackungen zur Arzneimittelgabe.
  • Die EP 1 627 813 A1 , die WO 2005/108208 A1 sowie die US 7 225 597 B1 beschreiben eine Verpackungsmaschine zur Herstellung von individuellen Blisterverpackungen zur Arzneimittelausgabe, wobei die Verpackungsmaschine eine Füllstation mit einer Vielzahl von Behältern umfasst, wobei jeder Behälter zur Lagerung und Abgabe eines vorbestimmten Arzneimittels vorgesehen ist, wobei die Verpackungsmaschine eine Fördereinrichtung aufweist, wobei die Fördereinrichtung zur Förderung eines Trägers einer Blisterverpackung, vorgesehen ist.
  • In der DE 10 2006 007 136 A1 ist eine Vorrichtung zur Individual-Verpackung von Tabletten nach enem Multi-Dose-System beschrieben. Die US 2016/304 229 A1 zeigt eine Vorrichtung zur Herstellung von Tubenblisterverpackungen, die Abgabestationen und eine Sammelvorrichtung zur Bereitstellung von Medikamentendosen an eine Blisterverpackungsvorrichtung umfasst. Die Blisterverpackungsvorrichtung füllt die erhaltenen Medikamentendosen gruppenweise in Taschen einer Tubenblisterverpackung.
  • Die US 2009/255 952 A1 beschreibt eine Reinigungsstation, insbesondere eine Trennplatte, die in der Lage ist, ein in einem V-Maß verbliebenes Medikament effizient zu reinigen.
  • Die US 2007/084 150 A1 betrifft eine eine automatisierte Verpackungsmaschine für pharmazeutische Produkte, die gleichzeitig eine Vielzahl von Produktverpackungsvorlagen parallel zu den gewünschten pharmazeutischen Dosierungsanforderungen füllt.
  • Weiterhin wird in der US 4 655 026 A eine Pillenausgabemaschine offenbart, die selektiv eine Vielzahl unterschiedlicher Medikamente in vorgeformte Aussparungen in einem Kunststoffstreifen abgeben kann.
  • Blisterverpackungen sind bereits bekannt. Dabei wird im Wesentlichen zwischen beutelartigen Schlauchblistern und flächigen, im Wesentlichen formstabilen, Kartenblistern unterschieden. Es ist weiterhin bekannt, einen solchen Kartenblister gemäß den Verschreibungen eines Arztes patientenindividuell für mehrere Tage und ggf. mehrere Einnahmezeitpunkte mit Arzneimitteln zu befüllen und zu verschließen, so dass der Patient lediglich pünktlich zu jedem Einnahmezeitpunkt alle in einer Vertiefung befindlichen Arzneimittel zu sich nehmen muss.
  • Dabei ist jedoch nachteilig, dass keine Flexibilität möglich ist, da vorgefertigte Träger verwendet werden mit einer vorbestimmten Matrix an Vertiefungen (z.B. in Form einer 7 x 2-Matrix, also 14 Vertiefungen für 2 Einnahmezeitpunkte an 7 Tagen). Ferner erfolgt eine solche patientenindividuelle Verpackung oftmals wenigstens zum Teil manuell. Bei bekannten Verpackungsmaschinen kommt es auf Grund der Berührung von arzneimittelführenden Teilen der Verpackungsmaschine mit verschiedenen Arzneimitteln zu Kreuzkontaminationen. Außerdem weisen die bekannten Verpackungsmaschinen einen hohen Raumbedarf auf und sind kostspielig, so dass derartige Verpackungsmaschinen bisher nur in so genannten Blisterzentren zum Einsatz kommen. Es ist daher eine Aufgabe der vorliegenden Erfindung, eine Verpackungsmaschine zur Herstellung solcher Blisterverpackungen bereitzustellen, die unter Vermeidung von Kreuzkontaminationen flexibel und mit geringem Raumbedarf betreibbar ist und vorzugsweise auch vor Ort einsetzbar ist.
  • Gelöst wird diese Aufgabe mit einer Verpackungsmaschine zur Herstellung von individuellen Blisterverpackungen zur Arzneimittelgabe, gemäß des Anspruchs 1. Im Vergleich zu bekannten Verpackungsmaschinen wird also bei der erfindungsgemäßen Verpackungsmaschine der wesentlichen Vorteile erzielt, dass die Arzneimittel möglichst unmittelbar, also direkt, in die Vertiefungen eingefüllt werden, wodurch eine Kreuzkontamination ausgeschlossen wird. In jedem Fall wird eine Überführungsvorrichtung, beispielsweise eine Rutsche oder ein Trichter, über die mehrere verschiedene Arzneimittel bewegt werden, vermieden. Eine erfindungsgemäße Verpackungsmaschine wird auch als Blisterautomat bezeichnet. Vorzugsweise umfasst die Verpackungsmaschine eine Steuereinheit, die die einzelnen Teile der Verpackungsmaschine steuert. Besonders bevorzugt ist die Steuereinheit mit wenigstens einer Detektionsvorrichtung verbunden, um die korrekte Funktionsweise zu überprüfen. Ganz besonders bevorzugt werden die Daten der Detektionsvorrichtung in eine Rückkopplungsschleife der Steuereinheit eingegeben.
  • Die diesen Gegenstand der vorliegenden Erfindung betreffenden Ausführungen gelten auch für die übrigen Gegenstände und umgekehrt.
  • Der Fachmann erkennt, dass bei einer matrixartigen Anordnung der Vertiefungen eine Zuordnung der Arzneimittel zu den einzelnen Vertiefungen erfolgen muss. Gemäß einer bevorzugten Ausführungsform wird dies dadurch erreicht, dass der Träger und/oder die Behälter quer zur Förderrichtung beweglich angeordnet sind. Somit werden Behälter und Vertiefung relativ zueinander ausgerichtet, um eine exakte Befüllung zu ermöglichen. Dazu umfasst die Verpackungsmaschine bevorzugt eine Detektionsvorrichtung, die die Relativbewegung von Behälter und Träger überwacht.
  • Gemäß der vorliegenden Erfindung ist vorgesehen, dass der Behälter dazu eingerichtet ist, eine vorbestimmte Anzahl an Arzneimitteln abzugeben. Besonders bevorzugt umfasst die Verpackungsmaschine wenigstens eine Messeinrichtung zur Messung des Füllstandes wenigstens eines der Behälter. Hierdurch ist es vorteilhafterweise möglich, automatisch genau dosierte Mengen an Arzneimitteln abzugeben und frühzeitig zu erkennen, wenn ein Behälter nachgefüllt oder ausgetauscht werden muss.
  • Gemäß der vorliegenden Erfindung ist vorgesehen, dass die Fördereinrichtung zur Förderung wenigstens eines beweglichen Transportbehälters vorgesehen ist, wobei die Verpackungsmaschine derart konfiguriert ist, dass in der Füllstation die Arzneimittel unmittelbar von den Behältern in den Transportbehälter einfüllbar sind, wobei die Verpackungsmaschine eine Übergabestation umfasst, wobei die Verpackungsmaschine derart konfiguriert ist, dass in der Übergabestation die Arzneimittel von dem beweglichen Transportbehälter in eine dem Transportbehälter zugeordneten Vertiefung eines Trägers einer Blisterverpackung, überführbar sind. Hierdurch ist es erfindungsgemäß vorteilhaft möglich, dass über individuell bewegliche Transportbehälter die Arzneimittel gesammelt und anschließend in die Vertiefungen überführt werden. Da die Transportbehälter beweglich sind, sind die Behälter vorzugsweise ortsfest angeordnet. Dies vereinfacht den Aufbau der erfindungsgemäßen Verpackungsmaschine und vermeidet Fehler, da die Einfüllöffnungen der Transportbehälter größer sein können als die vergleichsweise kleinen Öffnungen der Vertiefungen. Vorzugsweise umfasst die Verpackungsmaschine eine Vielzahl von beweglichen Transportbehältern, wodurch vorteilhafterweise die Taktgeschwindigkeit der Verpackungsmaschine erhöht wird. Besonders bevorzugt umfasst die Verpackungsmaschine mindestens so viele Transportbehälter wie der Träger nebeneinander angeordnete Vertiefungen aufweist, d.h. insbesondere, dass die Anzahl der Transportbehälter der Anzahl der Spalten des Trägers entspricht, besonders bevorzugt der doppelten Anzahl an Spalten. Somit ist es vorteilhaft möglich, eine Reihe von Vertiefungen gleichzeitig zu befüllen und ggf. während der Befüllung der Vertiefungen die Transportbehälter, die der nächsten Reihe zugeordnet sind, bereits von den Behältern befüllen zu lassen.
  • Gemäß einer bevorzugten Ausführungsform der vorliegenden Erfindung ist vorgesehen, dass die Fördereinrichtung ein Förderband, insbesondere ein Endlosförderband ist. Besonders bevorzugt umfasst die Fördereinrichtung wenigstens eine Führungsschiene und einen Antrieb, insbesondere einen Magnetantrieb. Ganz besonders bevorzugt sind die Transportbehälter im Wesentlichen autonom und unabhängig voneinander auf der Fördereinrichtung beweglich.
  • Gemäß der vorliegenden Erfindung ist vorgesehen, dass die Verpackungsmaschine eine Siegelstation umfasst, wobei die Siegelstation unmittelbar nach der Füllstation oder der Übergabestation angeordnet ist, wobei die Siegelstation zur Aufsiegelung einer Deckelfolie auf den Träger eingerichtet ist. Hierdurch ist es in besonders vorteilhafter Weise möglich, dass das Risiko einer Kreuzkontamination weiter verringert wird und die Hygiene der Maschine verbessert wird. Besonders bevorzugt ist die Siegelstation derart angeordnet, dass die befüllten Vertiefungen sofort durch die Deckelfolie verschlossen werden.
  • Gemäß einer bevorzugten Ausführungsform der vorliegenden Erfindung ist vorgesehen, dass die Verpackungsmaschine eine Trennvorrichtung zum Abtrennen einer vorbestimmten Länge der Blisterverpackung und/oder des Trägers umfasst, wobei die Trennvorrichtung vor oder nach der Füllstation, der Übergabestation und/oder der Siegelstation angeordnet ist. Hierdurch ist es in vorteilhafter Weise möglich, die Flexibilität hinsichtlich verschiedener Blisterverpackungsgrößen weiter zu erhöhen.
  • Gemäß der vorliegenden Erfindung ist vorgesehen, dass die Verpackungsmaschine eine Reinigungsstation umfasst, wobei die Reinigungsstation unmittelbar nach der Übergabestation angeordnet ist, wobei die Reinigungsstation zur automatischen Reinigung des wenigstens einen Transportbehälters und der Behälter eingerichtet ist. Besonders bevorzugt ist die Verpackungsmaschine derart konfiguriert, dass jeder Transportbehälter unmittelbar nach der Überführung der Arzneimittel in die Vertiefung gereinigt, insbesondere sterilisiert und/oder desinfiziert, wird. Hierdurch wir in besonders vorteilhafter Weise die Gefahr einer Kreuzkontamination weiter verringert. Durch die gründliche Reinigung ist es möglich, die Transportbehälter mehrfach zu verwenden, ohne dass die Gefahr einer Kontamination besteht.
  • Gemäß einer bevorzugten Ausführungsform der vorliegenden Erfindung ist vorgesehen, dass die Verpackungsmaschine eine Druckstation umfasst, wobei die Druckstation dazu eingerichtet ist, die Deckelfolie und/oder den Träger mit Informationen zu bedrucken. Besonders bevorzugt ist die Druckstation vor oder nach der Füllstation oder der Siegelstation angeordnet.
  • Gemäß einer bevorzugten Ausführungsform der vorliegenden Erfindung ist vorgesehen, dass die Behälter, insbesondere automatisch, austauschbar und/oder befüllbar vorgesehen sind. Hierdurch ist es vorteilhafterweise möglich, den Raumbedarf und die Flexibilität der Verpackungsmaschine zu erhöhen. So können beispielsweise selten benötigte Arzneimittel nur im Bedarfsfall in die Verpackungsmaschine eingesetzt werden. Ferner wird eine einfache und hygienische Nachfüllung der Behälter ermöglicht, insbesondere ohne dass ein Stillstand der Verpackungsmaschine notwendig ist, da der Behälter gegen einen weiteren Behälter ausgetauscht werden kann.
  • Im folgendem wird die Erfindung anhand der Figuren 1 und 2 erläutert. Diese Erläuterungen sind lediglich beispielhaft und schränken den allgemeinen erfindungsgemäßen Gedanken nicht ein. Die Erläuterungen gelten für die die erfindungsgemäße Verpackungsmaschine. Dabei werden gleiche Teile mit den gleichen Bezugszeichen bezeichnet.
  • Figur 1
    zeigt eine Verpackungsmaschine.
    Figur 2
    zeigt eine Verpackungsmaschine gemäß einer weiteren beispielhaften Ausführungsform der vorliegenden Erfindung.
  • In Figur 1 ist eine Verpackungsmaschine dargestellt, die nicht der Erfindung entspricht. Dabei ist vorliegend lediglich ein Ausschnitt der Verpackungsmaschine 5 schematisch dargestellt. Von links kommend transportiert eine Fördereinrichtung 7, beispielsweise ein Endlosförderband, einen (Endlos-)Träger 3 mit matrixartig angeordneten Vertiefungen 2 entlang einer, hier linearen, Förderrichtung.
  • Die Verpackungsmaschine 5 umfasst eine hier nicht dargestellte Steuereinheit, die den Betrieb der Verpackungsmaschine 5 überwacht und steuert.
  • In einer Füllstation 10 ist eine Vielzahl von Behältern 6 angeordnet, von denen jeder ein vorbestimmtes Arzneimittel enthält. Ist ein Behälter 6 exakt oberhalb einer Vertiefung 2 angeordnet, in die das Arzneimittel, welches in dem Behälter 6 enthalten ist, eingefüllt werden soll gemäß der patientenindividuellen Vorgabe, was die Steuereinheit beispielsweise über eine entsprechende Detektionsvorrichtung erfassen kann, wird eine vorbestimmte Menge des Arzneimittels in die Vertiefung 2 eingefüllt. Dazu können Hilfsmittel wie Trichter oder sonstige Einfüllhilfen zur Anwendung kommen. Wichtig ist dabei lediglich, dass diese Einfüllhilfen nicht für Behälter 6 mit unterschiedlichen Arzneimitteln verwendet werden, um eine Kreuzkontamination zu vermeiden.
  • Um jede der Vertiefungen 2 mit den korrekten Arzneimitteln zu befüllen sind verschiedene Alternativen denkbar. Gemäß einer Ausführungsform sind die Behälter 6 zumindest quer zur Förderrichtung verschiebbar. Gemäßer einer zusätzlichen oder alternativen Ausführungsform ist der Träger 3 wenigstens teilweise quer zur Förderrichtung verschiebbar. Alternativ oder zusätzlich sind Einfüllhilfen derart vorgesehen, dass das Arzneimittel aus einem Behälter 6 gezielt in eine oder mehrere Vertiefungen 2 einfüllbar ist.
  • Nachdem alle Vertiefungen 2 gemäß den patientenindividuellen Vorgaben mit Arzneimitteln befüllt sind, wird, möglichst unmittelbar nach der letzten Befüllung, die Deckelfolie 4 auf den Träger 3 in einer Siegelstation 11 aufgesiegelt. Dadurch werden die Vertiefungen 2 hygienisch verschlossen. Die Deckelfolie 4 wird beispielsweise von einer Rolle abgewickelt und durch Ultraschall oder Hitze aufgesiegelt. Der Einfachheit halber ist vorliegend kein Siegelwerkzeug dargestellt.
  • Vorliegend ist nach der Siegelstation 11 noch eine Trennvorrichtung 8 angeordnet, die die verschiedenen Blisterverpackungen voneinander trennt und/oder die Deckelfolie 4 abtrennt.
  • Nicht dargestellt ist ferner eine Bedruckungsstation, in der die Deckelfolie 4 und/oder der Träger 3 bedruckt werden können mit relevanten Informationen. Diese Bedruckungsstation kann dabei vor oder nach der Füllstation 10 bzw. der Siegelstation 12 angeordnet sein.
  • In Figur 2 ist eine Verpackungsmaschine 5 gemäß der vorliegenden Erfindung dargestellt. Im Unterschied zu der im Zusammenhang mit Figur 1 beschriebenen Ausführungsform werden hier die Vertiefungen 2 nicht direkt mit den Arzneimitteln aus den Behältern 6 befüllt, sondern diese werden zunächst in bewegliche Transportbehälter 9 eingefüllt. Die Transportbehälter 9 können durch die Fördereinrichtung 7 bewegt werden oder sie können unabhängig voneinander selbsttätig bewegbar sein, wobei die Fördereinrichtung 7 einen Antrieb bereitstellen kann, beispielsweise einen magnetischen Antrieb, oder lediglich eine Führung für die Transportbehälter 9 bildet.
  • Die Transportbehälter 9 werden durch die Behälter 6 befüllt, wobei dies auf Grund einer an die Behälter 6 angepassten Öffnung bzw. wenigstens einer größeren Öffnung im Vergleich zu der Öffnung der Vertiefungen 2 einfacher möglich ist als bei der Direktbefüllung der Vertiefungen 2.
  • Die Transportbehälter 9 können dabei eine Vielzahl von möglichen Formen annehmen, beispielsweise eine lorenähnliche Form.
  • Der Füllstation 10 nachgeordnet ist eine - hier nicht dargestellte - Übergabestation vorgesehen, in der die in den Transportbehältern 9 gesammelten Arzneimittel in die jeweiligen Vertiefungen 2 übergeben werden. Dem Fachmann ist dabei klar, dass zur korrekten Dosierung vorzugsweise jeder Vertiefung 2 ein Transportbehälter 9 zugeordnet ist.
  • Wie in der zuvor beschriebenen Ausführungsform ist unmittelbar auf die Übergabestation folgend eine Siegelstation 11 vorgesehen, um die Vertiefungen 2 zu verschließen.
  • Weiterhin ist erfindungsgemäss eine - ebenfalls nicht dargestellte - Reinigungsstation vorgesehen, in der die Transportbehälter 9 gereinigt, vorzugsweise desinfiziert und besonders bevorzugt sterilisiert werden, um bei einem darauf folgenden Einsatz eine mögliche Kreuzkontamination zu vermeiden.
  • Die Reinigungsstation ist unmittelbar nach der Übergabestation angeordnet, um eine mögliche Kreuzkontamination zu vermeiden.
  • Gemäß einer bevorzugten Ausführungsform ist vorgesehen, dass die Anzahl der Transportbehälter 9 wenigstens der Anzahl an Vertiefungen 2 in einer Zeile, besonders bevorzugt in zwei Zeilen, entspricht, um die Taktgeschwindigkeit zu erhöhen. So sind beispielsweise bei einer 7x3-matrixartigen Blisterverpackung wenigstens sieben, besser 14 und ganz besonders bevorzugt 21 Transportbehälter 9 vorgesehen. Insbesondere wird eine hohe Prozessgeschwindigkeit der Verpackungsmaschine 5 erreicht, wenn die Anzahl an Transportbehältern 9 wenigstens der Anzahl der Vertiefungen 2 einer Blisterverpackung entspricht.
  • Bezugszeichenliste
  • 2 -
    Vertiefung
    3 -
    Träger
    4 -
    Deckelfolie
    5 -
    Verpackungsmaschine
    6 -
    Behälter
    7 -
    Fördereinrichtung
    8 -
    Trennvorrichtung
    9 -
    beweglicher Transportbehälter
    10 -
    Füllstation
    11 -
    Siegelstation

Claims (5)

  1. Verpackungsmaschine (5) zur Herstellung von individuellen Blisterverpackungen zur Arzneimittelausgabe, wobei die Verpackungsmaschine (5) eine Füllstation (10) mit einer Vielzahl von Behältern (6) umfasst, wobei jeder Behälter (6) zur Lagerung und Abgabe eines vorbestimmten Arzneimittels vorgesehen ist, wobei die Verpackungsmaschine (5) eine Fördereinrichtung (7) aufweist, dadurch gekennzeichnet, dass die Fördereinrichtung (7) zur Förderung wenigstens eines beweglichen Transportbehälters (9) vorgesehen ist, wobei die Verpackungsmaschine (5) derart konfiguriert ist, dass in der Füllstation (10) die Arzneimittel unmittelbar von den Behältern (6) in den Transportbehälter (9) einfüllbar sind, wobei die Verpackungsmaschine (5) eine Übergabestation umfasst, wobei die Verpackungsmaschine (5) derart konfiguriert ist, dass in der Übergabestation die Arzneimittel von dem beweglichen Transportbehälter (9) in eine dem Transportbehälter (9) zugeordneten Vertiefung (2) eines Trägers (3) einer Blisterverpackung überführbar sind, wobei die Verpackungsmaschine (5) eine Siegelstation (11) umfasst, wobei die Siegelstation (11) unmittelbar nach der Übergabestation angeordnet ist, wobei die Siegelstation (11) zur Aufsiegelung einer Deckelfolie (4) auf den Träger (3) eingerichtet ist, wobei die Verpackungsmaschine (5) eine Reinigungsstation umfasst, wobei die Reinigungsstation unmittelbar nach der Übergabestation angeordnet ist, wobei die Reinigungsstation zur automatischen Reinigung des wenigstens einen Transportbehälters (9) eingerichtet ist.
  2. Verpackungsmaschine (5) nach Anspruch 1, dadurch gekennzeichnet, dass die Verpackungsmaschine (5) eine Trennvorrichtung (8) zum Abtrennen einer vorbestimmten Länge der Blisterverpackung und/oder des Trägers (3) umfasst, wobei die Trennvorrichtung (8) vor oder nach der Füllstation (10), der Übergabestation und/oder der Siegelstation (11) angeordnet ist.
  3. Verpackungsmaschine (5) nach Anspruch 2, dadurch gekennzeichnet, dass die Reinigungsstation zur automatischen Reinigung des wenigstens einen Transportbehälters (9) und der Behälter (6) eingerichtet ist.
  4. Verpackungsmaschine nach einem der voranstehenden Ansprüche 1 bis 3, dadurch gekennzeichnet, dass die Träger (3) von unterschiedlichen Maschinen zur Verfügung gestellt werden und vorzugsweise eine Tablette, ein Pulver, eine Salbe und/oder eine Flüssigkeit aufweisen.
  5. Verpackungsmaschine (5) nach einem der Ansprüche 1 bis 4, dadurch gekennzeichnet, dass die Behälter (6), insbesondere automatisch, austauschbar und/oder befüllbar vorgesehen sind.
EP18766244.0A 2017-09-08 2018-09-07 Verpackungsmaschine zur herstellung einer individuellen blisterverpackung Active EP3704033B1 (de)

Applications Claiming Priority (2)

Application Number Priority Date Filing Date Title
DE102017215917.0A DE102017215917A1 (de) 2017-09-08 2017-09-08 Individuelle Blisterverpackung, Verpackungsmaschine und Verfahren zur Herstellung einer individuellen Blisterverpackung
PCT/EP2018/074178 WO2019048625A2 (de) 2017-09-08 2018-09-07 Individuelle blisterverpackung, verpackungsmaschine und verfahren zur herstellung einer individuellen blisterverpackung

Publications (3)

Publication Number Publication Date
EP3704033A2 EP3704033A2 (de) 2020-09-09
EP3704033B1 true EP3704033B1 (de) 2025-06-25
EP3704033C0 EP3704033C0 (de) 2025-06-25

Family

ID=63528800

Family Applications (1)

Application Number Title Priority Date Filing Date
EP18766244.0A Active EP3704033B1 (de) 2017-09-08 2018-09-07 Verpackungsmaschine zur herstellung einer individuellen blisterverpackung

Country Status (4)

Country Link
US (1) US20210147133A1 (de)
EP (1) EP3704033B1 (de)
DE (1) DE102017215917A1 (de)
WO (1) WO2019048625A2 (de)

Families Citing this family (5)

* Cited by examiner, † Cited by third party
Publication number Priority date Publication date Assignee Title
US10201503B1 (en) 2018-01-09 2019-02-12 Triastek, Inc. Precision pharmaceutical 3D printing device
US12384112B2 (en) 2019-08-20 2025-08-12 Triastek, Inc. High-throughput and high-precision pharmaceutical additive manufacturing system
CN115397652B (zh) * 2020-02-17 2025-12-12 南京三迭纪医药科技有限公司 用于药物增材制造的连续化落料和包装系统
CA3188745A1 (en) 2020-07-10 2022-01-13 Triastek, Inc. High-precision additive manufacturing device and high-throughput additive manufacturing system
CN111688959B (zh) * 2020-07-21 2024-10-22 山东新华医疗器械股份有限公司 一种灌装冲封一体机

Citations (11)

* Cited by examiner, † Cited by third party
Publication number Priority date Publication date Assignee Title
US3737029A (en) * 1971-08-09 1973-06-05 Parke Davis & Co Pharmacal package construction
US4655026A (en) * 1985-12-11 1987-04-07 Wigoda Luis T Pill dispensing machine
FR2754239A1 (fr) * 1996-10-08 1998-04-10 Euresko Dispositif alimentaire pour chaine de conditionnement d'assortiment d'articles et chaine mettant en oeuvre un tel dispositif
US20070084150A1 (en) * 2000-11-01 2007-04-19 Medical Technology Systems, Inc. Automated solid pharmaceutical product packaging machine
EP1627813B1 (de) * 2004-08-20 2007-05-02 MARCHESINI GROUP S.p.A. Apparate für die Plazierung der Produkte in Blisters einer Blisterpackung
EP1647487B1 (de) * 2004-10-12 2007-06-27 MediSeal GmbH Verfahren und Vorrichtung zum Einlegen von Tabletten in die Höfe tiefgezogener Bodenfolie
US20080093372A1 (en) * 2006-10-23 2008-04-24 Milton Monroe T Method and apparatus for sorting, counting and packaging pharmaceutical drugs and other objects
WO2008114177A1 (en) * 2007-03-16 2008-09-25 Mechatronic Engineering S.R.L. Packaging for pills, sweets and the like
EP1780126B1 (de) * 2005-10-28 2010-01-27 MARCHESINI GROUP S.p.A. Vorrichtung zum Zuführen von verschiedenen Gegenständen zu einem Blisterband, wie Kapsel, Pillen und Tabletten
EP2543602A1 (de) * 2010-03-05 2013-01-09 Tosho Inc. Vorrichtung zur separaten verpackung von medizin
US20160128903A1 (en) * 2013-06-13 2016-05-12 Ken KODAI Ptp sheet for pharmaceutical packaging

Family Cites Families (13)

* Cited by examiner, † Cited by third party
Publication number Priority date Publication date Assignee Title
FR85821E (fr) * 1964-05-27 1965-10-22 Participations & Procedes Ind éléments déshydratants et leur procédé de fabrication
DE1461923C3 (de) * 1965-07-09 1974-02-21 Hoefliger + Karg, 7050 Waiblingen Vorrichtung zum registerhaltigen Versiegeln von zwei eine Ware einschließenden Folienbahnen
US3605374A (en) * 1969-04-02 1971-09-20 American Can Co Method of making multi-unit packages
DE2853737A1 (de) * 1978-12-13 1980-07-03 Klaus A Sontag Durchdrueckpackung
EP1491458A3 (de) * 1995-09-13 2005-02-09 Dai Nippon Printing Co., Ltd. Verpackung, Verfahren zu deren Herstellung sowie Kombination aus Verpackungsvorrichtung und Aufbewahrungsbox
WO2005108208A1 (en) * 2004-05-07 2005-11-17 I.M.A. Industria Macchine Automatiche S.P.A. Blistering machine for producing blister packs
DE102006007136A1 (de) * 2005-06-03 2006-12-07 Wolfgang Zieher Vorrichtung zur Individual-Verpackung von Tabletten nach enem Multi-Dose-System
US7225597B1 (en) * 2005-12-23 2007-06-05 Qem, Inc. Machine to automate dispensing of pills
JP4083196B2 (ja) * 2006-10-16 2008-04-30 株式会社湯山製作所 薬剤分包機のv枡に使用する仕切板
EP2062822A1 (de) * 2007-11-24 2009-05-27 UHLMANN PAC-SYSTEME GmbH & Co. KG Verfahren und Vorrichtung zum individuellen Befüllen von Blistern
EP2754614B1 (de) * 2013-01-14 2015-06-24 Edwin Kohl Anlage und Verfahren zur personenbezogenen Befüllung von Blisterpackungen mit Medikamenten
EP2955116B1 (de) * 2014-06-13 2016-12-14 UHLMANN PAC-SYSTEME GmbH & Co. KG Vorrichtung und Verfahren zum Zuführen von Produkten in Näpfe von Blisterstreifen
US10086965B2 (en) * 2015-04-17 2018-10-02 Carefusion Germany 326 Gmbh Tube blister packaging apparatus and method

Patent Citations (11)

* Cited by examiner, † Cited by third party
Publication number Priority date Publication date Assignee Title
US3737029A (en) * 1971-08-09 1973-06-05 Parke Davis & Co Pharmacal package construction
US4655026A (en) * 1985-12-11 1987-04-07 Wigoda Luis T Pill dispensing machine
FR2754239A1 (fr) * 1996-10-08 1998-04-10 Euresko Dispositif alimentaire pour chaine de conditionnement d'assortiment d'articles et chaine mettant en oeuvre un tel dispositif
US20070084150A1 (en) * 2000-11-01 2007-04-19 Medical Technology Systems, Inc. Automated solid pharmaceutical product packaging machine
EP1627813B1 (de) * 2004-08-20 2007-05-02 MARCHESINI GROUP S.p.A. Apparate für die Plazierung der Produkte in Blisters einer Blisterpackung
EP1647487B1 (de) * 2004-10-12 2007-06-27 MediSeal GmbH Verfahren und Vorrichtung zum Einlegen von Tabletten in die Höfe tiefgezogener Bodenfolie
EP1780126B1 (de) * 2005-10-28 2010-01-27 MARCHESINI GROUP S.p.A. Vorrichtung zum Zuführen von verschiedenen Gegenständen zu einem Blisterband, wie Kapsel, Pillen und Tabletten
US20080093372A1 (en) * 2006-10-23 2008-04-24 Milton Monroe T Method and apparatus for sorting, counting and packaging pharmaceutical drugs and other objects
WO2008114177A1 (en) * 2007-03-16 2008-09-25 Mechatronic Engineering S.R.L. Packaging for pills, sweets and the like
EP2543602A1 (de) * 2010-03-05 2013-01-09 Tosho Inc. Vorrichtung zur separaten verpackung von medizin
US20160128903A1 (en) * 2013-06-13 2016-05-12 Ken KODAI Ptp sheet for pharmaceutical packaging

Also Published As

Publication number Publication date
EP3704033A2 (de) 2020-09-09
WO2019048625A3 (de) 2019-04-25
WO2019048625A2 (de) 2019-03-14
DE102017215917A1 (de) 2019-03-14
US20210147133A1 (en) 2021-05-20
EP3704033C0 (de) 2025-06-25

Similar Documents

Publication Publication Date Title
EP3704033B1 (de) Verpackungsmaschine zur herstellung einer individuellen blisterverpackung
DE69616696T2 (de) Verpackungsvorrichtung für Medikamente
EP2062822A1 (de) Verfahren und Vorrichtung zum individuellen Befüllen von Blistern
EP2651368B1 (de) Vorrichtung zum abfüllen von füllgut in kapseln
EP3595973B1 (de) System mit alternierender füllung von behältern und verfahren hierzu
DE10345338B4 (de) Verfahren und Vorrichtung zum kontrollierten Befüllen
EP2993133B1 (de) Anlage und Verfahren zur Umverpackung von unterschiedlichen Medikamenten aus deren jeweiligen Originalblistern in Befüllblister
EP3081500B1 (de) Vorrichtung zum herstellen von schlauchblistern
DE60128348T2 (de) Automatische maschine zum verpacken von festen pharmazeutischen produkten
BE1017059A3 (de) Verfahren und vorrichtung zum kontrollierten befullen.
DE102008047975B4 (de) Vorrichtung zur individuellen Zusammenstellung von Tabletten
WO2016113291A1 (de) Verpackungsvorrichtung für arzneimittel
DE102006016942A1 (de) System und Verfahren zum Abgeben von Medikamenten aus einer Verpackung
EP2135595A1 (de) Vorrichtung für die Massenfertigung von Wirkstoffkapseln
EP3921236B1 (de) Schlauchbeutelmaschine mit dosiervorrichtung
EP3650212B1 (de) Verfahren zum automatisierten herstellen von individualisierten tabletten und tablettenpresse zur automatisierten herstellung von individualisierten tabletten
DE102005014116B4 (de) Verfahren und Vorrichtung zum kontrollierten Befüllen
EP3900923B1 (de) Verfahren zum automatisierten herstellen von individualisierten tabletten und tablettenpresse zur automaitisierten herstellung von individualisierten tabletten
WO2023025437A1 (de) Vorrichtung zum herstellen eines pharmazeutikums, nahrungsergänzungsmittel oder kosmetikums
EP3709948B1 (de) Vorrichtung zum dosierten befüllen eines behältnisses mit einem füllgut
EP3439612B1 (de) Vorrichtung und verfahren zur dosierung von wirkstoffen für die zubereitung von medikamenten
EP3492395B1 (de) Vorrichtung und verfahren zum dosierten befüllen eines behältnisses mit einem füllgut
EP3492394B1 (de) Vorrichtung zum dosierten befüllen eines trinkhalms mit einem füllgut
EP2905230B1 (de) Arzneimittelverpackungsmaschine zur patientenindividuellen Verblisterung
WO2024228157A1 (de) Vorrichtung zum beschicken eines zuführsystem zur verpackung von medikamenten

Legal Events

Date Code Title Description
STAA Information on the status of an ep patent application or granted ep patent

Free format text: STATUS: UNKNOWN

STAA Information on the status of an ep patent application or granted ep patent

Free format text: STATUS: THE INTERNATIONAL PUBLICATION HAS BEEN MADE

PUAI Public reference made under article 153(3) epc to a published international application that has entered the european phase

Free format text: ORIGINAL CODE: 0009012

STAA Information on the status of an ep patent application or granted ep patent

Free format text: STATUS: REQUEST FOR EXAMINATION WAS MADE

17P Request for examination filed

Effective date: 20200407

AK Designated contracting states

Kind code of ref document: A2

Designated state(s): AL AT BE BG CH CY CZ DE DK EE ES FI FR GB GR HR HU IE IS IT LI LT LU LV MC MK MT NL NO PL PT RO RS SE SI SK SM TR

AX Request for extension of the european patent

Extension state: BA ME

DAV Request for validation of the european patent (deleted)
DAX Request for extension of the european patent (deleted)
STAA Information on the status of an ep patent application or granted ep patent

Free format text: STATUS: EXAMINATION IS IN PROGRESS

17Q First examination report despatched

Effective date: 20230120

RAP1 Party data changed (applicant data changed or rights of an application transferred)

Owner name: PARACELSUS CARE GMBH

GRAP Despatch of communication of intention to grant a patent

Free format text: ORIGINAL CODE: EPIDOSNIGR1

STAA Information on the status of an ep patent application or granted ep patent

Free format text: STATUS: GRANT OF PATENT IS INTENDED

INTG Intention to grant announced

Effective date: 20250207

GRAS Grant fee paid

Free format text: ORIGINAL CODE: EPIDOSNIGR3

GRAA (expected) grant

Free format text: ORIGINAL CODE: 0009210

STAA Information on the status of an ep patent application or granted ep patent

Free format text: STATUS: THE PATENT HAS BEEN GRANTED

AK Designated contracting states

Kind code of ref document: B1

Designated state(s): AL AT BE BG CH CY CZ DE DK EE ES FI FR GB GR HR HU IE IS IT LI LT LU LV MC MK MT NL NO PL PT RO RS SE SI SK SM TR

REG Reference to a national code

Ref country code: GB

Ref legal event code: FG4D

Free format text: NOT ENGLISH

REG Reference to a national code

Ref country code: CH

Ref legal event code: EP

REG Reference to a national code

Ref country code: CH

Ref legal event code: EP

REG Reference to a national code

Ref country code: IE

Ref legal event code: FG4D

Free format text: LANGUAGE OF EP DOCUMENT: GERMAN

REG Reference to a national code

Ref country code: DE

Ref legal event code: R096

Ref document number: 502018015906

Country of ref document: DE

U01 Request for unitary effect filed

Effective date: 20250714

U07 Unitary effect registered

Designated state(s): AT BE BG DE DK EE FI FR IT LT LU LV MT NL PT RO SE SI

Effective date: 20250721

PG25 Lapsed in a contracting state [announced via postgrant information from national office to epo]

Ref country code: NO

Free format text: LAPSE BECAUSE OF FAILURE TO SUBMIT A TRANSLATION OF THE DESCRIPTION OR TO PAY THE FEE WITHIN THE PRESCRIBED TIME-LIMIT

Effective date: 20250925

Ref country code: GR

Free format text: LAPSE BECAUSE OF FAILURE TO SUBMIT A TRANSLATION OF THE DESCRIPTION OR TO PAY THE FEE WITHIN THE PRESCRIBED TIME-LIMIT

Effective date: 20250926

PG25 Lapsed in a contracting state [announced via postgrant information from national office to epo]

Ref country code: HR

Free format text: LAPSE BECAUSE OF FAILURE TO SUBMIT A TRANSLATION OF THE DESCRIPTION OR TO PAY THE FEE WITHIN THE PRESCRIBED TIME-LIMIT

Effective date: 20250625

PG25 Lapsed in a contracting state [announced via postgrant information from national office to epo]

Ref country code: RS

Free format text: LAPSE BECAUSE OF FAILURE TO SUBMIT A TRANSLATION OF THE DESCRIPTION OR TO PAY THE FEE WITHIN THE PRESCRIBED TIME-LIMIT

Effective date: 20250925

U20 Renewal fee for the european patent with unitary effect paid

Year of fee payment: 8

Effective date: 20250924